Измерение размеров частиц с помощью растрового электронного микроскопа

  • Вид работы:
    Практическое задание
  • Предмет:
    Физика
  • Язык:
    Русский
    ,
    Формат файла:
    MS Word
    998,94 Кб
  • Опубликовано:
    2015-02-07
Вы можете узнать стоимость помощи в написании студенческой работы.
Помощь в написании работы, которую точно примут!

Измерение размеров частиц с помощью растрового электронного микроскопа













Лабораторная работа №2

Измерение размеров частиц с помощью растрового электронного микроскопа

Цель работы: Знакомство с устройством и работой растрового электронного микроскопа, измерение размеров частиц, анализ полученных данных.

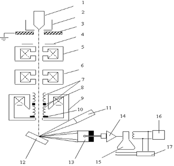
Принципиальная схема РЭМ:


Где: 1 - катод, 2 - цилиндр Венельта, 3 - анод. При нагревании катода происходит термоэлектронная эмиссия. Электроны ускоряются напряжением, приложенном между анодом и катодом. Цилиндр служит для регулировки потока электронов. Пучок проходит через электромагнитные линзы 5, 6, 9. Фокусировка осуществляется магнитным полем, которое создает электромагнитная линза -соленоид, через который пропускается электрический ток.

и 10 - диафрагмы, которые ограничивают расходимость пучка электронов.

- стигматор, который корректирует магнитное поле линзы.

- электромагнитные катушки, служащие для отклонения пучка электронов в х и у направлениях.

- опытный образец.

- детектор регистрации

- усилитель регулировки яркости

- электронно-лучевая трубка

- генератор, обеспечивающий синхронность передвижения зонда по образцу.

Получение снимков и обработка данных.

Для получения снимков использовался порошок алюминия, с небольшой примесью карбида тантала. Снимки производились при увеличении в 240 и 500 раз. Были получены следующие изображения:

электронный микроскоп калибровочный снимок


Проведя статистическую обработку, были получены следующие результаты размеров частиц:

таблица 1:

20.3

22.1

29.1

19.22

19.01

19.55

20.91

21.11

18.01

21.44

25.34

15.12

14.12

21.22

22.22

23.12

21.15

21.55

20.01

23.21

26.44

16.32

18.32

20.32

19.55

18.32

22.34

21.54

19.32

16.33

24.32

25.55

23.33

24.31

21.23

19.44

19.32

23.03

22.32

24.32

20.11

21.32

22.11

19.04

21.34

22.12

23.21

27.34

21.32

18.43

17.43

21.43

19.44

18.34

15.32

20.32

19.22

17.21

17.44

23.32

19.56

20.59

20.85

18.95

20.54

19.89

18.89

16.43

14.88

17.43

18.43

20.32

22.43

23.43

24.32

23.32

22.65

21.94

18.32


Исходя из приложения, видно, что преобладают частицы с усредненными значениями в 19,20,21,22 миллиметра.

Воспользуемся калибровочным снимком:




Расстояние между рисками - 0,1 мм. при увеличении образца в 500 раз. По снимку находим что:

мм - 0,1 мм

мм - х мм

х=20*0,1/75=0,0266 мм.

Тогда 19, 21 и 22 мм. соответственно равны - 0,0253 0,028 и 0,0293 мм.

Из полученных ранее данных находим среднее значение для всей выборки: nср =20,32. Поэтому реальный усредненный размер равен nr=26,67мкм.

Вывод

Сравнивая результаты снимков, можно сказать, что частицы по своим размерам примерно одинаковы и снимки были сделаны с одного и того же образца, только при разном увеличении.

Похожие работы на - Измерение размеров частиц с помощью растрового электронного микроскопа

 

Не нашли материал для своей работы?
Поможем написать уникальную работу
Без плагиата!
Без нейросетей!