|
Найменування обладнання
|
Кількість, шт
|
Рн, кВт
|
Ки
|
cos Примітки
|
|
|
Вентилятори
|
2
|
55
|
0,7
|
0,8
|
|
|
Зварювальні агрегати
|
3
|
14
|
0,2
|
0,4
|
ПВ=40%
|
|
Токарні автомати
|
2
|
10
|
0,16
|
0,6
|
|
|
Зубофрезерні верстати
|
2
|
20
|
0,17
|
0,65
|
|
|
Круглошліфувальні верстати
|
3
|
5
|
0,14
|
0,5
|
|
|
Заточувальні верстати
|
2
|
1,5
|
0,14
|
0,5
|
|
|
Свердлильні верстати
|
2
|
3,4
|
0,14
|
0,5
|
|
|
Токарні верстати
|
5
|
12
|
0,16
|
0,6
|
|
|
Плоскошліфувальні верстати
|
2
|
17,2
|
0,14
|
0,5
|
|
|
Стругальні верстати
|
2
|
4,5
|
0,16
|
0,6
|
|
|
Фрезерні верстати
|
4
|
7,5
|
0,17
|
0,65
|
|
|
Расточувальні верстати
|
2
|
4
|
0,14
|
0,5
|
|
|
Крани мостові
|
1
|
30
|
0,1
|
0,5
|
ПВ=60%
|
ВСТУП
Паливно-енергетичний комплекс
(ПЕК) в Україні представлений підприємствами електроенергетики, вугледобувної,
паливної та нафтопереробної промисловості. До електроенергетичного сектору
входять теплові, атомні та гідроелектростанції, а також підприємства передачі
та розподілу електроенергії. ПЕК включає видобування природних видів палива,
їхню переробку, транспортування тощо.
З початку 2000-х років українська
електроенергетична галузь працює загалом стабільно, забезпечуючи обсяги
електроенергії, необхідні як для національної економіки та житлово-комунального
сектору, так і для експорту. Останнім часом галузь нарощує частку своєї продукції
у структурі споживання палива та енергії у країні. Так, у 2010р. у структурі
кінцевого споживання палива та енергії в Україні частка електроенергії склала
15,6% - проти 12,7% у 2005р. Закон визначає ОЕС України як “сукупність
електростанцій, електричних і теплових мереж, інших об’єктів електроенергетики,
які об’єднані спільним режимом виробництва, пере дачі та розподілу електричної
і теплової енергії при централізованому управлінні цим режимом”. ОЕС складають
вісім регіональних енергетичних систем - Дніпровська, Донбаська, Західна,
Кримська, Південна, Південно-Західна, Північна, Центральна, що охоплюють усю
територію країни та поєднані між собою лініями електропередачі напругою 750 кВ
і 330-500 кВ (карта “Магістральні електричні мережі України”, с.28-29).
Однак потребує модернізації і
розширення мережа ліній електропередачі, брак яких зумовлює, зокрема неповне
використання потужностей українських АЕС і регіональні диспропорції у
забезпеченні електроенергією. Недостатність маневрових потужностей і ліній передачі,
а також недоліки систем управління (зокрема, диспетчеризації) знижують
надійність і стабільність роботи ОЕС України, яка для усунення цих недоліків
потребує досить значних інвестицій. Однак, непрозорість відносин у ПЕК загалом
та електроенергетичній галузі зокрема, невиконання державою взятих на себе
зобов’язань, бюрократизм і корупція перешкоджають припливу інвестицій, отже -
модернізації галузі відповідно до європейських вимог, норм і стандартів. Тому
очікувати інвестицій реально лише після належного інституційного забезпечення
роботи галузі (та ПЕК України загалом): обмеження корупції; забезпечення
сталої, відповідної європейському енергетичному законодавству
нормативно-правової бази (в т.ч. у сфері податкового законодавства);
запровадження засад відкритості, прозорості та соціальної відповідальності в
діяльність усіх суб’єктів галузі.
В своєму курсовому проекті я хочю
застосувати новітні технології для високої продуктивності що забезпечить
безперебійну роботу цеху і велику віробничість. А також бажано застосувати
енерго зберігаючи матеріалі щоб мінімізувати витрати.
1. КОРОТКА
ХАРАКТЕРИСТИКА ПРОМИСЛОВОГО ПІДПРИЄМСТВА І ОПИС ГЕНЕРАЛЬНОГО ПЛАНУ
Ремонтно-механічний цех (РМЦ)
призначений для ремонту та налагодження електромеханічних приладів, що вибувають
з ладу.
РМЦ має дві дільниці, в яких
встановлено необхідне для ремонту обладнання. В цеху передбачено приміщення для
ТП, вентиляційної, інструментальної, складів, зварювальних постів і т.і.
РМЦ отримує живлення від ГПП,
відстань до якої від цехової ТП - 0,9 км. Напруга на ГПП - 6 кВ, Sкз=90
МВА.
Освітлення загальне Рпит.осв.=10
Вт/м2.
Кількість робочих змін - 2.
Споживачі цеху мають 2 категорію з надійності електропостачання бо більша
частина пристроїв приводить до простоювання персоналу машин і механізмів
порушуючи нормальну роботу всього підприємства. Грунт в
районі РМЦ - чорнозем. Розміри цеху А*В*Н=48*28*5 м. Цех знаходиться у ІІІ
кліматичній зоні; Rе=18 Ом; Із=28 А,
гр.=116
Ом*м.
За електробезпекою приміщення
цеху відносять до особливо небезпечної зони бо присутніми є такі фактори як:
.Струмопровідна підлога;
.Струмопровідна пил;
.Висока температура від
нагріву деталей.
Є пожеже
небезпечною 2 категорія,
так
як у ньому проводяться роботи з негорючими речовинами у холодному стані.
Не є вибухо-небезпечною
2.
КОРОТКИЙ ОПИС ТЕХНОЛОГІЧНОГО ПРОЦЕСУ
Тривалий режим роботи
Вентилятор - слугує для
забезпечення провітрювання. Двигун працює одному напрямку
Токарний автомат - слугує для
витачування деталей. Двигун працює обидва напрямки
Зубофрезерній верстат -
слугує для Двигун працює одному
напрямку
Круглошліфувальний верстат -
слугує для шліфовки запчастин. Двигун працює в одному напрямку
Заточувальні верстати -
слугують для заточування деталей. Двигун працює в одному напрямку
Свердлильні верстаті -
слугують для свердління отворів. Двигун працює в обидва напрямки
Токарний верстат - служить
для нарізки різьби та розточування деталей Двигун працює в
обидва
напрямки.
Плоскошліфувальні верстати -
слугують для шліфовки запчастин. Двигун працює в одному напрямку
Стругальні верстати -
призначені для утворення плоских поверхонь на заготовках. Двигун працює в
обидва
напрямки
Фрезерні верстати -
металообробний верстат призначений для обробки фрезою плоских і фасонних
поверхонь, тіл обертання, зубчастих коліс та інших заготовок. Двигун працює в одному
напрямку
Расточувальні верстати
слугують для збільшення діаметру отвору. Двигун працює в обидва напрямка
Повторно-короткочасний
режим
Зварювальній агрегат - слугує
для зварювання металічних запчастин. Працює у режимі близькому до К.З
Крани мостові - слугують для
транспортування важких вантажів. Двигун працює в обидва напрямка.
3. ХАРАКТЕРИСТИКА
ЕЛЕКТРИЧНИХ НАВАНТАЖЕНЬ
Крани мостові. Споживаються
змінною напругою, частота якої - 50 Гц, а величина - 220 В. Режим роботи -
повторно-короткочасний. Перевантаження неможливі, тяжкі умови пуску. Категорія
електропостачання - 2, клас IP
55,реверсивний
Круглошліфувальні,
заточувальні, свердлильні, плоскошліфувальні верстати. Споживаються змінною напругою,
частота якої - 50 Гц, а величина -380 В. Режим роботи - тривалий.
Перевантаження можливі, легкі
умови пуску. Категорія електропостачання - 3,реверсивний,
клас IP 55.
Вентилятори. Споживаються
змінною напругою, частота якої - 50 Гц, а величина -220 В.
Режим роботи - тривалий. Перевантаження можливі, легкі умови пуску. Категорія
електропостачання - 3, клас IP 55,
нереверсивний.
Стругальні , фрезерні
розточувальні, токарні,зубофрезерні верстаті та токарні автомати. Споживаються
змінною напругою, частота якої - 50 Гц, а величина - 220 В. Режим роботи -
тривалий. Перевантаження можливі, легкі умови
пуску. Категорія електропостачання -2, реверсивний, клас IР
55.
Зварювальні агрегати-
Споживаються змінною напругою, частота якої - 50 Гц, а величина - 220 В. Режим
роботи - повторно-короткочасний. Працює в режимі близькому до КЗ легкі умови
пуску IР
55.
. РОЗРОБКА
ПРИНЦИПОВОЇ ЕЛЕКТРИЧНОЇ СХЕМИ ЖИВЛЕННЯ І ВИБІР СТАНДАРТНИХ ЖИВЛЯЧИХ НАПРУГЇ
Так як споживачі
ремонтно механічного цеху відосяться до 2 категорії по надійності,встановлюємо
2 трансформатора.
Так, як наші приймачі розташовані
поряд - найбільш зручною схемою буде магістральна.
Оскільки потужність приймачів не
переважає за 100 кВт, тому напруга для споживчих електромереж буде 380/220 В. З
метою економії коштів слід застосовувати в мережах 6 - 10 кВ вимикачі
навантаження в блоці з плавкими запобіжниками, які дешевші олійних вимикачів.
Приєднання до трансформаторів зі сторони вищої напруги глухе.
На
нижчій стороні застосовую автоматичні вимикачі.
.
РОЗРАХУНОК ЕЛЕКТРИЧНИХ НАВАНТАЖЕНЬ
Порядок розрахунку:
1)Розподілення всіх електро -
приймачів за однаковим режимом роботи з однаковим Ки та коефіцієнтом
потужності:
1 група(тривалий;Ки=0,14;cosц=0,5)
а)Круглошліфовальні верстати
б)Заточувальні верстати
в)Свердлильні верстати
г)Плоскошліфувальні верстати
д)Росточувальні верстати
2 група(тривалий;Ки=0,16;cosц=0,6)
а)Токарні автомати
б)Токарні верстати
в)Стругальні верстати
3 група(тривалий;Ки=0,17;cos
ц=0,65)
а)Зубофрезерні верстати
б)Фрезерні верстати
4 група(тривалий;Ки=0,7;
cos ц=0,8)
а)Вентилятори
5 група(повторно-короткочасний;Ки=0,1;
cos ц=0,5)
а)Крани мостові
6 група(повторно-короткочасний;Ки=0,2;
cos ц=0,4)
а)Зварювальні агрегати
Розрахунок Ру: Для
приймачів тривалого режиму знайшов встановлену потужність Ру,кВт, за формулою :
Ру = Р ном.(5.1)
де Рн - номінальна потужність, кВт,
а для приймачів повторно -
короткочасного режиму знайшов встановлену потужність Ру, кВт, за формулою:
Ру = Рн (5.2)
де ПВ - тривалість включення
електроприймача,
Рн - номінальна потужність
електроприймача , кВт.
1
а)Ру=5кВт
б)Ру=1,5кВт
в)Ру=3,4кВт
г)Ру=17,2кВт
д)Ру=4кВт
2
а)Ру=10кВт
б)Ру=12кВт
в)Ру=4,5кВт
3
а)Ру=20кВт
б)Ру=7,5кВт
4
а)Ру=55кВт
5
а)Ру=30*0.6=23.24кВт
6
а)Ру=14*0.4=8.85кВт
Визначення за відомим значенням
косинуса тангенс:
1 група
tg
ц=1,73
2 група
tg
ц=1,33
3 група
tg
ц=1,16
4 група
tg
ц=0,75
5 група
tg
ц=1,73
6 група
tg
ц=0,011
Розрахунок активного навантаження за
найбільш завантажену зміну Рсм, кВт викнуємо, за формулою:
Рсм =Кв∙Ру (5.3)
де Рсм- активне навантаження за
найбільш завантажену зміну, кВт;
Кв - коефіцієнт використання
активної потужності;
1 група
а)Рсм=0,14*5=0,7кВт
б)Рсм=0,14*1,5=0,21кВт
в)Рсм=0,14*3,4=0,48кВт
г)Рсм=0,14*17,2=2,41кВт
д)Рсм=0,14*4=0,56кВт
2 група
а)Рсм=0,16*10=1,6кВт
б)Рсм=0,16*12=1,92кВт
в)Рсм=0,16*4,5=0,72кВт
3група
а)Рсм=0,17*20=3,4кВт
б)Рсм=0,17*7,5=1,28кВт
4 група
а)Рсма=0,7*55=38,5кВт
5 група
а)Рсм=0,1*23,24=2,324кВт
6 група
а)Рсм=0,2*8,85=1,77кВт
Знайшов реактивне навантаження Qcм,
кВАр, за формулою:
Qcм=
Рсм∙ tg
ц (5.4)
1 група
a)Qcm=0,7*1,73=1,21кВт
б)Qcm=0,21*1,73=0,36кВт
в)Qcm=0,48*1,73=0,83кВт
г)Qcm=2,41*1,73=4,17кВт
д)Qcm=0,56*1,73=0,97кВт
2 група
а)
Qcm=1,6*1,33=2,13кВт
б)
Qcm=1,92*1,33=2,55кВт
в)
Qcm=0,72*1,33=0,96кВт
3 група
а)
Qcm=3,4*1,16=3,94кВт
б)
Qcm=1,28*1,16=1,48кВт
4 група
а)
Qcm=38,5*0,75=28,88кВт
5 група
а)
Qcm=2,324*1,73=4,02кВт
6 група
а)
Qcm=1,77*0,011=0,019кВт
Розрахунок для вузла активних Рсм
вузл, кВт і реактивних Qсм
вузл, кВАр складових потужностей виконую за формулами:
Рсм вузл.= ∑Рсм (5.5)
Qсм
вузл.= ∑Qсм
(5.6)
Обладнання Ки < 0,2
Рсм уз=
кВт
Qсм уз=
кВАр
Ки>0.2:
Рсм уз=
кВт
Qсм уз=
кВАр
Розрахунок
суми номінальних потужностей всіх електро-приймачів цеху Ру,
кВт:
Ру.= ∑Рном (5.7)
Kи<0.2
Ру=10*2+20*2+5*3+1.5*2+3.4*2+12*5+17.2*2+4.5*2+7.5*4+4*2+30*1=256.2
Kи>0.2
Py=55*2+14*3=152
Визначення
Ки уз
Ки.
вузла = Рсм вузл /∑Ру (5.8)
Ки уз=
Ки уз=
Знаходження tg ц уз
tg ц
вузл = Qсм
вузл/ Рсм вузл (5.9)
де Qсм
вузл - реактивна потужність для вузла приєднання , кВАр ;
Рсм вузл - активна потужність
для вузла приєднання , к Вт.
tg ц уз=
cos ц
уз=0.6
tg ц уз=
cos ц уз=0.77
Визначення nе:
Так як m=
розрахунок ведемо за формулою,а
Кв<0,2 спочатку визначаємо кількість найбільших електроприймачів у групі n1=11
а їх сумарна потужність дорівнює
Рн1=5+5+5+1.5+1.5+3.4+3.4+17.2+17.2+4+4=34.4 кВт
Сумарна потужність всіх
електроприймачів дорівнює
Рн=5+5+5+1.5+1.5+3.4+3.4+17.2+17.2+4+4+10+10+12+12+12+12+12+4.5+4.5+20+20+7.5+7.5+7.5+7.5+23.24=249.44 кВт
Далі знаходимо Рн* і n*
Р*=Рн1/Рн
(5.10)
де Рн1 -
сумарна номінальна потужність цих n1
електроприймачів, кВт;
Рн - сумарна
номінальна потужність всієї групи n
приймачів, кВт.
Р*=
кВт
Визначємо значення
електроприймачів , за формулою:
n*=n1/n
(5.11)
де де n1
- кількість найбільших електроприймачів у групі, кожний з яких має потужність
не менш половини найбільшого за потужністю електроприймача даної групи Рнmax;
n*=
За табличними значеннями nе*=0,92
nе=0.92*32=29.4
Обладнання Кв≥ 0,2
Так як m=
>3 та Ки
0,2:то
Визначємо
ефективне значення електроприймачів , за формулою
nе=2
/Рнmax
(5.12)
nе=(2*(110+42))/55=5.5
Для обладнання
Кв<0,2,Км=1,41
для обладнання
Кв>0,2,Км=1,51
Знаходимо
Рм, кВт:
Рм=Км∙Рсм вузл. (5.13)
де Км - коефіцієнт максимуму;
Рсм вузл. - активна
потужність для вузла приєднання, кВт.
Pм=1.41*39.67=55.9
Рм=1.51*77=116.4
Розрахував розрахункову
реактивну потужність Qм , кВАр, за
формулою:
Qм=Kм’∙Qcм
вузл. (5.14)
Де Qcм вузл.
- реактивна потужність для вузла приєднання , кВАр.
Kм’-
коефіцієнт максимуму реактивної потужності;
Qм1=1.1*53.06=58.37
Qм2=1.1*57.76=63.54
Розрахував потужність
освітлювального навантаження Росв., кВт, за формулою:
Росв=Рпит.осв∙S
(5.15)
де S - площа
цеху , яка дорівнює А∙В(розміри цеху);
Рпит.осв - питома потужність
освітлення, кВт.
Росв=1344
0.010=13.44
Розрахунок повної потужності Sм
кВА:
Sм=
(5.20)
Де Р і Q -
активна кВт і реактивна кВАр, потужності електроприймачів для групи з Кв <
0,2;
Р і Q -
активна кВт і реактивна кВАр, потужності електроприймачів для групи з Кв ≥
0,2.
Росв - потужність освітлювального
навантаження , кВт
Sm=
=222.17к ВА
Розрахунковий струм
споживаний станцією, Ім,А, визначив за формулою:
Ім=Sм/Uн
(5.15)
де Sм -
повна потужність, кВА;
Uн -
напруга вищої сторони 10кВ
І=
=0.34кA
6.
РОЗРАХУНОК І ВИБІР КОМПЕНСУЮЧИХ ПРИСТРОЇВ
Для вирішення
питання про доцільність або недоцільність застосування компенсуючого пристрою
треба визначити середньозважений коефіцієнт потужності:
сos
cp.в.=
Рр/Sр
де Рр -
розрахункова активна потужність
Qр
- розрахункова повна потужність
Рр=Рм=Рн1+Рн2+Росв.=55.9+116.7+13.,44=186.04
Sр=
Sм=222.17
сos
cp.в.=
В нашому випадку сos
cp.в
значно менше за 0,9, то треба розрахувати компенсуючий пристрій
З метою підвищення сos
cp.в в
живлячих електромережах до величин 0,9 - 0,93 треба використати в першу чергу
синхронні електродвигуни, які в режимі перезбудження віддають в електромережу
реактивну потужність ємнісного характеру, що зменшує повний струм в
електромережах і, як наслідок, знижують втрати електроенергії в лініях і
трансформаторах. Якщо синхронних електродвигунів не передбачено, то треба
встановлювати батареї статичних конденсаторів, реактивна потужність яких Qкп,
кВар. може бути підрахована за формулою:
Qкп =
Pсм (tg
1 - tg
2)
де Pсp -
середньо змінна активна потужність
tg
1 -
тангенс кута, що відповідає середньозваженому коефіцієнту потужності за
розрахунковий період
tg
2 -
тангенс, що відповідає бажаному значенню коефіцієнта потужності
Ми встановлюємо саме батареї
статичних конденсаторів тому ведемо розрахунок:
tg
1 =0,64
tg
2 =0,48
Qкп=116.67*0.16=18.9кВАр
Так як встановлено 2 трансформатори
,обрану реактивну потужність конденсаторів треба поділити порівно між двома
секціями, тому я вибрав 2 компенсуючи пристрої на шину РУНН. Прийняв 2 пристрої
типу типу УКМ58-04-10УЗ
10кВАр.
Для розрядки
конденсаторів , при відключенні компенсую чого пристрою, паралельно до них
підключають розрядні опори Rр,
Ом. Величину їх розраховуємо за формулою:
Rроз=
=0,21х10
кОм
. РОЗРАХУНОК
ПОТУЖНОСТІ І ВИБІР КІЛЬКОСТІ ЖИВЛЯЧИХ ТРАНСФОРМАТОРІВ
Трансформаторні цехові
підстанції є основною ланкою системи електропостачання і призначені для
харчування однієї або кількох цехів. Двох-трансформаторні підстанції
застосовуються при переважанні споживачів 1-ої та 2-ої категорії. Оскільки у РМЦ
переважають споживачі 2-ої категорії, то я приміняю 2 трансформатора
Після включення обраної
батареї конденсаторів необхідну потужність трансформаторів Sp ,
кВа можна визначити з формули:
Sp=
Кнм
де Qкп
- реактивна потужність обраного компенсуючого пристою, кВАр .
Sp=
=200.18кВА
При перевазі електроспоживачів
другої категорії при наявності централізованого (складського) резерву
трансформаторів, а також для електросдоживачів третьої категорії:
Кз = 0.7
Таким чином
розрахункова потужність трансформаторів, встановлених на живлячій підстанції Sн.тр,
кВА може бути розрахована за формулою:
Sн.тр=
де Sp
- сумарна
повна потужність підстанції, кВА;
Кз - коефіцієнт завантаження
трансформаторів;
n -
кількість трансформаторів на підстанції,
Sн.тр=200.18/0.7*2=142.99кВА
З каталогу вибираемо
трансформатор за умови Sн.кат≥ Sн.тр
Обираємо трансформатор потужністю 160 кВА. Середня температура to охолоджуючого
середовища 20 0С тому зробимо
перерахунок на номінальну фактичну потужність Sн.ф.,
кВА, за формулою:
Sн.ф=Sн.кат.(1+
)
де
- фактична
середньорічна температура охолоджуючого повітря,0С
Sн.ф=160(1+
=184кВА
У практичних
розрахунках можна перевірити потужність обраних трансформаторів
Sтр., кВА, за
формулою:
Sтр.
Sав=
де Sтр.
- потужність одного трансформатора двох трансформаторної підстанції,
кВА;
Sав
- потужність споживачів, яку треба забезпечити в аварійному режимі (при виході
з ладу одного трансформатора), кВА;
РІ і РІІ
- активна потужність споживачів першої і другої категорії,
встановлених на об'єкті, що проектується, кВт;
QІ
і QІІ
- реактивна потужність споживачів першої і
другої категорії, встановлених на об’єкті, що проектується, кВАр.
Sтр.
Sав=
=156кВА
Я остаточно вибрав 2 олійних
трансформатора ТМ-160/10-У3 Uн=10кВ,
Рк=2650Вт, Рхх=410Вт, Uк=4.5%, Іхх=2%. Маса=890кг.
Розміри L=1260мм
довжина, В=820мм-ширина, Н=1460мм-висота.
. ВИБІР ТИПУ
ЖИВЛЯЧОЇ ПІДСТАНЦІЇ І ОПИС ЇЇ КОМПОНОВКИ
У ПД напруга на вищій стороні
дорівнює 10 кВ,тому я вибрав закриту підстанцію. Трансформаторні підстанцію
розташовую в будівлі цеху в окремому приміщенні, прибудованому до будівлі
цеху.В данному випадку вибранна звичайна ТП так як вона пом'якшить вимогу до
набору персоналу її обслуговування.Підстаннція не має пристрою висщої напруги.
Збірні шини розподільчого пристрою живлю від знижуючого трансформатора
жорсткими шинами, які проходять крізь стіну трансформаторної камери через
пройму в ній.Оскільки у ПД я застосував 2 трансформатори,тоді ставлю 5 шкафів
РУНН:
лінійних , 1 секційний та 2
ввідних. Тип шкафів РУНН - ЩО-90 з розмірами 800*600*2000 мм.
Оскільки маса масла в трансформаторі
має масу меншу
630кг
то яма для зливу масла трансформатора не потрібна.
.
РОЗРАХУНОК НОМІНАЛЬНИХ СТРУМІВ ВСІХ СПОЖИВАЧІВ І ВИБІР ЖИВЛЯЧИХ КАБЕЛІВ
Номінальні струми трифазних
споживачів Ін, А, розраховуються за формулою:

(9.1)
де 
- повна трифазна потужність
електроспоживача, кВА;
Un-
номінальна лінійна напруга, кВА;
Якщо потужність споживача
задана активною потужністю ,наприклад потужність електродвигунів, номінальний
струм 
, А розраховую за формулою :
Ін=
(9.2)
де Рн номінальна
активна потужність електродвигуна, кВт;
- коефіцієнт корисної дії
електродвигуна, відносне значення;
cos
н -
коефіцієнт потужності електродвигуна в номінальному режимі.
Ін1 = 55/(√3*0,38*0,8*0,89)=117,4А
- Вентилятори
Ін2 = 14/(√3*0,38*0,4*0,92)=59,75А
- Зварювальні агрегати
Ін3 =10/(√3*0,38*0,6*0,9)=28,14А
- Токарні автомати
Ін4 =20/(√3*0,38*0,65*0,93)=50,26А
- Зубофрезерні верстати
Ін5 =5/(√3*0,38*0,5*0,9)=16,88А
- Круглошліфувальні верстати
Ін6 =1,5/(√3*0,38*0,5*0,74)=
6,1А - Заточувальні верстати
Ін7 =3,4/(√3*0,38*0,5*0,9)=11,47А
- Свердлильні верстати
Ін8 =12/(√3*0,38*0,6*0,75)=40,51А
- Токарні верстати
Ін9 =17,2/(√3*0,38*0,5*0,89)=58,73А
- Плоскошліфувальні верстати
Ін10 =4,5/(√3*0,38*0,6*0,93)=12,25
- Стругальні верстати
Ін11
=7,5/(√3*0,38*0,65*0,9)=19,47 - Фрезерні верстати
Ін12
=4/(√3*0,38*0,5*0,97)=12,53 - Расточувальні верстати
Ін13
=30/(√3*0,38*0,5*0,94)=96,97 - Крани мостові
Струм силових магістралей Ім, А
розраховується за формулою:
Ім = ∑Ін ; (9.3)
Ім1 =593.73A
Iм2
=607.57A
Для вибору кабелів к
освітлювальному щитку розраховую струм 
по формулі :

(9.4)
де 
активна потужність освітлювального
щитку

20,08А
Розраховуємо струм аварійного
освітлення Iав.o, А
за формулою:
Iав.o =
0,1 * 
(9.5)
Іав.о =0,1*20,08=2,008А
Для вибору шин та кабелів між
трансформатором і РУНН а також кабелів на високій стороні розраховуємо струм по
формулі:

(9.6)
де 
- номінальна потужність
трансформатора
Струм трансформатора на
нижчій стороні
Струм трансформатора на вищій
стороні
Виконуючи умову
Іном<Ідоп обираю марку кабелю
Таблиця 2 - Вибір
кабелю та шинопровода
|
Найменування обладнання
|
Ідоп , А
|
Марка кабелю, мм2
|
Ір , А
|
|
Вентилятори
|
121
|
АВВГ
3х35
|
117,4
|
|
Зварювальні агрегати
|
77
|
АВВГ
3х16
|
59,75
|
|
Токарні автомати
|
37
|
АВВГ
3х4
|
28,14
|
|
Зубофрезерні верстати
|
59
|
АВВГ
3х10
|
50,26
|
|
Круглошліфувальні верстати
|
28
|
АВВГ
3х2,5
|
16,88
|
|
Заточувальні верстати
|
28
|
АВВГ
3х2,5
|
6,1
|
|
Свердлильні верстати
|
28
|
АВВГ
3х2,5
|
11,47
|
|
Токарні верстати
|
44
|
АВВГ
3х6
|
40,51
|
|
Плоскошліфувальні верстати
|
59
|
АВВГ
3х10
|
58,73
|
|
Стругальні верстати
|
28
|
АВВГ
3х2,5
|
12,25
|
|
Фрезерні верстати
|
28
|
АВВГ
3х2,5
|
19,47
|
|
Розточувальні верстати
|
28
|
АВВГ
3х2,5
|
12,53
|
|
Крани мостові
|
77
|
АВВГ
3х16
|
96,97
|
|
Магістральній шинопровід
|
630
|
ШРА
74
|
530,46
|
|
Робоче освітлення
|
34
|
АВВГ 4х4
|
20,08
|
|
Аварійне освітлення
|
26
|
АВВГ 4х2,5
|
2,008
|
|
На нижчій стороні
|
250
|
ШРА
75
|
243,09
|
|
На вищій стороні
|
126
|
ААШв
3х35
|
9,24
|
Перевірка кабелів з вищої сторони
трансформатора та на освітлення по допустимій втраті напруги ∆U,
%:

) (9.7)
де Uн -
номінальна лінійна напруга, В;
Iр -
розрахунковій стум, А;
I -
довжина лінії, км;
r0 -
питомий активний опір проводу, або кабелю, Ом / км;
x0 -
питомий реактивний опір проводу, або кабелю, Ом / км;
ц - кут зсуву між напругою і
струмом.
U =(√3*100/10000)*9,24*0,9(0,86*0,93+0,088*0,37)=0,11%<
10% - втрати допустимі

(9.8)
Uосв =(√3*100/10000)*
35,27*0,01*5,11=0,03%
< 7,5% - втрати допустимі
Переріз Sек,
мм2 , знаходять з формули:
Sек=
(9.9)
де Ір - розрахунковий
довгочасний струм, А;
Jек -
економічна густина струму, А/мм2, береться з таблиці 3.5.
Sек=9,24/2=4,62мм2
Як бачимо, обраний раніше кабель
задовольняє умови з економічної густини струму.
. РОЗРАХУНОК І ВИБІР КОМУТАЦІЙНОЇ ТА
ЗАХИСНЛОЇ АПАРАТУРИ ДЛЯ ВСІХ ТИПІВ ЕЛЕКТРОСПОЖИВАЧІВ
Для захисту від КЗ для всіх
споживачів обираємо автоматичні вимикачі. При цьому мають дотримуватись умови:

(10.1)

(10.2)
де 
- номінальна напруга апарату, В;

- номінальна напруга електромережі,
В;

- номінальна струм апарату, А;

- розрахунковий струм, А.
Треба розрахувати піковий
струм Iпік,
А за формулою:
Iпік
= Ккр * Iном
(10.3)
де К - коефіцієнт кратності
пускового струму;
Іпік1 =5,5*117,4=645,7A - Вентилятори
Іпік2 =5,5*59,75=328,6A -
Зварювальні агрегати
Іпік3
=6*28,14=168,8A -
Токарні автомати
Іпік4 =5*50,26=251,13A -
Зубофрезерні верстати
Іпік5 =5,5*16,88=92,84A -
Круглошліфувальні верстати
Іпік6 =5,5*6,1=33,55A -
Заточувальні верстати
Іпік7
=5,5*11,47=63,08A - Свердлильні верстати
Іпік8
=6*40,51=243,06A - Токарні верстати
Іпік9
=5*58,73=293,65A - Плоскошліфувальні верстати
Іпік10
=5,5*12,25=67,37A - Стругальні верстати
Іпік11 =6,5*19,47=126,5A -
Фрезерні верстати
Іпік12 =5*12,53=62,65 -
Розточувальні верстати
Іпік13 =5,5*96,97=533,3A -
Крани мостові
Струм уставки
електромагнітного розчіплювала автомата Iуст,
А розраховуємо за формулою:
Iуст
= Кз * Iпік
(10.4)
де Кз - коефіцієнт запасу;
Iпік
- піковий струм приймачів, А.
Іуст1
=1,25*645.7=807.12A
Для насосних вентиляторів
обираємо автоматичний вимикач типу ВА-99 на напругу Uна =
690 В 
Uне.м.
= 380 В, з номінальним струмом Iна = 200А 
Iр
=117.4 А, та струмом уставки електромагнітного розчіплювача Iу.ем
=90Iн=2000А

Iуст2=807.12А
Іуст2
=1,25*328.6=410.75А
Для зварювального агрегату
обираємо автоматичний вимикач типу ВА-2001 на напругу Uна =
380 В 
Uне.м.
= 380 В, з номінальним струмом Iна = 63А 
Iр
=59,75 А, та струмом уставки електромагнітного розчіплювача Iу.ем
=10Iн
=630А 
Iуст2=410.75А
Іуст3
=1,25*168.8=211А
Для токарного афтомату
обираємо автоматичний вимикач типу ВА-2001 на напругу Uна =
380 В 
Uне.м.
= 380 В, з номінальним струмом Iна = 32А 
Iр
=28,14 А, та струмом уставки електромагнітного розчіплювача Iу.ем
=10Iн=320А

Iуст2=211А
Іуст4
=1,25*251.13=313.9А
Для зубофрезерного верстату
обираємо автоматичний вимикач типу ВА-2001 на напругу Uна =
380 В 
Uне.м.
= 380 В, з номінальним струмом Iна = 63А 
Iр
=50.26 А, та струмом уставки електромагнітного розчіплювача Iу.ем
=10Iн
=630А 
Iуст2=313.9А
Іуст5
=1,25*92.84=116.05А
Для круглошліфувальних
верстатів обираємо автоматичний вимикач типу ВА-2001 на напругу Uна =
380 В 
Uне.м.
= 380 В, з номінальним струмом Iна = 20А 
Iр
=16,88 А, та струмом уставки електромагнітного розчіплювача Iу.ем
=10Iн=200А

Iуст2=116.05А
Іуст6
=1,25*33.55=41.93А
Для заточувального верстата
обираємо автоматичний вимикач типу ВА-2001 на напругу Uна =
380 В 
Uне.м.
= 380 В, з номінальним струмом Iна = 10А 
Iр =
6,29 А, та струмом уставки електромагнітного розчіплювача Iу.ем
=10Iн =
100А 
Iуст2=41.93А
Іуст7
=1,25*63.08=78.85А
Для свердлильних верстатів
обираємо автоматичні вимикачі типу ВА-2001 на напругу Uна =
380 В 
Uне.м.
= 380 В, з номінальним струмом Iна = 16А 
Iр =
12.25 А, та струмом уставки електромагнітного розчіплювача Iу.ем
= 10Iн =
160А 
Iуст2=
78,85 А.
Іуст8
=1,25*243.06=303.8А
Для токарного верстату
обираємо автоматичний вимикач типу ВА-2001 на напругу Uна =
380 В 
Uне.м.
= 380 В, з номінальним струмом Iна = 63А 
Iр
=40.51А, та струмом уставки електромагнітного розчіплювача Iу.ем
=5Iн=315А

Iуст2=303,8А
Іуст9
=1,25*293.65=329.56А
Для плоскошліфувального
верстату обираємо автоматичний вимикач типу ВА-2001 на напругу Uна =
380 В 
Uне.м.
= 380 В, з номінальним струмом Iна = 63А 
Iр
=58,73А, та струмом уставки електромагнітного розчіплювача Iу.ем
=10Iн=630А

Iуст2=329,56А.
Іуст10 =1,25*67.37=84.21А
Для стругальних верстатів
обираємо автоматичні вимикачі типу ВА-2001 на напругу Uна =
380 В 
Uне.м.
= 380 В, з номінальним струмом Iна = 16А 
Iр =
12.25 А, та струмом уставки електромагнітного розчіплювача Iу.ем
= 10Iн =
160А 
Iуст2=
84.21А.
Іуст11
=1,25*126.5=158.12А
Для фрезерних верстатів
обираємо автоматичний вимикач типу ВА-2001 на напругу Uна =
380 В 
Uне.м.
= 380 В, з номінальним струмом Iна = 20А 
Iр
=19.47 А, та струмом уставки електромагнітного розчіплювача Iу.ем
=10Iн=200А

Iуст2=158,125А.
Іуст12 =1,25*62.65=78.31А
Для розточувальних верстатів
обираємо автоматичні вимикачі типу ВА-2001 на напругу Uна =
380 В 
Uне.м.
= 380 В, з номінальним струмом Iна = 16А 
Iр =
12.53 А, та струмом уставки електромагнітного розчіплювача Iу.ем
= 5Iн =
80А 
Iуст2=
78.31А.
Іуст13
=1,25*533.3=666.6А
Для зварювальних агрегатів
обираємо автоматичний вимикач типу ВА-2001 на напругу Uна =
380 В 
Uне.м.
= 380 В, з номінальним струмом Iна = 100А 
Iр
=96.97А, та струмом уставки електромагнітного розчіплювача Iу.ем
=10Iн=800А

Iуст2=666.6А.
За номінальним струмом
обираємо для захисту від перевантаження магнітні пускачі з тепловими реле або
контактори. При цьому має дотримуватись умова:
Iт.р.

Кз * Кпер. * Iн
(10.5)
де Iт.р.
- струм уставки теплового розчіплювала, А;
Кз - коефіцієнт запасу;
Кпер. - коефіцієнт
навантаження;
Iн -
номінальний струм апарату, А.
Iт.р.1=1,25*1,1*117.4=161.42А
Для електродвигунів
вентиляторів обираємо контактор типу КМ-115 на напругу Uна =
380 з номінальним струмом Iна =200 А з
захистом від перегрузки автоматичний вимикач типу ВА-99 на номінальний струм
теплового елементу Iт.р. =200 А
Iт.р.2=1,25*1,1*59.75=82.15А
Для зварювальних агрегатів
обираємо магнітний пускач типу ПМК-65661 на напругу Uна =
380 з номінальним струмом Iна =65 А з
тепловим реле типу РТ- 3365 на номінальний струм теплового елементу Iт.р.
=93 А
Iт.р.3=1,25*1,1*28.14=38.65А
Для токарного афтомату
обираємо магнітний пускач типу ПМК-32655 на напругу Uна =
380 з номінальним струмом Iна =32 А з
тепловим реле типу РТ- 3355 на номінальний струм теплового елементу Iт.р.
=40 А
Iт.р.4=1,25*1,1*50.26=69.10А
Для зубоврезерніх верстатів
обираємо магнітний пускач типу ПМК-65661 на напругу Uна =
380 з номінальним струмом Iна =65 А з
тепловим реле типу РТ- 3363 на номінальний струм теплового елементу Iт.р.
=80 А
Iт.р.5=1,25*1,1*16.88=22.38А
Для круглошліфувального
верстата обираємо магнітний пускач типу ПМК-18421 на напругу Uна =
380 з номінальним струмом Iна =18 А з
тепловим реле типу РТ- 1322 на номінальний струм теплового елементу Iт.р.
=25 А
Iт.р.6=1,25*1,1*6.1=8.38А
Для заточувального верстата
обираємо магнітний пускач типу ПМК-09412 на напругу Uна =
380 з номінальним струмом Iна =9 А з
тепловим реле типу РТ- 1314 на номінальний струм теплового елементу Iт.р.
=9 А
Iт.р.7=1,25*1,1*11.47=15.77А
Для свердлильних верстатів
обираємо магнітний пускач типу ПМК-12416 на напругу Uна =
380 з номінальним струмом Iна =12 А з
тепловим реле типу РТ- 1321 на номінальний струм теплового елементу Iт.р.
=18 А
Iт.р.8=1,25*1,1*40.51=55.70А
Для токарних верстатів
обираємо магнітний пускач типу ПМК-50657 на напругу Uна =
380 з номінальним струмом Iна =50 А з
тепловим реле типу РТ- 3359 на номінальний струм теплового елементу Iт.р.
=65 А
Iт.р.9=1,25*1,1*58.73=80.75А
Для плоскошліфувальних
верстата обираємо магнітний пускач типу ПМК-65661на напругу Uна =
380 з номінальним струмом Iна =65 А з
тепловим реле типу РТ- 3365 на номінальний струм теплового елементу Iт.р.
=95 А
Iт.р.10=1,25*1,1*12.25=16.84А
Для стругальних верстата
обираємо магнітний пускач типу ПМК-18421 на напругу Uна =
380 з номінальним струмом Iна =18 А з
тепловим реле типу РТ- 1321 на номінальний струм теплового елементу Iт.р.
=18.0 А
Iт.р.11=1,25*1,1*19.47=26.77А
Для фрезерних верстатів
обираємо магнітний пускач типу ПМК-25622 на напругу Uна =
380 з номінальним струмом Iна =25 А з
тепловим реле типу РТ- 2353 на номінальний струм теплового елементу Iт.р.
=32 А
Iт.р.12=1,25*1,1*12.53=17.22А
Для розточувальні верстати
обираємо магнітний пускач типу ПМК-18421 на напругу Uна =
380 з номінальним струмом Iна =18 А з
тепловим реле типу РТ- 1321 на номінальний струм теплового елементу Iт.р.
=18.0 А
Iт.р.13=1,25*1,1*96.97=133.3А
Для кранів мостових обираю
магнітні пускачі типу КМ-115 на номінальну напругу 380 В і номінальний
струм Ін=115 А з тепловим реле типу АС-3 на номінальний струм теплового
елементу Іт.р.=200 А.
11.
РОЗРАХУНОК ДОВГОЧАСНИХ СТРУМІВ І ПІКОВИХ СТРУМІВ ДЛЯ СИЛОВИХ ПУНКТІВ ТА
ОСВІТЛЮВАЛЬНИХ ЩИТІВ І ВИБІР КОМУТАЦІЙНОІ АПАРАТУРИ
Сумарний тривалий струм І, А
розраховується за формулою:

(11.1)
де Кно - коефіцієнт
неодночасність включення;
Ін - номінальний струм тих
приймачів, які живляться від щитка або збірки, А
І∑=0,95*593.73=564.04A
І∑=0,95*607.57=577.19A
Уставку електромагнітного
розчеплювача Іуст.ел, А для захисту шин РУНН та шинопроводів знайшов за
формулою :
Іуст.ел
Іпуск. + Кс
(11.2)
де Іпуск. -
пусковий струм електродвигуна, у якого він найбільший, А;
Кс - коефіцієнт
попиту для навантаження всієї збірки
Іуст.ш1
117.4+475.64=593.73А -
ВА08-0405 на номінальний струм Ін=400 А, та уставкою напівпровідникового
розчеплювача по струму КЗ Іуст.ем.=2Ін = 800 А
593.73 А.
Іуст.ш2
96.97 + 510.6= 607.57 А -
ВА08-0405 на номінальний струм Ін=400 А, та уставкою напівпровідникового
розчеплювача по струму КЗ Іуст.ем.=2Ін =800 А
607.57 А
Для щитка освітлення обираємо
автоматичний вимикач ВА - 2001 з характеристикою спрацювання В на номінальний
струм Іна=25 А
13.44 А
та уставкою електромагнітного розчеплювача Іем=3Ін=75 А.
На стороні ВН обираю вимикач
навантаження ВНВ 10/630УЗ з Uн = 10кВ. Ін
= 630 А в блоці із запобіжником ПК-10/30 зі струмом плавкої вставки Іпв=30 А
Івн=9,24 А
Для щитка аварійного
освітлення ставимо автоматичний вимикач ВА-2001 на номінальний струм Іна=4 А
3,285 А та
уставкою електромагнітного розчеплювача Іем=3Ін=9 А.
РОЗРАХУНОК
СТРУМІВ КОРОТКО ЗАМИКАННЯ В
ХАРАКТЕРНИХ ТОЧКАХ СХЕМИ
Складаємо розрахункову схему
для розрахунку струмів КЗ.
За
розрахунковою схемою будуємо схему заміщення для розрахунку струмів КЗ (
рисунок 2 ).
Знайшов опори rкл,
хкл , Ом, кабельних лыный по формулам :
rкл =
r0*l
(12.1)
хкл = х0*l
(12.2)
Рисунок 1 - Розрахункова
схема для розрахунку струмів КЗ.
Рисунок 2 - Схема заміщення
для розрахунку струмів КЗ.
rкл1
= 0,894*0,9 = 0,886 Ом
хкл = 0,0637*0,9 = 0,057 Ом
Реактивний опір системи Хс,
Ом, знаходимо за формулою :
Хс=
=
(12.3)
де Ucp -
напруга на шинах, кВ;
Sk -
потужність короткого замикання , мВА
Хс =
= 0.4 Ом
По таблиці 3,6 методички
знайшов опір трансформатора
Rт =
16.6 мОм, Хт = 41.7 мОм
rлеп2=0,447*10=4,47
мОм
xлеп2=0,082*10=0,82
мОм
По таблиці 3.7 знайшов опори АВ
Ra1
= 0,7 мОм; Ra2
= 5,5 мОм;
Rк1
= 0,7 мОм; Rк2
= 1,3 мОм;
Ха1 = 0,7 мОм; Ха2 = 4,5 мОм;
rш3
= 0,018*56 = 1,008 мОм
хш3 = 0,038*56 = 2,128 мОм
rкл4
= 12,5*10 = 125 мОм
хкл4 = 0,116*10 = 1,16 мОм
Знаходимо струм Ік1, А для першої
точки за формулою :
Іk1=
(12.5)
де Ucp =
напруга на шинах, кВ;
Sk =
потужність короткого замикання, мВА
Ік1 = 90/1,73*6 = 8.7 кА;
Ударний струм іуд, кА,
знаходимо за формулою :
іуд1 = Ку
Ік
іуд = 1,41*1,1*8.7 = 13.49 кА
Знаходжу стум Ік2, кА для
точки К2 за формулою
Ік2=
(12.6)
де
активний
опір
від шин системи до точки кз,
Ом;
індуктивний опір опір від шин
системи до точки К.З.,Ом;
Uср -
напруга на шинах, В.
Ік2=
= 2.89кА
іуд2 = 1,41*2.89*1,16 = 4.72
кА
S2 =
1,73*2.89*6 = 29.99 МВА
Для К3:
К = 6/0,4 =15
Rрез.нн=16,6+4,47+0.7+0.7=22.47Ом
Хрез.нн=41,7+0,82+0,7=43.22Ом
r∑’ =
886/152 = 3.93 мОм
х∑’ =
1170/152 =5.2 мОм
Ік3=
4.5 кА
іуд3 = 1,41*1,1*4.21 = 6.52
кА
S3 =
1,73*0,4*6.52 = 4.51 МВА
Для К4
Rрез=22.47+5.5+1.3+1.08=30.35Ом
Хрез=43.22+2.08+4.5=49.8
Ом
Ік4=
3.76 кА
іуд = 1,41*1,1*3.76 = 5.83кА
S4 =
1,73*0,4*3.76 = 2.6 МВА
Для К5:
r∑ =
30.35+5,5+1,3+125 = 162.15 мОм
х∑ =
49.8+4,5+1,16 = 55.46 мОм
Ік5=
1.37кА
іуд = 1,41*1,08*1.37 = 2.08
кА
S5 =
1.73*0.4*1.37 = 0.94 МВА
13.
ПЕРЕВІРКА ЕЛЕКТРООБЛАДНАННЯ І СТРУМОПРОВІДНИХ ЧАСТИН НА ТЕРМІЧНУ ТА ДИНАМІЧНУ
СТІЙКІСТЬ
Перевірив на термічну
стійкість вимикач навантаження на стороні ВН за формулою:
It
I
(13.1)
де Іt -
найбільша величина струму КЗ, яку витримує
вимикач протягом t
секунд до його відключення, кА, береться з паспортних даних на вимикач;
І
-
розрахунковий післяперехідний струм КЗ, кА;
tпр -
приведений час дії струму КЗ, сек.
tпр=tпр.п+tпр.а.
Так як у нас вимикач навантаження то
Іт=16кА, t=0,1с.
Знайшов періодичну складову
приведеного часу tпр.п
за кривими з методички та аперіодичну складову приведеного часу tпра:
tпр.п=0,1
tпр.а=0,05
Так як потужність приєднання в
порівнянні з потужністю системи невелика, то струм приєднання та періодична
складова струму короткого замикання не змінюється.
tпр=
0,15 с.
16 > 8.7
16 > 10.65 кА
Перевірив вимикач навантаження на
динамічну стійкість за рівнянням:
іукат ≥ іурозр
де іукат - ударний струм, який
дозволяється для вимикача згідно паспортних даних, кА;
іурозр - розрахункове значення
ударного струму, кА;
кА ≥ 13.49 кА
Силові трансформатори повинні
задовольняти умові:
t
(13.2)
де t
- тривалість протікання струму КЗ по обмотках трансформатора, сек;
К - кратність
струму КЗ
К = 2890
/ 9.24=314А
или 0.314 кА
0,05
≤2.86
Автоматичні
вимикачі нижче 1000 я
перевірив тільки за найбільшим розривним струмом, тобто за формулою:
Іп.о. ≥ І’’ ≥
Ік
де Іп.о. -
найбільший паспортний струм, який може вимикати вимикач, кА.
Ік - найбільший розрахунковий
струм короткого замикання, кА.
АВ1: ВА08 - 0405 -
20 кА ≥ 4.5 кА
АВ2: ВА-2001 - 6 кА
≥ 1.37 кА
Для кожної ЛЕП знаходимо допустиму
температуру в нормальному режимі роботи Qн
з Таблиця 3.12 [1,41].
Потім з тієї же кривої 
н = f(А)
знаходимо допустиму температуру при К.З., 
Для ЛЕП1 : ААШв 3*35 - 
н = 60



Для ЛЕП2 : ШРА75 8*250 - 
н = 70



= 75
≤ 
- шинопровід підходить.
Для ЛЕП3 : ШРА 74 8*90- 
н =70



= 70
≤ 
- шинопровід підходить
Для ЛЕП4 : АВВГ 4х4 - 
н = 65



= 100
≤ 
- кабель підходить.
.СВІТЛОТЕХНІЧНИЙ
РОЗРАХУНОК
Розраховую висоту звісу
Hp= H-hc-hp (14.1)
де: Н - повна
висота, м;
hc
- висота звісу, м;
hp
- робоча поверхня, м.
Нр =5-0,5-1= 3.5м
Розраховую індекс приміщення і за
формулою:

(14.2)
де А і В - розміри
приміщення, м;
S
- площа, м2 ;
Нр- висота підвісу
світильників над робочою поверхнею, м.

5.05
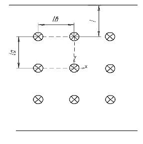
Рисунок 3 - Ескіз
розташування світильників.
В основному приміщенні для
освітлення вибираємо лампи розжарення. Оскільки приміщення не відноситься до
вибуховонебезпечних, то вибираємо світильник типу ППД-200. Світильники будемо
розташовувати рядами у вигляді прямокутника, як показано на малюнку 3.
Найбільш вигідне відносне
відстань між світильниками (
) визначаємо за таблицею 1 [8,437]
(
)=2,5
Тоді

(14.3)
Відстань до стіни визначаємо
за формуло:

(14.4)

м
На основі наведених
розрахунків маємо світильники на плані цеху, підігнавши їх розташування під
особливості приміщення, і підраховуємо їх кількість n,
шт.:
n =40
Необхідний світловий потік
одного світильника Фп, лм, визначають за формулою:

(14.5)
де Ен - нормована
освітленість (береться з таблиці ) в приміщенні, лк;
Кз - коефіцієнт запису
(береться з таблиці)
S -
площа освітлювального приміщення, м2;
n -
кількість ламп в приміщенні;
Ю- коефіцієнт використання.
За таблицями [9,86-115]
визначаємо Ен =100 лк;
за таблицями 2[8,439]
визначаємо Кз=1,3;
за таблицями 3[8,439] визначаємо
z=0,9;
за додатком 20 [8,428]
визначаємо Ю =0,7%
Тоді
Попередньо за світловим
потоком вибираю лампу розжарювання типу Б(бісперальна), потужністю 500 Вт, Uн =
220 В, Pн =
500 Вт, Ф = 4800 лм, діаметр цоколя - Е40
15. РОЗРАХУНОК ЗАЗЕМЛЕННЯ ТА ЗАСОБІВ
ГРОЗОЗАХИСТУ
ремонтний механічний струм живлення
Допустимий опір заземлювача , Rз.доп,
Ом знаходимо за формулою:
Rз.доп
= 125/Із (15.1)
де Із - струм замикання на землю в
електромережі нижче 1000 В, А.
Rз.доп
= 125/28 =4.46 Ом > 4 Ом
Так як Rз.доп
вийшло , то згідно з ПУЕ приймаємо Rз.доп
= 4 Ом.
Визначив перехідний опір заземлення
одного вертикального заземлювача Rов,
Ом за формулою :
Rов=
*
*Кмв*(lg
+0,5lg
) (15.2)
де l
- довжина вертикального заземлювача, м;
- питомий опір грунту, Ом*м;
Кмв - коефіцієнт сезонності
для вертикальних заземлювачів ;
d -
зовнішній діаметр вертикального заземлювача , м;
t -
глибина закладання заземлювача, м.
Rов=
*116*1,5*(lg
+0,5lg
) = 58,43 Ом
З урахуванням наявності
величини природного заземлення Rе, знаходимо
верхню межу штучного опору заземлення, Rз.доп.и,
Ом :
Rз.доп.и
(15.3)
Rз.доп.и
= 5,92 Ом
Знайдемо орієнтовану
кількість вертикальних заземлювачів, nв, шт.., з
формули :
nв=
(15.4)
nв =
58.43/4 =
15
Приймаємо кількість
вертикальних заземлювачів nв = 15.
Обираємо відстань між
вертикальними заземлювачами а=5 м.
Визначившись, що вертикальні
заземлювачі будемо забивати рядами, з таблиці 3.16 методиці , визначаю
коефіцієнти використання вертикальних та горизонтальних заземлювачів зв = 0,55,
зг = 0,34.
Визначаємо довжину
горизонтального заземлювача 1г, м, з формули:
lг =
а(nв -
1) (15.6)
lг =
5(15-1) = 70 м.
Визначаємо опір всіх
вертикальних заземлювачів Rв∑,
Ом, з урахуванням коефіцієнту використання :
Rв∑
= Rов/(
зв* зг) (15.7)
Rв∑
= 58.43/(0,55*15) = 7,08 Ом
Визначаємо опір
горизонтального заземлювача Rг, Ом, для
якого обираємо стальну штабу шириною 0,03 м:
Rг = 
*Кмг*lg
(15.8)
де Кмг - коефіцієнт
сезонності для горизонтальних заземлювачів, що береться з таблиці 3.15;
b -
ширина стальної штаби, м;
t -
глибина залягання стальної штаби від поверхні землі, м.
Rг =
2.3*116*lg
= 22.26 Ом
Визначаю розрахункове
значення штучного заземлюючого пристрою Rи.розр.,
Ом, з формули :
Rи.розр=
(15.9)
Rи.розр
= (7.08*22.26)/(7,08+22.26) =
5,21 Ом
Повинно виконуватись рівняння
:
Rи.розр
Rз.доп.и
,21 Ом
5,92 Ом
Як бачимо, рівняння
задовольняється, тобто заземлюючий пристрій обрано вірно.
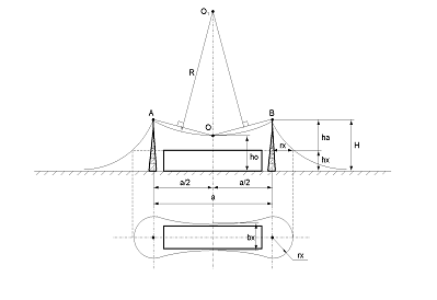
Для захисту від грози
встановив 2 дивертора
Має дотримуватися умова а / hа
7
а - відстань між диверторами
a=58m
ha=16,5
м. Звідси а / ha=3,7≤7
- умова виконується
Висоту усередині між 2-ма
диверторами hо,
м, знайшов за формулою:

(15.9)
где H -
висота дивертора, м;
P -
поправочний коефіцієнт (для диверторів до 30 м р=1)

м
Радіус захисної зони на
висоті об’єкта rx, м за формулою:
rх =
(15.11)
де hх -
висота об’єкту, що захищається, м.
rх =
= 21.12 м
Далі методом по кривій
визначив співвідношення (
)=0,9

0,9Ч2Ч20=36 м
де dx -
ширина зони захисту горизонтальній площині усередині між диверторами на висоті hx, м.
Зобразимо зону захисту двох
диверторів на рисунку .
Як бачимо з рисунку, будівля
виробничого цеху повністю входить в зону захисту двох диверторів
Рисунок 4 - Зображення зони
захисту двох диверторів
а= 58 м - відстань між
диверторами;
А=48 м - довжина будівлі, що
захищається;
Б=28 м -
ширина будівлі;
hx=5 м
- висота будівлі;
ho=11,7
м - висота зони захисту усередині між диверторами;
rx=21,12 м -
радіус зони захисту на висоті hx;
bx=36м
- ширина зони захисту між двома диверторами на висоті hx;
ВИСНОВОК
Курсовий проект є важливою
частиною учбового процесу. Він закріплює знання що були придбані у процесі
навчання.
Протягом виконання курсового
проекту я підтвердив знання з розрахунку електричних навантажень, вибору схем живлення,
розрахунку та вибору трансформаторів та компенсуючи пристроїв, розрахунку
номінальних струмів та вибору живлячих кабелів та комутаційної апаратури.
Також закріпив знання з
розрахунку струмів короткого замкнення та перевірку обладнання на термічну та
динамічну стійкість, з світлотехнічних розрахунків. Добре засвоїв розрахунки
заземлення та засобів грозозахисту.
В процесі виконання курсового
проекту підтвердив навики графічної роботи тощо.