Електрообладнання конвеєрної лінії
Курсова робота
Електрообладнання конвеєрної
лінії
АНОТАЦІЯ
конвеєрний електропостачання трансформатор
В даній розрахунково-графічній роботі проведено розрахунок
конвеєрної установки, що складається з каскаду трьох окремих конвеєрів, що призначений
для транспортування піску повітряно-сухого чистого в нормальних умовах. Це дає
змогу використовувати дану установку як на промислових підприємствах, так і в
умовах кар’єрного видобування піску, або схожих за параметрами вантажів.
Дана розрахунково-графічна робота складається з 11 розділів
(41 сторінок формату А4, 10 рисунків, 2 таблиці та бібліографія: 5
найменування).
Ключові слова:
підйомно-транспортні машини, конвеєр, потужність двигуна,
трансформатор, мережа живлення.
У роботі розглядаються такі основні питання:
1) Умови проектування;
2) Вибір конструктивних і робочих параметрів конвеєра;
) Вибір типу конвеєра і описання його конструкції;
) Спрощений тяговий розрахунок конвеєра, діаграма
натягу стрічки конвеєра;
) Розрахунок потужності і вибір двигуна конвеєра;
) Розрахунок освітлення конвеєрної лінії;
) Схема електропостачання конвеєрної лінії, вибір
потужності живлячих трансформаторів;
) Вибір мережі живлення конвеєрів, перевірка їх на
втрату напруги в нормальному та пусковому режимах;
) Техніко-економічні показники конвеєрної лінії, шляхи
регулювання продуктивності конвеєрної лінії;
) Енергетичний баланс;
) Шляхи економії електричної енергії при експлуатації
конвеєрних ліній;
ВСТУП
конвеєрний електропостачання трансформатор
Підйомно-транспортні машини - основа комплексної механізації
та автоматизації виробництва. Від правильного вибору раціональних типів машин
залежить високопродуктивна робота підприємства.
Технологічний процес будь-якого виробництва нерозривно
пов'язаний з переміщеннями великої кількості різноманітного вантажу, починаючи
від подання сировини до видання готової продукції. У здійсненні вантажних
потоків на підприємствах і комплексної механізації процесів праці основну роль
відіграють системи підйомно-транспортних машин і обладнання.
У сучасних умовах потокового і автоматизованого виробництва
значення конвеєру підвищилось. На сьогоднішній день він став сполучною ланкою в
технологічному ланцюзі, є його органічною часткою.
Класифікація конвеєрів відбувається в залежності від тягового
і несучого органа. Найбільше розповсюдження отримали стрічкові конвеєри. Вони
служать для безперервного переміщення насипних та дрібно штучних вантажів у
горизонтальному, похилому і вертикальному напрямках.
Вони широко використовуються у промисловості, сільському
господарстві, гірничовидобувній і металургійній галузях завдяки своїм
позитивним якостям:
безперервності транспортування, що сприяє підвищенню
продуктивності машин, які працюють у комплексі зі стрічковими конвеєрами;
простота конструкції і, як наслідок, надійність і
зручність обслуговування;
можливість повної автоматизації із застосуванням
систем регулювання і контролю;
можливість розвантаження вантажу в будь-якому місці
траси конвеєра.
До недоліків конвеєра можна віднести:
недостатня довговічність стрічки;
велика вартість;
неможливість транспортування вантажів високої
температури, липких, гострокромкових.
На сучасних підприємствах конвеєри використовуються в якості:
високопродуктивних транспортних машин, які
переміщають вантажі з одного пункту в інший на ділянках внутрішньозаводського
і, в деяких випадках, зовнішнього транспортування;
транспортних агрегатів потужних перевантажувальних
пристроїв і вантажно-розвантажувальних машин;
машин для переміщення вантажів-виробів по
технологічному процесі поточного виробництва від одного робочого місця до
іншого, від однієї технологічної операції до іншої, інколи функції
накопичувачів і розподільників вантажів-виробів по окремим технологічним
лініям;
машин і передаточних пристроїв в технологічних автоматизованих
лініях виготовлення і обробітку деталей і вузлів виробів.
1. УМОВИ ПРОЕКТУВАННЯ
До умов проектування відносяться параметри одного конвеєру.
Вихідні дані конвеєрної лінії:
Кількість стрічкових конвеєрів
шт.
Довжина одного конвеєра
м.
Висота піднімання всіх конвеєрів H = 50 м.
Продуктивність кожного конвеєру Qк = 650 т/год.
1+L2+L3
= Lк,
де L1, L2, L3 приймаємо самостійно, вmax
приймаємо з урахуванням типу конвеєра, тобто
,
,
вmax = 20.
Рис. 1. Траса конвеєра
Робота в приміщенні, яке не опалюється, температура до
С і на відкритому повітрі; вірогідна велика кількість
абразивного пилу чи підвищена вологість повітря; погана освітленість і
доступність до обслуговування.
Згідно додатку Г.1[1] отримаємо данні характеристики насипних вантажів:
Використаємо конвеєр типу КЛ-1200.
Конвеєр працює 12 год на добу та 300 днів в році.
Вантаж, що транспортується, -пісок повітряно-сухий чистий;
Насипна густина вантажу 1,4..1,6 т/м3;
Група абразивності С;
Кут природного укосу вантажу в спокої цо =35-45;
Кут нахилу конвеєра вmax = 20.
Норма освітленості Еmin = 10 лк.
Використовуються наступні типи обладнання і матеріалів:
Світильники типу НСПОЗ;
Лампи типу Б215−225−60.
Кабель марки: ППВ-ХЛ 3Ч25, КГЕШ 2Ч35, ППВ-ХЛ 1Ч6.
Коефіцієнт завантаження двигуна конвеєра протягом робочого дня:
2 годин конвейєрна лінія працює з Кз = 0,86
3 години конвейєрна лінія працює з Кз = 0,8
4 години конвейєрна лінія працює з Кз = 0,7
3 години конвейєрна лінія працює з Кз =
0,6.
2. ВИБІР КОНСТРУКТИВНИХ І РОБОЧИХ ПАРАМЕТРІВ КОНВЕЄРА
2.1 Вибір кута нахилу конвеєру
При виборі граничного кута нахилу стрічкового конвеєру
враховуємо тип вантажу, який потрібно перемістити.
Згідно умов проектування вантаж ,що транспортується -пісок
повітряно-сухий чистий, таким чином за умовою.
.2 Вибір ширини і швидкості стрічки
Вибір швидкості стрічки проводимо в залежності від умов
експлуатації конвеєра, типа вантажу, який транспортується, ширини стрічки, кута
нахилу конвеєра відносно горизонту, способу завантаження і розвантаження,
конструкції роликоопор і т.д.
В початковому наближенні приймаємо V = 1 м/с.
Вираховуємо ширину стрічки - головний параметр стрічкового
конвеєру за формулою, м :
;
де С - коефіцієнт, який залежить від кута нахилу конвеєру, кута
природного скосу вантажу на стрічці і жолобчасті стрічки; вибираємо коефіцієнт
С з табл.2 [1]: С = 325.
.
По отриманому числовому значенню, округленому до стандартної величини,
приймаємо ширину стрічки з нормативного ряду B = 1,2 м.
Перераховую значення продуктивності конвеєру при стандартизованій
ширині стрічки, т/год:
;
.
Так як QФ ≥ QК , не більш ніж на 10
%, то залишаємо обрану швидкість.
3.ВИБІР КОНВЕЄРА ТА ОПИС ЙОГО КОНСТРУКЦІЇ
Виходячи з вихідних даних: ширини, продуктивності і швидкості стрічки
вибираємо стрічковий конвеєр типу КЛ-1200, з такими параметрами:
;
;
.
погонна маса гумовотканинної стрічки
;
погона маса обертових частин роликоопор навантаженої гілки
;
погона маса обертових частин роликоопор на порожній гілки
;
відстань між роликоопорами на навантаженій гілці
;
відстань між роликоопорами на порожній гілці
;
Маса вантажу, яка приходиться на 1м довжини стрічки − погонна
маса вантажу визначається за формулою, кг/м:
;
.
Стрічковий конвеєр складається з гнучкої, замкненої, натягненої
стрічки, яка одночасно виконує дві функції: тягового органу і функцію органу,
який переміщує вантаж.
Привод конвеєру складається з барабану, редуктора, муфт, двигуна і
гальмівного пристрою.
Поступальний рух стрічці надає привідний барабан, який в свою чергу
приводиться в рух електродвигуном через редуктор. Привідний блок конвеєру
(двигун разом з редуктором) може бути змонтований як з правої так і з лівої
сторони конвеєру, двигун приводу − як під стрічкою так і з зовнішньої
сторони конвеєру. На іншому кінці конвеєру розташований не привідний барабан.
Для натягу стрічки використовується натяжний пристрій з електричною
лебідкою і гідравлічним датчиком контролю натягу збігаючої ділянки стрічки.
При зменшенні попереднього натягу стрічки нижче допустимого значення
привід не може бути запущений в роботу. Періодичне підтягування стрічки
відбувається електричною лебідкою з ручним управлінням.
Верхня (названа вище робочою) і нижня (названа неробочою) ділянки
стрічки підтримуються роликоопорами.
Вантаж потрапляє на стрічку через завантажувальний пристрій, який може
бути встановлений в будь-якому місці по довжині конвеєру.
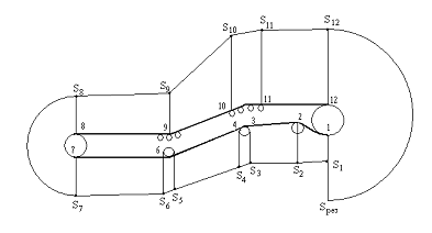
4. ТЯГОВИЙ РОЗРАХУНОК КОНВЕЄРА
Рис. 2. Схема стрічкового конвеєру
Розрахунок зусиль проводиться для характерних точок траси стрічкового
конвеєру, між якими зусилля змінюються за довільним законом.
За початок відліку приймаємо точку 1 і будемо вважати, що зусилля в ній
складає S1.
Зусилля в точці 2 з урахуванням тертя на відхиляючому барабані буде
визначатися за формулою:
де
=
0,05 − коефіцієнт опору при русі стрічки по барабану, який визначається в
залежності від кута обхвату стрічкою барабану, приймаємо для даної точки при
куті охоплення 180°.
Зусилля в точці 3:
де щ − коефіцієнт опору руху стрічки по роликоопорам, приймемо
його для завантаженої ділянки щ = 0,025; для порожньої ділянки значення по
таблиці приймається на 10% нижче, тобто щ = 0,0225.
Зусилля в точці 4:
де щб = 0,03 − коефіцієнт опору при русі стрічки по
барабану, який визначається в залежності від кута обхвату стрічкою барабану,
приймаємо для даної точки при куту охоплення менше 90°.
Зусилля в точці 5:
Зусилля в точці 6:
Зусилля в точці 7:
.
Зусилля в точці 8:
де щб = 0,05 − коефіцієнт опору при русі стрічки
по барабану, який визначається в залежності від кута обхвату стрічкою барабану,
приймаємо для даної точки при куту охоплення менше 180°.
Зусилля в точці 9:
.
Зусилля в точці 10:
.
Зусилля в точці 11, Н:
,
де: R - радіус заокруглення на роликах, R = 0,054 м;
г - кут обхвату роликів г = 30 => г = 30∙р/18=0,524 рад;
.
Зусилля в точці 12:
На приводному барабані зусилля в набігаючій гілці стрічки (точка 12)
можна використовувати формулу Ейлера, Н:
де
- коефіцієнт тертя на приводному барабані з [1, табл.
6], вибираємо для важких виробничих умов
(поверхня
приводного барабану футерована резиною, чиста, суха), а б - кут обхвату
стрічкою барабану в радіанах
.
Отже, обчислюємо зусилля в точці 12 за формулою Ейлера:
.
Розв'язуємо систему з двох рівнянь:
Підставивши значення S1 в вищенаведені вирази, отримаємо
зусилля у всіх характерних точках траси конвеєра.
|
Номер зусилля
|
Значення зусилля, Н
|
|
1
|
15826,902
|
|
2
|
16618,247
|
|
3
|
18371,222
|
|
4
|
18922,359
|
|
5
|
19288,360
|
|
6
|
19812,270
|
|
7
|
21565,246
|
|
8
|
22648,256
|
|
9
|
37305,381
|
|
10
|
115231,876
|
|
11
|
113746,528
|
|
12
|
128403,653
|
|
результуюче
|
112576,751
|
рез = 128403,653-15826,902=12576,751 Н
Побудова тягової діаграми за розрахунковими даними. У
масштабі 1:15 кН.
Рис. 3. - Тягова діаграма стрічкового конвеєра
5. ВИБІР ДВИГУНА КОНВЕЄРА
.1 Вибір двигуна конвеєра
Взагалі електричний привод стрічкових конвеєрів повинен
задовольняти наступним умовам:
· значна перевантажувальна здатність,
адже за рахунок обмерзання вантажу можливі перевантаження конвеєру;
· стійкість до важких умов пуску;
· плавність пуску і гальмування за
наявності і відсутності вантажу на стрічці;
· забезпечення рівномірного навантаження
між усіма приводами конвеєру;
· можливість реверсу і прокрутки при
ремонтах зі швидкістю 0,1.. .0,5 від номінальної.
Розрахункову потужність двигуна вирахуємо за формулою, кВт:
,
деКЗ - коефіцієнт запасу, КЗ =
1,1…1,35; приймаю К3 = 1,1;
зк - коефіцієнт корисної дії конвеєру зк
= 0,75...0,9; зк = 0,9;
кВт
Вибираємо з довідника [2, табл. 4.1] у відповідності до розрахункової
потужності електродвигун асинхронний з короткозамкненим ротором типу 4А315S2УЗ.
Його параметри зведені в таблицю.
Табл.1 - Номінальні дані двигуна 4А315S2УЗ
Рном, кВт Uном, В nном, об/хв з,
% сosцн Пускові характеристики
,
|
кг·м2
|
|
|
|
|
|
|
Iп Iн
|
Мmax Мном
|
Мпуск Мном
|
|
|
160
|
660
|
2970
|
92
|
0,9
|
7
|
1,9
|
1
|
1,4
|
Частота обертання валу приводного барабану,
:
,
де Dп - діаметр приводного барабана, приймаю Dп
= 0,8 м.
.
Необхідне передаточне число приводного механізму ( між валом двигуна і
валом приводного барабана):
.2 Перевірка двигуна по тепловому режиму
Перевіряємо двигуна на достатність пускового моменту по
тривалості пуску. Для цього необхідно, щоб виконувалася умова:
(3-6) с,
де:д - коефіцієнт, який враховує вплив мас ,що обертаються
приводу механізму, приймаю д = 1,1; GD2сум − сумарний
приведений маховий момент двигуна і редуктора, кг·м2:
Мпуск − пусковий момент двигуна, Н·м:
Мст - статичний момент двигуна, Н·м:
Коефіцієнт С розраховую:
де Кпр - коефіцієнт, який враховує пружність
видовження тягового елементу і зумовлює неодночасність приводження в рух мас
конвеєру, для гумовотканинних стрічок, приймаю Кпр = 0,6
Кзм - коефіцієнт, який враховує зменшення швидкості частин
конвеєру, які обертаються, приймаю Кзм = 0,7
mб - маса барабанів, кг:
,
де с - густина матеріалу барабану, приймаю для с = 7700
,
b -
ширина барабану, b = 1,2 м,
Dзовн, Dвн - відповідно зовнішній та внутрішній діаметри
барабану, м
Таким чином,
Отже,
<
6 с.
Умови за тривалістю пуску виконуються. Обраний двигун підходить для
роботи в наших умовах.
6. РОЗРАХУНОК СИСТЕМИ ОСВІТЛЕННЯ КОНВЕЄРНОЇ ЛІНІЇ
Розрахунок системи освітлення для конвеєрної лінії проводимо точковим
методом.
Вибір системи освітлення: для освітлення естакади конвеєрної стрічки
вибираємо місцеву систему освітлення, тобто освітлення, що призначене виключно
для освітлення робочого місця і такого, яке не створює необхідної освітленості
навіть на близько розміщених відносно нього площадках.
Вибираємо з [3, табл.9.5] світильник типу НСПОЗ.
Потужність установленої лампи Б215−225−60 Pл
= 60 Вт з [3, табл. 9.5].
Технічні дані з [3, табл. 9.5] для лампи С 127-60-1 потужністю 60 Вт
при напрузі U = 220 В:
Світловий потік Ф = 740 лм;
2
1-конвеєрна лінія; 2- лампи розжарення.
Рис. 4 Розташування світильників відносно конвеєрної лінії
Норма освітленості галереї Еmin = 10 лк.
При проектування освітлювальної установки необхідно врахувати, що в процесі
експлуатації освітленість на робочих місцях зменшується, тому в розрахунки
вводиться коефіцієнт запасу, який регламентований СНиП в залежності від
запилення освітлюваного приміщення і типу світильника (коефіцієнт запасу К3
= 1,5).
Розрахункова висота розташування світильника та освітленість
певної точки зображена на рис.5.
Рис.5 Висота розташування світильника та освітленість точки
Розташовуємо світильники в один ряд по центру естакади
Розрахуємо висоту, м:
,
деН1- висота приміщення, м;
Н2- висота робочої поверхні, м;
Нс - висота підвісу світильника, м.
.
.) Припустимо
=2h=2∙1,2=2,4
м
;
Знайдемо коефіцієнт С з виразу:
,
С-коефіцієнт,
який вводиться для ламп, відмінних від умовної лампи (100 лм) .
сила
світла, кд (за кривою сили світла).
;
(з рис.6);
Рис. 6. Крива сили світла
Освітленість в розрахунковій точці від одного світильника, лк:
Освітленість повинна відповідати умові:
Умова не виконується.
.)Припустимо
;
(з
рис.6);
Освітленість в розрахунковій точці від одного світильника, лк:
Освітленість повинна відповідати умові:
Умова не виконується.
.)Припустимо
;
(з
рис.6);
Освітленість в розрахунковій точці від одного світильника, лк:
Так як
>0,5h, то враховується внесок в сумарну
освітленість тільки від двох найближчих світильників:
Освітленість повинна відповідати умові:
(
Умова виконується.
Освітленість відповідає умові мінімальної освітленості.
Визначаємо кількість світильників над конвеєрною лінією, шт:
.
Приймаєм
.
7.
СХЕМА ЕЛЕКТРОПОСТАЧАННЯ КОНВЕЄРНОЇ ЛІНІЇ, ВИБІР ПОТУЖНОСТІ ЖИВЛЯЧИХ
ТРАНСФОРМАТОРІВ
Схема електропостачання повинна забезпечувати надійність
живлення споживачів електроенергії. При цьому витрати на спорудження лінії,
витрати провідникового матеріалу і втрати електроенергії повинні бути
мінімальними.
Схема живлення конвейєру може бути різною, наприклад:
• радіальна схема характеризується тим, що від джерела
живлення (розподільчого щиту трансформаторної підстанції ТП) безпосередньо
живляться усі три конвейєри;
• магістральна схема приймається при рівномірному
розподіленні навантаження , тобто конвейєри розташовані вздовж лінії живлення;
• високовольтна схема - це така, при якій кожний
конвейєр живиться від своєї ТП.
Виходячи з вихідних даних приймаємо радіальну схему - рис. 8,
до переваг якої можна віднести високу надійність живлення; легке застосування
автоматики.
Розподіл освітлюваного навантаження між розподільчими
пунктами:
ü від РП1 живиться лінія освітлення
конвейєру К1 і половина лінії освітлення конвейєру К2
ü від РП2 живиться половина лінії
освітлення К2 і половина лінії освітлення К3
ü від РП3 живиться половина лінії
освітлення К3
Рис. 7 -Конвеєрна лінія з трьома конвеєрами
Конвеєрна лінія складається з 3-х конвеєрів, визначаємо
потужність що споживається системою освітлення від щитка кожного конвеєра, кВт:
;
;
,
Отримаємо:
;
;
,
потужність
лампи розжарення.
Сумарна потужність всієї системи освітлення
(ЛР
не мають реактивного опору).
Тоді сумарне навантаження:
,
З табл.7 [1]
;
;
кВт,
кВар,
де
.
Розрахуємо повну потужність:
кВА
Потужність трансформатора:
кВА
За розрахованою потужністю з табл. 3.3 [2] вибираємо трансформатор типу
ТСЗ-630/10 , номінальні параметри якого зведені в таблицю
Табл.2 - Номінальні параметри трансформатора ТСЗ - 630/10
|
Тип
|
Sном, кВА
|
Uвн, кВ
|
Uнн, кВ
|
Pк,кВт
|
Pхх, кВт
|
Uк, %
|
|
ТСЗ-630/10
|
630
|
10
|
0,69
|
7,3
|
2,0
|
5,5
|
1,5
|
Рис. 8.-Схема електропостачання конвеєрної лінії у випадку
трьох конвеєрів
8. ВИБІР МЕРЕЖІ ЖИВЛЕННЯ КОНВЕЄРІВ,
ПЕРЕВІРКА ЇЇ НА ВТРАТУ НАПРУГИ В НОРМАЛЬНОМУ ТА ПУСКОВОМУ РЕЖИМАХ
8.1 Розрахунок високовольтної мережі
Високовольтну мережу вибираємо за допустимим струмом
навантаження в номінальному режимі.
Розраховуємо струм можна знайти за наступною формулою:
А.,
де
номінальна напруга первинної обмотки трансформатора
(з сторони ВН), кВ.
розрахункова
повна потужність, кВА.
Попередньо вибираємо з додатку.18 [5] кабель типу ППВ-ХЛ 3
25, стандартне значення перерізу F=25мм2.
Обраний стандартний переріз кабелю перевіряється з умов нагрівання, спадання
напруги в нормальному режимі і термічній стійкості до струмів короткого
замикання. Допустимий довготривалий струм для даного проводу (з мідними жилами
з полівінілхлодидною ізоляцією морозостійкмй):
А
Ідоп = 65 А > Iр = 29,07 А - умова виконується
Перевірку по падінню напруги робимо
за допомогою виразу:
,
де
- довжина кабелю,
м
;
коефіцієнт
навантаження.
;
-питомий
активний опір кабелю, Ом/км;
Ом/км
.
− провідність матеріалу провідника для міді,
= 50 м/Ом× мм2;
F − стандартний переріз силової жили кабелю, F = 25 мм2;
хо - питомий реактивний опір, хо = 0,08 Ом/км;
В.
Втрата напруги не повинна перевищувати 5% номінальної
напруги:
кВ.
В
Умова виконується.
Для перевірки кабелю на термічну
стійкість струмів короткого замикання визначається мінімальний переріз кабелю Fmіn
(мм2) виходячи з заданої потужності короткого
замикання Sкз на шинах ГПП:
де
− фіктивний час проходження КЗ, при відсутності
витримки часу приймають час спрацювання апаратів, приблизно
= 0,25 с;
С -
розрахунковий коефіцієнт в залежності від матеріалу провідника, для міді С
= 155;
−
установлене значення струму КЗ, А.
де:Sкз -потужність КЗ, Sкз =100 МВА;
;
Переріз силової жили кабелю
більше,
ніж мінімальне
відповідно до умови термічної стійкості до струмів
К.З.
Умова виконується. Приймаємо провід з мідними жилами з
полівінілхлоридною ізоляцією гнучкий морозостійкий Ідоп =
65 А.
.2 Розрахунок живлячої мережі двигуна конвеєра
Вибір перерізу силової жили кабелю по умовам нагріву в нормальному
режимі здійснюється виходячи з величини фактичного струму двигуна конвеєра
і струму навантаження освітлення
.
Розрахуємо фактичний стум двигуна конвеєра:
де:
- коефіцієнт завантаження двигуна,
(див. пункт 7);
-
номінальна активна потужність двигуна,
;
-
номінальна напруга вторинної обмотки трансформатора,
;
-
фактичний коефіцієнт потужності,
(див.
пункт 7);
-
фактичний ККД:
,
де:
номінальний ККД двигуна,
;
відносний
ККД двигуна,
[1, табл. 7].
.
Розраховуємо струм освітлення:
,
;
;
.
Вибираємо кабель на основі сумарного значення струму:
,
;
;
.
Від РП трансформатора до РП1, РП2, РП3 конвеєрів обираємо кабель з [5,
додатку 18] мідними жилами, перерізом F=35 мм2 шахтний гнучкий
екранований. КГЕШ 3
35, для якого
.
Для даного кабелю повинна виконуватись умова:
Умова виконується для кожного значення
.
Перевірка за допустимою втратою
напруги виконується з урахуванням втрати напруги в живлячому трансформаторі.
Таким чином, сумарні втрати напруги DU складаються з втрат напруги
трансформатора DUтр, та кабелів DUк1 ,DUк2́:
DU = DUтр + DUк1+ DUк2
Втрати напруги трансформатора DUтр (%) при нормальному режимі
роботи визначаються по формулі:
,
де:
− коефіцієнт завантаження трансформатора.
;
−
відносна величина активної складової напруги КЗ в трансформаторі, %;
−
відносна величина реактивної складової напруги КЗ в трансформаторі, %;
-
коефіцієнт потужності.
Відносна величина активної складової
напруги КЗ в трансформаторі:
де:
− потужність КЗ трансформатора,
кВт;
− номінальна потужність трансформатора,
= 630 кВА;
Відносна величина реактивної складової напруги КЗ в
трансформаторі:
,
де
−
напруга КЗ трансформатора, Uк = 5,5 %;
− відносна величина активної складової напруги к.з.
.
Втрати напруги в трансформаторі
складають:
.
Втрати напруги в трансформаторі в
вольтах складають:
,
де:
- втрати
напруги в трансформаторі, В.
Uном- номінальна напруга низьковольтної мережі, Uном
= 0,66 кВ.
Втрати напруги в кабелі, що живить двигун:
де:lk - довжина кабеля, км
k
= Lкл ×Кпр
кл - довжина кабелю від джерела живлення, до найвіддаленішого двигуна
конвеєра Lкл = 0,005 км
Кпр - коєфіцієнт провисання, Кпр = 1,05.
lk = 0,005×1,05 =
0,0053 км
ro- питомий активний опір кабелю, Ом/км;
-
провідність матеріалу провідника для міді,
=
50 м/Ом× мм2;
F-
стандартний переріз силової жили кабелю, F = 35 мм2;
хо - питомий реактивний опір, хо = 0,08 Ом/км;
;
;
.
Переведемо втрати напруги в кабелі у відсоткові відношення:
;
;
.
Для лінії , що живить електродвигун конвеєрної лінії, вибираємо кабель
з мідними жилами перерізом силової жили F = 35 мм2 (КГЕШ 3
35), для даного кабелю довготривалий струм Ідоп
= 182 А [5, з додатку].
Ідоп =182 А > Iдв =
150,499 А.
Умова
виконується.
Втрати напруги в кабелі від двигуна до конвеєра:
,
Переведемо втрати напруги в кабелі у
відсоткові відношення:
км
Сумарні втрати напруги DU не повинні перевищувати 10% Uном:
В.
Тоді:
Як бачимо DU не перевищує 10% Uном тож
мережа живлення обрана правильно
.3 Розрахунок освітлювальної мережі
Освітлювальні мережі вибирають по допустимому нагріву в
нормальному режимі роботи і перевіряють на допустимі втрати напруги, які
забеспечують біля джерел світла напругу не нижчу певних значень, та механічну
міцність в залежності від умов прокладання.
Розрахуємо робочий струм в лінії освітлення:
де
освітлювальне навантаження, кВт.
номінальна
напруга освітлювальної мережі, В.
Вибираємо провід ППВ-ХЛ 1Ч6 з алюмінієвими жилами, з полівінілхлоридною
ізоляцією, перерізом силової жили F=6 мм2 на допустимий струм
,
Умова виконується.
Дійсні втрати напруги для освітлювальної мережі (%) визначаються за
виразом :
,
де F-переріз провода,
;
довжина
лінії в один кінець, м;
;
;
.
с- коефіцієн,
що залежить від системи освітлювальної мережі і матеріалу провідника, с =46
(для системи напругою 380/220В).
,
,
.
.4 Розрахунок для освітлювального трансформатора
Із каталога вибираєм трансформатори типу ТМГ.
1.)
2.)
3,)
Втрати напруги в освітлювальному
трансформатора DUтр (%) при нормальному режимі роботи визначаються по формулі:
,
де:
− коефіцієнт загрузки трансформатора.
;
.
;
.
;
.
−
відносна величина активної складової напруги КЗ в трансформаторі, %;
−
відносна величина реактивної складової напруги КЗ в трансформаторі, %;
-
коефіцієнт потужності.
Відносна величина активної складової
напруги КЗ в трансформаторі:
де:
− втрати потужності КЗ трансформатора, кВт;
−
номінальна потужність трансформатора, кВА;
%;
%;
%.
Відносна величина реактивної складової напруги КЗ в
трансформаторі:
,
де
−
напруга КЗ трансформатора, %;
− відносна величина активної складової напруги к.з.
%.
%.
%.
Втрати напруги в трансформаторах
складають:
.
Напруга у найбільш віддаленого світильника повинна бути не менша 0,975
номінального значення (тобто не більше 2,5%).
)
;
)
;
)
.
Сумарні втрат напруги для системи освітлення не перевищують допустимого
значення (2,5 %).
Як ми бачимо
− умова виконується, тобто освітлювальна мережа
вибрана вірно.
9.
ТЕХНІКО-ЕКОНОМІЧНІ ПОКАЗНИКИ КОНВЕЙЄРНОЇ ЛІНІЇ, ШЛЯХИ РЕГУЛЮВАННЯ
ПРОДУКТИВНОСТІ КОНВЕЙЄРНОЇ ЛІНІЇ
Регулювання продуктивності конвеєрної
лінії шляхом підвищення середнього завантаження конвеєрів до номінального
значення.
До техніко-економічних показників
конвеєрної лінії відноситься:
·
загальний
час роботи конвеєрнї лінії протягом доби;
·
продуктивність
конвеєрної лінії;
·
коефіцієнт
завантаження конвеєрнї лінії.
Економічність роботи конвеєрної лінії можна досягти за
рахунок підвищення коефіцієнта завантаження двигуна при використані бункера
згідно вантажопотоку.
Згідно умов проектування загальний час роботи конвейєру - 12
годин.
Так як конвеєр перевозить пісок, отже робота на кар’єрі триває вдві
зміни,
.
Відповідно до умов проектування та експлуатації конвеєрної лінії.
Коефіцієнт завантаження Кз протягом роботи конвеєру
заплановано різним:
годин конвейєрна лінія працює з Кз = 0,86
т
години конвейєрна лінія працює з Кз = 0,8
т
години конвейєрна лінія працює з Кз = 0,7
т
години конвейєрна лінія працює з Кз = 0,6
т
Тоді добова продуктивність буде складати:
т,
де m - кількість інтервалів з різним коефіцієнтом завантаження.
Знаходимо фактичний ККД :
зф.і = звідн.і∙зном
де зфакт* - к.п.д. у відносних одиницях знайдемо з табл.7
[1]:
при Кзав.1 = Кзав.дв =0,86 ; звідн.1 =
1,01
зф.1 = 1,01∙0,92 = 0,929
при Кзав.2 =0,8 ; звідн.2 = 1,01 ,
зф.2 = 1,01∙0,92 = 0,929
при Кзав.3 = 0,7 ; звідн.3 = 1 ,
зф.3 = 1∙0,92 = 0,92
при Кзав.4 = 0,6 ; звідн.4 = 0,97 ,
зф.4 = 0,97∙0,92 = 0,893
визначимо добову витрату електроенергії без першого конвеєра:
,
кВт
год.
Знайдемо сумарний час роботи конвеєрної без першого конвеєра буде
становити:
год,
де
т/год (попередньо розрахований у п.2).
Витрата енергії в двигунах (без першого конвеєра) буде складати:
кВт
год
Звичайно вантажопотоки характеризуються нерівномірністю, що
відображається на погонному навантаженні стрічки і на завантаженні конвеєра, що
змінюється від номінальної до роботи в холосту. Останній режим найбільш
неекономічний. Максимальна економічність досягається при номінальному
завантаженні конвеєрів.
З цією метою встановлюють спеціальний бункер для збору піску.
Це дозволяє значно підвищити коефіцієнти завантаження лінії для конвеєрів, що
знаходяться після даного бункера . Крім того, для підвищення середнього
завантаження конвеєрів необхідно обладнати бункер датчиками верхнього і
нижнього рівня, що блокуються з схемою автоматизації конвеєра з метою
відключення його за відсутності вантажу в бункері і включенні при заповненні
бункера.
Зменшення сплати за електричну енергію за добу С (грн.) при
встановлені бункера буде складати :
грн.
,
де с-вартість кВт∙год електричної енергії,грн./(кВт∙год).
Встановлення бункера пов’язане з додатковими витратами капіталу К (грн.).
Нехай ємність бункера 100 тонн.
густина
піску,
т/
.
Знаючи масу та густину піску знайдемо ємність бункера:
.
Нехай висота бункера
,
а в основі лежить квадрат, отже:
Визначимо площу бункера:
.
Додаткові капіталовитрати можна знайтим за виразом:
,
де
коефіцієнт, який враховує вартість зварювальних робіт,
(приймаємо
).
вартість
1
сталевого листа для бункера,
,
.
вартість
запіного механізму для бункера,
(приймаємо
).
Термін окупності встановленого бункера буде складати:
(2,4
місяці).
N-
кількість робочих днів конвеєрної лінії,
.
Розрахуєм роботу інших конвеєрів після заповнення бункера (всі конвеєри
працюють однаково).
Загольний час роботи
,
,
т.
,
,
т.
,
,
т.
Тоді добова продуктивність буде складати :
т.
10. ЕНЕРГЕТИЧНИЙ БАЛАНС
.1 Споживана електроенергія в освітленні
,
де
коефіцієнт додаткових втрат на ПРА,
,
коефіцієнт
попиту,
час
роботи,
кількість
світильників.
Розіб’ємо роботу конвеєра на два періоди: а) зима; б) літо.
а) Для зимового періоду
Нехай конвеєрна лінія працює з
до
.
Час роботи світильників
(з
до
).
кВт∙год
б) Для літнього періоду
Час роботи світильників
(з
до
).
кВт∙год
Так як корисний ККД лампи становить 3 % (на освітлення),отже :
На освітлення (3%): На нагрів (97%):
кВт∙год
кВт∙год
кВт∙год
кВт∙год
.2 Втрати електроенергії в трансформаторі
кВт∙год
коефіцієнт
завантаження трансформатора,
час
роботи трансформатора,
кВт
− потужність холостого ходу (з паспортних даних),
кВт
− потужність короткого замикання (з паспортних даних).
.3 Споживана електроенергія двигуном
кВт∙год
кВт∙год
кВт∙год
кВт
год
Добова корисно використана електроенергія в двигуні конвеєра:
кВт∙год
Визначимо втрати електроенергії в міді двигуна:
,
де
кВт.
Будуєм відповідний графік залежності
від
та визначаєм відповідні значення
за значеннями
.


кВт∙год
Визначимо втрати електроенергії в сталі двигуна:
,
де
кВт.
Відповідно отримаємо :
кВт∙год
кВт∙год
10.4 Втрати в мережі
)Втрати в силовій мережі:
кВт∙год
(для ПГВ−ХЛ 3
25).
)Втрати в живлячій мережі двигуна:
кВт∙год
(для КГЕШ 3
35).
)Втрати в кабелі, що йде на освітлення:
а) в літній період
кВт∙год
кВт∙год
кВт∙год
кВт∙год
б) в зимовий період
кВт∙год
кВт∙год
кВт∙год
кВт∙год
Визначемо корисні і негативні втрати електроенергії для конвеєрної
лінії
,
.
Для літнього періоду:
кВт∙год
кВт∙год
Для зимнього періоду:
кВт∙год
кВт∙год
Рис 9.Секторна діаграма втрат електроенергії за літній період
Рис 10.Секторна діаграма втрат електроенергії за зимовий період
.1 Заміна ламп розжарювання на люмінісцінтні лампи
Замінимо лампи розжарення на люмінісцентні світильники ЛПО 50-4*20 з
типом лампи ЛЕЦ 20. потужність лампи
.
,
де
коефіцієнт додаткових втрат на ПРА,
,
коефіцієнт
попиту,
час
роботи,
кількість
світильників.
Розіб’ємо роботу конвеєра на два періоди: а) зима; б) літо.
а) Для зимового періоду
Нехай конвеєрна лінія працює з
до
.
Час роботи світильників
(з
до
).
кВт
год
б) Для літнього періоду
Час роботи світильників
(з
до
).
кВт
год
Так як корисний ККД лампи становить 80 % (на освітлення),отже :
На освітлення (80%): На нагрів (20%):
кВт
год
кВт год
кВт
год
кВт год
Як бачимо з розрахунків корисне використання електроенергії зростає та
значно зменшуються втрати.
11.2 Підтримка максимального коефіцієнта тертя між стрічкою і
приводним барабаном
Для цього необхідно при експлуатації конвеєрів:
·
виключити
попадання води і масла на поверхню приводних барабанів;
·
не
допускати роботу із зносом футеровки до оголення металевої поверхні барабанів;
·
при
заміні футеровки використовувати матеріали, що забезпечують максимальний
коефіцієнт тертя.
.3 Підтримка високого технічного стану конвеєра
Для цього необхідно:
·
проводити
періодичну заміну мастила механічних вузлів конвеєра;
·
замінювати
погано обертальні ролики;
·
систематично
перевіряти стан пристроїв, призначених для очищення стрічок і барабанів;
·
не
допускати експлуатацію конвейєра при надмірному зносі окремих вузлів (шестерень
редуктора тощо);
·
не рідше
одного разу на місяць проводити планово-запобіжний ремонт конвейєра.
ВИСНОВКИ
В даній курсовій роботі проводилося проектування розрахунку
конвеєрної лінії, я складається з трьох конвеєрів,а саме: 1) ми спроектували
конвеєрну лінію, в залежності від вихідних даних вибрали з додатку вантаж, який
зможе перевозити конвеєр, умови навколишнього середовища, в яких він
працюватиме, параметри приміщення, де він буде працювати;2)вибрали
конструктивні і робочі параметри конвеєра, а саме:кут нахилу конвеєра та
стрічку; 3) за даними, розрахованими в попередніх пунктах ми вибрали тип конвеєра
та описали його конструкцію; 4) зробивши спрощений тяговий розрахунок та
побудували тягову діаграму конвеєра; 5) розрахували потужність та вибрали
двигун; 6) зробили розрахунок освітлення конвеєрної лінії з лампами розжарення
точковим методом; 7) вибрали радіальну схему постачання та живлячі
трансформатори; 8) вибравши мереже живлення, ми перевірили її на втрату напруги
в нормальному та пусковому режимах; 9) завдяки техніко-економічним показникам,
запропонували шляхи регулювання продуктивності конвеєрної лінії та економії
електричної енергії; 10) розрахували енергетичний баланс, для себе простежили
корисне та негативне використання електроенергії;
) запропонували шляхи економії електричної енергії конвеєрної
лінії.
Одним з основних пунктів доцільної експлуатації конвеєрної
лінії (економії) є встановлення бункера. Встановлення бункера потребує
додаткових капіталовкладень, але після окупності, економія електроенергії
значна, що значно підвищить економічність роботи конвеєрної лінії.
ПЕРЕЛІК ПОСИЛАНЬ
1.Споживачі електричної енергії. Електрообладнання та
електропостачання конвеєрної лінії [Текст]: Методичні вказівки до виконання
курсової роботи для слухачів Міжгалузевого інституту післядипломної освіти
спеціальності 7.090603 «Електротехнічні системи електроспоживання» / Уклад.:
О.І. Соловей, А.В. Чернявський. - К.: НТУУ «КПІ», 2006. - 66с.
.Неклепаев Б.Н. Электрическая часть электростанций и подстанций [Текст]:
Справочные материалы для курсового и дипломного проектирования: учеб. Пособие
для ВУЗов / Б.Н. Неклепаев, И.П. Крючков; под. общ. ред. А.А. Стогния. - 4-е
изд., перераб. И доп. - М.: Энергоатомиздат, 1989 - 608с.
.Кнорринг Г.М. Справочная книга для проектирования
электрического освещения [Текст]: / Под ред. Г.М. Кнорринг, Ю.Б. Оболенцев. -
Л.: Энергия, 1976 - 386с.
.Справочник по проектированию электроснабжения [Текст]: / Под
ред. Барыбина Ю.Г. и др. - М.: Энергоатомиздат, 1990 - 576с.
5.Електрообладнання та електропостачання.
Електрообладнання та електропостачання шахт [Текст] : Методичні вказівки до
виконання курсових та дипломних робіт./ Уклад.: І.С. Рябенко, В.В. Погрібний. -
К, НТУУ «КПІ», 2009.- 119 с.
.Електричні системи та мережі. Навчальний посібник для
студентів електроенергетичних спеціальностей вузів [Текст] : / Под ред.: Н.В. Буслова, В.Н. Винославський та
інші.- «Вищо школа» 1989.-583с.