Дислокации и методы их наблюдения
Федеральное государственное бюджетное
образовательное учреждение высшего профессионального образования
"Астраханский государственный
университет"
Кафедра теоретической физики и
методики преподавания физики
РЕФЕРАТ
Дислокации и методы их выявления
по дисциплине "Физика реального
кристалла"
Выполнила студентка группы ФБ-41
Усманова В.Р.
Проверила доцент кафедры ТФ и МПФ
Фисенко М.А.
Астрахань 2014
Оглавление
Введение
1. Дислокация. Краевая, винтовая и смешанная дислокации
2. Вектор Бюргерса
3. Методы выявления дислокаций
3.1 Поверхностные методы
3.3 Рентгеновская дифракционная топография
3.4 Ионный проектор
3.5 Метод дифракционного контраста
Заключение
Список литературы
Введение
Все реальные кристаллы содержат разнообразные несовершенства структуры:
точечные дефекты, дислокации, поверхности раздела и др. Многие типы
несовершенств образуются в металлах в процессе их производства, а также
термической обработки, деформации или облучения и в значительной мере
определяют их физические и механические свойства. Именно поэтому в последнее
время изучению природы дефектов, характера их распределения в кристаллах и
установлению количественных соотношений их с макросвойствами монокристаллов или
технических материалов посвящается все возрастающее количество работ.
Среди дефектов структуры особое место занимают дислокации.
Изучение свойств дислокаций, понимание их поведения при воздействии различных
внешних факторов дает ключ к объяснению многих проблем физики металлов и
металловедения. Достаточно сказать, что только после появления предположения о
существовании дислокаций в кристаллах стало возможным создание наиболее
плодотворной теории пластической деформации кристаллических материалов.
Известная зависимость сопротивления деформации от количества дефектов
(дислокаций), содержащихся в кристалле, позволяет определить условия создания
материалов, обладающих заданным комплексом механических свойств в широком
интервале от практических: от практически реализуемой прочности до
теоретической (идеальные, бездефектные кристаллы).
Хотя предположение о существовании дислокаций в кристаллах
впервые возникло 30 лет тому назад, важность этого обстоятельства осознали
только в последние 15 лет. В настоящее время стало очевидным, что понимание
поведения дислокаций существенно для всех аспектов изучения кристаллических
материалов. Хотя многие аспекты идей, связанных с дислокациями, находятся еще в
состоянии разработки, основа дислокационной модели, базирующаяся на
теоретическом анализе и экспериментальных наблюдениях, уже создана, и она
составляет фундамент многочисленных новых теорий и гипотез, выдвигаемых в
настоящее время. Некоторые проблемы теории дислокаций еще до сих пор требуют
своего разрешения, тем не менее, основные ее положения в будущем вряд ли будут
отвергнуты или значительно изменены, в частности, это относится к вводным
построениям.
дислокация дифракционный контраст проектор
1.
Дислокация. Краевая, винтовая и смешанная дислокации
Дислокация в кристаллах (от ср-век. лат. dislocatio -
смещение, перемещение) - дефекты кристаллической решётки, искажающие правильное
расположение атомных (кристаллографических) плоскостей. Дислокации отличаются
от других дефектов в кристаллах тем, что значительное нарушение регулярного
чередования атомов сосредоточено в малой окрестности некоторой линии,
пронизывающей кристалл.
Представление о линейном несовершенстве решетки, называемом
дислокацией, возникло первоначально при изучении процессов пластической
деформации в кристаллических материалах.
Имеются несколько основных типов дислокаций. Сначала мы
остановимся на описании краевой дислокации. На рис. 1 изображен простой
кубический кристалл, в котором в левой части плоскости скольжения произошел
сдвиг на одно межатомное расстояние; в правой части этого не произошло. Граница
между той частью, где сдвиг произошел, и той частью, где он не произошел,
называется дислокацией. Ее положение указывается краем "лишней"
вертикальной полуплоскости атомов, которые сгущаются в верхней половине
кристалла, как показано на рис. 2. Вблизи дислокации кристалл сильно
деформирован. Простая краевая дислокация неограниченно простирается в плоскости
скольжения в направлении, нормальном к направлению скольжения.
Рис. 1. Краевая дислокация в плоскости скольжения ABCD. В
области ABEF атомы смещены более чем на половину постоянной решетки, в области
PECD атомы смещены менее чем на половину постоянной решетки.,
Рис. 2. Структура краевой дислокации. Можно считать, что
деформация вызвана появлением лишней атомной плоскости, совпадающей на рисунке
с верхней половиной оси у. В верхней половине кристалла имеет место сжатие, в
нижней половине - растяжение.
Механизм перемещения дислокации схематически иллюстрируется
на рис.3. Движение краевой дислокации через кристалл можно уподобить
перемещению складки по ковру: складка перемешается легче, чем весь ковер, и ее
прохождение через ковер дает то же смещение, что и скольжение всего ковра по
полу. Когда атомы, расположенные по одну сторону от плоскости скольжения,
перемещаются относительно атомов, расположенных по другую сторону, то часть
атомов, находящихся в плоскости скольжения, будет отталкиваться своими соседями
по ту сторону плоскости скольжения, а часть притягиваться. В первом приближении
эти силы взаимно компенсируются.
Рис. 3. Движение дислокации в процессе сдвига; верхняя
поверхность образца смещается вправо. (По Тейлору.)
Рассчитанное значение внешнего напряжения, необходимого для
движения дислокации, оказалось довольно малым, меньшим, вероятно, чем 105
дин/см2, при условии, что силы связи в кристалле не сильно
направлены. Таким образом, наличие дислокации делает кристалл очень пластичным.
Прохождение дислокации через кристалл эквивалентно сдвигу одной части кристалла
относительно другой.
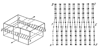
Другой простой тип дислокации - это винтовая дислокация,
схематически изображенная на рис.4 и 5. Винтовая дислокация указывает границу
между смешенной и несмещенной частями кристалла. Граница на этот раз
располагается параллельно направлению скольжения, а не перпендикулярно к нему,
как в случае краевых дислокаций. Винтовую дислокацию можно представить себе,
если мысленно сделать в кристалле разрез, а затем сдвинуть части кристалла по
обе стороны разреза навстречу друг другу на одно межатомное расстояние
параллельно краю разреза. Наличие винтовой дислокации превращает атомные
плоскости в кристалле в геликоидальные поверхности; отсюда и возник термин
"винтовая дислокация".
Рис. 4. Винтовая дислокация. Участок АВЕF - плоскости скольжения
смешается в направлении, параллельном линии дислокации EF. Винтовую дислокацию
можно представить себе как спиральное расположение атомных плоскостей решетки,
так что при каждом полном обходе вокруг линии дислокации мы перемещаемся на
одно межплоскостное расстояние вдоль линии дислокации. (По Коттрелу.)
Рис. 5. Другое схематическое изображение винтовой дислокации.
Вертикальная пунктирная линия - линия дислокации, вблизи этой линии
сосредоточены максимальные искажения решетки.
Возможен случай, когда дислокация представляет собой кривую.
Такие дислокации называются смешанными. На рис.6 приведен пример криволинейной
дислокации смешанного типа, соединяющей точки А и В. Видно, что в точке А
расположение атомов отвечает краевой, а в точке В - винтовой дислокации. Такая
дислокация может быть получена сдвиговой неоднородной деформацией под действием
силы
в направлении
(см. рис. 6), в
результате которой только часть атомных связей в местах, отмеченных на рис. 6
штриховкой, разорвутся и соединятся со смещением на вектор
. При продолжении
воздействия дислокация А-В будет перемещаться, а заштрихованная площадь
расширяться. Именно такие сложные дислокации смешанного типа обычно встречаются
в кристаллах.
Рис. 6.
2. Вектор
Бюргерса
Произвольную дислокацию можно считать состоящей из отрезков,
имеющих краевую и винтовую компоненты. Бюргерс показал, что в наиболее общей
форме линейную систему дислокаций в кристалле можно описать, исходя из схемы
типа приведенной на рис. 7. Рассмотрим расположенную внутри кристалла
произвольную замкнутую кривую (не обязательно плоскую) или незамкнутую кривую,
оба конца которой выходят на поверхность кристалла, а) Произведем сечение
кристалла некоторой простой поверхностью, опирающейся на эту кривую, б) Сместим
вещество, находящееся по одну сторону поверхности, на расстояние b относительно
вещества, находящегося по другую сторону. Вектор b называется вектором
Бюргерса. в) В областях, где вектор b не параллелен секущей поверхности, это
относительное смещение должно приводить либо к образованию зазора, либо к
перекрытию областей, образовавшихся после смещения. В первом случае вещество
следует добавить, чтобы заполнить зазор, во втором - убрать часть материала,
чтобы предотвратить перекрывание. г) После этого "склеим" стороны
разреза; при этом в кристалле сохраняются деформации, отвечающие новому
состоянию равновесия. Результирующее распределение деформаций как раз и будет
давать картину линий дислокации, характеризуемую граничной кривой и вектором
Бюргерса. Вектор Бюргерса должен быть равен вектору решетки, для того чтобы в
процессе "склеивания" сохранялась кристаллическая структура вещества.
Рис. 7. Общий метод образования дислокационной петли в
сплошной среде по Зейтцу.
Среда ограничена прямоугольным блоком. Петля представляет
собой замкнутую пространственную кривую, расположенную внутри блока. Среда рассечена
поверхностью, опирающейся на эту кривую. Вещество по одну сторону поверхности
смещается относительно вещества по другую сторону поверхности на длину вектора
b, который произвольным образом ориентирован относительно поверхности. Для
осуществления смещения требуются силы. После того как смещение произведено, для
сохранения непрерывности может оказаться необходимым добавить материал в тех
местах, где появятся полости, и убрать лишний материал там, где возникло
перекрытие. Затем производится "склеивание". После снятия
приложенного напряжения, удерживающего края надреза в смещенном положении,
устанавливается некоторое равновесное поле напряжений. Вектор b называется вектором
Бюргерса данной дислокации.
Вектор Бюргерса винтовой дислокации (рис. 4 и 5) параллелен
линии дислокации, тогда как вектор Бюргерса краевой дислокации (рис. 1 и 2)
перпендикулярен к линии дислокации и лежит в плоскости скольжения.
3. Методы
выявления дислокаций
3.1
Поверхностные методы
Если кристалл, содержащий дислокации, поместить в среду,
которая удаляет (растворяет) атомы с поверхности, скорости растворения атомов
вблизи точки выхода дислокации на поверхность и из окружающей матрицы могут
отличаться. Это различие возникает в результате следующих свойств дислокации:
) искажения решетки кристалла и поля деформаций дислокации;
) особенности геометрии плоскостей, связанных с винтовой
дислокацией;
) повышения концентрации примесных атомов на дислокации,
которая изменяет химический состав материала вблизи дислокации.
Если скорость удаления атомов вблизи выхода дислокации
больше, чем из основной матрицы кристалла, то в этом месте формируется ямка,
причем ямку на поверхности дает процесс, обратный росту кристалла (рис. 8),
если меньше - формируется маленький холмик.
Рис. 8. Образование ямок травления в местах выхода дислокаций
на поверхность: а - краевая дислокация, цилиндрическая зона вокруг дислокации
представляет собой область с Физическими и химическими свойствами, отличными от
окружающего кристалла; б - ямка конической формы, образовавшаяся на краевой
дислокации в результате преимущественного удаления атомов из дефектной области;
в - место выхода винтовой дислокации; г - ямка в виде спирали, образованная
винтовой дислокацией; образование ямок идет в результате механизма, обратного
механизму роста кристаллов.
Есть много методов медленного контролируемого удаления атомов
с поверхности. Наиболее распространенными и удобными являются химическое и
электролитическое травление. Из остальных методов можно назвать термическое
травление (атомы удаляются испарением при нагревании кристалла до высоких
температур в вакууме) и катодное распыление (атомы с поверхности удаляются в
результате ионной бомбардировки). Последние два метода обычно обнаруживают
только винтовые дислокации.
В общем случае поверхностные методы пригодны только для
кристаллов с низкой плотностью дислокаций, менее 106 на 1 см2,
так как ямки имеют конечные размеры и очень трудно разрешаются при наложении.
Распределение дислокаций в объеме (в трех измерениях) можно
получить, исследуя последовательные срезы кристалла.
3.2 Методы
декорирования
Есть кристаллы, прозрачные для видимого света или
инфракрасного излучения. Дислокации в этих кристаллах в обычных условиях
невидимы. Однако можно декорировать дислокации выделениями инородных атомов
вдоль линии дислокации. Получается нечто подобное ряду бусинок вдоль тонкой
нити. Положение дислокации выявляется рассеянием света на бусинках, или
выделениях, которое можно наблюдать в оптическом микроскопе. В большинстве
случаев процесс декорирования включает нагревание кристалла перед
исследованием. Поэтому метод декорирования можно применять только для
исследования структур возврата и структур высокотемпературной деформации, он не
подходит для изучения структур, образовавшихся при низкотемпературной
деформации.
Используемые методики можно классифицировать по типу
исследуемых кристаллов.
Бромистое серебро. Первые наблюдения
дислокаций с использованием техники декорирования были сделаны Хэджесом и
Митчеллом (1953 г.). Они обнаружили, что в больших прозрачных кристаллах
бромистого серебра, подвергнутого определенной термической обработке, выделения
фотолитического серебра после засвечивания (при печатании) имеют правильное
расположение. Эту картину они интерпретировали как сетку дислокаций, на которой
выделяется серебро, что делает дислокации видимыми.
Галогениды щелочных металлов. При исследовании
дефектов в кристаллах NaCl, КСl, и КВr была использована техника, имеющая широкую область
применения - введение в кристалл инородных атомов. При подходящей термической
обработке образуются выделения инородных атомов, причем частицы этих выделений
располагаются вдоль линий дислокаций. Размер и распределение этих частичек
можно контролировать выбором термообработки. В качестве характерного примера
приведем работу Амелинкса (1958 г.), который декорировал дислокационные линии в
кристаллах КСl.
Образцы были легированы добавлением в расплав 0,75% AgCl перед выращиванием
кристаллов. Кристаллы отжигали в токе водорода при 650-700° С в течение 3 ч.
Частички серебра выпадают на дислокациях в кристалле непосредственно у
поверхности. Этот метод оказался очень ценным в изучении геометрии
дислокационной сетки и малоугловых границ. Типичная микрофотография
расположения дислокаций в кристалле КСl показана на рис. 9. Ряды белых пятен указывают
на расположение дислокаций.
Рис. 9. Тонкий кристалл КСl, снятый в оптическом
микроскопе. На дислокациях, расположенных в виде сетки, выпадают частички
серебра. Только часть сетки находится в фокусе
Кремний. Дислокации в кремнии выявляются с помощью
включений меди, выделяющихся на дислокационных линиях (Даш. 1956 г.). При
высоких температурах медь диффундирует в кремний, но растворимость меди в
кремнии при температуре ниже 1200° С быстро падает с уменьшением температуры,
поэтому при охлаждении до комнатной температуры в образцах кремния наблюдаются
выделения меди вдоль дислокаций. При использовании этой методики обычно готовят
срезы монокристалла толщиной около 1 мм, которые затем травят. Положение
дислокаций выявляют по ямкам травления.
После этого образцы нагревают в контакте с медью при 900° С в
атмосфере водорода, а затем охлаждают до 20° С. Наблюдения включений проводят
на микроскопе, снабженном инфракрасным преобразователем. Рис. 10 показывает
схему эксперимента, а рис. 11 - результаты наблюдений. Ряды мелкодисперсных
медных включений выявляют дислокацию, располагаясь от ямок травления с одной
стороны кристалла до ямок на другой стороне. Этот эксперимент убедительно
доказывает однозначное соответствие дислокаций ямкам травления для этого
объекта. Метод был использован для изучения расположения дислокаций в только
что выращенных и деформированных кристаллах кремния.
Рис. 10. Оптическая схема опыта, позволившего наблюдать
дислокации, декорированные выделениями, с ямками травления на концах.
Рис. 11. Ямки травления и выделения меди в свежевыращенном
кристалле кремния. Ширина полосы около 1,5 мм, толщина около 1,0 мм. Ряды
декорирующих выделений выявляют дислокации, они тянутся от ямок с одной стороны
кристалла до ямок с другой стороны кристалла.
3.3
Рентгеновская дифракционная топография
Прямые наблюдения дислокаций были сделаны с помощью рентгеновских
лучей методом, сходным с электронной дифракцией, однако с гораздо меньшим
разрешением. Следовательно, он применим только к кристаллам с малыми
плотностями дислокаций, около 106 на 1 см2, но имеет и
определенные преимущества, так как проникающая способность рентгеновских лучей
больше, чем у электронов, поэтому можно использовать более толстые образцы.
Образец, обычно большой монокристалл, ориентируется по отношению к
рентгеновскому пучку семейством плоскостей, которые дают сильное брэгговское
отражение. Отраженный пучок регистрируется фотографически. Как и в электронной
дифракции, локальный изгиб решетки, связанный с дислокацией, приводит к
изменению условий отражения, в этой области рентгеновские лучи рассеиваются
иначе. Это приводит к уменьшению интенсивности пучка, дифрагированного от
кристалла в области дефекта, на фотографии получается темная линия. Фотография
дислокаций в кремнии с помощью рентгеновской дифракционной топографии
представлена на рис. 12.
Рис. 12. Микрофотография, полученная с помощью рентгеновского
дифракционного топографического метода, на которой видны дислокации в
монокристалле кремния. В процессе топографирования не получается никакого
увеличения, однако благодаря примечанию эмульсин с очень малыми зернами
возможно последующее увеличение примерно в 500 раз.
3.4 Ионный
проектор
Даже максимальное разрешение электронного микроскопа не
позволяет исследовать положение отдельных атомов, в частности, нельзя наблюдать
точечные дефекты, если они не сгруппированы в скопления. Это ограничение
устраняется в ионном проекторе, который имеет разрешение 2 - 3 Ангстрем.
Образец здесь представляет тонкую проволоку, которую электрополиру ют с одного
конца, так что получается закругленное острие с радиусом 100 - 300 атомных
расстояний. Можно получить топограмму позиций атомов в проволоке. Образец
положительно заряжается (приобретает потенциал) до 5-15 кВ и помещается в
высокий вакуум с некоторым количеством гелия. Атомы на поверхности образца
ионизуются высоким положительным зарядом, в результате чего атомы гелия
притягиваются к ним и отдают электрон в металл, становясь положительными
ионами. Затем атомы гелия ускоряются вниз вдоль силовых линий, исходящих от
металлического иона, и дают изображение иона на экране, которое
фотографируется. Каждый атом выглядит на фотографии в виде светлого пятна.
Только некоторое число атомов образца (примерно 1 из 5) ионизуется и дает
изображение на экране, но можно наблюдать характерное распределение, из
которого делают вывод о положении всех остальных атомов. Когда в решетке
отсутствует один из атомов (вакансия), отсутствует одно из белых пятен.
Особенно ярко возможности метода продемонстрированы Брандоном и Вальдом (1961
г.), которые сфотографировали острие вольфрамовой проволоки до и после
облучения α-частицами. После облучения многие из
светлых пятен исчезли, это свидетельствует о том, что атомы были выбиты с их
мест α-частицами (образовались вакансии). Пример краевой дислокации в
молибдене, выявленной этим методом, показан на рис.13. Там же дана схема
атомных слоев вблизи дислокации.

Рис. 13, а - Фотография, полученная в ионном проекторе и
показывающая краевую дислокацию в молибдене. Каждое светлое пятно соответствует
атому, б - Схематически показана дислокация, которая видна на фотографии.
В настоящее время применение ионной микроскопии ограничено
определенным кругом металлов с сильными связями, такими, как вольфрам, молибден
и платина. Метод применим для исследования распределения атомов лишь на очень
малой площади и только на свободной поверхности, однако в тех случаях, когда
требуется точная информация о положении отдельных атомов, этот метод имеет
большую ценность.
3.5 Метод
дифракционного контраста
Метод дифракционного контраста развивался гораздо быстрее
метода визуализации дислокационных ядер с помощью микроскопов высокого
разрешения. Дело в том, что применение последней методики для изучения
материалов, представляющих интерес для материаловедов, зависело от того,
появятся ли микроскопы с более высоким разрешением. В 50-60-х годах прошлого
века разрешения микроскопов было достаточно для проверки теории съёмки
изображения с помощью дифракционного контраста и использования этого метода для
наблюдения и интерпретации природы дислокаций, их векторов Бюргерса,
распределения, подробностей взаимодействий дислокаций в различных материалах.
Основными требованиями стала разработка гониометрических стадий и методик
утонения образцов. Были подтверждены основные дислокационные механизмы,
формирующие частично дислокационную теорию кристаллов, что во многом уменьшило
скептицизм некоторых металлургов. В то же время были обнаружены новые, ранее не
предсказанные, дефектные структуры. Многие из них подчёркивали трехмерную
природу дислокационных структур, а также значимость упругой анизотропии.
Как правило, масштаб многих явлений, наблюдаемых с помощью
метода дифракционного контраста (разрешение ~10 нм), был таков, что их можно
было рассматривать в рамках теории упругости. Разработанная в 1969 г. Кокейном,
Реем и Уиланом методика слабого пучка внесла огромный вклад в увеличение
разрешения этого метода. Теперь ширина изображения дислокаций могла быть
уменьшена на привычной основе до ~1.5 нм, что позволило определять геометрию
дислокаций в беспрецедентных подробностях. К одному из важных применений
методики слабого пучка относится, например, измерение энергии дефектов упаковки
(рис. 14). Эта методика до сих пор остается стандартной при изучении
дислокаций, за исключением разве что структуры дислокационного ядра.
Рис. 14. Темнопольное изображение 30° дислокации (светлая
линия) в кремнии, полученное с помощью метода слабого пучка. Видно, что
дислокации расщепляются, и между расщепленными дислокациями возникает дефект
упаковки. Максимальные расстояния между расщепленными дислокациями составляет
4.8 нм.
В 1969 г. Хед предложил методы моделирования изображения
дислокаций, расположенных под наклоном в фольге, основываясь на уравнении
Хуви-Уилана. Эти методы стали мощным орудием для разграничения альтернативных
моделей дефекта, изображение которого снимается. В те же годы была создана
методика, использующая запрещенные отражения для съёмки изображения
индивидуальных ступенек атомарной высоты на поверхности монокристаллической
фольги. Данную методику можно рассматривать в качестве дальнейшего развития
метода слабого луча.
Появление высоковольтных микроскопов в 70-е годы прошлого
столетия стимулировало разработку методик, направленных на изучение нагревания,
охлаждения, деформирования образцов. Наблюдения in situ материалов в
контролируемых условиях позволили исследовать дислокационные механизмы.
Например, наблюдения движения винтовых дислокаций в ОЦК (объёмно-центрированный
куб) металлах при низких температурах ясно показали, что трение решётки (сила
Пайерлса) является механизмом, регулирующим скорость этого движения. Были
созданы методики определения векторов Бюргерса дислокаций, основанные на
влиянии дислокаций на контуры толщины, контуры изгиба, а также на фигуры,
получаемые с помощью больше углового сходящегося пучка.
Но в общем в методике дифракционного контраста в течение
более чем 25 лет не происходило значительных изменений, связанных с увеличением
разрешения. Вносились, разумеется, усовершенствования в способ применения
методики, например, экстенсивно использовалось моделирование изображения;
микроскопы, имеющие более высокое разрешение, лучший вакуум и стабильность,
обеспечивали возможность получения более чётких изображений благодаря использованию
больших параметров отклонения, дающих некоторое увеличение разрешения. Ввод в
эксплуатацию фильтров Омега позволил получать изображения методом слабого
пучка. Эти изображения демонстрируют гораздо более чёткий контраст, которого
можно достичь путём устранения большей части неупругого рассеяния, а это в свою
очередь предоставляет возможность для изучения более толстых образцов. Техника
изготовления образцов также получила свое развитие, например, был разработан метод
сфокусированного ионного пучка.
Очень часто метод слабого пучка, не имея атомарного
разрешения, даёт информацию о явлениях, существующих в атомарном диапазоне.
Примером тому служит наблюдение за переползанием ступенек в сплавах меди,
выполненное Картером. Он сделал заключение о существовании ступенек, наблюдая
за стягиваниями на дислокациях. Недавно Аракава сообщил о прямых in situ
наблюдениях за скоростью роста междоузлий Франка в меди в высоковольтном
электронном микроскопе в условиях междоузельного супернасыщения. Аракава следил
за движением яркой точки по краям пластины, причём эта точка соответствовала
ступеньке на частичной дислокации Франка.
Напротив, электронная микроскопия высокого разрешения
развивалась не столь стремительно, поскольку находилась в большой зависимости
от разработки инструмента и точности измерения его параметров. Поколение
приборов 1950-х годов имело разрешающую способность ~2 нм, 1970-х годов - 0.3
нм. Разработка микроскопов (рис 15.) мощностью 300-400 кВ открыла возможности
для дальнейшего увеличения их разрешающей способности. К 80-м годам прошлого
века разрешающая способность некоторых приборов достигла <0.2 нм, к 90-м
0.15 нм и более. Эти успехи обусловлены уменьшением сферической аберрации и
повышением механической и электронной стабильности. Теперь во всё возрастающем
перечне материалов, включающем металлы, полупроводники, керамику, дефекты
структуры могут быть исследованы с атомарным разрешением.
Рис. 15. Схема, иллюстрирующая образование изображения в
электронном микроскопе.
Теория интерпретации изображений, полученных с помощью
электронной микроскопии высокого разрешения, была создана ещё до появления
микроскопов с околоатомарным разрешением. Однако за последние примерно 10 лет
значительно улучшилась интерпретация изображений, в частности, реконструкция
волновой функции выхода электрона. В результате возникла возможность для
получения уже интерпретируемых изображений, разрешение которых зависит от
информационного предела, что способствовало уточнению стандартного критерия
Шерцера. Это обеспечило субангстремное разрешение (0.08 нм) берклиевского
скорректированного микроскопа высокого разрешения. Разработка корректоров
сферической аберрации привела к аналогичным важным усовершенствованиям (рис.
16).

Рис. 16. Микрофотография тонкой пленки, снятая в электронном
микроскопе на просвет. Видны два набора параллельных дислокаций. Каждая
дислокация выявляется как темная линия. Дислокации идут от верхней поверхности
фольги до нижней, толщина фольги примерно 2000 Ангстрем. Ниже схематически
показано распределение дислокаций в фольге. Эта схема иллюстрирует то
обстоятельство, что фотография сверху представляет собой проекцию на плоскость
трехмерной сетки дислокаций (х100 000).
В 70-е годы прошлого века появились микроскопы, в которых
электроны можно было сфокусировать на маленьких участках образцов. Эти приборы
сочетали в себе съемку изображения, дифракцию, рентгенографический анализ с
использованием энергодисперсионной спектрометрии, а также спектрометрию
энергетических потерь электронов (СЭПЭ) с помощью энергодисперсионных
спектрометров. Были разработаны растровые просвечивающие электронные микроскопы
специального назначения, которые заметно усовершенствовались за последние два
десятилетия. Зонды диаметром 0.1 нм и электронные прожекторы, также
используемые в просвечивающей электронной микроскопии высокого разрешения,
обеспечивают повышенную чёткость изображения. Улавливая сигнал в высокоугловой
кольцевой апертуре, можно снимать изображение кристаллических структур и ядер
дислокаций методом Z-контраста (контраст по атомному номеру), что часто
гарантирует непосредственную интерпретацию изображений (рис. 8). Это стало
мощным инструментом для изучения ядер дислокаций, особенно в комбинации со
спектрометрией энергетических потерь электронов (при атомарном разрешении).
Рис. 8. Изображения границы зерна в чистой меди (а) и в меди,
легированной висмутом (б), полученные с помощью метода Z-контраста. Висмут
оседает на границе зерен, делая медь более хрупкой.
Ещё одним достижением последних лет стала разработка энергетических
фильтров, которые как уже упоминалось выше, несколько элиминируют фон,
вызванный неупругорассеянными электронами, и обеспечивают получение
изображений, претерпевших определённые энергетические потери. Созданы
монохроматоры для минимизации разброса энергии в падающем электронном пучке,
они дают СЭПЭ-спектры с энергетическим разрешением 0.15 эВ. Короче говоря, в
последние 10-20 лет мы стали свидетелями значительных успехов в области
приборостроения, методики и интерпретации структурных съёмок и исследований дислокационных
ядер на уровне атомарного разрешения. Структуру дислокационных ядер можно будет
сравнить с моделями, вычисленными в рамках, например, теории функционала
плотности.
Заключение
Хотя предположение о существовании дислокаций в кристаллах
впервые возникло 30 лет тому назад, важность этого обстоятельства осознали
только в последние 15 лет. В настоящее время стало очевидным, что понимание
поведения дислокаций существенно для всех аспектов изучения кристаллических
материалов. Хотя многие аспекты идей, связанных с дислокациями, находятся еще в
состоянии разработки, основа дислокационной модели, базирующаяся на
теоретическом анализе и экспериментальных наблюдениях, уже создана, и она
составляет фундамент многочисленных новых теорий и гипотез, выдвигаемых в
настоящее время. Некоторые проблемы теории дислокаций еще до сих пор требуют
своего разрешения, тем не менее, основные ее положения в будущем вряд ли будут
отвергнуты или значительно изменены, в частности, это относится к вводным
построениям.
Список литературы
1. Киттель Ч. Введение в физику твердого тела. / Пер. с
англ.; Под ред.А. А. Гусева. - М.: Наука, 1978.
2. Д. Халл. Введение в дислокации. / Пер. с англ.; Под
ред.В.Н. Быкова. - Атомиздат, 1968, 280 стр.
. Инденбом В.Л., Орлов А.Н., Физическая теория
пластичности и прочности, "Успехи физических наук", 1962, т.76,
с.557.
. Котрелл А., Теория дислокаций. / Пер. с англ., М.,
1969.
. Питер Б. Хирш "50 лет исследованиям дислокаций
с помощью просвечивающей электронной микроскопии: прошлое, настоящее, будущее".
/ Журнал "Вестник Российской академии наук", том 76, №10, 2006.
Ссылки на источники:
1. "Мегаэнциклопедия
Кирилла и Мефодия" (www.megabook.ru <http://www.megabook.ru>).
. "Энциклопедия
Физики и техники" (www.femto.com.ua).