Газоразрядные приборы

  • Вид работы:
    Контрольная работа
  • Предмет:
    Физика
  • Язык:
    Русский
    ,
    Формат файла:
    MS Word
    179,69 Кб
  • Опубликовано:
    2015-01-04
Вы можете узнать стоимость помощи в написании студенческой работы.
Помощь в написании работы, которую точно примут!

Газоразрядные приборы

Газоразрядные приборы

1. Приборы тлеющего разряда

 

Индикаторы, стабилитроны, газотроны, тиратроны, декатроны, коммутаторы. Основные характеристики. Приборы дугового разряда с накаленным и холодным катодом. Особенности работы и применения. Использование газового разряда в приборах квантовой электроники.

2. Особенности приборов тлеющего разряда

 

Простейшие приборы - двухэлектродные.

Приборы постоянного тока (катод имеет более развитую поверхность, чем анод)

Приборы переменного тока (катод и анод одинаковы, так как выполняют свои функции попеременно)

Приборы с плоскими и цилиндрическими электродами. С металлической и стеклянной оболочкой P~1300….130000 Па.

Основные характерные признаки всех приборов тлеющего разряда.

-   холодный катод (ненакаливаемый). - упрощается конструкция, повышенная долговечность.

-       наличие светящегося слоя. Визуальная индикация работы.

-       высокая экономичность. Долговечность, малые габариты.

Двухэлектродные приборы - неуправляемые.

Разряд возникает при подаче U питания и горит до сохранения Umin горения.

Управляемые - одна и более сеток. Разряд возникает при подаче управляющего напряжения на сетку при наличии Umin горения на аноде.

3. Классификация

-   световые индикаторы;

-       стабилитроны;

-       двухэлектродные высоковольтные вентили (газотроны);

-       тиратроны;

-       переключаемые газоразрядные приборы:

световые индикаторы, коммутаторы, декатроны, полиатроны, коммутаторы (устарели), знаковые и синтезирующие индикаторы, функциональные и линейные индикаторы;

-   разрядники (предохранители);

-       газосветные лампы;

-       ПКЭ

4. Световые индикаторы (неоновые лампы)

-   обычно наполнены Ne, Ne+Ar (0,00005%…0,1%), и другие в зависимости от нужного свечения.

Форма различна: цилиндр, колба, …

Электроды - плоские, цилиндрические, кольцевые.

По сути СИ являются преобразователями электронной энергии в световую.

Электрические параметры:З, определяющее рабочее напряжение сети UР (UЗ<UР),Горения, Iа,

; (1)

Световые параметры:

сила света I(Кд), ее пространственное распределение,

; (2)

- излучающая площадь (Кд/м2)

световая отдача; (3)

Ω - телесный угол

 (4)

показывает эктомичность.

Долговечность - длительность работы без выхода основных параметров за пределы допустимых значений.

Газы: Ne - дает наиболее яркое свечение. Давление ~ 2500 - 4000 Па. Чем ­ P тем больше запас газа Þ ­ долговечность, ­ сила тока (­ ПС), но ­ и UЗ и UГ Þ выбирают компромисс.

Используют нормальный тлеющий разряд на границе перехода в аномальный (горит вся поверхность катода).

Типы: переменного и постоянного тока (электроды разные по размеру и форме, материалу), универсальные.

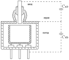
5. Стабилитроны

Стабилитроны - приборы, применяемые для поддержания на одном уровне выходного напряжения различных устройств.

Принцип работы основан на использовании нормального тлеющего разряда.

Конструкция - цилиндрические концентрически расположенные электроды. Колба - стекло или металл.

Рисунок 1 - Стабилитрон

Основные параметры - напряжение стабилизации равно напряжению горения UГ.

групп по UСШ: 50-60; 70-75; 80-90; 103-113; 140-160.

Для обеспечения этого параметра изменяется: материал катода; состав газа; выбор междуэлектродного промежутка d (обычно d ≈ dK - катодного падения).

В низковольтных стабилитронах используют активированные катоды (до 80 В), для более высоких U - Mo, Ni.

Газ: пентиговская смесь

He+Ar (Выше U)+Ar (Ниже U)

Ne+Kr

Внутрь прибора вносят поглотитель (танталовый геттер или распыляемый капсульный геттер), который активируют - разогревают или распыляют перед герметизацией.

ВАХ стабилитрона

Рисунок 2 - ВАХ стабилитрона

Основные параметры: - UЗ, - UГ, - Iа min, - Iа max, -ΔUГ(Горения),

; (5)

динамическое сопротивление,

; (6)

-   Зависимость UГ от T (ТКН)

-       Нестабильность U при ICT=const (дрейф)

-       Долговечность и надежность.

1.      Параметрическая

Рисунок 3 - Параметрическая схема стабилизации

UГ - основной параметр

2.      Компенсационная

Рисунок 4 - Компенсационная схема стабилизации

- опорное напряжение на катоде VT2. Сеточное напряжение VT2 пропорционально Uвых. С ↑Uвых→ ↑UС(VT2)→ ↑IR1→ ↓U С(VT1)→ ↓I0→ ↓IН→ ↓Uвх.

6. Вентили (газотроны) тлеющего разряда

Аналог диода.

+   полупериод

ΔUа - напряжение горения вентиля

-       полупериод

Рисунок 5 - Аналог диода

Для повышения эффективности вентиля необходимо, чтобы ΔUа << Uобр. Учитывая, что ΔUа ~ 80 ÷ 150 В при низких рабочих U вентили не применяются. Область применения связана с использованием следующих преимуществ: малая зависимость режима работы от T, устойчивость против излучений, визуальный контроль рабочего режима.

Основная проблема - обеспечение высокой пробивной прочности прибора в-полупериод и небольшого ΔUа в + период. Это достигается конструкцией прибора.

Рисунок 6 - Вентиль

Катод имеет площадь, достаточную для заданного тока в режиме нормального тлеющего разряда. Металлическая крышка (экран) отделяет анодную камеру от катодной.

+ полупериод: условия зажигания в катодной камере легко достигается при данных P0d на правой ветви кривой Пашена (низкие UЗ и UГ). Разряд зажигается между катодом и экраном, а затем переходит на анод.

-   полупериод: условие зажигания достигается при высоких Uа (малый объем камеры, малые P0d - работа на левой ветви кривой Пашена).

Используют He с P ~ 1500-2000 Па.

7. Тиратроны

Трехэлектродный прибор имеет катод, анод, сетку из никеля (диафрагма с центрированным отверстием, либо щелью).

Рисунок 7 - Тиратрон

Сетка позволяет только открыть тиратрон, но прекратить разряд она не может.

Рисунок 8 - Тиратрон

В начале между К и А прикладывается U, которое недостаточно для развития разряда без участия сетки (UЗ0 > Uа). Когда подают на сетку UС, зажигается сеточный разряд, электроны диффундируют через отверстие в анодную область и зажигается основной разряд. Uа снижается до UГ.

Рисунок 9

Для гашения разряда необходимо ↓ Uа до < UГ.

Сетка после зажигания разряда не может участвовать в управлении анодным током так как плазма экранирует ее от остального объема, окружая электронной (если UС > 0) или ионной (если UС < 0) оболочкой.

В течение всего разряда, потому, в сеточной цепи будет ток.

В большинстве тиратронов вводится еще один электрод - вспомогательный, для создания вспомогательного разряда (плазменного катода). На него подают Eвспомогательное и зажигают вспомогательный разряд. Но его горение недостаточно поджига основного разряда из за экранирования сеткой анода (малая проницаемость сетки). Только при подаче + импульса на сетку и протекания через нее тока, заряды проникают в анодную часть и зажигают основной разряд (токовое управление). В ряде случаев роль анода подготовительного разряда выполняет нижняя часть сетки.

Рисунок 10

Другой вариант управления - двухсеточный.

Рисунок 11

1 я сетка обеспечивает вспомогательный разряд UС2 < UС1 и электроны не проходят к аноду. Для включения основного разряда →  + на 2-ю сетку - электростатическое управление.

тиратрон лазер стабилитрон

8. Конструкции тиратронов

Рисунок 12 - Тиратрон МТХ - 90

Катод активирован Cs. UСЗ ≤ 85 В. UГ ~ 55 ÷ 60 В.

Рисунок 13 - Характеристики зажигания

Нет горизонтального участка так как тиратрон не является короткопромежуточным прибором.

9. Матричные индикаторы (плазменные панели)

Матричные индикаторы используются для отображения информации.

Рисунок 14

Рисунок 15 - Схема матричного индикатора

10. Приборы дугового разряда

Несамостоятельный разряд - приборы с накаленным катодом.

Двухэлектродные приборы - газотроны.

Газы: инертные, водород, пары ртути, Kr, Xe.

Рисунок 16 - Газотрон

Начало развития дуги задают электроны, эмитируемые накаленным катодом.

Признаки дугового разряда:

-   j ~ 10 ÷ 100 А/см2

-       UК мало ≥ Ui газа (≈ 20 В)

Рисунок 17

Рисунок 18

Используется в качестве вентиля в случаях:

-   большие перепады T

-       визуальный контроль работы

-       радиоактивное излучение

Параметры

IПР ~ 103 А, UОБР ~ 2∙104 В

Конструкции газотронов

Рисунок 19 - Стеклянная конструкция газотрона


Рисунок 20 - Керамическая конструкция газотрона

Отличие от газотронов - управляемая сетка

Рисунок 21 - Форма сетки

На сетке поддерживается большой отрицательный потенциал, задерживающий электроны с накаленного катода. Для включения разряда  +.

Электростатическое управление - потенциал сетки управляет полем, которое становится ускоряющим и позволяет электронам проникнуть к аноду.

Токовое управление - (при малой проницаемости сетки, сильно экранированный анод). При этом UС > 0 → возникает разряд между сеткой и катодом, ток которого и поджигает основной разряд Þ момент зажигания определяется сеточным током.

ТГИ - 1000/25 - металлокерамический тиратрон.ИМП ~ 1 кА, U ~ 25 кВ

11. Приборы дугового разряда

Самостоятельный разряд.

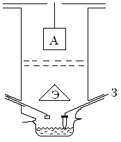
Ртутные вентили - ртутный катод.

Дуга горит в парах Hg, которыми в процессе испарения заполняется разрядный промежуток.

Самостоятельность разряда: эмиссия электронов возникает под действием сильного электрического поля, создаваемого + ионами, возникающими при ионизации молекул пара у катода.

Катодное пятно перемещается хаотически по поверхности ртути так как ионы отклоняются струями ртутного пара.

Для того, чтобы струи пара и ртутные капли не нарушали работы вентиля под катодом устанавливается защитный экран Э. Для остановки пятна используется хорошо охлаждаемая металлическая лента, выступающая из ртути узким краем.

Рисунок 22 - Ртутный вентиль

Для снижения UЗ используется вспомогательная дуга.

В ИГНИТРОНАХ вспомогательная дуга создается пропусканием импульсов тока через зажигатель из ВС (карбид бора), погружаемый в ртуть.

Для управления моментом зажигания основной дуги вводится управляющая сетка - аналогична тиратрону (Отрицательный потенциал удерживает вентиль от включения, для включения  +). Для понижения управляющего импульса и ↓ U отрицательного смещения на сетке между сеткой и катодом вводят дополнительный электрод - сетку - деионизационный фильтр (для ионизации электронов и протонов и уменьшения количества зарядов, идущих к сетке).

Применение для коммутации больших токов в технологических системах: I ~ 105 А (прокатные станы и т.д.)

Применение газового разряда в квантовой электронике

Виды разрядов:

-   Несамостоятельный

-       Самостоятельный

В основном используется « положительный «столб разряда.

-   наиболее протяженная часть

-       наиболее однороден по длине

-       легко регулируется по длине

-       малый , rср ≈ 0

Диффузионный режим горения тлеющего разряда: - при P³ 0,1 мм. рс lсв «R (радиус области разряда ≈ радиус разрядной трубки) Þ частица попадает на стенки после многократных столкновений. Если WГ < WВЫБ (упругие соударения) Þ максвелловское распределение по скоростям. За счет электрического поля: Tе» Ti > Tатомов

He - Ne ОКГ

Рисунок 23

~ 10…100 мВт

l = 0,63 мкм (красный); 1,15 мкм (ик); 3,39 мкм(ик)

Ионные ОКГ - дуговой разряд ↑Т ↑j →

капилляр ( 1 - 3 мм) I ~ 1 - 10 - 30 А j ~ 103 А/см2

Рисунок 24

~ 2 - 4 кЭ - ↑P в несколько раз.

кпд ~ 0,01 ÷ 0,1%2 - лазер (смесь CO2 + N2 в соотношениях 1:1, 1:5), l ~ 10,6 мкм, P ~ 1 мм. рс, трубка диаметром 25 ÷ 100 мм, Iразр ≈ 10 - 103 мА, U ~ 10кВ

Тлеющий разряд постоянного тока

Прокачка газа P ³ 1 кВт, кпд ~ 10% ÷ 15%

Используют и другие газы, смеси.

12. Особенности использования несамостоятельных разрядов в технологических лазерах

-   Характер процесса возбуждения - резонансный (Wе ~ Wвозб) (вероятность возбуждения максимальна при Wе ≈ Wвозб) учитывая возможность изменения U в широком диапазоне (от 0 до Uзажиг) можно подстраиваться к оптимальным U соответственно Wвозб.

-       + свойство: повышенная устойчивость: невозможно развитие ионизации - тепловых неустойчивостей так как скорость ионизации (α) не связана с напряженностью поля Þ легче поднимать удельную мощность.

-       Рабочая точка поддерживается без Rбалластного (Rб = 0) Þ нет потерь энергии.

Используются в молекулярных и эксимерных лазерах повышенной мощности.

Литература

1.   Сивухин Д.В. Общий курс физики. Термодинамика и молекул. физика М.: Наука, 2009. - 551 с.

2.      Трофимова Т.И. Курс физики М.: Высш. школа, 2007. - 432 с.

.        Фирганг Е.В. Руководство к решению задач по курсу общей физики. М.: Высш. школа, 2008.-350с

.        Чертов А.Г. Задачник по физике с примерами решения задач и справочными материалами. Для ВУЗов. Под. ред. А.Г Чертова М.: Высш. школа, 2007.-510 с.

.        Шепель В.В. Грабовский Р.И. Курс физики Учебник для ВУЗов. Изд. 3-е, перераб. М.:Высш. школа, 2008. - 614 с.

.        Шубин А.С. Курс общей физики М.: Высш. школа, 2008. - 575 с.

.        Беликов Б.С. Решение задач по физике. М.: Высш. школа, 2007. - 256 с.

.        Волькенштейн В.С. Сборник задач по общему курсу физики. М.: Наука, 2008. - 464 с.

.        Детлаф А.А., Курс физики: Учеб. пособие для ВУЗов М.: Высш. школа, 2008 - 608 с,


Не нашли материал для своей работы?
Поможем написать уникальную работу
Без плагиата!
Без нейросетей!