Основні параметри конструктивно-силових елементів агрегату на прикладі кіля
Список умовних скорочень
КСС - конструктивно силова схема;
ВО- Вертикальне оперення;
ГО- горизонтальне оперення;
ЄСКД - єдина система конструкторської
документації;
СПДС - система проектної документації для
будівництва;
ЕОМ - електронна обчислювальна машина;
ВДТ - відео дисплейний термінал;
ПС - повітряне судно;
КПО - коефіцієнт природньої освітленості.
Вступ
Кіль - частина хвостового оперення літального
апарату (ЛА), розташована в нормальній площині літального апарату (яка зазвичай
збігається з його площиною симетрії) або похилій площині у випадку V-подібного
оперення. Кіль призначений для забезпечення стійкості по куту ковзання
літального апарату. По задній кромці кіля на шарнірах зазвичай кріпиться кермо
напряму.
Метою дипломного проекту є навчитись будувати
модель агрегату літака в системі автоматизованого проектування, визначивши
основні параметри конструктивно силових елементів агрегату на прикладі кіля.
Для досягнення мети були поставленні наступні
завдання:
Вибрати та обґрунтовувати конструктивно-силову
схему агрегату;
Розрахувати навантаження які діють на агрегат;
Вибрати основні матеріали елементів;
Розрахувати необхідні геометричні параметри
елементів;
Побудувати модель деталей в системі
автоматизовано проектування;
Скласти модель агрегату з побудованих деталей в
системі автоматизованого проектування.
1. Схеми хвостового оперення. Вибір
конструктивно-силової схеми кіля
.1 Схеми хвостового оперення
літальних апаратів
Вертикальне оперення забезпечує літаку шляхову
стійкість, керованість і балансування щодо вертикальної осі. Воно складається з
нерухомої поверхні - кіля і шарнірно підвішеного до нього керма напряму.
Суцільноповоротні ВО застосовується рідко. Ефективність ВО можна підвищити
шляхом установки форкіля - передній наплив в кореневій частині кіля і
додатковим підфюзеляжних гребенем. Інший спосіб - застосування декількох
(зазвичай не більше двох однакових) кілів.
Форми поверхонь оперення визначаються тими ж
параметрами, що і форми крила: подовженням, звуженням, кутом стрілоподібності,
аеродинамічним профілем і його відносною товщиною. Як і у випадку з крилом
розрізняють трапецієвидне, овальне, стрілоподібне і трикутне оперення.
Схема оперення визначається числом його
поверхонь і їх взаємним розташуванням. Найбільш поширені такі схеми:
Схема з центральним розташуванням вертикального
оперення в площині симетрії літака - горизонтальне оперення в цьому випадку
може розташовуватися як на фюзеляжі, так і на кілі на будь-якому віддаленні від
осі літака (Рис.1.1). Схему з положенням горизонтального оперення на кінці кіля
прийнято називати Т-подібним оперенням (Рис.1.2).
Схему з центральним розташуванням вертикального
оперення використано на багатьох сучасних літаках. Наприклад Ан-24(Рис.1.3),
Ан-124(Рис.1.4), Ту-154(Рис.1.5) та ін..
Рис. 1.1 - Схема з центральним
розташуванням ВО
Рис. 1.2 - Т-подібне оперення
Рис. 1.3 - Літак Ан-24.
Горизонтальне оперення кріпиться до кіля
Рис. 1.4 - Літак Ан-124.
Горизонтальне оперення кріпиться до фюзеляжу
Рис. 1.5 - Літак Ту-154 з Т-подібним
оперенням
кіль епюра оперення
літак
Схема з рознесеним вертикальним
оперенням - дві його поверхні можуть кріпитися з боків фюзеляжу або на кінцях
ГО. У фюзеляжу двоблочної схеми поверхні ВО встановлюються на кінцях фюзеляжних
балок. На літаках типу «утка», «бесхвостка», «літаюче крило» рознесене ВО
встановлюється на кінцях крила або в середній його частині.
Рис. 1.6 - Рознесене вертикальне
оперення. Нормальна схема фюзеляжу
На рисунку 1.7 зображено рознесене
вертикальне оперення на літаку з двоблочною схемою фюзеляжу. Така схема не
набула широко застосування в літакобудуванні.
Рис. 1.7 - Рознесене вертикальне
оперення. Двобалочна схема фюзеляжу
Приклад: Ан-225(Рис.1.8), Lockheed
P-38 Lightning(Рис.1.9).
Рис. 1.8 - Ан-225
Рис. 1.9 - Lockheed P-38 Lightning
подібне оперення(Рис.1.10), що
складається з двох похилих поверхонь, які виконують функції і горизонтального і
вертикального оперення. Через складність керування і, як наслідок, малої ефективності
таке оперення широкого застосування не отримало (щоправда застосування
комп'ютерних пілотажних систем змінило ситуацію в кращу сторону. Поточне
управління V-подібним оперенням в новітніх літаках бере на себе бортовий
комп'ютер).V-подібне оперення Часто використовується на планерах з метою
зменшити пошкодження при посадці на нерівну поверхню.
Рис. 1.10 - V-подібне оперення
Приклад: Fouga СМ.170
Magister(Рис.1.11)
Рис. 1.11 - Fouga СМ.170 Magister
Для дипломного проекту вибираємо
схему з центральним розташуванням вертикального оперення в площині симетрії
літака, при цьому горизонтальне оперення кріпиться до фюзеляжу. Ця схема є
найбільш оптимальною та найбільш поширеною для регіонального літака.
1.2 Вибір конструктивно силової
схеми кіля
Стабілізатори і кілі мають повну
аналогію з крилом, як за складом та конструкцією основних елементів -
лонжеронів, поздовжніх стінок, стрингерів, нервюр, так і за типом силових схем.
Для стабілізаторів цілком успішно використовуються лонжеронна, кесонна і
моноблочна схеми, а для кілів остання схема застосовується рідше, через певні
конструктивні труднощі при передачі згинального моменту з кіля на фюзеляж.
Контурний стик силових панелей кіля з фюзеляжем в цьому випадку вимагає
установки великого числа силових шпангоутів або встановлення на фюзеляжі в
площині силових панелей кіля потужних вертикальних балок, що спираються на
менше число силових шпангоутів фюзеляжу.У стабілізаторів можна уникнути
передачі згинальних моментів на фюзеляж, якщо лонжерони або силові панелі лівої
і правої його поверхонь зв'язати між собою по найкоротшому шляху в центральній
його частині. Для стрілоподібного стабілізатора це вимагає перелому осі
поздовжніх елементів по борту фюзеляжу і встановлення двох посилених бортових
нервюр. Якщо поздовжні елементи такого стабілізатора без перелому осей доходять
до площини симетрії літака, то крім бортових силових нервюр, що передають
крутний момент, буде потрібно ще одна силова нервюра в площині симетрії літака.
Рис. 1.12 - Лонжеронна та кесонні
силові схеми: 1 - лонжерон, 2 - стінка, 3 - стрингер, 4 - обшивка
Для вибору конструктивно-силової
схеми кіля необхідно зробити порівняння лонжеронної та кесонної
конструктивно-силових схем за певними критеріями. Такими критеріями можуть
бути: маса, жорсткість, зручність компоновки та експлуатаційної
технологічності, живучість.
Порівняння маси.
Основна різниця в масі кесонного та
лонжеронного кіля визначається різницею мас стиснутих поясів лонжеронів і
стиснутих силових панелей при однаковому навантаженні.
Теоретична маса цих елементів
залежить від величини їх розрахункових напружень стиснення.
У стиснутих силових панелей ці
напруження завжди менші. Але тут потрібно враховувати що в лонжеронномукілі до
теоретичної маси силових поясів необхідно додати масу обшивки і стрингерів, так
як вони необхідні для утворення поверхні кіля. У кесонного кіля панелі
виконують дві функції - і силову, і конструктивну.
Порівняння жорсткості.
Більш низький рівень згинаючих
напружень і більш товста обшивка кесонного кіля дають менші деформації згину і
кручення, що означає більшу жорсткість ніж в лонжеронного кіля.
Порівнянні зручності компоновки та
експлуатаційної технологічності.
В лонжеронній схемі доволі просто,
без помітного збільшення маси конструкції можна зробити будь-які вирізи для
розміщення в них елементів. В кесонній схемі навіть невеликі потребують
допоміжних місцевих підсилень.
Порівняння живучості.
Живучість кесонного кіля вища через
розподілення силового матеріалу по більшій поверхні. В такому крилі місцеві
пошкодження конструкції приводять до меншої втрати міцності ніж у лонжеронного
кіля, в якому пошкодження одного з поясів може вивести з ладу цілий агрегат.
В даному розділі було розглянуто
існуючі схеми хвостового оперення та конструктивно-силові схеми кіля. Вибрано
схему з центральним розташуванням вертикального оперення в площині симетрії
літакалонжеронного типу. Лонжероном сприймаються згинальний момент і
перерізуючі сили. Пояси лонжерона сприймають осьові зусилля від згинального
моменту, а стінки погонні дотичні зусилля від перерізуючих сил. Крім цього в
стінці лонжерона можуть діяти погонні зусилля від крутного моменту. Крутний
момент сприймається тільки замкнутими контурами.Цей лонжерон доцільно
розміщувати в місці максимальної будівельної висоти. Лонжерон звичайно являє
собою балку таврового або швелерного типу.
2. Визначення основних навантажень
на вертикальне оперення
.1 Геометричні та технічні характеристики
об’єкта, що проектується
За вихідні дані до проекту вибираємо
технічні характеристики регіонального літака (Таблиця 2.1) та геометричні
характеристики вертикального оперення( Рисунок 2.1).
Таблиця 2.1
|
Розмах крила, м
|
20
|
|
Довжина літака, м
|
15
|
|
Площа крила, м2
|
35
|
|
Маса пустого літака, кг
|
4200
|
|
Максимальна злітна маса, кг
|
6600
|
|
Максимальна швидкість, км/год
|
450
|
|
Крейсерська швидкість, км/год
|
380
|
|
Практична дальність, км
|
700
|
|
Практичний стеля, м
|
6460
|
|
Екіпаж, чол.
|
2
|
|
Корисне навантаження:
|
20 пасажирів або 2000 кг вантажу
|
Кіль являє собою консольну балку. До
задньої кромки кіля на шарнірах кріпиться руль напрямку польоту. У конструкцію
кіля входять два лонжерони. Перший розташовується позаду носка кіля, а другий
перед передньою кромкою руля напряму. Перший лонжерон необхідний для кріплення
кіля до хвостової частини фюзеляжу, зазвичай тут використовуються шарнірні
вузли кріплення, які встановлюються на поясах лонжеронів. На задньому (другому)
лонжероні розташовані вузли навішування руля напряму.
Рис. 2.1 - Вертикальне оперення:
передній лонжерон, 2- задній лонжерон, 3 - вузли кріплення руля напряму, 4 -
руль напряму, 5- тример
Загальна площа вертикального
оперення:
,
Площа руля напряму:
;
Коефіцієнт запасу міцності f
= 1,5;
Максимальна експлуатаційна
перегрузка n Еmax = 3,1;
Максимально допустима
видкість польоту:
.
Максимальний допустимий
швидкісний напір:
(2.1)
2.2
Визначення навантажень на вертикальне оперення
У всіх випадках навантаження
розподіл навантажень за розмахом оперення приймається пропорційно хордам, а
навантаження паралельні хордам, через малу величину не враховуються.
Розрахунковий випадок:
маневрене навантаження.
Навантаження вертикального
оперення, що виникає при маневрі в горизонтальній площині, може бути визначене
за формулою:
(2.2)
де SB.0. - площа
вертикального оперення.
Питоме навантаження на
вертикальне оперення (навантаження на одиницю площі) дорівнює:
(2.3)

Навантаження кіля
розраховуються пропорційно його площі:
, (2.4)
де
=
;
Навантаження за розмахом
(висотою) кіля розподіляється пропорційно його хорді:
, (2.5)
де
хорда кіля
в перерізі, тоді
(2.6)
(Н/м).
2.3 Побудова
епюр
Кіль являє собою консольну
балку. Розрахункова схема кіля защемлена балка, навантажена розподіленим
навантаженням q і реакціями від руляRt, доданими у вузлах його навішування. За
вісь z приймається вісь жорсткості. У проектувальному розрахунку робимо
припущення, що перерізуюча сила сприймається стінками лонжеронів,
розподіляючись між ними пропорційно квадратах їх висот, а крутячий момент
сприймається замкнутим контуром, утвореним обшивкою і стінкою заднього
лонжерона.
Для кіля центр тиску
Рис. 2.2 - Розрахункова схема
перерізу кіля
Визначення згинальних
моментів та перерізуючи сил, які діють на кіль.
Знаходимо силу
:
, (2.7)
(Н/м)
Рис. 2.3 - Епюра перерізуючих
сил кіля
Розрахунок ведемо з кінця
кіля:
(2.8)
(2.9)
За даними формулами проводимо
розрахунки в програмі MicrosoftExcel 2010. Результати розрахунків наведені в
таблиці 2.1.
Таблиця 2.1
|
zр, м.
|
0
|
0,4
|
0,8
|
1,2
|
1,6
|
2
|
2,4
|
2,8
|
3,2
|
|
Q, H.
|
234
|
365
|
496
|
627
|
758
|
889
|
1020
|
1151
|
1282
|
|
Mз, н*м.
|
0
|
57
|
125
|
205
|
296
|
484
|
513
|
638
|
775
|
На рисунка 2.2 зображено епюри
розподілу перерізуючи сил та згинальних моментів по розмаху кіля.
Рис. 2.2 - Епюри перерізуючих сил та
згинальних моментів
Знаходження крутячих моментів кіля.
Розрахунок ведемо з кінця кіля.
Погонний крутний момент:
, (2.10)
Знаходимо момент для кожного
перерізу кіля:
(2.11)
Проводимо розрахунки в
програмі MicrosoftExcel 2010. Результати розрахунків наведені в таблиці 2.2.
Таблиця 2.2
|
zр м.
|
0
|
0,4
|
0,8
|
1,2
|
1,6
|
2
|
2,4
|
2,8
|
3,2
|
|
b, м
|
0,75
|
0,85
|
0,95
|
1,05
|
1,15
|
1,25
|
1,35
|
1,45
|
1,53
|
|
q, н*м.
|
234
|
365
|
496
|
627
|
758
|
889
|
1020
|
1151
|
1282
|
|
хц.т., м
|
0,375
|
0,425
|
0,475
|
0,525
|
0,575
|
0,625
|
0,675
|
0,725
|
0,765
|
|
xж, м
|
0,395
|
0,445
|
0,495
|
0,545
|
0,595
|
0,645
|
0,695
|
0,745
|
0,785
|
|
m, н
|
6,39
|
8,5
|
11
|
14
|
17
|
20
|
24
|
26
|
20,5
|
|
dМкр
|
0
|
3,88
|
8,148
|
4,88
|
10,248
|
5,88
|
12,348
|
6,88
|
12,98
|
|
Mкр(m)
|
0
|
0,75
|
1,72
|
2,95
|
4,46
|
6,3
|
8,48
|
9,71
|
7,77
|
|
Mкр(P)
|
-16
|
-18
|
-20
|
-22
|
-23
|
-25
|
-27
|
-28
|
-20
|
|
Mкр н*м
|
-21
|
-33
|
-29
|
-21
|
-21
|
-21
|
-21
|
-20
|
-18
|
Рис. 3.3 - Епюра крутних моментів
В даному розділі було описано
вихідні дані до проекту: технічні характеристики регіонального літака,
геометричні параметри вертикального оперення. Також було пораховано максимальну
швидкість та максимально допустимий швидкісний напір повітря. Проведено
розрахунок навантажень які діють на кіль в польоті. Побудовано епюри розподілу
сил, крутних та згинальних моментів.
3. Проектувальний розрахунок силових
елементів кіля
Для розрахунку геометричних
параметрів приймаємо, що панелі виготовлені з матеріалу Д16Т, лонжерони з В95.
Дані про матеріали наведені в таблиці 3.1.
Таблиця 3.1
3.1 Розрахунок лонжеронів
Розраховуємо середню висоту між
лонжеронної частини кіля:
(3.1)
де Н1 і Н2 висоти переднього і
заднього лонжеронів в перерізі.
Розраховуємо геометричні параметри
панелі. Знаходимо редукційну площу панелі за формулою:
(3.2)
де
-
критичне напруження для пояса лонжерона. Приймаємо
.
Сумарна площа верхніх поясів
лонжеронів:
(3.3)
Площа поясів лонжеронів наближено
розподіляється пропорційно їхній висоті:
(3.4)
(3.5)
Задаємо ширину поясів b і визначаємо
їх товщину h. Співвідношення b/h обираємо таким чином, щоб критичне напруження
втрати стійкості пояса лонжерона було рівним розрахунковому напруженню
матеріалу пояса
. Критичне
напруження розраховуємо:
(3.6)
де К=0.9 - коефіцієнт, що враховує
ослаблення поясу, Е - модуль пружності матеріалу, b- ширина пояса, h- висота
пояса.
3.2 Розрахунок панелі
Знаходимо кількість стрингерів на
панелі:
(3.7)
Площа стрингеру знаходиться за
формулою:
(3.8)
Товщина обшивки:
, (3.9)
Крок стрингерів:
, (3.10)
Кількість стрингерів на панелі:
, (3.11)
Площа стрингера:
(3.12)
Всі обрахунки проводяться за даними
формулами в програмі MicrosoftOfficeExcel 2010. Результати приведені в таблицях
3.2, 3.3.
Таблиця 3.2 - Параметри поясів та
стінок лонжеронів
|
№
|
Хорда bi, м
|
H1, м
|
H2, м
|
Нср, м
|
Fп1, мм2
|
Fп2, мм2
|
Fп1, мм2
|
Fп2, мм2
|
δст1, мм
|
δст2, мм
|
|
1
|
0,75
|
0,13
|
0,12
|
0,12
|
0,00
|
0,00
|
0,00
|
0,00
|
28,86
|
26,94
|
|
2
|
0,85
|
0,14
|
0,13
|
0,56
|
0,52
|
0,48
|
0,51
|
40,48
|
37,95
|
|
3
|
0,95
|
0,15
|
0,14
|
0,14
|
1,14
|
1,07
|
0,98
|
1,05
|
48,14
|
45,17
|
|
4
|
1,05
|
0,16
|
0,15
|
0,15
|
1,74
|
1,63
|
1,50
|
1,60
|
54,52
|
51,25
|
|
5
|
1,15
|
0,17
|
0,16
|
0,16
|
2,36
|
2,22
|
2,04
|
2,16
|
61,02
|
57,54
|
|
6
|
1,25
|
0,18
|
0,17
|
0,17
|
3,63
|
3,43
|
3,15
|
3,33
|
66,39
|
62,79
|
|
7
|
1,35
|
0,19
|
0,18
|
0,18
|
3,63
|
3,44
|
3,16
|
3,33
|
71,91
|
68,20
|
|
8
|
1,45
|
0,20
|
0,19
|
0,19
|
4,28
|
4,07
|
3,73
|
3,93
|
76,45
|
72,69
|
|
9
|
1,55
|
0,21
|
0,20
|
0,19
|
4,94
|
4,71
|
4,31
|
4,53
|
80,50
|
76,71
|
Таблиця 3.3 - Параметри панелей
|
№
|
δпрв,мм
|
δв,мм
|
nстрв
|
δпрн,мм
|
δн,мм
|
nстрн
|
tстрв, мм
|
fстрв,мм2
|
|
1
|
16,23
|
9,74
|
3,00
|
6,32
|
3,79
|
3,00
|
100,00
|
221,95
|
|
2
|
19,48
|
11,69
|
3,00
|
8,05
|
4,83
|
3,00
|
100,00
|
40,52
|
|
3
|
35,52
|
21,31
|
3,00
|
16,48
|
9,89
|
3,00
|
100,00
|
82,99
|
|
4
|
48,99
|
29,39
|
3,00
|
25,23
|
15,14
|
3,00
|
100,00
|
127,05
|
|
5
|
60,49
|
36,29
|
3,00
|
34,24
|
20,54
|
3,00
|
100,00
|
172,39
|
|
6
|
85,52
|
51,31
|
3,00
|
52,77
|
31,66
|
3,00
|
100,00
|
265,69
|
|
7
|
79,12
|
47,47
|
3,00
|
52,85
|
31,71
|
3,00
|
100,00
|
266,11
|
|
8
|
86,79
|
52,07
|
3,00
|
62,40
|
37,44
|
3,00
|
100,00
|
314,18
|
|
9
|
93,61
|
56,17
|
3,00
|
72,07
|
43,24
|
3,00
|
100,00
|
362,89
|
В даному розділі було проведено
проектувальний розрахунок силових елементів кіля. Розраховано геометричні
параметри поясів та стінок лонжеронів, геометричних параметрів панелей достатніх
для забезпечення необхідної жорсткості та надійності. Визначено кількість
стрингерів. Проведено розрахунки для 9 перерізів кіля. Оскільки в кожному
перерізі результати різні, то можна зробити отвори полегшення в перерізах, де
площа є меншою при виготовленні деталей.
4. Моделювання елементів кіля в
системі автоматизованого проектування Компас 3D.
.1 Система автоматизованого
проектування «Компас 3D»
«Компас» - сімейство систем
автоматизованого проектування з можливостями оформлення проектної та конструкторської
документації відповідно до стандартів серії ЕСКД і СПДС.
Програми даного сімейства
автоматично генерують асоціативні види тривимірних моделей (у тому числі
розрізи, перерізи, місцеві розрізи, місцеві вигляди, вигляди з розривом). Всі
вони асоційовані з моделлю: зміни в моделі призводять до зміни зображення на
кресленні.
Стандартні вигляди автоматично
будуються в проекційному зв'язку. Дані в основному написі креслення
(позначення, найменування, маса) синхронізуються з даними із тривимірної моделі.
Є можливість зв'язку тривимірних моделей і креслень зі специфікаціями, тобто
при «належному» проектуванні специфікація може бути отримана автоматично; крім
того, зміни до кресленні або моделі будуть передаватися в специфікацію, і
навпаки. Існує велика кількість додаткових бібліотек до програм сімейства, що
автоматизують різні спеціалізовані завдання. Наприклад, бібліотека стандартних
виробів дозволяє додавати вже готові стандартні деталі в тривимірні збірки
(кріпильні вироби, підшипники, елементи трубопроводів, шпонки, ущільнення), а
також графічні позначення стандартних елементів на креслення (позначення
отворів), надаючи можливість завдання їх параметрів.
Система «Компас-3D» призначена для
створення тривимірних асоціативних моделей окремих деталей і складальних
одиниць, що містять як оригінальні, так і стандартизовані конструктивні
елементи. Параметрична технологія дозволяє швидко одержувати моделі типових
виробів на основі одного разу спроектованого прототипу. Численні сервісні
функції полегшують вирішення допоміжних завдань проектування й обслуговування
виробництва.
4.2 Моделювання елементів кіля в
системі автоматизованого проектування «Компас-3D»
По даних які отримані в попередньому
розділі створюємо модель лонжеронів кіля ( Рис.4.1).
Рис. 4.1 - Лонжерони кіля
Будуємо силову нервюру(рис.4.2).
Рис. 4.2 - Силова нервюра
Далі необхідно вирізати отвори
полегшення (Рис.4.3)
Рис. 4.3 - Отвори полегшення
Також для кожного перерізу будуємо
типову нервюру (Рис.4.4).
Рис. 4.4 - Нервюри кіля
Нервюри №5 та №8 підсилені, оскільки
до них кріпиться руль напряму. На рисунку 4.5 видно вузол навіски руля напряму.
Рис. 4.5 - Підсилена нервюра
4.3 Моделювання елементів кіля в
системі автоматизованого проектування «Компас-3D»
Створюємо панелі з стрингерів та
обшивки. Далі за допомогою інструмента «Сборка» створюємо з готових деталей
(лонжеронів,нервюр та панелей) модель кіля регіонального літака. Результат на
рисунках 4.6 та 4.7.
Рис. 4.6 - Об’єднання
лонжеронів,нервюр та панелей в одну складальну одиницю
Рис. 4.7 - Кіль, вигляд з правого
боку
Рис. 4.8 - Заклепочне з’єднання
панелі з лонжероном та нервюрами
Отримуємо модель складеного кіля
(Рис.4.9).
Рис. 4.9 - Модель кіля
В даному розділі було визначено, що
являє собою програма автоматизованого проектування Компас. Проведено побудову
моделі лонжеронів кіля по даних які отримані в попередніх розділах. Побудовано
нервюри кіля.
Проведено об’єднання таких деталей
як лонжерони, нервюри та панелі одну складальну одиницю.
5. Охорона праці
Метою дипломної роботи є
проектувальний розрахунок кіля регіонального літака. Для виконання даного
завдання необхідно провести такі види робіт: проведення розрахунку навантажень,
побудова епюр, проектування основних силових елементів кіля (лонжерона, нервюр,
панелей), побудова моделі кіля в системі автоматизованого проектування.
Всі перераховані види робіт будемо
проводити на ЕОМ з монітором LCD (LiquidCrystalDisplay, рідкокристалічний
монітор). Основним потенційно шкідливим фактором, що впливає на здоров'я в
процесі розробки є вплив монітора працюючого комп'ютера, освітленість робочого
приміщення, мікроклімат в робочому приміщенні.
При роботі з ВДТ ЕОМ відповідно до
ГОСТ 12.0.003-74 ССБТ “Опасные и вредные производственные факторы” можуть бути
наступні потенційно шкідливі та небезпечні виробничі фактори:
Фізичні:
підвищений рівень “м’якого”
рентгенівського випромінювання;
підвищений рівень електромагнітних
випромінювань радіочастотного діапазону;
підвищений рівень інфрачервоних та
ультрафіолетових випромінювань;
підвищений рівень шуму та вібрації
на робочому місці;
підвищене значення напруги в
електричній мережі, замикання якої може відбутися через тіло людини;
підвищений рівень статичної
електрики;
підвищені або понижені температура,
відносна вологість та швидкість руху повітря робочої зони;
підвищена запиленість та
загазованість повітря робочої зони;
підвищений або понижений вміст
позитивних та негативних аероіонів в повітрі робочої зони;
недостатня освітленість робочої
зони;
підвищена яскравість світла;
понижена контрастність між об’єктом
і фоном;
прямий або віддзеркалений відблиск;
підвищена пульсація світлового
потоку.
Хімічні: підвищений вміст в повітрі
робочої зони озону та аміаку.
Психофізіологічні:
надмірні статичні, динамічні,
розумові, емоційні навантаження;
перенавантаження аналізаторів;
монотонність праці;
нераціональна організація робочого
місця.
Біологічні: підвищений вміст
мікроорганізмів в повітрі робочої зони.
Фактори, які впливають на умови
працірозробника проекту в його робочій зоні.
Аналіз умов праці виконаний для
робочої зони розробника проекту.
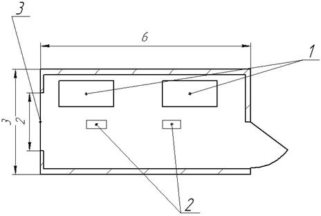
Приміщення має довжину а = 6м,
ширину в = 3м висоту h = 2,5м, площа приміщення складає S = 18м2, об’єм -45м.3
Кількість працюючих осіб n = 2.
Робочий стіл розробника проекту має
довжину 1,5 м, ширину 0,700, висоту робочої поверхні 0,8 м, висота простору ніг
0,76м, ширина 0,7 м, довжину 1 м, ширина на рівні колін 1 м, на рівні
витягнутої ноги 1 м. Робочий стіл повністю відповідає ДСанПін 3.3.3.007-98.
На робочому місці розміщений
персональний комп’ютер. Оскільки робота є сидячою то вона відноситься до
категорія Іа. Приміщення не є запиленим і немає джерел надходження шкідливих
речовин. Повітря робочої зоні відповідає вимогам санітарної гігієни.
Повітрообмін можна забезпечити шляхом природньої вентиляції.
Площа вікон в приміщенні 3 м2, площа
відривних створок 1,6 м2. Умови праці на робочому місці відносяться до 1 класу
- оптимальні.
Освітлення робочої зони є змішаним,
природне світло використовується в світлу пору доби. Орієнтація світлових
прорізів направлена на схід площа вікон 3 м2 висота вікна 1,5 м ширина 2 м. В
темну пору доби застосовують штучне робоче освітлення. В приміщенні 2
світильники в кожному з яких знаходяться по дві люмінесцентні лампи. За умови
недостатнього природного освітлення застосовують суміщене освітлення. Присутня
висока точність зорових робіт.
Рис. 5.1 - Схема розташування
розташування робочих місць, штучних та природніх джерел енергії: 1 - робочі
місця; 2 - штучні джерела світла; 3 - джерела природнього освітлення
Приміщення є безпечним на рахунок
ураження електричним струмом, за пожежною безпекою приміщення відноситься до
категорії В клас П-ІІа. В кожному приміщенні на поверсі розміщенні первинні
засоби пожежогасіння, розміщена схема аварійної евакуації на випадок пожежі.
5.1 Виключення небезпек під час
експлуатації кіля регіонального літака шляхом застосування комплексу технічних
та організаційних заходів
Оскільки кіль регіонального літака є
агрегатом літака, який не експлуатується окремо, варто розглядати безпеку під
час експлуатації літака. Далі наведені загальні положення безпеки праці під час
експлуатації повітряних суден.
Для скорочення часу, який екіпаж
витрачає на підготовку ПС (повітряних суден) до польоту, основний об'єм
підготовчих робіт до самого запуску двигуна і перевірки працездатності систем
ПС виконує ПС і спеціалісти наземних служб до передачі його екіпажу.
Технічне обслуговування авіаційної
техніки під час підготовки до вильоту і в польоті здійснює екіпаж з моменту
прийняття ПС від ПС перед вильотом до зарулювання на місце стоянки (вимикання
двигунів). Під час виконання цих робіт виникає небезпека в появі великої
кількості небезпечних і шкідливих виробничих чинників. Найбільшу кількість
травм і захворювань викликають такі чинники:
повітряні судна, спецавтотранспорт і
самохідні механізми, які рухаються в даний момент;
незахищені рухомі елементи ПС
(елерони, щитки, інтерцептори, тримери, шасі, оборотні гвинти, турбіни, трапи,
що випускаються і т. ін.);
струмені відпрацьованих газів і
предмети, що в них потрапили;
конструкції, що руйнуються (бортові
драбини, стрем'янки);
високо розміщені частини ПС;
поверхні, що мають підвищене
ковзання, спричинене обледенінням, зволоженням поверхонь ПС, трапів,
стрем'янок, приставних драбин і покриттів місць стоянок,- по яких пересуваються
члени екіпажу;
підвищена або знижена температура,
вологість і рухливість повітря в зоні стоянки ПС і в кабіні екіпажу;
підвищений рівень шуму, вібрації,
ультра- і інфразвуку в зоні стоянки ПС і в кабіні екіпажу;
недостатня освітленість робочої
зони;
хімічні речовини, які входять до
складу матеріалів, що використовуються для виготовлення обладнання і приладів
кабін екіпажів, а також тих, які застосовуються як отрутохімікати;
нервово-психічні й емоційні
перевантаження, перенапруження аналізаторів і гіподинамія.
Вимоги до безпеки праці екіпажу
багато в чому залежать від типу ПС та його конструктивних особливостей.
Наприклад, для екіпажів ПС авіації спецзастосування одним з основних шкідливих
виробничих чинників є отрутохімікати, які застосовують при виконанні
авіаційно-хімічних робіт.
У транспортних ПС з високо
розміщеними крилами і двигунами, установленими в зоні хвостового оперення,
вхідними та вихідними дверима, що розташовані на значній висоті відносно землі
і потребують застосування аеродромних пасажирських тралів, найчастіше
проявляється дія такого небезпечного виробничого чинника, як "високо
розташовані частини ПС".
) Безпека праці екіпажів повітряних
суден.
Через це ще й нині трапляються
падіння з висоти членів екіпажу та обслуговуючого персоналу.
Під час підготовки екіпажу ПС до
польоту (при слідуванні до нього і від нього) необхідно додержуватись маршруту
руху відповідно до розмітки перону і проявляти при цьому обачність, щоб
уникнути зіткнень з автотранспортом, який рухається, та іншими ПС (попадання в
реактивні струмені). Екіпажу необхідно також проявляти обережність під час руху
по нерівних ділянках бетонних покриттів, де розлиті ПММ, трапляється
обледеніння, а також розміщене аеродромне устаткування.
Під час перебування на стоянці і в
літаку екіпажу та ПС необхідно додержуватись вимог чинних інструкцій з техніки
безпеки під час виконання технічного обслуговування. Палити на стоянці літаків
забороняється. Члени екіпажу зобов'язані припинити завантаження літака
вантажами, які заборонено перевозити або які мають пошкоджену упаковку і можуть
завдати шкоди пасажирам і вплинути на безпечне завершення польоту. Запуск
допоміжної силової установки, двигунів, випробування засобів механізації,
вирулювання ПС здійснюють тільки використовуючи зв'язок з авіатехніком за
допомогою переговорного пристрою.
Черговість виконання технічних
процесів слід визначати таким чином, щоб уникнути одночасного виконання робіт,
які призводять до підвищеної небезпеки (наприклад, заправка і одночасна посадка
і висадка пасажирів, стравлювання кисню із системи під час роботи з
електрообладнанням і т. ін.). Стоянка літака обов'язково має бути обладнана
штатними засобами пожежогасіння, системою запобігання пожежі (виключення
утворення горючого середовища і джерел запалювання в ньому і т. ін.).
Убезпечення пасажирів під час
посадки і висадки - один з обов'язків членів екіпажу, тому їм належить
слідкувати за тим, щоб суворо виконувалась вимога, яка забороняє знаходитись на
борту літака пасажирам під час виконання робіт з підвищеною небезпекою
(заправка пальним, киснем, видалення обледеніння тепловими машинами і т. ін.).
У разі відсутності трапів або
автоліфтів біля отворів вхідних і службових дверей необхідно влаштовувати і
контролювати установку запобіжних ременів. Членам екіпажу забороняється
відкривати вхідні й службові двері (після посадки літака) без попереднього
установлення запобіжних ременів, щоб уникнути їхнього падіння за борт в
результаті дії на двері пориву вітру, надмірного тиску тощо. Обдув літака
тепловою машиною для видалення обледеніння здійснюють при надійному закритті
усіх дверей, люків, кватирок.
Перед заправкою літака пальним,
посадкою пасажирів і завантаженням вантажами все устаткування, яке знаходиться
під фюзеляжем, крилом, відкритими дверима літака, необхідно прибрати. Інакше в
результаті просадки літака може статися травмування людей, пошкодження літака і
устаткування (трапів, спецмашин, стрем'янок, механізмів, електрокарів,
вантажних візків і т. ін.). Екіпаж літака повинен контролювати виконання цієї
вимоги.
Слід уникати попадання на одежу і
тіло протиобліднювальної рідини типу "Арктика". Особливо небезпечне
її розташування з підвітряного боку від місця розпилення. Членам екіпажу під
час виконання усіх видів робіт на літаку забороняється: користуватися
несправним або покритим льодом обладнанням; працювати нестандартним
інструментом; користуватися приставними драбинами, не закріпленими до
конструкції літака і бетонного покриття; проводити зачохління і розчохління
фюзеляжу, високо розміщених частин літака без страхувальних пристроїв, а також
при швидкості вітру більше 7 м/с; переміщатися по східцях стрем'янок і драбин
спиною до них; бігти і скакати по них; бігти по проходах в салонах і трапах;
вмикати вимикач ВИСОКА НАПРУГА ПЕРЕДАВАЧА, якщо в секторі обзору ближче 50 м
знаходяться люди.
Під час буксирування ПС
забороняється зрушувати його з місця, розгойдуючи тягачами; кут повороту має
бути не більше як плюс 55°; усі члени екіпажу зобов'язані проявляти обачність
під час руху в межах можливого обзору; користуватися гальмами коліс літака слід
тільки в разі поломки буксиру вального пристрою, небезпеки зіткнення з
перешкодами за командою із землі та після зупинки; забороняється буксирування з
несправною гальмівною системою. Евакуацію ПС із ЗПС можна виконувати зі
швидкістю 3 км/год у супроводженні авіатехніка, який знаходиться на безпечній
відстані від візка шасі та має при собі упорні колодки.
У польоті екіпажу забороняється:
палити, усувати несправності пілотажно-навігаційних систем і електрообладнання
з розкриттям панелей і заміною запобіжників; користуватися відкритим вогнем під
час роботи з киснем; не допускати стикання кисню з замасленими (масними)
предметами; при підтіканні гідросуміші в кабіні літака користуватись киснем;
відкривати кран балона надувного трапа всередині кабіни літака, щоб уникнути
його заповнення (заклинювання) в ньому; користуватися електронагрівальними
приладами не за призначенням (підігрівання салону, сушіння предметів і т. ін.).
До вимог безпеки з часом можна
вносити корективи, доповнювати їх у зв'язку з надходженням в експлуатацію
літаків нової модифікації, доробками існуючих літаків, накопичуваною
інформацією (досвідом) профілактики травматизму екіпажів сучасних ПС.
) Надання першої допомоги членам
екіпажу і пасажирам уразі порушення умов польоту
Сучасні пасажирські ПС - надійний
вид транспорту. Проте, враховуючи, що польоти більшості швидкісних літаків
здійснюються на великих висотах, де умови для людського організму несприятливі,
можливі випадки виникнення деяких аварійних ситуацій.
У разі часткового порушення
герметизації або повної розгерметизації кабіни висотного літака за умови, що
він здійснює політ на висоті більше 2500 м, пасажири і екіпаж можуть опинитися
в умовах, небезпечних для життя. Відповідно до чинних настанов та інструкцій з
виконання польотів екіпажу в цьому випадку належить негайно, не перевищуючи
резервного часу, знизити літак до безпечної висоти.
Проте окремі особи можуть важко
перенести це зниження (навіть знепритомніти). У цьому випадку їм необхідно
надати першу допомогу. У разі вимушеної посадки літака рекомендується
виконувати такі заходи з надання першої допомоги:
винести потерпілих з місця аварії
(потерпілих з пошкодженим хребтом або з переломами виносити треба дуже
обережно);
негайно зробити штучне дихання, якщо
потерпілий не дихає, і виконувати його до появи ознак життя або до тих пір,
поки стане ясно, що потерпілий помер;
у разі кровотечі вище і нижче рани
слід накласти тугу пов'язку, якщо ж пов'язка не зупиняє кровотечі, необхідно
накласти джгут;
потерпілий у стані шоку блідий, у
нього часте, нерівне дихання, пульс частішає, шкіра волога, його необхідно
покласти (розпрямлене положення), трохи підняти ноги і тепло вкрити; у разі
тяжкого ураження голови слід трохи підняти голову, після чого дати йому декілька
ковтків гарячого солодкого чаю або будь-якого гарячого напою;
на опіки необхідно накласти
стерильну суху або змочену спиртом пов'язку, пухирі розкривати не можна;
в разі переломів на пошкоджену
кінцівку накладають шину.
Перша допомога при утопленні внаслідок
вимушеної посадки літака на воду така: особа, що надає допомогу, кладе
потерпілого животом вниз на зігнуте коліно своєї ноги і натискає між лопатками
на спину потерпілого. Голова його при цьому звисає, і вода зі шлунка
виливається. Після цього виконують штучне дихання.
.2 Визначення нормативних параметрів
природного та штучного освітлення в робочій зоні розробника проекту та заходи
по їх забезпеченню.
Нормоване значення коефіцієнта
природньої освітленості (КПО) визначаються ДБН В.2.5-28-2006 залежно від
характеристики зорової роботи, найменшого розміру об’єкта розрізнення,мм,
розряду зорової роботи та системи освітлення.
Нормативні параметри природного
освітлення в робочій зоні розробника проекту:
Система природнього освітлення -
одностороннє бокове.
Характеристика зорових робіт
відповідно до ДБН В.2.5-28-2006 - роботи середньої точності.
Нормоване значення КПО,ен =1,5%
Нормоване значення КПО приміщення що
розглядається:
еN= ен. mN
де ен=1,5% - значення КПО за
таблицею 1;=0,9- коефіцієнт світлового клімату за таблицею 2;номер групи
забезпеченості природним світлом за таблицею 2.
еN = 1,5*0,9 = 1,35.
Для забезпечення нормованого
значення КПО необхідно використовуючи для вікон матеріали з більшою
світлопропускною спроможністю, бокові світлові прорізи повинні бути достатньої
площі.
При штучному освітленні нормативною
величиною є абсолютне значення освітленості, яке залежить від характеристики
зорової праці та системи освітлення (загальне, комбіноване).
У процесі виконання дипломної роботи
виконується робота середньої точності, IV розряду.
При комбінованому освітленні
Освітленість = 750-300 лк.
При загальному освітленні
Освітленість= 300-150лк.
Для забезпечення нормативних
параметрів штучного освітлення необхідно використовувати джерела штучного
освітлення, які забезпечують достатню освітленість в робочій зоні розробника
проекту.
Таблиця 5.1
|
Характеристика зорової роботи
|
Найменший розмір об’єкта розпізнавання, мм
|
Розряд зорової роботи
|
Штучне освітлення Освітленість, лк
|
Природнєосвітлення
|
|
|
|
|
|
КПО, %
|
|
|
|
|
При комбінованомуосвітленні
|
При загальномуосвітленні
|
При верхньомучикомбінованомуосвітленні
|
При боковому освітленні
|
|
|
Високоїточності
|
0,3-0,5
|
ІІІ
|
2000-400
|
500-200
|
5
|
2
|
|
Середньоїточності
|
0,5-1
|
IV
|
750-300
|
300-150
|
4
|
1,5
|
|
Малоїточності
|
1-5
|
V
|
300-200
|
200-100
|
3
|
1
|
|
|
|
|
|
|
|
|
|
|
|
|
|
Таблиця 5.2
|
Світлові прорізи
|
Орієнтація світлових прорізів за сторонами
горизонту
|
Коефіцієнт клімату, т
|
|
|
|
Автономна республіка Крим, Одеська обл.
|
Решта території України
|
|
В зовнішніх стінах будинків
|
ПН
|
0,85
|
0,90
|
|
|
ПНС, ПНЗ
|
0,85
|
|
|
3, С
|
0,80
|
0,85
|
|
|
ПДС, ПДЗ
|
0,80
|
0,85
|
|
|
ПД
|
0,75
|
0,85
|
|
В прямокутних і трапецієподібних ліхтарях
|
ПН - ПД
|
0,80
|
0,80
|
|
|
ПНС - ПДЗ ПДЗ - ПНЗ
|
0,75
|
0,80
|
|
|
С - З
|
0,70
|
0,75
|
|
В ліхтарях типу "Шед"
|
ПН
|
0,80
|
0,80
|
|
В зенітних ліхтарях
|
-
|
0,70
|
0,80
|
|
Примітка. ПН - північ; ПНС - північ-схід; ПНЗ
- північ-захід; С - схід; 3 - захід; ПН-ПД - північ-південь; С-3 -
схід-захід; ПД - південь; ПДС - південь-схід; ПДЗ - південь-захід
|
5.3 Визначення нормативних значень
параметрів мікроклімату в робочій зоні розробника проекту та заходи по їх
забезпеченню
Дипломний проект відноситься до
категорії легких фізичних робіт (категорія Іа - роботи які виконують сидячи і
не потребують фізичного напруження).
Оптимальні значення мікроклімату для
робіт категорії Іа:
В холодний період року:
Температура: 22-24 ˚С.
Відносна вологість: 60-40 %.
Швидкість руху: 0,1 м/с.
В теплий період року:
Температура: 23-25 ˚С.
Відносна вологість: 60-40 %.
Швидкість руху: 0,1 м/с.
Для забезпечення оптимальних
параметрів мікроклімату необхідно: використовувати системи кондиціонування
повітря, системи подачі тепла, оптимізувати режими праці, виконувати вологе
прибирання приміщення, застосовувати теплоізоляційні устаткування.
5.4 Визначити та обґрунтувати
категорію приміщення розробника за пожежовибухонебезпечністю
Приміщення розробника проекту
відноситься до Вибухонебезпечної зони класу 2 - простір, у якому
вибухонебезпечного середовища за нормальних умов експлуатації немає, а якщо
виникає, то рідко і триває не довго, оскільки в приміщенні розробника проекту
не містить технологічного обладнання, речовин, пилу які є вибухонебезпечними
або знаходяться під тиском.
За пожежонебезпечністю приміщення
розробника проекту відноситься до Пожежонебезпечної зони класу П-ІІа-зона у
приміщенні, у якій розміщені тверді горючі речовини та матеріали.
Висновки до розділу:
В розділі «охорона праці» було
проаналізовано комплекс організаційних так технічних заходів для виключення
небезпек під час експлуатації об’єкта, що проектується. Також було визначено
нормативні значення природного та штучного освітлення, параметри мікроклімату в
робочій зоні розробника проекту та заходи, необхідні для забезпечення цих
параметрів. Визначено категорію приміщення за вибухонебезпечністю та
пожежонебезпечністю.
Висновки
В результаті виконання дипломного
проекту побудовано модель агрегату літака в системі автоматизованого
проектування.
Розглянуто та проаналізовано
загальні схеми виконання хвостового оперення. Проведено аналіз конструктивно
силової схеми кіля. Проведено порівняння кесонної силової схеми з лонжеронною
по таких параметрах як маса, живучість, аеродинамічна якість, жорсткість,
простота експлуатації та зручність виготовлення.
Розраховано навантаження які діють
на кіль літака в польоті. Було проведено проектувальний розрахунок кіля,
силових елементів кіля. Розраховано геометричні параметри поясів та стінок
лонжеронів, панелей достатніх для забезпечення необхідної жорсткості та
надійності. Вибрана схема є більш практичною і простою у виконанні. На основі
отриманих даних було спроектовано модель силових елементів кіля в системі
автоматизованого проектування Компас. Побудовано модель кіля регіонального
літака в системі автоматизованого проектування Компас.
Список використаної літератури
1. Житомирский
Г.И. Конструкция самолетов: Учебник. - М.: Машиностроение, 1991. - 400 с.
. Войт
Е.С. Проектирование конструкцій самолетов: Учебник / Е.С. Войт, А.И. Ендогур,
З.А. Мелик-Саркисян, И.М. Алявдин. - М.: Машиностроение, 1987. - 416 с.
. Анурьев
В. И. Справочник конструктора-машиностроителя. В 3 т. Т.2. / В. И. Анурьев. -
8-е изд., перераб. и доп.; под ред. И.Н. Жесткововой. - М.: Машиностроение,
2001. - 912 с.
. Егер
С.М. Проектирование самолетов. - М.: Машиностроение, 1983. - 612с.
5. Авіаційні
матеріали та їх обробка: Підручник /за ред. Ю.М. Терещенка. - К.:Вища освіта,
2003.- 303 с.
6. Торенбик
Э. Проектирование дозвукових самолетов. - М.: Машиностроение, 1983.- 647с.
. Конструкція
ЛА-2. Конструкція літаків: метод. вказівки довиконан. курс. проекту для студ.
за напрямом підготов. «Авіа- та ракетобудування» / Уклад. В.В. Сухов. - К.:
НТУУ «КПІ», 2011. - 68 с.
8. ГОСТ
12.0.003-74 ССБТ “Опасные и вредные производственные факторы”.
9. Гавриш
С.А., Гавриш А.С. «Охорона праці в галузі телекомунікацій». -К: НТУУ «КПІ»,
2011. - 440с.
10. НПАОП
63.23-1.06-98 Правила безопасности труда при техническом обслуживании и текущем
ремонте авиационной техники.