Организация работы отделения по ремонту сливных приборов и предохранительно-впускных клапанов цистерн

  • Вид работы:
    Курсовая работа (т)
  • Предмет:
    Транспорт, грузоперевозки
  • Язык:
    Русский
    ,
    Формат файла:
    MS Word
    41,31 Кб
  • Опубликовано:
    2014-07-30
Вы можете узнать стоимость помощи в написании студенческой работы.
Помощь в написании работы, которую точно примут!

Организация работы отделения по ремонту сливных приборов и предохранительно-впускных клапанов цистерн

Введение

Вагонное хозяйство является одной из ведущих отраслей железнодорожного транспорта. Вагонное хозяйство непрерывно развивается. Особое внимание уделяется оптимизации межремонтных периодов и сроков службы вагонов, повышению качества ремонтных работ, внедрению новых и совершенствование существующих форм организации производства, созданию поточно-конвейерных линий по ремонту вагонов и их отдельных частей. На вагоноремонтных предприятиях совершенствуется система планирования и материального стимулирования с широким внедрением научной организации труда, специализации и прогрессивной технологии ремонта на основе широкого использования передовых достижений науки и практики.

Наряду с решением задач максимального использования существующих производственных мощностей ведется строительство новых и реконструкция действующих линейных предприятий вагонного хозяйства.

Большое внимание уделяется развитию технической базы для текущего ремонта вагонов. Создаются крупные механизированные пункты подготовки вагонов к перевозкам, совершенствуется работа пунктов технического обслуживания, расположенных на сортировочных и участковых станциях. Широко внедряется средства механизации.

От четкой, слаженной работы подразделений вагонного хозяйства во многом зависит бесперебойность и безопасность движения поездов, своевременное обеспечение перевозок технических исправным подвижным составом, эффективность использования транспортных средств.

Таким образом, вагонное хозяйство железных дорог, развивая современную техническую базу для обслуживания и ремонта вагонов, приобретает прочную индустриальную основу для обеспечения высокого уровня работоспособности вагонного парка в современных и перспективных условиях его эксплуатации.

Задачами вагонного хозяйства является поддержание грузовых пассажирских вагонов, а также контейнеров в исправном состоянии для обеспечения перевозок грузов и пассажиров при соблюдении безопасности движения поездов, выполнение установленного плана ремонта вагонов, рациональное использование имеющихся технических средств, достижение наибольшей эффективности работы предприятий. Для осуществления этого в введении вагонного хозяйства имеются необходимые устройства, с помощью которых производится периодический и текущий ремонт вагонов, подготовка их к перевозкам и обеспечивается содержание в исправном состоянии при эксплуатации подвижного состава.

При ремонте подвижного состава всех разновидностей и типов выполняется большое количество различных и основных и вспомогательных работ: подъемно-транспортных, разборочно-сборочных, сварочных, окрасочно-сушильных, по очистке и обмывке, изготовлению и обработке изделий в ремонтно-комплектовочном участке.

С целью повышения эффективности производства дальнейшего улучшения качества ремонта вагонов, создания более благоприятных условий исполнителям работ вагонных депо постоянно совершенствуется технологические процессы ремонта вагонов и их частей, вводятся в эксплуатацию новые высокопроизводительные машины и механизмы, повышается квалификация рабочих, широко внедряется более прогрессивный поточный метод деповского ремонта грузовых вагонов.

Вагонные депо являются основными предприятиями вагонного хозяйства. В состав депо входят все другие производственные подразделения вагонного хозяйства в районе деятельности депо - пункты технического осмотра и подготовки вагонов к перевозкам, контрольные пункты автотормозов и т.д.

1. Общая часть

.1 Краткая характеристика участка

Отделение по ремонту сливных приборов и предохранительных и впускных клапанов цистерн является вспомогательным участком вагоноремонтного депо.

Отделение по ремонту сливных, предохранительных и впускных приборов предназначено для выполнения проверки технического состояния, ремонта и испытания сливных приборов и предохранительно-впускных клапанов нефтебензиновых цистерн.

На ремонтном участке закрепляется определенный перечень работ в соответствии с технологическим процессом, необходимый комплект организационно-технической оснастки, материалов, запасных частей.

Для качественного выполнения работ, обеспечивающих исправное техническое состояние сливных приборов и предохранительно-впускных клапанов в эксплуатации, на производственном участке ремонта и технического обслуживания должны проводиться следующие основные работы: подготовительные, разборочные, контрольно - ремонтные, сборочно-испытательные, окончательной сборки и маркирования.

 

1.2 Расчет программы участка

Программа отделения по ремонту сливных приборов и предохранительных и впускных клапанов цистерн вагоноремонтного депо определяется из условия, что в участок поступают все сливные приборы и предохранительно-впускные клапана, снятые с цистерн, поступивших в деповской ремонт. Производственная программа отделения должна обеспечить потребность вагоносборочного участка депо и текущего отцепочного ремонта.

В основу плана принимается потребность депо в сливных приборов и предохранительно-впускных клапанах. Программа ремонта депо составляет 500 четырёх осных цистерн в год.

На одной цистерне устанавливается один сливной прибор и один предохранительно-впускной клапан.

Потребность депо рассчитывают по формуле:

Nспв = 2 × N, (1)

где N - годовая программа депо, вагон

- количество сливных приборов и предохранительно-впускных клапанов на одной цистернеспв = 500 × 2 = 1000 сливных приборов и предохранительно-впускных клапанов

% сливных приборов и предохранительно-впускных клапанов поступают в отделение с цистерн, поступивших в текущий отцепочный ремонт.

Nспв = 1000× 0, 10 = 100 сливных приборов и предохранительно-впускных клапанов

Исходя из этого, годовая программа составит

Nспв = 1000 + 100 = 1100 сливных приборов и предохранительно-впускных клапанов

Сменную программу отделения определяем по формуле

 (2)

где Dр - количество рабочих дней в году, днейсм - количество смен работы в день, смен


.3 Разработка технологического процесса

Ремонт сливных приборов и предохранительно-впускных клапанов производиться в специализированных участках, имеющих необходимое технологическое оборудование и средства контроля.

После снятия с вагона сливные приборы, предохранительные и впускные клапаны поступают в отделение для дефектации и ремонта.

В процессе дефектации детали и составные части, которые требуют ремонта, сортируют по следующим признакам:

годные;

требующие ремонта и восстановления;

негодные для дальнейшей работы и не подлежащие ремонту и восстановлению.

Дефектацию проводят визуальным контролем и соответствующими измерительными приборами для определения величин износов деталей. Резиновые прокладки должны иметь гладкую, ровную поверхность. Не допускаются разрывы, выкрашивания, складки, инородные включения, вздутие, расслоение.

Сливные приборы разбирают, осматривают и ремонтируют, заменяя неисправные детали новыми или отремонтированными. При этом клапаны тщательно притирают к седлам. Ремонт деталей и узлов сливного прибора производят в соответствии с Руководящим документом на ремонт сливных приборов и предохранительно-впускных клапанов железнодорожных цистерн РД 32 ЦВ 106-2010.

Сливные приборы старых типов заменяют универсальными.

Если квадрат штанги, резьба, нажимной винт и гайка скобы, а также детали клапана имеют износы, их восстанавливают до альбомных размеров наплавкой дуговой или газовой сваркой с последующей механической обработкой; неисправные прокладочные и уплотнительные кольца заменяют новыми. Задиры и местные повреждения на протирочных поверхностях клапана и седла устраняют проточкой на токарном станке с последующей притиркой клапана к седлу.

Перед притиркой привалочная поверхности седла и клапана проверяются на токарном станке, при этом конусность их должна быть одинаковой.

Притирка и испытания на плотность клапанов сливных приборов производится на специальном стенде.

При ремонте универсальных сливных приборов усиливают крепление их узлов в соответствии с проектом ПКБ ЦВ М1034 «Модернизация универсального сливного прибора нефтебензиновой цистерны». В универсальных сливных приборах неисправные уплотнительные резиновые кольца заменяют новыми.

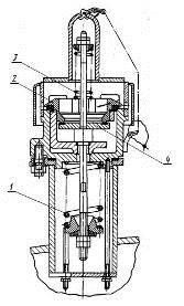
Клапаны предохранительно-впускных клапанов должны без заклинивания легко перемещаться относительно один другого (рисунок 1).

У клапанов пружины с трещинами, сломами, проседанием более 5 мм, поврежденные коррозией более 25%, заменяют новыми. Крепительные соединения с сорванной резьбой заменяют новыми. Детали клапанов, поврежденные коррозией больше 50% толщины, подлежат замене на новые или отремонтированные. При невозможности разобрать клапан, его заменяют новым или отремонтированным.

После ремонта предохранительные и впускные клапана испытываются сжатым воздухом и водой на стенде.

Настройка предохранительно-впускного клапана заключается в проверке его действия и регулировании чувствительности срабатывания.

Для настройки предохранительно-впускной клапан помещают в корпус, размещаемый на стенде, после чего включают двигатель вакуумного насоса и в гильзе стенда постепенно уменьшается давление. По показанию мановакууметра следят за величиной давления в гильзе. При достижении в гильзе давления от 0,05 кгс/см2 до 0,15 кгс/см2 клапан должен сработать.

Рисунок 1 Предохранительно-впускной клапан

- пружина клапана максимального давления; 2 - клапан максимального давления; 3 - пружина вакуумного клапана; 4 - вакуумный клапан.

Для настройки предохранительно-впускного клапана на ликвидацию избыточного давления в гильзе создается давление от 1,45 кгс/см2 до 1,55 кгс/см2, при достижении которого клапан должен сработать.

Если клапан срабатывает при давлении меньше указанного, пружину клапана необходимо ослабить. При срабатывании клапана от давления выше указанного, пружину клапана необходимо стянуть. Регулирование натяжения пружины выполняют рукояткой, расположенной на корпусе стенда.

Результаты настройки предохранительно-впускного клапана заносят в журнал общей формы с указанием даты выполнения настройки.

2. Индивидуальная часть

.1 Определение годового фонда времени работы одного работника и оборудования участка

Для организации процесса ремонта на отделении по ремонту сливных приборов и предохранительно-впускных клапанов, принимаем односменный режим работы, продолжительностью рабочей смены 8 часов.

Фонд времени работы оборудования - это количество часов его работы в течение определенного периода времени (год, квартал, месяц). Различают номинальный и действительный годовой фонд времени работы оборудования.

Номинальный фонд времени работы оборудования рассчитывается по формуле

Fноб =[ (Dк - Dп)× tc - dск×tск]× mсм, (3)

где Dк - количество календарных дней в году, дни

Dп - количество праздничных дней и выходных, дниc - продолжительность рабочей смены, час

dск - количество предпраздничных дней, дни

tcк - величина сокращения продолжительности рабочей смены в предпраздничные дни, час см - количество смен, смена

Принимаю Dк = 365 дней, Dп = 112 дней, tc = 8 часов, dск = 6 дней, tcк = 1 час, mсм = 1 сменыноб = [(365 - 118) × 8 - 6 × 1] ×1 = 1970 часов

Действительный фонд времени работы оборудования определяется по формуле

Fgоб = Fноб × hоб, (4)

где hоб - коэффициент, учитывающий простой оборудования по технической неисправности и в ремонте

Принимаю hоб = 0,95 ¸ 0,98gоб = 1970 × 0,95 = 1871,5 часов.

Фонд времени работы одного рабочего определяется при условии, что среднемесячная норма часов, принятая на железнодорожном транспорте равна 165,5 часар = 165,5 × 12 = 1986 часов.

.2 Расчёт параметров производственного процесса

Производственный процесс - совокупность взаимосвязанного основного, вспомогательного, естественного процесса, в результате которого, предметы труда превращаются в готовую продукцию. Основными элементами производственного процесса является предметы - ремонта вагонов и активная целенаправленная деятельность человека.

Основными параметрами производственного процесса ремонта вагонов, их узлов и деталей является ритм, такт, фронт.

Ритм показывает, какое количество сливных приборов и предохранительно-впускных клапанов выходит из ремонта за определённый период времени, и определяется по формуле

     (5)

где N спв - годовая программа ремонта gоб - действительный фонд времени работы оборудования, час

Фронтом работы называют количество одновременно ремонтируемых сливных приборов и предохранительно-впускных клапанов находящихся на позициях, и определяется по формуле

Фр = r × tв, (6)

где tв - норма простоя вагона в ремонте (для грузовых вагонов 8 часов), час

Фр = 0,59× 8 = 4,72 сливных приборов и клапанов

Тактом называется интервал времени между последовательным выпуском из ремонта. Его величина определяется по формуле

 (7)

где с - (ремонтные позиции для грузовых депо 4 - 7)

 

В депо при ремонте вагонов применяют стационарный и поточный методы. При стационарном методе вагоны от начала до конца ремонта находятся на одних и тех же рабочих местах.

На каждом из них производится полный комплекс работ по ремонту вагонов. Все рабочие места, оснащаются самостоятельным комплектом технологической оснастки.

Поточный метод является передовой формой организации ремонта и характеризуется тем, что вагоны передвигаются в процессе ремонта через определенные промежутки времени с одной позиции на другую. При этом каждая позиция оснащается механизмами и приспособлениями в соответствии с выполняемыми работами, а рабочие, находящиеся на рабочих местах, производят на каждом вагоне ремонтные операции, установленные на данной позиции.

2.3 Расчет и выбор технологического оборудования

Количество и типы оборудования устанавливаются из затрат станко - часов на заданную программу ремонта вагонов и действительного фонда рабочего времени оборудования.

Специальное оборудование, стенды и приспособления должны приниматься комплектно в количестве, необходимом для выполнения заданной программы ремонта.

Потребное количество оборудования рассчитывается по формуле

 (8)

где Nспв - годовая программа ремонта

Hоб - норма времени на единицу продукции станко-часах. Hоб = 5gоб - действительный годовой фонд времени работы оборудования

Коб - коэффициент использования оборудования. Коб = 0,8 ¸ 0,9


Таблица 1 - Количество и типы оборудования

Наименование

Количество единиц

Стоимость, рублей

Мощность, кВт

Сварочный аппарат АПС-022

1

84000,00

5,0

Стенд проверки и настройки клапанов

1

197000,00

1,5

Шлифовальная машина

1

5300,00

1,0

Сверлильный станок

1

15500,00

1,2

Итого

4

301800,008,7



2.4 Разработка планировки участка и определение габаритных размеров

К габаритным размерам производственного участка относится длина, ширина, площадь, высота и объём.

Площадь отделения по ремонту сливных приборов и предохранительно-впускных клапанов берём 72 м2, исходя из норм технологического проектирования пассажирских вагонных депо ВНП 02-86.

Тогда длина участка с учетом, что ширина участка из технических строительных норм 6 метров, будет

Объём участка определяется, из того что высота из строительных норм равна 4,8 метрам, исходя из этого, объём будет

V = 72 × 4,8 = 345,6 м3

Полученные данные сводим в таблицу

Таблица 2 - Габаритные размеры участка

Площадь, м2

Длина, метр

Ширина, метр

Высота, метр

Объём, м3

72

12

6

4,8

345,6


3. Экономическая часть

.1 Расчет контингента рабочей силы

Расчет численности основных производственных рабочих ведется исходя из программы депо и трудоемкости ремонтных работ. Явочная численность рабочих определяется по формуле

 (9)

где Nспв - годовая программа ремонта

Hmp - трудоемкость на техническое обслуживание одного вагона 1,2 чел - ч/вагон p - номинальный годовой фонд рабочего времени одного рабочего м - коэффициент, учитывающий снижение трудоемкости работ вследствие внедрения средств механизации и автоматизации технического обслуживания вагонов, Kм = 1,14

Списочная численность рабочих определяется по формуле

Rсп = Rяв × Кз, (10)

где Кз - коэффициент замещения = 1,1сп = 1 × 1,1 = 2 человека

Из этого количества работников рассчитаем количество руководителей, оперативно-производственный персонал и вспомогательных рабочих.



 

Данные расчетов заносим в таблицу

 
Таблица 3 - Численность рабочих участка

Профессия

Количество исполнителей

Разряд

Бригадир (освобожденный)

1

7

Слесарь

2

5

Слесарь

2

4

Итого

5 человек



Отделение по ремонту сливных приборов и предохранительно-впускных клапанов работает в одну смену. Режим работы, пять дней с 8:00 до 17:00 часов, перерыв на обед с 12:00 до 13:00 часов.

.2 Расчёт заработной платы и составление плана по труду

Прямые расходы, связанные с производством складываются из заработной платы и количества, стоимости использованных запасных частей и материалов.

План по труду включает следующие показатели: численность работников, среднемесячная зарплата, фонд заработной платы.

Оплата труда рабочих, связанных с ремонтом и эксплуатацией вагонов производится по повременно-премиальной и сдельно-премиальной системам. В состав среди месячной заработной платы входят: тарифная ставка, среднемесячный приработок (при сдельной оплате труда); премии; доплаты.

Часовые тарифные ставки работников железнодорожного транспорта берутся в приказе №47/Ц, (с учетом индексации среднемесячной нормы часов, принятая на железнодорожном транспорте 165,5 размер сдельного приработка определяется на основе тарифных ставок и процента выполнения норм приработка 20%).

Расчет премий выплачиваемых из фонда заработной платы, устанавливается в виде среднего процента к заработку.

Расчет годового фонда заработной платы сводят в таблицу 4

Таблица 4 - Заработная плата

Профессия

Разряд

Человек, штук

Часовая тарифная ставка, рублей

Норма времени, час

Должностной или тарифный оклад, рублей

Доплаты

Зарплата одного рабочего в месяц, рублей.

Годовой фонд зарплаты всех работников в год, рублей







За вредные условия труда, (%)

Размер премии, (%)

Сумма премии, рублей



Бригадир

7

1

98,36

165,5

16278,58

8

15

2441,79

20022,66

240271,92

Слесарь

5

2

84,19

165,5

13933,45

12

20

2786,69

18392,15

441411,60

Слесарь

4

2

81,55

165,5

13496,53

12

20

2699,31

17851,42

427570,08

Итого ОПР


5








1109253,60

 

.3 Расчёт количества и стоимости запасных частей и материалов

Расчёт принимается согласно нормам ПКБ-ЦВ/ЦУНР-13.5.0380 на деповской ремонт грузового вагона.

Таблица 5 - Количество и стоимость запасных частей

Наименование материалов и запасных частей

Количество на один вагон шт/кг/м2

Стоимость единицы, рублей

Общая стоимость, рублей

Предохранительно-впускной клапан

0,02

4057,40

40574,00

Сливной прибор

0,01

9365,25

46826,25

Клапан вакуумный

0,1

264,85

13242,50

Клапан максимального давления

0,1

316,25

15812,50

Пружина максимального давления

0,2

75,28

7528,00

Пружина вакуумная

0,1

44,75

2237,50

Прокладка вакуумного клапана

0,2

22,14

2214,00

Прокладка максимального клапана

0,2

36,12

3612,00

Резина листовая 4

0,01

452,63

2263,15

Прокладка сливного прибора

0,1

89,36

4468,00

Шкурка шлифовальная

0,2

36,15

3615,00

Паста притирочная

0,1

54,66

2733,00

Шплинт 4×40

0,01

54,78

273,90

Шплинт 6×80

0,01

85,16

425,80

Гайка М12

0,03

57,12

856,80

Гайка М22

0,03

62,17

932,55

Болт 12×35

0,01

58,03

290,15

Болт 22×80

0,01

75,64

378,20

Электроды УОНИИ 12/55

0,02

154,12

1541,20

Проволока ОЧ-2

0,01

38,55

192,75

Проволока ПП-АН180МН

0,12

77,14

4628,40

Круг Ст3сп/пс-32

0,06

154,23

4626,90

ИТОГО



159272,55


.4 Основные расходы общие для всех отраслей хозяйства

Статья 6757 «Дополнительная заработная плата и отчисления на социальное страхование рабочих»

По этой статье учитываем заработную плату за время, не проработанное на производстве, неоплачиваемое им и другие выплаты по производственному персоналу (оплата очередных отпусков, компенсаций за неиспользованный отпуск, льготных часов подросткам, перерыв в работе кормящим матерям). Составляет 7% от заработной платы основных производственных рабочих

Расходы на оплату прочих невыходов на работу по уважительным причинам 3% от заработной платы основных производственных рабочих с учетом доплат на отпуск

Отчисления на социальное страхование рабочих составляет 5,4% от заработной платы основных производственных рабочих и всех доплат

Статья 6759 «Отчисления на социальные нужды производственного персонала»

Составляют (страховые взносы) пенсионный фонд 26%, фонд социального страхования 5,4% + 1,4% на увечье. Медицинское страхование 3,6%, фонд занятости населения 1,5%.

Общая сумма отчислений на социальные нужды составляет 37,9% от годового фонда заработной платы основных производственных рабочих

 

Статья 6758 «Расходы по форменной одежде»

Расходы по форменной одежде определяются в зависимости от числа работников получающих ее со скидкой. Размеры скидки, срока носки и стоимости. Работникам старшего и среднего состава должностные оклады которых не превышают 4тысячи рублей в месяц, форменная одежда выдается со скидкой в размере 20% от ее стоимости, младшему и рядовому составу, получающему бесплатную спецодежду форменная одежда выдается со скидкой 40%, а не получающим бесплатной одежды со скидкой 50%.

Таблица 6 - Расходы на спецодежду

Спецодежда

Rсп получающие спецодежду

Стоимость спецодежды, рублей

Срок носки, месяцы

Сумма износа спецодежды в год, рублей



единица

общая



Костюм х/б

5

5641,35

12

5641,35

Ботинки рабочие

5

625,77

3128,85

12

3128,85

Очки защитные

5

178,95

894,75

до износа

894,75

Рукавицы х/б

5

11,50

57,50

1

690,00

ИТОГО

10354,95


Статья 6761 «Расходы по технике безопасности и производственной санитарии»

По этой статье планируются расходы по содержанию дезинфекционных камер, умывальников, душевых на производстве, сушильных шкафов для спецодежды и другие, связанные с охранной труда и составляет 5% от фонда заработной платы

 

Кроме того, по этой статье планируется стоимость мыла, которое рассчитывается исходя из действующих норм его выдачи численности работников и цены за килограмм (на одного рабочего выдаётся 2,4 килограмма мыла в год; малярам, сварщикам дополнительно 4,8 кг; служащим 0,68 кг).

Таблица 7 - Норма выдачи мыла

Группа работников

Списочная численность, человек

Норма расхода в год на, одного рабочего, килограмм

Общий расход в год, килограмм

Рабочие

4

2,4

9,60

АУР и ОПП

1

0,68

0,68

ИТОГО

10,28


При цене мыла за один килограмм 33,40 руб., расходы составят

10,28 × 33,40 = 343,35 рублей

Рассчитанная сумма учитывается по элементу затрат «Материалов», прочие расходы не капитального характера связанные с охраной труда, определяются в размере 3% от заработной платы основных производственных рабочих

 

Статья 6768 «Обслуживание производственных зданий и сооружений»

Расходы по этой статье состоят из заработной платы подсобных рабочих (уборщицы) из затрат на электроэнергию, на освещение, топливо, материалы на содержание здании и сооружений и прочих расходов.

Стоимость электроэнергии на освещение подсчитывается исходя и площади производственного участка или отделения, по формуле

 (11)

где Сэ - стоимость 1 кВт/ч электроэнергии на освещение

Носв - часов работы осветительных устройств в год для депо 2250

К - коэффициент спроса = 0,8осв - расход электроэнергии на освещение 1 м2 здания = 11Вт

Кэкс - коэффициент учитывающий экономию = 0,85-0,9

S - площадь производственного участка

Стоимость топлива, для отопления помещения рассчитывается по формуле

Ттоп = α × Hотп × gотп × V × Кэкс × Ксм × Ст × 10-6, (12)

где α - коэффициент учитывающий вид топлива = 0,23

Hотп - число часов отопительного сезона = 3980

gотп - часовой расход тепла на м3 = 0,8 Вт- объём здания

Кэкс - эксплуатационный коэффициент = 1,25

Ксм - коэффициент сменности = 0,85

Ст - цена 1 тонны топлива

Ттоп = 0,23 × 3980 × 0,8 × 345,6 × 1,25 × 0,85 × 14250 × 10-6 = 3831,94 рублей

Расходы на «материалы по содержанию зданий и сооружений» можно принять в размере 10% суммы расходов на топливо и электроэнергию

По элементу затрат «Прочие» планируют стоимость воды на бытовые нужды, учитывая расходы на 1 работающего по формуле

 (13)

где Свод - стоимость 1м3 водысп - списочное число работников

Т - число рабочих дней в году- удельный расход воды на одного работающего = 60

Статья 6766 «Ремонт зданий и инвентаря»

Расходы на текущий ремонт зданий принимается в размере 1,5% от их стоимости, которая определяется по формуле

Сзд = а × Vзд, (14)

где, а - стоимость 1м3 зданиязд - объем здания

Сзд = 240,35 ×345,6 = 83064,96 рублей

Расходы на текущий ремонт инвентаря принимаются в размере 1% от заработной платы основных производственных рабочих

 

Статья 6771 «Амортизация производственных основных средств»

По этой статье учитывают амортизационные отчисления на капитальный ремонт и полное восстановление основных средств непосредственно участвующих в процессе производства (здания и оборудование).

Годовая сумма амортизационных отчислений на полное восстановление и капитальные ремонт здания и оборудования, определяется по формуле

 (15)

где Сзд, Соб - балансовая стоимость здания и оборудования;

Нзд, Ноб - норма амортизации в процентах (зданий - 2,6%; оборудования - 12,5%).

Статья 6765 «Содержание и ремонт оборудования»

При этой статье учитывают стоимость силовой электроэнергии для производственных целей, а также расходы на обмывку вагонов и деталей перед постановкой в ремонт. Стоимость электросиловой энергии определяют по мощности выбранного и установленного оборудования по формуле

Эсил = Сэл × 1,2 × Кспэл × å Руст × Fоб × mcm × hз, (16)

где Сэл - стоимость 1 кВт/ч

,2 - коэффициент, учитывающий потери электроэнергии сети

Кспэл - средний коэффициент спроса = 0,35

å Руст - установленная мощность оборудованияоб - годовой фонд времени работы оборудованияcm - число смен работы оборудования

hз - коэффициент загрузки оборудования = 0,75

Эсил = 3,04 × 1,2 × 0,35 × 8,7 × 1871,1 × 1 × 0,75 = 15588,36 рублей

.5 Общехозяйственные расходы

Статья 6797 «Изобретательство и рационализация»

По этой статье учитываются вознаграждения авторам изобретений и рационализаторских предложений. Принимаются в размере 1% от общей заработной платы работников участка

 

Статья 6798 «Подготовка кадров»

Расходы принимаются в размере 0,1% от общего фонда заработной платы

 

Статья 6809 «Отчисления от фонда оплаты труда»

Расходы по этой статье рассчитываются от общего фонда оплаты труда работников на социальное страхование 4%, пенсионный фонд 26%, медицинское страхование 3,6%. На расчеты по средствам обязательного страхования от несчастного случая на производстве и профессиональных заболеваний 2%

 

Статья 6830 «Зарплата аппарата управления»

По этой статье учитывается месячная заработная плата и годовой фонд заработной платы мастера. Дополнительная заработная плата аппарата управления составляет 2% от основной заработной платы мастера

Статья 6831 «Премия аппарата управления»

Расходы по этой статье принимаются в размере 2,5% от фонда заработной платы мастера

Статья 6833 «Прочие расходы»

Расходы по этой статье принимаются в размере 0,5% от суммы основных расходов

 

Таблица 8 - Эксплуатационные расходы

№ ста-тьи

Наименование статьи

Контингент, человек

Зарплата, рублей

Расходы в рублях






Материалы и запасные части

Топливо

Электроэнергия

Прочие

Всего


1

2

3

4

5

6

7

8

9


Основные расходы


6607

Деповской ремонт грузовых вагонов

5

1109253,60

159272,55




1268526,15


Итого


5

1109253,60

159272,55




1268526,15


Расходы, общие для всех отраслей хозяйства


6757

Дополнительная зарплата и отчисления на социальные нужды

4

140439,08





140439,08


6759

Отчисления на социальные нужды производственного персонала

4

329344,06





329344,06


6758

Расходы по форменной одежде

5

10354,95





10354,95


6761

Расходы по технике безопасности и производственной санитарии

5


55806,03



26069,45

81875,48


6768

Обслуживание производственных зданий и сооружений



773,24

3831,94

3900,44

1378,26

9883,88


6766

Ремонт зданий и инвентаря

4

8689,82

1658,88




10348,70


6771

Амортизация основных производственных средств






39884,69

39884,69













6765

Содержание и ремонт оборудования





15588,36


15588,36

Итого



488827,91

58238,15

3831,94

19488,80

67332,40

637719,20

Общехозяйственные расходы

6797

Прочие расходы

5

11092,54





11092,54

6798

Подготовка кадров

5

1109,25





1109,25

6809

Отчисления от фонда оплаты труда

5

394894,28





394894,28

6830

Зарплата аппарата управления

1

3906,86





3906,86

6831

Премия аппарата управления

1

6006,80





6006,80

6833

Прочие расходы






6342,63

6342,63

Итого



417009,73




6342,63

423352,36

Всего








2329597,71


.6 Расчет себестоимости ремонта

Основные расходы депо относятся к определенному виду продукции непосредственно. Основные расходы общие для всех отраслей хозяйства и оборота распределяются по измерителям работы пропорционально заработной плате, учтенной по этим измерителям в основных расходах.

После этого все виды расходов суммируются по каждому измерителю работы. Плановая себестоимость продукции определяется по формуле

 (17)

где Э - общая стоимость расходов по плану депо- величина измерителя продукции

Таблица 9- Калькуляция себестоимости единицы продукции

№ п/п

Измеритель

Сумма, рублей

1

Объем работы, сливной прибор и впускной клапан

1100

2

Основные расходы

1268526,15

3

Основные расходы общие для всех отраслей хозяйства

637719,20

4

Общехозяйственные расходы

423352,36

5

Всего расходов

2329597,71

6

Плановая себестоимость

2117,82


4. Охрана труда

4.1 Требования безопасности к технологическому процессу и оборудованию

Подготовка цистерн к ремонту производится на промывочно-пропарочных станциях. Котлы цистерн очищаются от остатков перевозимых продуктов, промываются, пропариваются, дегазируются, а если в цистернах перевозилась кислота - нейтрализуются.

Сварочные работы внутри котлов цистерн должны выполняться только в подготовленных к ремонту цистернах с соблюдением мер безопасности: крышка колпака котла и сливные приборы должны быть открыты, у отверстия колпака должно находиться второе лицо в качестве наблюдателя. Наблюдающий должен уметь в случае необходимости оказать помощь сварщику, находящемуся внутри котла.

При работе в котлах цистерн, если естественного освещения, поступающего через колпак, недостаточно, должны применяться переносные взрывозащищенные фонари.

Пользоваться электрическим инструментом при работах внутри котлов не разрешается.

При испытании цистерн сжатым воздухом давление внутри котла не должно превышать 0,5 атм.

Сварка внутри котлов без вентиляции не допускается. При невозможности устройства местной вытяжной вентиляции должна обеспечиваться подача чистого воздуха непосредственно к месту сварки или применяться установка в виде шланговых дыхательных приборов, подающих чистый воздух под маску сварщика, причем в зимнее время воздух подается подогретым до температуры от 16 до 18º С.

4.2 Противопожарная безопасность

На основании требований Правил пожарной безопасности на железнодорожном транспорте (ЦУО / 112), Правил пожарной безопасности в Российской Федерации (ППБ 01 - 03) и устанавливает общие требования пожарной безопасности на территории, в зданиях и сооружениях принадлежащих предприятию и являются обязательной для исполнения всеми работниками предприятия. Лица, виновные в нарушении Инструкции о мерах пожарной безопасности несут уголовную, административную, дисциплинарную или иную ответственность в соответствии с действующим законодательством.

Во всех производственных и вспомогательных помещениях на видных местах должны быть вывешены таблички с указанием номера телефона вызова пожарной охраны «01», план эвакуации на случай пожара:

определены и оборудованы места для курения;

определены места и допустимое количество хранения запасных частей и готовой продукции;

установлен порядок уборки горючих отходов, хранение промасленной одежды;

определен порядок обесточивания электрооборудования в случае пожара и по окончании рабочего дня;

порядок осмотра и закрытия помещений после окончания работы;

действия работников при обнаружении пожара;

определен порядок и сроки прохождения противопожарного инструктажа и занятий по пожарно-техническому минимуму, а также назначенные ответственные за их проведение.

В помещениях зданий и сооружений запрещается:

хранение и применение баллонов с газами и других взрывопожарных веществ и материалов;

устраивать склады горючих материалов;

проводить отогревание замерзших труб паяльными лампами и другими способами с применением открытого огня;

оставлять неубранным промасленный обтирочный инвентарь и материалы по окончании работ.

Для сбора использованных обтирочных материалов необходимо устанавливать металлические ящики с плотно закрывающимися крышками.

Все двери эвакуационных выходов должны свободно открываться в сторону выхода из помещений.

Все работники должны допускаться к работе только после прохождения противопожарного инструктажа, а при изменении специфики работы проходить дополнительное обучение, по предупреждению к тушению возможных пожаров.

.3 Охрана окружающей среды

Под охраной окружающей среды понимается система мер, направленных на поддержание взаимодействия человека с окружающей средой, обеспечивающее сохранение и восстановление природных богатств, рациональное использование природных ресурсов, прямого и косвенного влияния результатов деятельности обществ на природу и здоровье человека.

Важнейшим мероприятием по борьбе с загрязнением атмосферного воздуха вредными веществами является уменьшение их выделения в источниках образования. Этому служат механизация и автоматизация производственных процессов, уплотнение, герметизация и вакуумитизация оборудования, создание поточных и непрерывных технологических линий, замена вредных летучих веществ менее вредными и летучими, а твердого топлива - газообразными и т.д. На железнодорожном транспорте наибольшую опасность в отношении загрязнения поверхностных источников питьевого назначения представляют вагоноремонтные заводы, депо, шпалопропиточные заводы и другие производства.

Обезвреживание сточных вод - важная санитарно-техническая проблема, от решения которой зависят безопасное водопользование населения и развитие живого мира рек, озёр, водохранилищ. Поэтому при осуществлении санитарного контроля исследуют сточные воды и воды водоемов на содержание многочисленных химических веществ, оценивают их запахи, прозрачность или щелостность. В зависимости от степени и качества загрязнений применяют разные способы очистки сточных вод.

Объектами санитарной охраны почвы являются балластная призма железнодорожного полотна, территория станций, промышленных объектов и железнодорожных посёлков.

Организация и руководство работой по вопросам охраны природы и рационального использования природных ресурсов в РЖД возложены на специальный отдел, который является структурным подразделением главного управления по безопасности движения и экологии. Отдел контролирует проводимую управлениями РЖД работу по охране природы и улучшению использования природных ресурсов, а также ход выполнения управлениями РДЖ планов строительства природных объектов. В своей деятельности отдел руководствуется действующим законодательством, приказами и указаниями РДЖ, главного управления по безопасности движения и экологии.

Разработка и внедрение новых технологических процессов на железнодорожном транспорте и в транспортном строительстве связаны с необходимостью повышения скорости движения поездов, увеличения пропускной способности на железных дорога, улучшения условий труда работающих, повышения комфортных условий проезда пассажиров. При этом должны быть созданы также условия, при которых решение вышеуказанных задач не будет отрицательно влиять на природную среду. Вместе с тем при строительстве и ремонте пути возникает опасность загрязнения окружающей среды, особенно при ремонте пути. При работе щебнеочистительных машин возникает высокая запыленность, причем пыль содержит не только силиций, но и загрязнена бактериями, пестицидами, гербицидами, которые сбрасываются на путь со сточными канализационными водами пассажирских и грузовых поездов, интенсивность движения которых на сети железных дорог весьма высока.

Для ликвидации отрицательных факторов, влияющих не только на окружающую среду, но и на безопасные условия труда работающих, применяются методы пылеподавления, управление машинами при помощи выносных пультов, снижение шума и вибрации в источниках.

Заключение

цистерна ремонт себестоимость

Курсовой проект выполнен в соответствии с заданной темой: «Организация работы отделения по ремонту сливных приборов и предохранительно-впускных клапанов цистерн», и состоит из пояснительной записки и графической части.

Пояснительная записка содержит данные по трем разделам: общему, индивидуальному и экономическому.

В общей части представлены пояснения и расчет по работе отделения по ремонту сливных приборов и предохранительно-впускных клапанов цистерн, производственная мощность, организация труда, технологический процесс и требования безопасности.

В индивидуальной части рассчитаны параметры производственного процесса, выбор технологического оборудования с определением габаритных размеров участка и расчёт численности работников.

В экономической части представлены расчеты штатной ведомости и плана эксплуатационных расходов, расчёт себестоимости ремонта.

В период выполнения курсового проекта я посещал вагонное депо и ознакомился с типовыми технологическими процессами работы депо и отделения по ремонту сливных приборов и предохранительно-впускных клапанов цистерн. Эти сведения были использованы при выполнении курсового проекта, мною были сделаны расчеты и составлен план эксплуатационных расходов.

Список использованных источников

1 Быков, Б.В. Технология ремонта вагонов / Б.В. Быков, В.Е. Пигарев - М.: Желдориздат, 2001. - 559с.

2 Стрекалина, Р.П. Экономика и организация вагонного хозяйства / Р.П. Стрекалина - М.: Маршрут, 2006. - 436с.

3 Организация, планирование и управление на вагоноремонтных предприятиях / под редакцией Меланина В.Н. - М.: ГОУ «УМЦ ЖДТ», 2008. - 383с.

Клочкова Е.А. Охрана труда на железнодорожном транспорте/ Е.А.Клочкова - М.: Маршрут, 2004, - 413с.

Лукин, В.В. Вагоны. Общий курс/ В.В.Лукин, П.С.Анисимов, Ю.П. Мотовилов - М.: Маршрут, 2004. - 424 с.

6 Мотовилов, К.В. Технология производства и ремонта вагонов/ К.В. Мотовилов - М.: Маршрут, 2003. - 382 с

Лукашук, В.С. Нестандартное оборудование вагоносборочного производства. Конструкция, проектирование, расчет: Учебное пособие для студентов вузов ж.д.транспорта. М.: Маршрут, 2006. - 208с.

Похожие работы на - Организация работы отделения по ремонту сливных приборов и предохранительно-впускных клапанов цистерн

 

Не нашли материал для своей работы?
Поможем написать уникальную работу
Без плагиата!
Без нейросетей!