Вентиляция помещений морских судов
Владивостокский морской
рыбопромышленный колледж
ЗАОЧНОЕ ОБУЧЕНИЕ
по специальности 151022 МТЭХ-КМиУ
КОНТРОЛЬНАЯ РАБОТА
по дисциплине "Вентиляция и
кондиционирование воздуха"
Вентиляция помещений морских судов
Владивосток 2012
Содержание
1. Общие требования Морского Регистра судоходства к судовым
системам вентиляции и вентиляторам
2. Оборудование для очистки воздуха
3. Смешиваются наружный воздух в количестве L1 =5м3/с,
с параметрами наружного воздуха t1 =20єС, влагосодержанием d1
=8г/кг с рециркалюционным воздухом в количестве L2 =2м3/с
параметрами
4. Как осуществляется хладоснабжение судовых систем
кондиционирования воздуха
Двухканальная система кондиционирования воздуха
5. Описать работу кондиционера типа "Нептун"
1.
Общие требования Морского Регистра судоходства к судовым системам вентиляции и
вентиляторам
К вентиляции помещений морских судов, в силу их тесноты,
отсутствия достаточного количества света, наличия сырости, наличия большого
количества различных тепловых механизмов, приборов, трубопроводов,
предъявляются повышенные требования как с гигиенической, так и с
противопожарной точек зрения.
Неправильно рассчитанная и установленная вентиляция ведет к
неудовлетворительным метеорологическим и гигиеническим условиям, что вредно отражается
на работоспособности судового состава и самочувствии пассажиров.
Основные требования, предъявляемые Регистром к судовым
вентиляционным установкам, с точки зрения пожара безопасности и
взрывобезопасности, сводятся к следующему:
1. Моторно-котельные отделения паротеплоходов,
работающие на жидком топливе, а также суда, предназначенные для перевозки
нефтепродуктов, нефтеперекачивающие станции и помещения, где расположены
запасные цистерны для нефтетоплива, должны иметь вытяжную вентиляцию. Эта
вентиляция должна обеспечить содержание в воздухе горючих газов, как в самих
отделениях, так и под их настилом, не выше установленных
санитарно-гигиенических норм.
2. Места хранения нефтепродуктов на судах -
топливные цистерны и отсеки - должны быть снабжены надлежащими средствами для
обеспечения содержания в них горючих газов не взрывоопасной концентрации
(вентиляция с установкой виндзелей, пропаривание после израсходования
нефтепродуктов и т.д.)
3. Необходимо насосное помещения судов, перевозящих
нефпродукты, оборудовать самостоятельной вентиляцией. Вытяжная система
вентиляции должна быть искусственной, приточная может быть естественной,
Вытяжная вентиляция должна обеспечивать поддержание во всех участках помещений
концентрацию углеводородов не выше санитарно-гигиенических норм и, во вся ком
случае, создавать не менее 25-30-кратного обмена воздуха к час; для моторных
рубок не менее 10-кратного.
Вентиляционные установки разрешается располагать как самом
насосном помещении, так и вне его. Непосредственно в насосном помещении
допускается установка вентиляторов с паровыми двигателями; в случае применения
вентиляторов с электродвигателями последние должны быть установлены вне
насосного отделения.
4. Если для вентиляции насосных помещений
применяется воздушная эжекционно-вытяжная вентиляция с установкой
электровентиляторов вне насосных помещений, например: в границе с насосным
помещением машинное отделение или в специальную выгородку на верхней палубе,
изолированную от насосного помещения и моторной рубки, - вентилятор может быть
установлен в насосном помещении и соединен с электродвигателем валом,
снабженным в местах прохода через переборку или палубу газонепроницаемым
сальником. При этом должны быть выполнены требования взрывобезопасности,
предъявляемые к устройству электрооборудования на нефтеналивных судах.
5. Если вентилятор устанавливается в насосном
помещении или может принимать воздух непосредственно из насосного помещения,
вентилятор и кожух должны быть изготовлены из материала, не вызывающего
ценообразования при случайном задевании крылаткой кожуха вентилятора.
6. Для вентиляции насосных помещений могут быть
допущены также пароэжекционные установки.
7. Трубопровод вытяжной вентиляции насосных
помещений должен иметь такое расположение приемников, которое обеспечило бы
равномерный и достаточно эффективный отсос углеводорода из всех мест выделения
его.
8. Должна быть обеспечена невозможность
проникновения газов по вентиляционным трубопроводам из насосного помещения в
смежные отделения (машинное отделение, моторная рубка, помещения
электродвигателей вентиляторов и др.) во время бездействия вентиляционной
установки (герметичные отсоединяющие задвижки).
9. Допускается использование вентиляционной
установки насосных отделении для вентиляции танков через погрузочно-разгрузочные
и зачистные трубопроводы.
10. Все задвижки на вентиляционных трубах в насосном
помещении должны быть устроены так, чтобы исключалась всякая возможность
новообразования при пользовании ими.
11. Все трюмы и междупалубные пространства, служащие
для перевоза нефтепродуктов 1-го и 2-го разряда в таре, должны быть снабжены
вентиляционными устройствами, обеспечивающими не менее 10-кратного обмена
воздуха в час. Вентиляционные трубы должны быть выведены на открытую палубу на
высоту не менее 2 м над ней, а вблизи надстроек - не ниже верха последних и
снабжены огнепреградительными сетками, доступными для осмотра, очистки и
замены.
12. Вентиляционные трубы (каналы), проходящие через
противопожарные переборки, должны пересекать последние в наиболее высоком поясе
и иметь разобщительные задвижки, доступные для закрытия с обеих сторон
переборок.
13. При работе двигателей или котлов на жидком
топливе должна быть предусмотрена возможность немедленной остановки
искусственной вентиляции машинного отделения, а также возможность закрытия
вентиляционных отверстий в машинно-котельные отделения.
Следует иметь в виду и другие требования, улучшающие работу
вентиляционных установок в судовых условиях.
1. Дефлекторы должны быть расположены в наиболее
открытых местах судна. Поворотные дефлекторы требуется устанавливать на
вертикальном патрубке - комингсе. По Правилам Регистра высота комингса для
морских судов должна быть не менее 915 мм при установке на главной палубе и 760
мм при установке на крышах надстроек.
2. Для обеспечения работы вентиляции в штормовую
погоду, необходимо располагать дефлекторы в местах, не заливаемых водой во
время шторма. Комингсы дефлекторов на морских и озерных судах желательно
снабжать штормовыми крышками, которые ставить перед штормом или на период
зимнего отстоя судна.
3. Все дефлекторы снабжать предохранительными
сетками для защиты воздухопровода от попадания в него мусора, а дефлекторы,
предназначенные для вентиляции аккумуляторных и насосных помещений с
нефтеперекачивающими насосами, снабжать огневыми предохранителями - латунными
сетками с числом ячеек не менее 144 на 1 см2.
4. Воздухопровод должен иметь минимальную длину, для
чего следует располагать вентилятор центрально по отношению к вентилируемым
помещениям.
5. Изгибы (колена) воздуховодов необходимо выполнять
с максимальным радиусом, не менее 1,5 диаметра от центра кривизны до оси трубы.
Для уменьшения аэродинамических сопротивлений в коленах больших сечений
рекомендуется устанавливать направляющие лопатки.
6. Ввиду ограниченности места целесообразна скрытая
прокладка воздуховодов, но при условии удобного доступа для их обслуживания.
7. В банях, прачечных и других влажных помещениях
трубы следует прокладывать с уклоном для стока влаги.
8. Во избежание конденсации паров воды на
воздуховодах для уменьшения нагрева подаваемого воздуха трубы приточной
вентиляции, проходящие через жилые и служебные помещения, должны быть
теплоизолированы.
вентиляция морское судно помещение
2.
Оборудование для очистки воздуха
Очистку воздуха от примесей производят как при подаче
наружного воздуха в помещение, так и при удалении загрязненного воздуха из
помещения. В первом случае обеспечивается защита работающих, во втором -
окружающей среды.
Степень очистки, %, воздуха от пыли, обычно называемую
эффективностью пылеулавливания, определяют по формуле
где G2 - концентрация пыли в воздухе до очистки, мг/м3;
G1 - концентрация пыли в воздухе после очистки, мг/м3.
Очистка воздуха от пыли может быть грубой, средней или тонкой.
При грубой очистке из воздуха улавливается только крупная пыль с
размерами частиц более 50 мкм, степень очистки сравнительно невысока - 70… 85
%. При средней очистке задерживается пыль с размерами частиц до 50 мкм, степень
очистки возрастает до 85…95 %. Тонкая очистка позволяет улавливать пыль с
размерами частиц менее 10 мкм, степень очистки при этом более 95 %.
Для судов. Для средней и тонкой очистки воздуха от примесей широко
используют фильтры, которые подразделяются на поглощающие и пористые.
К числу поглощающих фильтров относятся промывные камеры и
орошаемые фильтры.
1. В
орошаемых фильтрах (ротоклонах) (рис.1) фильтрующий слой состоит из гравия,
кокса или специальных фарфоровых колец, орошаемых водой. Проходя извилистый
путь в слое наполнителя, частицы пыли прилипают к смоченным поверхностям и
смываются протекающей водой.
Рисунок 1. Общий вид орошаемого фильтра
. В пористых фильтрах запыленный воздух
пропускается через слой зернистого или волокнистого материала, сеток, ткани.
Очистка воздуха основана на том, что пыль задерживается в промежутках между
частичками или волокнами фильтрующего материала. Наиболее широкое применение
нашли матерчатые фильтры, в которых фильтрующим материалом являются шерстяные
ткани (фланель, байка и др.), хлопчатобумажные заменители (вельветон,
пестротканая фланель, фильтропрессованный холст), а также ткань из
стекловолокна. Эффективность пылеулавливания матерчатых фильтров очень высока -
около 98…99,5 %, однако при высоком пылесодержании поступающего воздуха пыль
быстро покрывает ткань рукавов и фильтры нуждаются в частом встряхивании. Более
рациональной в таких случаях является двухступенчатая очистка, при которой
воздух последовательно проходит через два пылеуловителя или фильтра. В качестве
фильтра грубой очистки могут применяться циклоны, в качестве фильтров тонкой
очистки - матерчатые фильтры.
3. Для повышения эффективности пористых фильтров, в
которых фильтрующими элементами являются различные наполнители и сетки, эти
элементы покрывают тонким слоем масла, обычно веретенным или вазелиновым. Такие
фильтры применяют для очистки воздуха при концентрации пыли до 200 мг/м3,
при этом степень очистки составляет более 95 %.
3.
Смешиваются наружный воздух в количестве L1 =5м3/с, с
параметрами наружного воздуха t1 =20єС, влагосодержанием d1
=8г/кг с рециркалюционным воздухом в количестве L2 =2м3/с
параметрами
t2 =28єС, d2 =14г/кг. По диаграмме
"i - d" определить параметры смеси воздуха.
Общее количество смеси LC можно определить из
уравнения материального баланса:
LC = L1 + L2
LC = 5+2 = 7м3/с
Параметры смеси определим из влажностного баланса:
L1·d1 + L2·d2 = LС·dС,
Откуда:
9,7 г/кг
По диаграмме определяем остальные параметры смеси воздуха:
dc = влагосодержание 9,7 г/кг;
ic = теплосодержание 47,2 кДж/кг;
tс =
температуру 22,5єС;
φc - относительную влажность 57%;
pc - давление водяных паров насыщения 1,5
кПа.
4. Как
осуществляется хладоснабжение судовых систем кондиционирования воздуха
Кондиционирование воздуха осуществляется с целью
поддержания в помещениях наиболее благоприятных для человека так называемых
комфортных условий. Эти условия в первую очередь определяются температурой и
влажностью воздуха в сочетании с его скоростью движения, а также определенным
химическим составом воздуха и очисткой его от вредных примесей.
Кондиционирование воздуха является развитием техники отопления и вентиляции
служебных (машинные отделения, рулевые рубки, камбузы, госпитали и т.д.) и
бытовых (каюты, кают-компании, салоны, кинотеатры) помещений. Весьма
существенное, а иногда и решающее значение имеет кондиционирование воздуха в
помещениях, где расположены различные вычислительные приборы, так как точность
результатов вычислений во многом зависит от постоянства температуры и влажности
воздуха в этих помещениях. В некоторых приборах осуществляется непосредственное
охлаждение отдельных деталей. Различают естественную и искусственную
вентиляцию. При естественной вентиляции свежий воздух по вентиляционным каналам
проходит в помещения за счет ветра, дующего снаружи, или за счет тяги,
возникающей при движении судна. Воздух принимается дефлекторами. При
искусственной вентиляции подвод воздуха и прохождение его по каналам
обеспечивается вентиляторами. Это в основном циркуляционные компрессоры
(центробежные и осевые) с малой степенью сжатия. Вентиляторы приводятся в
действие электродвигателями. Отвод использованного воздуха также осуществляется
путем естественной вентиляции через вытяжной дефлектор или с помощью вытяжных
вентиляторов.
Рис. 2
При кондиционировании воздуха в зимнее время года производятся его
подогрев и увлажнение, а в летнее - охлаждение и осушка. Для этого на судах
используются холодильные машины, которые в технике кондиционирования воздуха
играют большую роль. Производительность холодильных машин, установленных на
некоторых судах для кондиционирования воздуха, превышает 1 млн. ккал/час.
Подвод свежего воздуха к жилым и бытовым помещениям происходит через
разветвленную систему каналов прямоугольного или кругового поперечного сечения.
Эти каналы изготовляются в основном из тонкого листового металла. Грузовые
помещения также вентилируются. Это особенно важно при перевозке
легко-портящихся продуктов и продуктов, выделяющих углекислый газ (например,
овощей и фруктов). На рисунке ниже изображены две вентиляционные системы
продольной и поперечной вентиляции для грузовых помещений.
Рис. 3 Системы вентиляционных каналов: а - продольная; b - поперечная.
В состав судовых систем кондиционирования воздуха (СКВ) входят
технические средства:
забора воздуха;
подготовки воздуха, т.е. придания ему необходимых кондиций
(фильтры, теплообменники, камеры орошения, увлажнители или осушители воздуха);
перемещения воздуха (вентиляторы);
средства распределения воздуха;
средства хладо - и теплоснабжения;
средства автоматики, дистанционного управления и контроля.
Основное оборудования СКВ для подготовки и перемещения воздуха
компонуется в единый аппарат, называемый кондиционером.
Современные СКВ могут быть классифицированы по следующим
признакам:
принципу сезонности: летние, зимние, круглогодичные;
использованию рециркуляционного воздуха: прямоточные, с одной рециркуляцией, с
двумя рециркуляциями;
месту обработки воздуха: центральные, местные, местно-центральные и автономные;
способу охлаждения: с непосредственным испарением холодильного агента (фреона) и с
промежуточным хладоносителем (вода или рассол);
конструктивному признаку: одноканальные, двухканальные;
скорости воздуха в магистральных воздуховодах: низкоскоростные, среднескоростные и
высокоскоростные;
давлению, создаваемому вентилятором: низконапорные, средненапорные,
высоконапорные;
количеству обслуживаемых помещений (локальных зон): однозональные и многозональные.
Схема центральной системы кондиционирования воздуха:
Обрабатываемый в кондиционере воздух с помощью воздуховодов
распределяется по помещениям. Причем воздух может частично вновь поступать из
помещений на обработку в кондиционер. В таком случае это система с
рециркуляцией воздуха.
Применение рециркуляции воздуха сокращает расходы тепла в зимний
период и холода в летний период и, следовательно, снижает эксплуатационные
затраты. Если же воздух из помещения не возвращается в кондиционер, то такую
систему называют прямоточной.
В местно-центральной СКВ воздух, обработанный в центральном
кондиционере, затем проходит дополнительную дообработку в местном кондиционере,
устанавливаемом в обслуживаемом помещении.
Местные СКВ разрабатывают на базе автономных и неавтономных
кондиционеров, устанавливаемых непосредственно в обслуживаемом помещении.
Производство холода и тепла при этом децентрализовано.
Автономные СКВ имеют источники тепла и холода, с помощью которых
приготавливают воздух требуемых параметров. При этом кондиционер
устанавливается непосредственно в кондиционируемом помещении.
В двухканальной системе различно обработанный воздух направляется
в помещение по двум самостоятельным каналам (воздуховодам): по одному -
холодный, по другому - нагретый. Потребитель смешивает воздух в желательных
количественных соотношениях, обеспечивая требуемые параметры воздуха, поступающего
в помещения, при различных тепло-влажностных отношениях.
Чем выше скорость воздуха, тем меньше будет сечение воздуховодов.
Но с повышением скорости возрастают и потери напора, следовательно,
увеличивается потребляемая мощность вентиляторов, а также возрастает уровень
шума. Скорость воздуха в высокоскоростных системах достигает 22-30 м/с, в
среднескоростных - 17-22 м/с, а в низкоскоростных - 15-17 м/с.
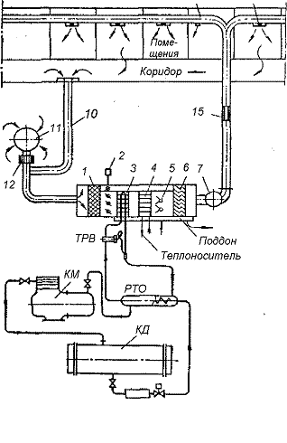
На рис. 4 приведена принципиальная схема одноканальной центральной
системы кондиционирования воздуха с одной рециркуляцией. Центральный
кондиционер располагается в специальном помещении. Иногда в этом же помещении
размещается и холодильная машина. При использовании самостоятельной холодильной
машины, размещенной в одном помещении с центральным кондиционером, для
охлаждения воздуха используют воздухоохладитель непосредственного испарения.
Центральный кондиционер состоит из унифицированных типовых секций,
позволяющих обработать от 10 до 250 тыс. м3/ч воздуха. Он включает:
фильтр 1, воздушные заслонки 2, воздухоохладитель 3, калорифер 4, паровой
увлажнитель 5 и каплеотделитель 6. Воздух, обработанный в кондиционере, с
помощью вентилятора 7 подается в помещения через шумоглушитель 15 и приточные
насадки 8 (распределитель). Из помещений воздух по воздуховоду 10 поступает
вновь в кондиционер. Часть воздуха, подаваемого вентилятором 7, удаляется
наружу. В кондиционер через приемное устройство 11 поступает свежий воздух,
обеспечивающий нормализацию газового состава воздуха. В зимнее время свежий
воздух предварительно подогревается в калорифере 12.
Очистка всего количества воздуха производится в фильтре 1.
Рис. 4. Принципиальная схема одноканальной центральной СКВ с
одной рециркуляцией
Затем одна часть воздуха проходит по обводному каналу, а
другая (основная) подвергается обработке в кондиционере.
Двухканальная
система кондиционирования воздуха
Обработка воздуха в центральной двухканальной системе
кондиционирования воздуха (рис. 5) осуществляется в два этапа: первоначально
воздух обрабатывается в центральной установке кондиционирования воздуха 2,
затем поток воздуха делится на два канала 6 и 8, в которых устанавливается
соответственно воздухонагреватель 7 и воздухоохладитель 9. Поддержание заданной
температуры воздуха в помещении обеспечивается смешением подогретого и
охлажденного потока воздуха в необходимом соотношении так, чтобы получить
необходимую температуру приточного воздуха, при этом расход воздуха,
поступающего в помещение остается неизменным. В помещениях устанавливаются
датчики температуры, соединенные с исполнительным механизмом регулирующего
клапана смесительного устройства 10.
Двухканальная система рекомендуется для применения при
неравномерно изменяющихся нагрузках по явной теплоте. Она обеспечивает точное
поддержание заданной температуры в каждом помещении, а отдельные схемы -
относительной влажности. Преимущество двухканальных систем возрастает при
увеличении количества кают. Существует несколько возможных схем двухканальных
СКВ. Главное различие между ними состоит в точности, с которой регулируется
относительная влажность в помещении. Самые лучшие технологические показатели
имеют схемы, в которых минимальное количество наружного воздуха охлаждается и
осушается летом, увлажняется зимой, смешивается с рециркуляционным воздухом,
делится на два канала и в каждом потоке устанавливаются соответственно
воздухонагреватель и воздухоохладитель (рис. 5).
Применение двухканальных систем кондиционирования воздуха
дает возможность снизить расходы теплоты и холода по сравнению с центральными
системами, но они все равно больше минимально неизбежных значений. Из-за
отсутствия производства двухканальных смесителей эта схема не получила широкого
распространения в России.
Рис. 5. Принципиальная схема двухканальной СКВ
Преимущество таких систем:
возможность индивидуального регулирования температуры в
отдельных помещениях;
регулирование поступления наружного воздуха и постоянный
расход приточного воздуха в помещении;
применение стандартных воздухораспределителей;
обеспечение достаточного перемешивания воздуха в помещении и
создание равномерного поля температур;
отсутствие в обслуживаемых помещениях теплообменников,
трубопроводов тепло- и холодоносителя;
возможность ввода системы в эксплуатацию по частям по мере
строительства здания.
К недостаткам двухканальных систем следует отнести:
громоздкость конструкции;
увеличение стоимости за счет прокладки и изоляции двух
каналов воздуховодов, автоматизация смесительных устройств;
сложность в обеспечении гидравлической устойчивости
воздуховодов.
5. Описать
работу кондиционера типа "Нептун"
Кондиционер автономный местный
"Нептун-40" (АК-12,5) предназначен для круглогодичной тепловлажностной
обработки воздуха помещений на судах, кораблях и плавсредствах с неограниченным
районом плавания. Может быть применен для комфортного кондиционирования воздуха
служебных и общественных помещений в промышленности и сельском хозяйстве,
предприятиях торговли и питания и др. Кондиционер имеет герметичную холодильную
машину, охлаждение конденсатора - водяное. Управление - автоматическое и ручное
Корпус и составные узлы изготовлены из коррозионно-стойких материалов.
Кондиционер требует малые пространства для монтажа и обслуживания, прост и
надежен в эксплуатации.
Условия эксплуатации:
Климатическое исполнение - ОМ, категория размещения - 4.
Напряжение питания - 380 или 220 В, частота - 50 Гц. Температура охлаждающего
воздуха от 5 до 45°С. Температура воздуха на входе, от минус 5 до 25°С (режим
нагрева), от 20 до 40°С (режим охлаждения), от минус 5 до 45°С (режим
вентиляции). Температура охлаждающей воды, от минус 2 до 38°С.
Основные технические характеристики:
Объемный расход воздуха, м3/ч: 1250 Холодопроизводительность,
кВт: 4,7 Теплопроизводительность, кВт: 6,0 Расход охлаждающей воды, кг/ч: 2000
Мощность, потребляемая из сети в режимах, кВт:
охлаждения: 1,83 - нагрева: 6,20 - вентиляции: 0,21 Масса,
кг: 220
Принцип работы:
Кондиционер работает на смеси рециркуляционного и наружного
воздуха. Необходимое соотношение между рециркуляционным и наружным воздухом
устанавливается регулируемой заслонкой, с помощью которой можно изменять
влажность воздуха в помещении. Он может работать в двух заданных режимах, т.е.
в режиме вентиляции и охлаждения (включены вентилятор и холодильный агрегат) либо
только вентиляции (включен только вентилятор). В кондиционере предусмотрена
очистка воздуха от пыли. Регулирование холодопроизводительности -
двухступенчатое, методом пуска и остановки холодильной машины по сигналу
датчика температуры воздуха в обслуживаемом помещении.
Рис. 6.1 - вентилятор
осевой; 2 - электродвигатель вентилятора; 3 - заслонка; 4 - вентилятор
центробежный; 5 - испаритель; 6 - фильтр воздушный; 7 - перегородка; 8 - пульт
управления; 9 - капиллярная трубка; 10 - фильтр-осушитель; 11 - расширитель; 12
- компрессор ротационный; 13 - конденсатор; 14 - кожух кондиционера
Внутренняя перегородка 7 делит кондиционер на два отсека. В
наружном отсеке размещается герметичный компрессор 12, воздушный конденсатор 13,
рабочее колесо осевого вентилятора 1.
Автономные кондиционеры охлаждают воздух, для чего вентилятор
продувает рециркуляционный воздух через поверхностные воздуха охладители,
которыми являются испарители холодильных машин. В переходное и зимнее время они
могут производить подогрев воздуха с помощью электрических подогревателей или
путем реверсирования работы холодильной машины по циклу так называемого
"теплового насоса" (рис. 1.31).
В режиме охлаждения (рис.7, а) пары после компрессора 1 с
помощью четырех ходового клапана 2 направляются в конденсатор 8 наружного
блока, где конденсируются.
Через обратный клапан 3 и ресивер 4 жидкий фреон с высоким
давлением подается на терморегулирующий вентиль 5. Обратный клапан 6 и
терморегулирующий вентиль 9 при этом закрыты. После терморегулирующего вентиля
5 хладагент поступает в испаритель-воздухоохладитель 7 внутреннего блока, где
он испаряется и через четырех ходовой клапан 2 поступает на всасывание в
компрессор 1.

В режиме обогрева (рис.7, б) пары хладагента после компрессора 1 с
помощью четырех ходового клапана 2 направляются в испаритель 7 внутреннего
блока, выполняющего роль конденсатора. При этом они конденсируются и отдают
тепло в обогреваемое помещение. Через обратный клапан 6 и ресивер 4 жидкий
фреон с высоким давлением попадает в терморегулирующий вентиль 9 и затем в
конденсатор 8 наружного блока, выполняющий роль испарителя. В этом режиме
открыт клапан 3, а терморегулирующий вентиль 5 закрыт. Использование теплового
насоса чрезвычайно выгодно, так как количество тепла, поступающего в помещение,
примерно в три раза больше затрачиваемой энергии.