Вентилируемый фасад 'ТЕРМО'

  • Вид работы:
    Реферат
  • Предмет:
    Строительство
  • Язык:
    Русский
    ,
    Формат файла:
    MS Word
    1,94 Мб
  • Опубликовано:
    2015-06-09
Вы можете узнать стоимость помощи в написании студенческой работы.
Помощь в написании работы, которую точно примут!

Вентилируемый фасад 'ТЕРМО'

Введение

 

Вентилируемый фасад - это современная система декоративной отделки и защиты стен зданий от неблагоприятных климатических и прочих воздействий.

Вентилируемые навесные фасады представляют собой конструкции, состоящие из навесного фасадного экрана, несущей каркасной конструкции, обеспечивающей крепление к стене, воздушного зазора и при необходимости теплоизоляционного слоя. Важной функцией навесного экрана является формирование вентилируемой зоны, которая играет важную роль в системе теплоизоляционных функций здания.


Конструкция стены, получившая название ”навесной вентилируемый фасад”, нашла применение в строительстве сравнительно недавно. Соответственно невелика история развития производства элементов конструкций систем для таких фасадов. Но эта подотрасль стройиндустрии развивается во всем мире самыми высокими темпами, а сами навесные вентилируемые фасады находят все более широкое применение при строительстве и реконструкции самых разнообразных объектов. Причина роста популярности таких фасадов кроется в их неоспоримых преимуществах.

Прежде всего, теплоизоляция при использовании вентилируемых фасадов располагается наиболее рациональным, с точки зрения строительной теплофизики, образом. Если при традиционном устройстве стены (теплоизолятор внутри кирпичной кладки или бетона) в ней неизбежно накапливается влага, и ее наружные слои находятся в неблагоприятных атмосферных условиях, то за вентилируемым фасадом несущие конструкции работают в “тепличных” условиях. Материалы не трескаются, не разрушаются, не подвергаются биологическим разрушениям. Ведь стена постоянно остаётся сухой и тёплой : навесной фасад защищает её от температурных колебаний, а водяные пары, мигрирующие из помещений, удаляются сквозь воздушную прослойку, расположенную между стеной и фасадом, практически не задерживаясь в теплоизоляции. Поэтому теплопотери здесь примерно на 6% ниже, чем в стене традиционной конструкции с теплоизолятором той же толщины. Отсутствует пароизоляционный слой, благодаря чему стена свободно “Дышит”, и комфортность в помещениях за ней повышается. Летом же навесной фасад выполняет функцию солнцезащитного экрана, отражающего значительную часть падающего на него теплового потока, а воздушная прослойка служит вентиляционным каналом для восходящего потока, с которым из здания уходят излишки тепла. В отличие от фасадных систем, в которых используются различные штукатурки, навесные фасады изготавливаются из элементов полной заводской готовности. Они не требуют дополнительной отделки, при их монтаже отсутствуют “мокрые” процессы. Выполненные, как правило, из стали или алюминия, они имеют прочное антикоррозионное покрытие (а изготовленные из цементно-песчаной смеси - за счёт прочности самого материала) и могут служить без какого-либо ремонта весь срок жизни здания.

Элементы навесных фасадов легко и быстро монтируются, благодаря чему ускоряются строительные работы; имеют малый вес и, наконец предоставляют неограниченные возможности архитектору для воплощения в стекло и металл (стекло и бетон) его самых смелых фантазий. Дороговизна же фасадных навесных систем часто лишь кажущаяся, так как при грамотном расчёте и использовании эта конструкция очень экономична.

Экспликация к рисунку:

- кронштейн несущий - основной несущий элемент каркаса, предназначенный для крепления несущего регулирующего кронштейна;

- кронштейн опорный - дополнительный элемент каркаса, предназначенный для крепления опорного регулирующего кронштейна;

- несущий регулирующий кронштейн - основной (совместно с несущим кронштейном) несущий элемент каркаса, предназначенный для «фиксированной» установки вертикальной направляющей (несущего профиля);

- опорный регулирующий кронштейн - дополнительный (совместно с опорным кронштейном) элемент каркаса, предназначенный для подвижной установки вертикальной направляющей (несущего профиля);

- вертикальная направляющая - длинномерный профиль, предназначенный для крепления облицовочной панели к каркасу;

- скользящий кронштейн - элемент крепления, предназначенный для фиксирования облицовочной панели;

- заклепка вытяжная - крепежный элемент, предназначенный для крепления несущего профиля к несущим регулирующим кронштейнам;

- винт установочный - крепежный элемент, предназначенный для фиксации положения скользящих кронштейнов;

- винт стопорный - крепежный элемент, предназначенный для дополнительной фиксации верхних скользящих кронштейнов панелей к вертикальным направляющим профилям во избежание сдвига облицовочных панелей в вертикальной плоскости;

- болт стопорный (в комплекте с гайкой и двумя шайбами) - крепежный элемент, предназначенный для установки основных и дополнительных элементов каркаса в проектное положение;

- термоизолирующая прокладка несущего кронштейна, предназначенная для выравнивания рабочей поверхности и устранения «мостиков холода»;

- термоизолирующая прокладка опорного кронштейна, предназначенная для выравнивания рабочей поверхности и устранения «мостиков холода»;

- облицовочные панели - алюмокомпозитные панели в сборе с элементами крепления. Устанавливаются с помощью скользящих кронштейнов (6) в «распор» и дополнительно фиксируются от горизонтального сдвига вытяжными заклепками (14) к вертикальным направляющим (5).

Типовые размеры листов для изготовления облицовочных панелей - 1250×4000 мм, 1500×4050 мм (ALuComp) и 1250×3200 мм (ALUCOBOND). В соответствии с требованиями заказчика предусмотрены возможности варьирования длиной и шириной панели, а также цветом покрытия лицевого слоя;

- теплоизоляция из минераловатных плит для утепления фасада;

- ветрогидрозащитный материал - паропроницаемая мембрана, предохраняющая теплоизоляцию от увлажнения и возможного выветривания волокон утеплителя;

- тарельчатый дюбель для крепления теплоизоляции и мембраны к стене здания или сооружения

Обрамления фасадной облицовки - конструктивные элементы, предназначенные для оформления парапета, цоколя, оконных, витражных и дверных примыканий и пр. К ним относятся: перфорированные профили для свободного доступа воздуха снизу (в цокольной части) и сверху, оконные и дверные обрамления, самогнутые кронштейны, нащельники, угловые пластины и пр.

1. Вентилируемый фасад «ТЕРМО»

ОАО «Термостепс» является одной из крупнейших специализированных компаний России по производству и монтажу минераловатных тепло- и звукоизоляционных материалов и в настоящее время осуществляет комплексную модернизацию своих производственных мощностей.

Существенным преимуществом теплоизоляции из минеральной ваты является гарантированная пожарная безопасность строительного объекта, долговечность и улучшенные теплотехнические характеристики, что позволяет, в свою очередь, сократить эксплуатационные расходы.

1.1 Применение теплоизоляционных минераловатных материалов ТЕРМО в конструкциях

Экономия топливно-энергетических ресурсов является одной из актуальных задач развития российской индустрии теплоизоляционных материалов.

Анализ опыта различных стран в решении проблемы энергосбережения показывает, что одним из эффективных путей ее решения является сокращение потерь тепла через ограждающие конструкции зданий, сооружений, промышленного оборудования, тепловых сетей. В настоящее время объем выпуска теплоизоляционных материалов на душу населения в европейских странах и США в 5-7 раз превышает выпуск утеплителей на одного жителя в России.

В ближайшие 5-7 лет потребность жилищного сектора строительства, а также нужды ЖКХ в эффективных утеплителях по ориентировочным расчетам специалистов вырастут в 3-4 раза и должны удовлетворяться за счет выпуска отечественных материалов. Приоритет в применении утеплителей принадлежит волокнистым материалам из минеральной ваты.

ОАО «Термостепс», являясь одной из крупнейших специализированных компаний России по производству и монтажу минераловатных тепло- и звукоизоляционных материалов, в настоящее время осуществляет комплексную модернизацию своих производственных мощностей.

В результате этой работы в ближайшие годы резко возрастет объем выпускаемой продукции из минеральной ваты на основе горных пород габбро-базальтового типа с качественными показателями, расширяющими диапазон их применения в жилищном, гражданском и промышленном строительстве. Существенным преимуществом тепловой изоляции из минеральной ваты на основе горных пород является гарантированная пожарная безопасность строительного объекта, долговечность и улучшенные теплотехнические характеристики, что позволяет, в свою очередь, сократить эксплуатационные расходы.

Преимущества материалов на основе минеральной ваты из базальтового волокна позволяют их использовать как в малоэтажном строительстве, так и при возведении высотных объектов, где требуются повышенные характеристики пожарной устойчивости конструкций. Материал может быть рекомендован к применению и для дополнительного утепления зданий старой постройки в сочетании с наружной защитой его декоративными облицовочными материалами.

В настоящее время ОАО «Термостепс» производит такие изделия (торговая марка ТЕРМО) на одном из своих предприятий. Материалы ТЕРМО объединяют широкую гамму изделий от непрошивных матов с низким содержанием синтетического связующего до сверхжестких плит различной толщины, в связующее которых введены модифицирующие и гидрофобизирующие добавки, что повышает прочностные и водоотталкивающие свойства изделий.

Техническая политика Госстроя РФ по ужесточению норм теплопотерь через ограждающие конструкции зданий направлена на решение комплексной задачи энергоресурсосбережения. Эту задачу можно решить путем наращивания объемов выпуска высококачественной продукции из минеральной ваты, произведенной из шихты с содержанием горных пород габбро-базальтовой группы более 50% при использовании современных технологий.

Новые производственные линии ОАО «Термостепс» позволяют получать продукцию, отвечающую требованиям ГОСТ 4640-93 на минеральную вату ВМТ диаметром волокна 3-6 мкм с Мк = 1,65-2,1, что соответствует вате типа А со средним показателем рН=3,1 и повышенной водостойкости. Такие характеристики обусловливают существенное увеличение долговечности изделий.

Примеры применения теплоизоляционных материалов ТЕРМО показаны на рисунках.

Теплоизоляционные материалы, выпускаемые заводами ОАО «Термостепс», активно применяются при возведении строительных объектов в различных регионах России, составляя конкуренцию иностранной продукции благодаря высокому качеству и оптимальной цене изделий.

Теплоизоляция в системах навесных вентилируемых фасадов: 1 - кронштейн (L-профиль); 2 - ТЕРМО БАРЬЕР (ТЕРМО ЩИТ); 3 - несущая стена; 4 - декоративные навесные элементы

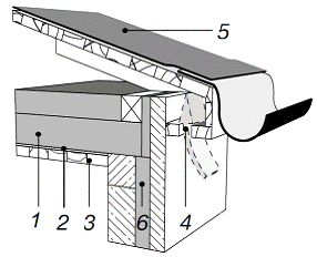
Система скрепленной теплоизоляции: 1 -ТЕРМО МАТ (ТЕРМО СЛОЙ); 2 - пароизоляция; 3 - подшивка потолка; 4 - вентиляционное устройство; 5 - кровля; 6 - теплоизоляционный слой (ТЕРМО, ТЕРМО СЛОЙ) стеновой конструкции

1.2 Производство теплоизоляционных плит «ТЕРМО»

За свою почти полувековую историю ОАО «Термостепс-МТЛ» накопило значительный опыт производства теплоизоляционных материалов. Вначале это была минеральная вата и войлок. Затем в процессе расширения ассортимента освоено производство шлаковаты, потом в перечень производимой продукции вошли перлитоцементные плиты и перлитовый песок.

Требования, предъявляемые к изоляции, во все времена диктовались условиями ее применения. Например, срок службы шлаковаты ограничен 7-12 годами. Поскольку в прежние времена утеплению жилых зданий уделялось меньше внимания, то шлаковата в основном использовалась для теплоизоляции коммуникаций промышленного производства. Трубы были рассчитаны на эксплуатацию тоже примерно в течение 9-12 лет, а затем их меняли, как и изоляцию.

В 2001 г. состоялся пуск первой линии по производству теплоизоляции с использованием принципиально новой для России технологии, основанной на применении тонкого базальтового волокна.

Как известно, утеплители на основе базальта - магматической горной породы - отличаются долговечностью, термической и химической стойкостью. Кроме того, базальты в отличие от других вулканических пород обладают низкой вязкостью при высокой температуре. Прочностные характеристики этого утеплителя в 1,5-2 раза выше по сравнению с аналогичными изделиями, выпускаемыми по традиционной технологии. Он экологически чист, не содержит вредных искусственных примесей.

В настоящее время наша линия по производству теплоизоляционного материала считается одной из самых высокотехнологичных в Европе. Ее производительность в сутки составляет 1,5 тыс. м3. Сырье используется отечественное из Первоуральска, Кемерово, Петрозаводска и других регионов.

Главным достоинством новой линии стал плавильный агрегат нового поколения - коксогазовая вагранка отечественной разработки. Сырьевая шихта расплавляется при температуре 1500оС. Производительность агрегата до 5 т расплава в час. Для повышения экологической безопасности предусмотрены установки дожига СО, система очистки отходящих газов и многое другое.

Через центрифугу расплав подается в горизонтальную камеру волокноосаждения, где происходит его орошение компонентами связующего. По транспортеру сформировавшееся волокно попадает в маятниковый раскладчик, который придает ему вертикальную ориентацию, что существенно улучшает однородную плотность ковра и его внутреннюю структуру, а следовательно, повышает теплоизоляционные свойства. Транспортером ковер подается на гофрировщик-подпрессовщик, предназначенный для придания ему волнистой структуры.

После прохождения этого участка минераловатный ковер попадает в камеру полимеризации, имеющую существенные отличия от аналогов. По мере продвижения в ней минераловатного ковра направление воздуха, максимальная температура которого составляет 300оС, меняется 4 раза. Благодаря этому происходит полная полимеризация связующего.

Камера полимеризации позволяет получать изделия толщиной 30-200 мм. При прохождении через нее происходят процессы от выпаривания воды до полной полимеризации смолы. Изделия - маты, плиты - упаковываются в пленку, которая гарантирует сохранность продукции во время транспортировки и хранения. После этого происходит формирование изделия. Обрезаются кромки, и материал либо сворачивается в рулоны, либо раскраивается на плиты. Часть продукции, получившей название ТЕРМО, упаковывается термоусадочную пленку и отправляется на склад готовой продукции, другая часть поступает на линию производства сэндвич-панелей марки ТЕРМОПАНЕЛЬ. Использование новых технологий и компонентов при производстве минераловатных изделий позволит значительно улучшить экологичность самого производства минераловатных изделий и выпускаемых материалов. Высокие эксплуатационные свойства материалов (см. табл.) на основе базальтового волокна делают их одними из наиболее востребованных в малоэтажном строительстве, при производстве сэндвич-панелей, устройстве мансард, наружной теплоизоляции зданий, промышленного оборудования и др.

Наименование

Плотность, кг/м3

Коэффициент теплопроводности, Вт/(м*К)



λА

λВ

ТЕРМО плиты мягкие

35

0,038

0,044


50

0,037

0,043

ТЕРМО плиты полужесткие

60

0,037


70

0,036

0,041

ТЕРМО плиты жесткие

80

0,035

0,04


100




120

0,036

0,041


140



ТЕРМО плиты сверхжесткие

150

0,037

0,043


175

0,039

0,045


200



2. Организация и технология выполнения работ


.1 Подготовительные работы

До начала монтажных работ по устройству вентилируемого фасада должны быть проведены следующие подготовительные работы:

- согласно требованиям СНиП 12-03-2001 <#"803147.files/image005.gif">

Схема организации строительной площадки

- ограждение строительной площадки; 2 - мастерская; 3 - материально-технический склад; 4 - рабочая зона; 5 - граница зоны, опасной для нахождения людей при эксплуатации фасадных подъемников; 6 - открытая площадка складирования строительных конструкций и материалов; 7 - мачта освещения; 8 - фасадный подъемник

на строительной площадке устанавливают инвентарные мобильные здания: неотапливаемый материально-технический склад для хранения элементов вентилируемого фасада (композитных листов или готовых к монтажу панелей, утеплителя, паропроницаемой пленки, конструктивных элементов несущего каркаса) и мастерскую - для изготовления облицовочных панелей и обрамления завершения фасадной облицовки в построечных условиях;

производят осмотр и оценку технического состояния фасадных подъемников, средств механизации, инструмента, их комплектности и готовности к работе;

в соответствии с проектом производства работ устанавливают на здание фасадные подъемники и запускают в работу согласно Руководству по эксплуатации (3851Б.00.00.000 РЭ);

на стене здания отмечают расположение маячных точек анкерирования для установки несущих и опорных кронштейнов.

Облицовочный композитный материал поставляют на строительную площадку, как правило, в виде листов, раскроенных по проектным размерам. В этом случае в мастерской на строительной площадке с помощью ручного инструмента, вытяжных заклепок и элементов сборки кассет формируют облицовочные панели с креплением.

Хранить листы из композитного материала на строительной площадке необходимо на уложенных на ровном месте брусьях толщиной до 10 см, с шагом 0,5 м. Если монтаж вентилируемого фасада планируют на срок более 1 месяца, листы следует переложить рейками. Высота стопки листов не должна превышать 1 м.

Грузоподъемные операции с упакованными листами из композитного материала следует производить с использованием текстильных ленточных строп (ТУ 3150-010-16979227) или других строп, исключающих травмирование листов.

Не допускается хранение облицовочного композитного материала вместе с агрессивными химическими веществами.

В случае поступления на строительную площадку облицовочного композитного материала в виде готовых облицовочных панелей с креплением их укладывают в пачку попарно, лицевыми поверхностями друг к другу так, чтобы соседние пары соприкасались тыловыми сторонами. Пачки ставят на деревянные подкладки, с небольшим уклоном от вертикали. Панели укладывают в два ряда по высоте.

Разметка точек установки несущих и опорных кронштейнов на стене здания проводится в соответствии с технической документацией к проекту на устройство вентилируемого фасада.

На начальном этапе определяют маячные линии разметки фасада - нижнюю горизонтальную линию точек установки кронштейнов и двух крайних по фасаду здания вертикальных линий.

Крайние точки горизонтальной линии определяют с помощью нивелира и отмечают их несмываемой краской. По двум крайним точкам, используя лазерный уровень и рулетку, определяют и отмечают краской все промежуточные точки установки кронштейнов.

С помощью отвесов, опущенных с парапета здания, по крайним точкам горизонтальной линии определяют вертикальные линии.

Используя фасадные подъемники, отмечают несмываемой краской точки установки несущих и опорных кронштейнов на крайних вертикальных линиях.

2.2 Основные работы

При организации производства монтажных работ площадь фасада здания разбивают на вертикальные захватки, в пределах которых выполняют работы разными звеньями монтажников с первого или второго фасадных подъемников (рис. <#"803147.files/image006.gif">

Схема крепления фасадной системы к стене, состоящая из направляющих и специальных кронштейнов, обеспечивает естественную вентиляцию всего фасада и имеет возможность поглощения термических деформаций, возникающих при суточных и сезонных перепадах температур

Это помогает избежать внутренних напряжений в материале облицовки и несущей конструкции, что обеспечивает долговечность всей системе защиты фасада.

Система монтажа состоит из кронштейнов 1, крепящихся непосредственно к стене здания 2, направляющих 3, устанавливаемых на кронштейны и собственно панелей фасадного экрана 4. Утеплитель 5 крепится к стене с помощью дюбелей

Система монтажа обеспечивает вентилируемый воздушный промежуток между стеной и навесным фасадом. При этом исключаются “мокрые” процессы, а все соединения осуществляются механически

Кронштейны изготавливаются на гидравлических гибочных прессах из алюминия или нержавеющей стали. К стене здания они крепятся при помощи анкер-болтов.

Направляющие, как и кронштейны, изготавливаются из алюминия или нержавеющей стали либо из готового экструзированного профиля. Между собой кронштейны и направляющие крепятся при помощи болтового или заклёпочного соединения.

Фасадные панели выполняют защитно-декоративную функцию. Они защищают утеплитель, систему монтажа и стену здания от повреждений и атмосферных воздействий. Кроме того панели являются внешней оболочкой здания и формируют его внешний облик. Широкая гамма цветов и текстур, применяемых для окраски панелей, даёт архитектору по истине безграничные возможности для воплощения в жизнь своих творческих замыслов.

Фасадные панели представляют собой металлическую конструкцию с загнутыми на панеле-гибочной машине краями. Для изготовления фасадных панелей применяются композитные материалы и различные виды декоративных облицовочных материалов, предназначенных для использования в навесных системах, как: керамические плиты различных форматов, фибро-цементные плиты и т.д.

Форма и размеры панелей определяются для каждого конкретного проекта и под индивидуальный заказ изготавливаются на заводе. Стандартные размеры кассет более выгодны экономически. Крепление кассет к подоблицовочной конструкции выполняется в зависимости от задач по двум основным системам крепежа: на крюках или заклёпках.

Применение системы вентилируемых фасадов позволяет архитекторам придать индивидуальный внешний облик не только новым, но и старым строениям, в том числе типовым жилым зданиям. Сочетание как в мозаике фактуры, цвета, геометрических линий придаст каждому фасаду свой неповторимый вид.

СПИСОК ЛИТЕРАТУРЫ

1. ТК-23 «Типовая технологическая карта на монтаж вентилируемого фасада с облицовкой композитными панелями», Москва, 2006г.

2. Журнал «Строительные материалы, оборудование, технологии XXI века», №7, 2014г.

3. Журнал «Строительные материалы», №3, 2001 г.

. Журнал «Строительные материалы», №7, 2003 г.

. Журнал «Строительные материалы», №8, 2003 г.

Похожие работы на - Вентилируемый фасад 'ТЕРМО'

 

Не нашли материал для своей работы?
Поможем написать уникальную работу
Без плагиата!
Без нейросетей!