Применение поверхностного плазмонного резонанса в сенсорных системах
МИНИСТЕРСТВО
ОБРАЗОВАНИЯ И НАУКИ РОССИЙСКОЙ ФЕДЕРАЦИИ
Федеральное
государственное бюджетное образовательное учреждение
высшего
профессионального образования
«КУБАНСКИЙ
ГОСУДАРСТВЕННЫЙ УНИВЕРСИТЕТ»
(ФГБОУ
ВПО «КубГУ»)
Физико-технический
факультет
Кафедра
оптоэлектроники
КУРСОВАЯ
РАБОТА
Применение
поверхностного плазмонного резонанса в сенсорных системах
Работу выполнил Силовски
Владислав
Специальность 210401 -
Физика и техника оптической связи
Научный руководитель
Преподаватель Н.Н. Шутова
Краснодар
2013
РЕФЕРАТ
Курсовая работа: 18 рис., 14
источников.
ПОВЕРХНОСТНЫЙ ПЛАЗМОННЫЙ РЕЗОНАНС,
ДАТЧИКИ, ПРИМЕНЕНИЕ СЕНСОРОВ НА ПОВЕРХНОСТНОМ ПЛАЗМОННОМ РЕЗОНАНСЕ, КОНСТРУКЦИИ
СЕНСОРОВ, ВИДЫ КРИВЫХ ПОВЕРХНОСТНОГО ПЛАЗМОННОГО РЕЗОНАНСА.
Объектом разработки данной курсовой
работы является обзор сенсоров на поверхностном плазмонном резонансе. Целью
данной работы является обзор сенсоров, а также обзор всевозможных типов и
конструкций сенсоров на поверхностном плазмонном резонансе.
В результате выполнения курсовой
работы рассмотрены сенсоры на поверхностном плазмонном резонансе, а так же
рассмотрены виды и конструкции сенсоров.
СОДЕРЖАНИЕ
Введение
. Датчики
.1 Классы датчиков
.2 Виды параметрических датчиков
.3 Датчики генераторы
. Датчики на ППР
.1 ППР и условия его применения
.2 Виды кривой ППР
.3 ППР сенсор с параллельным световым пучком
.4 ППР сенсор с расходящимся световым пучком
. Применение ППР сенсоров
.1 Применение ППР для биохимических анализов
.2 Виды и конструкции сенсоров на ППР
.3 Одно из применений
Заключение
Список использованных источников
ВВЕДЕНИЕ
Понятие поверхностного плазмонного
резонанса очень интересно. Это явление поверхностного возбуждения плазмонов
посредством света. Оно возникает на поверхности металлов при условии полного
внутреннего отражения и характеризуется специфическим показателем преломления
(из-за специфического угла отражения). Измерения основаны на явлении миграции
энергии плазмонного резонанса. Возникая на поверхности металлической пленки,
этот эффект распространяется вглубь раствора, где вследствие взаимодействия
между молекулами происходит изменение резонансного угла, а, следовательно, и
показателя преломления в поверхностном слое. По изменению показателя
преломления можно судить о взаимодействии между биологическими молекулами.
Создание оптических сенсоров с
высокой чувствительностью и разрешением для обнаружения и количественного
анализа химических и биологически активных веществ одна из актуальных задач,
связанная с необходимостью контроля биологических процессов, анализа
эффективности лекарственных средств и мониторинга окружающей среды.
Целью данной работы является
исследование сенсоров на основе эффекта поверхностного плазмонного резонанса
При этом существенно важным является
решение следующих задач:
· Описание
теоретических основ ППР
· Описание принципов
работы и типов конструкций. Достоинства и минусы
· Описание
возможностей применения ППР сенсоров в медико-биологической сфере.
1. ДАТЧИКИ
.1 Классы датчиков
Датчики (в литературе часто
называемые также измерительными преобразователями), или по-другому, сенсоры
являются элементами многих систем автоматики - с их помощью получают информацию
о параметрах контролируемой системы или устройства.
Датчик - это элемент измерительного,
сигнального, регулирующего или управляющего устройства, преобразующий
контролируемую величину (температуру, давление, частоту, силу света,
электрическое напряжение, ток и т.д.) в сигнал, удобный для измерения,
передачи, хранения, обработки, регистрации, а иногда и для воздействия им на
управляемые процессы. Или проще, датчик - это устройство, преобразующее входное
воздействие любой физической величины в сигнал, удобный для дальнейшего
использования.
Используемые датчики весьма
разнообразны и могут быть классифицированы по различным признакам:
В зависимости от вида входной
(измеряемой) величины различают: датчики механических перемещений (линейных и
угловых), пневматические, электрические, расходомеры, датчики скорости,
ускорения, усилия, температуры, давления и др.
В настоящее время существует
приблизительно следующее распределение доли измерений различных физических
величин в промышленности: температура - 50%, расход (массовый и объемный) -
15%, давление - 10%, уровень - 5%, количество (масса, объем) - 5%, время - 4%,
электрические и магнитные величины - менее 4%.
По виду выходной величины, в которую
преобразуется входная величина, различают неэлектрические и электрические:
датчики постоянного тока (ЭДС или напряжения), датчики амплитуды переменного
тока (ЭДС или напряжения), датчики частоты переменного тока (ЭДС или
напряжения), датчики сопротивления (активного, индуктивного или емкостного) и
др.
Большинство датчиков являются
электрическими. Это обусловлено следующими достоинствами электрических
измерений:
электрические величины удобно
передавать на расстояние, причем передача осуществляется с высокой скоростью;
электрические величины универсальны
в том смысле, что любые другие величины могут быть преобразованы в
электрические и наоборот;
они точно преобразуются в цифровой
код и позволяют достигнуть высокой точности, чувствительности и быстродействия
средств измерений.
По принципу действия датчики можно
разделить на два класса: генераторные и параметрические(датчики-модуляторы).
Генераторные датчики осуществляют непосредственное преобразование входной
величины в электрический сигнал.
Параметрические датчики входную
величину преобразуют в изменение какого-либо электрического параметра (R, L или
C) датчика.
По принципу действия датчики также
можно разделить на омические, реостатные, фотоэлектрические
(оптико-электронные), индуктивные, емкостные и д.р.
Различают три класса датчиков:
аналоговые датчики, т. е. датчики,
вырабатывающие аналоговый сигнал, пропорционально изменению входной величины;
цифровые датчики, генерирующие
последовательность импульсов или двоичное слово;
бинарные (двоичные) датчики, которые
вырабатывают сигнал только двух уровней: "включено/выключено" (иначе
говоря, 0 или 1); получили широкое распространение благодаря своей простоте.
Требования, предъявляемые к
датчикам:
однозначная зависимость выходной
величины от входной;
стабильность характеристик во
времени;
высокая чувствительность;
малые размеры и масса;
отсутствие обратного воздействия на
контролируемый процесс и на контролируемый параметр;
работа при различных условиях
эксплуатации;
различные варианты монтажа.
Параметрические датчики
(датчики-модуляторы) входную величину X преобразуют в изменение какого-либо
электрического параметра (R, L или C) датчика. Передать на расстояние изменение
перечисленных параметров датчика без энергонесущего сигнала (напряжения или
тока) невозможно. Выявить изменение соответствующего параметра датчика только и
можно по реакции датчика на ток или напряжение, поскольку перечисленные
параметры и характеризуют эту реакцию. Поэтому параметрические датчики требуют
применения специальных измерительных цепей с питанием постоянным или переменным
током.
Омические (резистивные) датчики -
принцип действия основан на изменении их активного сопротивления при изменении
длины l, площади сечения S или удельного сопротивления p:
= pl/S
Кроме того, используется зависимость
величины активного сопротивления от контактного давления и освещённости
фотоэлементов. В соответствии с этим омические датчики делят на: контактные, потенциометрические
(реостатные), тензорезисторные, терморезисторные, фоторезисторные.
Контактные датчики - это простейший
вид резисторных датчиков, которые преобразуют перемещение первичного элемента в
скачкообразное изменение сопротивления электрической цепи. С помощью контактных
датчиков измеряют и контролируют усилия, перемещения, температуру, размеры
объектов, контролируют их форму и т. д. К контактным датчикам относятся путевые
и концевые выключатели, контактные термометры и так называемые электродные
датчики, используемые в основном для измерения предельных уровней
электропроводных жидкостей.
Контактные датчики могут работать
как на постоянном, так и на переменном токе. В зависимости от пределов
измерения контактные датчики могут быть одно предельными и многопредельными.
Последние используют для измерения величин, изменяющихся в значительных
пределах, при этом части резистора R, включенного в электрическую цепь,
последовательно закорачиваются.
Недостаток контактных датчиков -
сложность осуществления непрерывного контроля и ограниченный срок службы
контактной системы. Но благодаря предельной простоте этих датчиков их широко
применяют в системах автоматики.
Реостатные датчики представляют
собой резистор с изменяющимся активным сопротивлением. Входной величиной
датчика является перемещение контакта, а выходной - изменение его
сопротивления. Подвижный контакт механически связан с объектом, перемещение
(угловое или линейное) которого необходимо преобразовать.
Наибольшее распространение получила
потенциометрическая схема включения реостатного датчика, в которой реостат
включают по схеме делителя напряжения. Напомним, что делителем напряжения
называют электротехническое устройство для деления постоянного или переменного
напряжения на части; делитель напряжения позволяет снимать (использовать)
только часть имеющегося напряжения посредством элементов электрической цепи,
состоящей из резисторов, конденсаторов или катушек индуктивности. Переменный
резистор, включаемый по схеме делителя напряжения, называют потенциометром.
Обычно реостатные датчики применяют
в механических измерительных приборах для преобразования их показаний в
электрические величины (ток или напряжение), например, в поплавковых
измерителях уровня жидкостей, различных манометрах и т. п.
Датчик в виде простого реостата
почти не используется вследствие значительной нелинейности его статической
характеристики Iн = f(х), где Iн - ток в нагрузке.
Выходной величиной такого датчика
является падение напряжения Uвых между подвижным и одним из
неподвижных контактов. Зависимость выходного напряжения от перемещения х
контакта Uвых = f(х) соответствует закону изменения сопротивления
вдоль потенциометра. Закон распределения сопротивления по длине потенциометра,
определяемый его конструкцией, может быть линейным или нелинейным.
Потенциометрические датчики,
конструктивно представляющие собой переменные резисторы, выполняют из различных
материалов - обмоточного провода, металлических пленок, полупроводников и т. д.
Тензорезисторы (тензометрические
датчики) служат для измерения механических напряжений, небольших деформаций,
вибрации. Действие тензорезисторов основано на тензоэффекте, заключающемся в
изменении активного сопротивления проводниковых и полупроводниковых материалов
под воздействием приложенных к ним усилий.
Термометрические датчики
(терморезисторы) - сопротивление зависит от температуры. Терморезисторы в
качестве датчиков используют двумя способами:
) Температура терморезистора
определяется окружающей средой; ток, проходящий через терморезистор, настолько мал,
что не вызывает нагрева терморезистора. При этом условии терморезистор
используется как датчик температуры и часто называется «термометром
сопротивления».
) Температура терморезистора
определяется степенью нагрева постоянным по величине током и условиями
охлаждения. В этом случае установившаяся температура определяется условиями
теплоотдачи поверхности терморезистора (скоростью движения окружающей среды -
газа или жидкости - относительно терморезистора, ее плотностью, вязкостью и
температурой), поэтому терморезистор может быть использован как датчик скорости
потока, теплопроводности окружающей среды, плотности газов и т. п. В датчиках
такого рода происходит как бы двухступенчатое преобразование: измеряемая
величина сначала преобразуется в изменение температуры терморезистора, которое
затем преобразуется в изменение сопротивления.
Терморезисторы изготовляют как из
чистых металлов, так и из полупроводников. Материал, из которого
изготавливается такие датчики, должен обладать высоким температурным коэффициентом
сопротивления, по возможности линейной зависимостью сопротивления от
температуры, хорошей воспроизводимостью свойств и инертностью к воздействиям
окружающей среды. В наибольшей степени всем указанным свойствам удовлетворяет
платина; в чуть меньшей - медь и никель.
По сравнению с металлическими
терморезисторами более высокой чувствительностью обладают полупроводниковые
терморезисторы (термисторы).
Индуктивные датчики служат для
бесконтактного получения информации о перемещениях рабочих органов машин,
механизмов, роботов и т.п. и преобразования этой информации в электрический
сигнал.
Принцип действия индуктивного
датчика основан на изменении индуктивности обмотки на магнитопроводе в
зависимости от положения отдельных элементов магнитопровода (якоря, сердечника
и др.). В таких датчиках линейное или угловое перемещение X (входная величина)
преобразуется в изменение индуктивности (L) датчика. Применяются для измерения
угловых и линейных перемещений, деформаций, контроля размеров и т.д.
В простейшем случае индуктивный
датчик представляет собой катушку индуктивности с магнитопроводом, подвижный
элемент которого (якорь) перемещается под действием измеряемой величины.
Индуктивный датчик распознает и
соответственно реагирует на все токопроводящие предметы. Индуктивный датчик
является бесконтактным, не требует механического воздействия, работает
бесконтактно за счет изменения электромагнитного поля.
Рисунок 1 - Схема индуктивного
выключателя
Преимущества
нет механического износа,
отсутствуют отказы, связанные с состоянием контактов
отсутствует дребезг контактов и
ложные срабатывания
высокая частота переключений до 3000
Hz
устойчив к механическим воздействиям
Недостатки - сравнительно малая
чувствительность, зависимость индуктивного сопротивления от частоты питающего
напряжения, значительное обратное воздействие датчика на измеряемую величину
(за счет притяжения якоря к сердечнику).
Емкостные датчики - принцип действия
основан на зависимости электрической емкости конденсатора от размеров,
взаимного расположения его обкладок и от диэлектрической проницаемости среды
между ними.
Для двухобкладочного плоского
конденсатора электрическая емкость определяется выражением:
С = e0eS/h
где e0 - диэлектрическая
постоянная; e - относительная диэлектрическая проницаемость среды между
обкладками; S - активная площадь обкладок; h - расстояние между обкладками
конденсатора.
Зависимости C(S) и C(h) используют
для преобразования механических перемещений в изменение емкости.
Рисунок 2 - Устройство ёмкостного
датчика
Емкостные датчики, также как и
индуктивные, питаются переменным напряжением (обычно повышенной частоты - до
десятков мегагерц). В качестве измерительных схем обычно применяют мостовые
схемы и схемы с использованием резонансных контуров. В последнем случае, как
правило, используют зависимость частоты колебаний генератора от емкости
резонансного контура, т.е. датчик имеет частотный выход.
Достоинства емкостных датчиков -
простота, высокая чувствительность и малая инерционность. Недостатки - влияние
внешних электрических полей, относительная сложность измерительных устройств.
Емкостные датчики применяют для
измерения угловых перемещений, очень малых линейных перемещений, вибраций,
скорости движения и т. д., а также для воспроизведения заданных функций
(гармонических, пилообразных, прямоугольных и т. п.).
Емкостные преобразователи,
диэлектрическая проницаемость e которых изменяется за счет перемещения,
деформации или изменения состава диэлектрика, применяют в качестве датчиков
уровня непроводящих жидкостей, сыпучих и порошкообразных материалов, толщины
слоя непроводящих материалов (толщиномеры), а также контроля влажности и
состава вещества.
.3 Датчики - генераторы
Генераторные датчики осуществляют
непосредственное преобразование входной величины X в электрический сигнал.
Такие датчики преобразуют энергию источника входной (измеряемой) величины сразу
в электрический сигнал, т.е. они являются как бы генераторами электроэнергии
(откуда и название таких датчиков - они генерируют электрический сигнал).
Дополнительные источники
электроэнергии для работы таких датчиков принципиально не требуются (тем не
менее дополнительная электроэнергия может потребоваться для усиления выходного
сигнала датчика, его преобразования в другие виды сигналов и других целей).
Генераторными являются термоэлектрические, пьезоэлектрические, индукционные,
фотоэлектрические и многие другие типы датчиков.
Индукционные датчики преобразуют
измеряемую неэлектрическую величину в ЭДС индукции. Принцип действия датчиков
основан на законе электромагнитной индукции. К этим датчикам относятся
тахогенераторы постоянного и переменного тока, представляющие собой небольшие
электромашинные генераторы, у которых выходное напряжение пропорционально угловой
скорости вращения вала генератора. Тахогенераторы используются как датчики
угловой скорости.
Тахогенератор представляет собой
электрическую машину, работающую в генераторном режиме. При этом вырабатываемая
ЭДС пропорциональна скорости вращения и величине магнитного потока. Кроме того,
с изменением скорости вращения изменяется частота ЭДС. Применяются как датчики
скорости (частоты вращения).
Температурные датчики. В современном
промышленном производстве наиболее распространенными являются измерения температуры
(так, на атомной электростанции среднего размера имеется около 1500 точек, в
которых производится такое измерение, а на крупном предприятии химической
промышленности подобных точек присутствует свыше 20 тыс.). Широкий диапазон
измеряемых температур, разнообразие условий использования средств измерений и
требований к ним определяют многообразие применяемых средств измерения
температуры.
Если рассматривать датчики
температуры для промышленного применения, то можно выделить их основные классы:
кремниевые датчики температуры, биметаллические датчики, жидкостные и газовые
термометры, термоиндикаторы, термисторы, термопары, термопреобразователи
сопротивления, инфракрасные датчики.
Кремниевые датчики температуры
используют зависимость сопротивления полупроводникового кремния от температуры.
Диапазон измеряемых температур -50…+150 0C. Применяются в основном
для измерения температуры внутри электронных приборов.
Биметаллический датчик сделан из
двух разнородных металлических пластин, скрепленных между собой. Разные металлы
имеют различный температурный коэффициент расширения. Если соединенные в
пластину металлы нагреть или охладить, то она изогнется, при этом замкнет
(разомкнет) электрические контакты или переведет стрелку индикатора. Диапазон
работы биметаллических датчиков -40…+550 0C. Используются для
измерения поверхности твердых тел и температуры жидкостей. Основные области
применения - автомобильная промышленность, системы отопления и нагрева воды.
Термоиндикаторы - это особые
вещества, изменяющие свой цвет под воздействием температуры. Изменение цвета
может быть обратимым и необратимым. Производятся в виде пленок.
Инфрокрасные датчики (пирометры) -
используют энергию излучения нагретых тел, что позволяет измерять температуру
поверхности на расстоянии. Пирометры делятся на радиационные, яркостные и
цветовые.
Радиационные пирометры используются
для измерения температуры от 20 до 2500 0С, причем прибор измеряет
интегральную интенсивность излучения реального объекта.
Яркостные (оптические) пирометры
используются для измерения температур от 500 до 4000 0С. Они
основаны на сравнении в узком участке спектра яркости исследуемого объекта с
яркостью образцового излучателя (фотометрической лампы).
Цветовые пирометры основаны на
измерении отношения интенсивностей излучения на двух длинах волн, выбираемых
обычно в красной или синей части спектра; они используются для измерения
температуры в диапазоне от 800 0С.
Пирометры позволяют измерять
температуру в труднодоступных местах и температуру движущихся объектов, высокие
температуры, где другие датчики уже не работают.
- линза; 2 - диафрагма; 3 - приемник
излучения(преобразователь); 4 - окуляр; 5 - светофильтр
Рисунок 3 - пирометр полного
излучения
Для измерения температур от - 80 до
250 0С часто используются так называемые кварцевые
термопреобразователи, использующие зависимость собственной частоты кварцевого
элемента от температуры. Работа данных датчиков основана на том, что
зависимость частоты преобразователя от температуры и линейность функции
преобразования изменяются в зависимости от ориентации среза относительно осей
кристалла кварца. Данные датчики широко используются в цифровых термометрах.
Действие пьезоэлектрических датчиков
основано на использовании пьезоэлектрического эффекта (пьезоэффекта),
заключающегося в том, что при сжатии или растяжении некоторых кристаллов на их
гранях появляется электрический заряд, величина которого пропорциональна
действующей силе.
Пьезоэффект обратим, т. е.
приложенное электрическое напряжение вызывает деформацию пьезоэлектрического
образца - сжатие или растяжение его соответственно знаку приложенного
напряжения. Это явление, называемое обратным пьезоэффектом, используется для
возбуждения и приема акустических колебаний звуковой и ультразвуковой частоты.
Используются для измерения сил,
давления, вибрации и т.д.
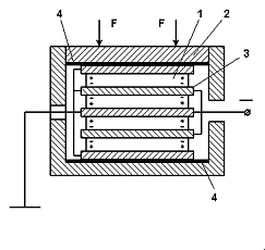
Рисунок 4 - Схема простейшего
пьезодатчика
На рис. 3.10 приведена простейшая
схема пьезоэлектрического датчика, состоящего из пластинок 1, и станиолевых прокладок
3, которые служат одним из выводов (-), а второй вывод имеет контакт с корпусом
2. Изоляционная прокладка 4 служит для уменьшения утечки зарядов.
Оптические (фотоэлектрические)
датчики
Различают аналоговые и дискретные
оптические датчики. У аналоговых датчиков выходной сигнал изменяется
пропорционально внешней освещенности. Основная область применения -
автоматизированные системы управления освещением.
Датчики дискретного типа изменяют
выходное состояние на противоположное при достижении заданного значения
освещенности.
Оптический бесконтактный датчик,
регистрирует изменение светового потока в контролируемой области, связанное с
изменением положения в пространстве каких-либо движущихся частей механизмов и
машин, отсутствия или присутствия объектов. Благодаря большим расстояниям
срабатывания оптические бесконтактные датчики нашли широкое применение в
промышленности и не только.
Оптический бесконтактный датчик
состоит из двух функциональных узлов, приемника и излучателя. Данные узлы могут
быть выполнены как в одном корпусе, так и в различных корпусах.
По методу обнаружения объекта
фотоэлектрические датчики подразделяются на 4 группы:
) пересечение луча - в этом методе
передатчик и приемник разделены по разным корпусам, что позволяет устанавливать
их напротив друг друга на рабочем расстоянии. Принцип работы основан на том,
что передатчик постоянно посылает световой луч, который принимает приемник.
Если световой сигнал датчика прекращается, в следствии перекрытия сторонним
объектом, приемник немедленно реагирует меняя состояние выхода.
) отражение от рефлектора - в этом
методе приемник и передатчик датчика находятся в одном корпусе. Напротив
датчика устанавливается рефлектор (отражатель). Датчики с рефлектором устроены
так, что благодаря поляризационному фильтру они воспринимают отражение только
от рефлектора. Это рефлекторы, которые работают по принципу двойного отражения.
Выбор подходящего рефлектора определяется требуемым расстоянием и монтажными
возможностями.
) отражение от объекта - в этом
методе приемник и передатчик датчика находятся в одном корпусе. Во время
рабочего состояния датчика все объекты, попадающие в его рабочую зону,
становятся своеобразными рефлекторами. Как только световой луч отразившись от
объекта попадает на приемник датчика, тот немедленно реагирует, меняя состояние
выхода.
) фиксированное отражение от объекта
-принцип действия датчика такой же как и у "отражение от объекта" но
более чутко реагирующий на отклонение от настройки на объект. Например,
возможно детектирование вздутой пробки на бутылке с кефиром, неполное
наполнение вакуумной упаковки с продуктами и т.д.
По своему назначению фотодатчики
делятся на две основные группы: датчики общего применения и специальные
датчики. К специальным, относятся типы датчиков, предназначенные для решения
более узкого круга задач. К примеру, обнаружение цветной метки на объекте,
обнаружение контрастной границы, наличие этикетки на прозрачной упаковке и т.д.
Задача датчика обнаружить объект на
расстоянии. Это расстояние варьируется в пределах 0,3мм-50м, в зависимости от
выбранного типа датчика и метода обнаружения.
На смену кнопочно-релейным пультам
приходят микропроцессорные автоматические системы управления технологическим
процессом (АСУ ТП) высочайшей производительности и надежности, датчики
оснащаются цифровыми интерфейсами связи, однако это не всегда приводит к
повышению общей надежности системы и достоверности ее работы. Причина
заключается в том, что сами принципы действия большинства известных типов
датчиков накладывают жесткие ограничения на условия, в которых они могут
использоваться.
Например, для слежения за скоростью
движения промышленных механизмов широко применяются бесконтактные (емкостные и
индуктивные), а также тахогенераторные устройства контроля скорости (УКС). Тахогенераторные
УКС имеют механическую связь с движущимся объектом, а зона чувствительности
бесконтактных приборов не превышает нескольких сантиметров.
Все это не только создает неудобства
при монтаже датчиков, но и существенно затрудняет использование этих приборов в
условиях пыли, которая налипает на рабочие поверхности, вызывая ложные
срабатывания. Перечисленные типы датчиков не способны напрямую контролировать
объект (например, ленту конвейера) - они настраиваются на движение роликов,
крыльчаток, натяжных барабанов и т. д. Выходные сигналы некоторых приборов
настолько слабы, что лежат ниже уровня промышленных помех от работы мощных
электрических машин.
Аналогичные трудности возникают при
использовании традиционных сигнализаторов уровня - датчиков наличия сыпучего
продукта. Такие устройства необходимы для своевременного отключения подачи
сырья в производственные емкости. К ложным срабатываниям приводит не только
налипание и пыль, но и прикосновение потока продукта при его поступлении в
бункер. В неотапливаемых помещениях на работу датчиков влияет окружающая
температура. Ложные срабатывания сигнализаторов вызывают частые остановки и
запуски нагруженного технологического оборудования - основную причину его
аварий, приводят к завалам, обрыву конвейеров, возникновению пожаро- и
взрывоопасных ситуаций.
Указанные проблемы несколько лет
назад привели к разработке принципиально новых типов приборов -
радиолокационных датчиков контроля скорости, датчиков движения и подпора,
работа которых основана на взаимодействии контролируемого объекта с
радиосигналом частотой около 1010 Гц.
Использование микроволновых методов
контроля за состоянием технологического оборудования позволяет полностью
избавиться от недостатков датчиков традиционных типов.
Отличительными особенностями этих
устройств являются:
отсутствие механического и
электрического контакта с объектом (средой), расстояние от датчика до объекта
может составлять несколько метров;
непосредственный контроль объекта
(транспортерной ленты, цепи) а не их приводов, натяжных барабанов и т. д.;
малое энергопотребление;
нечувствительность к налипанию
продукта за счет больших рабочих расстояний;
высокая помехоустойчивость и
направленность действия;
разовая настройка на весь срок
службы;
высокая надежность, безопасность,
отсутствие ионизирующих излучений.
Принцип действия датчика основан на
изменении частоты радиосигнала, отраженного от движущегося объекта. Это явление
("эффект Допплера") широко используется в радиолокационных системах
для дистанционного измерения скорости. Движущийся объект вызывает появление
электрического сигнала на выходе микроволнового приемо-передающего модуля.
Так как уровень сигнала зависит от
свойств отражающего объекта, датчики движения могут использоваться для того,
чтобы сигнализировать об обрыве цепи (ленты), наличии на конвейерной ленте
каких-либо предметов или материалов. Лента имеет гладкую поверхность и низкий
коэффициент отражения. Когда мимо датчика, установленного над рабочей веткой
транспортера, начинает двигаться продукт, увеличивая коэффициент отражения,
прибор сигнализирует о движении, то есть, фактически о том, что лента не пуста.
По длительности выходного импульса можно на значительном расстоянии судить о
размере перемещаемых предметов, производить селекцию и т.д.
При необходимости заполнить
какую-либо емкость (от бункера до шахты) можно точно определить момент
окончания засыпки - опущенный на определенную глубину датчик будет показывать
движение наполнителя до тех пор, пока не будет засыпан.
Конкретные примеры использования
микроволновых датчиков движения в различных отраслях промышленности
определяются ее спецификой, но в целом они способны решать самые разнообразные
задачи безаварийной эксплуатации оборудования и повысить информативность
автоматизированных систем управления.
Это конечно все хорошо, но я
расскажу подробнее про датчики, основанные на поверхностном плазмонном
резонансе, или сокращенно ППР.
2. Датчики на ППР
.1 ППР и условия его наблюдения
Сенсоры на основе поверхностного
плазмонного резонанса (ППР) или сокращенно " ППР сенсоры " - это
относительно новый класс сенсоров. Плазмонный резонанс - это возбуждение
поверхностного плазмона на его резонансной частоте внешней электромагнитной
волной. В физике, плазмон - квазичастица, отвечающая квантованию плазменных
колебаний, которые представляют собой коллективные колебания свободного
электронного газа. Плазмоны играют большую роль в оптических свойствах
металлов. Свет с частотой ниже плазменной частоты отражается потому, что
электроны в металле экранируют электрическое поле световой электромагнитной
волны. Свет с частотой выше плазменной частоты проходит, потому что электроны
не могут достаточно быстро ответить, чтобы экранировать его. В большинстве
металлов плазменная частота находится в ультрафиолетовой области спектра, делая
их блестящими в видимом диапазоне. В легированных полупроводниках плазменная
частота находится обычно в ультрафиолетовой области.
Энергию плазмона можно оценить как:
где n - плотность валентных
электронов; - элементарный заряд;- масса электрона;
ε0 - проницаемость
вакуума.
Поверхностные плазмоны (плазмоны,
ограниченные поверхностями) сильно взаимодействуют со светом, приводя к
образованию поляритонов. Они играют роль в поверхностном усилении рамановского
рассеяния света и в объяснении аномалий в дифракции металлов. Поверхностный
плазмонный резонанс используется в биохимии, чтобы определять присутствие
молекул на поверхности.
Локализованный поверхностный плазмон
присутствует в мелких металлических частицах (наночастицах), таких как золото
или серебро. При достаточно малых размерах частиц (диаметр частицы меньше длины
волны входящего электромагнитного излучения), она может быть рассмотрена как
колеблющийся диполь. Поглощённая энергия электромагнитного излучения может
существенно нагревать наночастицы.
Технический прием, позволяющий
использовать поверхностные плазмоны в оптике, основан на использовании полного
внутреннего отражения. При полном внутреннем отражении вдоль отражающей свет
поверхности распространяется электромагнитная волна, скорость которой и зависит
от угла падения. Если при определенном угле падения скорость этой волны
совпадет со скоростью поверхностного плазмона на поверхности металла, то
условия полного внутреннего отражения нарушатся, и отражение перестанет быть
полным, возникнет поверхностный плазмонный резонанс.
В наноразмерных металлических
системах происходит модификация коллективных электронных возбуждений.
Коллективное электронное возбуждение металлических наночастиц, размер которых
меньше длины волны электромагнитного излучения в окружающей среде -
локализованный поверхностный плазмон, - колеблется на частоте, меньшей частоты
объемного плазмона в √3 раз, тогда как частота поверхностного плазмона
примерно в √2 раз меньше, чем частота объемного плазмона. При совпадении
частоты внешнего поля с частотой локализованного поверхностного плазмона
возникает резонанс, приводящий к резкому усилению поля на поверхности частицы и
увеличению сечения поглощения.
Поверхностные плазмоны - это волны
переменной плотности электрического заряда, которые могут возникать и
распространяться в электронной плазме металла вдоль его поверхности или вдоль
тонкой металлической пленки. Оказалось, что при определенных условиях
поверхностные плазмоны могут возбуждаться под воздействием поляризованного
света. Схема наблюдения поверхностного плазмонного резонанса, которую стали
называть по фамилии автора "геометрией Кречмана", показана на
рисунке:
- прозрачная среда с высоким
показателем преломления; 2 - тонкая металлическая пленка; 3 - затухающая
электромагнитная волна; 4 - исследуемая жидкость
Рисунок 5 - Схема оптического
наблюдения явления ППР
Свет проходит сквозь оптически
прозрачную среду 1 с относительно большим показателем преломления, например,
сквозь призму из стекла и падает под определенным углом на тонкую металлическую
пленку 2, нанесенную на поверхность стекла. Угол падения должен быть больше
угла полного внутреннего отражения. Часть света проникает в металл и
распространяется в нем в виде быстро затухающей электромагнитной волны 3.
Последняя возбуждает колебания свободных электронов металла - т.н.
"электронной плазмы". И в этой плазме могут возникать коллективные
колебательные движения электронов, которые принято описывать как квазичастицы -
т.н. "поверхностные плазмоны".
Возбуждение становится особенно
эффективными при условиях, если:
1. свет поляризован;
2. поляризация его такова, что
электрический вектор электромагнитной волны лежит в плоскости падения, а
магнитный вектор параллелен поверхности металла;
. проекция
волнового вектора
фотонов
света на плоскость пленки равна волновому вектору
поверхностного плазмона.
Когда эти условия выполнены, то
значительная часть энергии света превращается в энергию плазмонов, из-за чего
интенсивность отраженного от поверхности металлической пленки света резко
падает. Это явление и называют "поверхностным плазмонным резонансом".
Если металлическая пленка 2
достаточно тонка (< 200 нм), то значительная часть затухающей в металле
электромагнитной волны достигает противоположной поверхности металла. И тогда
ППР становится чувствительным к свойствам той среды 4, которая контактирует с
металлом с другой стороны пленки. От электрической поляризации этой среды, в
частности от её диэлектрической постоянной (которая у диэлектриков равна
квадрату показателя преломления света), зависит положение минимума кривой ППР.
Условие равенства волновых векторов
записывается в виде
где
- длина волны света;
- показатель преломления среды, на поверхности которой находится
металлическая пленка (обычно стекла);
- угол падения света на металлическую пленку;
- волновой вектор поверхностного плазмона металлической пленки;
- модуль комплексной диэлектрической проницаемости металла;
- показатель преломления среды, которая находится на противоположной
стороне металлической пленки.
Как видно из этой формулы, изменения
свойств металла или показателя преломления среды 4 изменяют правую сторону
уравнения, вследствие чего положение резонанса изменяется.
.2 Виды кривой ППР
Типичная кривая ППР, т.е.
зависимость интенсивности отраженного металлической пленкой света от проекции
волнового вектора
на
плоскость пленки, показана на рисунке. Здесь по вертикали отложена в
относительных единицах интенсивность
отраженного
света, а по горизонтали - проекция
или пропорциональная ей величина
- тоже в относительных единицах. Наблюдается четкий и довольно
острый резонанс. При изменении свойств металлической пленки (значений
и
) или
показателя преломления n расположенной снаружи среды минимум резонансной кривой
заметно смещается.
Рисунок 6 - Типичная кривая ППР -
зависимость интенсивности отраженного света от проекции волнового вектора на
плоскость пленки
Поэтому в самом начале измерение
кривых ППР рассматривалось только как очень чувствительный метод изучения
оптических свойств и состояния поверхности металлов, оптических свойств
металлических пленок, а позже - как один из точнейших методов рефрактометрии,
т.е. определения показателя преломления жидкостей и газов. Ведь этим методом
удаётся измерять показатель преломления с точностью до 6-го знака после
запятой. Благодаря последнему метод ППР начали использовать и для определения
концентрации в жидкостях растворенных веществ, которые несколько изменяют их
показатель преломления.
Кривую ППР можно наблюдать в одном
из двух режимов.
Если зафиксировать угол падения
и облучать металлическую пленку светом широкого спектра, то,
разложив этот свет в спектр, мы будем наблюдать ППР, как резонансный минимум в
распределении спектральной интенсивности отраженного света. Эти зависимости
показаны на рисунке ниже. По горизонтали отложены значения т.н. "волнового
числа"
в см-1,
по вертикали - коэффициент отражения в %. Чувствительность обнаружения
изменений в этом случае определяется минимальным спектральным сдвигом минимума
ППР, который можно зарегистрировать.
Рисунок 7 - Слева - спектральные и
справа - угловые кривые ППР
Если применить монохроматический
свет
, то наблюдается резонансный минимум в угловой зависимости
интенсивности отражения (рисунок, справа). Здесь по горизонтали отложены
значения угла отражения в градусах. Чувствительность обнаружения изменений в
этом случае определяется уже наименьшим угловым сдвигом минимума ППР, который
можно зарегистрировать. В обоих случаях на рисунке сплошной линией показана
кривая ППР при отсутствии, а штриховой - при наличии покрытия на золотой
пленке. Минимумы отражения отмечены пунктирными линиями.
2.3 ППР сенсор с параллельным
световым пучком
Рисунок 8 - Оптическая схема
наблюдения ППР с использованием параллельного пучка света и поворотного
механизма
Источник монохроматического света 1
(чаще всего - лазерный диод) размещается в фокусе линзы 2, формирующей
параллельный пучок света. Такую линзу в оптике называют коллиматором. Далее
свет проходит через поляризатор 3 и направляется к стеклянной оптической
ретропризме 4, на верхней поверхности которой находятся тонкий металлический
слой с лигандом и исследуемый раствор 5. Отраженный от этого объекта свет
повторно отражается от соседней грани ретропризмы, расположенной под прямым
углом к рабочей грани. Пользуясь законами отражения света, Вы можете убедиться
в том, что этот повторно отраженный пучок света всегда направлен противоположно
падающему пучку. Поэтому такие оптические призмы и называют
"ретропризмами". С помощью линзы 6 отраженный обратно свет собирается
на чувствительной поверхности фотоприемника 7, превращается в нем в
электрический сигнал, усиливается и поступает на АЦП. Полученное значение интенсивности
отраженного сигнала передаётся в микропроцессор. Источник света 1, линзы 2 и 6,
поляризатор 3 и фотоприемник 7 установлены на подвижном (относительно
ретропризмы) узле 8, который с помощью точного механического привода 9 может
перемещаться, вращаясь вокруг оси, проходящей через центр рабочего участка 5
ретропризмы. Расстояние, на которое перемещается узел 8, достаточно для
изменения углов падения и отражения света от рабочего участка ретропризмы 4 в
пределах 5-10
.
Микропроцессор может точно учесть некоторую нелинейность в зависимости угла
отражения от перемещения узла 8 и влияние температурных изменений на эту
зависимость.
Но вот параллельность пучка света,
сформированного даже наилучшей линзой, не является идеальной, так как источник
света не является точечным. Угол расхождения светового пучка в оптической схеме
на рисунке выше определяется размером излучающей области источника света и
фокусным расстоянием коллимационной линзы 2:

Эту разрешающую способность можно
назвать "физической", поскольку, используя специальную математическую
обработку результатов многих отсчетов резонансной кривой ППР, величину углового
сдвига, как оказалось, можно определить значительно точнее. Возможность
уточнения основана на том, что резонансная область кривой ППР сдвигается как
целое, практически не изменяя своей формы в области минимума. Имея измерения
интенсивности в 50-100 ее точках, можно рассчитать ту величину сдвига кривой,
при которой суммарное среднеквадратическое отклонение от стандартной формы
будет наименьшим. Так рассчитанная величина сдвига отфильтровывает все шумовые
помехи и оказывается соответственно в 50-100 раз точнее, чем прямое определение
точки минимума. По существу здесь используется обобщение известного принципа
нониуса.
Реальные источники света являются
также не совсем монохроматическими. Их обычно характеризуют полушириной
спектральной области излучения. Это означает, что почти вся
световая мощность сосредоточена в интервале длин волны от
до
. Если
при длине волны
плазмонный
резонанс имеет место при угле
, то
при длине волны
- уже
при несколько другом угле
. Т.е.
спектральной ширине
полосы
излучения соответствует определенное размывание углового распределения
отраженного света. Определить связь между
и
можно,
исходя из того, что отношение
к
должно быть постоянным, т.е.
Если логарифмировать это выражение и
взять производную, то легко получить соотношение
Угловое размывание кривой ППР,
связанное с немонохроматичностью света, можно тогда определить по формуле
(23.5)
В сумме физическая угловая
разрешающая способность в оптической схеме с параллельным пучком света
составляет (в радианах):
Здесь
- размер излучающей области источника света;
- фокусное расстояние коллимационной линзы;
и
-
длина волны и полуширина спектральной полосы излучения;
- угол, под которым наблюдается ППР.
.4 ППР сенсор с расходящимся
световым пучком
Несколько идеализированная схема
наблюдения ППР с расходящимся световым пучком показана на рисунке ниже.
Расходящийся пучок света от точечного источника S входит в призму 1 и
отражается от чувствительного участка ее поверхности 2, на который нанесена
исследуемая жидкость 3. Отраженный свет выходит из призмы и падает на линейку
фотодетекторов 4. При этом на каждый отдельный фотодетектор 5 попадает свет,
отраженный под углами от
до
.
Рисунок 9 - Идеализированная схема
наблюдения ППР с пучком света, расходящимся от точечного источника S
Если линейка фотодетекторов
расположена ортогонально к направлению распространения отраженного света, то
(23.7)
где
- размер отдельного фотодетектора в плоскости отражения;
- полный путь, который проходит свет от вершины расходящегося
пучка света до линейки фотодетекторов.
Если учесть также
немонохроматичность света, то суммарная физическая угловая разрешающая
способность в оптической схеме с расходящимся пучком света составляет
(23.8)
Использованные здесь обозначения
расшифрованы выше.
В модулях Spreeta, например, размер
одного элемента фотодетектора составляет
, базовое расстояние
, AlGaAs-светодиод излучает свет с длиной волны
= 830 нм,
= 15
нм и
= 64
.
Размывание кривой ППР составляет около 2
. Т.е. именно оно определяет в этих модулях почти всю ширину
резонансной полосы.
3. Применение ППР сенсоров
.1 Применение ППР для биохимических
анализов
В 80-х годах ХХ в. выяснилось, что
ППР может стать и чувствительным методом выявления присутствия даже
незначительного количества разных биологических примесей. Для этого на внешней
поверхности тонкой золотой пленки биохимическими методами высаживают
("иммобилизуют") мономолекулярный слой " лиганда " или
" рецептора ". Это слой органических молекул, которые избирательно
взаимодействуют с "аналитом" - теми молекулами (частицами),
концентрацию которых в растворе мы хотим измерять.
- прозрачная среда с высоким
показателем преломления; 2 - тонкая металлическая пленка; 3 - чувствительный
слой лиганда; 4 - молекулы (частицы) аналита.
Рисунок 10 - Схема наблюдения сдвига
кривой ППР при наличии аналита
Если в качестве
"рецептора" используются молекулы или частицы биологического
происхождения, то ППР сенсоры часто называют " ППРбиосенсорами ", а
чувствительный слой - "биорецепторным" слоем. Различают две большие
группы биорецепторных слоев: на основе ферментов и на основе антител. В
последнем случае ППР сенсоры называют также " ППР иммуносенсорами ".
Когда молекулы (частицы) аналита
присоединяются к молекулам лиганда (рецептора), создаваемое последними
электрическое поле на поверхности металла несколько изменяется, вследствие чего
резонансный минимум ППР смещается. Сдвиг этот тем больше, чем больше молекул
(частиц) аналита присоединилось к биочувствительному слою лиганда. А это зависит
от концентрации аналита в исследуемом растворе и от кинетики процессов
биохимического взаимодействия аналита с лигандом.
Таким образом, измеряя величину
сдвига минимума кривой ППР, в принципе стало возможным обнаруживать присутствие
и измерять концентрацию в растворах многих важных биохимических веществ и
микрочастиц (вирусов, бактерий, антител,...). А снимая зависимость величины
сдвига от времени, можно изучать кинетику их биохимических взаимодействий и ее
зависимость от различных факторов. Собственно, сам прецизионный биохимический
анализ на молекулярном уровне выполняет в этом случае специфический
чувствительный слой лиганда (биорецептора), нанесенного на поверхность
металлической пленки, а метод ППР позволяет довольно точно
"считывать" результаты этого анализа.
Перед такими чувствительными ППР
биосенсорами открылась широкая область применений. Это - и научные исследования
в области биохимии, и обнаружение опасных загрязнений, отравляющих и химически
вредных примесей в питьевой воде, и контроль концентрации разных ингредиентов в
молоке, пиве, вине, других напитках, в бензине и моторных маслах и т.п.
Появилась возможность быстрого обнаружения вредных вирусов, бактерий,
биохимических веществ в жидкостях, в том числе и в полевых условиях, а также
возможность создания многих новых тонких методов научных исследований.
Чувствительностью ППР сенсора
называют ту наименьшую концентрацию аналита, которую можно надежно
зафиксировать с помощью этого сенсора. Чувствительность зависит от ряда
факторов, в частности, от того, какая часть аналита уже связалась с рецепторным
слоем. А это зависит от температуры и времени их взаимодействия. Но, пожалуй,
определяющую роль играет тот минимальный угол сдвига кривой ППР, который можно
надежно зафиксировать с помощью программно-технических средств сенсора.
ППР сенсоры с монохроматическим
источником света, отслеживающие угловую зависимость интенсивности его
отражения, можно разделить на два вида - работающие с параллельным и работающие
с расходящимся световым пучком.
.2 Виды и конструкции сенсоров на
ППР
Одним из наиболее известных ныне в
мире промышленных ППР сенсоров является "BIACORE 3000" шведской фирмы
Biacore AB, показанный на рисунке 12. Он состоит из мини-компьютера и
сенсорного блока размерами 760x610x350 мм и массой до 50 кг. Рассчитанный на
стационарное использование в лабораториях, он является наиболее
высокопроизводительной и чувствительной исследовательской системой для изучения
взаимодействия биохимических веществ. Чувствительность анализов достигает 1 пМ
= 10-12 моля. Допустимый диапазон изменения показателя преломления
исследуемой жидкости - от 1,33 до 1,40.
В оптимальных условиях проведения
экспериментов BIACORE 3000 позволяет зафиксировать сдвиг резонансного угла от
10 RU до 70000 RU. Специально введенная единица 1 RU (resonance unit - единица
резонанса) эквивалентна сдвигу, вызываемому связыванием 1 пикограмма (10-15
кг) протеина на 1 мм2 чувствительной поверхности. Способность
регистрировать связывание биомолекул с такой высокой чувствительностью
гарантирует надежность получаемых результатов и высокое качество их
интерпретации. В системе параллельно работают и одновременно могут быть
задействованы 4 проточных канала измерений. Результаты, полученные от канала
сравнения, могут автоматически вычитаться из результатов, получаемых в других
каналах, что позволяет повысить разрешающую способность и информативность
каждого анализа.
Технические усовершенствования
управляемой проточной системы обеспечили возможность автоматической загрузки
исследуемых образцов, точную автоматическую инъекцию проб, регулирование
скорости потока от 1 до 100 мкл/мин., минимальные затраты ценных реактивов. Для
проведения эксперимента и регистрации сигналов связывания во всех 4 каналах
хватает лишь 1 мкл раствора. Малый объем проточного канала 0,02 мкл свел потери
к минимуму. Специальное программное обеспечение позволяет автоматически
проводить заданные процессы иммобилизации белков на поверхности металлической
пленки, исследовать как отдельные образцы, так и осуществлять серии
исследований с автоматической сменой растворов или/и образцов, выполнять
детальную обработку результатов, вычислять все нужные пользователю показатели
кинетики биохимических реакций. Имеется, например, и программа моделирования
взаимодействий, которая позволяет еще до загрузки реальных образцов
оптимизировать условия и последовательность проведения экспериментов с ними.
С помощью сенсора Biacore 3000 можно
изучать как малые молекулы, начиная от молекулярной массы 180 а.е.м., так и
большие клетки, бактерии, антитела, и находить ответы на такие, например,
вопросы, как:
· насколько
специфическим является связь между молекулами (клетками) двух данных видов?
· с какой
скоростью происходит их связывание?
· насколько
сильной является их связь?
· при
каких условиях можно её разорвать?
· как
влияют температура, кислотность, концентрация, вид растворителя или третье
вещество (фермент, катализатор, антитело) на ход реакций их связывания?
Поэтому эта система и подобные ей
широко используются для исследований функций отдельных белков и других
биохимических веществ, молекулярного распознавания, для исследований и анализов
в областях иммунологии, онкологии, вирусологии, инфекционных заболеваний,
биотехнологии и др.
На чувствительную поверхность ППР
сенсора устанавливают специальную проточную ячейку, которая через патрубки
присоединяется к системе регулирования потока исследуемой жидкости с
использованием перистальтического насоса и инъекционного клапана. Поскольку
проточная ячейка и патрубки очень тонкие (для экономии дорогостоящих препаратов),
все жидкости должны быть профильтрованы сквозь 0,2 мкм фильтр и тщательно
дегазированы. Вся проточная система должна регулярно промываться специальными
растворами.
При биохимических исследованиях
обычно проводят подготовительный цикл. В этом цикле через проточную ячейку
прокачивается сначала раствор протеина, который оседает мономолекулярным слоем
на поверхность золотой пленки. Потом прокачивают раствор тех биохимических
молекул или антител, взаимодействие которых с молекулами или частицами аналита
нужно изучить. Они присоединяются к протеину и образуют биорецепторный слой
(лиганд). Эта процедура может длиться 1...2 ч. В цикле измерений проточная
ячейка и чувствительная поверхность сначала промываются несколько минут
буферным раствором. Потом через ячейку прокачивается заданный объем жидкости с
исследуемым аналитом, и начинается измерение (фаза ІІ). Частицы аналита
присоединяются к лиганду не сразу. Поэтому кривую ППР приходится измерять
многократно, каждый раз рассчитывая по результатам измерений точное положение
минимума ППР, и строить график его зависимости от времени. Этот график принято
называть "сенсограммой". Всем этим автоматически руководит
микропроцессор.
Как видим из рисунка 12,
максимальная концентрация иммобилизованного (т.е. присоединенного к лиганду)
аналита достигается лишь через несколько минут. Кинетика нарастания сдвига
минимума ППР отображает кинетику химических реакций присоединения аналита к
лиганду. Стационарное состояние, которое в конце концов устанавливается,
является результатом динамического равновесия между химическими процессами
присоединения и диссоциации (отсоединения) аналита и зависит как от констант
соответствующих реакций, так и от концентрации аналита, температуры раствора,
условий перемешивания и т.п. Это все можно исследовать.
В ходе следующей фазы (ІІІ) инжекция
аналита прекращается, но продолжается прокачка чистой жидкости. Процессы
присоединения практически прекращаются, идут лишь процессы диссоциации. Ход
кривой на этой стадии позволяет вычислить константы этого процесса. А зная их,
по результатам измерений в фазе ІІ можно вычислить и константы реакции
присоединения. В фазе ІV через ячейку прокачивается раствор элюента, т.е.
жидкости, которая, резко ослабляя химическую связь аналита с лигандом,
постепенно "вымывает" аналит, практически не влияя на лиганд. И
начинается регенерация биочувствительной поверхности, в ходе которой положение
минимума ППР должно возвратиться к первоначальному. После этого можно начинать
новый цикл измерений химического взаимодействия лиганда с другим или с тем же
аналитом, но при других условиях. Практически удается провести свыше 50 разных
исследований с одним и тем же лигандом.
Фирма Biacore AB выпускает и узко
специализированные ППР сенсоры, как, например, BIACORE Quant, предназначенный
специально для определения содержания витаминов.
Значительно более компактный
интеллектуальный ППР сенсор SR7000 выпускает фирма Reichert Analytical
Instruments, Inc. В нем используется расходящийся световой пучок и линейка
фотодетекторов, которые обеспечивают наблюдение ППР в пределах углов отражения
от 58,5 до 85
.
Для обеспечения равномерного
распределения интенсивности исходящего светового пучка по углам применена т.н.
"интегрирующая сфера". Оптическая призма выполнена из сапфира с
показателем преломления 1,76. Чувствительный элемент на стеклянной подложке с
показателем преломления 1,51 оптически соединен с призмой через тонкий слой
иммерсионной жидкости.
Ученые и разработчики из лаборатории
микроинструментов и систем университета в Майне (The University of Maine,
показали, что размеры ППР сенсора совсем не обязательно должны быть большими,
как в BIACORE 3000.
На основе 1 из кремния сформировано
плоское миниатюрное зеркало 2, которое под действием электростатических сил может
в пределах 10-20
вращаться
вокруг оси, закрепленной на его приводе. В рабочем слое кремния сформированы
также линейка фотодетекторов 3 с микросхемами усиления и селекции сигналов и
микросхема управления приводом зеркала. Над кремнием сформирован слой стекла, в
котором над зеркалом 2 и фотодетекторами вытравлена полость, заполненная
прозрачной жидкостью 4. На поверхность стекла нанесена тонкая пленка из золота
5, необходимая для наблюдения ППР. Поверх пленки 5 формируется рецепторный слой
6, чувствительный к частицам аналита 7. К интегральному оптоэлектронному модулю
подведено оптическое волокно 8, возле торца которого установлены коллимационная
микролинза и микропризма 9. Через оптическое волокно 8 на модуль поступает монохроматический
поляризованный свет. Микролинза формирует из него параллельный световой пучок,
который отклоняется микропризмой на нужный угол и падает на зеркало 2. От
зеркала свет попадает на чувствительную поверхность сенсора, а после отражения
от нее - на линейку фотодетекторов 3.
Справа на рисунке 14 показан
чувствительный блок ППР сенсора в собранном виде. Его размеры приблизительно
20x10x2 мм. Над чувствительной поверхностью интегрального модуля устанавливают
проточную ячейку, через которую можно прокачивать растворы.
Для снятия кривой ППР микропроцессор
включает источник поляризованного света. Свет по оптическому волокну 8
передается в интегральный модуль. С помощью микросхемы управления зеркалом 2
последнее устанавливается под заданным начальным углом. Микропроцессор
считывает сигнал с фотодетектора, на который падает отраженный от
чувствительной поверхности свет. Потом увеличивает на один шаг (например, на
0,05
) угол наклона микрозеркала 2 и считывает из следующего
фотодетектора интенсивность отраженного сигнала. После того как шаг за шагом
будет снята вся кривая ППР, микропроцессор выключает источник света и вычисляет
точное положение минимума ППР в данный момент времени. Через заданные интервалы
времени измерения повторяются. Таким способом микропроцессор строит и выводит
на экран сенсограмму процессов присоединения и диссоциации аналита, может
вычислять параметры химической кинетики и концентрацию аналита в исследуемом
растворе.
Большинство промышленных ППР сенсоров
работает с угловой зависимостью интенсивности отраженных сигналов. Вариант
наблюдения спектральной зависимости интенсивности отраженных сигналов
длительное время не использовался, поскольку спектральные узлы с оптическими
призмами или дифракционными решетками имели довольно значительные габариты. Но
после того, как появились довольно компактные спектральные узлы типа
Фурье-спектрометров и др., ситуация изменилась. И, например, американская фирма
GWC Technologies выпустила в продажу ППР сенсор SPRimager II (рисунок 16), в
котором используется инфракрасный Фурье-спектрометр. Резонансные кривые ППР
наблюдаются в виде зависимости интенсивности отраженного света от волнового
числа
. Поскольку волновое число можно измерять с более высокой
точностью, чем угол падения, то потенциально такой способ измерения является
более чувствительным. Наилучшая разрешающая способность достигается в БИК свете
с непрерывным спектром.
Сенсор спроектирован так, что в
одной проточной ячейке может исследоваться одновременно целый массив разных
проб. Образцы соответствующих "чипов" показаны на рисунке 16 справа
вверху. В них на стеклянной основе сформированы островки диаметром 0,75-1 мм из
тонкой пленки золота, на которую осажден мономолекулярный слой протеина. С
помощью микропипетки на каждый островок можно нанести микрокаплю (0,3-0,5 мкл)
соответствующего раствора и иммобилизовать из него на слой протеина свой
лиганд. Это позволяет исследовать взаимодействие одного и того же аналита с
разными лигандами в идентичных условиях. Сенсор позволяет также в любой момент
времени получить изображение одновременно всех исследуемых островков в
отраженном под заданным углом поляризованном инфракрасном свете, т.е. в
условиях наблюдения ППР
С помощью ППР сенсора SPRimager II в
появилась возможность, например, впервые наблюдать поверхностный плазмонный
резонанс на тонких пленках оксидов металлов. Теоретически явление ППР можно
наблюдать на поверхности любого проводника. Однако экспериментально его
обнаруживали до сих пор на поверхности лишь благородных металлов. Использование
в ППР исследованиях пленок оксидов металлов может значительно расширить область
и возможности применения этого метода.
поверхностный плазмонный резонанс
сенсор
3.3 Одно из применений
В качестве наглядного примера
эффективности применения ППР сенсоров для выявления возбудителей болезней
рассмотрим ППР иммуносенсор для анализа заболевания коров на лейкоз.
Известно, что ретровирусы являются
возбудителями приобретенного иммунодефицита у людей. Один из их подвидов
является также возбудителем вирусного лейкоза большого рогатого скота. Это
заболевание может передаваться от коров человеку через употребление молока.
Сейчас в мире идет поиск эффективных методов борьбы с ретровирусными
инфекциями. Но, к сожалению, эффективного лечения пока не существует. Основной
мерой борьбы с инфекционным лейкозом являются постоянная диагностика животных,
своевременное выявление больных особей и их изоляция от стада коров. Для этого
нужны эффективные средства диагностики. Общепринятым сейчас методом выявления
этого заболевания является иммуноферментный анализ проб крови, взятой из шейной
вены животных. Метод требует для анализа до 6 ч., достаточно сложен, требует
профессиональной подготовки исполнителей, нуждается в спецоборудовании и
спецреагентах. Стоимость одного анализа составляет свыше 5 долларов США. Все
это не дает возможности вести постоянный мониторинг за состоянием животных,
тогда как эффективное оздоровление стада коров в случае выявления в нем больных
особей требует обследования каждой коровы по крайней мере через каждые 10 дней.
Существующими методами это осуществить тяжело, как из-за высокой стоимости
анализов, так и из-за проблемы частого взятия проб крови.
Возможность применения ППР сенсора
для выявления наличия ретровирусов лейкоза в молоке коров была показана в
Институте биохимии НАН Украины. Когда в молоке присутствовало заметное
количество ретровирусов, резонансный минимум на кривой ППР смещался
приблизительно на 1
.
Учитывая потребность массового
использования иммуносенсоров лейкоза коров в тысячах разных мест (на молочных
фермах, в пунктах приема молока и т.д.), надо было создать относительно дешевый
портативный ППР сенсор, предназначенный специально для выявления этого заболевания.
Такой сенсор должен обеспечивать:
· прямой
анализ, без использования дополнительных реагентов;
· экспрессность;
· анализ
без взятия крови, по капле молока;
· дешевый
анализ, стоимостью меньше 1 доллара США;
· небольшие
габариты и массу (до 1 кг и меньше);
· быть
удобным для использования в полевых условиях и пригодным для обычного
транспортирования;
· выполнять
всю необходимую обработку данных измерений внутри прибора и выдавать результаты
анализов на свой индикатор;
· иметь
довольно высокую производительность - порядка 50 анализов/час;
· иметь
не очень высокую стоимость, доступную для фермеров и малых предприятий.
На первом этапе нужен был недорогой
сенсор-индикатор, который лишь обнаруживает присутствие в молоке значительного
количества ретровирусов лейкоза, возможно, определяя 1-3 степени зараженности.
В нем угловая разрешающая способность может быть порядка 0,5
.
На рисунке 16 показана конструкция
оптоэлектронной части разработанного ППР иммуносенсора, ориентированного на
выявление заболевания коров на лейкоз. Полупроводниковый лазер 1, две
поляризационные стопы 2, установленные встречно, и диафрагма 3 вместе образуют
узел формирования параллельного пучка света с требуемой поляризацией
(осветительный узел). Оптический узел для анализа пробы состоит из оптической
ретропризмы 4, съемного рецепторного чипа 5, зеркальной грани 6 и оправы 7.
Фотоприемный узел состоит из фотоприемника 8 и собирающей линзы 9.
Рисунок 16 - Конструкция
оптоэлектронной части ППР иммуносенсора для выявления заболевания коров на
лейкоз
Осветительный и фотоприемный узлы
смонтированы внутри подвижных поворотных цилиндров 10 и 11. Они размещены в
параллельных цилиндрических каналах, образованных в металлическом корпусе 12,
который объединяет их в отдельный конструктивный блок. Последний отделен от
ретропризмы 4 с оправой 7 воздушным промежутком 13 шириной 2-3 мм. Упругая
перемычка 14 и микрометрический винт 15 позволяют регулировать угол падения
света на ретропризму в пределах приблизительно
2,50 (при изготовлении). Для защиты от загрязнений, механических
повреждений и влияния внешнего света при хранении, перевозке и во время
измерений узел анализа пробы закрывают непрозрачной крышкой 16.
В этом ППР иммуносенсоре применен
полупроводниковый лазер KLM-650/3 с углом расхождения светового пучка менее
0,04
, мощностью
3 мВт,
с длиной волны
= 650
нм и монохроматичностью
= 0,5
нм.
На рисунке 18 показан внешний вид
ППР иммуносенсора со стороны грани призмы, на которой установлен
"рецепторный" чип 3 с пленкой золота.
При регулировании угла падения света
на ретропризму световые пучки, которые входят и выходят из нее, остаются
параллельными. Благодаря параллельности оптических осей фотоприемного и
осветительного узлов они всегда попадают на фотоприемник.
В процессе работы грань ретропризмы,
на которую устанавливают рецепторный чип, размещается горизонтально. Перед
измерением на рецепторные чипы (вне ППР сенсора) наносят каплю контролируемого
молока и выдерживают в течение заданного времени, требуемого для химического
присоединения ретровирусов лейкоза к специфичным к ним антителам, нанесенным на
рецепторный чип. Время выдерживания составляет от 2 до 20 мин. в зависимости от
активности нанесенного на чип лиганда и от температуры. "Созревший"
рецепторный чип ставят на рабочее место в ППР сенсоре, смоченное иммерсионной
жидкостью, и проводят измерение. На это требуется 10-30 с. Потом в ППР
иммуносенсор ставят следующий "созревший" рецепторный чип и проводят
его измерение. Можно выполнить до 100 анализов за час.
Рисунок 17 - Вид ППР иммуносенсора
лейкоза коров сверху: 1 - поворотный блок с лазером и фотоприемником; 2 -
призма; 3 - рецепторный чип с золотой пленкой
В данном иммуносенсоре полная кривая
ППР не снимается. Проводится лишь 3-кратное измерение интенсивности отраженного
света при фиксированном угле падения. Принцип измерения объясняется на рисунке
18, где показаны две кривые ППР. Кривая 1 получается при нанесении на
рецепторный чип "чистого" (т.е. без вирусов) молока. При угле падения
, с которым работает прибор, интенсивность отраженного света
, приходящего на фотодетектор 3, является минимальной. Если же
исследуемое молоко содержит определенное количество вирусов, то кривая ППР
смещается, например, как показано штриховой линией (кривая 2). Минимум кривой
теперь находится при угле
. Поэтому
при неизменном угле падения
интенсивность
отраженного света
становится
уже значительно большей. И чем больше ретровирусов находится в исследуемом
молоке, тем больше будет сигнал от фотодетектора. Таким образом, измеряя этот
сигнал, можно строить заключения относительно наличия и концентрации в молоке
ретровирусов лейкоза.
Рисунок 18 - Объяснение принципа
действия сенсора: 1 - кривая ППР для "чистой" пробы; 2 - кривая ППР в
случае наличия в молоке ретровирусов лейкоза
Сделав измерение
"эталонных" растворов с известными концентрациями аналита, можно
проградуировать прибор, т.е. найти зависимость между концентрацией вирусов
лейкоза и величиной сигнала от фотодетектора. Эта зависимость запоминается в
микропроцессоре, и с его помощью выдаются на индикатор портативного прибора
результаты анализа.
Положительными чертами описанного
ППР иммуносенсора являются его небольшие габариты и возможность его настройки
на обнаружение в жидкости и других вирусов или на другие анализы, - путем
использования других специфических рецепторных чипов с другими специфическими
антителами и регулирования угла падения света на ретропризму.
ЗАКЛЮЧЕНИЕ
В ходе выполнения курсовой работы
было рассмотрено явление поверхностного плазмонного резонанса. Поверхностные
плазмоны - это волны переменной плотности электри-ческого заряда, которые могут
возникать и распространяться в электронной плазме металла вдоль его поверхности
или вдоль тонкой металлической пленки. Поверхностные плазмоны могут
возбуждаться под воздействием по-ляризованного света, если проекция волнового
вектора фотонов на плос-кость металлической пленки равна волновому вектору
поверхностного плаз-мона. При этом значительная часть энергии света
превращается в энергию плазмонов, из-за чего интенсивность отраженного света
резко падает. Это явление называют "поверхностным плазмонным
резонансом". Если металлическая пленка достаточно тонка, то значительная
часть затухающей в металле электромагнитной волны достигает противоположной
поверхности металла. И тогда ППР становится чувствительным к свойствам той
среды, которая контактирует с металлом с противоположной стороны пленки. От
электрической поляризации этой среды, в частности от её диэлектрической
постоянной зависит положение минимума кривой ППР. Измеряя положение или сдвиг
минимума, можно с большой точностью определять изменения этой диэлектрической
постоянной или показателя преломления среды. Также были рассмотрены различные
типы и конструкции сенсоров на ППР: Biacore 3000, SR7000, SPRimager II и д.р.
Кроме этого были установлены плюсы и минусы этих сенсоров. На начальном этапе
их развития основным минусом являлась дороговизна самих сенсоров, кроме этого
существовала и другая причина, это их большие габариты. К плюсам можно отнести
высокую точность измерений, а также быстрое внедрение их в науку. Кроме того
был подробно рассмотрен ППР сенсор для анализа заболевания коров на лейкоз.
СПИСОК ИСПОЛЬЗОВАННЫХ ИСТОЧНИКОВ
1 Перспективы создания портативных биосенсоров на основе
поверхностного плазмонного резонанса / И. Д. Войтович, В. М. Корсунский, А. Н.
Косогор и др. // Сенсор. електрон. і мікросистем. технології. - 2005. - № 3. -
С. 56-65.
Войтович И. Д. Интеллектуальные сенсоры / И. Д. Войтович,
В. М. Корсунский. -М.: Университет информационных Технологий, 2009. -624 с.
Jon S. Wilson Sensor Technology Handbook / Jon S. Wilson.
Newnes, 2005. -704 c.
Елская А. В. Амперометрические биосенсоры. Современные
технологии и коммерческие варианты анализаторов / А. В. Елская. -М.:
Биополимеры и клетка. - 2002. - 18, № 5. - С. 363 - 376.
Елская А. В. Биосенсоры на основе ион-селективных полевых
транзисторов / А. В. Елская -М.: Биополимеры и клетка. - 2004. - 20, № 1 - 2. -
C. 7 - 16.
Биосенсорные системы в медицине и экологии: Уч. Пособие /
Захаров И.С., Пожаров А.В., Гурская Т.В., Финогенов А.Д. -М.: Медицина, 2001
Биосенсоры: основы и применения / Под ред. Д. Тернера.
-М.: Мир, 1992. - 65 с.
Евдокимов Ю.М. Биосенсоры на основе одноцепочечных и
двухцепочечных нуклеиновых кислот // Сенсорные системы. 1998. Т.12. Вып.1.
С.5-21.
Эггинс Б. Химические и биологические сенсоры / Эггинс Б.
-М.: Техносфера, 2005. -366 с.
Homola J. Surface Plasmon Resonance Sensors for Detection
of Chemical and Biological / J. Homola. Chemical Society Reviews, 2008/ - C.
462-493.
ПерлинЕ.Ю., ВартанянТ. А., ФедоровА. В.
Физикатвердоготела. Оптика полупроводников, диэлектриков, металлов: Учебное
пособие. - СПб.: СПбГУ ИТМО, 2008. - 216 с.
Pompa P. P., Martiradonna L. et al. Metal-enhanced
fluorescence of colloidal nanocrystals with nanoscale control // Nature
Nanotechnology. 2006. V. 1. P. 126-130.
Хлебцов Н. Г. Новый спектральный резонанс маталлических
наностержней / Н. Г. Хлебцов, Л. А. Трачук, А. Г. Мельников. - М.: Оптика и
спектроскопия, 2004. - С. 105-107.
Национальный интернет университет / Применение
сенсоров-(Рус-Англ).-URL:
http://www.intuit.ru/studies/courses/590/446/lecture/5603 [20 марта 2013].