Архитектурно-строительный проект швейного предприятия
ВВЕДЕНИЕ
Целью данной работы является выполнение
архитектурно-строительной части проекта швейного предприятия. Согласно исходным
данным необходимо спроектировать план этажа и генеральный план территории
швейного предприятия.
При проектировании предприятия необходимо учесть
условия строительства: климатические особенности - температуру и влажность
воздуха в различные периоды года, атмосферные осадки, направление преобладающих
ветров и их силу; геологические особенности - характеристика грунта и глубина
его промерзания.
В ходе привязки промышленного предприятия к
условиям строительства выполняют следующие проектные работы: определяют
координаты и отметки частей зданий и сооружений (ориентацию продольных осей),
класс предприятия по характеру производственных вредностей, зоны территорий,
расстояния между зданиями, элементы благоустройства.
На основе этих данных проектируется генеральный
план территории промышленного предприятия и выполняется объемно-планировочное
решение главного корпуса.
ИСХОДНЫЕ ДАННЫЕ ДЛЯ ПРОЕКТИРОВАНИЯ
Исходными данными для проектирования предприятия
являются:
а) город, для которого проектируется
предприятие: г. Владивосток;
б) серия на железобетонные конструкции главного
корпуса: ИИ-04;
в) сведения по объемно-планировочному решению
главного корпуса:
габариты корпуса: 60х24 м
этажность: 4 этажа;
сетка колонн: 6х6 м;
Поэтажная планировка с площадями цехов
предприятия представлена на рисунке 1.1.
Рисунок 1.1 - Схема поэтажной планировки
швейного предприятия
г) этаж главного корпуса, подлежащий разработке:
1;
д) титульный список объектов проектирования
представлен в таблице 1.1.
Таблица 1.1 - Титульный список объектов на
территории предприятия
|
№
п/п
|
Наименование
|
Ориентировочные
размеры, м
|
|
1
|
2
|
3
|
|
1
|
Главный
корпус
|
60х24
|
|
2
|
Административный
корпус
|
18х42
|
|
3
|
Бытовой
корпус
|
По
расчету
|
|
4
|
Гараж
электрокар с зарядной
|
18х24
|
|
5
|
Компрессорная
|
12х12
|
|
6
|
Ремонтная
мастерская
|
18х24
|
|
7
|
Склад
ГСМ
|
12х18
|
|
8
|
Теплоцентр
|
12х18
|
|
9
|
Склад
материалов
|
12х36
|
|
10
|
Трансформаторная
подстанция
|
12х12
|
|
11
|
КПП
|
3х3
|
|
12
|
Спортивно-оздоровительный
комплекс
|
По
расчету
|
|
13
|
Стоянка
личного транспорта на предфабричной территории
|
По
расчету
|
|
14
|
Проходная
|
12х18
|
Примечание: бытовой корпус проектируется
пристроенным к главному.
КЛИМАТ ПУНКТА ПРОЕКТИРОВАНИЯ
Проектируемое предприятие располагается в г.
Владивосток, который относится ко II
климатическому району, подрайону Г. Для него характерен следующий климат:
среднемесячная температура воздуха в январе -5…-14˚С. Среднемесячная
температура воздуха в июле 12…21˚С. Среднемесячная относительная влажность
воздуха более 75%. Средняя скорость ветра за три зимних месяца 5 и более м/сек.
Особые физико-геологические условия климатического района: на отдельных
участках сейсмичность 7-9 баллов. Имеются территории с просадочными грунтами.
Природно-климатические факторы, определяющие общность типологических требований
к зданиям и сооружениям: умеренная зима, обусловливающая необходимую
теплозащиту зданий и сооружений. Высота снежного покрова 14 см. значительная продолжительность
отопительного периода.
Значения температуры наружного воздуха в г.
Владивосток представлены в таблице 2.1.
Таблица 2.1 - Температура наружного воздуха
|
Температура
наружного воздуха, °С
|
|
Средняя
по месяцам
|
Средняя
за год
|
Абсолютная
минимальная
|
Абсолютная
максимальная
|
Средняя
максимальная
|
Средняя
наиболее …
|
Средняя
наиболее …
|
|
I
|
II
|
III
|
IV
|
V
|
VI
|
VII
|
VIII
|
IX
|
X
|
XI
|
XII
|
|
|
|
|
|
|
|
-14,4
|
-10,9
|
-3,6
|
4,1
|
9,0
|
13,0
|
17,5
|
20,0
|
15,9
|
8,8
|
-1,3
|
-10,3
|
4,0
|
-31
|
36
|
23,2
|
-26
|
-16
|
Значения относительной влажности воздуха для
пункта проектирования представлены в таблице 2.2.
Таблица 2.2 - Относительная влажность воздуха
|
Средняя
относительная влажность воздуха по месяцам, %
|
|
I
|
II
|
III
|
IV
|
V
|
VI
|
VII
|
VIII
|
IX
|
X
|
XI
|
XII
|
|
64
|
64
|
67
|
69
|
77
|
88
|
92
|
88
|
78
|
68
|
62
|
63
|
Данные об атмосферных осадках и снежном покрове
в г.Владивосток представлены в таблице 2.3.
Таблица 2.3 - Атмосферные осадки и снежный
покров
|
Количество
осадков, мм
|
Снежный
покров
|
|
За
год
|
Жидких
осадков за год
|
Суточный
максимум
|
Средняя
дата образования и разрушения устойчивого снежного покрова
|
|
813
|
732
|
176
|
18/XII
- 19/II
|
Повторяемость скорости ветра в г. Владивосток
для летнего и зимнего периода представлена в таблице 2.4.
Таблица 2.4 - Повторяемость скорости ветра
|
Январь
|
Июль
|
|
С
|
СВ
|
В
|
ЮВ
|
Ю
|
ЮЗ
|
З
|
СЗ
|
С
|
СВ
|
В
|
ЮВ
|
Ю
|
ЮЗ
|
З
|
СЗ
|
|
74
|
3
|
1
|
9
|
1
|
2
|
2
|
8
|
8
|
1
|
3
|
63
|
15
|
5
|
2
|
3
|
Рисунок 2.1 - Роза ветров
Роза ветров для летнего и зимнего периода,
согласно сведениям о повторяемости ветра по направлениям, представлена на
рисунке 2.1.
Анализ розы ветров показал, что господствующим
ветром в летний период, является юго-восточный ветер; в зимний период -
северный. Исходя из этого, продольные оси здания необходимо располагать с
юго-запада на северо-восток.
ГЕНЕРАЛЬНЫЙ ПЛАН ПРОМЫШЛЕННОГО ПРЕДПРИЯТИЯ
Генеральный план - план промышленной площадки с
нанесением зданий, сооружений, элементов благоустройства и инженерных
коммуникаций. Генплан проектируется по СП 1 8.13330.2011.
На генплане в М 1:500 изображаются:
- здания с указанием отмостки, дверей,
ворот, этажности (титульный список объектов представлен в таблице 1.1);
- дороги и подъезды к зданиям;
- ограждение территории;
- ворота для проезда автотранспорта.
При компоновке генплана учитывают направления
ветров - с наветренной стороны размещают здания, не загрязняющие атмосферу, с
подветренной стороны (по отношению к другим зданиям) - загрязняющие её.
Ориентация продольных осей здания представлена
на рисунке 3.1. Характеристика генплана представлена в таблице 3.1.
Рисунок 3.1 - Ориентация продольных
осей здания
Таблица 3.1 - Характеристика
генплана
|
Наименование
показателей
|
Характеристика
показателей
|
|
1
|
2
|
|
Класс
предприятия по характеру производственных вредностей и размер
санитарно-защитной зоны, м
|
5
класс, 50 м
|
|
Зоны
территории
|
Административная
зона: административный корпус, спортивный комплекс, проходная.
Производственная зона: главный производственный корпус, бытовой корпус.
Складская зона: склад ГСМ, склад материалов. Подсобная зона: ремонтная
мастерская, трансформаторная подстанция, теплоцентр, компрессорная, гараж
электрокар с зарядкой, КПП.
|
|
Ориентация
продольных осей
|
В
зимний период господствует северный ветер, а в летний юго-восточный. Поэтому
продольные оси корпусов располагаются в направлении ЮЗ или СВ.
|
|
Расстояния
между зданиями, м
|
Расстояния
между одноэтажными зданиями (гараж электрокар с зарядной, ремонтная
мастерская, склад ГСМ, теплоцентр, транформаторная подстанция) с = 9 м.
Расстояние между двухэтажным (административный корпус) и одноэтажным
(проходная) зданиями с ≥ Н=3,6*3=10,8 м. Принимаем расстояние 12 м.
Расстояние между спортивным корпусом и проходной с = 12 м. Ширина улицы L=a+b+a=8+6+8=22
м, округляем до значения, кратного 3 м, получаем L=24 м. В
местах, где нет подъезда к зданиям ширина улицы L=a+b+a=3+6+3=12
м.
|
|
Тип
автодороги по схеме в плане
|
Автодорога
двухсторонняя, кольцевая. Ширина дороги b=6 м, так
как движение двухстороннее. Расстояние от зданий до дороги при наличии
подъезда равна a=8 м, в местах без подъезда к
зданию a=3м.
Ширина тротуаров равна 2 м (расчет приведен после таблицы). В местах, где
есть погрузоразгрузочные работы (склад ГСМ, ремонтная мастерская, гараж,
склад материалов, главный корпус) ширина подъезда к зданиям d=2*b=2*6=12 м;
где нет d=b=6 м.
|
|
Элементы
благоустройства
|
Хвойные
деревья, газон, стриженый кустарник.
|
|
ТЭП
|
Площадь
территории: Sтер =
13684 м2 Площадь, занимаемая застройками: Sзастр =
5949м2 Плотность застройки: Sзастр/Sтер = 43,5 %
|
Штр = 665 × 0,75 /
750 = 0,665 м
Ширина тротуара принимается 2 м.
РАСЧЕТ САНИТАРНО-ГИГИЕНИЧЕСКИХ ПОМЕЩЕНИЙ
К санитарно-гигиеническим помещениям относятся:
гардеробно-душевые блоки, включающие гардеробные, душевые и умывальные;
уборные, помещения личной гигиены женщин, курительные, помещения для отдыха.
Исходные данные к расчету
санитарно-гигиенических помещений следующие:
- число смен;
- количество
производственных рабочих, специалистов, ремонтников и их разделение на мужчин и
женщин.
Число производственных рабочих рассчитывается по
значениям площадей помещений, заданных в схеме поэтажной планировки, путём
деления площадей на условную норму площади на одного рабочего. Данные по
расчету количества рабочих приведены в таблице 4.1.
Таблица 4.1 - Сведения по числу рабочих
|
Наименование
помещения
|
Площадь
помещения, м2
|
Условная
норма площади на 1 рабочего, м2
|
Количество
рабочих в наибольшей смене, чел.
|
|
1
|
2
|
3
|
4
|
|
Подготовительный
цех
|
500
|
20
|
25
|
|
Раскройный
цех
|
500
|
20
|
25
|
|
СГП
|
440
|
-
|
5
|
|
Экспериментальный
цех
|
200
|
9
|
22
|
|
Цех
ВТО
|
1040
|
10
|
104
|
|
Швейный
цех №1
|
1440
|
7
|
206
|
|
Швейный
цех №2
|
1440
|
7
|
206
|
|
Цех
вышивки
|
200
|
10
|
20
|
|
Итого:
|
5760
|
-
|
613
|
Условно примем, что предприятие работает в две
смены. Смены условно равны, следовательно, в две смены будет работать 1226
человек.
На швейных предприятиях производственные рабочие
делятся на женщин и мужчин в соотношении 90 к 10%, следовательно, на
предприятии 1104 женщины и 122 мужчины.
Ремонтники входят в состав производственных
рабочих мужчин и составляют 5% от общего числа производственных рабочих. 2/3
всех ремонтников работает в первую смену, а 1/3 - во вторую.
Специалисты составляют 5% от общего числа
производственных рабочих, и делятся на женщин и мужчин в соотношении 90 к 10%.
Распределение специалистов по сменам производится так же как и ремонтников.
Распределение работающих по сменам приведено в
таблице 4.2.
Таблица 4.2 - Распределение работающих по сменам
и подгруппам
|
Категории
работающих
|
Подгруппа
по санитарной характеристике
|
Число
работающих в 1 смене
|
Число
работающих во 2 смене
|
|
|
Ж
|
М
|
Ж
|
М
|
|
1
|
2
|
3
|
4
|
5
|
6
|
|
Производственные
рабочие
|
1а
|
552
|
31
|
552
|
31
|
|
Специалисты
|
1а
|
37
|
4
|
8
|
2
|
|
Ремонтники
|
1в
|
-
|
41
|
-
|
20
|
После распределения рабочих по сменам и
подгруппам производится расчет гардеробных, душевых, умывальных, уборных,
курительных и помещений личной гигиены женщин.
Результаты расчета гардеробных представлены в
таблице 4.3.
Результаты расчета душевых, умывальных, уборных,
курительных и помещений личной гигиены женщин представлены в таблице 4.4.
Площади рассчитанных вспомогательных помещений
представлены в таблице 4.5.
Таблица 4.3 - Результаты расчета гардеробных
|
Подгруппа
по санитарной характеристике
|
Виды
одежды
|
Способ
хранения
|
Оборудование
гардеробных
|
Условная
норма площади на единицу оборудования, м2
|
Число
мест
|
Площадь
гардероба, м2
|
|
|
|
|
|
Ж
|
М
|
Ж
|
М
|
|
1а
|
Уличная
|
совместный
|
Шкафы
|
0,35
|
1149
|
68
|
402
|
24
|
|
Рабочая
|
|
|
|
|
|
|
|
|
Домашняя
|
|
|
|
|
|
|
|
|
1в
|
Уличная
|
раздельный
|
Шкаф
с двумя отделениями (для хранения уличной и рабочей одежды)
|
1,1
|
-
|
61
|
-
|
67
|
|
Рабочая
|
|
|
|
|
|
|
|
|
Домашняя
|
|
|
|
|
|
|
|
Таблица 4.4 - Результаты расчета душевых,
умывальных, уборных, курительных и помещений личной гигиены женщин
|
Наименование
помещений
|
Число
работающих
|
Оборудование
|
Условная
норма площади на ед.обор.
|
Данные
расчета
|
|
|
|
|
|
Число
человек на ед.обор.
|
Число
единиц обор.
|
Площадь
помещения, м2
|
|
|
Ж
|
М
|
|
|
Ж
|
М
|
Ж
|
М
|
Ж
|
М
|
|
1
|
2
|
3
|
4
|
5
|
6
|
7
|
8
|
9
|
10
|
11
|
12
|
|
Душевая
|
1а
1в
|
589
-
|
35
41
|
душевые
кабины
|
5
5
|
25
-
|
25
5
|
24
-
|
2
8
|
120
-
|
10
40
|
|
Умывальная
|
1а
1в
|
589
-
|
35
41
|
краны
|
2
2
|
7
-
|
7
20
|
84
-
|
5
2
|
168
-
|
10
4
|
|
Уборная
|
1а,
1в
|
589
|
76
|
сан.
приборы
|
5
|
12
|
18
|
49
|
4
|
245
|
20
|
|
Курительная
|
1а,
1в
|
589
|
76
|
-
|
-
|
-
|
-
|
-
|
-
|
13
|
|
Помещение
личной гигиены женщин
|
1а
|
589
|
-
|
сан.
приборы
|
10
|
75
|
-
|
8
|
-
|
80
|
-
|
Таблица 4.5 - Результаты расчетов
вспомогательных помещений
|
Наименование
помещения
|
Площадь
помещения, м2
|
|
Для
женщин
|
Для
мужчин
|
|
1
|
2
|
3
|
|
Гардеробная
|
402
|
91
|
|
Душевая
|
120
|
50
|
|
Умывальная
|
168
|
14
|
|
Уборная
|
245
|
20
|
|
Курительная
|
-
|
13
|
|
Помещение
личной гигиены женщин
|
80
|
-
|
|
ИТОГО:
|
1015
|
188
|
Площадь бытового корпуса рассчитывается по
формуле 4.1.

, м2
где: 
- площадь вспомогательных
помещений, м2;

- площадь лестниц и коридоров, м2.

(м2).
Длина бытового корпуса
рассчитывается по формуле 4.2.

, м,
где: b - ширина
бытового корпуса, м;
n - число
этажей бытового корпуса, ед. (n = 4).

(м).
Так как длина здания должна быть
кратна сетке колонн (6х6), то принимаем длину бытового корпуса равной 18 м.
Габариты бытового корпуса - 24x18 м . Площадь этажа - 432 м2. Женщины должны
располагаться на трех этажах, мужчины на одном.
Распределение помещений по этажам
бытового корпуса представлено в таблице 4.6.
На третьем этаже предприятия
располагаются мужские помещения.
Таблица 4.6 - Распределение
помещений по этажам
|
Наименование
помещений
|
Характеристика
помещений
|
|
Для
женщин
|
Для
мужчин
|
|
Место
расположения
|
Площадь
на одном этаже
|
Число
единиц оборудования
|
Место
расположения
|
Площадь
на одном этаже
|
Число
единиц оборудования
|
|
Гардеробная
|
1,
2, 4
|
134
|
383
|
3
|
91
|
129
|
|
Душевая
|
1,
2, 4
|
40
|
8
|
3
|
50
|
10
|
|
Умывальная
|
1,
2, 4
|
56
|
28
|
3
|
14
|
7
|
|
Уборная
|
1,
2, 4
|
82
|
16
|
3
|
20
|
4
|
|
Курительная
|
-
|
-
|
-
|
3
|
13
|
-
|
|
Помещение
Личной гигиены женщин
|
1,
2, 4
|
27
|
3
|
-
|
-
|
-
|
|
ИТОГО:
|
-
|
339
|
-
|
-
|
188
|
-
|
ПРОЕКТИРОВАНИЕ ГЛАВНОГО ПРОИЗВОДСТВЕННОГО
КОРПУСА
здание
проектирование генеральный план
Объёмно-планировочное решение главного
производственного корпуса представлено следующими характеристиками:
- тип здания по конструктивной схеме: с полным
каркасом;
габариты здания: главный корпус - 60 х 24 м;
бытовой корпус - 18 х 24 м;
высота этажа: в главном и производственном
корпусе - 4,2 м;
число этажей: в главном и бытовом корпусе -
4 этажа;
сетка колонн: 6x6 м;
серия на железобетонные изделия: ИИ-04;
степень огнестойкости, категория производства
по взрывной, пожарной и взрывопожарной опасности: V класс, санитарно-защитная
зона - 50 м.
Характеристика конструкций здания представлена в
таблице 5.1.
Таблица 5.1 - Характеристика конструкций
главного и бытового корпусов
|
Наименование
конструкции
|
Характеристика
конструкции и ее материал
|
Эскиз
конструкции
|
|
Главный
корпус
|
Бытовой
корпус
|
|
|
1
|
2
|
3
|
4
|
|
Фундамент
под колонны
|
Железобетонный
блок в верхней части которого имеется «гнездо» («стакан») для установки
колонны
|
|
|
Фундамент
под стены
|
Применяется
столбчатый фундамент. Изготавливается из бетона. 1 - фундамент под колонну; 2
- бетонный столбик; 3 - фундаментная балка.
|
|
|
Колонны
|
Служат
для поддержания перекрытий и покрытия. Материалом для них служит железобетон.
В верхней части колонны имеют консоли для помещения балок, нижняя часть
погружается в башмак. Сечение 400х400 мм.
|
|
|
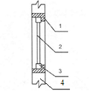
Стены
|
Самонесущие
стены из железобетона. Опираются на фундаментные балки, расположенные на
уступах башмаков пристенных колонн. Толщина - 400 мм. 1 - оконная коробка; 2
- переплет (рама); 3 - стекло; 4 - стена. Высота панелей - 1200, 1800 мм.
|
|
|
Перегородки
|
Толщина
- 100 мм. Панельные. Бетон.
|
|
|
Перекрытие
|
Плиты
перекрытия выполняются из железобетона, они укладываются на балки в
продольном направлении и дополнительно крепятся про помощи сварки. Размеры
плит: 5650х1500 мм; Крайняя плита: 5650х750 мм. Ребристые плиты.
|
|
|
Покрытие
|
Покрытие
служит для ограждения помещений верхних этажей от атмосферного воздействия.
По конструкции покрытие состоит из двух частей: ограждающей и несущей.
Несущая часть аналогична перекрытию, но рассчитана на меньшую нагрузку .
Ограждающая часть состоит из следующих слоев: - пароизоляция - преграждает
путь пара из помещения в вышележащий теплоизоляционный слой. Выполняется из
битума; - теплоизоляция - необходима для защиты помещений верхних этажей от
промерзания и от нагрева (в летний период). Выполняется из минеральных плит;
- выравнивающий слой - необходим для создания ровного прочного основания под
гидроизоляционный слой. Выполняется из цементно-песчаного раствора, толщиной
20-30 мм; - гидроизоляционный слой - предотвращает путь воды, защищает здание
от атмосферных осадков. выполняется из рулонных кровельных материалов.
|
|
|
Тамбур
|
Глубина
тамбура - 1500 мм. Минимальная ширина тамбура: 1500+200х2=1900 (мм)
|
|
|
Окна
|
Для
главного корпуса проектируется по одному окну на каждый шаг и пролет. Высота
окна 3000 мм. Ширина окна 4500 мм. Число окон 18.
|
Для
бытового корпуса проектируется по два окна на каждый шаг и пролет. Высота
окна 3000 мм. Ширина окна 1500 мм. Число окон 16.
|
Главный
корпус Бытовой
корпус
|
|
|
|
|
|
|
|
|
Двери
|
В
корпусе двустворчатые двери. Ширина двустворчатых дверей - 1500 мм. Высота
дверей - 2100 мм.
|
В
корпусе предусмотрены одно- и двустворчатые двери. Ширина одностворчатых
дверей не менее 800 мм. Ширина двустворчатых дверей - 1500 мм. Высота дверей
- 2100 мм.
|
|
|
На
каждый 100 человек наибольшей смены - 600 мм. В наибольшей смене 196 человек,
следовательно, минимальная ширина двустворчатых дверей 1200 мм, примем
ширину, равной 1500 мм.
|
|
|
Лестницы
|
Ширина
лестничного марша не менее 55 мм, для удобства перемещения примем равным -
1400 мм. Так как высота этажа 4200 мм - проектируется 3 марша, высотой 1400
мм. В каждом марше 9 ступенек по 300 мм шириной.
|
|
|
|
Ширина
лестничного марша: bприн≥bрасч,
примем ширину лестницы равной 1400 мм.
|
|
|
|
|
|
|
ЗАКЛЮЧЕНИЕ
В ходе курсового проекта было спроектировано
швейное предприятие в городе Владивосток.
На первом этапе были определены количество,
назначение и габариты зданий находящихся на территории предприятия (главный
корпус, административный корпус, бытовой корпус, гараж электрокар с зарядной,
компрессорная, ремонтная мастерская, склад ГСМ, теплоцентр, склад материалов,
трансформаторная подстанция, КПП, спортивно - оздоровительный комплекс,
проходная).
После изучения климата была построена роза
ветров, на основе которой определяется ориентация зданий относительно
преобладающих зимних и летних ветров, а также на основе ориентации относительно
сторон света.
При объемно-планировочном решении главного
производственного корпуса использовалась серия ИИ-04. Производственный корпус
располагается на 4 этажах. Габариты главного производственного корпуса 60x24 м.
Бытовой корпус спроектирован также по серии
ИИ-04. Габариты бытового корпуса 18x24 м. По результатам расчета
санитарно-гигиенических помещений женские помещения размещены на первом, втором
и четвертом этажах, мужские помещения - на третьем этаже.
На основании расчетов бытового и главного
корпусов был построен план первого этажа швейного предприятия.
СПИСОК ИСПОЛЬЗОВАННЫХ ИСТОЧНИКОВ
1. МУ к курсовому проекту для
студентов 5 курса дневной формы обучения, спец. 2808.00 по строительной части
дисциплины «Проектирование швейных предприятий», Новосибирск - 2002, - 25стр.
. Трепененков Р.И. Альбом
чертежей конструкций и деталей
промышленных зданий: Учебное пособие для вузов,
3-е изд., пер. и доп.-М.: Стройиздат, 1980.-284 с.
. СНиП 2.01.01-82
Строительная климатология и геофизика / Госстрой СССР. Москва: Стройиздат,
1983.-320 с.
. Буренин В.А. Основы
промышленного строительства и санитарной техники. 4.1. Основы промышленного
строительства: Учеб. для технич. вузов, 2-е изд., перераб. и доп.-М.: Высш.
шк., 1984.-216 с.