Повышение качества передачи телеметрической информации за время полета ракетоносителя

  • Вид работы:
    Дипломная (ВКР)
  • Предмет:
    Информатика, ВТ, телекоммуникации
  • Язык:
    Русский
    ,
    Формат файла:
    MS Word
    275,58 Кб
  • Опубликовано:
    2015-03-21
Вы можете узнать стоимость помощи в написании студенческой работы.
Помощь в написании работы, которую точно примут!

Повышение качества передачи телеметрической информации за время полета ракетоносителя

МИНИСТЕРСТВО ОБРАЗОВАНИЯ И НАУКИ РОССИЙСКОЙ ФЕДЕРАЦИИ

ФЕДЕРАЛЬНОЕ ГОСУДАРСТВЕННОЕ БЮДЖЕТНОЕ ОБРАЗОВАТЕЛЬНОЕ УЧЕРЕЖДЕНИЕ ВЫСШЕГО ПРОФЕССИОНАЛЬНОГО ОБРАЗОВАНИЯ «САМАРСКИЙ ГОСУДАРСТВЕННЫЙ АЭРОКОСМИЧЕСКИЙ УНИВЕРСИТЕТ ИМЕНИ АКАДЕМИКА С.П. КОРОЛЕВА (НАЦИОНАЛЬНЫЙ ИССЛЕДОВАТЕЛЬСКИЙ УНИВЕРСИТЕТ)»

Факультет заочного обучения

Кафедра производства летательных аппаратов

и управления качеством в машиностроении


ПОЯСНИТЕЛЬНАЯ ЗАПИСКА

К дипломному проекту на тему

ПОВЫШЕНИЕ КАЧЕСТВА ПЕРЕДАЧИ ТЕЛЕМЕТРИЧЕСКОЙ ИНФОРМАЦИИ ЗА ВРЕМЯ ПОЛЕТА РАКЕТОНОСИТЕЛЯ









Самара 2012

Реферат

Дипломный проект

Пояснительная записка: с., рисунков 7, таблиц 14, источников 25, приложений

Графическая часть: слайдов презентации MS Power Point

БЛОК ЗАДЕРЖКИ ИНФОРМАЦИИ, РАКЕТОНОСИТЕЛЬ, ЦИФРОВАЯ РАДИОТЕЛЕМЕТРИЧЕСКАЯ СИСТЕМА, АНАЛИЗ FMEA, ПОТЕРЯ ДАННЫХ, ОБОРУДОВАНИЕ ДОПОЛНИТЕЛЬНОЕ, ЭКОНОМИЧЕСКИЕ ЗАТРАТЫ

Цель дипломного проекта - повышение качества передачи телеметрической (ТМ) информации за время полета ракетоносителя (РН).

Объект исследования - цифровая радиотелеметрическая система (РТСЦ) РН легкого класса СОЮЗ-2 1в.

Предмет исследования - анализ работы и состава РТСЦ.

Область применения - передача ТМ-информации за время полена РН.

В дипломном проекте проведён анализ работы и состава РТСЦ. Разработан проект внедрения дополнительного оборудования с целью повышения качества передаваемой ТМ-информации за время полета РН.

Проведен анализ FMEA работы РТСЦ. Выявлено, что при разделении блоков первой и второй ступеней происходит частичная потеря данных, предложен проект внедрения дополнительного оборудования для снижения и предотвращения потери данных, с помощью блока задержки информации (БЗИ). Выявлено, что для реализации данного проекта не обходима установка БЗИ.

Проведена оценка планируемых экономических затрат.

Трудоемкость составила. Себестоимость составила.

Проанализированы вопросы обеспечения безопасности жизнедеятельности.

Содержание

Введение

. Анализ возможных форм и последствий отказа системы РТСЦ

.1 Описание и принципы работы РТСЦ

.2 Анализ возможных последствий отказа с помощью FMEA

. Устранение несоответствия потери данных

.1 Корректирующие действия устранения несоответствия

.2 Описание прибора БЗИ

. Планируемые экономические затраты

.1 Планируемая себестоимость проекта

.2 Планируемая трудоемкость и сроки выполнения

. Безопасность жизнедеятельности

.1 Параметры воздушной среды на рабочем месте

.2 Освещенность рабочего места

.3 Расчет уровня шума на рабочем месте

.4 Пожаробезопасность

Заключение

Список использованных источников

ракетоноситель экономический безопасность инженер

Введение

С древних времен человек мечтал о полетах, сколько жертв было принесено ради возможности познать полет. Люди пытались летать на чем угодно, на планерах, дирижаблях, воздушных шарах, затем на простейших самолетах и вертолетах. И, О чудо! Сбылось одно из самых заветных желаний человека полет в космос. В настоящее время в полете ракеты нет ничего необычного, ежегодно несколько десятков ракет достигают своей цели. Наша страна испытывает особою гордость в данной отрасли машиностроения!

Полет ракеты не возможно представить без контроля в наш век информации. Благодаря контролю информации мы можем четко знать, что происходит во время полета, это возможно благодаря телеметрии (совокупность технологий, позволяющая производить удалённые измерения и сбор информации для предоставления оператору), а в нашем конкретном случае благодаря телеметрической информации. Для такого сложного механизма как ракета необходима сложная система, что бы знать о работе всех узлов и элементов конструкции. Таковой является цифровая радиотелеметрическая система. Основной задачей которой является сбор и передача данных от ракеты на землю именно за время полета. Говоря о передаче информации, мы не можем не обратить внимание на такой показатель как качество передаваемой информации. Качество, это свойство, которое необходимо постоянно повышать для получения более достоверных сведений, что в будущем позволит повысить работоспособность как отдельных элементов конструкции так и ракеты в целом.

В данном курсовом проекте рассмотрен пример повышения качества передачи ТМ-информации за время полета РН, путем добавления в систему дополнительного оборудования.

1. Анализ возможных форм и последствий отказа системы РТСЦ

.1 Описание и принцип работы РТСЦ

В данном дипломном проекте мы будем говорить о ракете легкого класса типа «Союз», которая состоит из двух ступеней. Блок второй ступени оснащен двигателем 14Д23, а блок первой ступени оснащен двумя двигателями НК-33 и РД. Контроль всех систем, узлов, агрегатов и элементов конструкции на данном изделии производится системой РТСЦ. Эта система предназначена для сбора, преобразования и формирования в цифровом виде информации и передачу ее по радиоканалу с информативностью 512кбит/с на наземные приемно-регистрирующие станции. РТСЦ обеспечивает контроль следующей информации:

Бортовой аппаратуры системы управления блоков первой и второй ступеней:

Таблица 1 - Параметры АСУ

Наименование контролируемого параметра, единица измерения

Диапазон контроля нормы измерения

Место установки

Напряжение химического (первичного) источника тока бортовых батарей, В

От 0 до 35

Блоки первой и второй ступеней

Ток потребления от химического (первичного) источника тока блоков первой и второй ступеней, А

От 0 до 90


Прекращение аварийного полета

0;1


Значение угла прецессии по осям блока второй ступени, угл. минута



По каналу тангажа  По каналу рыскания  По каналу вращения По каналу СЭА

От -30 до +30


Ток управления приводом дросселя блока второй ступени, А


Блок второй ступени

- на увеличение расхода по команде (ОТКРЫТИЯ)

От 0 до 2,4


 - на уменьшение расхода по команде (ЗАКРЫТИЯ)

От 0 до 2,4


Давление горючего в головке КС

0;1


Команда КОНТАКТ ПОДЪЕМА

0;1


Аварийное выключение двигателя

0;1



Двигательных установок (ДУ) и пневмогидросистем блоков первой и второй ступеней для двигателей НК-33, РД011,14Д23:

Таблица 2 - Параметры ДУ

Наименование контролируемого параметра, единица измерения

Диапазон контроля нормы измерения

Место установки

Давление в баке окислителя, кгс/см2

От 0 до 4

Для блоков первой и второй ступеней

Давление в баке горючего, кгс/см2

От 0 до 3,5


Давление азота в баллоне на отстыковку колодок, кгс/см2

От 0 до 230


Давление гелия в погруженных баллонах для наддува бака окислителя, кгс/см2

От 0 до 220


Давление гелия в погруженных баллонах для наддува бака горючего, кгс/см2

От 0 до 220


Давление азота в баллоне продувки ХО, кгс/см2

От 0 до 230

Для блоков первой и второй ступеней

Давление окислителя на входе, кгс/см2

От 01 до 10


Давление горючего на входе в МД, кгс/см2

От 0 до 8


Давление гелия до теплообменника системы наддува бака «О», кгс/см2

От 0 до 25


Давление гелия до смесителя системы наддува бака «Г», кгс/см2

От 0 до 25


Давление газа в магистрали продувки демпфера, кгс/см2

От 0 до 60


Давление горючего после регулятора МД, кгс/см2

От 0 до 600


Давление горючего перед форсунками, кгс/см2

От 0 до 500


Давление горючего перед форсунками, кгс/см2

От 0 до 220


Давление горючего после насоса, кгс/см2

От 0 до 450


Давление окислителя после насоса, кгс/см2

От 0 до 600


Частота вращения ротора, об/мин

От 1000 до 24000


Давление горючего перед форсунками РД, кгс/см2


Только для блока первой ступени, двигателя РД Только для блока первой ступени, двигателя РД

Температура на поверхности рулевой машины 1, 0С

От -40 до +70


Температура на поверхности рулевой машины2, 0С

От -40 до +70


Температура на поверхности рулевой машины 3, 0С

От -40 до +70


Температура на поверхности рулевой машины 4, 0С

От -40 до +70


Температура рабочей среды в напорной гидролинии, 0 С

От -40 до +70

Для блоков первой и второй ступеней

Температура рабочей среды в сливной гидролинии, 0С

От -40 до +70


Температура горючего в баке окислителя, 0С

От -40 до +50


Температура окислителя в баке горючего, 0С

От -40 до +50


Температура гелия на входе в бак «О», 0С

От -100 до +290


Температура газа на входе в бак «Г», 0С

От -100 до +420


Температура гелия на выходе из двигателя по линии наддува бака «О», 0С

От -100 до +290


Температура газа на выходе из двигателя по линии наддува бака «Г», 0С

От -100 до +420



Отделение ступеней, конструктивных элементов, головного обтекателя и КА:

Таблица 3 - Параметры КА

Наименование контролируемого параметра, единица измерения

Диапазон контроля нормы измерения

Место установки

Отделение блока второй ступени от блока первой ступени

0;1


Раскрытие стыка связи блока первой ступени с блоком второй ступени

0;1


Раскрытие стыков панелей

0;1

ХО

Отделение ХО от блока второй ступени

0;1


Отделение объекта

0;1


Выход штанг замков продольного стыка ХО

0;1


Отделение объекта

0;1



О механических нагружениях (вибрации, акустические давления и линейные ускорения):

Таблица 4 - Параметры нагружений

Наименование контролируемого параметра, единица измерения

Направление установки

Место установки

Вибрация кронштейна около узла крепления батареи

параллельно



перпендикулярно


Вибрация кронштейна около узла крепления (ближнего к каркасу МБО)

параллельно



перпендикулярно


Вибрация кронштейна около узла крепления прибора

перпендикулярно


Вибрация силового конуса в месте крепления двигателя НК-33А между пл. II и пл. III

параллельно


Акустическое давление внутри МБО в районе стрингера по пл.III у нижнего днища бака «О»

радиально


Акустическое давление снаружи МБО в районе стыковочного шпангоута 1 (в зоне ~450 от пл. II к пл.III)

радиально



О статистических давлениях и температурах:

Таблица 5 -Статистические параметры

Наименование контролируемого параметра, единица измерения

Диапазон контроля нормы измерения

Место установки

Давление среды под ГО, мм рт.ст

От 1 до 780

внутри ГО

Статическое давление среды ПхО, мм рт.ст.

От 1 до 400


Температура среды в полости под ГО, мм рт ст

От -50 до +50


Статическое давление на поверхности отражателя блок первой ступени

от 1 до 780 мм рт. ст.


Статическое давление

от 1 до 780 мм рт. ст.


Статическое давление на кожухе защиты кабеля фермы блок первой ступени

от 1 до 780 мм рт. ст.


Статическое давление среды в ХО

от 0 до 5 кгс/см2


Статическое давление среды в МБО

от 0 до 5 кгс/см2


Статическое давление среды в ХО

от 0 до 15 кгс/см2


Статическое давление среды в МБО

от 0 до 15 кгс/см2


Статическое давление среды в ПО

от 0 до 15 кгс/см2



Цифровых массивов бортовой аппаратуры системы управления (БАСУ), навигационной аппаратуры потребителя (НАП):

Таблица 6 -Параметры БАСУ и НАП

Наименование контролируемого параметра, единица измерения

Диапазон контроля нормы измерения

Место установки

Параметры траектории движения с 8 по 15 р с 0 по 7 р



Цифровой массив 1

0;1


Цифровой массив 2

0;1



РТСЦ обеспечивает сбор информации со следующих типов выходных устройств:

датчиков функциональных (потенциометрических, генераторных);

датчиков дискретных (контактных, генераторных, цифровых);

термосопротивлений и термопар;

источников сигнала типа подсистемы виброизмерений;

устройств, выдающих информацию в виде цифровых массивов.

РТСЦ передает информацию на НПРС радиоканалу со скоростью 512000 бит/с, информация передается кадрами по 512 десятиразрядных слов. Информация передается младшим разрядом вперед в разрядах со 2-ого по 9-ый.

Разряд 1 (младший) в информационных словах не должен оставаться неизменным в течение кадра изменяется от слова к слову (изменение разряда 1 в РТСЦ осуществляется аппаратными средствами).

Разряд 10 - является символом четности (дополняющим число «1» в слове до «четного»).

Передающие устройства РТСЦ работает, в диапазоне ДI. Литера частот: ДI-042- канала передачи.

Выходная мощность передающих устройств не менее 6 Вт и не более 10 Вт на нагрузке 50 Ом при КБВ не менее 0,7. Время достижения мощности 6 Вт не более 10 с.

В состав кадра системы РТСЦ входит следующая служебная информация, используемая при автоматизированной обработке и анализе ТМ-информации:

первое слово кадра - КСС (командно-служебное слово);

третье, четвертое слова кадра - коды секунд и минут соответственно;

пятое слово кадра - ССК счетчик кадров от 0 до 127 (разряды со 2 по 8);

512-ое слово кадра - кадровое слово (единицы во всех разрядах).

Информация контактных и цифровых датчиков, подключенных на Вх1, Вх9, … Вх57 ЛКЦ передается в девятом (старшем) разряде слова ТМ-кадра РТСЦ, Вх2, Вх10 … Вх58 ЛКЦ в восьмом разряде и т. д.

Уровни состояния датчиков:

дискретных генераторных (выводы, микросхем, схем с выходным сопротивлением до 1 кОм и т. п.):,

логический «0» (замкнуто) - от 0 до 100 Ом;

логическая «1» (разомкнуто) - не менее 100 кОм.

Дискретные параметрические датчики в виде электронных ключей (транзистор с незапитанным коллектором), запитываемые током опроса РТСЦ на время опроса датчика, имеют выходное напряжение в состоянии логический «0» (ключ открыт) от 0 до 0,7 В.

Прием ТМИ обеспечивается НПРС с ориентированного и неориентированного полетов РН в зоне радиовидимости ИПов при минимальном угле места 50 и на расстоянии до 2800 км.

Максимальная погрешность измерений по тракту «борт-земля» с учетом автоматизированной обработки не превышает:

для функциональных датчиков вольтовой шкалы при выходном сопротивлении этих датчиков не более 1 кОм и суммарной емкости выхода и кабельной сети не более 3000пФ - 1%;

для температурных датчиков милливольтовой шкалы термосопротивлений и термопар в диапазоне рабочих температур РТСЦ от 0 до 400С - 2% и для остальных значений температур 3%.

Допустимое увеличение погрешности измерений для функциональных датчиков вольтовой шкалы при выходном сопротивлении более 1 кОм - не более 0,2% на каждый дополнительный 1 кОм.

РТСЦ формирует и передает информацию времени в виде кодов секунд и минут.

Питание РТСЦ производится от наземного или бортового источников питания напряжением от 24 до 32 В, ток потребления РТСЦ не более 7,5 А.

Моноблок аппаратуры сбора (МАС) является основной локальной единицей системы РТСЦ-3 и предназначен для сбора информации датчиков различных типов, т.е. аналоговых, вольтовой шкалы, дискретных и температурных (термосопротивлений и термопар), и передачи ее в основной коммутатор формирователь (ОКФ). МАС имеет три модификации:

МАС в составе: ЛКА, ЛКТ, ЛКЦ, ВИП, УС;

МАС в составе: ЛКА, 2ЛКЦ, ВИП, УС;

МАС в составе: ЛКА, ЛКТ, ЛКЦ, ВИП, УС, ПС.

Назначение и краткая характеристика устройств, входящих в МАС:

ЛКА - локальный коммутатор аналоговый обеспечивает прием и преобразование в цифровой код информации аналоговых датчиков вольтовой шкалы в диапазоне от 0 до 6,25 В.

Количество входов для подключения датчиков - 64. В состав ЛКА ТА261 входит источник питания потенциометрических датчиков (6,25±0,03) В с током потребления до 100 мА и максимальной емкостью нагрузкой до 500 мкФ. Источник имеет электронную автоматическую восстанавливаемую защиту от короткого замыкания. Ток короткого замыкания - не более 140 мА;

ЛКЦ - локальный коммутатор цифровой обеспечивает прием информации контактных, цифровых датчиков. Прибор имеет 64 входа. Прибор обеспечивает в течение одного канального временного интервала передачу на ОКФ информации до восьми датчиков. Минимальная длительность канального интервала - 78,125 мкс;

ЛКТ - локальный коммутатор температурный обеспечивает аналогово-цифровую обработку сигналов от датчиков температур (термосопротивлений и термопар) и имеет две шкалы измерений:

сопротивлений от 0 до 203 Ом;

напряжений от 0 до 500 мВ.

ЛКТ имеет 32 входа: вход 1- калибровочный, остальные датчиковые.

ЛКТ является медленным коммутатором второй ступени.

Передача информации одного канала ЛКТ (12-разрядного двоичного числа) производится двенадцатым (младшим) разрядом вперед в двух канальных интервалах по 6 разрядов в каждом (в разрядах с четвертого по девятый слова системы);

ВИП- вторичные источники питания приборов ТА271, ТА271А, ТА271В. Обеспечивают напряжением постоянного тока приборы, входящие в МАС;

ПС- плата согласования для подсистемы виброизмерений (ПВИ);

УС - является устройством согласующим локальные коммутаторы и плату согласования ПВИ с ОКФ.

Моноблок ТА271В используется для приема информации ПВИ.

Последовательность МАС в структуре выходного кадра следующая:

.        ЛК1 (МАС1);

.        ЛК2 (цифровой массив 1);

.        ЛК3 (МАС3);

.        ЛК4 (МАС4);

.        ЛК5 (МАС1);

.        ЛК6 (цифровой массив 2);

.        ЛК7 (МАС7)

.ЛК8 (МАС5)

Для МАС №1,3,4,5,7 перевод производится следующим образом:

Первый канал есть 64 позиция МАС, а для остальных номер канала есть номер позиции МАС+1;

РТСЦ получая данные от датчиков, расположенных по всему изделию сортирует их и кодирует в определенные пакеты данных которые называются кадрами, в свою очередь кадры состоят из слов, в которые включается служебная информация. РТСЦ обладает возможностью передавать информацию при удалении на 2800км от Земли. Контроль происходит на всех этапах полета до отделения Космического Аппарата ( КА).

Система телеметрических измерений имеет следующие режимы работы:

НП - режим непосредственной передачи ТМИ по радиоканалу в темпе формирования ТМ-кадра;

НЧ - режим непосредственной передачи по низкой частоте информации в темпе формирования ТМ-кадра;

Команды управления, подаваемые от наземных средств управления:

ВКЛ. НИ - выбор наземного источника питания;

ВКЛ. БИ - выбор бортового источника питания;

ВКЛ. НП - включение РТСЦ в режим НП (НП, НЧ);

ВКЛ. НЧ - включение РТСЦ в режимы НЧ;

ОТКЛ. НП - отключение режимов НП, НЧ, системы РТСЦ;

НОВ - обнуление шкалы времени РТСЦ;

ВКЛ. ПРОВ. ВЧСЗ - включение режима проверки совместного функционирования в/ч трактов ДПА и ПВИ;

Команды управления, подаваемые БАСУ:

НОВ - обнуление шкал времени;

ОТКЛ. НП - отключение режимов НП, НЧ системы РТСЦ (по команде ВЫКЛ. БСТИ от БАСУ);

РТСЦ включается в режим НП на наземном питании по 15-ти минутной готовности к пуску.

По минутной готовности производится переключение с наземного питания на бортовое.

Команда НОВ подается не позднее 20мс после Контакт-Подьем(КП).

Запись ТМИ на НПРС включается по команде «Протяжка».

Отключение РТСЦ производится через 24 с после команды на отделение КА.

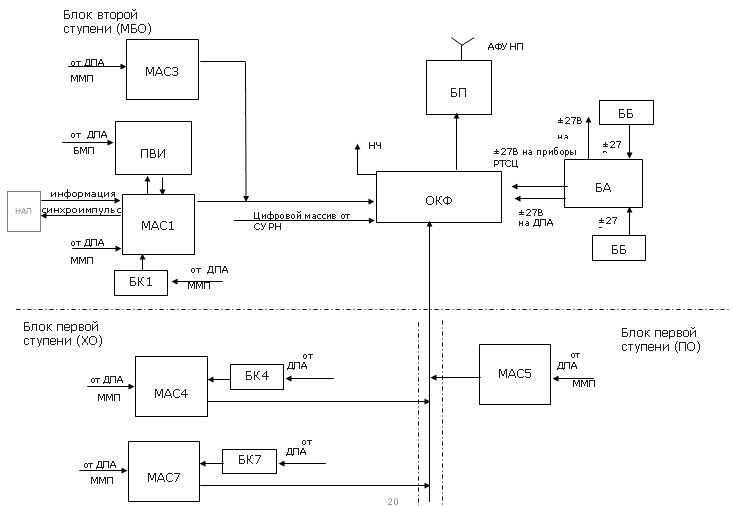
Для удобства восприятия системы РТСЦ существует ее функциональная схема, что облегчает понимание принципа работывсех ее составных частей.

Функциональная схема системы РТСЦ представлена на рисунке 1.

Рисунок 1 - Функциональная схема РТСЦ

Таблица 7 - Описание состава РТСЦ

Наименование прибора

Кол-во, шт.

Место установки

Радиотелеметрическая система цифровая (РТСЦ) в составе:

1


- устройство передающее (БП)

1

МБО Блока второй ступени

- основной коммутатор - формирователь (ОКФ)

1

МБО Блока второй ступени

- блок автоматики (БА)

1

МБО Блока второй ступени

- моноблок аппаратуры сбора


МБО

(МАС1)

1

Блок второй ступени

(МАС3)

1

МБО Блок второй ступени

(МАС4)

1

ХО Блок первой ступени

(МАС5)

1

ПО Блок первой ступени

(МАС7)

1

ХО Блок первой ступени

Подсистема виброизмерений (ПВИ) в составе:  - блок анализатора (БАн1)

1

ВДБ «Г» Блок второй ступени

(БАн2)

1

ВДБ «Г» Блок второй ступени

(БАн3)

1

ВДБ «Г» Блок второй ступени

(БАн4)

1

ВДБ «Г» Блок второй ступени


1.2 Анализ возможных последствий с помощью методологии FMEA

Одной из основных задач системы менеджмента качества является обеспечение выявления потенциальных несоответствий (дефектов) и предотвращение их появления на всех стадиях жизненного цикла продукции. Важнейшим методом решения этой задачи является анализ видов и последствий потенциальных несоответствий (FMEA). В настоящее время не большинство разработок технических изделий и технологий проводится с применением анализа видов и последствий потенциальных несоответствий (FMEA-методологии).

Около 80% всех дефектов, которые выявляются в процессе производства и использования изделий, обусловлены недостаточным качеством процессов разработки концепции изделия, конструирования и подготовки его производства. Около 60% всех сбоев, которые возникают во время гарантийного срока изделия, имеют свою причину в ошибочной, поспешной и несовершенной разработке.

технологию развертывания функций качества (QFD - Quality Function Deployment), которая представляет из себя технологию проектирования изделий и процессов, позволяющую преобразовывать пожелания потребителя в технические требования к изделиям и параметрам процессов их производства;

функционально - стоимостный анализ (ФСА) - технологию анализа затрат на выполнение изделием его функций; ФСА проводится для существующих продуктов и процессов с целью снижения затрат, а также для разрабатываемых продуктов с целью снижения их себестоимости;

- FMEA - анализ (Failure Mode and Effects Analysis) - технологию анализа возможности возникновения и влияния дефектов; FMEA проводится для разрабатываемых продуктов и процессов с целью снижения риска от потенциальных дефектов;

- функционально-физический анализ (ФФА) - технология анализа качества предлагаемых проектировщиком технических решений, принципов действия изделия и его элементов; ФФА проводится для разрабатываемых продуктов и процессов.

Анализ видов и последствий потенциальных несоответствий (FMEA) является методом систематического анализа системы для идентификации видов потенциальных несоответствий, их причин и последствий, а также влияния несоответствий на функционирование системы (системы в целом или ее компонентов и процессов).представляет собой метод, позволяющий идентифицировать тяжесть последствий видов потенциальных несоответствий, и обеспечить меры по снижению риска. В некоторых случаях FMEA также включает в себя оценку частоты возникновения видов несоответствий. Это расширяет анализ.

Принципы FMEA могут быть применены вне разработки проекта на всех стадиях жизненного цикла продукции.

В общем случае FMEA применяют к отдельным видам несоответствий и их последствиям для системы в целом. Каждый вид несоответствия рассматривают как независимый. Но в данном диссертационном исследовании разработан метод анализа зависимых несоответствий их причин и последствий.

При определении последствий несоответствия необходимо рассмотреть несоответствия более высокого уровня и несоответствия того же уровня, возникшие в результате произошедшего несоответствия. Анализ должен выявить все возможные комбинации видов нежелательных событий и их последовательностей, которые могут быть причиной последствий на более высоком уровне. В этом случае необходимо совершенствование процедуры оценки тяжести и частоты возникновения таких несоответствий, причин и последствий.является гибким инструментом, который можно адаптировать к особенностям требований конкретного производства. В некоторых случаях требуется разработка специализированных форм и правил ведения записей. Уровни тяжести последствий несоответствий (в случаях их применения) для различных систем или различных уровней системы могут быть определены по-разному.

Основаниями для применения анализа видов и последствий потенциальных несоответствий (FMEA) могут быть следующие:

1.      идентификация несоответствий, которые имеют нежелательные последствия для функционирования системы, например прекращение или значительное ухудшение работы или влияние на безопасность потребителя;

2.      выполнение требований заказчика, установленных в контракте;

.        повышение надежности или безопасности системы (например, путем изменения проекта или проведения действий по обеспечению качества);

.        повышение ремонтопригодности системы путем выявления областей риска или несоответствий применительно к ремонтопригодности;

Традиционно существуют достаточно большие различия в способах проведения и представления FMEA-анализа. Обычно анализ выполняют, идентифицируя виды несоответствий, соответствующие причины, непосредственные и итоговые последствия. Аналитические результаты могут быть представлены в виде рабочей таблицы, содержащей наиболее существенную информацию о системе в целом и деталях, учитывающих ее особенности, в частности о путях возникновения потенциальных несоответствий системы, компонентов и видах несоответствий, которые могут быть причиной отказа системы, а также причинах возникновения каждого вида несоответствия.

Область применения метода охватывает все этапы жизненного цикла продукции и любые технологические процессы. Наибольший эффект дает применение FMEA на этапах разработки конструкции и процессов, однако и в действующем производстве метод может эффективно применяться для устранения несоответствий и их причин, не выявленных при разработке или обусловленных факторами изменчивости процессов производства.

FMEA - метод, целью которого является улучшение конструкции на основе анализа потенциальных несоответствий конструкции с количественным анализом последствий и причин несоответствий.

Ранг (балл) значимости (S) - балльная оценка по шкале от 1 до 10 серьезности последствий несоответствия.

Ранг (балл) возникновения (O) - балльная оценка по шкале от 1 до 10 частоты возникновения причины несоответствия (несоответствия).

Ранг (балл) обнаружения (D) - балльная оценка по шкале от 1 до 10 способности существующих действий контроля обнаруживать потенциальные причины несоответствия.

Приоритетное число риска (ПЧР) - обобщенная количественная характеристика несоответствия, его причины или последствия (в зависимости от области применения и объекта анализа), учитывающая значимость и вероятности возникновения и обнаружения.

Метод анализа видов и последствий потенциальных несоответствий (FMEA) представляет собой систематизированный комплекс действий, проводимых для того, чтобы:

выявить несоответствия продукции и процессов, а также последствия возникновения этих несоответствий, и дать им количественную оценку;

создать ранжированный список видов и причин несоответствий для планирования корректирующих и предупреждающих действий;

определить корректирующие и предупреждающие действия, которые могли бы устранить или снизить вероятность возникновения несоответствий;

документировать данные по результатам анализа для накопления в базе знаний.

Применение FMEA является обязательным требованием стандарта ИСО/ТУ 16949 (подразделы 7.3, 8.5) и других стандартов аэрокосмической и авиационной промышленности.

Цель применения метода - изучение причин и механизмов возникновения несоответствий и предотвращение несоответствий (или максимальное снижение их негативных последствий), а следовательно - повышение качества продукции и сокращение затрат на устранение несоответствий на последующих стадиях жизненного цикла продукции.

Командная работа. FMEA проводится силами специально подобранной многофункциональной команды экспертов. Эффективность анализа напрямую зависит от профессионального уровня, практического опыта и согласованности действий специалистов. Для сложных изделий, процессов и процессов изготовления сложных технических объектов анализу подвергается как изделие/процесс в целом, так и его составляющие (детали/операции).

Итеративность. Анализ проводится неоднократно; он возобновляется при выявлении новых факторов и при любых изменениях, влекущих за собой изменение последствий и их рисков.

Регистрация данных. Анализ видов и последствий потенциальных несоответствий и его результаты должны быть документально оформлены.

Описание оценочных характеристик, представлены в таблице 8.

Таблица 8 - Квалиметрические шкалы для оценки факторов S,O,D.

Фактор S

Фактор О

Фактор D

 1 - очень низкая (почти нет проблем)

1 - очень низкая

1 - почти наверняка дефект будет обнаружен

2 - низкая (проблемы решаются работником)

2 - низкая

2- очень хорошее обнаружение

3 - не очень серьезная

3 - не очень низкая

3 - хорошее

4 - ниже средней

4 - ниже средней

4 - умеренно хорошее

5 - средняя

5 - средняя

5 - умеренное

6 - выше средней

6 - выше средней

6 - слабое

7 - довольно высокая

7 - близка к высокой

7 - очень слабое

8 - высокая

8 - высокая

8 - плохое

9 - очень высокая

9 - очень высокая

9 - очень плохое

10 - катастрофическая (опасность для людей)

10 - 100%-ная

10 - почти невозможно обнаружить


В целом FMEA-анализ является результатом работы команды, состоящей из квалифицированных специалистов, способных признать и оценить значимость и последствия различных типов потенциальных несоответствий процессов, которые могут привести к браку продукции, нарушению безопасности производства и т.д.

Рекомендуемое число участников FMEA-команды - от 3 до 8 человек. В своей работе FMEA-команды применяют метод мозгового штурма, рекомендуемое время работы - от 3 до 6 часов в день. Для эффективной работы все члены FMEA-команды должны иметь практический опыт и высокий профессиональный уровень.

При необходимости в состав FMEA-команд привлекаются также специалисты с практическим опытом в других областях деятельности. В команде должен быть определен ведущий, которым может быть любой из членов команды, признаваемый остальными как лидер в рассматриваемых вопросах. Алгоритм работы FMEA-команды представлен на рис..

Основные этапы применения FMEA метода:

- анализируется процесс;

проводится обратная мозговая атака;

составляется список возможных последствий (S) каждого отказа;

каждое последствие, в соответствии с его серьезностью, оценивается экспертами обычно по 10-балльной шкале (при этом 10 соответствует самым тяжким последствиям);

вероятность возникновения последствия (O) оценивается по 10-балльной шкале;

вероятность обнаружения отказа и его последствий (D) также оценивается по 10-балльной шкале;

для каждого последствия вычисляется коэффициент приоритетности риска - ПЧР;

- выбираются отказы, над которыми предстоит работать;

принимаются меры для устранения или сокращения отказов с высоким показателем риска;

рассчитывается новый показатель риска с учетом разработанных мероприятий.

 

Одним из методов количественной оценки критичности является определение значения приоритетности риска (ПЧР). ПЧР рассчитывается по формуле.

ПЧР=S•O•D

Определили основные проблемы работы системы и их последствия, провели оценочную работу последствий отказа, рассчитали ПЧР, определили угрозу несоответствия. Данные занесены в таблицу 9.

Таблица 9 - Таблица несоответствий

Группа экспертов: Во главе с начальником отдела разработки телеметрической системы РТСЦ А.В. Шапиро, начальник сектора С.В. Мичурин, Начальник отдела обработки данных Г.И. Скриптунова

Этап процесса

Время процесса

Проявления отказа

Причина отказа

Последствие отказа

S

O

D

ПЧР

Разделение блоков первой и второй ступеней

От 160 с до 200 с

Невозможность передачи данных в течении трех секунд при разделении блоков первой и второй ступеней

При включении двигателя образуется плазменное облако, которое препятствует передачи данных по радиоканалу

Нештатное поведение двигателя

3

1

10

30





Пожар

5



50





Взрыв

4



40





Изменение траектории движения

7



70





Не отделение блока и падение изделия

10



100


Анализ FMEA показал, что при данном несоответствии существует последствие, ПЧР которого составил 100%, что больше допустимых 70%. Значит необходимо принять корректирующие действия

2. Устранение несоответствия потери данных

.1 Корректирующие действия устранения несоответствия

Как показал анализ FMEA, основной проблемой работы РТСЦ является потеря данных при разделении блоков первой и второй ступени. При отделении блока первой ступени от второй образуется плазменное облако, что ведет за собой потерю данных в течение 3 с. Так происходит потому, что двигатель второй ступени включается раньше, чем отделяется блок первой ступени. Это приводит к серьезным последствиям, поэтому необходимо принять корректирующие действия.

.        Исключить причину возникновения несоответствия, то есть в результате изменения конструкции уменьшить возможность возникновения

.        Воспрепятствовать возникновению дефекта, то есть за счет регулирования помешать возникновению несоответствия

.        Снизить влияние несоответствия

.        Облегчить и повысить достоверность выявления несоответствия

Прежде всего, необходимо определить требования к БЗИ для заказа смежному предприятию.

Требования, предъявляемые к блоку задержки информации (БЗИ):

блок должен запитываться от системы, т.е. от напряжения +27В, т.к. вся система запитывается таким напряжением от батарей питания;

- блок должен принимать входную информацию в виде нулей и единиц, т.к. с основного коммутатора формирователя (ОКФ) информация поступает именно в таком виде;

т.к. информативность по радио каналу составляет 512 бит/с, а потеря данных происходит в течение 3 с, то оперативное запоминающее устройство данного блока должна быть 512 бит/с*3с=1,6 Мбайт;

- блок по массе не должен превышать 1,5 кг, иначе это будет не целесообразно и увеличит систему на 1/4;

- ограничение по габаритам ;

иметь возможность сопряженности с антенно-фидерным устройством (АФУ);

основным принципом работы блока должна быть задержка информации с последующей передачей ее на АФУ.

Необходимо ввести в состав системы прибор, который будет задерживать информацию на 3 с, а затем передавать с обычным потоком данные. Необходимо дополнительно установить АФУ и ввести в состав системы БП, так же определить новые подаваемые команды.

Чтобы обеспечить работу данного прибора необходимо ввести дополнительно бортовой передатчик (БП) в состав системы РТСЦ, передатчик заимствуем из тех, что были ранее использованы, т.к. свойства передаваемой информации не поменяются. Антенно-фидерное (АФУ) устройство так же заимствуем с предыдущих изделий. Что касается Блока задержки информации (БЗИ), то его необходимо разработать вновь. Разработка данного прибора отнесена к работам смежного предприятия, которое комплектует систему РТСЦ.

Для внедрения нововведений на предприятии необходимо выпустить дополнительную документацию и откорректировать уже имеющуюся:

откорректировать программу измерений;

разработать техническое описание на прибор БЗИ;

разработать техническое описание на систему РТСЦ;

откорректировать методику испытаний системы РТСЦ;

рассмотреть необходимость корректировки схем подключения датчиков и методик испытаний.

Для этого необходимо разработать и выпустить Техническое Решение, которое определит регламент работ и отделам выдать предложения в Сетевой График в отдел планирования, для того чтобы работы были учтены и оплачены.

СОГЛАСОВАНО                                    УТВЕРЖДАЮ

Начальник 5 ВП МО РФ                        

Первый зам. Генерального

директора

_______________В.А. Корнилов                    ___________________2012 г.

Первый зам. Генерального директора

ГНПРКЦ «ЦСКБ - Прогресс»

по экономике и финансам

______________Б. Н. Мелиоранский

__________________ 2012 г.

ТЕХНИЧЕСКОЕ РЕШЕНИЕ

По вопросу установки дополнительного оборудования на систему РТСЦ РН «СОЮЗ2-1в».

Заместитель генерального директора по производству

__________________В.В. Пашистов

___________________2012 г.

Заместитель генерального конструктора

по средствам выведения

__________________Д.А. Баранов

___________________2012 г.

Главный конструктор -                                     Главный конструктор -

начальник отделения 1150                      начальник отделения 1300

______________ В.Н.Новиков               _________________В.А.Капитонов

______________2012 г.

Начальник отдела 1302

_________________В.Т. Пряхин

______________2012

Ведущий конструктор

______________Н.Я. Овсянников

______________2012 г.

Начальник отдела 1309

______________Г.И. Скриптунова

______________2012 г.

Начальник отдела 1303

_________________

_________________

После проведения испытаний стало понятно что есть разнообразные несоответствия при работе изделия «СОЮЗ2-1в», благодаря экспертной группе по методологии FMEA-анализа было выявлено самое серьезное несоответствие, что при разделении блоков первой и второй ступени ракетоносителя легкого класса типа «СОЮЗ2-1в» образуется плазменное облако, которое мешает передачи ТМ-информации в течение 3 с, что может повести за собой серьезные последствия, и для ликвидации данного несоответствия принимается

РЕШЕНИЕ:

) Ввести в состав системы дополнительное оборудование, а точнее БЗИ и дополнительный передатчик, а так же для перед второго задержанного на 3с потока информации установить антенну для передачи.

) Определить требования к БЗИ и заказать смежному предприятию разработку БЗИ и адаптацию системы для работы в новых режимах.

) Организовать работу по внедрению дополнительного оборудование на РН «СОЮЗ2-1в» Обеспечить разработку необходимой документации и коррекции уже имеющейся.

Для выполнения решения необходимо выполнить следующие работы:

. Отделу 1302 откорректировать Программу измерения в части описания системы РТСЦ

Срок:

. Отделу 1302 выдать в отдел 1309 ИД для разработки методики обработки информации.

Срок:

. Отделу 1309 разработать проектную документацию МП для системы РТСЦ

Срок:

. Отделу 1303 откорректировать проектную документацию и эксплуатационную документацию для установки дополнительного АФУ

Срок:

.        Отделу 1302 сектор 2 разработать методику испытаний для системы РТСЦ с учетом дополнительного оборудования

Срок:

.        Отделу 1302 откорректировать 14А15 ДПМ ч.1 Издание первое

Срок:

.        Отделу 1302 разработать ТО на РТСЦ с учетом дополнительного оборудования

Срок:

. Отделу 1302 рассмотреть необходимость коррекции схемы подключения оборудования.

Срок:

. Отделу 1302 выдать ИД для коррекции ВП, ФО.

Срок:

. Отделу 1302 откорректировать ПМ-125 для изделий 14А15

Срок:

. Отделу 1302 направить в РКС предложение с требованиями к БЗИ.

Срок:

. Отделу 1203 откорректировать КД на монтаж кабелей

Срок:

Финансирование работ по реализации данного технического решения отнести: на заказ-наряд 15Ц/2012 эт.40.11 для изделий, 14А15, 14С738, 14С741, 14С744

Отделу 2908 работы предусмотренные настоящим решением включить в планы работ подразделений.

Корректировку КД производить по шифру "1.1.3" Конструктивные улучшения и усовершенствования.

Предложение в Сетевой График (СГ) представлено на рисунке 3.


.2 Описание Блока Задержки Информации (БЗИ)

Прибор предназначен для работы в составе системы РТСЦ изделия СОЮЗ. БЗИ выполняет функцию задержки информации в режимах НП2 и НП-НЧ2, на время равное 3с. Прибор размещен в блоке И (МО) и должен обеспечить работу в условиях эксплуатации, изложенных в таблице, после подачи на него напряжения питания и входных сигналов.

Таблица 10 - Условия эксплуатации БЗИ

Наименование сигнала, цепи, параметра

Значение параметра

Нагрузка

Вход 0



Вход 1



Амплитуда, В

3,5-1,5


Длительность, мкс

0,4-0,6

-

Скважность

≥2


Длительность фронта, мкс

≤0,2


Длительность среза, мкс

≤0,5


 +27В



Относительно -27В



Напряжение, В

23-32


Вых.ВЧ 0+



Вфх.ВЧ1+



Амплитуда импульсов, В

7-10


Длительность импульсов, мкс

0,4-0,6


Длительность фронта, мкс

≤0,2


Длительность среза, мкс

≤0,3


Вых. НЧ 0



Вых. НЧ1



Амплитуда, В

3,5-7,5


Длительность, мкс

0,4-06


Скважность

≥2


Длительность фронта, мкс

≤0,2


Длительность среза, мкс

≤0,3



Ресурс работы прибора не менее 2000 ч. Время непрерывной работы не ограничено. Масса прибора (1,3±0,2) кг. Параметры выходных сигналов должны находиться в пределах указанных в таблице 11.

Таблица 11 - Пределы выходных сигналов

Наименование сигнала, цепи, параметра

Значение параметра

Нагрузка

Вых.ВЧ 0



Вых.ВЧ1



Амплитуда импульсов, В

7-10


Длительность импульсов, мкс

0,4-0,6

-

Длительность фронта, мкс

≤ 0,2


Длительность среза, мкс

≤0,3


Вых. НЧ0



Вых НЧ1



Амплитуда импульсов, В

3.5-7.5


Длительность импульсов, мкс

0,4-0,6


Скважность

≥ 2


Длительность фронта, мкс

≤ 0,2


Длительность среза, мкс

≤0,3



Функциональная схема прибора представлена на рисунке 3

Прибор состоит из платы управления, двух плат ОЗУ и двух плат источников питания. Платы ОЗУ абсолютно идентичны и представляют собой два банка данных ОЗУ. Входные, выходные, а так же адрес подаются параллельно на обе платы. Выбор конкретной платы осуществляется по сигналу BRO (BRO1 для первого банку ОЗУ и BRO2 - для второго). Плата управления осуществляет преобразование входной информации, формирование текущего адреса и сигнала выбора текущего банка ОЗУ, запись и чтение информации в ОЗУ, а так же преобразование выходной информации.

Функциональная схема платы управления представлена на рисунке 4.

На плате управления размещены следующие узлы:

входная согласующая часть (О1-О4, V1, V2);

преобразователь уровня (О6);

преобразователь в последовательный потенциальный код (ППК) (О10);

- последовательно-параллельный регистратор (О17);

регистратор входных данных (Щ20);

формирователь сигналов управления ОЗУ (О7, О16, О18:1, О21, О23, О14, О15:3);

- формирователь адреса (О7.2, О8, О9, О11-О14, О18.2, О22);

- параллельно-последовательный регистр (О24);

преобразователь последовательно потенциального кода в код нулей и единиц (О15.2, О21.2, О11.4);

преобразователь уровня (О31, О5);

- выходная согласующая часть.

Входной сигнал в виде последовательного кода нулей и единиц поступает с входного соединителя на входную согласующую часть, а далее, через преобразователь уровня, который преобразует в последовательный потенциальный код (ППК). На микросхеме выделяются входной последовательный код (О10:6) и импульсы символьной частоты 512 кГц (О10:3).

Эти импульсы в формирователе сигналов управления ОЗУ, на элементах О7.1, О16, О18.1 используются для формирования словной частоты, а так же сигналов чтения и записи информации.

Импульсами символьной частоты тактируется последовательно-параллельный регистр, на который поступает последовательный потенциальный код. На выходе регистра получается параллельный восьмиразрядный код. Полученный код поступает на параллельный регистр, где защелкивается по переднему фронту импульсной словной частоты (О18:3).

По фронту второго импульса символьной частоты очередного слова триггер О23.2 взводится в единицу. Логический ноль с выхода О23:8 поступает на вход О24:15 разрешения записи выходного параллельно-последовательного регистра, записывая в него выходную информацию из ОЗУ.

Выходной последовательный потенциальный код с вывода О24:13 поступает на преобразователь в код нулей и единиц. Полученный код нулей и единиц, через преобразователь уровней.. и выходную согласующую часть, подается на выходные соединители.

Формирователь адреса формирует адрес ОЗУ, а так же сигнал выборки банка ОЗУ. На элементах О8, О9, О7.2 собран счетчик адресов, тактируемый сигналом словной частоты. Младшие (SA0-SA14) адреса через инверторы О12-О14 поступаю непосредственно на платы ОЗУ. При достижении счетчиком значения 30000Н на О15:3 появляется уровень логической «1», который сбрасывает счетчик в нулевое состояние. Элементы R2, C7 необходимы для сброса счетчиков при включении питания.

Выбор текущего банка памяти осуществляется на элементах О19, О16.3, О18.4 при значении адреса 0-1EFFFH на выводе О16:8 формируется сигнал логического «0», который является сигналом выбора банка 1. В интервале адресов 1F000H-2FFFFH сигнал на выводе О16:8 меняется на противоположны, что является сигналом выбора банка 2.

Рисунок 4 - Функциональная схема БЗИ

На элементах О11.2, О11.3, О22, О18.2, О18.3 собрана схема формирования старших разрядов адреса(SA15,SA16).

На триггере О23:5 формируется строб работы с ОЗУ. По этому сигналу происходит запись или чтение информации из ОЗУ. На выходе О15:11 формируется сигнал чтения ОЗУ, а на выходе О14:8 - сигнал записи ОЗУ.

Платы ОЗУ идентичны. На каждой из них расположено ОЗУ емкостью 96х8. Функциональная схема платы ОЗУ приведена на рисунке.

На плате расположены следующие узлы:

- входные усилители (О1-О6);

буфер линейки А (О13,О19) и буфер линейки В (О16, О22);

линейка ОЗУ А (О8, О11, О14, О17, О20, О23) и линейка ОЗУ В (О9, О12, О15, О18, О21, О24);

- дешифратор (О10);

- коммутатор линеек ОЗУ (О7, О25, О26).

Все входные сигналы поступают на плату через входные усилители. Младшие разряды адреса подаются непосредственно на микросхемы ОЗУ. Старшие разряды адреса, а так же сигналы выбора платы и сигнал выбора ОЗУ подаются на дешифратор, где и происходит выбор конкретной микросхемы ОЗУ. На коммутаторе лине ОЗУ происходит выбор линейки ОЗУ А или В.

3. Планируемы экономические затраты

Внедрение нового оборудовании, а точнее - БЗИ, АФУ и дополнительного передатчика для повышения качества передаваемой информации позволяет исключить потерю данных о работе ракетоносителя во время полета при разделении блоков первой и второй ступеней, а так же влечет за собой экономию средств, ведь при отсутствии информации о разделении блоков мы можем потерять целое многомиллионное изделие. Внедрение дополнительного оборудования позволит сократить затраты на нахождение ошибок допущенных за время полета ракетоносителя, а также повысить эффективность наработки опыта в использовании нового изделия.

Экономический эффект от внедрения будет характеризоваться:

·              сроками исполнения

·              сложностью

·              масштабами

·              трудоемкостью

Заказ системы в целом производиться у смежного предприятия, на заводе изготовителе же ракетоносителя необходимо определить лишь облик и требования, предъявляемые к системе РТСЦ, разработать и откорректировать документацию. Так как оснащение РТСЦ дополнительным оборудование является спецзаказом, а не серийным или мелкосерийным производством, то обычные методы расчета себестоимости проекта и экономической эффективности не возможны, т.к. мы не можем рассмотреть затраты на год или на партию товара, работа должна быть выполнена в сжатые сроки и для одного конкретного изделия. Расчет срока окупаемости тоже не возможен, т.к. не известно на скольких изделиях будет внедрено дополнительное оборудование и сколько пусков именно данного изделия будет совершенно в течение года. Тем не менее нам необходимо знать стоимость выполняемых работ, для того что бы планировать бюджет и фронт работ на выпуск готовой продукции, поэтому ниже представлен расчет предполагаемой себестоимости и затрачиваемого времени на разработку и внедрение дополнительного оборудования.

.1 Расчёт предполагаемой себестоимости проекта внедрения дополнительного оборудования

Полная себестоимость - соотношение полных издержек к объему производства

Таблица 12 - Данные для расчёта себестоимости

Наименование показателя

Единицы измерения

Значение

Стоимость Блока задержки информации (БЗИ)

руб.

350000

Стоимость Антенно-фидерного устройства(АФУ)

руб.

150000

Стоимость дополнительного бортового передатчика (БП)

руб.

75000

Стоимость бортовой кабельной сети (БКС)

руб.

100000

Ставка инженера-конструктора

руб.

Количество инженеров для работы

чел

4

Длительность работ

мес

2

Итого:

руб.

(4*13200*2+350000+150000+75000+100000+13200)/1= 793800


Если рассматривать себестоимость данного проекта и соотносить его со стоимостью готового изделия, то экономический эффект очевиден. Внедрение дополнительного оборудования не только позволит исправно передавать достоверную информацию на всех участках полета, но и внесет вклад в эксплуатацию последующих изделий.

Таблица 13 - Затраты времени на внедрение дополнительного оборудования

Наименование этапов работ

Трудоемкость, ч/дн, дни.

Разработка проекта

20

Испытания

14

Опытная эксплуатация

20

Разработка документации:


Трудоемкость разработки Технического описания системы РТСЦ

100

Трудоемкость коррекции Программы измерений

45

Трудоемкость разработки технического описания на прибор БЗИ

60

Разработка методики испытаний

80

Итого:

285 ч/дн, 54 дня


Срок работы ракетоносителя составляет чуть более 600 с, что делает этот процесс дорогостоящим, и для его эффективности стоимость дополнительного оборудования не является обременительной.

.2 Экономическая целесообразность

Внедрение дополнительного оборудования позволит улучшить качество передачи телеметрической информации как минимум на одного изделии, что уже окупит вложенные средства и время. Целесообразность установки дополнительного оборудования очевидна, так как позволит нам сохранить многомиллионное изделие и позволит уменьшить вероятность падения ракетоносителя и исключит появление такого несоответствия как потеря данных за время полета. Планируемая себестоимость оборудования составила 793800 руб., Трудоемкость реализации проекта 285 ч/дн сроком 54 дня.

4. Безопасность жизнедеятельности

.1 Параметры воздушной среды на рабочем месте

Рабочее место - это часть пространства, в котором инженер-оператор осуществляет трудовую деятельность, и проводит большую часть рабочего времени. Рабочее место, хорошо приспособленное к трудовой деятельности инженера-оператора, правильно и целесообразно организованное, в отношении пространства, формы, размера обеспечивает ему удобное положение при работе и высокую производительность труда при наименьшем физическом и психическом напряжении.

При разработке оптимальных условий труда инженера-оператора необходимо учитывать освещенность, шум и микроклимат.

Ниже представлен план рассматриваемого рабочего помещения.

Рисунок 7. План помещения

Параметры микроклимата могут меняться в широких пределах, в то время как необходимым условием жизнедеятельности человека является поддержание постоянства температуры тела благодаря свойству терморегуляции, т.е. способности организма регулировать отдачу тепла в окружающую среду.

Основной принцип нормирования микроклимата - создание оптимальных условий для теплообмена тела человека с окружающей средой. В санитарных нормах СанПин 2.2.4.548-96 установлены величины параметров микроклимата, создающие комфортные условия. Эти нормы устанавливаются в зависимости от времени года, характера трудового процесса и характера производственного помещения

Таблица 14 - Параметры микроклимата

№ п/п

Наименование фактора производственной среды итрудового процесса, ед.измерения

Дата проведения измерения

ПДК, ПДУ, допустимый уровень

Фактический уровень фактора производственной среды

Продолжительность воздействия (часы / %)

Класс условий труда

1.

Температура воздуха, 0С (холодный период года)

27.12.2011

19-21 21-23

23

8

1


Температура воздуха, 0С (тёплый период года)

09.06.2011

20-22 24-28

25

8

2

2.

Скорость движения воздуха (холодный период года), м/с

27.12.2011

0-0,1 0,1-0,2

0,1

8

1


Скорость движения воздуха (тёплый период года), м/с

09.06.2011

0-0,1

0,1

8

1

3.

Влажность воздуха (холодный период года), %

27.12.2011

15 - 75

35

8

2


Влажность воздуха (тёплый период года), %

09.06.2011

15 - 75

45

8

1


В настоящее время для обеспечения комфортных условий используются как организационные методы, так и технические средства. К числу организационных относятся рациональная организация проведения работ в зависимости от времени года и суток, а также организация правильного чередования труда и отдыха. В связи с этим на территории предприятия организована зеленая зона со скамейками для отдыха и водоемом. Технические средства включают вентиляцию, кондиционирование воздуха, отопительную систему.

Системы отопления и системы кондиционирования установлены так, что ни теплый, ни холодный воздух не направлен на людей. Температура воздуха у поверхности пола и на уровне головы не отличается более чем на 5 градусов. В помещении помимо естественной вентиляции предусмотрена приточно-вытяжная вентиляция.

.2 Освещенность рабочего места

Рациональное освещение рабочего места является одним из важнейших факторов, влияющих на эффективность трудовой деятельности инженера-оператора, предупреждающих травматизм и профессиональные заболевания. Правильно организованное освещение создает благоприятные условия труда, повышает работоспособность и производительность труда. Освещение на рабочем месте инженера-оператора должно быть таким, чтобы работник мог без напряжения зрения выполнять свою работу. Утомляемость органов зрения зависит от ряда причин:

недостаточность освещенности;

чрезмерная освещенность;

неправильное направление света.

Недостаточность освещения приводит к напряжению зрения, ослабляет внимание, приводит к наступлению преждевременной утомленности. Чрезмерно яркое освещение вызывает ослепление, раздражение и резь в глазах. Неправильное направление света на рабочем месте может создавать резкие тени, блики, дезориентировать работающего. Все эти причины могут привести к несчастному случаю или профзаболеваниям.

Искусственное освещение выполняется посредством электрических источников света двух видов: ламп накаливания и люминесцентных ламп. Используются люминесцентные лампы, которые по сравнению с лампами накаливания имеют существенные преимущества:

по спектральному составу света они близки к дневному, естественному освещению;

обладают более высоким КПД (в 1.5-2 раза выше, чем КПД ламп накаливания);

обладают повышенной светоотдачей (в 3-4 раза выше, чем у ламп накаливания);

более длительный срок службы.

Таблица 15 - Освещение помещения

№ п/п

Наименование фактора производственной среды и трудового процесса, ед.измерения

Дата проведения измерения

ПДК, ПДУ, допустимый уровень

Фактический уровень фактора производственной среды

Продолжительность воздействия (часы / %)

Класс условий труда

1.

Естественное освещение (КЕО, %)

27.12.2011

³ 0,63

2,7

8

2

2.

Освещённость рабочей поверхности (Е, лк)

27.12.2011

400

404

8

2

3.

Пульсация освещённости (Кп, %)

27.12.2011

£ 10

42

8

3.1

4.

Освещённость экрана ВДТ, (лк)

27.12.2011

£ 300

260

6

2


Расчет освещенности рабочего места сводится к выбору системы освещения, определению необходимого числа светильников, их типа и размещения. Исходя из этого, рассчитаем параметры искусственного освещения.

Расчет освещения производится для комнаты площадью 40 м2, ширина которой 6 м, высота - 3 м. Воспользуемся методом светового потока.

Для определения количества светильников определим световой поток, падающий на поверхность по формуле:

,

Где F - рассчитываемый световой поток, лм;

Е - нормированная минимальная освещенность, лк (определяется по таблице). Работу инженера-оператора, в соответствии с этой таблицей, можно отнести к разряду точных работ, следовательно, минимальная освещенность будет Е = 300 лк; - площадь освещаемого помещения (в нашем случае S = 40 м2);- отношение средней освещенности к минимальной (обычно принимается равным 1,1…1,2, пусть Z = 1,1);

К - коэффициент запаса, учитывающий уменьшение светового потока лампы в результате загрязнения светильников в процессе эксплуатации (его значение зависит от типа помещения и характера проводимых в нем работ и в нашем случае К = 1,5); - коэффициент использования, (выражается отношением светового потока, падающего на расчетную поверхность, к суммарному потоку всех ламп и исчисляется в долях единицы; зависит от характеристик светильника, размеров помещения, окраски стен и потолка, характеризуемых коэффициентами отражения от стен (РС) и потолка (РП)), значение коэффициентов РС и РП были указаны выше: РС=40%, РП=60%. Значение n определим по таблице коэффициентов использования различных светильников. Для этого вычислим индекс помещения по формуле:

,

Где S - площадь помещения, S = 40 м2;- расчетная высота подвеса, h = 2.12 м;- ширина помещения, А = 6 м;

В - длина помещения, В = 6,5 м.

Подставив значения получим:

Зная индекс помещения I, находим n = 0,22

Подставим все значения в формулу для определения светового потока F:

Что обеспечивают установленные в помещении 20 люминесцентных ламп типа ЛБ40-1, световой поток которых F = 4320 лк.

.3 Расчет уровня шума на рабочем месте

Установлено, что шум ухудшает условия труда, оказывая вредное воздействие на организм человека. При длительном воздействии шума на человека происходят нежелательные явления: снижается острота зрения, слуха, повышается кровяное давление, понижается внимание. Сильный продолжительный шум может стать причиной функциональных изменений сердечно-сосудистой и нервной систем.

Строительно-акустические методы защиты от шума предусмотрены строительными нормами и правилами (СН2.24/2.1.8.562-96). Это:

звукоизоляция ограждающих конструкции, уплотнение по периметру притворов окон и дверей;

звукопоглощающие конструкции и экраны;

глушители шума, звукопоглощающие облицовки.

На рабочем месте инженера-оператора источниками шума, как правило, являются технические средства: - компьютер, принтер, вентиляционное оборудование, а также внешний шум. Они издают довольно незначительный шум, поэтому в помещении достаточно использовать звукопоглощение.

Таблица 16 - Допустимые нормы шума

№ п/п

Наименование фактора производственной среды и трудового процесса, ед.измерения

Дата проведения измерения

ПДК, ПДУ, допустимый уровень

Фактический уровень фактора производственной среды

Продолжительность воздействия (часы / %)

Класс условий труда

1.

Шум, дБа

27.12.2011

60

60

3

2


Одним из неблагоприятных факторов производственной среды в помещении является высокий уровень шума, создаваемый печатными устройствами, оборудованием для кондиционирования воздуха, вентиляторами систем охлаждения в самих ПК.

Для решения вопросов о необходимости и целесообразности снижения шума необходимо знать уровни шума на рабочем месте оператора.

Уровень шума, возникающий от нескольких некогерентных источников, работающих одновременно, подсчитывается на основании принципа энергетического суммирования излучений отдельных источников:


где Li - уровень звукового давления i-го источника шума;

n - количество источников шума.

Полученные результаты расчета сравнивается с допустимым значением уровня шума для данного рабочего места. Если результаты расчета выше допустимого значения уровня шума, то необходимы специальные меры по снижению шума. К ним относятся: облицовка стен и потолка зала звукопоглощающими материалами, снижение шума в источнике, правильная планировка оборудования и рациональная организация рабочего места оператора.

Уровни звукового давления источников шума, действующих на инженера-оператора на его рабочем месте представлены в таблице

Таблица 17 - Уровни звука различных источников.

Источник шума

Уровень шума, дБА

Жесткий диск

40

Вентилятор

45

Монитор

17

Клавиатура

10

Принтер

45

Сканер

42


Обычно рабочее место инженера-оператора оснащено следующим оборудованием: винчестер в системном блоке, вентилятор(ы) систем охлаждения ПК, монитор, клавиатура, принтер и сканер.

Подставив значения уровня звука для каждого вида оборудования в формулу, получим:

L=10·lg(104+104,5+101,7+101+104,5+104,2)=49,5 дБ

Полученное значение не превышает допустимый уровень шума для рабочего места инженера-оператора, равный 60 дБ (ГОСТ 12.1.003-83). И если учесть, что вряд ли такие периферийные устройства как сканер и принтер будут использоваться одновременно, то эта цифра будет еще ниже. Кроме того при работе принтера непосредственное присутствие оператора необязательно, т.к. принтер снабжен механизмом автоподачи листов.

4.4 Пожаробезопасность

Пожаробезопасность - состояние объекта, при котором исключается возможность пожара, а в случае его возникновения предотвращается воздействие на людей опасных факторов пожара и обеспечивается защита материальных ценностей.

Пожарная защита - это комплекс организационных и технических мероприятий, направленных на обеспечение безопасности людей, на предотвращение пожара, ограничение его распространения, а также на создание условий для успешного тушения пожара.

Для вычислительного центра установлена категория пожарной опасности В - Твердые сгораемые вещества и материалы способные гореть.

Класс возможности возникновения пожара А (твердых веществ, в основном органического происхождения, которые сопровождаются тлением) и условный класс (Е) (электроустановок).

В нашем конкретном случае для тушения пожаров на начальных стадиях применяются порошковые огнетушители. Для комнаты 40м2 достаточно одного порошкового огнетушителя.

Вычислительный центр оборудован установкой стационарного автоматического пожаротушения, действие которых основано на быстром заполнении помещения огнетушащим газовым веществом с резким сжижением содержания в воздухе кислорода.

Для эвакуации людей предусмотрен широкий коридор и лестница, дверь открывается в нужном направлении, план эвакуации размещен на каждом этаже.

Что касается электробезопасности, то помещение относиться к типу без повышенной опасности, потому что в помещении деревянные изолирующие полы, нормальная температура воздуха, система отопления огорожена, что бы исключить соприкосновение с землей металлоконструкций с одной стороны и металлическим корпусом электрооборудования с другой стороны.

Заключение

В соответствии с темой дипломного проекта было выполнено следующее:

1.      Проведен анализ работы системы РТСЦ для ракетоносителя легкого класса типа «СОЮЗ2-1в». По результатам видно, что наиболее критичное несоответствие способно проявиться на любом этапе процесса, и связано с разделением блоков первой и второй ступеней, а точнее с включением двигателя блока второй ступени при разделении с блоком первой ступени. С целью снижения вероятности проявления несоответствия имеющего самое высокое значение приоритетного числа рисков было принято решение об установки дополнительного оборудования: БЗИ, АФУ и БКС, а так же разработана документация для внедрения данного оборудования.

2.      Рассчитана вероятность возникновения отказа несоответствия. После расчёта и анализа приоритетного числа рисков по зависимым несоответствиям было выявлено событие с максимальным приоритетным числом риска. Причиной изменения показателя ПЧР является изменение вероятности возникновения несоответствия, с условием неизменности показателей S и D.

.        Определены основные планируемы экономические затраты, а конкретнее:

 - планируемая себестоимость оборудования составила 793800 руб.;

трудоемкость реализации проекта 285 ч/дн сроком 54 дня.

4.      Проанализированы вопросы обеспечения безопасности жизнедеятельности инженера-программиста. Оценка факторов рабочей среды и трудового процесса показала, что условия труда являются допустимыми.

Список использованных источников

Книги

         Кане, М.М. Системы, методы и инструменты менеджмента качества / М.М. Канне, Б.В. Иванов, В.Н. Корешков, А.Г. Схиртладзе.- С. Петербург: Питер Пресс, 2008. - 560 с.

         Мазур, И.И. Управление качеством: учеб. пособие для студентов вузов, обучающихся по специальности «Управление качеством» / И.И. Мазур, В.Д. Шапиро. - М.: Омега-Л, 2006. - 400 с.

         FMEA при проектировании и совершенствовании продукции и процессов. Методическое пособие. - М.: НТК «Трек», 2002. - 24 с.

         Герасимова Е.Б. Управление качеством / Е.Б. Герасимова, Б.И. Герасимов, А.Ю. Сизикин. - М.: Форум, 2009. - 256 с.

         Шевчук, Д.А. Управление качеством. - М.: ГроссМедиа, 2008. - 216с.

         Михеева, Е.Н. Управление качеством / Е.Н. Михеева, М.В. Сероштан. - М.: Дашков, 2009. - 708 с.

         Никифоров, А.Д. Управление качеством. - М.: Дрофа, 2006, 719 с.

         Кузьмин А.М. Метод анализа видов и последствий отказов // Методы менеджмента качества. - 2004. - №11. - с.35.

         Дубовцев В.А. Безопасность жизнедеятельности. / Учеб. пособие для дипломников. - Киров: изд. КирПИ, 1992.

10     Пособие к МГСН 2.06-99. Естественное, искусственное и совмещенное освещение. - М.: ГУП "НИАЦ", 1999.

         Борьба с шумом на производстве: Справочник / Е.Я. Юдин, Л.А. Борисов; Под общ. ред. Е.Я. Юдина - М.: Машиностроение, 1985. - 400с., ил.

Законодательные материалы

         СНиП 23-05-95 Естественное и искусственное освещение. М., 1996

         СанПиН 2.2.4/2.1.8.562-96 Шум на рабочих местах, в помещениях жилых, общественных зданий и на территории жилой застройки. М., 1996.

         СНиП 23-03-2003. Защита от шума. Нормы проектирования. М., 2004.

         СанПиН 2.2.2-542-96 Гигиенические требования к видеодисплейным терминалам, персональным электронно-вычислительным машинам и организации работы. М., 1996.

         СП 9.13130.2009 Техника пожарная. Огнетушители. Требования к эксплуатации. М., 2009.

         СНиП 2.09.04-87 (2000) Административные и бытовые здания. М., 2001.

         Руководство Р 2.2.2006-05 «Руководство по гигиенической оценке факторов рабочей среды и трудового процесса. Критерии и классификация условий труда». М., 2005. - 138 с.

Стандарты, сборники стандартов

         ГОСТ Р 51901.12 - 2007. Менеджмент риска. Метод анализа видов и последствий отказов. - Введ. 2007-12-27. М.: Издательство стандартов, 2008. - 40 с.

         ГОСТ Р 51814.2 - 2001. Системы качества в автомобилестроении. Метод анализа видов и последствий потенциальных дефектов. - Введ. 2001-10-02. М.: Издательство стандартов, 2001. - 23 с.

21     Рыбаков, И. Анализ видов и последствий потенциальных отказов (FMEA). Справочное руководство. - Н. Новгород: Приоритет, 2008 - 86 c.

         ГОСТ 12.1. 030. - 81 Электробезопасность. Защитное заземление, зануление. Введ. 1981-05-15. М.: Москва, 1982. - 10 с.

         ГОСТ 12.0.003-74 ССБТ. Опасные и вредные производственные факторы. Классификация. - Введ. 1976-01-01 М., 1980. - 7 стр.

         ГОСТ 12.2.032-78 (2001) ССБТ. Рабочее место при выполнении работ сидя. Общие эргономические требования. - Введ. 1978 -04-26 М., 2002. - 10с.

         ГОСТ 12.1.004-91 Пожарная безопасность. Общие требования. - Введ. 1991-06-14 М., 1992. - 10 с.

Похожие работы на - Повышение качества передачи телеметрической информации за время полета ракетоносителя

 

Не нашли материал для своей работы?
Поможем написать уникальную работу
Без плагиата!
Без нейросетей!