Одноковшовый пневмоколесный погрузчик для ремонта и строительства дорог

  • Вид работы:
    Курсовая работа (т)
  • Предмет:
    Транспорт, грузоперевозки
  • Язык:
    Русский
    ,
    Формат файла:
    MS Word
    653,43 Кб
  • Опубликовано:
    2015-05-31
Вы можете узнать стоимость помощи в написании студенческой работы.
Помощь в написании работы, которую точно примут!

Одноковшовый пневмоколесный погрузчик для ремонта и строительства дорог

Введение

Одноковшовыми погрузчиками называют самоходные подъемно-транспортные машины, у которых основным рабочим органом служит ковш, установленный на конце подъемной стрелы. Зачерпывают насыпной груз ковшом, опущенным вниз, при движении погрузчика вперед в сторону штабеля. Разгружают погрузчик после перемещения его к загружаемому транспортному средству и подъема ковша вверх.

Одноковшовые погрузчики в основном предназначены для погрузки на транспортные средства (автомобили-самосвалы и полувагоны) сыпучих и кусковых грузов и прежде всего заполнителей (песка, гравия, щебня), а также грунта, строительного мусора, каменного угля, кокса и др.

При установке специальных ковшей (на погрузчиках грузоподъемностью свыше 1,5 т) их также применяют для перегрузки скальных пород, разработки и погрузки гравийно-песчаных материалов в карьерах, а при больших грузоподъемностях - и материковых грунтов I-II категории.

Когда вместо ковша устанавливают разное сменное оборудование, погрузчики выполняют ряд вспомогательных работ: монтажных, зачистных, планировочных, снегоуборочных и др.

ФРОНТАЛЬНЫЕ ОДНОКОВШОВЫЕ ПОГРУЗЧИКИ

Рабочий процесс фронтального погрузчика, оборудованного ковшом, включает следующие операции: перемещение погрузчика к месту набора материала с одновременным опусканием ковша, внедрение ковша в материал напорным усилием машины, подъем ковша со стрелой, транспортирование материала к месту разгрузки ковша опрокидыванием.

По типу ходового устройства фронтальные одноковшовые погрузчики разделяют на гусеничные (на базе серийных гусеничных тракторов) и пневмоколесные (на базе серийных колесных тракторов, специальных самоходных колесных шасси). По способу осуществления поворота различают погрузчики с шарнирно-сочлененной рамой, со всеми управляемыми колесами, с бортовым поворотом. По кинематической схеме рычажной системы рабочего оборудования бывают погрузчики с Z-образной схемой (наиболее распространена), паралелллограммной и смешанной схемами. По типу трансмиссии различают погрузчики с гидромеханической (наиболее распространена), гидрообъемной и механической трансмиссией.

Современные одноковшовые фронтальные погрузчики представляют собой конструктивно подобные машины с Z-образной рычажной системой рабочего оборудования, которые базируются на специальных самоходных двухосных пневмоколесных шасси.

В СНГ одноковшовые фронтальные колесные погрузчики выпускают следующие предприятия: ОАО «Амкодор» (Республика Беларусь), ОАО «Погрузчик» (г. Орел), ЗАО «Челябинские строительно-дорожные машины» («ЧСДМ»), ОАО «Михневский ремонтно-механический завод» («МРМЗ») (Московская обл.), Могилевский автомобильный завод (МоАЗ) (Республика Беларусь), ОАО «Донецкий экскаватор» (Ростовская обл.).

ОАО «Амкодор» выпускает широкую гамму одноковшовых фронтальных погрузчиков с единым объемно-пространственным решением, основные агрегаты которых (двигатели, коробки передач, ведущие мосты, рулевое управление, элементы гидросистемы, кабины оператора) и рабочее оборудование максимально унифицированы. Погрузочное оборудование имеет Z-образную рычажную схему с одним гидроцилиндром поворота ковша. Кинематика рабочего оборудования обеспечивает автоматический возврат разгруженного на максимальной высоте ковша в положение копания.

Погрузчики ОАО «Амкодор» базируются на специальных двухосных шасси с шарнирно сочлененной рамой, имеющих оба ведущих унифицированных моста; самоблокирующимися дифференциалами и гидромеханическую трансмиссию. Мосты оснащены одинарными большегрузными широкопрофильными шинами низкого давления с протектором повышенной проходимости.

Погрузчики являются универсальными машинами и благодаря значительным выглубляющим и вырывным (60... 170 кН) усилиям на комке ковша способны разрабатывать грунты до III категории включительно без предварительного рыхления. Основным рабочим органом строительных погрузчиков является ковш с прямой режущей кромкой, предназначенной для разработки и погрузки сыпучих и кусковых материалов плотностью 1,4. ..2,5 т/м3. Сменное рабочее оборудование строительных погрузчиков (рис. 1) - ковш уменьшенной вместимости, двухчелюстные ковши, челюстные захваты, грузовые вилы, крановые безблочные стрелы и др.

Сменное рабочее и навесное оборудование одноковшных погрузчиков

Рис. 1. Сменное рабочее и навесное оборудование одноковшных погрузчиков: 1 - ковш для скальных пород с зубьями; 2 - ковш без зубьев с прямолинейной режущей кромкой; 3 - то же, с V-образной режущей кромкой; 4 - скелетный ковш; 5 - грузовые вилы; 6 - бульдозерный отвал; 7 - снегоочиститель; 8 - захват для пакетов; 9 - ковш с принудительной разгрузкой; 10 - захват для длинномеров; 11 - двухчелюстной ковш; 12 - рыхлитель

Карьерные одноковшовые фронтальные пневмоколесные погрузчики предназначены для землеройно-транспортных работ в грунтах I и II категорий без предварительного рыхления и в грунтах до VI категории с предварительным рыхлением, погрузки сыпучих и кусковых материалов. Кроме основного ковша они оборудуются ковшами различной вместимости с зубьями и без них.

Одноковшовый фронтальный погрузчик Амкодор-361 (рис. 2) грузоподъемностью 6 т предназначен для погрузочно-разгрузочных работ в карьерах с грунтом, сыпучими и кусковыми материалами плотностью до 2,5 т/м3, а также для транспортировки различных грузов и материалов на небольшие расстояния в строительстве.

Одноковшовый фронтальный погрузчик Амкодор-361

Рис. 2. Одноковшовый фронтальный погрузчик Амкодор-361

Погрузчик Амкодор-361 базируется на самоходном пневмоколесном двухосном шасси с шарнирно сочлененной рамой 9, состоящей из двух полурам, угол поворота которых в плане может составлять ± 40°. На передней полураме монтировано погрузочное оборудование и жестко закрепленный передний мост 10. На задней полураме установлены: силовая установка 7, гидромеханическая трансмиссия, задний мост на балансирной раме и кабина оператора 6. Задний мост сможет качаться относительно продольной оси погрузчика, что обеспечивает высокие тягово-сцепные качества машины. Рабочее оборудование погрузчика включает: ковш 7, рычажную систему, состоящую из стрелы 2, коромысла 3 и тяг, и гидросистему привода. Основной ковш вместимостью 3,4 м3 имеет прямую режущую кромку шириной 3,09 м со съемными зубьями. Поверхности режущих кромок и зубьев покрыты износостойким сплавом.

Гидромеханическая трансмиссия базового шасси погрузчика включает гидротрансформатор, гидромеханическую коробку передач, редуктор отбора мощности, карданные валы, передний и задний унифицированные ведущие мосты. Редуктор отбора мощности обеспечивает передачу вращающего момента от двигателя к коробке передач и независимый привод гидронасосов рабочего погрузочного оборудования и гидравлического рулевого управления. Рулевое управление погрузчика со следящей гидравлической обратной связью включает гидравлический руль и два вспомогательных гидроцилиндра, с помощью которых происходит поворот полурам относительно друг друга. Гидросистема погрузочного оборудования обеспечивает управление стрелой и ковшом при выполнении рабочих операций и включает в себя: регулируемый гидронасос, распределитель, гидроцилиндр 4 поворота ковша, два гидроцилиндра 5 подъема и опускания стрелы. Управление погрузчиком ведется из кабины оператора.

Одноместная термо-вибро-шумоизолированная кабина с регулируемым креслом оператора оборудована системой ROPS, защищающей оператора от опрокидывания машины, и системой FOPS защиты оператора от падающих предметов. Кабина оснащена бортовым компьютером, электрическим переключателем передач и рукояткой управления гидрооборудованием.

Контроль параметров систем погрузчика осуществляется с помощью микропроцессорного щитка приборов с индикаторами на цветных жидких кристаллах с расширенными возможностями контрольных и защитно-блокировочных функций, которые дублируются аварийной световой и звуковой сигнализацией.

Погрузчик может быть оборудован импортными узлами: гидромеханической передачей фирмы «Занрадфабрик» (Германия), гидрооборудованием фирм «Рексрот» (Германия) и «Дэнфосс» (Дания).

Техническая характеристика одноковшовых фронтальных колесных погрузчиков ОАО «Амкодор» приведена в табл. 1.

Одноковшовые фронтальные колесные погрузчики ТО-18Б, ТО-28А производит также ОАО «МРМЗ».

ОАО «Погрузчик» (г. Орел) выпускает универсальные фронтальные ковшовые колесные погрузчики серии ПК: ПК-27-03-00, ПК-27-03-01 грузоподъемностью 2,7 т с ковшом вместимостью 1,35 м3; погрузчики ПК-33-02-00, ПК-33-02-01 грузоподъемностью 3,3 т с ковшом вместимостью 1,6 м3; погрузчик ПК-40-02-00 грузоподъемностью 4 т с ковшом вместимостью 1,95 м3; погрузчик ПК-60-01-00 грузоподъемностью 6 т с ковшом вместимостью 3 м3.

Погрузчики серии ПК подобны по конструкции и максимально унифицированы. Универсальность погрузчиков обеспечивается применением разнообразных сменных рабочих органов, таких, как ковш уменьшенной или увеличенной вместимости для тяжелых и легких грузов, монтажный крюк, грузовые вилы, двухчелюстной погрузочный ковш, отвал для снега, вилы с захватом, челюстной захват и др.

Для облегчения работы оператора выпускаются модификации погрузчиков ПК-27-03-01, ПК-33-02-01, ПК-40-02-01 с дополнительной гидросистемой для быстрой замены рабочих органов непосредственно с рабочего места оператора.

Погрузчики предназначены для погрузки-разгрузки пусковых и сыпучих материалов, штучных и тарных грузов, в том числе крупных и длинномерных для уборки строительного и другого мусора.

Ковшовые погрузчики ПК-27-02-00, ПК-40-02-00 и ПК-60-01-00 выпускает же ОАО «Михневский ремонтно-механический завод» («МРМЗ»).

Погрузчики серии ПК имеют гидромеханическую трансмиссию и шарнирносочлененную раму, оснащены двухконтурными ножными колодочными тормозами на все колеса, оборудованы гидрорулем и крупногабаритной термо-вибро-шумоизолированной кабиной с регулируемым и подрессоренным креслом оператора и оснащенной системой безопасности FOPS и ROPS.

Техническая характеристика ковшовых погрузчиков серии ПК ОАО «Погрузчик» приведена в табл. 2.

ЗАО «Челябинские строительно-дорожные машины» («ЧСДМ») выпускает одноковшовые фронтальные колесные погрузчики: В-138 грузоподъемностью

,5 т с ковшом вместимостью 2,1 м3, В-160 грузоподъемностью 3,8 т с ковшом вместимостью 3,4 м3; ТО-40С грузоподъемностью 6,2 т с ковшом вместимостью 3,4 м3; ТО-40С грузоподъемностью 7,2 т с ковшом вместимостью 4,15 м3. Погрузчики В-138 и ТО-40 имеют гидростатическую трансмиссии, погрузчик 160 - гидромеханическую. Техническая характеристика погрузчиков ЗВАО «ЧСДМ» приведена в табл. 3.

ОАО «Донецкий экскаватор» (Ростовская обл.) выпускает одноковшовый фронтальный колесный погрузчик ЗТМ-216А грузоподъемностью 3,5 т с ковшом вместимостью 1,7...2,0 м3. Трансмиссия погрузчика гидромеханическая.

МоАЗ (Республика Беларусь) выпускает одноковшовый фронтальный колесный погрузчик МоАЗ-40484 грузоподъемностью 7,5 т с ковшами вместимостью 3,7; 5,0; 6,5 м3. Рама погрузчика шарнирно-сочлененная, трансмиссия гидромеханическая.

Техническая характеристика погрузчиков ЗТМ-216А и МоАЗ-40484 (Мо--40483) приведена в табл. 3.

Технические характеристики

Таблица 1.Техническая характеристика одноковшевых фронтальных колесных погрузчиков в ОАО «Амкадор»

Параметры

Индекс машины


Амкодор-325 (ТО-18К)

Амкодор-333А (ТО-18Б2)

Амкодор-333А1 (ТО-18Б5)

Амкодор-333В (ТО-18БЗ)

Амкодор-333 Е (ТО-18Б4)

Амкодор-342 (ТО-28)

Амкодор-342А (ТО-28А)

Амкодор-342Р

Амкодор-352

Амкодор-361

Грузоподъемность, кг

2500

3400

3400

3400

3400

4000

4000

3200

5000

6000

Вместимость основного ковша, м

1,4

1,9

1,9

1,9

1,9

2,3

2,3

4,2

2,8

3,4

Вырывное усилие, кН

60

105

105

105

105

117

117

117

149

170

Статическая опрокидывающая нагрузка в сложенном положении (±40°), кг

5000

7000

7000

7000

7000

8000

8000

8000

10 000

15 000

Ширина режущей кромки ковша, м

2,5

2,5

2,5

2,5

2,5

2,65

2,65

2,7

2,65

3,09

Высота разгрузки, м

2,63

2,8

2,8

2,8

2,8

3,07

3,07

3,4

3,07

3.215

Вылет, м

0,935

0,9

0,9

0,9

0,9

1,03

1,03

1,365

1,1

1,41

Двигатель

Д-245

А-01МКС

Д-442МСН

Д-260.2

СМД-31С

А-01МКС

Д-260.1

Д-260.1

Д-260.9

ЯМЗ-238М2

Эксплуатационная мощность, кВт

73,5

95

105

95

100

95

109

109

132

173

Трансмиссия

Гидромеханическая

Скорость передвижения (вперед/назад), км/ч:


первая

5,3/5,3

7,4/7,5

7,4/7,5

7,4/7,5

7,4/7,5

7,9/7,5

7,9/7,5

7,2/7,5

6,5/6,6

6,0/6,0

вторая

10,1/16,4

14,4/23,5

14,4/23,5

14,4/23,5

14,4/23,5

14,4/23,0

14,4/23,0

14,4/23,0

12,7/20

10,2/10,2

третья

16.2

23

23

23

23

20,6

20,6

20,6

20

21,9/21,9

четвертая

25

36

36

36

36

36,2

36,2

36,2

35

36,0

Рулевое управление

Шарнирно сочлененная рама с гидравлическим приводом и гидравлической обратной связью

Типоразмер шин

14,5...20

17,5...25

17.5...25

17,5...25

17,5...25

20.5...25

20.5...25

20,5-25

20.5...25

23.5...25

Радиус поворота, м

5,4

5,6

5,6

5,6

5,6

5,8

5,95

5,95

6,3

7,05

Длина, мм

6480

7300

7100

7200

7100

7240

7240

7240

7900

8170

Ширина, мм

2500

2500

2500

2500

2500

2650

2650

3620

2650

3090

Высота, мм

3300

3400

3400

3400

3400

3450

3450

3450

3450

3815

Эксплуатационная масса, кг

8700

10 500

10 500

10 500

10 500

12 200

12 200

12 300

13 500

20 500


Таблица 2. Техническая характеристика универсальных фронтальных колесных ковшовых погрузчиков серии ПК ОАО «Погрузчик»

Параметры

Индекс машины


ПК-27-03-00, ПК-27-03-01

ПК-33-02-00, ПК-33-02-01

ПК-40-02-00, ПК-40-02-1

ПК-60-01-00

Номинальная грузоподъемность, т

2,7

3,3

4,0

6,0

Номинальная вместимость ковша, м

1,35

1,6

1,95

3,0

Мощность двигателя, кВт

73,6

86,2

97,5

143

Трансмиссия

Гидромеханическая

Система поворота

Шарнирно-сочлененная рама

Наименьший радиус поворота, м

5,25

5,9

5,9

6,5

Наибольшая высота разгрузки, м

2,8

2,868

2,885

2,94

Наибольший вылет режущей кромки ковша, м

0,9

0,9

0,9

1,241

Угол разгрузки ковша, град

45

45

45

45

Колея, м

1,840

2,0

2,0

2,235

Колесная база, м

2,7

2,7

2,7

3,2

Габаритные размеры, мм

(6650/6800) х 2400 х 3325

(7100/7245) х 2480 х 3395

(7100/7245) х 2480 x3 410

7910 х2900 х 3330

Эксплуатационная масса, кг

7900

9250

9930

16 200


Таблица 3. Техническая характеристика одноковшовых фронтальных колесных погрузчиков

Параметры

Индекс машины


ЗТМ-216А

В-138

В-160

Т-40

МоАЗ-40484

Номинальная грузоподъемность, т

3,5

3,8

6,2

7,2

7,5

Номинальная вместимость ковша, м

1,7...2,0

3,4

4,15

3,7; 5,0; 6,5

Дизель:






марка

Д-442-13-10

ЯМЗ-236М2

ЯМЗ-238М2

ЯМЗ-238Д

ЯМЗ-238Б

мощность, кВт

96

132

176

242,5

220

Трансмиссия

Гидромеханическая

Гидростатическая

Гидромеханическая

Гидростатическая

Гидромеханическая

Система поворота

Шарнирно-сочлененная рама

Угол поворота полурам, град

+ 35°

±35°

± 35°

± 35°

± 40°

Минимальный радиус поворота, м

5,9

5,9

6,0

7,5

8,0

Максимальная высота разгрузки, м

2,7

3,2

3,2

3,25

3,26

Вылет кромки ковша при наибольшей высоте разгрузки, м

0,918

1,1

1,2

1,3

1,24

Максимальная глубина копания, мм

50

50

100

100

100

Скорость передвижения, км/ч:






рабочая

н/д

0...7.6

0...7,0

0.9,8

0...25

транспортная

0...30

0...33

0...35

0...28

0...45

Габаритные размеры, мм

6920 х 2450 х 3570

7630 х 2620 х 3770

8560 х 2900 х 5700*

9200 х 3380 х 4150

9520 х 2500 х 3330

Эксплуатационная масса, кг

9 860

14 600

20 100

27 000

37 000

Изготовитель

ОАО «Донецкий экскаватор» (Ростовская обл.)

ЗАО «Челябинские строительно-дорожные машины»

Могилевский автомобильный завод (МоАЗ)


МАЛОГАБАРИТНЫЕ УНИВЕРСАЛЬНЫЕ ПОГРУЗЧИКИ

Малогабаритные универсальные погрузчики - это многофункциональные высокоманевренные самоходные колесные машины с набором быстросъемных сменных рабочих органов, которые предназначены для выполнения в особо стесненных условиях строительства трудоемких малообъемных земляных, погрузочно-разгрузочных, подготовительных, вспомогательных, ремонтных и гениальных работ. Наиболее эффективно малогабаритные погрузчики применяются на рассредоточенных объектах для комплексной механизации строительно-монтажных работ небольших объемов в коммунальном хозяйстве, на транспортно-складских работах. Многоцелевое сменное рабочее оборудование погрузчиков позволяет практически полностью механизировать ручной труд.

В странах СНГ выпускается более десяти моделей малогабаритных универсальных погрузчиков, конструкции которых имеют мало различий и кроме основного погрузочного ковша позволяют использовать следующие виды быстросъемного сменного рабочего оборудования: экскаваторный ковш (обратная лота), зачистной ковш, грузовые вилы, грузовую стрелу, грузовой штырь, гидробур, гидромолот, виброкаток, подъемник, лебедку, плужный и роторный снегоочистители, траншеекопатель, дорожную щетку, пескоразбрасыватель, подметально-уборочное оборудование, бульдозерный отвал, рыхлитель, насосную сварочную и компрессорную установки. Для оперативной смены подвесных рабочих органов без дополнительных инструментов каждый погрузчик снабжен быстродействующим устройством.

Главный параметр малогабаритных погрузчиков - номинальная грузоподъемность (кг). Малогабаритные погрузчики базируются на самоходных короткобазовых четырехколесных полноприводных шасси (4 х 4) с бортовым поворотом и гидрообъемным приводом хода.

Гидрообъемная ходовая трансмиссия обеспечивает независимый привод каждого борта машины и бесступенчатое плавное регулирование скорости движения погрузчика в диапазоне от 0 до 9... 12 км/ч.

Привод вращения колес обоих бортов (правого и левого) шасси может осуществляться: каждого колеса непосредственно от индивидуального гидромотора (мотор-колесо) или пары колес каждого борта от отдельного гидромотора через бортовую цепную передачу (независимый привод).

При изменении скорости вращения пары колес одного борта по отношению к другому обеспечивается бортовой поворот машины. При вращении бортовых пар колес в противоположные стороны осуществляется разворот машины на месте.

Торможение колес обеспечивается прекращением подачи рабочей жидкости к гидромоторам. Торможение колес на стоянке обеспечивается многодисковыми тормозами с гидравлическим управлением.

Колеса малогабаритных погрузчиков комплектуют пневматическими шинами, жесткими обрезиненными элементами, шинами с губчатой камерой. При работе на слабонесущих грунтах и травяных покрытиях на каждую пару колес (независимо от их типа) надевают резиновые, сталерезиновые и штампосварные съемные гусеницы.

Малогабаритные погрузчики способны совершать бортовой разворот на месте на 180° с загруженным ковшом при ширине рабочей зоны до 4 м. Возможность выезда погрузчика с загруженным ковшом из стесненной зоны, задним ходом позволяет использовать эти машины при ширине проезда не более 2 м. Максимальная производительность погрузчиков (30...45 м3/ч) достигается при наибольшей дальности транспортировки до 25...30 м.

При оснащении гидромолотом погрузчики способны разрушать асфальтобетонные и бетонные покрытия дорог, площадок, полов и т. п., а также мерзлые грунты на глубину до 0,6 м. При бортовом развороте на месте можно производить несколько ударов молотом в определенном секторе с одной стоянки погрузчика.

Рабочее оборудование погрузчика ПУМ-500 (рис. 1) шарнирно крепится к порталу 6 и состоит из П-образной грузовой стрелы 7, быстродействующего устройства для установки и отсоединения сменных рабочих органов 1, двух гидроцилиндров 2 поворота рабочих органов, рычагов 3 с тягами 4 и двух гидроцилиндров 9 подъема-опускания стрелы. Закрытая кабина 5 оператора с передней дверью, опрокидывающаяся вперед, установлена в центре между боковыми балками грузовой стрелы, что обеспечивает хороший обзор рабочей зоны. Позади кабины оператора размещена силовая установка (дизель) 8, закрываемая капотом. Колеса 10 ходового устройства комплектуются шинами с губчатой камерой.

Малогабаритные погрузчики серии ПУМ (ПУМ-500, ПУМ-600, ПУМ-1000) аналогичны по компоновочной схеме и конструкции и различаются в основном параметрами сменных рабочих органов, габаритными размерами, массой и мощностью силовых установок.

Гидросистема погрузчиков серии ПУМ состоит из трех гидросистем: хода, рабочего оборудования и управления. Привод ходовых колес осуществляется двумя автономными аксиально-поршневым и нерегулируемыми гидромоторами через бортовые передачи. Питание бортовых гидромоторов обеспечивают два аксиально-поршневых регулируемых гидронасоса, развивающих давление до 28 МПа.

Малогабаритный универсальный погрузчик ПУМ-500

одноковшовый пневмоколесный погрузчик универсальный

Рис. 3. Малогабаритный универсальный погрузчик ПУМ-500

Управление гидросистемой хода осуществляется моноблочным золотниковым гидрораспределителем с гидравлическим управлением.

Гидросистема рабочего оборудования обслуживается аксиально-поршневым нерегулируемым гидронасосом, развивающим давление до 16 МПа, и управляется секционным гидрораспределителем с гидроуправлением. Гидросистема управления обслуживается аксиально-поршневым нерегулируемым гидронасосом с максимальным давлением 3 МПа. Гидронасосы гидросистемы приводятся в действие от дизеля погрузчика.

Сменные рабочие органы малогабаритных погрузчиков показаны на рис. 2.

Техническая характеристика малогабаритных универсальных погрузчиков приведена в таблице.

Сменные рабочие органы малогабаритных погрузчиков

Рис. 4. Сменные рабочие органы малогабаритных погрузчиков: 1- грузовые вилы; 2 - грузовая безблочная стрела; 3 - обратная лопата экскаватора; 4 - гидробур; 5 - дорожная щетка; 6 - гидромолот

Эксплуатационная производительность одноковшовых погрузчиков, м3/ч:

при работе с сыпучими и кусковыми грузами

Пэ = 3600 qkнkв / Тц,

где q - вместимость ковша, м3; kн - коэффициент наполнения ковша (kн = 0,5...1,25); kв - средний коэффициент использования погрузчика по времени; Тц - продолжительность полного цикла, с;

при работе со штучными грузами, т/ч,

Пэ = 3,6 mkтkв / Тц,

где m - масса поднимаемого груза, кг; kт - коэффициент использования погрузчика по грузоподъемности (kт = 0,6...0,8).

Технические характеристики

Технические характеристики

Параметры

Индекс машины


ПУМ-500

ПУМ-600

ПУМ-1000

МКСМ-800

«БАРС» 1101А

«БАРС» 2101

Номинальная грузоподъемность, кг

500

600

1000

800

600

660

Вместимость основного погрузочного ковша, м3

0,24...0,38

1,0…1,25

0,85

0,46

0,27

н/д

Максимальная высота разгрузки, м

1,9

2,1

2,15

2,41

2,475

2,475

Мощность двигателя, кВт

22,1

22,1

44

34

18

29

Максимальная транспортная скорость, км/ч

9

9

12

12

11

И

Минимальный радиус поворота, м

2,0

2,22

2,22

2,44

1,8

1,8

Габаритные размеры, мм

3300 x 1500 х 2200

3400 x 1565 х 2160

3700 x 1600 х 2450

3720 x 1680 х 2220

2500 x 1500 х 2140

2500 x 1500 х 2030

Эксплуатационная масса, кг

2400

2700

3700

2845

2500

2500

Изготовитель

ФГУППО «Уралвагонзавод» (г. Нижний Тагил)

ОАО «Курган-машзавод»

ОАО Машиностроительная фирма «БАРС» (г. Санкт-Петербург)


Одноковшовые пневмоколесные погрузчики имеют специальное шасси или изготавливаются на базе серийно выпускаемых колесных тракторов. Они подразделяются на фронтальные (неповоротные) с разгрузкой ковша впереди и неполноповоротные, у которых разгрузка ковша может быть и передней и боковой - слева или справа от машины. Ковш устанавливают на стреле шарнирно для его поворота в вертикальной плоскости. Угол наклона стрелы может изменяться. У неполнопово-ротных погрузчиков стрелы, кроме того, могут поворачиваться в плане влево или вправо от среднего положения на угол до 80 - 90°. Для изменения вылета и высоты ковша, его поворота и вращения стрелы в горизонтальной плоскости применяют гидроприводы.

Фронтальный погрузчик Д-561А имеет два ведущих моста, из которых задний - управляемый и может поворачиваться в поперечной вертикальной плоскости, что допускает передвижение по неровным площадкам. Стрела изогнутой формы поднимается и опускается двумя поршневыми цилиндрами двустороннего действия. Ковш поворачивается двумя такими жь цилиндрами. На стреле могут устанавливаться ковши обычного исполнения (вместимостью 0,6; 0,8 и 1,25 м3) или двух-челюстного (вместимостью 0,8 м3).

Рабочая жидкость к цилиндрам нагнетается двумя шестеренными насосами, вращаемыми от редуктора отбора мощности у двигателя (рис. 5.6). Давление в гидросистеме 9,8 МПа. Крутящий момент от двигателя сообщается карданным валом, объединенным в общий блок, гидротрансформатору, коробке передач и раздаточной коробке. Ступени передач (четыре - вперед и две - назад) включаются фрикционными муфтами. Раздаточная коробка соединяется карданными валами с передним и задним ведущими мостами, заимствованными соответственно от автомобилей ЗИЛ-164 и ЗИЛ-151. Рулевое управление содержит гидроусилитель. Фрикционные муфты в коробке передач имеют гидравлические приводы, обслуживаемые автономным шестеренным насосом 5, вращающимся от вала отбора мощности блока изменения крутящего момента. Передние и задние колеса приводятся в движение от вмонтированных в них планетарных редукторов. Рабочий тормоз - ножной (колодочный на всех ходовых колесах с пневматическим приводом), стояночный - ручной (центральный от автомобиля ГАЗ-51).

Рис. 5. Кинематическая схема погрузчика Д-561А

Погрузчик Д-561Б имеет увеличенную грузоподъемность, повышенные скорости, усиленную ходовую часть. Напорное усилие на режущей кромке ковша достигает 49 кН при работе на первой передаче на площадке с твердым покрытием. Техническая производительность при полном заполнении ковша 120 м3/ч. Коробка передач двух диапазонная, реверсивная с переключением ступеней передачи фрикционными муфтами с гидроприводом. При нажатии на педаль ножного тормоза автоматически отключается трансмиссия механизма передвижения. Ширина колеи передних и задних колес 1840 мм. Минимальный радиус поворота 6,3 м.

Фронтальный погрузчик Д-660 имеет базой трактор К-702 или К-700А (рис. 5.7). Трансмиссия механизма передвижения гидромеханическая. Новое усилие на ковше 58,8 или 49 кН. При использовании в качестве базы трактораК-700А наибольшая скорость погрузчика 28 км/ч.

Стрела рабочим оборудованием размещена между передними колесами и опирается на портал, установленный впереди кабины. Подъем-опускание стрелы осуществляется двумя гидроцилиндрами, шарнирно закрепленными на портале. Ковш поворачивается двумя поршневыми цилиндрами двустороннего действия, установленными шарнирно на том же портале. При выдвигании штоков поворачиваются против часовой стрелки рычаги, опирающиеся на стрелу, и в этом же направлении поворачивается ковш, связанный с рычагами тягами-толкателями. Наружный конец стрелы снабжен сменными лыжами, опирающимися на грунт или площадку при зачерпывании.

Рис. 6. Одноковшовый фронтальный пневмоколесный погрузчик Д-660

Рабочая жидкость к гидроцилиндрам нагнетается шестеренным насосом, вращаемым от вала отбора мощности. Давление в гидросистеме 9,8 МПа. Для управления гидроцилиндрами установлен трехсекционный золотниковый распределитель, в корпусе которого вмонтирован предохранительный клапан.

Рис. 7. Одноковшовый фронтальный пневмоколесный погрузчик ТО-18:

- двигатель, 2 - стрела; 3 - цилиндр поворота стрелы

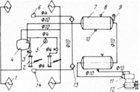
Рис. 8. Гидросистема рабочего оборудования погрузчика ТО-18:

- аксиально-поршневой насос; 2 - сливной трубопровод системы гидроусилителя рулевого управления; 3 - предохранительный клапан; 4 - цилиндры поворота ковша; 5 - манометр; 6 - цилиндры перемещения стрелы; 7 - трубопроводы для присоединения дополнительных цилиндров сменных рабочих органов; 8 - гидровыключатель; 9 - фильтр тонкостью очистки 45 мкм; 10 - маслобак

Фронтальные погрузчики ТО-18, ТО-25 и ТО-21-1 предназначены для погрузки в транспортные средства или отсыпки в отвал сыпучих и мелкокусковых материалов, а также для выполнения других погрузочных работ. Погрузчик ТО-21-1 может также работать и с разрыхленными скальными породами. Ходовая часть рассматриваемых погрузчиков содержит четыре колеса одинаковых размеров.

Погрузчик ТО-18 (рис. 5.8) имеет оригинальную конструкцию шасси, состоящего из двух частей, соединенных двумя вертикальными соосными шарнирами. Оба моста ведущие, унифицированные. Механизм передвижения содержит гидромеханическую коробку передач. Тормоза: рабочий (ножной) - колодочный с пневматическим приводом на все колеса, стояночный (ручной) - с механической передачей. Пневмо-шины: модель Я-140, размер 16.00-24, давление 225 кПа.

Стрела состоит из двух аналогичных элементов коробчатого сечения из листовой стали, разнесенных по ширине машины. Подъем-опускание стрелы осуществляется двумя поршневыми гидроцилиндрами, поворот ковша - двумя другими, также поршневыми цилиндрами (рис. 5.9). Маслобак (вместимость 160 л) общий для гидросистем рабочего оборудования и гидроусилителя руля. Гидронасос, питающий приводы рабочего оборудования, вращается от редуктора отбора мощности дизеля и установлен на корпусе этого редуктора. Давление в гидросистеме 15,7 МПа. Питание гидроусилителя руля от автономного насоса.

Рис. 9. Пневматическая система погрузчика ТО-18:

- рабочая камера колесного колодочного тормоза; 2 - стеклоочиститель; 3 - воздушный кран; 4 - тормозной кран; 5 - манометр; 6 - маслобак гидросистемы; 7 - воздушный баллон; 8 - сливной кран; 9 - предохранительный клапан; 10 - кран отбора воздуха; 11 - регулятор давления воздуха; 12 - компрессор; 13 - редуктор давления; 1.4 -топливный бак питания дизеля

Стеклоочистители переднего и заднего стекол кабины приводятся в действие от пневматической системы, общей с колесными тормозами, и управляются с помощью двух воздушных кранов (рис. 5.10). Пневмосистема обеспечивает повышенное давление в маслобаке и топливном баке. Источник электроэнергии - стартерная аккумуляторная батарея 6СТ-42 или 6СТ-45 номинальным напряжением 12 В, емкостью 42 или 54 А-ч. Дизель запускается стартером СТ-350Б.

Неполноповоротный погрузчик Д-602 (рис. 5.11) имеет коленчатую стрелу, установленную впереди кабины на поворачивающейся площадке, опирающейся шариковой пятой на специальное шасси. Ходовая часть - четырехколесная на двух ведущих мостах, задний - управляемый с балансирной подвеской. Площадка со стрелой поворачивается гидроцилиндром двустороннего действия. Шток выполнен заодно с зубчатой рейкюй, находящейся в зацеплении с цилиндрическим зубчатым колесом на вертикальном валу поворотной площадки. Приводом ковша служит гидроцилиндр двустороннего действия, закрепленный шарнирно основанием на кронштейне стрелы и штоком на ковше. При выдвижении штока ковш поворачивается в положение разгрузки. К рабочим цилиндрам, гидроусилителю рулевого управления и приводам муфт коробки передач рабочая жидкость подается двумя шестренными насосами, вращаемыми от редуктора отбора мощности. Кинематическая схема погрузчика содержит гидротрансформатор и аналогична показанной на рис. 5.6.

Рис. 10. Неполноповоротный пневмоколесный погрузчик Д-602:

,2 - цилиндры поворота соответственно ковша и стрелы

Неполноповоротный погрузчик Д451 имеет компоновку, близкую к погрузчику Д-602. Приводом поворота стрелы служат два гидроцилиндра одностороннего действия. Поворот ковша в вертикальной плоскости осуществляется, как у погрузчика Д-602.

Патентный обзор

.ОПИСАНИЕ ИЗОБРЕТЕНИЯ К ПАТЕНТУ

Статус: по данным на 17.04.2014 - прекратил действие, но может быть восстановлен

Пошлина: учтена за 4 год с 26.04.2010 по 25.04.2011

Заявка: 2007115773/03, 25.04.2007

(24) Дата начала отсчета срока действия патента:

.04.2007

(45) Опубликовано: 27.12.2008

(56) Список документов, цитированных в отчете о

поиске: RU 2190062 C1, 27.09.2002. RU 2236515 C1, 20.09.2004. RU 2237135 C1, 27.09.2004. RU 2258115 C2, 10.08.2005. RU 2280737 C2, 27.07.2006.

Адрес для переписки:

, г.Омск, пр-кт Мира, 5, СибАДИ, Патентно-информационный отдел

(72) Автор(ы):

Бояркина Ирина Владимировна (RU)

(73) Патентообладатель(и):

Бояркина Ирина Владимировна (RU)

(54) УСТРОЙСТВО ЗАЩИТЫ ГИДРОПРИВОДА ФРОНТАЛЬНОГО ПОГРУЗЧИКА

(57) Реферат:

Изобретение относится к гидроприводам подъемно-транспортных машин, а именно к фронтальным погрузчикам, осуществляющим перемещение грузов и строительных материалов в ковше в условиях строительных площадок и бездорожья. Технический результат - защита гидропривода как от воздействий при подъеме, опускании рабочего оборудования, так и при движении колес по неровной опорной поверхности. Устройство защиты гидропривода фронтального погрузчика содержит тягач, рабочее оборудование, гидроцилиндры стрелы и, по крайней мере, один уравновешивающий цилиндр, поршневая полость которого соединена с газовым баллоном. К поршневым полостям гидроцилиндров стрелы подключены аккумулятор, обратный клапан и регулируемый дроссель. А в гидролинию, соединяющую распределитель со штоковыми полостями гидроцилиндров стрелы, установлен клапан «ИЛИ». 4 ил.

Изобретение относится к гидроприводам подъемно-транспортных машин, а именно к фронтальным погрузчикам, осуществляющим перемещение грузов и строительных материалов в ковше в условиях строительных площадок и бездорожья.

Известно устройство защиты гидропривода фронтального погрузчика, включающее ведущий мост с колесами, подвеску моста, содержащую гидроцилиндры подвески, пневмогидроаккумулятор, обратные клапаны и регулируемые дроссели, предохранительный клапан [см., например Самоходные колесные землеройно-транспортные машины /Ульянов Н.А., Ронинсон Э.Г., Соловьев В.Г. - М.: Машиностроение, 1976. - 359 с.].

Недостатком этого устройства является сложность конструкции, обусловленная тем, что в системе защиты используют дополнительные гидроцилиндры, увеличивающие стоимость системы.

Известен гидропривод рабочего оборудования фронтального погрузчика [см., например, патент 2280737 С2, МПК E02F, 2006.01], который включает колесный тягач, рабочее оборудование, гидроцилиндры стрелы и уравновешивающий пневмоцилиндр, поршневая полость которого соединена с газовым баллоном, предохранительный клапан.

Недостатком этого устройства является отсутствие защиты гидропривода от возмущающих воздействий при подъеме, опускании рабочего оборудования и при движении по неровной опорной поверхности.

Задача изобретения состоит в защите гидропривода как от воздействий при подъеме, опускании рабочего оборудования, так и при движении колес по неровной опорной поверхности.

Поставленная задача изобретения решена за счет того, что в известном устройстве, содержащем тягач, рабочее оборудование, гидроцилиндры стрелы и по крайней мере один уравновешивающий цилиндр, поршневая полость которого соединена с газовым баллоном, согласно изобретению в поршневые полости гидроцилиндров стрелы подключены аккумулятор, обратный клапан и регулируемый дроссель, при этом в гидролинию, соединяющую распределитель со штоковыми полостями гидроцилиндров стрелы, установлен клапан «ИЛИ».

Сущность изобретения поясняется чертежами, где на фиг.1 показан фронтальный погрузчик с максимально поднятым рабочим оборудованием, снабженный устройством защиты гидропривода; на фиг.2 - фронтальный погрузчик с рабочим оборудованием на максимальном вылете стрелы, снабженный устройством защиты гидропривода; на фиг.3 представлена система защиты рабочего оборудования с двумя гидроцилиндрами стрелы и одним уравновешивающим пневмоцилиндром; на фиг.4 - система защиты рабочего оборудования с одним гидроцилиндром стрелы и двумя уравновешивающими пневмоцилиндрами.

. ОПИСАНИЕ ИЗОБРЕТЕНИЯ К ПАТЕНТУ

Изобретение относится к области подъемно-транспортного машиностроения, а именно к погрузчикам сельскохозяйственного назначения, и может быть использовано при погрузке сена, силоса, сыпучих, штучных и др. грузов.

Известен фронтальный погрузчик-копновоз универсальный ПКУ-0,8 (Производитель - ОАО «Сальсксельмаш», п. Гигант Сальского района Ростовской области), состоящий из двух панелей навески, крепящихся на лонжеронах трактора и связанных между собой балкой, рамы подъема, гидроцилиндров, шарнирно соединенных с панелями навески рабочего органа. Система тяг, кронштейнов, гидроцилиндры образуют параллелограммный механизм изменения положения рабочего органа.

Панель навески представляет собой сварную конструкцию, состоящую из стойки и балки, которые соединены между собой трубой. Панели навески снабжены кронштейнами для шарнирного подсоединения к ним рамы подъема, тяг механизма изменения положения рабочего органа, тяг ограждения радиатора и гидроцилиндров управления рамой подъема. Снизу к стойке приварен кронштейн с тремя отверстиями для крепления балки.

Стойка имеет три планки с отверстиями - для крепления тяги разгружающего устройства и кронштейнов для лопаты.

Балка выполнена из швеллера, к торцам которого приварены кронштейны с отверстиями для крепления к панелям навески.

Разгружающее устройство устанавливается с двух сторон трактора и состоит из вилки с правой резьбой и вилки с левой резьбой, соединенных между собой штангой, с помощью которой осуществляется необходимое натяжение тяг.

Рама подъема состоит из двух полых стрел, соединенных между собой поперечной трубой. На обоих концах стрел имеются одинаковые втулки для крепления рамы подъема на панелях навески и для навешивания сменных рабочих органов. На каждой стреле в передней части приварены кронштейны, а в средней - вварены корпуса с втулками для крепления кронштейнов механизма изменения положения рабочих органов.

Рама подъема и механизм изменения положения рабочего органа приводятся с помощью гидроцилиндров, подключенных к гидросистеме трактора. Панели навески соединены с рукавами полуосей задних колес трактора разгружающими тягами.

Погрузчик работает следующим образом. С помощью рамы подъема и гидроцилиндров опрокидывания рабочий орган устанавливается на необходимую высоту и напором трактора заполняется грузом. Запрокидыванием рабочего органа, например ковша, или подъемом стрелы порция груза отрывается от массива и перемещается к транспортному средству. С помощью гидроцилиндров опрокидывания ковша последний разгружается и рабочий цикл повторяется.

Недостатки аналога - высокая трудоемкость и продолжительность демонтажа погрузчика по окончании погрузочных работ и перевода трактора на транспортные операции и полевые работы в агрегате с почвообрабатывающими и другими сельскохозяйственными орудиями. При использовании трактора с навешенным на него погрузчиком на транспортных операциях с прицепом погрузчик создает дополнительное сопротивление перекатыванию передних колес трактора, вызывает перегрузку передней оси и полурамы трактора вследствие повышенной скорости передвижения и в случае наезда колесом на неровности динамических всплесков. При использовании трактора с навешенным на него погрузчиком на полевых сельскохозяйственных работах с агрегатируемыми сельскохозяйственными орудиями наблюдается повышенное сопротивление перекатыванию передних колес трактора из-за их дополнительного вертикального нагружения.

Прототипом предлагаемого изобретения является фронтальный быстромонтируемый погрузчик STOLL ROBUST HDPM10 (STOLL ROBUST. Prospekt über das STOLL-Werkzeugprogramm), WILHELM STOLL MASCHINENFABRIK GMBH, Germany. Он состоит из механизма навески, панели которого прикреплены к лонжеронам трактора, быстросъемной погрузочной стрелы, гидросистемы, рабочего органа, опорного устройства.

Механизм навески содержит две вертикальные стойки, каждая из которых содержит паз и крюк. Паз выполнен спереди стойки, а крюк - сзади наклонной площадки. По вертикали крюк расположен выше паза.

Погрузочная стрела состоит из двух продольных брусьев сварной конструкции, соединенных между собой поперечной балкой, захватного устройства с штыревым фиксатором рабочего органа, двух кронштейнов сварной конструкции с фиксирующим механизмом. К кронштейнам шарнирно прикреплены продольные брусья и гидроцилиндры подъема погрузочной стрелы. Фиксирующий механизм представляет собой клинообразный стопор, подпружиненный цилиндрической пружиной, установленной на штанге. Штанга шарнирно закреплена на поперечной оси кронштейна. Штанга и клинообразный стопор жестко соединены между собой или могут выполняться как одно целое.

Опорное устройство представляет собой две шарнирно соединенные с продольными брусьями горизонтальные опорные балки, на которых выполнены трапецеидальные асимметричные зубья, и фиксирующие планки.

. ФОРМУЛА ИЗОБРЕТЕНИЯ

Погрузчик фронтальный быстромонтируемый, содержащий панели навески, прикрепленные к лонжеронам трактора, быстросъемную раму подъема, механизм плоскопараллельного перемещения рабочего органа, разгружающие тяги, отличающийся тем, что кронштейн панели навески снабжен выемкой и двумя гнездами, внутренние стенки которых выполнены под углом друг к другу так, что гнезда сужаются вовнутрь, и в них помещены фиксирующие пальцы кронштейна рамы подъема, оснащенные коническими, оппозитно установленными на боковинах кронштейна, ловителями, а в выемку, образованную передней и задней стенками кронштейна панели навески, угол между которыми меньше 90°, помещен имеющий форму сектора подпружиненный и установленный на оси фиксатор, поводок которого расположен в фигурном пазу сектора, насаженного с возможностью поворота на ось, прикрепленную к боковине кронштейна, причем фигурный паз имеет расширение для установки и фиксирования поводка фиксатора в его поднятом нерабочем положении.

Известен погрузчик по а.с. №506345, СССР, МКИ А 01D 85/00, В 66 F 9/06, 1976, содержащий смонтированную на тракторе опорную раму, на которой установлена поворотная в вертикальной плоскости стрела. На стреле установлен рабочий орган, приводимый от гидроцилиндров. Стрела поднимается-опускается с помощью гидроцилиндров. Погрузчик содержит промежуточную раму, шарнирные тяги. Одна из тяг снабжена упорами. Опорная рама погрузчика болтами прикручена к лонжеронам трактора и соединена с рукавами его задних полуосей. Погрузчик снабжен замковым устройством, состоящим из кулачка, рабочая поверхность которого концентрична оси вращения, и тяги, шарнирно соединенной с кулачком и опорной рамой.

Погрузчик работает следующим образом. Для забора материала стрела опускается. При этом кулачок под действием тяги поворачивается по часовой стрелке и при соприкосновении рабочего органа с землей освобождает упор. Дальнейшее опускание стрелы за счет системы тяг и подвижной рамы открывает грабельный захват. Напором агрегата производится наполнение рабочего органа - вил - материалом. Подъемом стрелы набранная порция отрывается от основного массива. При этом под действием тяги грабельный захват автоматически зажимает набранную порцию груза и дополнительно подпрессовывает ее. Погрузчик перемещает груз к месту погрузки или к транспортному средству.

Разгрузка порции осуществляется опрокидыванием вил с помощью гидроцилиндра. Затем вилы возвращаются в исходное положение и погрузочный цикл повторяется.

Недостатком данного погрузчика является то, что погрузчик невозможно быстро снять с трактора. При использовании агрегата на транспорте с прицепом погрузчик создает дополнительное сопротивление перекатыванию передних колес трактора, вызывает перегрузку полурамы трактора вследствие повышенной скорости передвижения и в случае наезда колесом на неровности динамических всплесков.

Прототипом предлагаемого погрузчика является фронтальный погрузчик-копновоз универсальный ПКУ-0,8 (Производитель - ОАО «Сальсксельмаш», п. Гигант Сальского р-на Ростовской обл.), состоящий из двух панелей навески, крепящихся на лонжеронах трактора и связанных между собой балкой, рамы подъема, гидроцилиндров, шарнирно соединенных с панелями навески рабочего органа. Система тяг, кронштейнов, гидроцилиндры образуют механизм изменения положения рабочего органа.

Панели навески представляют собой сварную конструкцию, состоящую из стойки и балки, которые соединены между собой трубой. Панели навески снабжены кронштейнами для шарнирного подсоединения к ним рамы подъема, тяг механизма изменения положения рабочего органа, тяг ограждения радиатора и гидроцилиндров управления рамой подъема. Снизу к стойке приварен кронштейн с тремя отверстиями для крепления балки.

ФОРМУЛА ИЗОБРЕТЕНИЯ

. Погрузчик фронтальный быстромонтируемый, содержащий навесное устройство, прикрепленное к лонжеронам трактора, быстросъемное подъемное устройство, механизм плоскопараллельного перемещения рабочего органа, разгружающее устройство, отличающийся тем, что навесное устройство содержит кронштейн с двумя, горизонтальным и вертикальным, пазами, где помещены неподвижная, приваренная к кронштейнам боковин, и подвижная фиксирующая оси стойки подъемного устройства, причем фиксирующая ось выполнена с фасками, расстояние между которыми равно ширине паза кронштейна стойки подъемного устройства, и помещена в отверстиях кронштейна штока, установленного в отверстиях поперечных пластинок стойки с возможностью перемещения вверх-вниз.

. Погрузчик по п.1, отличающийся тем, что шток выполнен в виде стержня переменного сечения с выступом для упора и ориентации возвратной пружины, содержит П-образный кронштейн, в отверстиях которого с возможностью поворота установлена фиксирующая ось, штифт, помещенный в продолговатые пазы шарнирно закрепленной к боковинам вилки рычага привода штока, и установлен в направляющих отверстиях поперечных пластинок стойки.

. Погрузчик по п.1 или 2, отличающийся тем, что фиксирующая ось перемещается вверх с помощью рычага, а вниз - под действием возвратной пружины, установленной между пластинкой и выступом штока.

. Погрузчик по п.1, отличающийся тем, что паз кронштейна выполнен с расширением круглой формы в нижней его части, диаметр которого равен диаметру фиксирующей оси.

. Погрузчик по п.1, или 2, или 4, отличающийся тем, что стенки горизонтального и вертикального пазов выполнены разной длины, причем нижняя стенка горизонтального паза и задняя стенка вертикального паза ориентируют неподвижную и фиксирующую оси при монтаже подъемного устройства над соответствующими пазами кронштейнов панелей.

. ОПИСАНИЕ ИЗОБРЕТЕНИЯ К ПАТЕНТУ

Изобретение относится к области строительных и дорожных машин, а именно к одноковшовым фронтальным погрузчикам.

Известен фронтальный погрузчик ТО-18 (Техническое описание и инструкция по эксплуатации ТО-18.00.000, Минск, Полымя, 1976, с. 199), содержащий шасси, погрузочное оборудование и гидропривод погрузочного оборудования. Такой гидропривод позволяет осуществлять черпание сыпучего материала совмещенным способом, при котором одновременно происходят два движения, поступательное движение шасси и поворот ковша. При этом траектория движения режущей кромки ножа днища ковша в штабеле, которая является определяющим фактором при заполнении ковша сыпучим материалом, зависит от физико-механических свойств разрабатываемого материала, буксования в гидротрансформаторе и на движителе, глубины начального внедрения режущей кромки ножа днища ковша в штабель, по достижении которой производится включение гидромеханизма поворота ковша и других условий. Исходя из этого траектории движения режущей кромки ножа днища ковша в штабеле при черпании сыпучего материала различны и, следовательно, заполнение ковша сыпучим материалом неоптимально.

Известно, что черпание сыпучего материала с минимально необходимыми энергозатратами происходит в том случае, когда траектория движения режущей кромки ножа днища ковша параллельна естественному откосу штабеля разрабатываемого материала. Опытные машинисты, управляющие рабочим процессом, для лучшего заполнения ковша сыпучим материалом при продолжающемся движении шасси производят многократные включения гидромеханизма поворота ковша. При этом траектория движения режущей кромки ножа днища ковша в штабеле имеет ступенчатый вид. Hа заключительном этапе черпания требуются реверсивные включения гидромеханизма поворота ковша. Многократные включения гидроаппаратуры управления ковшом приводят к ухудшению динамических процессов при черпании, снижению надежности машины, повышенной утомляемости человека-оператора и, в конечном счете, к снижению производительности.

Таким образом, черпание сыпучего материала известным фронтальным погрузчиком требует энергозатрат больших, чем минимально необходимые для этого процесса.

Из известных технических решений наиболее близким по технической сущности к заявляемому объекту является одноковшовая погрузочная машина (Авторское свидетельство СССР №1071713, кл. Е 02 F 9/22, 1982), содержащая шасси, погрузочное оборудование и гидропривод управления этим оборудованием с датчиком глубины внедрения, установленным на внешней стороне боковой стенки ковша под углом естественного откоса штабеля разрабатываемого материала, гидротрансформатор, датчик крутящего момента, выполненный в виде упорного диска, расположенного на валу реактора гидротрансформатора и соединенного с золотником распределителя посредством подпружиненного толкателя. Датчик глубины внедрения выполнен из образующих между собой гидрополость корпуса и эластичной мембраны, при этом рабочая гидрополость связана гидролинией с сигнализатором давления, электрический контакт которого включен в электрическую цепь управления. При использовании этого технического решения в процессе черпания режущая кромка ножа днища ковша перемещается по траектории, соответствующей постоянному крутящему моменту, развиваемому турбиной гидротрансформатора.

Данное техническое решение имеет существенный недостаток, заключающийся в следующем. Траектория движения режущей кромки ножа днища ковши в процессе черпания не параллельна естественному откосу штабеля. Если траектория крутая (угол наклона касательной к траектории движения больше угла естественного откоса штабеля), то при черпании сыпучий материал осыпается под ковш. Если траектория пологая (угол наклона касательной к траектории движения меньше угла естественного откоса штабеля), то черпание сыпучего материала происходит с завышенными энергозатратами из-за того, что на режущей кромке ножа днища ковша сохраняется уплотненное ядро. И то и другое экономически не выгодно.

В известных технических решениях гидропривод погрузочного оборудования фронтального погрузчика не обеспечивает кинематического согласования движения шасси и поворота ковша при оптимальном варианте черпания сыпучего материала.

ФОРМУЛА ИЗОБРЕТЕНИЯ

Система управления черпанием сыпучего материала, содержащая шасси, погрузочное оборудование, включающее стрелу, ковш, тягу, коромысло и основной гидропривод погрузочного оборудования, содержащий стреловые и ковшовые цилиндры и гидроаппаратуру управления с датчиком глубины внедрения, установленным на внешней стороне боковой стенки ковша под углом естественного откоса штабеля разрабатываемого материала, отличающаяся тем, что она снабжена неподвижно закрепленным на стреле дополнительным цилиндром, роликом, шарнирно закрепленным на штоке дополнительного цилиндра, гидронасосом, электрогидравлическим золотником, и неподвижно закрепленным на коромысле непрерывно соприкасающимся с роликом корректирующим кулачком, профиль которого выполнен таким образом, что при движении шасси погрузчика и штока ковшового цилиндра траектория движения режущей кромки ножа днища ковша параллельна естественному откосу штабеля разрабатываемого материала, при этом штоковая полость дополнительного цилиндра постоянно связана со сливной гидролинией, поршневая полость этого цилиндра в исходном положении связана с напорной гидролинией гидронасоса, имеющего привод от механической коробки передач, и со сливной гидролинией через канал электрогидравлического золотника, связанного гидролиниями с поршневой и штоковой полостями ковшового цилиндра, которые в исходном положении заперты, а при черпании сыпучего материала поршневые полости дополнительного и ковшового цилиндров связаны гидролиниями и каналом электрогидравлического золотника с напорной гидролинией гидронасоса, при этом штоковая полость ковшового цилиндра каналом электрогидравлического золотника связана со сливом.

. ОПИСАНИЕ ИЗОБРЕТЕНИЯ К ПАТЕНТУ

Изобретение относится к погрузочному оборудованию, используемому в сельскохозяйственном производстве, а именно на погрузке корнеплодов и силоса, уборке навоза на ферме, перегрузке сыпучего материала и т. д.

Известен самоходный погрузочный агрегат, содержащий установленный на раме поворотный от привода в вертикальной плоскости портал, шарнирно закрепленный на последнем погрузочный ковш, образованный днищем и боковинами, и гидроцилиндр поворота ковша, шарнирно закрепленный концами на последнем и на портале.

Недостатком устройства является то, что погрузочный ковш не может обеспечить разгрузку материала в другое транспортное средство или на землю. Это сужает область применения погрузчика и снижает эффективность его использования.

Технический эффект заключается в расширении функциональных возможностей, упрощении конструкции и повышении удобства в эксплуатации.

Для этого в агрегате, содержащем установленный на раме поворотный от привода в вертикальной плоскости портал, шарнирно закрепленный на последнем погрузочный ковш, образованный днищем и боковинами, и гидроцилиндр поворота ковша, шарнирно закрепленный концами на последнем и на портале, ковш выполнен с передней стенкой, расположенной под тупым углом к днищу, на котором смонтирован шарнир крепления ковша на портале, центр шарнира крепления гидроцилиндра поворота ковша на последнем смещен относительно центра шарнира крепления ковша на портале в сторону, противоположную передней стенке на величину l= (0,2--0,45)S, а l/L= 0,35-0,55, где S ход штока гидроцилиндра поворота ковша; L расстояние от центра указанного шарнира до шарнира крепления ковша на портале по нормали к днищу ковша, а линия, проходящая через центры указанных шарниров, расположена под углом L=15-30о к перпендикуляру, восстановленному из центра шарнира крепления ковша на портале, при этом поперечина портала выполнена с боковинами, расположенными в поперечной плоскости под углом к поперечине.

Эти признаки отличают заявляемое решение от прототипа и обуславливают соответствие этого решения критерию "новизна".

ФОРМУЛА ИЗОБРЕТЕНИЯ

.САМОХОДНЫЙ ПОГРУЗОЧНЫЙ АГРЕГАТ, содержащий установленный на раме поворотный от привода в вертикальной плоскости портал, шарнирно закрепленный на последнем погрузочный ковш, образованный днищем и боковинами, и гидроцилиндр поворота ковша, шарнирно закрепленный концами на последнем и на портале, отличающийся тем, что ковш выполнен с передней стенкой, расположенной под тупым углом к днищу, на котором смонтирован шарнир крепления ковша на портале, центр шарнира крепления гидроцилиндра поворота ковша на последнем смещен относительно центра шарнира крепления ковша на портале в сторону, противоположную передней стенке на величину(0,2 oC 0,45) s;/L 0,35 0,055,

где s ход штока гидроцилиндра поворота ковша;расстояние от центра указанного шарнира до шарнира крепления ковша на портале по нормали к днищу ковша,

а линия, проходящая через центры указанных шарниров, расположена под углом Самоходный погрузочный агрегат, патент № 2045422 = 15-30Самоходный погрузочный агрегат, патент № 2045422 к перпендикуляру к днищу, восстановленному из центра шарнира крепления ковша на портале.

. Агрегат по п.1, отличающийся тем, что поперечина портала выполнена с боковинами, расположенными в поперечной плоскости под углом к поперечине.

. ОПИСАНИЕ ИЗОБРЕТЕНИЯ К ПАТЕНТУ. РАБОЧЕЕ ОБОРУДОВАНИЕ ГИДРАВЛИЧЕСКОГО ПОГРУЗЧИКА

Изобретение относится к рабочим органам погрузочно-разгрузочных машин, в частности к рабочему оборудованию фронтального погрузчика, и может быть использовано в работах по профилированию грунтовой поверхности и захвату грузов. Рабочее оборудование одноковшового гидравлического погрузчика содержит ковш, шарнирно установленный на стреле, гидроцилиндры управления ковшом и стрелой, связанные с последними рычажным механизмом, и вилочный захват, который шарнирно закреплен на стреле и связан с ковшом шарнирной тягой, при этом нож ковша погрузчика и вилочный захват установлены на одном уровне при планировочных работах. Улучшается качество планировочных работ. 1 ил.

Изобретение относится к рабочим органам погрузочно-разгрузочных машин, в частности к рабочему оборудованию фронтального погрузчика, и может быть использовано в работах по профилированию грунтовой поверхности и захвату грузов.

Известны конструкции одноковшовых погрузчиков, предназначенные для выполнения погрузочно-разгрузочных работ, включающие базовую машину, стрелу и сменные рабочие органы [1].

Недостатком этих погрузчиков является то, что рабочий орган выполняет строго определенный вид работ, не может быть использован на других работах без вмешательства человека, а замена требует обязательного использования ручного труда при съеме старого, установке и фиксации нового рабочего органа.

Известна конструкция рабочего оборудования одноковшового гидравлического погрузчика, где ковш шарнирно установлен на стреле, управляемой гидроцилиндром, и управляется гидроцилиндром через рычажный механизм, включающий коромысло, шарнирно установленное на стреле, и тягу [2].

Недостатком конструкции является ограниченность выполняемых функций.

Наиболее близким техническим решением является рабочее оборудование одноковшового гидравлического погрузчика, содержащее ковш, шарнирно установленный на стреле, гидроцилиндры управления ковшом и стрелой, связанные с последними рычажным механизмом, и вилочный захват [3]. Недостатком конструкции является снижение качества планировочных работ, а также снижение функциональных возможностей.

Задача изобретения - обеспечение возможности захвата грузов без смены рабочего органа.

Формула изобретения

Рабочее оборудование одноковшового гидравлического погрузчика, содержащее ковш, шарнирно установленный на стреле, гидроцилиндры управления ковшом и стрелой, связанные с последними рычажным механизмом, и вилочный захват, отличающееся тем, что вилочный захват шарнирно закреплен на стреле и связан с ковшом шарнирной тягой, при этом нож ковша погрузчика и вилочный захват установлены на одном уровне при планировочных работах.

ЗАКЛЮЧЕНИЕ

На этой работе за основу взят одноковшовый пнемоколесный погрузчик и предусмотрена разработка напорного механизма рабочего оборудования погрузчика.

Одноковшовые фронтальные пневмоколесные погрузчики обладают высокой маневренностью, мобильностью и производительностью, что позволяет широко использовать их на погрузочно-разгрузочных работах в строительстве и промышленности на перегрузке сыпучих и кусковых материалов на промышленных базах, складах, грузовых дворах, заводах, полигонах.

Список использованной литературы

1.      Проектирование машин для земляных работ /Под ред. А.М. Холодова. -Х.: Вища шк. Изд - во при Харьк. ун - те, 1986. - 272с.

.        Проектирование и расчет перегрузочных машин (погрузчики и виброразгрузчики). Векслер В.М., Муха Т.И. Л., «Машиностроение». 1971 г. 320 стр. Табл. 34. Илл. 169. Библ. 40 назв.

.        Базанов А.Ф., Забегалов Г.В. Самоходные погрузчики. - 2-е изд., перераб. и доп. - М.: Машиностроение, 1979. - 146 с.,

.        www.fips.ru

.        www.yandex.ru

.        www.cpec-t.ru-портал спец техники

.        www.wikipedia.org - Викпедия.

.        www.shantui.org

Похожие работы на - Одноковшовый пневмоколесный погрузчик для ремонта и строительства дорог

 

Не нашли материал для своей работы?
Поможем написать уникальную работу
Без плагиата!
Без нейросетей!