Эскизное проектирование АЭУ АЭС
Дипломная работа
эскизное проектирование АЭУ АЭС
Содержание
Введение
. Общие положения по организации работы над эскизным проектом
АЭУ АЭС
. Выбор типа принятой в расчет АЭУ
. Выбор параметров теплоносителя и рабочего тела
.1 Давление теплоносителя рт
3.2 Температура теплоносителя на выходе из ЯР tт1
3.3 Температура теплоносителя на входе в ЯР tт2
3.4 Параметры пара на выходе из парогенератора и на входе в
главную турбину
.5 Давление в главном конденсаторе ргк. Параметры
системы технического водоснабжения
.6 Параметры промежуточной сепарации и промежуточного
перегрева пара
.7 Параметры пара турбопривода питательного насоса
4. Компоновка схемы рабочего контура
.1 Предварительное распределение теплоперепада по ступеням
турбины
.2 Компоновка системы регенерации. Окончательное
распределение теплоперепада по ступеням турбины
4.3 Компоновка системы теплофикации. Отбор пара на
собственные нужды
. Расчет рабочего контура
.1 Общие рекомендации по выполнению расчета рабочего контура
5.2 Расходы пара на систему теплофикации
5.3 Расходы пара на собственные нужды и протечки
5.4 Уравнения материальных балансов рабочего контура
5.5 Параметры теплообменивающихся сред рабочего контура
5.6 Уравнения тепловых балансов рабочего контура
5.7 Расход пара на турбину турбопитательного насоса
5.8 Расход пара на главную турбину
5.9 Паропроизводительность ПГ и тепловая мощность ЯР. КПД АЭУ
брутто
6. Расчет рабочего контура с использованием вычислительной
техники
.1 Общие рекомендации по использованию вычислительной техники
для расчета рабочего контура
.2 Расчет системы теплофикации
.3 Подготовка системы уравнений рабочего контура для расчета
с использованием вычислительной техники. Перечень и обозначение расчетных
величин.
.4 Система уравнений рабочего контура
.5 Результаты расчета. Анализ полученных результатов
. Расчет параметров циркуляционных насосов АЭУ
.1 Общие рекомендации по расчету параметров насосов
7.2 Параметры главного циркуляционного насоса первого контура
7.3 Параметры конденсатного насоса первого подъема
7.4 Параметры конденсатного насоса второго подъема
7.5 Параметры главного питательного насоса
7.6 Параметры главного циркуляционного насоса системы
технического водоснабжения
7.7 Затраты электроэнергии на собственные нужды. КПД АЭУ
нетто
. Оценка массогабаритных параметров главных элементов АЭУ
.1 Параметры ядерного реактора
8.2 Параметры парогенератора
8.3 Компоновка турбоагрегата. Параметры главной турбины
8.4 Параметры главного конденсатора
Приложения
Введение
Расчет АЭУ выполняется в соответствии с эскизной стадией проектирования.
Эскизная стадия проектирования предполагает выбор типа и состава АЭУ,
устанавливающих принцип ее действия, а также расчет основных параметров
энергоустановки - значения температуры, давления и расходов сред, определяющих
энергопотоки в установке, мощностных параметров элементов АЭУ, массогабаритных
показателей основного оборудования установки.
Значения указанных параметров существенно зависят от исходных данных,
принятых в расчет. Кроме того, они зависят также от типа принятой в расчет
схемы рабочего контура.
В процессе проектирования АЭУ АЭС проектанту приходится принимать ряд
решений как по выбору численных значений исходных параметров расчетов, так и по
выбору схемных и конструктивных решений. В учебном проектировании АЭУ АЭС такие
решения следует принимать на основе рекомендаций, приводимых в курсе читаемых
лекций, а также в учебных пособиях «Основы теории АЭУ АЭС» [8] и «Основы
проектирования АЭУ АЭС» [1].
Пример расчета приведен для случая двухконтурной АЭУ, имеющей схему
рабочего контура, близкую к установке с турбоагрегатом К-1000-60/3000. Однако
некоторые отличия, принятые при выборе схемы рабочего контура, распределении
теплоперепадов в проточной части турбины, а также другие отличия в исходных
данных (тепловая нагрузка системы теплофикации, расход пара на собственные
нужды и др.) приводят к заметным отличиям в результатах расчета от прототипа.
В примере расчета обоснования выбора значений параметров теплоносителя и
рабочего тела приводятся очень кратко. Основное внимание уделено изложению
наиболее рациональной последовательности расчета параметров, форме
представления результатов расчета.
1. Общие положения по организации работы над эскизным проектом АЭУ АЭС
Стадия эскизного проектирования предполагает разработку состава АЭУ АЭС,
установление принципа ее действия, а также определение основных параметров
основных элементов энергоустановки. При этом должны быть определены также
массогабаритные показатели основных элементов.
В качестве исходных данных задается электрическая мощность энергоблока.
Дополнительно могут быть заданы также некоторые другие показатели: количество
турбоагрегатов в составе энергоблока, давление теплоносителя первого контура и
некоторые другие.
В целом стадии работы над проектом можно представить в такой
последовательности:
а) уяснение задания, подбор литературы и вспомогательных материалов,
обеспечивающих выполнение проекта;
б) выбор типа разрабатываемой энергоустановки;
в) выбор параметров теплоносителя и рабочего тела;
г) компоновка расчетной схемы рабочего контура;
д) расчет энергетических балансов рабочего контура;
е) расчет затрат электроэнергии на собственные нужды;
ж) определение параметров основных элементов АЭУ;
з) составление заключения (выводов) по проекту в целом;
и) выполнение функциональной схемы разрабатываемого рабочего контура
энергоустановки.
Заметим, что для эффективного использования выделенного бюджета времени
при выполнении эскизного проекта целесообразно выбрать прототипную установку, с
тем, чтобы использовать в процессе работы над проектом как ее схемные и
конструктивные решения, так и значения параметров. Прототипная установка должна
быть изучена более досконально. При этом, разумеется, не следует в своих
разработках полностью повторять прототипные решения. Энергоблок, принятый в
качестве прототипного, разрабатывался значительно раньше, многие решения,
заложенные в него при проектировании, устарели. Их целесообразно переработать с
учетом современных требований, а также тенденций развития стационарной
энергетики. Все изменения, внесенные в прототипные решения, должны быть особо
оговорены, обоснованы, должно быть указано на улучшение каких показателей они
направлены. Для того чтобы при разработке проекта проявилось творческое начало,
следует набрать хотя бы 6…7 существенных отличий разрабатываемой установки от
прототипной.
Заметим, что в схемных решениях и значениях параметров в качестве
прототипных могут приниматься данные и из других установок, если они
целесообразны и обоснованы.
В эскизном проекте должны быть выполнены пояснительная записка (текстовый
документ) и функциональная схема разработанной АЭУ (графический документ).
Пояснительная записка выполняется в соответствии с требованиями
стандартов ЕСКД к текстовым документам. В пояснительной записке необходимо
представить все принятые в проекте решения по значениям отдельных параметров и
по принятым в расчет схемным решениям. Кроме того, в пояснительной записке
представляют все расчеты параметров энергоустановки в целом и отдельных ее
элементов. В пояснительной записке должно быть представлено достаточное
количество иллюстраций, обеспечивающее однозначное понимание решений автора
выполняемого проекта.
Состав и задачи функциональной схемы АЭУ, а также нормы ее выполнения
рассмотрены ниже.
В качестве литературы можно рекомендовать:
а) учебные пособия по курсу лекций дисциплины "АЭС и
установки";
б) учебные пособия, монографии, справочные пособия по ядерным реакторам и
парогенераторам, по турбоагрегатам АЭС, по вспомогательным механизмам АЭУ, а
также по паропроизводящим и паротурбинным установкам, используемым в
соответствующих специальных курсах;
в) техническую документацию (технические описания, инструкции по
эксплуатации и др.) по техническим средствам ППУ и ПТУ прототипной установки.
Кроме того, в настоящем пособии приводится список литературы,
использованной при выполнении примера расчета и рекомендованной для
использования студентами.
Рекомендуется при выполнении расчетов использовать программное
обеспечение пособия [28] (Е.Н. Сычев «Комплекс программ для интерполяции табличных
данных термодинамических свойств воды и водяного пара»). Использование программ
указанного пособия существенно упрощает выполнение расчетов, так как уменьшает
затраты времени на интерполяционное определение параметров теплоносителя и
рабочего тела при соответствующих исходных данных
При вычислениях вручную (с помощью калькулятора) результаты промежуточных
вычислений можно принимать в расчет с точностью от 6 до 8 значащих цифр.
2. Выбор типа принятой в расчет АЭУ
В качестве примера для расчета принята двухконтурная АЭУ АЭС с мощностью
генератора электроэнергии в 1000 МВт. Как источник тепловой энергии
используется корпусной ЯР водо-водяного типа с водой под давлением - типа ВВЭР.
Турбина, приводящая в действие генератор электроэнергии, - быстроходная паровая
турбина на насыщенном паре с промежуточной сепарацией и промежуточным
перегревом пара. Одноступенчатый промежуточный перегрев пара осуществляется за
счет тепловой энергии части свежего пара, отбираемого из главного паропровода.
В ПТУ предусмотрена система регенеративного подогрева питательной воды.
Отработавший в главной турбине пар направляется в главный конденсатор
поверхностного типа. В качестве охлаждающей среды используется техническая
вода, охлаждаемая в пруду-охладителе.
Все основные решения по типу принятой в расчет АЭУ, а также по типу
принятых в расчет основных элементов установки (ЯР, ПГ, турбоагрегат,
промежуточный пароперегреватель, система регенерации тепла в рабочем контуре,
способ охлаждения технической воды) надлежит обосновать.
Следует обратить внимание на отличия от прототипной установки, тип
элементов установки и схемные решения. В каждом случае отличия от прототипа
необходимо более детально изложить сущность отличия, указать на улучшение каких
показателей оно направлено. Следует указать также на недостатки такого решения,
и чем они компенсируются.
Особо следует обратить внимание на тип принимаемой в расчет турбины -
быстроходная или тихоходная. Обычно принятие тихоходной турбины - вынужденная
мера. Она целесообразна при большой заданной агрегатной мощности и, как
следствие этого, большом расходе пара. Особенности такой турбины необходимо
учитывать в дальнейшем расчете установки - количество ступеней турбины,
компоновка системы регенерации тепла в рабочем контуре, экономичность турбины и
пр. В заключении расчета энергоустановки такое решение должно найти численное
подтверждение его правильности - количество цилиндров низкого давления,
суммарная площадь выхлопа и скорость пара на выходе из ЦНД.
В приложении Д приведены функциональные схемы рабочих контуров
отечественных АЭУ АЭС, которые могут быть приняты в качестве прототипных при
разработке эскизного проекта энергоустановки.
3. Выбор параметров теплоносителя и рабочего тела
.1 Давление теплоносителя РТ
С учетом принятого в ЯР вида ядерного топлива (UО2),
конструкционных материалов активной зоны (оболочки твэлов выполнены из
циркониевых сплавов) и компоновки активной зоны ЯР в расчет принято давление
теплоносителя рт = 16,0 МПа.
В обосновании принятого давления теплоносителя следует обратить внимание
на нецелесообразность его значительного повышения при тех же материалах
активной зоны.
.2 Температура теплоносителя на выходе из ЯР tт1
Температура теплоносителя tт1 принимается равной температуре
кипения ts с интегральным запасом до кипения Dts:
tт1 = ts - Dts оC.
При рт = 16,0 МПа ts = 347,32 оC. Значение Dts = 24 оC - принято по прототипному ЯР
ВВЭР-1000. Тогдат1 = 347,32 - 24 = 323,32 оС.
В расчет принято tт1 = 323 оС.
В обосновании принятого значения интегрального запаса до кипения
теплоносителя Dts следует обратить внимание на его
зависимость от неравномерности тепловыделений по радиусу активной зоны
водо-водяного ЯР.
3.3 Температура теплоносителя на входе в ЯР tт2
Температура теплоносителя tт2 принимается равной температуре
на выходе из ЯР за вычетом степени нагрева теплоносителя в ЯР Dtяр:
т2 = t т1 - Dtяр оС.
Dtяр = 32 оС - принято по прототипному ЯР ВВЭР-1000.
Тогдат2 = 323 - 32 = 291 оС.
Здесь следует отметить, что если снизить принимаемое в расчет значение Dtяр (такое снижение
благоприятно скажется как на параметрах ЯР, так и на параметрах АЭУ в целом),
то это потребует резкого увеличения мощности главных циркуляционных насосов I
контура и, следовательно, затрат электроэнергии на собственные нужды (см. [1]
с.40).
.4 Параметры пара на выходе из парогенератора и на входе в главную
турбину
В разрабатываемой АЭУ принят парогенератор насыщенного пара с
многократной естественной циркуляцией рабочего тела и с неявно выраженной
экономайзерной зоной. Температура генерируемого пара равна температуре
теплоносителя на выходе из ПГ (она же температура теплоносителя на входе в ЯР)
за вычетом минимального температурного напора в ПГ dt min:
t пг = t т2 - dt min оС.
dt min = 11 оС - принято в рекомендуемых пределах.
Тогдапг = 291 - 11 = 280 оС;
Диаграмма t-q парогенератора с учетом принятых значений параметров
теплоносителя и рабочего тела а также типа ПГ принимает вид, показанный на
рисунке 1.
Рисунок 1 - Диаграмма t-q парогенератора
При обосновании параметров пара следует обратить внимание на принимаемое
в расчет значение дtmin. Его уменьшение позволяет несколько повысить
параметры свежего пара. Однако при этом существенно уменьшается средний
температурный напор теплопередачи в ПГ в целом и, вследствие этого,
увеличивается его поверхность теплопередачи, что отрицательно сказывается на
массогабаритных показателях ПГ. На заключительном этапе расчета установки это
положение найдет численное подтверждение. Анализ реально выполненных установок
показывает, что значение дtmin следует принимать в расчет в
диапазоне 8…11 оС (см. [1] с.48…49).
Давление генерируемого пара рпг равно давлению насыщения,
соответствующего принятой температуре пара.
рпг = рs (t пг = 280 оС) =
6,4191 МПа.
В расчет принято рпг = 6,4 МПа.
Потеря давления в паровом тракте от парогенератора до соплового аппарата
турбины Dр = 0,06 ×рпг = 0,06 × 6,4 = 0,384 МПа.
В расчет принято Dр =
0,4 МПа.
Давление пара на входе в сопловый аппарат турбины
ргт = рпг - Dр = 6,4 - 0,4 = 6,0 МПа.
Так как в главном паропроводе происходит адиабатическое дросселирование
пара, то значения энтальпии пара на выходе из ПГ и на входе в сопловый аппарат
турбины равны iпг = iцвд = i²(рпг = 6,4 МПа) = = 2778,8 кДж/кг. Точки состояния рабочего
тела Aпг и Aгт показаны на диаграмме i-s (рисунок 2).
.5 Давление в главном конденсаторе ргк. Параметры системы
технического водоснабжения
При выборе в расчет величины температуры охлаждающей воды на входе в ГК tов.вх
следует ориентироваться на среднегодовую температуру в заданном регионе, в
котором предполагается размещение энергоблока.
В расчет принята АЭС, расположенная в умеренной климатической зоне
(дополнительный третий энергоблок Хмельницкой АЭС). С учетом принятой системы
охлаждения технической воды (пруд-охладитель) для расчета принята температура
охлаждающей воды на входе в ГК tов.вх = = 20 оС.
Кратность охлаждения главного конденсатора принята
= Gов / Gп = 55.
При обосновании принятого в расчет значения кратности охлаждения ГК m
следует иметь в виду, что увеличение m (и, следовательно, увеличение расхода
охлаждающей воды) способствует снижению температуры охлаждающей воды на выходе
из ГК. Это позволяет либо снизить давление в ГК, либо сократить его
массогабаритные показатели за счет увеличения температурного напора
теплопередачи. Однако увеличение величины m означает увеличение мощности
насосов технического водоснабжения и увеличение затрат электроэнергии на
собственные нужды. Если в расчет принята оборотная система технического
водоснабжения с градирнями или брызгальными бассейнами, то увеличение значения
m ведет к более значительному увеличению затрат электроэнергии на
функционирование системы. Действительно, за один цикл использования техническая
вода в такой установке должна прокачиваться насосами дважды - через ГК и через
водоохлаждающее устройство.
Среднее давление в главном конденсаторе принято ргк
= 5,0 кПа.
В данном случае речь идет о среднем давлении в конденсаторе, так как
предполагается секции главного конденсатора соединить последовательно по охлаждающей
воде (см. прототипную установку). Такое соединение секций ГК приведет к тому,
что в разных секциях будет устанавливаться разное давление - в первой по потоку
охлаждающей воды давление будет несколько ниже среднего значения. Для упрощения
расчетов принято осредненное по секциям конденсатора давление.
Температура конденсации в главном конденсаторе tгк = ts
при давлении в главном конденсаторе ргк = 5 кПа
гк = ts (ргк
= 5 кПа) = 32,9 оС.
Заметим, что выражение tгк = ts при давлении в конденсаторе справедливо лишь для
конденсаторов с рациональной компоновкой трубного пучка и качественно
разработанной системой отсоса паровоздушной смеси. В этом случае во всем
паровом объеме ГК практически отсутствует воздушная составляющая. Температура
охлаждающей воды на выходе из ГК
ов.вых = tов.вх + r × x / (m × cp),
где t ов.вх = 20 оС. - температура
охлаждающей воды на входе в ГК; (принято в расчет);= r(p=5кПа) = i² - i¢=2561,2-137,77=2423,43 кДж/кг -
скрытая теплота парообразования (конденсации) при давлении в главном
конденсаторе;
х = 0,92 - сухость пара на входе в конденсатор (принято по прототипной
установке);= 55 - принятая в расчет кратность циркуляции;p = 4,18
кДж/кг - теплоемкость охлаждающей воды.ов.вых = 20 + 2423,43 × 0,92 / (55 × 4,18) = 29,6979 оС.
В расчет принято tов.вых = 29,7 оС.
Для этого выражения значение сухости конденсирующегося в ГК пара x на
данном этапе расчета установки может быть оценено лишь приближенно по
прототипным данным. В последующем, при расчете массогабаритных показателей ГК,
оно должно быть уточнено.
Важным показателем, существенно определяющим массогабаритные показатели
ГК, является температурный напор на его «горячем» конце дtгор.
Величину дtгор следует показать на диаграмме t-q, построенной
для главного конденсатора (рисунок 3).
Для принятых в нашем расчете параметров значение дtгор
составляет
дtгор = tгк - tов.вых= 32,9 - 29,7 = 3,2
оС.
Стремление к снижению дtгор и, таким образом, к снижению
температуры конденсации в ГК (и, следовательно, его давления) способствует
увеличению экономичности установки. Но оно сопровождается значительным
снижением среднего температурного напора в ГК и, как следствие этого -
значительным увеличением поверхности теплопередачи в ГК. Это неизбежно
проявится на заключительном этапе расчета установки при оценке массогабаритных
показателей ГК. Для получения приемлемой величины поверхности теплопередачи ГК
и, следовательно, приемлемых массогабаритных показателей конденсационной
установки целесообразно параметры теплообменивающихся сред подобрать так, чтобы
температурный напор на "горячем" конце конденсатора дtгор
= tгк - tов.вых был в пределах 3...10 оС.
Рисунок 2 - Процессы расширения рабочего
Рисунок 3
В последующем, при расчете массогабаритных показателей конденсационной
установки, должна быть построена уточненная диаграмма t-q и определено
уточненное значение дtгор.
Рисунок 4 - Диаграмма t-q главного конденсатора
3.6 Параметры промежуточной сепарации и промежуточного перегрева пара
С учетом прототипных данных, а также с учетом мер, которые в настоящее
время могут быть приняты для повышения экономичности проточной части турбины, в
расчет приняты средние значения внутренних КПД цилиндров турбины: h iцвд = 0,82; h i цнд = 0,83.
Для построения в диаграмме i-s процессов расширения пара в
проточной части турбины (в том числе в агрегатах промежуточной сепарации и
промежуточного пароперегрева) приняты следующие параметры расширения пара:
разделительное давление рраздопт = 0,12×ргт + 0,13 = 0,12 × 6 + 0,13 = = 0,85 МПа;
потери давления от выхода из ЦВД до входа в ЦНД - 4% разделительного
давления;
давление пара на входе в ЦНД рцнд = (1 - 0,04)×рразд = 0,96 × 0,85 = = 0,816 МПа;
температура перегретого пара на выходе из пароперегревателя
пп = t пг - дtппmin = 280 - 25 = 255 оС.
Важно отметить, что пароперегреватель является паро-паровым теплообменным
аппаратом, имеющим низкое значение коэффициента теплоотдачи к перегреваемому
пару. Поэтому коэффициент теплопередачи пароперегревателя в целом также низкий.
Для ограничения величины поверхности теплопередачи обычно принимают высокий
температурный напор. Величину температурного напора на «горячем» конце
пароперегревателя целесообразно принять не менее 20…25 оС.
По причинам того же характера в греющей полости пароперегревателя не
рекомендуется предусматривать охладитель дренажа.
С учетом указанных замечаний диаграмма t-q пароперегревателя имеет вид,
показанный на рисунке 5.
Рисунок 5 - Диаграмма t-q одноступенчатого пароперегревателя
Если пароперегреватель принят двухступенчатым, где его первая ступень
обогревается паром, отбираемым из соответствующей ступени ЦВД, то можно
рекомендовать повышение температуры перегреваемого пара делить примерно поровну
между первой и второй ступенями. При этом значение dtппmin каждой
ступени целесообразно также принимать в пределах 20…25 оС. Диаграмма
t-q такого пароперегревателя показана на рисунке 6.
Рисунок 6 - Диаграмма t-q двухступенчатого пароперегревателя
Заметим, что приведенное здесь эмпирическое выражение для определения
разделительного давления рраздопт дает оптимальное значение
с точки зрения экономичности термодинамического цикла АЭУ. В то же время такое
значение рразд может привести к не вполне рациональному
распределению значений влажности пара на последних степенях ЦВД и ЦНД. В этом
случае необходимо методом последовательных приближений подобрать такое значение
разделительного давления, которое обеспечит приемлемое распределение влажности
пара на выходе из ЦВД и ЦНД. Разумеется, оптимальность значения рразд
с точки зрения экономичности цикла будет несколько нарушена.
Для принятого в первом приближении рразд = 0,85 МПа в
результате построения процессов расширения пара в i-s - диаграмме получены
значения сухости пара на выходе из ЦВД и ЦНД: xцвд = 0,869; xцнд
= 0,886 (см. рисунок 2, процесс Агт - Б - В - Г).
Такие значения сухости пара несколько выпадают из оптимальных диапазонов.
Оптимальными значениями сухости пара можно считать значения сухости пара на
выходе из ЦВД в диапазоне от 0,85 до 0,86 (в ряде случаев от 0,84); а на выходе
из ЦНД - от 0,90 до 0,93 (для тихоходных агрегатов от 0,87). Влажность пара на
выходе из ЦВД, для принятой установки с быстроходным ТА, можно несколько
увеличить, а влажность пара на выходе из ЦНД необходимо существенно снизить.
Методом последовательных приближений получено следующее сочетание параметров,
принятых в расчет:
разделительное давление рразд = 0,6 МПа;
давление пара на входе в ЦНД pцнд = 0,96 × 0,6 = 0,576 МПа. В расчет принято pцнд
= 0,58 МПа;
температура перегретого пара на выходе из пароперегревателя tпп=255оС.
В результате построения процессов расширения пара в диаграмме i-s (рис.2)
получены значения сухости пара на выходе из ЦВД и ЦНД:цвд = 0,856; xцнд
= 0,906.
Эти значения сухости пара находятся в приемлемых диапазонах.
После окончательного определения положения точек начала и конца
расширения пара в ЦВД и ЦНД можно определить значения энтальпии пара в этих
точках:
энтальпия пара на входе в ЦВД - в точке А цвд
i
цвд = i²(рпг = 6,4 МПа) = 2778,8
кДж/кг (см. п.3.4);
энтальпия пара на выходе из ЦВД - в точке А z цвд
i z цвд = i(p z цвд = 0,6 МПа; х цвд = 0,856)
=
= i¢(p z цвд)× (1 - х цвд) + i²(p z цвд) х цвд =
= 670,4(1 - 0,856)+2756,4 × 0,856 = 2456,02 кДж/кг;
энтальпия пара на входе в ЦНД - в точке А цнд
i
цнд = i(рцнд = 0,58 МПа; tцнд = 255 оС) = 2968,29
кДж/кг;
энтальпия пара на выходе из ЦНД - в точке А z цнд
i z цнд = i(p z цнд = 5 кПа; х цнд = 0,906) =
= i¢(p z цнд) × (1 - х цнд) + i²(p z цнд) х цнд =
= 137,77(1-0,906)+2561,2 × 0,906 = 2333,4 кДж/кг.
Окончательный выбор параметров промежуточной сепарации и промежуточного
перегрева позволяет построить диаграмму t-q паро-перегревателя в численном виде
(см. рисунок 4 или рисунок 5).
3.7 Параметры пара турбопривода питательного насоса
Турбопривод питательного насоса (ТПН), если он предусмотрен в установке,
обычно представляет собой агрегат большой мощности - 10…15 МВт. Для получения
высокой экономичности такого агрегата его турбину как правило выполняют
многоступенчатой - около 10 ступеней.
В общем случае турбопривод питательного насоса может быть подключен по
приему рабочего пара и сбросу отработавшего пара в различные точки рабочего
контура. Общие рекомендации по включению турбопривода в рабочий контур
приведены в учебном пособии «Основы проектирования АЭУ АЭС» [1] на страницах
69…71.
В практике схем отечественных ПТУ отбор рабочего пара осуществляется из
главной трассы паропровода после СПП (перегретый пар), сброс отработавшего пара
- на автономный конденсатор ТПН. На режимах ввода и вывода установки пар на
турбину ТПН подается из коллектора собственных нужд (КСН). Но так как здесь
представлен только режим номинальной мощности установки, то подачу пара из КСН
можно не рассматривать.
Выбрав тип ТПН и способ его включения в рабочий контур, следует
определить параметры пара на входе и выходе ТПН а также его экономичность. Это
позволит в процессе расчета рабочего контура определить расход пара на ТПН и
включить этот расход в материальные и тепловые балансы рабочего контура.
В настоящем примере расчета схемное включение ТПН принято по прототипной
установке с быстроходным турбоагрегатом.
Турбопривод питательного насоса получает перегретый пар от паропровода
после пароперегревателя (после СПП). Гидравлические сопротивления тракта
подводящего паропровода Dр
оценены для расчета в 10%. Hа рисунке 2 показана точка Атпн.
Параметры пара в точке Атпн :
ртпн = 0,9·рцнд = 0,9 · 0,58 = 0,522 МПа. В расчет
принято ртпн = 0,5 МПа.тпн = 254°С.
Значение температуры пара на входе в ТПН подобрано таким, чтобы энтальпия
пара на входе в ТПН и на входе в ЦНД практически совпадали, так как дополнительное
дросселирование пара в подводящем паропроводе ТПН является изоэнтальпийным. Действительно
i цнд = i (р = 0,58 МПа; t = 255 оС) = 2968,29 кДж/кг;
i тпн = i (р = 0,50 МПа; t
= 254 оС) = 2968,98 кДж/кг.
Для обеспечения безнасосного сброса конденсата из конденсато-сборника ТПН
в конденсатосборник ГК давление в конденсаторе ТПН принято 6 кПа.
Внутренний КПД турбопривода ТПН принят по прототипной установке - h iтпн = 0,79. В
результате построения процесса расширения пара в турбине ТПН (см. рисунок 2)
получены параметры пара за последней ступенью турбины: pz тпн
= 6 кПа; х = 0,929.
z тпн = i¢× (1
- х) + i²× х = 151,5 × 0,071 + 2567,1× 0,929 = 2395,59 кДж/кг;
Внутренний теплоперепад турбины ТПН
Н i тпн = iтпн - iz тпн = 2968,98 -
2395,59 = 573,39 кДж/кг.
4. Компоновка схемы рабочего контура
.1 Предварительное распределение теплоперепада по ступеням турбины
При выборе параметров теплоносителя и рабочего тела часть вопросов
компоновки рабочего контура решена. Это место установки сепаратора пара,
количество и способ подключения пароперегревателей, подключение турбопривода
питательного насоса. Однако некоторые вопросы остались непроработанными.
Основные из них:
установка и подключение деаэратора питательной воды;
выбор типа и количества регенеративных водоподогревателей, а также
способов их подключения;
·
компоновка и
подключение системы теплофикации;
·
отбор пара на
собственные нужды.
Так как подключение указанных элементов рабочего контура может быть
осуществлено только между ступенями турбины, то необходимо принять в расчет
количество ступеней ЦВД и ЦНД и произвести разбивку теплоперепада ЦВД и ЦНД по
ступеням турбины.
Выбор количества ступеней в ЦВД и ЦНД существенно связан с
быстроходностью турбины. Поэтому количество ступеней (или равноценный ему
показатель - средний теплоперепад, срабатываемый на одной ступени) следует
выбирать тщательно, ориентируясь на аналогичные турбоагрегаты.
В примере расчета принято, что проточные части ЦВД и ЦНД состоят из пяти
активных ступеней в одном потоке каждого цилиндра.
Если принята тихоходная турбина, то количество ступеней обычно несколько
больше - порядка 7 ступеней в ЦВД и ЦНД.
В первом приближении можно принять равномерную разбивку теплоперепада -
отдельно на ЦВД и отдельно на ЦНД. Обычно средний теплоперепад ступени ЦНД
заметно больше среднего теплоперепада ЦВД (см. рисунок 2).
Применительно к принятому в примере расчета варианту:
- энтальпия пара на входе в ЦВД
iвхцвд = 2778,8 кДж/кг (см. п.3.6);
- энтальпия пара на выходе из ЦВД
iвых цвд = 2456,02 кДж/кг (см. п.3.6);
- внутренний теплоперепад ЦВД
H iцвд = iвхцвд - iвыхцвд
= 2778,8 - 2456,02 = 322,78 кДж/кг;
- средний теплоперепад одной ступени ЦВД
h iцвд = H iцвд / zстцвд
=322,78 /5 = 64,556 кДж/кг;
- энтальпия пара на входе в ЦНД
iвхцнд = 2968,29 кДж/кг (см. п.3.6);
- энтальпия пара на выходе из ЦНД
iвыхцнд = 2333,4 кДж/кг (см. п.3.6);
- внутренний теплоперепад ЦНД
H iцнд = iвхцнд -iвыхцнд
= 2968,29 - 2333,4 = 634,89 кДж/кг;
- средний теплоперепад одной ступени ЦНД
h iцнд = H iцнд /zстцнд
= 634,89 /5 = 126,978 кДж/кг.
Предварительная разбивка теплоперепадов цилиндров (равномерная разбивка)
показана на рисунке 2 в диаграмме i-s. Результаты равномерной разбивки
теплоперепадов сводят в таблицу - см. таблицу 1.
Заметим, что графическое равномерное разбиение теплоперепада по ступеням
турбины и определение энтальпии пара на выходе из каждой ступени сопряжено с
некоторыми затруднениями технического порядка. Это связано с тем, что шкала
энтальпий на диаграмме i-s весьма грубая и неудобна в использовании. В связи с
этим рекомендуется следующий подход к решению вопроса.
Зная средний теплоперепад одной ступени ЦВД и одной ступени ЦНД и
последовательно вычитая эти значения из энтальпий пара на входе в каждую
ступень ЦВД и ЦНД, получают значения энтальпии на выходе из каждой ступени ЦВД
и ЦНД. Если расчет выполнен корректно, то значения энтальпии на выходе из
последних ступеней ЦВД и ЦНД должы совпадать с определенными ранее значениями.
Полученные значения энтальпии следует внести во вторую вертикальную графу
таблицы 1.
Значения давления пара и его сухости (или температуры, если пар
перегретый) для таблицы 1 следует определить графически. Для этого линии Агт
-Аz цвд (ЦВД) и Ацнд -Аz цнд (ЦНД) на рисунке 2 следует
графически разделить на пять одинаковых отрезков. В каждой полученной точке
можно снять значения давления и сухости пара (или его температуры). Эти
параметры могут быть сняты с диаграммы i-s достаточно точно. Полученные
значения параметров следует внести в третью и четвертую вертикальные графы
таблицы 1.
По полученным значениям давления и сухости пара (или его температуры)
можно определить расчетные значения энтальпии пара по выражениям i = i¢× (1 - x)+ i²×x или i = i (р, t) соответственно. Полученные
расчетные значения энтальпии пара должны с достаточной степенью точности
соответствовать значениям энтальпии, записанным во второй вертикальной графе
таблицы 1. Если на какой либо ступени турбины наблюдается заметное расхождение,
то его необходимо устранить, подправляя значения давления пара и его сухости
(или температуры), снятые с линий Агт -Аz цвд и Ацнд - Аz цнд, не нарушая при этом графической
равномерности точек на соответствующих линиях.
Таблица 1 - Параметры пара в ступенях ЦВД и ЦНД при равномерной разбивке
теплоперепадов
|
Место проточной части турбины
|
Энтальпия пара, кДж/кг
|
Давление пара, МПа.
|
Сухость влажного пара х (или температура перегретого пара
t, оС)
|
Расчетное значение энтальпии пара, кДж/кг
|
|
ЦВД
|
|
вход в 1 ст.
|
2778,8
|
6,0
|
0,997
|
2778,59
|
|
выход из 1 ст.
|
2714,244
|
3,8
|
0,9505
|
2714,79
|
|
выход из 2 ст.
|
2649,688
|
2,44
|
0,918
|
2649,30
|
|
выход из 3 ст.
|
2585,132
|
1,56
|
0,8935
|
2585,04
|
|
выход из 4 ст.
|
2520,576
|
0,96
|
0,874
|
2520,89
|
|
выход из 5 ст.
|
2456,02
|
0,6
|
0,856
|
2456,02
|
|
ЦНД
|
|
вход в 1 ст.
|
2968,29
|
0,58
|
(255)
|
2968,29
|
|
выход из 1 ст.
|
2841,312
|
0,262
|
(187)
|
2840,86
|
|
выход из 2 ст.
|
2714,334
|
0,115
|
(119,5)
|
2714,23
|
|
выход из 3 ст.
|
2587,356
|
0,044
|
0,977
|
2587,49
|
|
выход из 4 ст.
|
2460,378
|
0,01605
|
0,9405
|
2460,42
|
|
выход из 5 ст.
|
2333,40
|
0,005
|
0,906
|
2333,40
|
4.2 Компоновка системы регенерации. Окончательное распределение
теплоперепада по ступеням турбины
В расчет принята система регенерации, состоящая из семи регенеративных
подогревателей zвп = 7 (первые два - смешивающего типа, пять
последующих - поверхностного) и деаэратора смешивающего типа с давлением
насыщения 0,7 МПа.
Первым по греющей среде подключают последний подогреватель системы
регенерации. Для этого определяют оптимальную температуру питательной воды,
получение которой перед подачей воды в ПГ обеспечивает максимально возможный
эффект от регенерации тепла.
Оптимальная температура питательной воды на входе в ПГ
tпвопт = t3 + 0,8(t4 - t3)
z /(z + 1), оС,
где t3 - температура питательной воды на входе в систему
регенерации;
t4 - температура питательной воды на входе в испаритель ПГ (t4=
tпг);
z = zвп +1 = 8 - число подогревателей воды в системе
регенерации (в том числе деаэратор).
Если в конденсатно-питательной системе предусмотрен охладитель пара
системы отсоса паровоздушной смеси (этот элемент в составе ПТУ обычно
предусматривают), то величину t3 следует увеличить на 3…4 оС,
так как примерно настолько увеличивается температура конденсата в охладителе
пара системы отсоса паровоздушной смеси. Применительно к рассматриваемому
варианту установки в расчет принимается t3 = 36 оС. Тогда
получим
tпвопт = 36 + 0,8 × (280 - 36) × 8 /(8 + 1) = 209,5 оC.
Так как обычно последний водоподогреватель поверхностного типа, то
температура греющей среды должна быть на 3...4 градуса выше оптимальной
температуры питательной воды.
Температура греющей среды на входе в ПВД-7
tгр = tпвопт + dt = 209,5 + 3,5 = 213,0 оC.
Греющая среда такого водоподогревателя - влажный пар, поэтому по
температуре греющей среды можно оценить ее давление.
ргр = рs(t=213,0
оC) = 2,0251 МПа.
Для определения требующегося давления в отборе пара следует оценить
потери давления в подводящем паропроводе. Для этого можно воспользоваться
эмпирической зависимостью Dр = 11 - r, %, где r - номер водоподогревателя (с учетом деаэратора).
Эмпирическая зависимость для Dр хорошо согласуется с фактическими данными и с физической
сущностью вопроса. По мере уменьшения номера водоподогревателя снижается
давление греющей среды и, следовательно, увеличивается ее удельный объем и
объемный расход. В связи с этим все труднее реализовать стремление к снижению
гидравлических сопротивлений тракта греющей среды. Поэтому величина Dр увеличивается с уменьшением номера
подогревателя.
В нашем случае значения Dр составляют:
|
для ПВД-7 - 3% ПВД-6 - 4 % ПНД-5 - 6 % ПНД-4 - 7 %
|
для ПНД-3 - 8% ПНД-2 - 9 % ПНД-1 - 10 %
|
Давление греющего пара в первом отборе (на ПВД-7) с учетом потери
давления в подводящем трубопроводе составляет:
рот1 =1,03 × ргр = 1,03 × 2,0251 = 2,086 МПа.
Принято решение подключить ПВД-7 на выход второй ступени ЦВД (1-ый отбор)
с несколько исправленными параметрами:
рвых 2ст. цвд = 2,1 МПа.
На следующем этапе рекомендуется подключить по греющей среде деаэратор.
Давление среды в деаэраторе можно выбрать общепринятым - 0,7 МПа или несколько
иным, если это обосновано особо. Давление в отборе пара, на который подключают
деаэратор, обычно принимают на 40...45 % больше, чем давление в деаэраторе. Это
позволит обеспечить устойчивую работу деаэратора без переключения его на
коллектор собственных нужд в диапазоне мощности 70...100 %.
Оптимальное давление пара в отборе на деаэратор
рот.д.опт=1,4 × рд =1,4 × 0,7=0,98 МПа.
Принято решение подключить деаэратор на выход 4-ой ступени ЦВД с
давлением в отборе рвых4ст.цвд =0,98 МПа.
Остальные водоподогреватели системы регенерации следует распределить
равномерно между выходами пара из остальных ступеней ЦВД и ЦНД так, чтобы по
возможности был обеспечен равномерный нагрев питательной воды в водоподогревателях.
Наряду с оптимальной температурой питательной воды на выходе из последнего ПВД
равномерность нагрева питательной воды в водоподогревателях также обеспечивает
максимально возможный эффект от системы регенерации.
Для оценки рационального равномерного нагрева питательной воды при ее
движении по элементам системы регенерации следует определить возрастание
температуры питательной воды вдоль всей системы регенерации в целом и ее нагрев
распределить равномерно по элементам системы.
Общий нагрев питательной воды в системе регенерации
Dtрег = tпв - t3.
Если обеспечить равномерный нагрев питательной воды во всех
водоподогревателях (в том числе и в деаэраторе), то повышение температуры воды
в каждом подогревателе составит
Dtвп = Dtрег/zвп.
Используя эту величину можно оценить рациональное значение температуры
питательной воды на выходе из каждого водоподогревателя
tпввых. j-го ВП = t3 + Dtвп ×j
Если значение температуры воды на выходе из деаэратора, подключение
которого уже определено, существенно выпадает из полученной закономерности, то
можно рассмотреть равномерность нагрева воды отдельно для участков
конденсатно-питательной системы до деаэратора и после него.
С учетом полученных значений температуры питательной воды на выходе из
каждого водоподогревателя можно определить значения температуры греющей среды в
каждом водоподогревателе - на 3…4 оС больше для ВП поверхностного
типа и равной температуре нагреваемой среды для ВП смешивающего типа.
Так как температура греющей среды равна температуре насыщения в каждом ВП
(в том числе и в ВП, на которые поступает перегретый пар), то можно для каждого
ВП определить давление греющей среды.
Если принять по ранее рассмотренной методике потери давления в подводящих
паропроводах, то можно также определить необходимые значения давления в
соответствующих точках отбора пара.
Применительно к принятой в расчет энергоустановки указанные степени
нагрева питательной воды в подогревателях составляют:
- общий нагрев питательной воды в системе регенерации
Dtрег = tпв - t3 = 209,5 - 36 =173,5
оC;
- повышение температуры питательной воды в одном подогревателе
Dtвп = Dtрег/zвп
=173,5 / 8 = 21,6875 оC;
- повышение температуры питательной воды после деаэратора (в
подогревателях ПВД)
DtSпвд = tпв - tsд (р = 0,7 МПа) = 209,5 - 164,96 = 44,54 оC;
- повышение температуры питательной воды в одном ПВД
Dtпвд = DtSпвд/zпвд = 44,54/ 2 = 22,27 оC;
- повышение температуры питательной воды до ПВД (все ПНД и деаэратор)
DtSпнд = tsд - tвх.пнд1 = 164,96 - 36 = 128,96 оC;
- повышение температуры питательной воды в одном подогревателе системы
регенерации низкого давления
Таким образом, равномерность нагрева питательной воды в системе
регенерации в целом, на участке ПВД и до ПВД достаточно близки.
Для большей наглядности параметры теплообменивающихся сред в
водоподогревателях при равномерном нагреве питательной воды целесообразно
свести в таблицу - см. таблицу 2.
С учетом полученных значений давления пара в отборах необходимо внести
коррекцию в ранее принятый равномерный закон распределения теплоперепада по
ступеням турбины, представленный в таблице 1. Это удобно выполнить, сопоставив
значения параметров таблицы 1 и таблицы 2.
Таблица 2 - Параметры теплообменивающихся сред в ВП при равномерном
нагреве питательной воды
|
ВП
|
Температура питательной воды на выходе из ВП, оС
|
Нагрев воды в ВП, оС
|
Температура насыщения греющего пара в ВП, оС
|
Давление насыщения греющего пара в ВП, МПа
|
Потеря давления в подводящем паропроводе, %
|
Давление пара в отборе, МПа
|
|
ПВД-7
|
209,50
|
22,27
|
213
|
2,0251
|
3
|
2,086
|
|
ПВД-6
|
187,23
|
22,27
|
191
|
1,283
|
4
|
1,334
|
|
Д
|
164,96
|
21,49
|
164,96
|
0,7
|
40
|
0,98
|
|
ПНД-5
|
143,47
|
21,49
|
147
|
0,4389
|
6
|
0,4652
|
|
ПНД-4
|
121,98
|
21,49
|
125
|
0,23209
|
7
|
0,2483
|
|
ПНД-3
|
100,49
|
21,49
|
104
|
0,11668
|
8
|
0,1260
|
|
ПНД-2
|
79,00
|
21,49
|
79,00
|
0,045473
|
9
|
0,04957
|
|
ПНД-1
|
57,51
|
21,51
|
57,51
|
0,017737
|
10
|
0,01951
|
В результате разрабатывают окончательный вариант значений параметров пара
в проточной части турбины и в теплообменных аппаратах. Его также целесообразно
представить в табличной форме - таблица 3.
Точки, соответствующие полученным значениям параметров пара, следует
нанести на процессы расширения пара в диаграмме i-s (см. рисунок 2). Для того
чтобы скорректированные положения точек отличались от ранее обозначенных на
рисунке 2 (значения по таблице 1), точки окончательного расположения границ
ступеней турбины изображены в кружках, а номера точек показаны слева -
предварительных точек (по таблице 1) и справа - окончательных точек (по таблице
3).
Для обеспечения равномерного нагрева питательной воды в
водоподогревателях системы регенерации необходимо изменять положения точек на
линиях расширения пара в ЦВД и ЦНД. Однако при этом следует иметь в виду, что
добиться точного равномерного нагрева питательной воды в водоподогревателях не
всегда удается.
Трудность коррекции положения точек на линиях расширения пара связана с
тем, что положение некоторых точек уже зафиксировано и изменено быть не может.
К точкам, положение которых зафиксировано относятся:
·
точка подключения
последнего ПВД системы регенерации, так как ее положение определено значением
оптимальной температуры подогрева питательной воды в системе регенерации в
целом;
·
точка подключения
деаэратора, так как ее положение определено выбранным давлением в деаэраторе и
выбранным превышением давления подключения деаэратора над его давлением (запас
на возможные изменения мощности турбоагрегата);
·
точка окончания
расширения пара в ЦВД, так как для получения приемлемых значений влажности пара
на выходе из ЦВД и ЦНД выбрано и зафиксировано разделительное давление между
цилиндрами;
·
точка окончания
расширения пара в ЦНД, так как она определена выбранным значением давления в
ГК.
Дополнительные трудности обеспечения равномерного нагрева воды вызывает
также рекомендация подключать первый после деаэратора ПВД на общий с
деаэратором отбор. Такая рекомендация вызвана тем, что превышение давления пара
в отборе по сравнению с давлением в деаэраторе позволяет принять схему, в
которой от общего отбора может питаться и деаэратор (через регулирующее
устройство), и следующий за ним подогреватель высокого давления - первый ПВД
(непосредственно паром отбора). По такой схеме, например, было выполнено
подключение элементов ПТУ с турбиной К-1000-60/1500. Такое решение способствует
уменьшению количества отборов пара из корпуса турбины и, таким образом,
упрощает ее конструкцию. Правда, при этом первый ПВД становится заметно менее
эффективным по сравнению с другими ПВД, так как степень нагрева воды в нем
обычно незначительна (только за счет разности давлений до дросселирующего
устройства и после него). Это привело к тому, что в указанной выше установке с
таким вариантом подключения системы регенерации ПВД5 (первый ПВД после деаэратора)
из схемы исключили.
Некоторые трудности вызывает также соблюдение рекомендации о подключении
одного из регенеративных подогревателей так, чтобы он обогревался частью пара,
идущего на промежуточную сепарацию и перегрев, т.е. после последней ступени
ЦВД. Реализация этой рекомендации также позволяет сократить количество отборных
выводов из корпуса турбины и, следовательно, упростить ее конструкцию. По такой
схеме, например, выполнен отбор №4 в ПТУ с турбиной К-1000-60/3000.
Особую сложность обеспечения равномерного нагрева воды представляет
случай тихоходного турбоагрегата, в котором обычно количество отборов пара (по
количеству водоподогревателей) заметно меньше количества ступеней турбины,
после которых можно отбирать пар. Это приводит к необходимости значительно
уменьшать теплоперепады на ступенях, после которых не предусматривают отборы
пара («пропущенные» ступени).
Стремление к обеспечению равномерного нагрева питательной воды может
потребовать существенного нарушения равномерного распределения теплоперепадов
на ступенях турбины, что отрицательно сказывается на ее экономичности. В этом
случае приходится принимать компромиссные решения, обеспечивающие как
приемлемые решения по эффективности системы регенерации, так и по экономичности
проточной части турбины. При решении этих вопросов предпочтение в разумных
пределах следует отдавать обеспечению равномерного награва воды в системе
регенерации как более радикальному фактору, влияющему на экономичность
установки.
При составлении таблицы 3 можно рекомендовать следующий порядок поиска
компромиссных решений в определении положения точек на линиях расширения пара в
диаграмме i-s и заполнении граф таблицы 3:
·
нанести точки
входов и выходов ЦВД и ЦНД;
·
нанести точки,
определяющие отборы пара на последний ПВД (первый отбор) и на деаэратор;
·
если принят
вариант совмещения отбора пара на деаэратор и первый после деаэратора ПВД, то
эту точку также следует нанести на диаграмму i-s и поместить в
таблицу 3;
·
если принят
вариант отбора пара на водоподогреватель системы регенерации с выхода из ЦВД,
то следует нанести также эту точку;
·
методом подбора
установить точки отборов пара на остальные водоподогреватели таким образом,
чтобы, по возможности, сохранить равномерность нагрева воды в
водоподогревателях и равномерность распределения теплоперепадов в ЦВД и ЦНД.
Как уже отмечалось, предпочтение следует отдавать обеспечению равномерности
нагрева воды.
Заметим, что до первого отбора пара теплоперепады на ступенях не связаны
с нагревом воды. Однако так как может быть существенно изменено положение
первой точки отбора, то необходимо исправить положение и выше расположенных
точек. Теплоперепады на этих ступенях целесообразно принять примерно
одинаковыми. Разумеется, при этом их значения не будут соответствовать ранее определенному
среднему значению теплоперепада на ЦВД.
Применительно к данному расчету окончательный вариант параметров пара в
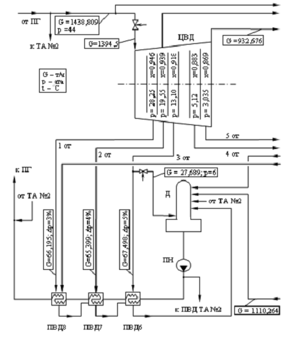
проточной части турбины и в водоподогревателях представлен в таблице 3.
После окончательного подключения регенеративных подогревателей к отборам
пара следует принять решение о схеме сливов конденсата греющего пара
поверхностных ВП - каскадный слив или установка дренажных насосов. Кроме того,
необходимо решить вопрос о применении охладителей дренажа в подогревателях. При
этом можно ориентироваться на прототипные решения. Однако следует иметь в виду,
что по ряду соображений в реальных установках, которые могут быть приняты как
прототипные, иногда отступают от оптимальных схемных решений.
В общем случае можно руководствоваться следующими соображениями:
а) для ПВД, как правило, применяют каскадный слив дренажей; все ПВД
снабжают встроенными охладителями дренажа;
б) для ПНД выделяют группы подогревателей (чаще всего не более двух-трех
подогревателей в группе), в пределах которых предусматривают каскадный слив
дренажей (с выносными охладителями дренажа), а из последнего подогревателя
группы (без охладителя дренажа) - откачку конденсата дренажным насосом с
подачей конденсата на выход нагреваемой среды из этого ПНД.
Выбор точек сливов сепарата, конденсата греющего пара пароперегревателя и
системы теплофикации - задача сложная и однозначного решения не имеет. Эти
точки подбирают с учетом параметров сепарата и конденсата. Точки возврата
целесообразно подобрать так, чтобы содержащаяся в них тепловая энергия частично
использовалась в подогреве питательной воды.
При выборе схемных решений можно руководствоваться следующими
рекомендациями. Если можно подобрать точку слива с давлением среды меньше
давления слива, то при этом исключается насос, обеспечивающий слив. В этом
случае схема системы упрощается, увеличивается ее надежность, не требуются
дополнительные энергозатраты на насос слива.
Что касается температуры среды, в которую осуществляется слив, то здесь
общие рекомендации сводятся к следующему. Нужно стремиться к тому, чтобы
температуры сливаемой среды и среды, в которую осуществляется слив, были
близки. Если температура сливаемой среды заметно ниже, то это приведет к
"захолаживанию" основного потока среды, что отрицательно скажется на
общем энергетическом балансе рабочего контура. Однако нецелесообразно также
принимать точку слива со значительно меньшей температурой основного потока
среды по сравнению с температурой сливаемой воды, так как при этом тепло,
содержащееся в сливаемом потоке, переводится на заметно меньший энергетический
уровень (происходит значительное "захолаживание" сливаемого потока).
Это также отрицательно скажется на общем энергетическом балансе рабочего
контура.
В каждом конкретном случае при выборе места слива следует учитывать соображения,
как по соотношению давлений сред, так и по соотношению их температур. Заметим,
что в реальных установках при решении этого вопроса иногда принимались во
внимание и иные соображения: простота прокладки трассы сливаемой среды,
простота подключения трассы сливаемой среды, соображения унификации
оборудования и пр.
Таблица 3 - Параметры пара в проточной части турбины
|
Параметры пара в проточной части
|
|
Положение точки в проточной части турбины
|
Давление, МПа
|
Степень сухости (темпе-ратура, оС)
|
Энталь-пия, кДж\кг
|
Теплопе-репад на ступени турбины, кДж/кг
|
Номер отбора
|
|
ЦВД
|
|
вход в 1 ст.
|
6,0
|
0,997
|
2778,80
|
-
|
-
|
|
выход из 1ст.
|
3,5
|
0,944
|
2703,22
|
75,58
|
-
|
|
выход из 2ст.
|
2,1
|
0,910
|
2629,24
|
73,98
|
1
|
|
выход из 3ст.
|
1,45
|
0,891
|
2576,64
|
52,60
|
2
|
|
выход из 4ст.
|
0,98
|
0,8735
|
2520,99
|
55,65
|
3
|
|
выход из 5ст.
|
0,6
|
0,856
|
2456,02
|
64,97
|
4
|
|
ЦНД
|
|
вход в 1 ст.
|
0,58
|
(255)
|
2968,29
|
-
|
-
|
|
выход из 1ст.
|
0,26
|
(184)
|
2834,82
|
133,47
|
5
|
|
выход из 2ст.
|
0,118
|
(118)
|
2710,88
|
123,94
|
6
|
|
выход из 3ст.
|
0,045
|
0,976
|
2586,11
|
124,77
|
7
|
|
выход из 4ст.
|
0,018
|
0,944
|
2473,33
|
112,78
|
8
|
|
выход из 5ст.
|
0,005
|
0,906
|
2333,40
|
139,93
|
-
|
Примеры компоновок систем регенерации, принятых в ПТУ АЭС Украины,
показаны в приложении Д на функциональных схемах рабочих контуров. В
рассматриваемом варианте расчета установки сливы дренажей греющего пара приняты
по следующей схеме:
·
из ПВД-7 каскадно
в полость греющей среды ПВД-6;
·
из ПВД-6 каскадно
в деаэратор;
·
из ПHД-5 насосом
слива сепарата из сепаратосборника в деаэратор;
·
из ПHД-4 каскадно
в полость греющей среды ПHД-3;
·
из ПHД-3 каскадно
в подогреватель смешивающего типа ПHД-2;
·
сепарат из
сепаратосборника насосом в деаэратор;
·
конденсат
греющего пара СПП насосом КГТH на выход нагреваемой среды ПВД-7.
В подогревателях ПВД-7 и ПВД-6 предусмотрены встроенные охладители
дренажа. В отличие от прототипной установки ПНД-4 и ПНД-3 приняты с
охладителями дренажа выносного типа.
.3 Компоновка системы теплофикации. Отбор пара на собственные нужды
При разработке схемы рабочего контура в целом необходимо также
разработать схему системы теплофикации и подключить ее к рабочему контуру.
Таблица 4
|
турбины
|
Параметры среды в водоподогревателе
|
|
Назначение отбора
|
Потеря давления в подводя-щем паро-проводе Dр, %
|
Давление греющего пара в ВП р = р отЧ Ч(1-Dр/ /100), МПа
|
Температу-ра насыще-ния грею-щего пара в ВП, оС
|
Температу-ра нагревае-мой воды на выходе из ВП tн = =tг - dt, оС
|
Нагрев питательной воды в ВП tн вых - tн вх, оС
|
|
ЦВД
|
|
-
|
-
|
-
|
-
|
-
|
-
|
|
-
|
-
|
-
|
-
|
-
|
-
|
|
ПВД-7
|
3
|
2,037
|
213,30
|
209,5
|
18,5
|
|
ПВД-6
|
4
|
1,392
|
194,77
|
191,0
|
26,04
|
|
Деаэратор
|
40
|
0,7
|
164,96
|
164,96
|
11,96
|
|
ПHД-5
|
6
|
0,564
|
156,43
|
153,0
|
30,0
|
|
ЦНД
|
|
-
|
-
|
-
|
-
|
-
|
-
|
|
ПHД-4
|
7
|
0,2418
|
126,33
|
123,0
|
25,0
|
|
ПHД-3
|
8
|
0,1086
|
101,93
|
98,0
|
21,55
|
|
ПHД-2
|
9
|
0,04095
|
76,45
|
76,45
|
20,85
|
|
ПHД-1
|
10
|
0,0162
|
55,60
|
55,60
|
19,60
|
|
-
|
-
|
-
|
-
|
-
|
В расчете в качестве исходных данных принимают тепловую нагрузку системы
теплофикации (задается потребителем тепла) и температурный режим сетевой воды.
Эти параметры могут быть оговорены в задании. Для двухконтурной установки
обычно предусматривают несколько последовательно включенных подогревателей
сетевой воды (два - три), при этом последний из них является пиковым (ПСВП),
т.е. он работает только в холодное время года при полной тепловой нагрузке
системы теплофикации.
Остальные подогреватели - основные первой и второй ступени (ПСВО1ст, ПСВО2ст).
Для энергоблока с электрической мощностью 1000 МВт в расчет можно принять
тепловую нагрузку системы теплофикации порядка 100 МВт. Если задана существенно
иная мощность энергоблока, то тепловую нагрузку системы теплофикации можно
принять пропорционально заданной мощности блока.
Температурный режим сетевой воды обычно составляет 70 оС на
входе в систему теплофикации, 150 оС на выходе из нее. В некоторых
случаях температуру сетевой воды на выходе принимают 130 оС.
Выбрав количество сетевых подогревателей, назначают температуру сетевой
воды на выходе из каждого подогревателя. При этом целесообразно ориентироваться
на прототипные данные. Структура и параметры систем теплофикации отечественных
двухконтурных АЭС приведены в приложении Е.
По принятому температурному режиму сетевой воды подбирают соответствующие
отборы пара. При этом допускается работа подогревателей сетевой воды при
неоптимальных температурных напорах, т.е. на выходе из подогревателя
температурный напор может быть не 3...4 оС (как в регенеративных
подогревателях), а значительно больше - до 20...30 оС. Иначе говоря,
с учетом малой тепловой мощности системы теплофикации не требуется коррекция
разбивки теплоперепадов турбины в интересах повышения эффективности рабочего
контура в целом.
Сливы конденсата греющего пара сетевых подогревателей обычно организуют
каскадно с последующей закачкой дренажным насосом в основной поток рабочего
тела. При этом точку возврата конденсата также подбирают таким образом, чтобы
температура дренажа была примерно равной температуре питательной воды или
несколько ее превышала. Возможен также безнасосный возврат дренажа в полость
греющей среды одного из водоподогревателей системы регенерации (см., например,
схему рабочего контура одноконтурной АЭУ с ЯР РБМК-1000).
Охладителей дренажа в системе теплофикации, как правило, не
предусматривают. В то же время в некоторых вариантах схемных решений они могут
быть целесообразны. Например, в АЭУ с турбиной К-1000-60/1500-1 (ЮУАЭС) сброс
конденсата греющего пара системы теплофикации предусмотрен каскадно с
окончательным сбросом конденсата в главный конденсатор. Поэтому перед подачей
на конденсатор конденсат греющего пара проходит через охладитель дренажа с тем,
чтобы более полно использовать тепловую энергию греющего пара.
Расчетную схему системы теплофикации следует представить в пояснительной
записке.
Применительно к рассматриваемому примеру энергоустановки расчетная схема
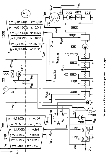
системы теплофикации представлена на рисунке 7.
Рисунок 7 - Расчетная схема системы теплофикации
В расчет принята система теплофикации с тепловой нагрузкой 100 МВт и со
следующими параметрами сетевой воды: температура на выходе из системы t сввых
= 150 оС; температура на входе в систему t сввх
= 70 оС; давление в системе рсв = 2,5 МПа. Столь
значительное давление сетевой воды принято для того, чтобы исключить попадание
в нее радиоактивных примесей рабочего пара через возможные неплотности трубной
системы подогревателей воды. Радиоактивные примеси в паре могут появиться в
случае аварийной течи в ПГ.
Для полного составления расчетной схемы рабочего контура необходимо также
схемно решить вопрос отбора пара на собственные нужды (СН) и место возврата
конденсата среды в контур.
Для двухконтурной установки отбор пара на СН обычно осуществляют
непосредственно из рабочего контура - из соответствующего отбора пара на
регенерацию. Точку отбора пара принимают такой, чтобы давление пара в системе
СН составляло 1,0...1,2 МПа. Например, в ПТУ с турбиной К-1000-60/3000 это III
отбор с давлением 9,8 кгс/см2, в ПТУ с турбиной К-1000-60/1500-2 это
III отбор с давлением 12,3 кгс/см2. Что касается редукционного
устройства питания системы СН от паропровода свежего пара (БРУ СН), то его
следует рассматривать как резервное средство питания потребителей. В расчетной
схеме рабочего контура эту ветвь можно не показывать.
Возврат конденсата пара собственных нужд в рабочий контур может быть
организован по-разному в зависимости от глубины использования энергии пара в
различных потребителях системы. Для упрощения расчетов можно принять, что одна
треть конденсата с температурой около 130 оС и давлением 0,8...1,0
МПа (горячие сливы) направляется в деаэратор (СН1), а две трети конденсата
(холодные сливы) - в главный конденсатор с параметрами конденсата конденсатора
(СН2).
В расчетной схеме следует также учесть утечки пара, которые обычно
относят к свежему пару (в количестве 0,003...0,005 от расхода пара на главную
турбину). Восполнение утечек производится в таком же количестве в главный
конденсатор (с параметрами конденсата конденсатора).
Все принятые схемные решения для рабочего контура следует зафиксировать
на детально разработанной расчетной схеме. При этом можно ограничиться
обобщенным изображением тех элементов схемы, которые в реальной установке
представлены несколькими параллельно включенными элементами одинакового
назначения: однопоточный ЦВД, обобщенный однопоточный ЦНД, главный конденсатор,
сепаратор-пароперегреватель, деаэратор, регенеративные подогреватели, насосы и
др.
На схеме должны быть представлены все отборы рабочего тела из рабочего
контура и их возвраты, т.е. все ветви рабочего контура должны быть замкнуты.
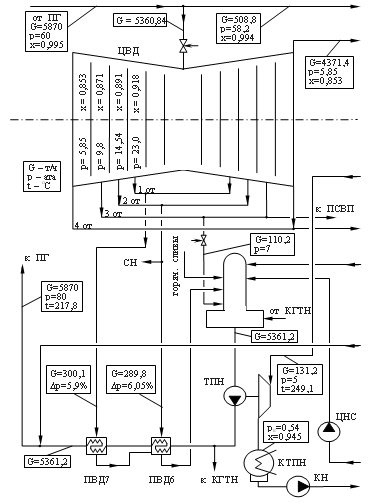
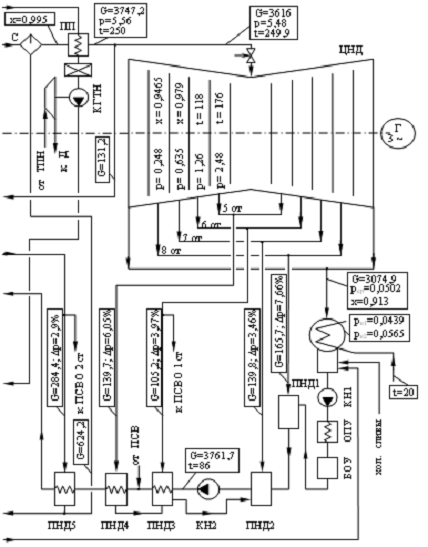
Применительно к рассматриваемому примеру расчета установки расчетная
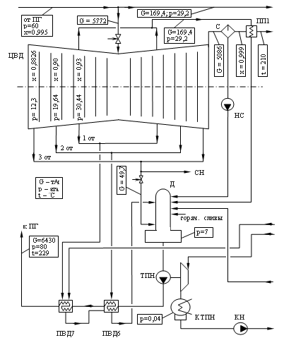
схема рабочего контура представлена на рисунке 8.
Рисунок 8
5. Расчет рабочего контура
.1 Общие рекомендации по выполнению расчета рабочего контура
Цель расчета рабочего контура - определение значений расходов рабочего
тела во всех его ветвях - расход основного потока пара на главную турбину Gт,
на пароперегреватель Gпп, а также расход пара в каждом i-том отборе
Gот i. Для этого необходимо составить и совместно разрешить систему
уравнений тепловых балансов теплообменных аппаратов рабочего контура -
пароперегревателя, регенеративных подогревателей воды, деаэратора, сетевых
подогревателей воды системы теплофикации. Значения расходов пара на собственные
нужды Gсн и величину протечек Gпр в расчет принимают (с
учетом прототипных данных).
.2 Расходы пара на систему теплофикации
Обычно расчет начинают с составления уравнения теплового баланса системы
теплофикации в целом. Это уравнение позволяет получить значение расхода сетевой
воды в соответствии с принятой тепловой нагрузкой системы и ее температурным
режимом. Затем составляют уравнения тепловых балансов отдельных подогревателей
сетевой воды. Если в составе системы теплофикации предусмотрен охладитель
дренажа, то уравнение теплового баланса составляют общее - для подогревателя
сетевой воды и его охладителя дренажа.
Для принятого в расчет температурного режима системы теплофикации и ее
тепловой нагрузки разрешение такой системы уравнений тепловых балансов дает
численные значения расходов пара на ее подогреватели. В последующем эти расходы
пара используются при составлении уравнений тепловых балансов других элементов
рабочего контура.
Для элементов системы теплофикации первым целесообразно рассмотреть
уравнение теплового баланса для пикового подогревателя - первого по каскадному
сливу дренажа. Затем рассматривают последующие подогреватели.
В расчете системы теплофикации коэффициент удержания тепла в системе в
целом обычно принимают низким. Из-за большой протяженности системы он может
составлять 0,90…0,95. Значения коэффициентов удержания тепла отдельных
теплообменных аппаратов системы могут быть приняты того же порядка, что и для
теплообменных аппаратов системы регенерации, питающихся от общих с ними отборов
пара. Для их оценки можно воспользоваться эмпирической зависимостью h = 1 - r × 10-3 (где r - номер
теплообменного аппарата системы регенерации). Более детально указанная
эмпирическая зависимость будет рассмотрена позже.
Потери давления пара в подводящих паропроводах можно принять такими же,
как и для соответствующих водоподогревателей системы регенерации - см. п.4.2.
С учетом принятой расчетной схемы системы теплофикации и точек ее
подключения к рабочему контуру параметры теплообменивающихся сред приведены в
таблице 5.
Таблица 5 - Параметры теплообменивающихся сред в аппаратах системы
теплофикации
|
Наименование аппарата
|
ПСВП
|
ПСВО 2ст
|
ПСВО 1ст
|
|
греющая среда (греющий пар)
|
|
Номер отбора пара (см. рисунок 6)
|
4
|
5
|
6
|
|
Давление среды в точке отбора пара, МПа (см. рисунок 6)
|
0,6
|
0,26
|
0,118
|
|
Потеря давления пара в подводящем трубо-проводе (по
основным отборам пара), % (см. таблицу 3)
|
6
|
7
|
8
|
|
Давление среды в аппарате, МПа (см. таблицу 3)
|
0,564
|
0,242
|
0,109
|
|
Температура насыщения в аппарате, оС (t=ts(p))
|
156,43
|
126,33
|
101,933
|
|
Энтальпия на входе в аппарат, кДж/кг (см. таблицу 3)
|
2456,02
|
2834,8
|
2710,88
|
|
Энтальпия на выходе из аппарата, кДж/кг (i=i¢(p))
|
659,98
|
530,76
|
427,71
|
|
Коэффициент удержания тепла (значения, соот-ветствующие
водоподогревателям системы регенерации - по эмпирической зависимости)
|
0,995
|
0,996
|
0,997
|
|
нагреваемая среда (сетевая вода)
|
|
Давление среды, МПа (принято в расчет)
|
2,5
|
2,5
|
2,5
|
|
Температура на входе в аппарат, оС (см. рисунок
6)
|
120
|
90
|
70
|
|
Энтальпия на входе в аппарат, кДж/кг (i=i(p,t))
|
378,8
|
295,0
|
|
Температура на выходе из аппарата, оС (см.
рисунок 6)
|
150
|
120
|
90
|
|
Энтальпия на выходе из аппарата, кДж/кг (i=i(p,t))
|
633,4
|
505,3
|
378,8
|
При составлении таблицы параметров теплообменивающихся сред следует
обратить внимание на то, что для каждого аппарата температура греющей среды
должна быть выше температуры нагреваемой среды (в том числе на выходе из
аппарата).
Уравнение теплового баланса системы теплофикации в целом
cт = Gсв (icввых - iсввх)
h;
×103 = Gсв(633,4 - 295,0) ×0,94
Отсюда расход сетевой воды равен Gсв = 314,37 кг/с.
Уравнение теплового баланса пикового подогревателя
hпсвп Gг(iвхг
- iвыхг) = Gн(iвыхн - iвхн);
,995 Gг (2456,02 - 659,98) = 314,37 (633,4 - 505,3).
Отсюда расход греющего пара на пиковый подогреватель равен псвп
= Gг = 22,53 кг/с.
Уравнение теплового баланса основного подогревателя 2-й ступени
hпсво2ст[Gг1(iвхг1
- iвыхг) + Gг2(iвхг2 - iвыхг)]
= Gн(iвыхн - iвхн);
,996[Gг1(2834,82 - 530,76) + 22,53(659,98 - 530,76)] =
314,37(505,3-378,8).
Отсюда расход греющего пара на подогреватель 2-й ступени равен
Gпсво2ст = Gг1 = 16,07 кг/с.
Уравнение теплового баланса основного подогревателя 1-й ступени
hпсво1ст[Gг1(iвхг1
- iвыхг) + Gг2(iвхг2- iвыхг)]
= Gн(iвыхн-iвхн);
,997[Gг1(2710,88-427,71)+(22,53+16,07)∙(530,76-427,71)]
= 314,37(378,8-295).
Отсюда расход греющего пара на подогреватель 1-й ступени равен
Gпсво1ст = Gг1 = 9,83 кг/с.
Возврат дренажа из ПСВ в линию основного конденсата между ПНД-3 и ПНД-4: псв
= Gпсвп + Gпсво2ст + Gпсво1ст = 22,53 + 16,07
+ 9,83 = 48,43 кг/с.
.3 Расход пара на собственные нужды и протечки
Количество пара, отбираемого на технологические нужды двухконтурных АЭС
(расход пара на собственные нужды СН), определяется мощностью АЭС,
особенностями принципа действия принятой в расчет АЭУ АЭС и АЭС в целом. Анализ
данных различных двухконтурных блоков АЭС показывает, что в расчет АЭУ можно
приближенно принять расход пара на собственные нужды примерно в 100...150 т/ч
(27,8...41,7 кг/с) для АЭС с электрической мощностью в 1000 МВт. Если мощность
станции иная, то расход пара на собственные нужды можно принять пропорционально
ее мощности.
Применительно к принятой в расчет установки расходы пара составляют:
Расход пара на собственные нужды - в расчет принято Gсн = 41
кг/с.
Отбор пара на СН - из отбора 3:
рот3 = 0,98 МПа; iсн = 2520,99 кДж/кг (см. таблицу
3).
Возврат Gсн1= 14 кг/с - в деаэратор (горячие сливы):
рсн1 = 0,9 рот3 =0,9 × 0,98 = 0,882 МПа; tсн1 = 130
оС; сн1 = i(рсн1, tсн1) = 546,729
кДж/кг.
Возврат Gсн2 = 27 кг/с в главный конденсатор (холодные сливы):
рсн2 = ргк = 5 кПа; iсн2 = i¢(ргк) = 137,77 кДж/кг.
Расход пара на протечки - в расчет принято Gпр = 0,004Gт.
Отбор на протечки - свежий пар:
i првых = iпг= 2778,8 кДж/кг.
Возврат протечек в главный конденсатор: првх = i¢(ргк) = 137,77 кДж/кг.
.4 Уравнения материальных балансов рабочего контура
Уравнения материальных балансов для каждого теплообменного аппарата
составляют с учетом разработанной схемы рабочего контура (см. рисунок 7). При
этом целесообразно предварительно составить перечень значений расходов рабочего
тела в соответствующих ветвях рабочего контура, которые подлежат определению.
Обычно это расход пара на главную турбину Gт, расход греющего пара
на пароперегреватель Gпп (если пароперегреватель двухступенчатый, то
это Gпп1 и Gпп2) и расходы пара в отборах Gот i.
Другие расходы сред в уравнениях материальных балансов следует выразить только
через эти расходы, подлежащие определению.
При составлении уравнений материального баланса (а в последующем и при
составлении уравнений теплового баланса) водоподогреватели, содержащие в своем
составе охладители дренажа греющей среды, целесоообразно рассматривать как
единое целое, т.е. уравнения баланса следует составлять для ВП и его ОД как
уравнение баланса одного теплообменного аппарата.
Уравнения материальных балансов содержат расходы сред, используемые также
в уравнениях тепловых балансов. Поэтому составление уравнений материальных
балансов можно рассматривать как подготовительный этап для составления
уравнений тепловых балансов.
Каждое уравнение материального баланса (и соответствующее уравнение
теплового баланса) обычно включает в себя несколько значений расходов сред в
ветвях рабочего контура как по греющей среде, так и по среде нагреваемой.
Некоторую сложность представляет собой составление выражения расхода
нагреваемой среды в каждом теплообменном аппарате. Для решения этого вопроса
целесообразно прежде всего записать расход среды на выходе из ЦНД (на входе в
ГК), вычитая из расхода пара на турбину все отбираемые расходы:
Gвых
цнд = Gвх гк = (Gт -
Gот
i) × хцвд - G птпн -
Gот i.
При
этом расход конденсата на выходе из ГК составит:
вых гк = Gвх гк
+ Gсн2 + Gпр + G птпн = (Gт
-
Gот i) × хцвд -
Gот i + Gсн2 + Gпр
Заметим,
что количество неизвестных величин, подлежащих определению при расчете рабочего
контура, всегда на одну больше количества теплообменных аппаратов, для которых
можно составить уравнения балансов. Поэтому предлагается временно считать
значение расхода пара на главную турбину Gт величиной известной. Это
приведет к тому, что при разрешении системы уравнений балансов значения
расходов пара в ветвях контура будут выражены через Gт. Значение Gт
будет раскрыто на заключительном этапе расчета через заданную мощность
генератора электроэнергии.
Обычно
неизвестных величин расходов пара достаточно много - 10...12. Количество
уравнений должно быть таким же. Поэтому система уравнений громоздка, а
совместное решение ее трудоемко. В то же время многие из уравнений охватывают
не все неизвестные величины. Иногда удается выявить группу уравнений,
охватывающих небольшое количество одинаковых неизвестных величин. Тогда
разрешение такой группы уравнений может быть выполнено автономно. Разрешение
такой группы существенно менее трудоемко. В некоторых случаях удается выделить
отдельные уравнения, которые могут быть разрешены автономно. Причем, если есть
уравнение, которое включает в себя одну неизвестную величину, то это уравнение
следует разрешить первым, а в последующих уравнениях полученную величину можно
использовать как известное значение. Анализ состава уравнений материальных
балансов по перечню входящих в них неизвестных величин (расходов сред) позволит
выявить рациональную последовательность составления и разрешения уравнений
тепловых балансов.
Кроме
того, уравнение материального баланса деаэратора (аппарата смешивающего типа с
большим количеством входов) может быть использовано для самопроверки
правильности составления расходов сред во всех входах деаэратора. Для этого
значения расходов сред на входах в деаэратор следует сложить и сумму сравнить
со значением расхода воды на выходе из деаэратора. При этом значение расхода на
выходе следует получить, двигаясь от парогенератора. Его массовая
паропроизводительность обычно составляет сумму расходов пара на турбину Gт,
на пароперегреватель Gпп (или на его вторую ступень Gпп2,
если пароперегреватель двухступенчатый) и протечки пара Gпрот.
Применительно к варианту установки, принятой в расчет, последовательность
составления уравнений материальных балансов рабочего контура следующая.
Перечень расходов сред, определяемых из расчета рабочего контура:т
- расход пара на входе в ЦВД.пп - расход греющего пара на
пароперегреватель;от1 - расход греющего пара отбора №1 (на ПВД-7);от2
- расход греющего пара отбора №2 (на ПВД-6);от3 - расход греющего
пара отбора №3 (на деаэратор и СH);от4 - расход греющего пара отбора
№4 (на ПHД-5 и ПСВП);от5 - расход греющего пара отбора №5 (на ПHД-4
и ПСВО 2ст);от6 - расход греющего пара отбора №6 (на ПHД-3 и ПСВО
1ст);от7 - расход греющего пара отбора №7 (на ПHД-2);от8
- расход греющего пара отбора №8 (на ПHД-1);
.4.3 Уравнение материального баланса ПHД-1:
вх1 + Gвх2 = Gвых;
Gвх2
= Gвых гк = (Gт -
Gот
i) × хцвд -
Gот
i + Gсн2 + Gпр;вых = (Gт -
Gот i) × хцвд
-
Gот i. + Gсн2 + Gпр
Неизвестные расходы, входящие в уравнение: от1, Gот2,
Gот3, Gот4,Gот5,Gот6, Gот7,
Gот8.
Уравнение материального баланса ПHД-2:
вх1 + Gвх2 + Gвх3 = Gвых; вх1 =
Gот7;вх2 = Gот5 + Gот6 - Gпсво2ст
- Gпсво1ст;
Gвх3
= Gвых пнд1 = (Gт -
Gот i) × хцвд -
Gот i + Gсн2 + Gпр;вых
= (Gт -
Gот i) × хцвд
+ Gсн2 + Gпр - Gпсво2ст - Gпсво1ст.
Неизвестные расходы, входящие в уравнение: от1, Gот2,
Gот3, Gот4,Gот5,Gот6, Gот7.
Уравнения материальных балансов ПHД-3:
гвх1 + Gгвх2
= Gгвых; Gнвх = Gнвых.гвх1
= Gот6 - Gпсво1ст; гвх2 = Gот5
- Gпсво2ст;гвых = Gот6 - Gпсво1ст
+ Gот5 - Gпсво2ст;
Gн
= Gвых пнд2 = (Gт -
Gот i) × хцвд +
Gсн2 + Gпр - Gпсво2ст - Gпсво1ст.
Неизвестные расходы, входящие в уравнения: от1, Gот2,
Gот3, Gот4,Gот5, Gот6.
Уравнения материальных балансов ПHД-4:
гвх = Gгвых;
Gнвх1 + Gнвх2 = Gнвых.г
= Gот5 - Gпсво2ст;
Gн
вх1 = Gн пнд3 = (Gт -
Gот i) × хцвд +
Gсн2 + Gпр - Gпсво2ст - Gпсво1ст;
Gнвх2 = Gпсв = Gпсвп + Gпсво2ст
+ Gпсво1ст;
Gнвых
= (Gт -
Gот i) × хцвд +
Gсн2 + Gпр + Gпсвп.
Неизвестные расходы, входящие в уравнения: Gот1, Gот2,
Gот3, Gот4, Gот5.
Уравнения материальных балансов ПHД-5:
гвх = Gгвых;
Gнвх = Gнвых.г = Gот4
- Gпсвп;
Gн
= Gнвых пнд4 = (Gт -
Gот i) × хцвд +
Gсн2 + Gпр + Gпсвп.
Неизвестные расходы, входящие в уравнения: Gот1, Gот2,
Gот3, Gот4.
Уравнение материального баланса деаэратора:
вх1 + Gвх2 + Gвх3 + Gвх4+ Gвх5+
Gвх6 = Gвых;вх1 = Gот3 - Gсн;
вх2 = Gсн1;вх3 = Gот1 + Gот2;вх4
= Gот4 - Gпсвп;
Gвх5
= Gс = (Gт -
Gот
i) × (1 - хцвд);вх6 = Gн пнд5
= (Gт -
Gот i) × хцвд
+ Gсн2 + Gпр + Gпсвп;
Gвых = Gт + Gпр.
Неизвестные расходы, входящие в уравнение: Gот1, Gот2,
Gот3, Gот4.
Проверка правильности составления расходов на деаэратор:
Gот3
- Gсн + Gсн1+ Gот1 + Gот2+ Gот4
- Gпсвп +(Gт -
Gот
i) × (1- хцвд)+
+
(Gт-
Gот i) × хцвд
+ Gсн2 + Gпр + Gпсвп = Gт + Gпр.
Уравнения материальных балансов ПВД-6:гвх1 + Gгвх2
= Gгвых; Gнвх = Gнвых.гвх1
= Gот2; гвх2 = Gот1;
гвых = Gот1
+ Gот2;н = Gнвых д
= Gт + Gпр.
Неизвестные расходы, входящие в уравнения: Gот1, Gот2.
Уравнения материальных балансов ПВД-7:гвх = Gгвых;
Gнвх = Gнвых.г = Gот1;
н
= Gн пвд6 = Gт+ Gпр.
Неизвестный расход, входящий в уравнения: Gот1.
Уравнения материальных балансов пароперегревателя:
Gг вх = Gг вых; Gнвх = Gнвых.; Gг = Gпп;
Gн
= Gвыхцвд × хцвд
= (Gт -
Gот i) × хцвд.
Для наглядности перечня неизвестных расходов, входящих в уравнения
материальных балансов, целесообразно свести их в таблицу.
Таблица 6 - Неизвестные расходы, входящие в уравнения
|
Наименование уравнений материальных балансов
|
Расходы рабочего тела
|
|
Gот1
|
Gот2
|
Gот3
|
Gот4
|
Gот5
|
Gот6
|
Gот7
|
Gот8
|
Gпп
|
|
Уравнение: ПНД-1
|
Å
|
Å
|
Å
|
Å
|
Å
|
Å
|
Å
|
Å
|
|
|
ПНД-2
|
Å
|
Å
|
Å
|
Å
|
Å
|
Å
|
Å
|
|
|
|
ПНД-3
|
Å
|
Å
|
Å
|
Å
|
Å
|
Å
|
|
|
|
|
ПНД-4
|
Å
|
Å
|
Å
|
Å
|
Å
|
|
|
|
|
|
ПНД-5
|
Å
|
Å
|
Å
|
Å
|
|
|
|
|
|
|
деаэратора
|
Å
|
Å
|
Å
|
Å
|
|
|
|
|
|
|
ПВД-6
|
Å
|
Å
|
|
|
|
|
|
|
|
|
ПВД-7
|
Å
|
|
|
|
|
|
|
|
|
|
ПП
|
Å
|
Å
|
Å
|
Å
|
|
|
|
|
Å
|
С учетом перечня неизвестных расходов, входящих в уравнения материальных
балансов, принята последовательность решения уравнений тепловых балансов:
ПВД-7 - определяется Gот1;
ПВД-6 - определяется Gот2;
деаэратор и ПHД-5 решаются совместно: определяются Gот3 и Gот4;
ПHД-4 - определяется Gот5;
ПHД-3 - определяется Gот6;
ПHД-2 - определяется Gот7;
ПHД-1 - определяется Gот8;
пароперегреватель - определяется Gпп.
.5 Параметры теплообменивающихся сред рабочего контура
Нагреваемая среда в поверхностных теплообменных аппаратах рабочего
контура - однофазная среда, находящаяся вне линии насыщения (недогретая вода
или перегретый пар). Для определения энтальпии такой среды требуется знание ее
температуры и давления.
Температурный режим в конденсатно-питательной системе рассмотрен ранее и
отражен в таблице 3. Температурный режим перегреваемого пара также рассмотрен
ранее в подразделе 3.6.
Температура нагреваемой среды на входе в поверхностный подогреватель
принимается равной температуре среды на выходе из предыдущего подогревателя.
При совместном рассмотрении всех поверхностных подогревателей можно таким
образом оценить значения принимаемых в расчет температур нагреваемой среды для
всех подогревателей на входе и на выходе из них.
Что касается давления нагреваемой среды в подогревателях, то оно
определяется давлением в начальной и конечной точках участка
конденсатно-питательной системы, давлением соответствующего насоса (КН1, КН2,
ПН) и гидравлическими сопротивлениями элементов системы. Все эти параметры
конденсатно-питательной системы входят составными слагаемыми в расчетные
выражения для определения давления соответствующего насоса. Имея значения
давлений насосов и значения их составляющих можно оценить давления среды на
входе и выходе каждого водоподогревателя (ВП).
Давление (напор) каждого насоса определяется разностью давлений в точке,
куда подается перекачиваемая жидкость, и в точке забора жидкости,
гидравлическими сопротивлениями тракта, а также геодезической составляющей -
разностью давлений на концевых участках тракта, вызванной разностью высот их
расположения. Гидравлические сопротивления конденсатной системы от главного конденсатора
до деаэратора преодолеваются конденсатными насосами, после деаэратора -
питательным насосом.
Конденсатных насосов может быть два: первого подъема КН1 (преодолевает
гидравлические сопротивления от главного конденсатора до выхода из блочной
обессоливающей установки) и второго подъема КН2 (преодолевает гидравлические
сопротивления участка конденсатного трубопровода, охватывающего все
подогреватели низкого давления поверхностного типа). Питательная система для
АЭС обычно компонуется по одноподъемной схеме. Питательный насос АЭС
преодолевает гидравлические сопротивления всех подогревателей высокого
давления, питательного трубопровода, питательного регулирующего клапана,
парогенератора.
Вид приведенных ниже зависимостей для определения давлений конденсатных
насосов первого и второго подъема ркн1 и ркн2 и
питательного насоса рпн определяется компоновкой и составом
конденсатной и питательной систем. В качестве примера приведены расчетные
зависимости для случая, когда между КН1 и КН2 установлены подогреватели низкого
давления ПНД-1 и ПНД-2 смешивающего типа, проток воды через которые
обеспечивается за счет установки подогревателей на разной высоте.
Рассмотрим структуру этих выражений применительно к варианту ПТУ с
турбиной К - 1000 - 60 / 3000. В этом случае выражение для определения давления
КН1 может быть записано в виде
ркн1 = рпнд-1 - ргк + Dрбоу + Dропу + Dрк.тр + Dррку гк + Dргеод,
где рпнд-1 - давление в смешивающем ПНД1 (определяется
давлением отбора пара на ПНД1 за вычетом гидравлических сопротивлений
трубопровода греющего пара);
ргк - давление в главном конденсаторе;
Dрбоу - гидравлическое сопротивление блочной обессоливающей
установки. В расчет можно принять Dрбоу = 0,3...0,5 МПа;
Dропу - гидравлическое сопротивление охладителя пара
уплотнений, Dропу
= 0,05...0,07 МПа;
Dрк.тр - гидравлическое сопротивление участка конденсатного
трубопровода, Dрк.тр
= 0,1...0,2 МПа;
Dррку гк - гидравлическое сопротивление регулирующего клапана
уровня ГК, Dррку гк
= 0,2...0,4 МПа;
Dргеод - противодавление подъема воды на ПНД1 от уровня воды в
конденсатосборнике главного конденсатора. Уровень расположения ПНД1 должен быть
достаточным для обеспечения каскадного слива воды из ПНД1 в ПНД2. Обычно
разность высот расположения конденсатосборника и ПНД1 составляет 12...17 м.
В рекомендованных пределах величин верхние значения относятся к
установкам с турбинами большой мощности - более 200 МВт.
Выражение для определения давления конденсатного насоса второго подъема
может быть записано в виде
ркн2 = рд - рпнд-2 + Dрк.тр + SDрпнд + Dррку пнд2 + Dргеод,
где рд - давление в деаэраторе;
рпнд2 - давление в смешивающем подогревателе ПНД2
(определяется давлением отбора пара на ПНД2 за вычетом гидравлических
сопротивлений трубопровода греющего пара);
Dрк.тр - гидравлическое сопротивление участка конденсатного
трубопровода, Dрк.тр
= 0,1...0,2 МПа;
SDрпнд - суммарные гидравлические сопротивления ПНД
поверхностного типа. В расчет можно принять сопротивление одного ПНД порядка
0,07...0,10 МПа;
Dррку пнд2 - гидравлическое сопротивление регулирующего клапана
уровня ПНД2, Dррку пнд2
= 0,2...0,4 МПа;
Dргеод - противодавление подъема воды в деаэратор от уровня
воды в ПНД2. Уровень расположения деаэратора должен быть достаточным для
обеспечения подпора на всасывании питательного насоса. Обычно разность высот
деаэратора и ПНД2 составляет 25...30 м.
Если конденсатная система, охватывающая элементы системы регенерации,
скомпонована иначе, то рассмотренные зависимости могут принять несколько иной
вид, но принцип их составления остается тем же. Например, если в составе
конденсатной системы предусмотрено два конденсатных насоса (первого и второго
подъема), между которыми нет развязывающего участка со смешивающими
подогревателями, то в расчет принимают условную развязывающую точку - точку на
выходе из КН1 (она же на входе в КН2). Давление в этой точке можно принять в
диапазоне от 0,2...0,3 МПа до 1...1,5 МПа. При этом для КН1 Dргеод составляет 2...3 м,
а для КН2 Dргеод
= 20...30 м.
Аналогично можно составить расчетную зависимость для определения давления
питательного насоса:
рпн = рпг- рд + Dрпг + Dрп.тр + Dрпк + SDрпвд + Dррку д + Dргеод,
где рпг - давление генерируемого пара;
рд - давление в деаэраторе;
Dрпг - гидравлическое сопротивление парогенератора. В расчет
можно принять Dрпг
~ 0,3 МПа;
Dрп.тр - гидравлическое сопротивление питательного
трубопровода, Dрп.тр
= 0,2...0,3 МПа;
Dрпк - гидравлическое сопротивление питательного клапана,
регулирующего подачу питательной воды в парогенератор. В расчет можно принять
величину Dрпк
примерно в 1 МПа;
SDрпвд - суммарные гидравлические сопротивления ПВД. В расчет
можно принять сопротивление одного ПВД порядка 0,5 МПа;
Dррку д - гидравлическое сопротивление клапана,
регулирующего уровень воды в деаэраторе. Его значения можно принять 0,2…0,4
МПа;
Dргеод - противодавление подъема воды в парогенератор. Эта
величина составляет разность между возвышением ПГ и деаэратора над питательным
насосом. Для двухконтурных АЭУ Dргеод может составлять величину от -(7...8) м (деаэратор
расположен выше парогенератора) до 0...1 м (деаэратор и парогенератор
практически на одном уровне).
Во всех трех выражениях для расчета давления насосов в качестве одной из
составляющих гидравлических сопротивлений контура учитывается величина Dррку - сопротивление
автоматического регулирующего клапана уровня (РКУ). Это означает, что на напоре
каждого из насосов установлен клапан, который за счет частичного прикрытия
регулирует уровень воды в емкости, из которой происходит откачка воды: для КН1
- РКУ конденсатосборника ГК, для КН2 - РКУ ПНД-2, для ПН - РКУ Д. Могут быть и
иные схемные решения, обеспечивающие поддержание уровня воды в указанных
емкостях. Тогда такие схемные решения должны найти соответствующее отражение в
расчетных зависимостях для давления насосов.
Применительно к варианту принятой в расчет энергоустановки определение
давления насосов конденсатно-питательной системы и давлений среды в ее
характерных точках изложено ниже.
Давление конденсатного насоса первого подъема
ркн1 = рпнд-1 - ргк + Dрбоу + Dропу + Dрк.тр + Dррку гк + Dргеод = 0,0162 - 0,005 0,3 + 0,055 +
0,12 + 0,3 + 0,15 = 0,9362 МПа.
В расчет принято ркн1 = 0,95 МПа.
Давление конденсатного насоса второго подъема
ркн2 = рд - рпнд-2 + Dрк.тр + SDрпнд + Dррку пнд2 + Dргеод = 1,85905 МПа.
В расчет принято ркн2 = 1,9 МПа.
Давление питательного насоса
рпн = рпг- рд + Dрпг + Dрп.тр + Dрпк + SDрпвд + Dррку д + Dргеод = 6,4 - 0,7 +
+ 0,3 + 0,3 + 1,0 + 2×0,5 + 0,4 + 0,0 = 8,7 МПа.
В расчет принято рпн = 8,7 МПа.
Заметим, что давление воды вдоль тракта конденсатной системы снижается,
так как происходит преодоление гидравлических сопротивлений тракта. Температура
же воды возрастает, так как в каждом водоподогревателе вода дополнительно
нагревается. Сочетание температуры и давления воды должно быть таким, чтобы на
всем ее пути (в том числе и в конце тракта) вода оставалась бы недогретой до
кипения. При правильной компоновке рабочего контура это обеспечивается тем, что
в последнем ПНД используется греющий пар с температурой ниже температуры
греющего пара а деаэраторе. Однако, во избежание ошибок целесообразно проверить
сочетание температуры воды на выходе из последнего ПНД.
Что касается сочетания давления и температуры воды в питательном
трубопроводе, то здесь вода находится под весьма значительным давлением ПН.
Поэтому температура воды на выходе их последнего ПВД обычно значительно ниже
температуры насыщения.
Для большей наглядности распределения температур и давлений нагреваемой
среды по тракту конденсатно-питательной системы (того ее участка, который
охватывает подогреватели поверхностного типа) целесообразно показать ее схему и
совместить схему с графиком изменения давления и температуры нагреваемой среды.
Применительно к рассматриваемому варианту энергоустановки схема и график
изменения параметров показаны на рисунке 9.
Рисунок 9 - График изменения давления и температуры нагреваемой среды в
поверхностных водоподогревателях системы регенерации
Численные значения давления и температуры нагреваемой среды представлены
также в таблице 7.
Энтальпию среды на входе и выходе подогревателей системы определяем по
сочетанию значений давления и температуры в соответствующих точках. Тепловой
энергией, выделяющейся в нагреваемой среде при ее дросселировании на участках
конденсатно-питательной системы, а также рассеянием тепла в окружающую среду
пренебрегаем.
Таблица 7 - Параметры нагреваемой среды поверхностных теплообменных
аппаратов
|
Вход и выход нагреваемой среды
|
Давление среды, МПа
|
Темпера-тура среды, оС
|
Энтальпия среды, кДж/кг
|
Примечание
|
|
ПВД-7 -вх -вых
|
8,62 8,12
|
191 209,5
|
815,4 897,7
|
|
|
ПВД-6 -вх -вых
|
9,18 8,68
|
164,96 191
|
702,0 815,5
|
|
|
ПНД-5 -вх -вых
|
1,18 1,08
|
123 153
|
517,16 645,51
|
|
|
ПНД-4 -вх1 -вх 2 -вых
|
1,32 1,22
|
98 123
|
411,54 427,71* 517,18
|
* закачивается дренажным насосом из системы теплофикации
(см. таблицу 4)
|
|
ПНД-3 -вх -вых
|
1,46 1,36
|
76,45 98
|
321,2 411,57
|
|
|
ПП -вх -вых
|
0,58 0,58
|
157,52* 255
|
2755,0*2968,29**
|
* температура и энтальпия насыщенного пара при р=0,58 МПа
(на выходе из сепаратора) ** энтальпия пара на входе в ЦНД (см. таблицу 3)
|
Греющая среда поверхностных теплообменных аппаратов рабочего контура -
конденсирующийся пар (как правило, влажный пар). Если в теплообменном аппарате
предусмотрен охладитель дренажа конденсирующегося пара, то на части поверхности
теплопередачи в качестве греющей среды выступает вода.
Параметры основного потока греющей среды на входе в теплообменный аппарат
определены ранее (см. таблицу 3). Для подогревателей системы регенерации - это
параметры пара, отбираемого из проточной части турбины, для пароперегревателя -
параметры свежего пара. На входе в теплообменный аппарат давление греющей среды
несколько снижается, однако процесс дросселирования среды можно считать
адиабатическим и, следовательно, изоэнтальпийным. Таким образом, энтальпия основного
потока греющей среды на входе в каждый теплообменный аппарат к этому этапу
расчета известна (см. таблицу 3).
Параметры греющей среды на выходе из теплообменных аппаратов являются
параметрами воды на линии насыщения, если теплообменный аппарат не имеет зоны
охлаждения дренажа, или это параметры переохлажденной воды, если предусмотрен
охладитель дренажа. В последнем случае для оценки температуры воды на выходе из
такого ВП можно принять температуру дренажа на величину от 3 до 10 оС
выше температуры нагреваемой среды на входе в ВП - см. диаграмму t-q
водоподогревателя с охладителем дренажа, показанную на рисунке 10.
Рисунок 10 - Диаграмма t-q водоподогревателя с охладителем дренажа
Особо следует отметить порядок определения значений параметров греющей
среды дополнительных входов в ВП. Обычно это каскадные сливы от соответствующих
вышерасположенных ВП. Здесь также следует руководствоваться одним из
фундаментальных положений термодинамики, в соответствии с которым адиабатическое
дросселирование среды (снижение давления без теплообмена с окружающей средой)
можно считать изоэнтальпийным. Таким образом, энтальпия греющей среды в
дополнительном входе может быть принята равной энтальпии греющей среды на
выходе из того аппарата, из которого осуществляется каскадный слив.
Численные значения энтальпии греющей среды применительно к
рассматриваемому варианту энергоустановки представлены в таблице 8.
Таблица 8 - Параметры греющей среды поверхностных теплообменных аппаратов
|
Вход и выход греющей среды
|
Характеристика среды.
|
Энтальпия среды, кДж/кг.
|
Примечание
|
|
ПВД-7 -вх -вых
|
Влажный пар 1 отбора Переохлажден-ный дренаж
|
2629,24 843,68
|
см. таблицу 3 р = ргпвд7 = 2,037 МПа;
t = tнвх.пвд7 + 7 = = 191+7=198 оС
|
|
ПВД-6 -вх 1 -вх-2 -вых
|
Влажный пар 2 отбора Выход греющей среды ПВД-7
Переохлажденный дренаж
|
2576,64 843,68 728,22
|
см. таблицу 3 р = ргпвд6 = 1,392 МПа;
t = tнвх.пвд6 + 7 = = 165+7=172 оС
|
|
ПНД-5 -вх -вых
|
Влажный пар 4 отбора Насыщенный дренаж
|
2456,02 659,98
|
см. таблицу 3 р = ргпнд5 = 0,564 МПа
|
|
ПНД-4 -вх -вых
|
Перегретый пар 5 отбора Переохлажден- ный дренаж
|
2834,82 440,27
|
см. таблицу 3 р = ргпнд4 = 0,242 МПа;
t = tнвх.пнд4 + 7 = = 98+7=105 оС
|
|
ПНД-3 -вх-1 -вх-2 -вых
|
Перегретый пар 6 отбора Выход греющей среды ПНД-4
Переохлажденный дренаж
|
2710,88 440,27 349,49
|
см. таблицу 3 р = ргпнд3 = 0,109 МПа;
t = tнвх.пнд3 + 7 = = 76,45+7=83,45 оС
|
|
ПП -вх - вых
|
Свежий пар Насыщенный дренаж
|
2778,8 1207,16
|
см. таблицу 3 р = ргпп = 0,98 × ргт = = 0,98 × 0,6 = 5,88 МПа
|
Параметры теплообменивающихся сред на входах в теплообменные аппараты
смешивающего типа определяются как параметры сред, подвергающихся
изоэнтальпийному дросселированию. Вследствие этого значения энтальпии этих сред
принимаются равными энтальпии в точках истечения сред. На выходе из аппарата
смешивающего типа среда обычно находится на линии насыщения при давлении в
теплообменном аппарате.
Применительно к рассматриваемому варианту энергоустановки значения
параметров сред представлены в таблице 9
Таблица 9 - Параметры теплообменивающихся сред теплообменных аппаратов
смешивающего типа
|
Вход и выход среды
|
Энтальпия среды, кДж/кг
|
Примечание:
|
|
Деаэратор -вх-1 -вх-2 -вх-3 -вх-4 -вх-5 -вх-6 -вых
|
2520,99 546,73 728,22 659,98 664,7 645,51 697,1
|
Греющий пар отбора 3 (см таблицу 3) Возврат сливов
СН1(t=130оС; р=0,882 МПа) (см. п.5.3) Дренаж ПВД-6 (см.таблицу 7)
Дренаж ПНД-5 (см.таблицу 7) Слив сепарата из СПП (насыщенная вода при р=0,58
МПа) Выход нагреваемой среды ПНД-5 (см.таблицу 6) Насыщенная вода деаэратора
при р=0,7 МПа
|
|
ПНД-1 -вх-1 -вх-2 -вых
|
2473,33 150,757 232,67
|
Греющий пар отбора 8 (см.таблицу 3) Вода температуры
конденсата ГК, дополнительно нагретая на 3…4 оС в охладителе пара
(t=36 оC; р= = рпнд1=0,0162 МПа) (см. п.4.2 и таблицу
3) Насыщенная вода при р=0,0162 МПа (см. таблицу 3)
|
|
ПНД-2 -вх-1 -вх-2 -вх-3 -вых
|
2586,11 349,49 232,67 320,0
|
Греющий пар отбора 7 (см.таблицу 3) Дренаж ПНД-3
(см.таблицу 7) Выход ПНД-1 Насыщенная вода при р=0,04095 МПа (см. таблицу 3)
|
Заметим, что значения энтальпий теплообменивающихся сред для табл.6, 7 и
8 определялись с помощью комплексных программ пособия [28]. Методические
рекомендации по работе с программами интерполяции свойств воды и водяного пара
приведены в приложении И.
5.6 Уравнения тепловых балансов рабочего контура
Уравнения тепловых балансов составляют на базе уравнений материальных
балансов. При этом значения расходов сред умножают на соответствующие значения
энтальпии этих сред. Целесообразная последовательность рассмотрения уравнений
теплового баланса также определена в результате анализа системы уравнений
материального баланса (см. п.5.4.12).
Уравнения тепловых балансов теплообменных аппаратов, содержащих в своем
составе охладители дренажа греющего пара, следует составлять как единое
уравнение, охватывающее и основной теплообменный аппарат и его охладитель
дренажа.
В уравнениях тепловых балансов необходимо учесть рассеяние тепла в
окружающую среду. Как уже отмечалось, коэффициент удержания тепла в
теплообменных аппаратах можно оценить по эмпирической зависимости h = 1 - r × 10-3, где r - номер
подогревателя (cм. п.5.2).
Применительно к варианту принятой в расчет энергоустановки уравнения
тепловых балансов можно составить и разрешить в рассмотренной выше
последовательности.
Коэффициенты удержания тепла теплообменных аппаратов определяется по
зависимости h = 1 - r × 10 -3. Следовательно
значения h
Таблица 10
|
составляют:
|
для ПНД-1
|
h = 0,999;
|
для деаэратора
|
h = 0,994;
|
|
для ПНД-2
|
h = 0,998;
|
для ПВД-6
|
h = 0,993;
|
|
для ПНД-3
|
h = 0,997;
|
для ПВД-7
|
h = 0,992;
|
|
для ПНД-4
|
h = 0,996;
|
для ПП
|
h = 0,99.
|
|
для ПНД-5
|
h = 0,995;
|
|
|
Заметим, что используемая эмпирическая зависимость дает приемлемые
значения величины h и
хорошо отражает физическую сущность вопроса: по мере увеличения номера
теплообменного аппарата растет температура его корпуса и вследствие этого
уменьшается коэффициент удержания тепла.
Уравнение теплового баланса ПВД-7
hпвд-7 Gот1(iвхг
- iвыхг) = (Gт + Gпр) (iвыхн
- iвхн);
,992 Gот1(2629,24 - 843,68) = 1,004Gт
(897,7 - 815,4);от1 = 0,04665 Gт.
Уравнение теплового баланса ПВД-6
hпвд-6 [Gот2(iвх1г-
iвыхг) + Gот1(iвх2г - iвыхг)]
= (Gт + Gпр) (iвыхн - iвхн);
,993[Gот2 (2576,64 - 728,22) + 0,04665 Gт (843,68 -
728,22)] =
= 1,004Gт (815,5 - 702,0);
Уравнение теплового баланса деаэратора
hд∙{(Gот3
- Gсн) iвх1
+ Gсн1∙ iвх2 + (Gот1 + Gот2)
iвх3 + (Gот4 - Gпсвп) iвх4 +
+
(Gт -
Gот i)(1 - хцвд) iвх5 +
[(Gт -
Gот i) хцвд + Gсн2 +
Gпр + Gпсвп] iвх6} =
=
(Gт + Gпр) iвых;
,994
{(Gот3 - 41) 2520,99 + 14 ∙ 546,73 + 0,1058 Gт
∙ 728,22 +
+
[(0,8942Gт - Gот3 -Gот4) ∙ 0,856 + 27 +
0,004Gт + 22,53] 645,51} =
=
1,004Gт ∙ 697,1;
hпнд-5(Gот4 - Gпсвп)∙(iвхг
- iвыхг) =
=
[(Gт -
Gот i) хцвд + Gсн2 +
Gпр + Gпсвп] ∙ (iвыхн - iвхн);
,995
(Gот4 - 22,53) ∙ (2456,02 - 659,98) =
=
[(0,8942Gт - Gот3 - Gот4) ∙
0,856 + 27 + 0,004Gт + 22,53] (645,51 - 517,16);
Gот4 = 0,05206Gт - 0,05792 Gот3 + 24,576.
Совместное решение выражений для Gот3 и Gот4:
от3 = 0,02392 Gт - 0,006251 (0,05206Gт - 0,05792Gот3 + 24,576) +
41,973;от3 = 0,0236Gт + 41,8345.от4 = 0,05206Gт - 0,05792 (0,0236Gт + 41,8345)
+ 24,576;от4 = 0,05069 Gт + 22,153.
Уравнение теплового баланса ПНД-4
hпнд-4(Gот5 - Gпсво2ст)×(iвхг - iвыхг)
= [(Gт -
Gот
i) хцвд + Gсн2 + Gпр-Gпсво1ст
-
Gпсво2ст]
(iвыхн - iвх1н) + Gпсв
(iвыхн - iвх2н);
0,996(Gот5 - 16,07) (2834,82 - 440,27) = [(0,8199Gт -
63,9875)×0,856 + 27 + 0,004Gт -
16,07 - 9,83] (517,18- 411,54) + 48,43×(517,18 - 427,71);от5 = 0,03126Gт +
15,5094.
Уравнение теплового баланса ПНД-3
hпнд-3[(Gот6
- Gпсво1ст)×(iвх1г - iвыхг) + (Gот5
- Gпсво2ст)×(iвх2г - iвыхг)] =
=
[(Gт -
Gот i) хцвд + Gсн2 +
Gпр - Gпсво1 - Gпсво2](iвыхн -
iвхн);
,997[
(Gот6 - 9,83) (2710,88 - 349,49) + (0,03126Gт + 15,5094-
16,07)×(440,27 - 349,49)] = [(0,8199Gт - 63,9875)×0,856 + 27 +
+
0,004Gт - 9,83 - 16,07]×(411,57
- 321,2);
Gот6 = 0,02589Gт +7,7913.
Уравнение теплового баланса ПНД-2
hпнд-2{Gот7 iвх1 +(Gот5 +
Gот6 - Gпсво2ст -Gпсво1ст) iвх2 +[(Gт
-
Gот i) хцвд +Gсн2 + Gпр
-
Gот i] iвх3} = [(Gт -
Gот i) хцвд +Gсн2 + Gпр
- Gпсво2 - Gпсво1] iвых;
0,998 {Gот7 2586,11 + (0,05715 Gт + 23,3007 -
16,07- 9,83)×349,49 +
+ [(0,8199 Gт - 63,9875)0,856 + 27 + 0,004Gт -
0,05715 Gт - 23,3007 -
Gот7]×232,67} = [(0,8199 Gт - 63,9875)0,856 + 27 + 0,004Gт
- 16,07 -
9,83]×320,0;от7
= 0,02355Gт - 1,8773.
Уравнение теплового баланса ПНД-1
hпнд1{Gот8×iвх1
+ [(Gт -
Gот i) хцвд + Gсн2 +
Gпр -
Gот i]iвх2} =
=
[(Gт -
Gот i) хцвд + Gсн2 +
Gпр -
Gот i] iвых;
,999{Gот8
2473,33 + [(0,8199 Gт - 63,9875)0,856 + 27 + 0,004Gт -
0,0807Gт
- 21,4234 - Gот8] 150,757} = [(0,8199 Gт - 63,9875)
0,856 +
+
27 + 0,004Gт - 0,0807Gт - 21,4234] 232,67;
Gот8 = 0,02211 Gт - 1,74.
Уравнение теплового баланса пароперегревателя
hппGпп(iвхг- iвыхг)
= (Gт -
Gот i) хцвд (iвыхн-
iвхн);
,99Gпп(2778,8-1207,16)
= (0,8199 Gт - 63,9875) 0,856 (2968,29 - 2755,0);
Gпп = 0,096209Gт - 7,50846.
.7 Расход пара на турбину турбопитательного насоса
Если в составе рабочего контура предусмотрен питательный насос с
паротурбинным приводом (ТПН), то следует определить расход пара на этот привод.
При этом при оценке мощности питательного насоса необходимо учесть подачу
насоса не только в парогенератор, но и на другие потребители. Например, в установке
с турбиной К-1000-60/3000 турбопитательный насос обеспечивает также силовой
водой гидротурбину конденсатного насоса пароперегревателя (КГТН).
Некоторые дополнительные рекомендации к определению расхода пара на
турбопривод ТПН приведены в [1] с.106…108.
Применительно к варианту принятой в расчет энергоустановки определение
расхода пара на турбину ТПН выполнено следующим образом.
Параметры конденсатного насоса пароперегревателя.
Насос принят с гидротурбинным приводом (ГП), питающимся водой отбора от
напорного патрубка ТПН. Тип насоса конденсатный гидротурбонасос КГТН.
Мощность КГТН
кгтн = pкгтн×Gкгтн×vкгтн / (hкгтн×1000), кВт,
где ркгтн - давление насоса; pкгтн = рвых
пвд-7 - рвых пп + Dртр;
рвых пвд-7 = 8,12 МПа - давление нагреваемой среды на выходе
из ПВД-7 (см. таблицу 6);
рвых пп = 5,88 МПа - давление греющей среды на выходе из ПП
(см. таблицу 7);
Dртр = 0,05×(рвых пвд-7 - рвых пп) - сопротивление
трубопровода (принято в расчет);кгтн = (8,12 - 5,88)×1,05 = 2,352 МПа;
кгтн = Gпп = 0,096208 Gт - 7,508335 кг/с - массовая
подача насоса;кгтн = v¢(р=5,88 МПа) = 0,0013148 м3/кг - удельный объем
перекачиваемой жидкости
hкгтн = 0,8 -
КПД насоса (принято по прототипу).кгтн = 2,352×106×(0,096209 Gт - 7,50846)×0,0013148 / (0,8×1000) =
= 0,3719 Gт - 29,024 кВт.
Расход силовой воды на гидропривод
гп = 1000×Nкгтн/(vгп×Dргп×hгп), кг/с,
где Nкгтн - мощность гидропривода равная мощности насоса, кВт;гп
- удельный объем силовой воды, м3/кг;гп = v(р=9,7 МПа,
t=164,96 оС) = 0,0011015 м3/кг;
р=9,7 МПа - давление воды на выходе из питательного насоса (см. рисунок
8);=164,96 оС - температура воды на выходе из деаэратора (см.
таблицу 3);
Dргп - перепад давлений срабатываемый на гидроприводе, Па;
Dргп = рпн - Dртр;
рпн = 8,7 МПа - давление питательного насоса (см. п.5.5.1);
Dртр = 0,3 МПа - гидравлические сопротивления трубопровода
силовой воды (принято по прототипу);
hгп = 0,8 -
КПД гидропривода (принято по прототипу).гп = 1000×(0,3719 Gт -
29,024)/[0,0011015×(8,7 - 0,3)×106×0,8] =
= 0,0502426 Gт - 3,921, кг/с/
Параметры турбопитательного насоса
Массовая подача ТПН
тпн = Gвых.д + Gгп = Gт + 0,004Gт
+ 0,0502426 Gт - 3,921 =
= 1,0542426 Gт - 3,921 кг/с (см. п.5.4.9).
Давление ТПН ртпн = 8,70 МПа (см. п.5.5.1).
Удельный объем перекачиваемой водытпн = 0,0011015 м3/кг
(равен удельному объему силовой воды гидропривода).
hтпн = 0,8-
КПД турбопривода (принято по прототипу).
Мощность ТПН
тпн = pтпн×Gтпн×vтпн / (hтпн×1000) =
= 8,7×106×(1,0542426 Gт - 3,921) × 0,0011015 / (0,8 × 1000) =
= 12,62858 Gт - 46,9689, кВт.
Расход пара на ТПН
птпн = Nтпн
/ (hмех.тпн×Н i тпн),
где hмех.тпн = 0,98 - механический КПД
турбопривода (принято по прототипу);
Н i тпн = 573,39 кДж/кг - внутренний теплоперепад
срабатываемый на турбине ТПН (см. п.3.7).птпн = (12,62858
Gт - 46,9689)/(0,98 × 573,39) = 0,022474 Gт - 0,083586 кг/с.
.8 Расход пара на главную турбину
Как уже отмечалось, в результате разрешения системы уравнений тепловых
балансов получены значения расходов среды во всех ветвях рабочего контура, но
все они выражены через расход пара на главную турбину Gт. Для
определения численного значения величины Gт составляют уравнение
баланса механической энергии комплекса "главная турбина - генератор
электроэнергии".
Применительно к варианту принятой в расчет энергоустановки определение
расхода пара на главную турбину выполнено следующим образом.
Внутренняя мощность турбины
i т = Рг/(hген×h мех.т) = 1000×103/(0,98×0,98) = 1041,2327×103 кВт.
Значения КПД генератора электроэнергии и механического КПД турбоагрегата
в расчет приняты по 0,98. Величины этих КПД могут быть и существенно большие -
до 0,985…0,99 (например, для ЮУАЭС hген = = 98,92 %).
Внутренние теплоперепады, срабатываемые на ступенях турбины (см. таблицу
3)
h1стЦВД = iвх1ст - iвых1ст = 75,58
кДж/кг; 2стЦВД = iвх2ст - iвых2ст = 73,98
кДж/кг; 3стЦВД = iвх3ст - iвых3ст = 52,6
кДж/кг; 4стЦВД = iвх4ст - iвых4ст =
55,65кДж/кг; 5стЦВД = iвх5ст - iвых5ст = 64,97
кДж/кг; 1стЦНД = iвх1ст - iвых1ст = 133,47
кДж/кг; 2стЦНД = iвх2ст - iвых2ст = 123,94
кДж/кг; 3стЦНД = iвх3ст - iвых3ст = 124,77 кДж/кг;
4стЦНД = iвх4ст - iвых4ст = 112,78 кДж/кг; 5стЦНД
= iвх5ст - iвых5ст = 139,93 кДж/кг;
Расходы пара через ступени турбины1стЦВД = Gт кг/с;2стЦВД
= G1стЦВД = Gт кг/с;
3стЦВД = G2стЦВД - Gот1 = 0,95335 Gт кг/с;4стЦВД
= G3стЦВД - Gот2 = 0,8942 Gт кг/с;5стЦВД
= G4стЦВД - Gот3 = 0,8706 Gт - 41,8345 кг/с;с
= (G5стЦВД - Gот4) (1 - хЦВД) = 0,118067
Gт - 9,2142 кг/с;1стЦНД = (G5стЦВД - Gот4)
хЦВД - G птпн = 0,67937 Gт -
54,6897 кг/с;2стЦНД = G1стЦНД - Gот5 = 0,64811
Gт - 70,1991 кг/с;3стЦНД = G2стЦНД - Gот6
= 0,62222 Gт - 77,9904 кг/с;4стЦНД = G3стЦНД -
Gот7 = 0,59867 Gт - 76,1131 кг/с;5стЦНД = G4стЦНД
- Gот8 = 0,57656 Gт - 74,3731 кг/с.
Внутренние мощности ступеней турбины:
i1стЦВД = h1стЦВД×G1стЦВД = 75,58 Gт
кВт;i2стЦВД = h2стЦВД×G2стЦВД = 73,98 Gт
кВт;i3стЦВД = h3стЦВД ×G3стЦВД = 50,14621 Gт
кВт;i4стЦВД = h4стЦВД ×G4стЦВД = 49,76223 Gт
кВт;i5стЦВД = h5стЦВД ×G5стЦВД =56,56288 Gт
- 2717,9875 кВт;i1стЦНД = h1стЦНД×G1стЦНД = 90,6755 Gт
- 7299,4342 кВт;i2стЦНД = h2стЦНД ×G2стЦНД = 80,3268 Gт
- 8700,4764 кВт;
N i3стЦНД = h3стЦНД ×G3стЦНД = 77,6344 Gт
- 9730,8622 кВт;
N i4стЦНД = h4стЦНД ×G4стЦНД = 67,518 Gт
- 8584,0354 кВт;i5стЦНД = h5стЦНД ×G5стЦНД = 80,67804 Gт
- 10407,028 кВт.
Суммарная внутренняя мощность турбины
N i =
N
i ст j = 702,86406 Gт - 47439,823 кВт.
Расход пара на турбину
,2327×103
= 702,86406 Gт - 47439,823;т = 1548,909 кг/с = 5576,0724
т/ч
Определив значение Gт, можно получить в численном виде
значения расходов рабочего тела во всех ветвях рабочего контура. Для этого в
выражения, полученное в результате решения системы уравнений тепловых балансов,
подставляют полученное численное значение расхода пара на турбину Gт.
Расходы пара на потребители:т = 1548,909 кг/с;
пр = 0,004 Gт = 6,19564 кг/с;пп = 0,096209Gт -
7,50846= 141,5105 кг/с;от1 = 0,04665 Gт = 72,2566 кг/с;от2
= 0,05915 Gт = 91,618 кг/с;от3 = 0,0236Gт +
41,8345= 78,3889 кг/с;от4 = 0,05069 Gт + 22,153 = 100,67
кг/с;от5 = 0,03126Gт + 15,5094 = 63,9283 кг/с;от6 =
0,02589Gт +7,7913 = 47,8926 кг/с;от7 = 0,02355Gт -
1,8773 = 34,5995 кг/с;от8 = 0,02211 Gт - 1,74= 32,5064
кг/с;птпн = 0,022474 Gт - 0,083586 = 34,7266
кг/с;2стЦВД = G1стЦВД = 1548,909 кг/с;3стЦВД =
0,95335 Gт = 1476,6524 кг/с;4стЦВД = 0,8942 Gт
= 1385,0344 кг/с;5стЦВД = 0,8706 Gт - 41,8345 = 1306,6457
кг/с;с = 0,118067 Gт - 9,2142 = 173,6608 кг/с;1стЦНД
= 0,67937 Gт - 54,6897 = 997,5926 кг/с;2стЦНД = 0,64811 Gт
- 70,1991 = 933,6643 кг/с;3стЦНД = 0,62222 Gт - 77,9904 =
885,7718 кг/с;4стЦНД = 0,59867 Gт - 76,1131 = 851,1723
кг/с;5стЦНД = 0,57656 Gт - 74,3731 = 818,666 кг/с;пг
= Gт + Gпр + Gпп = 1696,6151 кг/с;
сн= 41 кг/с;сн1= 14 кг/с;сн2 = 27 кг/с;псвп
= 22,53 кг/с;псво2ст = 16,07 кг/с;псво1ст = 9,83 кг/с;псв
= 48,43 кг/с.
Проверка правильности вычислений расходов пара в проточной части турбины
может быть выполнена путем вычисления расхода пара в конце проточной части
турбины как разности между расходом пара на входе в турбину и всеми отборами
пара
G5стЦНД
= Gт -
Gот i - Gс - Gптпн
=1548,909 - 72,2566 - 91,618 -
78,3889
- 100,667 - 63,9283 - 47,8926 - 34,5995 - 32,5064 -
173,6608
- 34,7266 = 818,6643
Погрешность
расчета составляет
½818,666-
818,6643½ × 100 / 818,666= 0,0002 %.
Сравнивая
полученный результат с результатом вычислений в п.5.8.8 можно сделать вывод,
что погрешность вычислений находится в приемлемых пределах. Различие в
результатах можно объяснить тем, что для простоты расчетов численные значения в
процессе вычислений снимались с калькулятора с ограниченным количеством
значащих цифр.
Зная
расходы пара через ступени турбины и теплоперепады, срабатываемые на них, можно
графически представить внутреннюю мощность турбоагрегата. Она равна площади
фигуры, представляющей собою сумму площадей
Gст
j×h i ст j
Применительно
к рассматриваемому варианту установки величина внутренней мощности
турбоагрегата показана на рисунке 11.
Анализ данных, представленных на рисунке 11, позволяет количественно
определить доли внутренней мощности турбоагрегата, выработанных в ЦВД и ЦНД, от
общей мощности ТА:
для ЦВД (117,067+114,588+77,672+77,077+84,893)×100/1041,2327 =45,26 %
для ЦНД (133,148+115,718+110,518+95,995+114,556)×100/1041,2327 =54,74 %
Рисунок 11 - Графическое представление суммарной внутренней мощности
турбоагрегата
Заметим, что в ЦНД заметно больше срабатываемый теплоперепад. Поэтому
даже при существенно меньшем расходе пара мощность, вырабатываемая в ЦНД
соизмерима с мощностью, вырабатываемой в ЦВД. Однако, мощность вырабатываемая в
одном цилиндре низкого давления значительно меньше мощности цилиндра высокого
давления. Если в составе ТА четыре ЦНД (как в прототипном ТА), то внутренняя
мощность, выработанная в одном ЦНД, составляет 54,74 / 4 = 13,69 % от общей мощности
ТА. Это значительно меньше мощности ЦВД.
.9 Паропроизводительность ПГ и тепловая мощность ЯР. КПД АЭУ брутто
На заключительном этапе расчета рабочего контура определяют
паропроизводительность парогенератора и тепловую мощность ядерного реактора. При
этом следует иметь в виду, что если на выход из последнего ПВД подается по
какой-либо ветви рабочего контура дополнительный поток рабочего тела (например,
в ПТУ с турбиной К-1000-60/3000 из пароперегревателя насосом КГТН на выход из
ПВД-7 подается конденсат греющего пара), то для такой точки смешения необходимо
дополнительно составить уравнение теплового баланса, из которого можно
определить энтальпию питательной воды на выходе из точки смешения (она же на
входе в парогенератор).
По заданной мощности генератора Рг и полученной тепловой
мощности ядерного реактора Qяр определяют КПД энергоустановки брутто
hАЭУбрутто
Применительно к принятой в расчет энергоустановки заключительный этап
расчета рабочего контура представлен следующим образом.
Паропроизводительность
парогенераторов Gпг = 1696,6151 кг/с.
Энтальпия пара на выходе из ПГ iпг = 2778,8 кДж/кг (см.
п.3.4).
Уравнение теплового баланса в точке смешения воды на выходе из ПВД-7
нвых.пвд-7 ×i нвых.пвд-7 +G
гпп ×i гвых. пп = G пг ×i пв,пв = (G нвых.пвд-7
×i нвых.пвд-7 +G
гпп ×i гвых. пп)/ G пг;нвых.пвд-7
= G пг - G гпп = 1696,6151 - 141,5105 =
1555,1046 кг/с;
нвых.пвд-7 =
897,7 кДж/кг (см. таблицу 6);гпп = 141,5105 кг/с;гвых.
пп = 1207,16 кДж/кг (см.таблицу 7);
i пв = (1555,1046 ×897,7 +141,5105 × 1207,16)/ 1696,6151 =
923,5113 кДж/кг.
Параметры питательной водыпв= t(рпв = 8,12 МПа, iпв
= 923,5113 кДж/кг)= 215,19 оС.
Тепловая мощность ядерного реактора
Qяр = G пг (i пг - i пв)/h тпк = 1696,6151 (2778,8 - 923,5113)/0,985 =
=3195,645×103 кВт.
В расчет в соответствии с рядом предпочтительных чисел (ГОСТ 8032-84)
принят ЯР номинальной тепловой мощностью яр = 3200 МВт.
КПД АЭУ брутто
hАЭУбрутто = Рг / Qяр =
1000/3195,645 = 0,3129.
6. Расчет рабочего контура с использованием вычислительной техники
.1 Общие рекомендации по использованию вычислительной техники для расчета
рабочего контура
Расчет рабочего контура сводится к составлению системы линейных
алгебраических уравнений энергетических балансов и разрешению этой системы
уравнений. В пятом разделе настоящего пособия рассмотрены рекомендации по
наиболее рациональному составлению такой системы уравнений и ее разрешению
«вручную» с помощью калькулятора. Однако из-за громоздкости большинства
уравнений энергобалансов при разрешении системы возможны технические ошибки,
что может значительно сказаться на точности расчета.
Для разрешения систем линейных алгебраических уравнений разработаны
различные математические методы, для которых составлены и внедрены в
математическое обеспечение вычислительной техники достаточно удобные в
использовании стандартные программы. Если имеется возможность использовать
вычислительную технику, то процесс определения расходов сред в ветвях рабочего
контура можно существенно упростить. При этом можно значительно расширить количество
неизвестных определяемых из системы уравнений, включив в них ряд дополнительных
величин.
На примере варианта принятого в расчет энергоблока можно показать
подготовку системы уравнений к расчету с использованием компьютера.
Для расчета системы уравнений необходимо выполнить все подготовительные
операции, изложенные в пятом разделе. К таким операциям следует отнести:
·
составление
перечня неизвестных подлежащих расчету;
·
определение
значений параметров теплообменивающихся сред. В нашем случае это значения
энтальпий, приведенные в таблице 4 (для системы теплофикации) и в таблицах
6,7,8 (для рабочего контура);
·
составление
системы уравнений энергетических балансов в численном виде. Для системы
теплофикации уравнения в численном виде приведены в п.5.2, для рабочего контура
- в п.5.6, 5.7, 5.8.
.2 Расчет системы теплофикации
Перечень неизвестных величин подлежащих определению:св -
расход сетевой воды, кг/с; гпсвп - расход греющего пара
на пиковый подогреватель сетевой воды, кг/с; гпсво2ст -
расход греющего пара на основной подогреватель сетевой воды 2-й ступени, кг/с;гпсво1ст
- расход греющего пара на основной подогреватель сетевой воды 1-й ступени,
кг/с; гпсв - суммарный расход греющего пара на систему
теплофикации, кг/с.
Система уравнений тепловых балансов системы теплофикации (см. п.5.2):
уравнение теплового баланса системы теплофикации в целом
×103 = Gсв(633,4 - 295,0) ×0,94;
уравнение теплового баланса пикового подогревателя
,995 G гпсвп (2456,02 - 659,98) = Gсв
(633,4 - 505,3);
уравнение теплового баланса подогревателя сетевой воды 2-й ступени
,996[Gгпсво2ст (2834,82 - 530,76) + Gгпсвп(659,98
- 530,76)] =
= Gсв(505,3-378,8);
уравнение теплового баланса подогревателя сетевой воды 1-й ступени
,997[Gгпсво1ст (2710,88-427,71)+(Gгпсвп
+ Gгпсво2ст)∙(530,76-427,71)]=
= Gсв·(378,8-295);
уравнение суммарного расхода греющего пара
гпсв = Gгпсвп
+ Gгпсво2ст + Gгпсво1ст.
Результаты расчета системы теплофикации с помощью компьютера и
сопоставление их с результатами «ручного» расчета (с помощью калькулятора) представлены
в таблице 9. При этом для простоты сравнения результаты компьютерного расчета
приведены с точностью до восьми значащих цифр.
Таблица 9 - Результаты расчета системы теплофикации
|
Расчетная величина
|
Результаты «ручного» расчета
|
Результаты компьютерного расчета
|
Погрешность
|
|
Gсв, кг/с
|
314,37
|
314,37050
|
0,00016
|
|
Gгпсвп, кг/с
|
22,53
|
22,534703
|
0,021
|
|
Gгпсво2ст, кг/с
|
16,07
|
16,065399
|
0,029
|
|
Gгпсво1ст, кг/с
|
9,83
|
9,8309711
|
0,010
|
|
Gгпсв, кг/с
|
48,43
|
48,431074
|
0,002
|
Сопоставление результатов расчета показывает, что «ручной» расчет,
приведенный в примере, выполнен корректно, точность расчета высокая.
.3 Подготовка системы уравнений рабочего контура. Перечень и обозначения
расчетных величин
) G1стЦВД - расход пара через 1 ступень ЦВД, кг/с;
) G2стЦВД - расход пара через 2 ступень ЦВД, кг/с;
) G3стЦВД - расход пара через 3 ступень ЦВД, кг/с;
) G4стЦВД - расход пара через 4 ступень ЦВД, кг/с;
) G5стЦВД - расход пара через 5 ступень ЦВД, кг/с;
) G1стЦНД - расход пара через 1 ступень ЦНД, кг/с;
) G2стЦНД - расход пара через 2 ступень ЦНД, кг/с;
) G3стЦНД - расход пара через 3 ступень ЦНД, кг/с;
) G4стЦНД - расход пара через 4 ступень ЦНД, кг/с;
) G5стЦНД - расход пара через 5 ступень ЦНД, кг/с;
) Gс - расход сепарата из сепаратора, кг/с;
) Gпр - потеря пара в протечках, кг/с;
) Gпп - расход греющего пара на ПП, кг/с;
) Gот1 - расход пара в 1 отборе, кг/с;
) Gот2 - расход пара в 2 отборе, кг/с;
) Gот3 - расход пара в 3 отборе, кг/с;
) Gот4 - расход пара в 4 отборе, кг/с;
) Gот5 - расход пара в 5 отборе, кг/с;
) Gот6 - расход пара в 6 отборе, кг/с;
) Gот7 - расход пара в 7 отборе, кг/с;
) Gот8 - расход пара в 8 отборе, кг/с;
) Gптпн - расход пара на ТПН, кг/с;
) Gт - расход пара на входе в ЦВД, кг/с;
) Gпг - паропроизводительность ПГ, кг/с;
) i пв - энтальпия ПВ на входе в ПГ, кДж/кг;
) Qяр - тепловая мощность ЯР при работе АЭУ на номинальной
мощности, МВт;
) hАЭУбрутто - КПД АЭУ брутто.
6.4 Система уравнений рабочего контура
) G1стЦВД = Gт (см. п.5.8.4);
) G2стЦВД = G1стЦВД (см. 5.8.4);
) G3стЦВД = G2стЦВД - Gот1 (см.
п.5.8.4);
) G4стЦВД = G3стЦВД - Gот2 (см.
п.5.8.4);
) G5стЦВД = G4стЦВД - Gот3 (см.
п.5.8.4);
) G1стЦНД = G5стЦВД - Gот4 - Gс
- Gптпн (см. п.5.8.4);
) G2стЦНД = G1стЦНД - Gот5 (см.
п.5.8.4);
) G3стЦНД = G2стЦНД - Gот6 (см.
п.5.8.4);
) G4стЦНД = G3стЦНД - Gот7 (см.
п.5.8.4);
) G5стЦНД = G4стЦНД - Gот8 (см.
п.5.8.4);
) Gс = (G5стЦВД - Gот4) (1 - 0,856) (см.
п.5.8.4);
) Gпр = 0,004 Gт (см. п.5.3);
) уравнение теплового баланса пароперегревателя (см. п.5.6.12)
,99Gпп(2778,8-1207,16) = (0,8199 Gт - 63,9875)
0,856 (2968,29 - 2755,0);
) уравнение теплового баланса ПВД-7 (см. п.5.6.3)
,992 Gот1(2629,24 - 843,68) = (Gт + Gпр)
(897,7 - 815,4);
) уравнение теплового баланса ПВД-6 (см. п.5.6.4)
,993[Gот2 (2576,64 - 728,22) + Gот1 (843,68 -
728,22)] =
= (Gт + Gпр) (815,5 - 702,0);
) уравнение теплового баланса деаэратора (см. п.5.6.5)
,994 {(Gот3 - 41) 2520,99 + 14 ∙ 546,73 + (Gот1
+ Gот2) ∙ 728,22 +
+ (Gот4 - 22,53) ∙ 659,98 + (Gт -
Gот i) (1 - 0,856)
664,7 +
+ [(Gт -
Gот i)∙ 0,856 + 27 + Gпр + 22,53] 645,51} = (Gт + Gпр) ∙ 697,1;
17) уравнение теплового баланса ПНД-5 (см. п.5.6.6)
,995 (Gот4 - 22,53) ∙ (2456,02 - 659,98) =
= [(Gт -
Gот i) ∙ 0,856 + 27 + Gпр
+ 22,53] (645,51 - 517,16);
18) уравнение теплового баланса ПНД-4 (см. п.5.6.8)
0,996(Gот5 - 16,07) (2834,82 - 440,27) = [(Gт -
Gот i) 0,856 + 27 +
+
Gпр - 16,07 - 9,83] (517,18- 411,54) + 48,43×(517,18 - 427,71);
19) уравнение теплового баланса ПНД-3 (см. п.5.6.9)
,997[ (Gот6 - 9,83) (2710,88 - 349,49) + (Gот5-
- 16,07)×(440,27
- 349,49)] = [(Gт -
Gот i) 0,856 + 27 +
+
Gпр - 9,83 - 16,07]×(411,57 -
321,2);
20) уравнение теплового баланса ПНД-2 (см. п.5.6.10)
,998 {Gот7 2586,11 + (Gот5 + Gот6 -
16,07- 9,83)×349,49 +
+
[(Gт -
Gот
i) 0,856 + 27 + Gпр -
Gот
i ]×232,67} =
=
[(Gт -
Gот
i) 0,856 + 27 + Gпр - 16,07 - 9,83]×320,0;
21) уравнение теплового баланса ПНД-1 (см. п.5.6.11)
0,999{Gот8 2473,33 + [(Gт -
Gот i) 0,856 + 27 + Gпр -
Gот i] 150,757} =
[(Gт -
Gот i) 0,856 + 27 + Gпр -
Gот i] 232,67;
22) расход пара на ТПН (см. п. 5.7)
Мощность КГТН
кгтн = pкгтн×Gкгтн×vкгтн / (hкгтн×1000) = 2352×Gпп ×0,0013148 / 0,8.
Расход силовой воды на гидропривод
Gгп = 1000×N кгтн /(vгп×Dргп×hгп) =
=2,352×Gпп
×0,0013148 / (0,8×0,0011015×8,4×0,8);
Массовая подача ТПН
тпн = Gт + Gпр + Gгп =
= Gт + Gпр + 2,352×Gпп ×0,0013148 / (0,8×0,0011015×8,4×0,8).
Мощность ТПН
тпн = pтпн×Gтпн×vтпн / (hтпн×1000) = 8700×[ Gт + Gпр +
+ 2,352×Gпп
×0,0013148 / (0,8×0,0011015×8,4×0,8)] ´ 0,0011015/0,8.
Расчетное выражение для определения расхода пара на ТПН
птпн = Nтпн
/(hмех.тпн×Н i тпн) =
=8700×[ Gт
+ Gпр + 2,352×Gпп ×0,0013148 / (0,8×0,0011015×8,4×0,8)] ´
´ 0,0011015/(0,8 0,98×573,39);
) уравнение баланса механической энергии комплекса «главная турбина -
генератор электрической энергии».
Внутренняя мощность турбины
N i т =
1041,2327×103
кВт (см. п.5.8.2).
Внутренние теплоперепады, срабатываемые на ступенях турбины h i ст
(см. таблицу 3).
Внутренняя мощность ступени турбины N i ст =G i ст × h i ст (см. п.5.8.5).
Расчетное уравнение баланса механической энергии принимает вид:
,58×G1стЦВД
+ 73,98×G2стЦВД + 52,6×G3стЦВД + 55,65×G4стЦВД +
+ 64,97×G5стЦВД
+ 133,47 ×G1стЦНД
+ 123,94 ×G2стЦНД
+
+124,77 ×G3стЦНД
+ 112,78 ×G4стЦНД
+ 139,93 ×G5стЦНД
= 1041,2327×103;
) паропроизводительность ПГ(см. п.5.8.8)пг = Gт + Gпр
+ Gпп;
) энтальпия ПВ на входе в ПГ (см. п.5.9.)пв = [(Gт
+ Gпр) × 897,7 + Gпп ×1207,16] / Gпг;
) тепловая мощность ЯР (см. п.5.9)
Qяр = G пг (2778,8 - i пв) / (0,985 × 103);
27) КПД АЭУ брутто (см. п.5.9)
hАЭУбрутто =1000 / Qяр.
.5 Результаты расчета. Анализ полученных результатов
Результаты расчета рабочего контура с помощью компьютера и сопоставление
их с результатами «ручного» расчета (с помощью калькулятора) представлены в
таблице 11. При этом для простоты сравнения результаты компьютерного расчета
приведены с точностью до восьми значащих цифр.
Таблица 11 - Результаты расчета рабочего контура
|
Расчетная величина
|
Результаты «ручного» расчета
|
Результаты компьютерного расчета
|
Погрешность
|
|
G1стЦВД, кг/с
|
1548,909
|
1548,9520
|
0,003
|
|
G2стЦВД, кг/с
|
1548,909
|
1548,9520
|
0,003
|
|
G3стЦВД, кг/с
|
1476,6524
|
1476,6941
|
0,003
|
|
G4стЦВД, кг/с
|
1385,0344
|
1385,0425
|
0,001
|
|
G5стЦВД, кг/с
|
1306,6457
|
1306,6459
|
0,000
|
|
G1стЦНД, кг/с
|
997,5926
|
997,58389
|
0,001
|
|
G2стЦНД, кг/с
|
933,6643
|
933,64870
|
0,002
|
|
G3стЦНД, кг/с
|
885,7718
|
885,75350
|
0,002
|
|
G4стЦНД, кг/с
|
851,1723
|
851,15853
|
0,002
|
|
G5стЦНД, кг/с
|
818,666
|
818,65200
|
0,001
|
|
Gс, кг/с
|
173,6608
|
173,65983
|
0,001
|
|
Gпр, кг/с
|
6,19564
|
6,1958080
|
0,003
|
|
Gпп, кг/с
|
141,5105
|
141,51187
|
0,001
|
|
Gот1, кг/с
|
72,2566
|
72,257910
|
0,002
|
|
Gот2, кг/с
|
91,618
|
91,651604
|
0,037
|
|
Gот3, кг/с
|
78,396601
|
0,001
|
|
Gот4, кг/с
|
100,667
|
100,67487
|
0,008
|
|
Gот5, кг/с
|
63,9283
|
63,935186
|
0,001
|
|
Gот6, кг/с
|
47,8926
|
47,895200
|
0,005
|
|
Gот7, кг/с
|
34,5995
|
34,594966
|
0,013
|
|
Gот8, кг/с
|
32,5064
|
32,506532
|
0,000
|
|
G птпн, кг/с
|
34,7266
|
34,727338
|
0,002
|
|
Gт, кг/с
|
1548,909
|
1548,9520
|
0,003
|
|
Gпг, кг/с
|
1696,6151
|
1696,6597
|
0,003
|
|
i пв, кДж/кг
|
923,5113
|
923,51087
|
0,000
|
|
Qяр, МВт
|
3195,645
|
3195,7303
|
0,003
|
|
hАЭУбрутто
|
0,3129
|
0,31291752
|
0,006
|
Сопоставление результатов расчета показывает, что «ручной» расчет
выполнен достаточно корректно, результаты расчета имеют высокую точность.
Рассмотренный выше компьютерный метод расчета рабочего контура позволяет
не только достаточно просто и точно определить значения расходов сред в ветвях
контура и экономичность установки, но выполнить также и некоторые исследования
экономичности.
Ниже приведены примеры результатов некоторых исследований.
) Основной вариант установки принят с охладителями дренажа в ПНД-3 и
ПНД-4. В исследуемом варианте принята аналогичная установка, но без охладителей
дренажа в указанных ПНД. Для расчета показателей такой устаноки достаточно в
исходную систему уравнений внести следующие изменения:
в уравнении теплового баланса ПНД-4 (уравнение 18) значение энтальпии
греющей среды на выходе из ПНД-4 вместо i=440,27 кДж/кг (переохлажденный
дренаж) следует принять i=530,76 кДж/кг (энтальпия воды на линии насыщения при
давлении в ПНД-4 р=0,242 МПа);
в уравнении теплового баланса ПНД-3 (уравнение 19) значение энтальпии
греющей среды на выходе из ПНД-3 вместо i=349,49 кДж/кг (переохлажденный
дренаж) следует принять i=427,707 кДж/кг (энтальпия воды на линии насыщения при
давлении в ПНД-3 р=0,109 МПа). Кроме того, в уравнении 19 значение энтальпии
греющей среды на входе - 2, куда каскадно сливается дренаж из ПНД-4, вместо iвх2г=440,27
кДж/кг следует принять iвх2г=530,76 кДж/кг;
в уравнении теплового баланса ПНД-2 (уравнение 20) значение энтальпии
среды на входе 2, куда каскадно сливается дренаж из ПНД-3, вместо iвх2г=349,49
кДж/кг следует принять iвх2г=427,707 кДж/кг.
Параметры нагреваемой среды приняты такими же как и в основном варианте.
Как и следовало ожидать, исключение охладителей дренажа в ПНД-3 и ПНД-4
привело к некоторому снижению экономичности установки. Если в основном варианте
расчета величина КПД АЭУ брутто составляет 0,31291752, то исключение упомянутых
охладителей дренажа снизило КПД до 0,31276585. Как следствие исключения
охладителей дренажа отмечается некоторое повышение расхода греющего пара на
ПНД-3 и ПНД-4: для ПНД-3 Gот6 = 48,876965 кг/с (вместо 47,895199
кг/с в основном варианте); для ПНД-4 Gот5 = 65,839365 кг/с (вместо
63,935186 кг/с в основном варианте).
) Известно, что при работе установки могут возникнуть какие-либо
неисправности в подогревателях высокого давления. В схеме рабочего контура
предусмотрена арматура отключения неисправных подогревателей и байпасная линия
обвода отключенных ПВД. Для расчета такого режима достаточно в уравнениях
тепловых балансов ПВД-6 и ПВД-7 (уравнения 14, 15) а также точки смешения сред
на выходе из ПВД-7 (уравнение 25) значения энтальпии нагреваемой среды принять
одинаковыми и равными энтальпии рабочего тела на выходе из питательного насоса
i = 702 кДж/кг (см. таблицу 6).
Результаты расчета рабочего контура в этом режиме показали, что
экономичность установки заметно снизилась, КПД АЭУ брутто составил 0,30845731
(вместо 0,31291752 в основном варианте). Разумеется расчетные значения отборов
пара на отключенные ПВД равны нулю (Gот1 =Gот2 =0). Резко
снизилось значение энтальпии на входе в ПГ. Ее значение составило iпв=748,64176
кДж/кг (вместо 923,51087 кДж/кг в основном варианте). Соответственно изменилась
и температура питательной воды на входе в ПГ. Она составила tпв =
t(pпв =8,12 МПа; iпв=748,64 кДж/кг) = = 175,85оС,
вместо tпв = 215,19 оС в основном варианте.
) Рассмотрим вариант отключения ПНД-3. Условно считаем, что у этого ПНД
по нагреваемой среде предусмотрена байпасирующая линия. По греющей среде
каскадный слив из ПНД-4 переведен на ПНД-2. Работа такого рабочего контура
выразится в том, что уменьшилось количество подогревателей в системе
регенерации. Однако, последний ПВД (ПВД-7) остался подключенном по отбираемому
пару на прежнюю точку проточной части турбины. Следовательно, температура
нагреваемой воды будет несколько завышена по сравнению с оптимальной. Кроме
того, заметно нарушилась равномерность нагрева воды вдоль тракта
конденсатно-питательной системы. Это должно привести к некоторому снижению
экономичности установки.
Для реализации этого режима в систему уравнениц внесены следующие
изменения:
в уравнении теплового баланса ПНД-3 (уравнение 19) энтальпию нагреваемой
среды принимают одинаковой и равной энтальпии воды на выходе из КН-2, т. е. iнвх
ПНД-3 = iнвых ПНД-3 = 321,2 кДж/кг. Кроме того
расход по каскадному сливу из ПНД-4 принят равным нулю, т.е. изъято слагаемое
(Gот5 - 16,7) (440,27 - 349,49);
в уравнении теплового баланса ПНД-4 (уравнение 18) энтальпия нагреваемой
среды на входе - 1 принята равной энтальпии в ПНД-3, т. е. iнвх1
ПНД-4 =321,2 кДж/кг (вместо 411,54 кДж/кг в основном варианте);
в уравнении теплового баланса ПНД-2 (уравнение 20) на входе - 2, куда
каскадно сливается выход греющей среды из ПНД-4 и ПНД-3, энтальпия среды
принята iвх2 ПНД-2 = 440,27 кДж/кг (по значению i гвых
ПНД-4 - см. таблицу 7) вместо 349,49 кДж/кг в основном режиме.
Анализ полученных результатов показал, что несколько снизилась
экономичность установки: КПД установки составил 0,31161317 (вместо 0,31291752 в
основном режиме). Кроме того, значительно вырос расход пара на ПНД-4: Gот5
= 103,38895 (вместо 63,935186 в основном режиме).
) Рассмотрим вариант исследования вклада системы регенерации в КПД АЭС в
целом. Для этого решена система уравнений тепловых балансов расчетной схемы с
отключением системы регенерации. Результаты решения сопоставлены с результатами
основного варианта, в котором все элементы рабочего контура, в том числе и
система регенерации, работают по штатной схеме.
Отключение системы регенерации выполнено в предположении, что остальные
элементы рабочего контура (СПП, ТПН, отборы пара на систему теплофикации, на
собственные нужды, ОПУ, протечки пара) остаются в штатном режиме. При этом за
счет смешения сред основного потока рабочего тела и горячих сливов от
остающихся в работе элементов происходит некоторый нагрев рабочего тела. Это
должно сказаться на экономичности установки аналогично влиянию системы
регенерации. В результате этого отключение только регенеративных
водоподогревателей не исключает полностью эффект регенеративного подогрева
питательной воды.
Отключение системы регенерации в системе уравнений осуществляется за счет
того, что в уравнениях тепловых балансов ВП значения энтальпии нагреваемой
среды на входе и выходе каждого ВП заказаны одинаковыми.
Так как температура питательной воды при отключенной системе регенерации
значительно ниже температура воды в штатном режиме, то для упрощения
рассмотрения вопроса в уравнениях тепловых балансов всех ВП коэффициенты
удержания тепла приняты равными единице. В связи с этим результаты решения
задачи сопоставляются не с основным штатным вариантом, а с основным вариантом,
в котором система регенерации включена в работу, но коэффициенты удержания
тепла также приняты равными единице.
Отключение системы регененрации должно привести к тому, что расходы
греющего пара должны составить: Gот1=0; Gот2=0; Gот3=Gсн=41;
Gот4=Gпсвп=22,53; G от5 =Gпсво2ст=16,07;
Gот6=Gпсво1ст=9,83; Gот7=0; Gот8=0.
В связи с этим слагаемые уравнений тепловых балансов, в которых значения
нулевых расходов умножаются на штатные большие значения энтальпий, можно
оставить без изменений. По остальным слагаемым в уравнения тепловым балансам
внесены следующие изменения:
а) ур.21 (ПНД1) - iвых=150,757 вместо 232,67;
б) ур. 20 (ПНД2) - iвх3=150,757 вместо 232,67; iвых=150,757
вместо 320,0;
в) ур. 19 (ПНД3) - iнвх=150,757 вместо 321,2; iнвых=150,757
вместо 411,57;
г) ур. 18 (ПНД4).
Нагреваемая среда имеет два входа - выход из ПНД3 и выход из системы
теплофикации. Для определения энтальпии нагреваемой среды на выходе из ПНД4
(обозначена i1) составлено дополнительное уравнение теплового
баланса смешения сред, из которого следует

.
В
основное уравнение (18) внесены следующие изменения:
в
первом слагаемом правой части iнвых=i1 вместо
517,18; iнвх1=150,757 вместо 411,54;
во
втором слагаемом правой части iнвых =i1 вместо
517,18;
д)
ур. 17 (ПНД5) - iнвх =i1 вместо 517,16; iнвых
=i1 вместо 645,51;
е)
ур. 16 (деаэратор).
Для
определения энтальпии среды на выходе из деаэратора (обозначена i2)
составлено дополнительное уравнение теплового баланса смешения сред,
поступающих на деаэратор. С учетом ожидающихся расходов сред в отборах пара из
турбины расходы сред на входах в деаэратор составляют:вх1=0; Gвх2=Gсн1=14;
Gвх3=0; Gвх4=0; Gвх5=Gс=(Gт-41-22,53)×(1-0,856); вх6=(Gт-41-22,53)×0,856+27+Gпр+22,53; Gвых=Gт+Gпр.
Значения
энтальпий смешиваемых сред:
iвх2=546,73; iвх5=664,7; iвх6=i1; iвых=i2.
{546,73×14+664,7(Gт -41-22,53)(1-
0,856)+ i1[(Gт -41-22,53)0,856+27+Gпр+22,53]}/(Gт+Gпр).
В основное уравнение (16) внесенны следующие изменения:
в правой части уравнения iвых=i2 вместо 697,1;
в шестом слагаемом левой части уравнения iвх6=i1
вместо 645,51;
ж) ур. 15 (ПВД6).
Дополнительные уравнения: энтальпия нагреваемой среды после прохождения
ею ПН i3 = i2 + Diпн. Для расчета приближенно оценено Diпн = 5 кДж/кг (см.
таблицу 6 и таблицу 8).
В основное уравнение (15) внесены следующие изменения. iнвх=i3
вместо 702,0; iнвых =i3 вместо 815,5;
з) ур. 14 (ПВД7). iнвх =i3 вместо 815,5;
iнвых =i3 вместо 897,7;
и) ур. 25 (точка смешения нагреваемой среды на выходе из ПВД7 и слива
конденсата греющего пара из СПП): iнвых ПВД7=i3
вместо 897,7.
Анализ результатов решения:
) подтвердились предположения о значениях расходов в отборах;
) значение энтальпии ПВ на входе в ПГ значительно снизилось и составило
337,19 кДж/кг вместо 923,6 в основном варианте. Это соответствует значительно
сниженному значению температуры питательной воды - 79,02оС вместо
215,22 в основном варианте;
) КПД АЭУ брутто снизился и составил 0,2826 вместо 0,3137 в основном
варианте, т.е. КПД снизился на 3,11%. Как уже отмечалось, умеренное снижение
КПД можно объяснить тем, что в его поддержание вносят некоторый вклад сливаемые
в поток ПВ горячие сливы от остающихся в штатном режиме работы элементов
рабочего контура (СПП, система теплофикации, СН);
) мощность ядерного реактора возросла и составила 3538,72 МВт вместо
3187,8;
) расход пара на турбину снизился и составил 1279,76 кг/с вместо 1544,69
в основном варианте.
7. Расчет параметров циркуляционных насосов АЭУ
.1 Общие рекомендации по расчету параметров насосов
В расчете энергоустановки в целом можно ограничиться расчетом параметров
наиболее мощных насосов, перекачиваемые среды которых несут основной поток
тепловой энергии. К таким насосам относятся:
а) циркуляционные насосы первого контура;
б) конденсатные насосы основного рабочего контура (КН1 и КН2);
в) питательные насосы;
г) основные насосы системы технического водоснабжения.
Все предложенные для расчета насосы являются динамическими водяными
лопастными насосами.
Определению подлежат как номинальные параметры насосов, так и их
эксплуатационные параметры, характеризующие работу насосных агрегатов на
номинальной мощности установки.
Для эскизной стадии проектирования АЭУ значения номинальных параметров
указанных насосов следует рассматривать как параметры важных элементов
установки в целом. Что касается эксплуатационных параметров насосов, то они
необходимы для того, чтобы с их помощью определить затраты электроэнергии на
собственные нужды АЭС. Это позволит в последующем оценить КПД энергоблока
нетто.
Номинальная объемная подача насоса Qцнном должна быть равна суммарному расходу среды в системе (деленному на
количество параллельно работающих насосов), увеличенному на коэффициент запаса
на износ насоса. Для водяных насосов коэффициент запаса можно принять kз = 1,15. Количество параллельно
включенных насосов принимается предварительно по прототипу и в последующем
может быть уточнено при определении типа насоса. Для каждого из рассматриваемых
насосов расход среды в системе следует взять из выполненного ранее расчета
рабочего контура.
Номинальное давление (напор) насоса рцнном можно
принять по прототипу, учитывая при этом состав и особенности системы. Если
система замкнута (например, первый контур), то давление насоса должно
соответствовать гидравлическому сопротивлению контура, составляющие которого
(гидравлические сопротивления ядерного реактора, парогенератора и трубопроводов
первого контура) оценивают по прототипу.
Если система разомкнута, то кроме оценки составляющих гидравлических
сопротивлений тракта необходимо также учесть разность давлений в начальной и
конечной точках системы (для КН и ПН - из расчета рабочего контура) и
геодезическую составляющую. При этом разность высот начальной и конечной точек
системы оценивают по принятой прототипной установке. Расчеты давления КН и ПН
были выполнены ранее в п.5.5.
Окончательные значения подачи и давления насоса следует принять по ряду
предпочтительных чисел (ГОСТ 8032-84). Извлечения из ГОСТ приведены в
приложении А.
Частота вращения рабочих органов насоса n в первом приближении может быть
принята по прототипу. При этом следует иметь в виду, что максимально возможное
значение n для насоса с электроприводом переменного тока может быть принято
3000 об/мин, меньшие значения: 1500, 1000, 750 и т.д. - ряд дискретных величин,
соответствующий числу пар полюсов электродвигателя. Для насоса с паротурбинным
приводом максимальное значение частоты вращения может быть принято больше. В
виду сложного влияния величины n на различные показатели насосного агрегата
(экономичность, массогабаритные показатели, противо-кавитационные свойства, тип
рабочего органа, экономичность регулирования подачи насоса и др.) при выборе
значения n насоса с паротурбинным приводом целесообразно ориентироваться на
прототипные решения. Тип рабочего органа водяного динамического лопастного
насоса (его рабочего колеса) может быть оценен по значению его коэффициента
быстроходности ns, величина которого полностью определяется подачей
насоса, его давлением и частотой вращения. При этом следует иметь в виду, что
низкое значение ns определяет пологую характеристику насоса и таким
образом обеспечивает экономичное регулирование подачи насоса регулирующим
клапаном. Это очень актуально для КН и ПН, подача которых находится в прямой
зависимости от мощности установки и регулируется с помощью питательного клапана
и других регулирующих органов. Для насосов, входящих в состав нерегулируемых
систем (первый контур, система технического водоснабжения главного
конденсатора), целесообразно стремиться к возможно более высокому значению ns
до 500...900. Это способствует повышению экономичности насоса. Если расчетное
значение ns выпадает из рекомендованных пределов, то его можно
изменить, варьируя количеством параллельно включенных насосов (влияние на
подачу насоса), количеством последовательно включенных ступеней в насосе
(влияние на давление, развиваемое рабочим колесом), частотой вращения рабочих
органов насоса (за счет подбора числа пар полюсов электродвигателя).
КПД насоса hцнном - параметр, сложным образом
зависящий от ряда факторов - подача, тип рабочего колеса и др. В расчет можно
принять значение hцнном по прототипным данным. Можно также
воспользоваться обобщенными данными КПД насосов, представляемыми обычно
графически (см. [1] стр.132 рисунок 4.3).
Номинальная мощность насоса (мощность, потребляемая насосом)
Nцнном = Qцнном ×pцнном/(hцнном ×1000), кВт.
Номинальную мощность насоса как один из паспортизируемых параметров
следует принять по ряду предпочтительных чисел (ГОСТ 8032-84) (см. приложение
А).
Тип привода насоса - чаще всего электродвигатель переменного тока.
Правда, для некоторых мощных насосов может оказаться целесообразным
паротурбинный привод, если компоновка привода и систем, его обеспечивающих,
может быть принята в рациональном исполнении. Например, питательные насосы
мощных энергоблоков (мощностью 1000 МВт) представлены двумя параллельно
работающими питательными насосами, каждый из которых имеет паротурбинный привод
мощностью около 11800 кВт. Значение мощности такого привода следует принять по
ряду предпочтительных чисел (ГОСТ 8032-84). Если же в качестве привода принят
электродвигатель, то его мощность принимают по ряду мощностей электрических
вращающихся машин (ГОСТ 12139-89) (извлечения из ГОСТ приведены в приложении
Б). Во всех случаях должно быть выдержано неравенство Nдвном
³ Nцнном.
В некоторых случаях величину Nдвном принимают со
значительным превышением над номинальной мощностью насоса. Например, для насоса
первого контура мощность принимают не по номинальной мощности насоса, а по его
мощности при работе на холодной воде первого контура (пусковые режимы). В этом
режиме по ряду причин (повышенная вязкость воды, увеличенная плотность воды и
др.) мощность насоса и, следовательно, мощность двигателя будут несколько выше.
Это повышение мощности можно оценить приближенно - пропорционально повышению
мощности прототипного насоса.
КПД двигателя hцнном следует принять также ориентируясь
на прототипные данные.
Все расчетные и принятые в расчет номинальные параметры насосов следует
сопоставить с данными насосов прототипной установки. Если имеются существенные
отличия, то необходимо найти им объяснения или устранить причину отличий.
На эксплуатационном режиме все параметры насоса заметно отличаются от его
номинальных параметров. Структурно расчетная формула мощности насоса на
эксплуатацинном режиме остается той же, но значения подачи и давления насоса, а
также его КПД будут иными.
Подача насоса изменяется в соответствии с принятым способом регулирования
насоса.
Для КН и ПН регулирование подачи производится соответствующим прикрытием
питательного клапана или других регулирующих органов. В расчет можно принять,
что на номинальной мощности установки подача насоса отличается от его
номинальной подачи на величину запаса на износ, т.е.
Qцн = (1/kз)×Qцнном, м3/с.
Изменение давления насоса и его КПД практически однозначно определяется
его типом, т.е. значением коэффициента быстроходности. Действительно, величина
коэффициента быстоходности ns однозначно определяет крутизну
характеристики насоса рцн - Qцн при неизменной частоте вращения. Следовательно, степень
снижения подачи однозначно определяет степень увеличения давления насоса. По
заранее выполненным многовариантным расчетам для различных возможных значений
подачи Qцн и для различных типов насосов
(разные значения ns) составлена номограмма. По такой номограмме
можно оценить значения мощности насоса Nцн = f(Qцн, ns) - (см. приложение
Г).
Для насоса первого контура (ЦНПК) обычно в расчет принимают kз = 1, т.е. для такого насоса Qцн = Qцнном.
Для насосов технического водоснабжения значение kз = 1,15, однако в трассе подачи технической воды обычно не
предусматривают регулирующую арматуру, поэтому и для эксплуатационного режима
насоса, т.е. для его работы на режиме номинальной мощности установки
сохраняется равенство Qцн = Qцнном.
Иногда приводной двигатель насоса технического водоснабжения
предусматривают двухскоростным, но на расчетном режиме работы энергоблока
предусматривается работа насоса на полной частоте вращения, поэтому работу
насоса на пониженной частоте вращения здесь можно не рассматривать.
Таким образом, для ЦHПК и ЦН системы технического водоснабжения (ЦНТВ)
можно считать, что Nцн = Nцнном.
Мощность приводного двигателя на эксплуатационном режиме практически
равна мощности насоса, т.е. Nдв = Nцн. С учетом
общепринятого подхода это равенство можно записать
дв = Nдв ном ×kз дв,
где kз дв = Nдв / Nдв
ном - коэффициент загрузки двигателя.
Электродвигатели обычно проектируют таким образом, что их КПД в
достаточно широком диапазоне нагрузки (примерно 50...100 %) изменяется
незначительно. Поэтому в расчете расхода электроэнергии при функционировании
насоса в эксплуатационном режиме значение КПД двигателя можно принять равным
номинальному значению. Тогда мощность, потребляемая насосом из сети
с
= Nдв / hдвном.
Ниже представлены расчеты параметров насосов АЭУ АЭС применительно к
принятой в расчет энергоустановки.
.2 Параметры главного циркуляционного насоса первого контура
Прототипные данные ЦНПК приведены в[1] с.148…149 таблица 4.1.
Тракт теплоносителя первого контура представлен в виде четырех
параллельных петель, в каждой из которых циркуляция обеспечивается собственным
ЦНПК. Насос центробежный вертикальный одноступенчатый с электроприводом
переменного тока, с механическим уплотнением вала насоса. Частота вращения
принята 1000 об/мин. Приводной двигатель - асинхронный двигатель переменного
тока.
Подача насоса
Qцнпкном = Qярном×vтн / [(iт1 - iт2)×zцнпк], м3/с,
где Qярном = 3200×103 кВт - номинальная
тепловая мощность ЯР, принимается по результатам расчета рабочего контура
(см.п.5.9);тн = v(р = 16,0 МПа, t = 291 оС) = 0,0013417 м3/кг;т1
= i(р = 16,0 МПа, t = 323 оС) = 1472,29 кДж/кг;т2 = i(р =
16,0 МПа, t = 291 оС) = 1289,64 кДж/кг;цнпк = 4.
Qцнпкном = 3200×103×0,0013417 / [(1472,29 - 1289,64)×4] = 5,8766 м3/с.
Давление насоса рцнпкном = 0,69 МПа - принято по
прототипу.
Коэффициент быстроходности насоса
ns = 20,1×nцнпкном ×(Qцнпкном)0,5/(рцнпкном×10-3)0,75 =
= 20,1×1000 ×(5,8766)0,5/(0,69×106×10-3)0,75 =
362.
Следовательно, тип насоса - быстроходный центробежный одноступенчатый.
КПД насоса hцнпкном = 0,77 - принято по прототипу.
Мощность насоса
Nцнпкном = Qцнпкном ×pцнпкном/(hцнпкном ×1000) =
= 5,8766 ×0,69×106/(0,77 ×1000) = 5266,044 кВт.
Мощность насоса на холодной воде оценена по прототипному насосу
цнпкхол.вод = Nцнпкном ×Nцнпкхол.вод прот / Nцнпкном
прот =
= 5266,044 ×7000 / 5300 = 6955,1524 кВт.
Номинальная мощность двигателя Nдвном = 7100 кВт -
по ГОСТ 12139-84.
КПД двигателя hдв = 0,92 -
принято по прототипу.
Коэффициент загрузки двигателя
kздв = Nцнпк /Nдвном
= 5266,044 / 7100 = 0,7417.
Мощность, потребляемая из сети,
с
= Nдвном × kздв / hдв = 7100 × 0,7417 / 0,92 = 5723,99 кВт.
.3 Параметры конденсатного насоса первого подъема
Прототипные данные КН1, 2 приведены в[1] с.152…153 таблица 4.2.
Узел конденсатных насосов первого подъема представлен двумя параллельно
включенными работающими насосами (третий резервный). Каждый насос -
центробежный вертикальный четырехступенчатый с предвключенным колесом. Частота
вращения насоса 750 об/мин. Приводной двигатель - асинхронный двигатель
переменного тока.
Подача насоса
Qкн-1ном = (1/zкн-1) ×kз×Gкн-1×vконд, м3/с,
где zкн-1 = 2;
kз
= 1,15;
кн-1 = Gгкп + Gсн2 + Gпр + G птпн
=
= 818,666+ 27 + 6,19564 + 34,7266 = 886,588 кг/с (см.п.5.8.8);
vконд = v¢(р = 0,005 МПа) = 0,0010052 м3/кг.
Qкн-1ном = (1/2)×1,15×886,588 ×0,0010052 = 0,512439 м3/с.
В расчет принято: Qкн-1ном = 0,515 м3/с
- по ГОСТ 8032-84.
Давление насоса: ркн-1ном = 0,95 МПа (см. п.5.5.1).
Коэффициент быстроходности насоса
ns = 20,1×nкн-1ном ×(Qкн-1ном)0,5/(ркн-1ном×10-3/4)0,75 =
= 20,1×750 ×(0,515)0,5/(0,95×106×10-3/4)0,75 =
179.
Следовательно, тип насоса - центробежный четырехступенчатый.
КПД насоса hкн-1ном = 0,84 - принято по прототипу.
Номинальная мощность насоса
кн-1ном = ркн-1ном ∙Qкн-1ном /
(hкн-1ном ∙1000) = 0,95×106 × 0,515 / (0,84 × 1000) = 582,44 кВт.
Номинальная мощность двигателя Nдвном =600 кВт - по
ГОСТ 12139-84.
КПД двигателя hдв = 0,90.
Коэффициент загрузки насоса
кн-1/ Qкн-1ном = 1/ 1,15 = 0,87.
Мощность насоса
кн-1= 0,96. Nкн-1ном = 0,96 × 582,44 = 559,14 кВт,
коэффициент 0,96 определен по номограмме (см. приложение Г).
Коэффициент загрузки двигателя
kздв = Nкн-1 / Nдвном
= 559,14 / 600 = 0,932.
Мощность, потребляемая из сети,
Рс = Nдвном ×kздв / hдв = 600 × 0,932 / 0,90 = 621,33 кВт.
.4 Параметры конденсатного насоса второго подъема
Узел конденсатных насосов второго подъема представлен четырьмя
параллельно включенными работающими насосами (пятый резервный). Каждый насос -
центробежный вертикальный четрехступенчатый с предвключенным колесом. Частота
вращения насоса 750 об/мин. Приводной двигатель - асинхронный двигатель
переменного тока.
Подача насоса
Qкн-2ном = (1/zкн-2) ×kз×G×vконд, м3/с,
где zкн-2 = 4;
kз
= 1,15;
кн-2 = Gкн-1 + Gот5 + Gот6 + Gот7
+ Gот8 - Gпсво1ст - Gпсво2ст =
= 886,588 + 63,9283 + 47,8926 +34,5995 +32,5064 - 9,83 - 16,07 =
= 1039,61 м3/с;
vконд = v¢(р = 0,04095 МПа) = 0,00102683 м3/кг.кн-2ном
= (1/4) × 1,15 × 1039,61 × 0,00102683 = 0,3069 м3/с.
В расчет принято Qкн-2ном = 0,307 м3/с -
по ГОСТ 8032-84.
Давление насоса ркн-2ном = 1,9 МПа (см. п.5.5.1).
Коэффициент быстроходности насоса
ns = 20,1×nкн-2ном ×(Qкн-2ном)0,5/(ркн-2ном×10-3/4)0,75 =
= 20,1×750 ×(0,307)0,5/(1,9×106×10-3/4)0,75 =
82.
Следовательно, тип насоса - центробежный четырехступенчатый.
КПД насоса hкн-2ном = 0,80 - принято по прототипу.
Номинальная мощность насоса
кн-2ном = ркн-2ном ∙Qкн-2ном /
(hкн-2ном ∙1000) = 1,9×106 × 0,307 / (0,80 × 1000) = 729,1 кВт.
Номинальная мощность двигателя Nдвном =750 кВт - по
ГОСТ 12139-84.
КПД двигателя hдв = 0,90.
Коэффициент загрузки насоса
Qкн-2/ Qкн-2ном = 1/ 1,15 = 0,87.кн-2
= 0,93 × Nкн-2ном
= 0,93 × 729,1 = 678,063 кВт,
коэффициент 0,93 определен по номограмме (см. приложение Г)
Коэффициент загрузки двигателя
kздв = Nкн-2 / Nдвном
= 678,063 / 750 = 0,9041.
Мощность, потребляемая из сети,
Рс = Nдвном ×kздв / hдв = 750 × 0,9041 / 0,90 = 753,42 кВт.
.5 Параметры главного питательного насоса
Прототипные данные ПН приведены в [1] с.156…157 таблица 4.3.
Узел главного питательного насоса представлен двумя параллельно
включенными турбопитательными насосами. Каждый ТПН состоит из последовательно
включенных насосов - предвключенного ППН и основного ОПН. Оба насоса приводятся
в действие общим паротурбинным приводом: ППН через одноступенчатый редуктор,
ОПН - непосредственно.
Предвключенный насос - центробежный, горизонтальный одноступенчатый с
колесом двухстороннего входа.
Частота вращения-1800 об/мин.
Основной насос - центробежный, горизонтальный трёхступенчатый. Частота
вращения-3500 об/мин.
Для резервирования ТПН в напорно-питательном трубопроводе предусмотрено
два параллельно включенных вспомогательных питательных насоса (ВПН) с
электроприводом. Расчет выполняется только для главного питательного насоса -
ТПН.
Параметры предвключенного насоса.
Подача насоса:
ппнном = (1/zппн) ×kз×Gтпн×vппн, м3/с,
где zппн = 2;
kз
= 1,15;тпн
=1,0542426Gт - 3,921 (см. п.5.7.3);тпн =1,0542426×1548,909 - 3,921 = 1629,0048 кг/с;
vконд = v¢(р = 0,7 МПа) = 0,0011082 м3/кг.ппнном
= (1/2) ∙1,15 ∙1629,0048 ∙0,0011082 = 1,0380262 м3/с.
В расчет принято: Qппнном = 1,045 м3/с -
по ГОСТ 8032-84.
Давление насоса рппнном = 0,2 ∙ рпн =
0,2 ∙ 8,7 = 1,74 МПа (см. п.5.5.1).В расчет принято: рппнном
= 1,75 МПа - по ГОСТ 8032-84.Коэффициент быстроходности насоса
ns = 20,1×nппнном ×(Qппнном/2)0,5/(рппнном×10-3)0,75 =
= 20,1×1800 ×(1,045/2)0,5/(1,75×106×10-3)0,75 = 97.
Следовательно, тип насоса - центробежный одноступенчатый с колесом
двухстороннего входа.
КПД насоса hппнном = 0,82 - принято по прототипу.
Номинальная мощность насоса
ппнном = рппнном ∙Qппнном / (hппнном ∙1000) =
= 1,75×106
× 1,045 / (0,82 × 1000) = 2230,1829 кВт.
Параметры основного питательного насоса.
Подача насоса Qопнном = Qппнном
= 1,045 м3/с.
Давление насоса ропнном = рпнном
- рппнном = 8,7 - 1,75= 6,95 МПа.
Коэффициент быстроходности насоса
ns = 20,1×nопнном ×(Qопнном)0,5/(ропнном×10-3/3)0,75 =
= 20,1×3500 ×(1,045)0,5/(6,95×106×10-3/3)0,75 =
215.
Следовательно, тип насоса - центробежный трехступенчатый. КПД насоса hппнном = 0,82 - принято по прототипу.
Номинальная мощность насоса:
опнном = ропнном ∙Qопнном / (hопнном ∙1000) =
= 6,95×106
× 1,045 / (0,82 × 1000) = 8857,0121 кВт.
Мощность питательного насоса в целом:
пн = Nпнном + Nопнном =
2230,1829 + 8857,0121 = 11087,195 кВт.
.6 Параметры главного циркуляционного насоса системы технического
водоснабжения
Прототипные данные насосов технического водоснабжения приведены в [1]
с.160…161 таблица 4.4.
Узел насосной станции технического водоснабжения представлен четырьмя
параллельно включенными насосами диагонального типа. Частота вращения насоса
300 об/мин. Приводной двигатель - асинхронный двигатель переменного тока.
Подача насоса
Qцнгкном = (1/zцнгк) ×kз×G×vтв, м3/с,
где: zцнгк = 4;
kз = 1,15;
= 1,1∙Gгкп ∙m =1,1 × 818,666 × 55= 49529,293 кг/с (см. п.5.8.8 и
п.3.5);
vтв = v(р = 0,1МПа, t = 20
0С) = 0,0010017 м3/кг - принято в расчет;цнгкном
= (1/4) ×1,15× 49529,293 × 0,0010017 = 14,264 м3/с,
В расчет принято: Qцнгкном = 14,5 м3/с -
по ГОСТ 8032-84.
Давление насоса: рцнгкном = 0,220 МПа - принято по
прототипу.
Здесь коэффициентом 1,1 учитывается расход воды на дополнительные
потребители.
Коэффициент быстроходности насоса
ns = 20,1×nцнгкном ×(Qцнгкном)0,5/(рцнгкном×10-3)0,75 =
= 20,1×300 ×(14,5)0,5/(0,220×106×10-3)0,75 =
402.
Следовательно, тип насоса - диагональный.
КПД насоса hцнгкном = 0,88- принято по прототипу.
Номинальная мощность насоса:
цнгкном = рцнгкном ∙Qцнгкном /
(hцнгкном ∙1000) =
= 0,220×106
× 14,5 / (0,88 × 1000) = 3625,0 кВт.
Номинальная мощность двигателя Nдвном = 4000 кВт -
по ГОСТ 12139-84. КПД двигателя hдв = 0,90.
Коэффициент загрузки двигателя
kздв = Nцнгкном/ Nдвном
= 3625,0 / 4000 = 0,90625.
Мощность, потребляемая из сети,
Рс = Nдвном ×kздв / hдв = 4000 × 0,90625 / 0,90 = 4027,78 кВт.
.7 Затраты электроэнергии на собственные нужды. КПД АЭУ нетто
Сумма расходов электроэнергии на все рассмотренные насосы составляет
основную долю расхода электроэнергии на собственные нужды - порядка 85 %.
Ориентируясь на прототипные данные, можно оценить также расход электроэнергии
на остальные потребители и, таким образом, общий расход электроэнергии на
собственные нужды Pсн. Тогда потери на собственные нужды можно
оценить через относительную величину hсн
hсн = (Рг
- Pсн)/ Рг.
В этом случае hАЭУнетто = hАЭУбрутто×hсн.
Следует особо обратить внимание на способ охлаждения технической воды для
принятой в расчет установки. Если принята оборотная система технического
водоснабжения с градирнями или брызгальными бассейнами, то техническая вода в
каждом цикле использования прокачивается насосами дважды - через ГК и через
водоохлаждающие устройства. Это требует увеличения затрат электроэнергии на
функционирование системы технического водоснабжения. Расход прокачиваемой воды
в обеих насосных станциях (станция подачи воды на ГК и станция подачи воды на
водоохлаждающие устройства) практически одинаков. Анализ различных схем
водоснабжения показывает, что и значения давлений насосов этих насосных станций
можно считать одинаковыми. Поэтому приближенно, без существенных потерь
точности оценочных расчетов, затраты электроэнергии на собственные нужды по
статье технического водоснабжения можно оценить только по насосной станции главных
конденсаторов, но в итоговой сумме общих затрат эту величину следует удвоить.
Применительно к принятой в расчет энергоустановки определение затрат
электроэнергии на собственные нужды может быть выполнено следующим образом.
Затраты электроэнергии на ЦНПК, КН-1, КН-2, ЦНГК
Рс = 4 × 5723,99 + 2 × 621,33 + 4 × 753,42 + 4 × 4027,78 = 43263,42 кВт.
Затраты электроэнергии на прочие потребители собственных нужд
Рсдоп = 0,15 × Рс / 0,85= 0,15 ∙43263,42 /
0,85= 7634,72 кВт.
Суммарные затраты электроэнергии на собственные нужды
Рсн = 43263,42 + 7634,72 = 50898,14 кВт.
Относительные затраты электроэнергии на собственные нужды
hсн = (Рг
- Рсн) / Рг = (1∙106 - 50898,14) / 1∙106
= 0,9491.
КПД АЭУ нетто:
hАЭУнетто = hАЭУбрутто ∙hсн = 0,3129 × 0,9491 = 0,297.
8. Оценка массогабаритных параметров главных элементов АЭУ
.1 Параметры ядерного реактора
В результате расчета рабочего контура АЭУ определены мощность ядерного
реактора, расход теплоносителя через активную зону, давление теплоносителя и
его температура на выходе из ядерного реактора и на входе в него.
Для полной характеристики реактора необходимо дополнительно определить
загрузку ядерного топлива и массогабаритные показатели реактора.
Оценку загрузки ядерного топлива производят с учетом мощности реактора,
принятой в расчет кампании (принимают в расчет с учетом достигнутой к
настоящему времени в атомной энергетике величины) и реально достижимой глубины
выгорания топлива R. Глубину
выгорания топлива можно принять, ориентируясь на прототипные данные.
Габариты реактора можно оценить через размеры активной зоны. Объем
активной зоны определяется мощностью реактора и принятой в расчет
энергонапряженностью активной зоны q. Значение q реакторов различных типов
находится в достаточно узком диапазоне и может быть принято в расчет по
прототипному реактору. Коэффициенты пропорциональности (удельные показатели)
также можно принять по прототипному реактору.
Аналогичным образом можно оценить массу реактора.
Полученные расчетные значения параметров ядерного реактора необходимо
сопоставить с прототипными данными, обосновав при этом отличия, если они
существенные
Прототипные данные ЯР отечественных АЭС приведены в [1] с.168…169 таблица
5.1.
Для принятой в расчет энергоустановки параметры ЯР определены в
представленной ниже последовательности.
Энергия, выработанная за время кампании Е = Qярном ∙
t, МВт∙ч,
где t = 3 × 7000 = 21000 ч - принято по
прототипу;ярном = 3200 МВт - см. п. 5.9.
Е = 3200∙103 × 21000 = 6,72× 1010 кВт∙ч.
Загрузка урана в активной зоне М U = Е / (R×24) кг,
где R = 35 МВт∙сут/кг - принято по прототипу.
Тогда М U = 6,72× 1010 / (35 × 24∙106) = 80 т.
Объем активной зоны
аз = Qярном / q= 3200 / 111 = 28,83 м3,
где q = 111 МВт/м3 - принято по прототипу.аз = 3200
/ 111 = 28,83 м3.
Диаметр активной зоны Dаз = 3,16 м - принято по прототипу.
Высота активной зоны
аз = 4∙Vаз / (p∙Dаз2) = 4 × 28,83 / (3,14 × 3,162) = 3,678
м.
Габаритный диаметр ЯР Dяр = 4,535 м - принято по прототипу.
ЯР Hяр = hяр ∙ Hаз м,яр
= Hярпр / Hазпр =10,88 / 3,56 =
3,056.
ЯР Мяр = mяр ∙Vяр, т,яр
= Мярпр/ Vярпр = Мярпр/(p ∙ Dярпр 2 ∙
Hярпр/4) = 824/(3,14∙4,5352∙10,88/4)
= 4,69 т/м3.
Мяр = 4,69∙(p∙Dяр2 ∙ Hяр/4) =
4,69 ∙ 3,14 ∙ 4,5352∙11,24/4) = 851,066 т.
Сводные данные параметров ЯР
Тепловая мощность - 3200 Мвт.
Давление теплоносителя - 16,0 МПа.
Температура теплоносителя:
на выходе из ЯР - 323 оС;
на входе в ЯР - 291 оС.
Расход теплоносителя через активную зону (см. п.7.2)
Gтн
= Qярном / (iт1 - iт2) = 3200 × 103 / (1472,29 - 1289,64)
= 17519,8 кг/с.
Размеры активной зоны:
высота - 3,678 м;
диаметр - 3,16 м.
Топливо - UO2.
Материал оболочки твэла - циркониевый сплав.
Средняя энергонапряженность активной зоны - 111 Мвт/м3.
Загрузка урана - 80 т.
Кампания активной зоны - 3 ∙ 7000 = 21000 ч.
Корпус реактора:
габаритная высота - 11,24 м;
диаметр максимальный - 4,535 м.
Масса сухого реактора в сборе - 851,066 т.
.2 Параметры парогенератора
Ключевым параметром, определяющим массогабаритные показатели
парогенератора, является его паропроизводительность, параметры
теплообменивающихся сред и компоновка поверхности теплопередачи. Целесообразно
расчет массогабаритных показателей отнести к одной камере парогенератора.
Если в парогенераторе генерируется сухой насыщенный пар, а экономайзерная
зона неявновыражена, то вся поверхность теплопередачи работает как
испарительная зона. Тогда поверхность теплопередачи может быть выражена как
F=Q/(К×dt), где Q - тепловая мощность,
передаваемая в одной камере ПГ (определяется через паропроизводительность
камеры ПГ); К - коэффициент теплопередачи (принимается по прототипу); dt - средний температурный напор
теплопередачи (определяется как среднелогарифмический температурный напор).
Полученную величину поверхности теплопередачи следует увеличить на
10...15 % (запас на загрязнение трубок, возможное глушение части трубок и пр.).
Объем камеры ПГ и ее массу можно оценить через удельные характеристики
(удельный объем v=V/F и удельная масса m=M/V),которые можно принять по
прототипному парогенератору.
Полученные данные следует сопоставить с параметрами прототипного ПГ.
Прототипные данные ПГ отечественных АЭС приведены в [1] с.174…175 таблица
5.2.
.2.2 Для принятой в расчет энергоустановки ниже представлен расчет
параметров ПГ.
пгкпг = SGпг / zкпг =
1696,6151 / 4 = 424,15377 кг/с (см. п.5.9).
Параметры генерируемого сухого насыщенного пара (см. п.3.4):
давление - 6,4 МПа;
температура - 280 оС.
Тепловая нагрузка камеры парогенератора
кпг = Qярном ×hтпк / zкпг = (3200 × 0,985) / 4 = 788 МВт (см. п.5.9).
Расход теплоносителя через камеру ПГ (см. п.8.1.3)
т кпг = SGт /
zкпг = 17519,8 / 4 = 4379,95 кг/с.
Поверхность теплопередачи камеры ПГ
кпграсч = Qкпг / (К × дt) м2,
где Qкпг = 788 Мвт;
К = 5,4 кВт/(м2 ∙ оС) - принято по прототипу;
дt = (дtб - д tм) / ln (дtб / д tм)
дtб = tт1 - tпг = 323 - 280 = 43 оС;
дtм = tт2 - tпг = 291 - 280 = 11 оС;
дt =
(43 - 11) / ln (43 / 11) = 23,472 оС;кпг = 1,1∙ Fкпграсч = 1,1 ∙ 6217,02 =
6838,7 м2.
В расчет принято Fкпг = 6900 м2 - по ГОСТ 8032-84.
Объем камеры ПГ
кпг = vкпг ∙ F кпг м3,кпг
= Vкпгпр /Fкпгпр = p∙D2кпгпр ∙Lкпгпр / (4∙Fкпгпр) = 3,14∙42∙13,84 / (4∙6115) = 0,028427 м3;
Vкпг = 0,028427 ∙ 6900 = 196,15 м3;кпг
= 4 м - принято по прототипу.
кпг = 4 ∙ Vкпг / (p∙ D2кпг) = 4 × 196,15 / (3,14 × 42) = 15,62 м.
Масса камеры
ПГ M кпг = m кпг ∙
V кпг, т, кпг = Мкпгпр / Vкпгпр = 4 ∙ Мкпгпр
/ (p∙
D2кпгпр∙ Lкпгпр) = 4 ∙ 205 / (3,14∙
42∙ 13,84) = 1,179 т/м3.
кпг = 1,179 ∙ 196,15 = 231,26 т.
8.3 Компоновка турбоагрегата. Параметры главной турбины
Из теплового расчета рабочего контура известно количество ступеней
цилиндра высокого давления (ЦВД) и цилиндра низкого давления (ЦНД), известны
параметры пара в проточной части(давление, температура и энтальпия пара на
входе и выходе каждой ступени, расход пара через каждую ступень). При этом турбина
рассматривалась как один однопоточный агрегат ЦВД и один однопоточный агрегат
ЦНД. На настоящем этапе проектирования необходимо произвести компоновку
турбоагрегата, т.е. определить количество ЦВД и ЦНД и количество потоков пара в
каждом из них.
ЦВД обычно компонуют в один цилиндр. Если мощность турбоагрегата большая
(порядка 300 МВт и более), то расход пар большой, и ЦВД целесообразно принять
двухпоточным. Это позволит также уравновесить осевые усилия в проточной части
турбины, хотя при этом несколько увеличивается длина агрегата, уменьшаются
длины лопаток. Компоновка ЦВД небольшой мощности в двухпоточном варианте может
привести к некоторому снижению экономичности турбины, так как увеличивает
относительные протечки пара через уплотнения ступени.
В этой связи целесообразно определить средний диаметр первой ступени ЦВД
и оценить длину лопатки первой ступени. Расчеты этих параметров построены на
использовании выражения сплошности парового потока. Другие радиальные размеры
проточной части ЦВД здесь можно не определять, так как они обычно не приводят к
предельно допустимым значениям (длина лопатки последней ступени, напряжения в
корневом сечении лопатки, скорость пара в выхлопе и др.).
ЦНД компонуют в несколько двухпоточных цилиндров (два - четыре). Компоновка
ЦНД должна комплексно охватывать ряд тесно связанных параметров: общее
количество выхлопов, длину лопатки последней ступени, площадь проходного
сечения одного выхлопа, скорость пара в выхлопе, влажность пара и др.
Для того чтобы все расчетные параметры и параметры, принимаемые в расчет,
находились в допустимых пределах, следует провести многовариантные расчеты.
Обычно расчеты проводят методом последовательных приближений. В отчете приводят
окончательный вариант. Однако для обоснования принятого решения могут быть
приведены также результаты расчета и других вариантов.
Существенным параметром является принятая в расчет частота вращения
ротора турбины n. Если n = 3000 об/мин, а мощность турбоагрегата большая
(800...1000 МВт и больше), то для получения приемлемых значений скорости пара в
выхлопе ЦНД приходится увеличивать площадь проходного сечения выхлопа. Для
этого требуется увеличение длины лопатки последней ступени, что приводит к
увеличению напряжений в ее корневом сечении. Это обстоятельство особенно актуально
для турбоагрегата, у которого принято низкое давление в ГК - порядка 4 кПа.
Увеличение суммарной площади выхлопа за счет увеличения количества
агрегатов ЦНД более четырех нецелесообразно, так как это значительно усложняет
технологию сборки турбоагрегата в целом.
Длина лопатки последней ступени ЦНД быстроходного турбоагрегата по
условиям предельной нагрузки стальной лопатки в корневом сечении не должна
превышать величины порядка 1 м, что соответствует площади одного выхлопа около
10 м2. Если же при этом значение скорости пара в выхлопе превышает
предельно допустимое значение в 250...300 м/с (это сопровождается повышением
потерь с выходной скоростью, усилением эрозии в проточной части турбины и в
выхлопном патрубке), то, как один из возможных вариантов решения проблемы,
может быть рекомендовано применение титанового сплава в лопатках последних
ступеней ЦНД. В этом случае может быть несколько увеличена длина лопаток и
таким образом увеличена площадь одного выхлопа (титановый сплав имеет меньшую
плотность, что уменьшает центробежные силы, развиваемые в лопатке). Например, в
турбине К-1000-60/3000 за счет применения титанового сплава длина лопатки
последней ступени ЦНД принята 1,2 м, что позволило довести площадь одного
выхлопа ЦНД до 11,3 м2. При этом значения скорости пара в выхлопе не
выходят за допустимые пределы (около 243,15 м/с). Геометрические размеры
лопаток последних ступеней ЦНД быстроходных турбоагрегатов можно принять,
ориентируясь на рекомендуемые значения - см. [1] с.182.
Если же агрегат принят тихоходным (n=1500 об/мин), то обычно даже при
значительной мощности установки не возникает проблемы с получением приемлемых
значений скорости пара в выхлопе, так как при этом длина лопатки последней
ступени ЦНД может быть принята заметно больше (примерно в 1,5 раза больше длины
лопатки аналогичного быстроходного агрегата). При этом напряжения в корневом
сечении лопатки могут быть даже заметно меньше. Это настолько радикальное
решение вопроса, что позволяет даже уменьшить количество ЦНД. Например, тихоходная
турбина К-1000-60/1500 в своем составе имеет только три ЦНД с площадью одного
выхлопа 18,9 м2. При этом скорость пара в выхлопе составляет около
242,73 м/с. Правда, при этом радиальные размеры ротора ЦНД настолько увеличены,
что ротор в сборе становится нетранспортабельным. Окончательный монтаж ротора
может быть выполнен только на месте установки турбоагрегата. Это снижает
качество монтажных работ, увеличивает их трудоемкость.
После окончательного решения вопроса по радиальным размерам роторов ЦВД и
ЦНД, ориентируясь на соотношения размеров прототипного агрегата, можно оценить
габаритные радиальные размеры цилиндров.
Что касается определения осевых размеров отдельных цилиндров и
турбоагрегата в целом, то целесообразно дополнительно использовать результаты
более детального проектирования турбины в курсе паровых турбин. При этом
следует также использовать данные прототипного турбоагрегата. С этой целью
можно использовать учебное пособие Г.С. Зезюлинского «Проектирование паровой
турбины для АЭС» [5].
Аналогичным образом оценивают массу отдельных цилиндров и турбоагрегата в
целом.
Прототипные данные турбоагрегатов отечественных АЭС (ЦВД и ЦНД) приведены
в [1] с.176 таблица 5.3, с.184 таблица 5.5, с.188 таблица 5.7, а также в [5]
с.59…61, с.79…86. Некоторые геометрические параметры паровых турбин
отечественных АЭС приведены также в приложение Ж данного пособия.
Для принятой в расчет энергоустановки ниже представлено определение
некоторых параметров турбоагрегата.
Параметры ЦВД
ЦВД - один двухпоточный агрегат активного типа.
Длина сопловой лопатки первой ступени ЦВД определяется из уравнения
сплошности потока пара
п
×v1 = p dср l1 с10
j sina1×е.
Отсюда длина сопловой лопатки первой ступени ЦВД l1 составляет
1
= Gп ×v1 / (p dср
с10 j
sina1×е), м.
Расход пара Gп = 0,5Gт = 0,5∙1548,909 =
774,4545 кг/с (см.п.5.8.8).
Удельный объем пара на выходе из соплового аппарата первой ступени можно
ориетировочно принять по параметрам пара за первой ступенью (так как степень
реактивности первой ступени небольшая). Он составляет
1
= v(р = 3,5 МПа, х = 0,944) = v¢(1- х) + v²×х =
= 0,0012345×(1 - 0,944) + 0,05702×0,944 = 0,05389588 м3/кг -
Средний диаметр первой ступени ЦВД dср = 1375 мм - принято по
прототипу (см. [5] c.82).
Теоретическую скорость пара на выходе из соплового аппарата первой
ступени ЦВД с10 определяем через оптимальное отношение скоростей
(u/с10)опт. Величину (u/с10)опт
можно определить по зависимости
(u/ с10)опт = j cosa1×/[2 (1 - r)0,5],
где j - коэффициент
потерь в сопловой решетке. В расчет можно принять j = 0,97;
a1
- угол выхода потока пара из соплового аппарата первой ступени можно принять в
пределах 10…14о (меньшее значение для турбин небольшой мощности). В
расчет принято a1 = 13о;
r - степень реактивности первой ступени ЦВД. В расчет принято r = 0,2.
(u/ с10)опт =
0,97× cos 13о
/ [2 × (1 - 0,2)0,5] = 0,5283488.
с10 = u/(u/ с10)опт = p×dср×n/(u / с10)опт =
= 3,14×1,375×50 / 0,5283488= 408,58425 м/с.
е - степень парциальности. Как правило, степень парциальности для турбин
даже небольшой мощности порядка 100…200 МВт принимают равной 1, т.е. принимают
турбину с полным впуском пара. При е < 1 рабочие лопатки первой ступени
турбины подвержены циклическим механическим нагрузкам.
С учетом принятых значений параметров длина сопловой лопатки первой ступени
ЦВД составляет:
1
= Gп ×v1 / (p dср
с10 j
sina1×е) =
= 774,4545×0,05389588 / (3,14×1,375×408,58425
×0,97× sin13о) = 0,108437, м.
Полученное расчетным путем значение l1 необходимо сравнить с
данными прототипного турбоагрегата. В нашем случае, поскольку расход пара на ТА
близок к прототипному, то полученное значение l1 также близко к
прототипному (l1прот = 0,097 м - см. приложение Ж).
Если длина лопатки окажется слишком малой, то это приведет к повышенным
потерям в ступени. В этом случае можно рекомендовать перейти к однопоточному
ЦВД (как это, например, имеет место в турбине К-220-44). Если этой меры
недостаточно, то можно ввести парциальный впуск пара, т.е. принять е<1.
Параметры ЦНД
ЦНД - четыре двухпоточных агрегата активного типа.
Длина лопатки последней ступени ЦНД l = 1,2 м - принято в расчет.
Средний диаметр последней ступени ЦНД d = l ∙ q = 1,2 ∙ 2,5
= 3 м, где q = 2,5 -
веерность последней ступени ЦНД, принято по прототипу.
Площадь
проходного сечения одного выхлопа ЦНД
W =p ∙ d ∙
l = 3,14 ∙ 3 ∙ 1,2 =
11,304 м2.
Скорость пара на выходе из ЦНД
с2 = SGп∙v / (zпотцнд∙W), м/с,
SGп = Gгкп = 818,666 кг/с (см п.5.8);1
= v(р = 5 кПа, х = 0,906) = v¢(1-х) + v²×х =
= 0,0010052×(1 - 0,906) + 28,196 × 0,906 = 25,54567 м3/кг - удельный
объем пара за последней ступенью ЦНД;
zпотцнд = 8 - суммарное количество потоков в
ЦНД;
W = 11,304 м2.
с2 = 818,666 ∙25,54567 / (8∙11,304) = 231,26, м/с.
Полученное значение скорости пара на выходе из ЦНД не превышает предельно
допустимого значения.
Заметим, что в случае получения слишком низкого расчетного значения
скорости пара принятые решения по компоновке ЦНД также нельзя считать удачными,
так как при этом материал лопаток турбины и выхлопных патрубков недогружен с
точки зрения эрозии материала, радиальные размеры проточной части ЦНД и
цилиндра в целом неоправдано завышены.
Массогабаритные показатели турбины можно определить по методике, принятой
в КП по паровым турбинам. Детально методика определения МГП паровой турбины
изложена в [5].
.4 Параметры главного конденсатора
Главный конденсатор (ГК) компонуют в виде отдельных корпусов (секций) по
количеству агрегатов ЦНД.
Ключевым параметром в определении массогабаритных показателей главного
конденсатора является величина поверхности теплопередачи и ее компоновка.
Поверхность теплопередачи определяется тепловой нагрузкой конденсатора
(принимают в расчет по результатам теплового расчета рабочего контура),
температурным напором теплопередачи (принимают в расчет как
среднелогарифмический температурный напор; значения температур
теплообменивающихся сред - по результатам теплового расчета рабочего контура),
а также коэффициентом теплопередачи в главном конденсаторе.
Значение коэффициента теплопередачи можно определить по известной
эмпирической формуле Л.Д. Бермана (см. [10] c.55-56), которая дает приемлемые
значения в достаточно широком диапазоне принимаемых в расчет параметров -
скорости и температуры охлаждающей воды, диаметра и материала трубок и др.
Значения принимаемых в расчет величин, определяющих величину коэффициента теплопередачи,
следует выбрать ориентируясь на прототипные решения и на общие рекомендации по
соответствующим параметрам. При этом по принятым решениям необходимо привести
соответствующие обоснования компоновки трубной системы главного конденсатора -
количество ходов охлаждающей воды в одном корпусе ГК, последовательное или
параллельное соединение корпусов ГК по охлаждающей воде.
С учетом компоновки трубной системы ГК можно определить количество
параллельно включенных трубок, а также длину одной трубки. В основу расчета
количества параллельно включенных трубок положено уравнение сплошности потока
охлаждающей воды при допустимой ее скорости. При этом количество трубок обычно
несколько увеличивают (на величину порядка 5…10 %) - запас на возможные выходы
из строя и последующее глушение части трубок, на возможное загрязнение трубок и
пр.
Полученные расчетные данные следует сопоставить с параметрами
прототипного ГК.
В виду сложного влияния принимаемых в расчет параметров (скорость воды,
материал и размеры трубок и пр.) на значения расчетных величин расчет обычно
выполняют многовариантно методом последовательных приближений. В отчете
представляют окончательно принятый вариант. Рекомендации по выбору в расчет
материала и диаметра трубок, а также скорости воды приведены в [1] с.192...197.
Для оценки массогабаритных показателей ГК необходимо определить площадь
трубной доски. При этом следует решить вопрос компоновки трубного пучка,
которая определяется принятым в расчет коэффициентом использования трубной
доски uтр. Рекомендации по выбору в расчет этого параметра приведены
в [1] с.201 таблица 5.10.
Остальные массогабаритные показатели (эквивалентный диаметр и длину ГК,
его компоновку, массу) можно оценить, используя соответствующие удельные
параметры прототипного ГК.
Прототипные данные конденсаторов ТА отечественных АЭС приведены в [1]
с.206…207 таблица 5.11.
Там же в [1] на с.208 рисунок 5.10 приведены схемы компоновки
конденсационных установок отечественных АЭС.
Определение параметров главного конденсатора принятой в расчет
энергоустановки представлено ниже.
Главная конденсационная установка представлена четырьмя конденсаторами
поверхностного типа (по количеству ЦНД турбоагрегата), соединенными попарно
последовательно по охлаждающей воде. Каждый конденсатор - одноходовой,
двухпоточный. Компоновка конденсационной установки и схема подачи охлаждающей
воды показаны на рисунке 12.
Рисунок 12 - Схема подачи охлаждающей воды на конденсационную установку
Тепловая нагрузка конденсатора
= Gгкп ∙ (iвх - iвых)
= 818,666 (2333,40 - 137,77) = 1797487,6 кВт,
где Gгкп - суммарный расход пара на ГК (см.
п.5.8.8), значения энтальпий - см. п.4.2, таблицу 3.
Уточненное значение температуры охлаждающей воды на выходе из ГК
(оценочное значение см. п.3.5)
оввых = tоввх
+ r×x/(m×cp) = 20 + 2423,43×0,906/(55 × 4,18) = 29,55оС
Здесь же следует привести уточненную диаграмму t-q главного конденсатора,
аналогичную диаграмме, показанной на рисунке 3.
Средний температурный напор теплопередачи в конденсаторе
дt = (дtб - д tм) / ln (дtб / д tм),
оС,
дtб = tк - tоввх = 32,9 - 20
= 12,9 оС;
дtм = tк - tоввых = 32,9 -
29,55 = 3,35 оС;
дt =
(12,9 - 3,35) / ln(12,9 /3,35) = 7,08317 оС.
Коэффициент теплопередачи главного конденсатора, отнесенный к наружной
поверхности трубок
К = 4,07×а×(1,1× wв / dвн0,25)х×[1 - b×a0.5×(35 - tоввх)2 /1000]´
´[1 + (z - 2)×0,1×(1 - tоввх
/35)]× Фв, кВт/(м2 ×град),
где а= 0,825 - коэффициент
чистоты - принято по прототипу;в = 2,13 м/с - скорость охлаждающей
воды в трубках - принято по прототипу;вн = 26 мм - внутренний
диаметр трубок - принято по прототипу;
х = 0,12∙ а∙(1+
0,15 ∙ tоввх) = 0,12 ∙
0,825∙ (1 + 0,15 ∙ 20) =
0,396;
b = 0,52 - 7,2
∙ SGп / F = 0,52 - 7,2 ∙ 883,33
/ 88000 = 0,4477.
Здесь приближенно принимаем SGп = SGппрот = 3180∙103
/3600 = =883,33 кг/с; F = Fпрот = 88000 м2;= 2 -
количество последовательно включенных корпусов ГК
Фв = 1 -
коэффициент паровой нагрузки.
К = 4,07×0,825×(1,1× 2,13 / 260,25)0,396×[1 - 0,4477 ×0,8250.5´
´(35 - 20)2/1000][1+ (2 - 2)×0,1×(1 - 20 /35)]×1 = 3,09528 кВт/(м2 ×град).
Поверхность теплообмена
конденсатора
F = Q / (К ∙
дt) = 1797487,6 / (3,09528 × 7,08317) = 81985,735 м2.
Количество параллельно
включенных трубок конденсатора (из выражения сплошности водяного потока)
nтр = 1,05×Gов / (p×dвн2× wв×св
/ 4), ов = Gп ∙ m = 818,666 ∙ 55 =
45026,63 кг/с;
вн = 0,026 м;в = 2,13 м/с;
Действительное количество
трубок nтрд обычно больше расчетного nтр. Это вызвано тем, что параллельно включенные трубки
делятся на несколько последовательно включенных участков по причине или
двухходовой компоновки конденсатора, или последовательного включения отдельных
корпусов конденсатора (см. рисунок 13).
Рисунок 13 - Компоновка
трубной системы ГК :
а) трубная система одноходового
однокорпусного ГК;
б) трубная система
двухходового однокорпусного ГК;
в) трубная система
конденсаторов, соединенных последовательно
Тогда действительное
количество трубок составит:
nтрд = nтр × z.
z = zход × zпосл.к.,
где zход -
количество ходов охлаждающей воды в корпусе ГК;посл.к. - количество
последовательно соединенных корпусов ГК.
Количество потоков воды в
корпусе ГК при определении величины z не учитывают.
Для конденсаторов
отечественных АЭС величина z составляет:=2 - для турбин К-220-44, К-1000-60/3000,
К-1000-60/1500-2,
К-500-65/3000;=3 - для
турбины К-1000-60/1500-1.
В нашем случае z = zпосл.к.
= 2. Тогда
nтр = 1,05 × 45026,63 × 2/ (3,14×0,026 2× 2,13 ×998,30288 / 4) = 83798 шт.
Действительная длина одной
трубки
трд = F / (p∙dнар ∙ nтр)= 81985,735
/ (3,14 ∙ 0,028 ∙ 83798)
= 11,1279 м,
где dнар = 0,028 м
- принято в расчет.
Площадь трубной доски для
одной секции конденсатора
Sтр.д = [(nтрд / zсек.гк) ∙ p∙d2нар
/4] / uтр =
= [(83798/ 4) ∙3,14∙0,0282
/4] / 0,32 = 40,29 м2,
где zсек.гк - количество секций ГК;тр = 0,32 -
коэффициент использования трубной доски - принято в расчет по [1] с.201.
Условный диаметр
эквивалентной трубной доски
тр.дусл = (4× Sтр.д / p)0,5 = (4× 40,29 / 3,14)0,5
= 7,164 м.
Соотношение длины трубок и
диаметра трубной доски
Lтрд / Dтр.дусл = 11,1279
/ 7,164 = 1,5533 м.
При оптимально подобранных
геометрических параметрах конденсатора отношение Lтрд / Dтр.дусл
должно находиться в пределах 1,5...2,5.
Габаритный диаметр
конденсатора
конд = Dтр.дусл + 0,6 =
7,164 + 0,6 = 7,764 м.
Габаритная длина конденсатора
атомный
электроэнергия турбина теплоноситель
L конд = L трдейств
+ 2 ∙ L в.к. = 11,1279 + 2 ∙
1,2 = 13,53 м,
где L в.к. = 1,2 м
- размер водяной камеры в осевом направлении конденсатора - принято в расчет.
Габаритный объем конденсатора
конд = p∙D2конд ∙ L конд / 4 = 3,14∙7,7642
∙ 13,53 / 4 = 640,23 м3.
Масса конденсатора
конд = m конд ∙ V конд,т,
конд = М конд пр / V конд
пр = М конд пр / (Н∙ В∙ L)
конд пр = 1,405 т/м3;
конд = 1,405 ∙ 640,23 = 899,5 т.
Примечание: величина mконд
оценена по конденсатору турбины К-220-44.
Литература
1. Абдулаев А.А., Пилипчук Б.Л., Сычев Е.Н. Основы
проектирования АЭУ АЭС - Севастополь: СИЯЭиП, 1999.
. Вукалович М.П., Hовиков И.И. Техническая термодинамика.4-е
изд.- М.: Энергия, 1968.
. Гольба В.С., Белозеров В.И. Расчет проточной части паровых
турбин/ Обнинский институт атомной энергетики. - Обнинск, 1990.
. Дементьев Б.А. Ядерные энергетические реакторы. 2-е изд.-
М.: Энергоиздат, 1990
. Зезюлинский Г.С. Проектирование паровой турбины для АЭС -
Севастополь: СИЯЭиП, 2000.
. Зинин А.И., Соколов В.С. Паровые турбины.- М.: Высшая
школа, 1988.
. Иванов В.А. Эксплуатация АЭС.- СПб.: Энергоатомиздат,1994.
. Кирияченко В.А., Пилипчук Б.Л. Сычев Е.Н. Основы теории АЭУ
АЭС. Севастополь: СИЯЭиП, 2000, 208 с.
. Кирияченко В.А. Конструкция и системы ПТУ АЭС [Учебник и
Альбом схем] - Севастополь: СИЯЭиП, 1998.
. Кирсанов И.H. Конденсационные установки.- М.-Л.: Энергия,
1965.
. Конструирование ядерных реакторов/ Под общ. ред. акад. H.А.
Доллежаля/- М.: Энергоиздат, 1982.
. Кутателадзе С.С., Боришанский В.М. Справочник по
теплопередаче.- М.-Л.: Госэнергоиздат, 1959.
. Маргулова Т.Х. Атомные электрические станции. 4-е изд.-М.:
Высшая школа, 1984.
. Маргулова Т.Х. Атомные электрические станции. 5-е изд.-М.:
ИздАТ, 1994.
. Марцинковский В.А., Ворона П.H. Hасосы атомных
электростанций.- М.: Энергоатомиздат, 1987.
. Методические указания по эксплуатации конденсационных
установок паровых турбин электростанций.- М.: Союзтехэнерго,1986.
. Михайлов А.К., Малюшенко В.В. Лопастные насосы.
Теория,расчет и конструирование.- М.: Машиностроение, 1977.
. Hасосы АЭС: Справочное пособие/ Под общ. ред. П.H. Пака. -
М.: Энергоатомиздат, 1989.
. Hигматулин И.H., Hигматулин В.И. Ядерные энергетические
установки.- М.: Энергоатомиздат, 1986.
. Паровые и газовые турбины/ Под ред. А.Г. Костюка и В.В. Фролова.-
М.: Энергоатомиздат, 1985.
. Паротурбинные установки АЭС/ Под ред. Ю.Ф. Косяка.- М.: Энергия, 1976.
. Реакторное материаловедение/ Д.М. Скоров и др. - М.: Атомиздат,
1968.
. Ривкин С.Л., Александров А.А. Термодинамические свойства
воды и водяного пара. Справочник. М.: Энергоатомиздат, 1884.
. Семенов А.С., Шевченко А.М. Тепловой расчет паровой
турбины.- Киев: Вища школа, 1975.
. Степанов А.И. Центробежные и осевые насосы. Теория,
конструирование и применение/ Пер. с англ.- М.: Машгиз, 1960.
. Стерман Л.С., Лавыгин В.М., Тишин С.Г. Тепловые и атомные
электрические станции.- М.: Энергоиздат, 1995.
. Стерман Л.С., Шарков А.Т., Тевлин С.А. Тепловые и атомные
электростанции.- М.: Атомиздат, 1975.
. Сычев Е.Н. Комплекс программ для интерполяции табличных
данных термодинамических свойств воды и водяного пара. - Севастополь, СИЯЭиП,
2000.
. Тепловые и атомные электрические станции: Справочник/ Под
общ.ред. В.А. Григорьева и В.М. Зорина.- М.: Энергоатомиздат, 1982.
. Трояновский Б.М. Турбины для атомных электростанций. 2-е
изд.- М.: Энергия, 1978.
. Трояновский Б.М., Филиппов Г.А., Булкин А.Е. Паровые и
газовые турбины атомных электростанций.- М.: Энергоатомиздат,1985.
. Ядерные энергетические установки/ Под общ. ред. H.А.
Доллежаля. 2-е изд.- М.: Энергоатомиздат, 1990.
. ГОСТ 8032-84. Предпочтительные числа и ряды
предпочтительных чисел.
. ГОСТ 12139-84. Машины электрические вращающиеся. Ряды
номинальных мощностей, напряжений и частот.
Приложение А
Ряд предпочтительных чисел по ГОСТ 8032-84
При выполнении проектов в учебных целях можно без заметного ущерба для
качества выполняемой работы пользоваться наиболее полным рядом предпочтительных
чисел - так называемым дополнительным рядом (R160). Hиже представлены значения
предпочтительных чисел в интервале ряда R160 (от 1 до 10) по ГОСТ 8032-84
(Предпочтительные числа и ряды предпочтительных чисел).
Таблица 1
|
1,000
|
1,475
|
2,180
|
3,200
|
4,750
|
7,000
|
|
1,015
|
1,500
|
2,210
|
3,250
|
4,815
|
7,100
|
|
1,030
|
1,525
|
2,240
|
3,300
|
4,870
|
7,200
|
|
1,045
|
1,550
|
2,270
|
3,350
|
4,930
|
7,300
|
|
1,060
|
1,575
|
2,300
|
3,400
|
5,000
|
7,400
|
|
1,075
|
1,600
|
2,330
|
3,450
|
5,075
|
7,500
|
|
1,090
|
1,625
|
2,360
|
3,500
|
5,150
|
7,625
|
|
1,105
|
1,650
|
2,395
|
3,550
|
5,225
|
7,750
|
|
1,120
|
1,675
|
2,430
|
3,600
|
5,300
|
7,875
|
|
1,135
|
1,700
|
2,465
|
3,650
|
5,375
|
8,000
|
|
1,150
|
1,725
|
2,500
|
3,700
|
5,450
|
8,125
|
|
1,165
|
1,750
|
2,540
|
3,750
|
5,525
|
8,250
|
|
1,180
|
1,775
|
2,580
|
3,810
|
5,600
|
8,375
|
|
1,190
|
1,800
|
2,615
|
3,870
|
5,700
|
8,500
|
|
1,220
|
1,825
|
2,650
|
3,935
|
5,800
|
8,625
|
|
1,230
|
1,850
|
2,685
|
4,000
|
5,900
|
8,750
|
|
1,250
|
1,875
|
2,720
|
4,060
|
6,000
|
8,875
|
|
1,265
|
1,900
|
2,760
|
4,120
|
6,075
|
9,000
|
|
1,280
|
1,925
|
2,800
|
4,185
|
6,150
|
9,125
|
|
1,300
|
1,950
|
2,850
|
4,250
|
6,225
|
9,250
|
|
1,320
|
1,975
|
2,900
|
4,315
|
6,300
|
9,375
|
|
1,340
|
2,000
|
2,950
|
4,370
|
6,400
|
9,500
|
|
1,360
|
2,030
|
3,000
|
4,440
|
6,500
|
9,625
|
|
1,380
|
2,060
|
3,035
|
4,500
|
6,600
|
9,750
|
|
1,400
|
2,090
|
3,070
|
4,560
|
6,700
|
|
1,425
|
2,120
|
3,110
|
4,620
|
6,800
|
10,000
|
|
1,450
|
2,150
|
3,150
|
4,685
|
6,900
|
|
Приложение Б
Ряд номинальных мощностей электрических
вращающихся машин по ГОСТ 12139-84
Ниже представлено извлечение из ряда номинальных мощностей электрических
вращающихся машин по ГОСТ 12139-84 (Машины электрические вращающиеся. Ряды
номинальных мощностей, напряжений и частот).
,1; 1,5; 1,8; 2,2; 3,0; 3,7; 4,0; 5,5; 6,3; 7,5; 9; 10; 11; 13; 15; 17;
18,5; 20; 22; 25; 30; 33; 37; 40; 45; 50; 55; 63; 75; 80; 90; 100; 110; 125;
132; 150; 160; 185; 200; 220; 250; 280; 300; 315; 335; 355; 375; 400; 425; 450;
475; 500; 530; 560; 600; 630; 670; 710; 750; 800; 850; 900; 950; 1000; 1120;
1250; 1400; 1600; 1800; 2000; 2250; 2500; 2800; 3150; 3550; 4000; 4500; 5000;
5600; 6300; 7100; 8000; 9000;10000 кВт
Примечания: 1. В приведенном здесь перечне стандартизованных значений
мощностей опущены малые мощности 0,01...750 Вт, практически не используемые при
проектировании АЭУ АЭС.
. В ГОСТ 12139-84 некоторые значения мощности, указанные в скобках,
требуют дополнительного согласования между изготовителем и потребителем. В
нашем случае для простоты использования ряда мощностей скобки опущены, т.е. все
стандартизованные значения мощностей показаны без деления их по категорийности.
Приложение В
Соотношения единиц измерения физических величин
В международной (си) и технической системах единиц.
Приставки для обозначения кратных и дольных единиц измерения
Температура t, оС =
Т, К - 273,15;
Т, К = t, оС + 273,15.
Сила 1Н = 0,101972 кгс;
кгс = 9,80665 Н.
Размерность Н (Ньютон) - кг×м/с2.
Давление 1Па = 1 Н/м2 = 10-5 бар = 10,1972×10-6 кгс/см2;
бар = 105 Па = 1,01972 кгс/см2;
кгс/см2 = 98066,5 Па = 0,980665 бар.
Размерность Па (Паскаль) - кг/(м×с2).
Энергия 1 Дж = 0,238846 кал;
кал = 4,1868 Дж.
Размерность Дж (Джоуль) - кг×м2/с2.
Мощность 1 Вт = 1 Дж/с = 0,238846 кал/с = 1,3596216×10-3 л.с.
л.с. = 75 кгс × м/с = 735,49875 Вт.
Размерность Вт (Ватт) - кг×м2/с3.
Таблица 2
|
Приставка
|
Соответствует числу основных единиц
|
Сокращенное обозначение
|
|
|
русское
|
международное
|
|
Тера
|
1012
|
Т
|
T
|
|
Гига
|
109
|
Г
|
G
|
|
Мега
|
106
|
М
|
M
|
|
Кило
|
103
|
к
|
K
|
|
Гекто
|
102
|
г
|
h
|
|
Дека
|
10
|
дк
|
dk
|
|
Деци
|
10-1
|
д
|
d
|
|
Санти
|
10-2
|
с
|
c
|
|
Милли
|
10-3
|
м
|
m
|
|
Микро
|
10-6
|
мк
|
m
|
|
Нано
|
10-9
|
н
|
n
|
|
Пико
|
10-12
|
п
|
p
|
Приложение Г
Номограммы изменения мощности динамических лопастных водяных
насосов при регулировании их подачи. (см.
[1] с.139 рисунок 4.7, с.141. рисунок 4.9)
Рисунок Г.1 - Изменение мощности динамических лопастных водяных насосов
при регулировании подачи насоса регулирующим клапаном системы:
- ns = 64 - двухсторонний вход; 2 - ns = 106; 3 - ns = 155;
- ns = 212; 5 - ns = 282; 6 - ns = 402 - односторонний вход;
- ns
= 650
Рисунок Г.2 - Изменение мощности динамических лопастных водяных насосов
при регулировании подачи насоса изменением частоты вращения:
- ns = 64 - двухсторонний вход; 2 - ns = 106; 3 - ns = 155;
- ns = 212; 5 - ns = 282; 6 - ns = 402 - односторонний вход;
- ns = 650
Приложение Д
Функциональные схемы рабочего контура отечественных АЭУ АЭС
Рисунок Д.1 - Функциональная схема рабочего
Контура с турбиной К-1000-60/3000
Рисунок Д.2 - Функциональная схема рабочего
Контура с турбиной К-1000-60/1500-2
Рисунок Д.3 - Функциональная схема рабочего
Контура с турбиной К-1000-60/1500-1
Рисунок Д.4 - Функциональная схема рабочего
Рисунок 5
Приложение Е
схемы системы теплофикации
Приложение Ж
Некоторые геометрические параметры паровых турбин
отечественных АЭС. (по [5] c.59…61, с.79…86)
|
Тип турбины
|
ЦВД
|
ЦНД
|
|
Длина сопловой лопатки первой ступени l1, мм
|
Средний диаметр первой ступени d1 ср, мм
|
Длина рабочей лопатки последней ступени lz, мм
|
Средний диаметр последней ступени dz ср, мм
|
|
К-220-44
|
80
|
1277
|
850
|
2350
|
|
К-500-65/3000
|
49
|
1452
|
850
|
2350
|
|
К-1000-60/3000
|
97
|
1375
|
1200
|
3000
|
|
К-1000-60/1500-1
|
101
|
1806
|
1450
|
4150
|
|
К-1000-60/1500-2
|
101
|
1806
|
1450
|
4150
|
Рекомендуемые диапазоны параметров последних ступеней ЦНД ТА
|
Длина лопатки l, мм
|
Средний диметр облопачивания d, мм
|
Веерность q = d/l
|
Площадь торцевого выходного сечения W = pdl, м2
|
|
Быстроходные ТА (n = 3000 об/мин)
|
|
1200
|
3000
|
2,50
|
11,31
|
|
1050
|
2550
|
2,43
|
8,41
|
|
1030
|
2530
|
2,46
|
8,19
|
|
960
|
2480
|
2,58
|
7,48
|
|
940
|
2460
|
2,62
|
7,26
|
|
940
|
2390
|
2,54
|
7,06
|
|
852
|
2350
|
2,76
|
6,30
|
|
830
|
2280
|
2,75
|
5,96
|
|
765
|
2100
|
2,75
|
5,05
|
|
665
|
2000
|
3,01
|
4,18
|
|
665
|
2000
|
3,01
|
4,18
|
|
Тихоходные ТА (n = 1500 об/мин)
|
|
1041…1500
|
3840…4300
|
2,86…3,5
|
15,38…20,30
|
Приложение И
Методические рекомендации по работе с программами интерполяции
свойств воды и водяного пара
Для Программы I (рисунок И.1):
1. Для выбора программы поместить
указатель мыши на значок «hs»
программы и нажать левую клавишу мыши.
2. Для вызова Программы «hs» на рабочий стол компьютера дважды
«щелкнуть мышью» по значку программы на рабочем столе.
3. Для выбора независимой переменной
«щелкнуть мышью» либо по кнопке «Температура», либо по кнопке «Давление». Окно
выбранной независимой переменной приобретает белый фон и готово для ввода
числового значения.
4. Нажать с помощью мыши кнопку, помеченную черным
треугольником, и указать размерность независимой переменной (для температуры - оС
или К; для давления - Па, кПа или МПа).
5. Поместить курсор в окно независимой
переменной с белым фоном и ввести с клавиатуры ее числовое значение. При вводе
данных для отделения дробной части числа следует использовать десятичную точку,
а не запятую.
6. Для получения результата расчета
«нажать мышью» кнопку «2».
Рисунок И.1 - Рабочее окно Программы I - «hs»
Для Программы II (рисунок И.2):
1. Для выбора программы поместить
указатель мыши на значок «hx»
программы и нажать левую клавишу мыши.
2. Для вызова Программы «hx» на рабочий стол компьютера дважды
«щелкнуть мышью» по значку программы на рабочем столе.
3. Поместить курсор в окно степени
сухости «х» и ввести ее значение.
4. Для выбора независимой переменной
«щелкнуть мышью» либо по кнопке «Температура», либо по кнопке «Давление». Окно
выбранной независимой переменной приобретает белый фон и готово для ввода
числового значения.
5. Нажать с помощью мыши кнопку, помеченную черным
треугольником, и указать размерность независимой переменной (для температуры - оС
или К; для давления - Па, кПа или МПа).
6. Поместить курсор в окно независимой
переменной с белым фоном и ввести с клавиатуры ее числовое значение. При вводе
данных для отделения дробной части числа следует использовать десятичную точку,
а не запятую.
7. Для получения результата расчета
«нажать мышью» кнопку «3»
Рисунок И.2 - Рабочее окно Программы II - «hx»
Для Программы III (рисунок И.3):
1. Для выбора программы поместить
указатель мыши на значок «hh»
программы и нажать левую клавишу мыши.
2. Для вызова Программы «hh» на рабочий стол компьютера дважды
«щелкнуть мышью» по значку программы на рабочем столе.
3. Нажать с помощью мыши кнопку, помеченную черным
треугольником, напротив соответствующей независимой переменной и указать
размерность (для температуры - оС или К; для давления - Па, кПа или
МПа).
4. Поместить курсор в окно независимой
переменной «Температура» и ввести с клавиатуры ее числовое значение. При вводе
данных для отделения дробной части числа следует использовать десятичную точку,
а не запятую.
5. Поместить курсор в окно независимой
переменной «Давление» и ввести с клавиатуры числовое значение. При вводе данных
для отделения дробной части числа следует использовать десятичную точку, а не
запятую.
6. Для получения результата расчета
«нажать мышью» кнопку «2».
Рисунок И3
Обозначения величин, используемых в расчетеяр - тепловая
мощность ядерного реактора (ЯР);пг - массовая паропроизводительность
парогенератора (ПГ);т - массовый расход пара на турбину (на ЦВД);пп
- массовый расход греющего пара на пароперегреватель;пр - массовый
расход пара в протечках рабочего контура;от1,…, Gот8 -
массовый расход пара в отборах из проточной части турбины;с -
массовый расход сепарата СПП;гп - массовый расход силовой воды на
гидропривод КГТН СПП;цнд - массовый расход пара на ЦНД;ст цвд,
Gст цнд - массовый расход пара через ступень ЦВД, ЦНД;гкп
- массовый расход пара на главный конденсатор (ГК);тпнп -
массовый расход пара на турбопривод питательного насоса;гвх,
G гвых - массовый расход греющей среды на входе и выходе
из теплообменного аппарата;нвх, G нвых
- массовый расход нагреваемой среды на входе и выходе из теплообменного
аппарата;сн - массовый расход пара на собственные нужды (СН);сн1
- массовый расход горячих сливов СН;сн2 - массовый расход холодных
сливов СН;псвп - массовый расход греющего пара на подогреватель
сетевой воды пиковый;псво2ст - массовый расход греющего пара на
основной подогреватель сетевой воды второй ступени;псво1ст -
массовый расход греющего пара на основной подогреватель сетевой воды первой
ступени;псв - суммарный массовый слив конденсата греющего пара из
подогревателей сетевой воды;св - массовый расход сетевой воды
системы теплофикации;цн - массовая подача циркуляционного насоса;
рт - давление теплоносителя первого контура;
рпг - давление пара на выходе из ПГ;
ргт - давление пара на входе в турбину (на входе в ЦВД);
рразд - разделительное давление - давление пара на выходе из
ЦВД;
рцнд - давление пара на входе в ЦНД;
р тпн- давление пара на входе в турбину ТПН;
р z цвд, р z цнд, р z тпн - давление пара за последней
ступенью ЦВД, ЦНД, турбины ТПН;
р от1,…, р от8 - давление пара в отборах из
проточной части турбины;
ргк - давление пара в ГК;
рд - давление пара в деаэраторе;
рs - давление насыщения;
рсв - давление сетевой воды системы теплофикации;
рцн - давление циркуляционного насоса;
Dр - падение давления среды на гидравлических сопротивлениях участка
системы;т2, tт1 - температура теплоносителя первого
контура на входе и выходе из ЯР;пг - температура пара на выходе из
ПГ;гт - температура пара на входе в главную турбину (на входе в
ЦВД);пп - температура перегретого пара на выходе из СПП;тпн
- температура перегретого пара на входе в турбину ТПН;пв -
температура питательной воды на входе в ПГ;гк - температура
конденсирующегося пара в ГК, температура конденсата на выходе из ГК;св
- температура сетевой воды системы теплофикации;s - температура насыщения;ов вх, tов
вых - температура охлаждающей воды на входе и выходе из ГК;
dt - температурный напор теплопередачи в теплообменном аппарате;
Dt - степень нагрева (охлаждения) среды в теплообменном аппарате;пг
- энтальпия пара на выходе из ПГ;гт - энтальпия пара на входе в
главную турбину (на входе в ЦВД);цнд - энтальпия пара на входе в
ЦНД;тпн - энтальпия пара на входе в турбину ТПН;z цвд, iz цнд, iz тпн - энтальпия пара на выходе из ЦВД,
ЦНД, турбины ТПН;гк - энтальпия пара в главном конденсатореот1,
…, iот8 - энтальпия пара в отборах из проточной части турбины;пв
- энтальпия питательной воды на входе в ПГ;гвх, i гвых-
энтальпия греющей среды на входе и выходе из теплообменного
аппарата;нвх, i нвых-
энтальпия нагреваемой среды на входе и выходе из теплообменного аппарата;
h i ст - внутренний теплоперепад,
срабатываемый на ступени турбины;
Н i цвд, Н i цнд - внутренний теплоперепад,
срабатываемый на ЦВД, ЦНД;
х цвд, х цнд - сухость пара на выходе из ЦВД, ЦНД;
v -
удельный объем среды;
r - плотность среды (r = 1 / v);
hАЭУбрутто - КПД АЭУ брутто;
hАЭУнетто - КПД АЭУ нетто.
q -
удельная теплота в t-q - диаграмме теплообменного аппарата;
h - коэффициент удержания тепла в теплообменном аппарате;
kз - коэффициент запаса подачи насоса
на его износ;
kз
дв - коэффициент загрузки двигателя
насоса.