Методика диагностирования и ремонта источника питания системных блоков
Дипломная работа
Методика диагностирования и ремонта
источника питания системных блоков
Содержание
Введение
. Общий раздел
.1 Микропроцессорная система, ее назначение, схема
электрическая структурная (функциональная), взаимодействие составляющих ее
устройств
.2 Устройство микропроцессорной системы, его назначение,
схема электрическая структурная (функциональная), взаимодействие составляющих
его узлов
.3 Схемотехнический анализ устройства микропроцессорной
системы, электрические и эксплуатационные параметры электрических компонентов,
образующих элементную базу
. Конструкторский раздел
.1 Методика диагностирования устройства
.1.1 Типовые неисправности устройства и их возможные причины
.1.2 Варианты устранения неисправностей
.1.3 Методика диагностирования
.2 Диагностирование устройства
.2.1 Диагностирование устройства аппаратным методом
.2.2 Диагностирование устройства программным методом
.3 Расчёт на надёжность устройства
. Технологический раздел
.1 Требования техники безопасности при техническом
обслуживании микропроцессорных систем
.2 Требования экологии при техническом обслуживании
микропроцессорных систем
. Экономический раздел
ЗАКЛЮЧЕНИЕ
Список использованной литературы
Введение
Источник питания - радиоэлектронное устройство, предназначенное для
обеспечения различных устройств электрическим питанием.
Источники питания выполняют очень уникальную роль внутри типовых систем.
Во многих аспектах источник питания является «матерью» всей системы. Он дает
системе жизнь, обеспечивая устойчивым и непрерывным питанием ее схемы. В случае
внутреннего сбоя источник должен сбить «элегантно», не позволяя этому сбою
достичь системы.
Система питания в конструкторской программе разрабатывается в последнею
очередь, и для этого есть две основные причины. Во-первых, никто не хочет этим
заниматься, поскольку каждый желает разрабатывать более «захватывающие» схемы,
и, к тому же, редко какой инженер имеет действительно основательные познания в
системах питания. Во-вторых, стендовые источники обеспечивают все необходимое
питание на стадии отладки системы и поэтому забывают разработать, когда изделие
выходит на стадию интегрирование.
Различают
первичные и вторичные
<#"802131.files/image001.gif">
Рис 1.1 Структурная схема ПК
Компоненты микропроцессора:
ü АЛУ выполняет логические и арифметические операции
ü Устройство управления управляет всеми устройствами ПК
ü Регистры используются для хранения данных и адресов
ü Схема управления шиной и портами - осуществляет подготовку
устройств к обмену данными между микропроцессором и портом ввода - вывода, а
также управляет шиной адреса и управления.
Основные характеристики процессора:
ü Разрядность - число двоичных разрядов, одновременно
обрабатываемых при выполнении одной команды. Большинство современных
процессоров - это 32 - разрядные процессоры, но выпускаются и 64 - разрядные
процессоры.
ü Тактовая частота - количество циклов работы устройства за
единицу времени. Чем выше тактовая частота, тем выше производительность.
ü Наличие встроенного математического сопроцессора.
ü Наличие и размер Кэш- памяти.
Оперативное запоминающее устройство (ОЗУ или RAM) - область памяти,
предназначенная для хранения информации в течение одного сеанса работы с
компьютером. Конструктивно ОЗУ выполнено в виде интегральных микросхем.
Из нее процессор считывает программы и исходные данные для обработки в
свои регистры, в нее записывает полученные результаты. Название “оперативная”
эта память получила потому, что она работает очень быстро, в результате
процессору не приходится ждать при чтении или записи данных в память.
Однако быстродействие ОЗУ ниже быстродействия регистров процессора,
поэтому перед выполнением команд процессор переписывает данные из ОЗУ в
регистры. По принципу действия различают динамическую память и статическую.
Ячейки динамической памяти представляют собой микроконденсаторы, которые
накапливают заряд на своих обкладках. Ячейки статической памяти представляют
собой триггеры, которые могут находиться в двух устойчивых состояниях.
Основные параметры, которые характеризуют ОЗУ - это емкость и время
обращения к памяти. ОЗУ типа DDR SDRAM (синхронная память с двойной скорость
передачи данных) считается наиболее перспективной для ПК.
Компьютеру необходимо обеспечить быстрый доступ к оперативной памяти,
иначе микропроцессор будет простаивать, и быстродействие компьютера уменьшится.
Поэтому современные компьютеры оснащаются Кэш-памятью или сверхоперативной
памятью.
При наличии Кэш-памяти данные из ОЗУ сначала переписываются в нее, а
затем в регистры процессора. При повторном обращении к памяти сначала
производится поиск нужных данных в Кэш-памяти и необходимые данные из
Кэш-памяти переносятся в регистры, поэтому повышается быстродействие.
Только та информация, которая хранится в ОЗУ, доступна процессору для
обработки. Поэтому необходимо, чтобы в его оперативной памяти находились
программа и данные.
В ПК информация с внешних устройств (клавиатуры, жесткого диска и т.д.)
пересылается в ОЗУ, а информация (результаты выполнения программ) с ОЗУ также
выводится на внешние устройства (монитор, жесткий диск, принтер и т.д.).
Таким образом, в компьютере должен осуществляться обмен информацией
(ввод-вывод) между оперативной памятью и внешними устройствами. Устройства,
которые осуществляют обмен информацией между оперативной памятью и внешними
устройствами называются контроллерами или адаптерами, иногда картами.
Контроллеры, адаптеры или карты имеют свой процессор и свою память, т.е.
представляют собой специализированный процессор.
Контроллеры или адаптеры (схемы, управляющие внешними устройствами
компьютера) находятся на отдельных платах, которые вставляются в
унифицированные разъемы (слоты) на материнской плате.
Системная магистраль (шина) - это совокупность проводов и разъемов,
обеспечивающих объединение всех устройств ПК в единую систему и их
взаимодействие.
Для подключения контроллеров или адаптеров современные ПК снабжены такими
слотами как PCI. Слоты PCI - E Express для подключения новых устройств к более
скоростной шине данных. Слоты AGP предназначены для подключения видеоадаптера.
Для подключения накопителей (жестких дисков и компакт-дисков)
используются интерфейсы IDE и SCSI. Интерфейс - это совокупность средств
соединения и связи устройств компьютера.
Подключение
периферийных устройств (принтеры, мышь, сканеры и т.д.) осуществляется через
специальные интерфейсы, которые называются портами. Порты устанавливаются на
задней стенке системного блока.
<#"802131.files/image002.gif">
Рис 1.2 Структурная схема импульсного источника питания
Модификации блоков питания могут иметь различия только в схемотехнической
реализации узлов с сохранением их функционального назначения.
На структурной схеме указано наименование узлов совместно с позиционным
обозначением основных элементов, на которых выполнен данный каскад или узел.
Позиционное обозначение соответствует принципиальной схеме базовой модели
импульсного блока питания. Логические связи на структурной схеме показаны
стрелками, которые указывают направление передачи сигналов, воздействий или
подачу напряжений питания.
Блок питания, соответствующий данной структурной схеме, выполнен по схеме
ВЧ преобразователя с внешним возбуждением.
Первым каскадом, на который поступает первичное переменное напряжение,
является помехоподавляющий индуктивно- емкостной сетевой фильтр НЧ. Он
установлен для ограничения влияния помех, проникающих через входные цепи из
питающей сети, на работу ВЧ преобразователя. Появление помех в сети может
отразиться на выходных характеристиках вторичных постоянных напряжений,
вырабатываемых блоком питания. Если бы выходной НЧ фильтр отсутствовал, то все
помехи, возникающие в сети, трансформировались бы во вторичные цепи. Природа их
различна, поэтому по каналам вторичных напряжений пришлось бы устанавливать
дополнительные элементы, исключающие воздействие помех на электронные нагрузки.
Высокочастотный преобразователь является усилителем сигналов, которые
вырабатываются схемой управления. Мощные броски тока, возникающие в моменты
коммутации силовых сигналов УМ, вызывают появление помеховых сигналов в
первичной цепи ПН. Входной сетевой фильтр препятствуют распространению этих
помех через питающую сеть, ограничивая или полностью подавляя их.
Выход сетевого фильтра подключен к выпрямителю, который сначала
преобразует переменное напряжение в униполярное, пульсирующее и затем
сглаживает его. Сглаживание выпрямленного напряжения происходит
электролитическими конденсаторами, также входящими в состав выпрямителя.
Схемотехника блоков питания предусматривает их использование в регионах,
отличающихся стандартизированными уровнями напряжения первичной сети. Для
возможности работы блока питания при разных уровнях питающего напряжения в блок
введен специальный переключатель- селектор входного напряжения SW. Коммутацией
переключателя производится модификацией цепей сетевого выпрямителя и элементов
сглаживающего фильтра. Смысл реконфигурации входных цепей заключается в том,
чтобы обеспечить постоянный уровень напряжения на силовом каскаде
преобразователя при изменении уровня напряжения питания с 220 на 115 В и
обратно. При этом не происходит переключение обмоток трансформаторов, для
корректировки коэффициента трансформации, и все остальные цепи блока питания не
изменяются.
Рассматриваемый блок питания не имеет каскада автогенератора, способного
обеспечивать отдельные вторичные цепи постоянной подпиткой электрической
энергией. Поэтому в состав полумостового усилителя мощности входит схема
автозапуска, осуществляющая первоначальную подачу импульсов управления для
запуска усилителя мощности. Особая конструкция трансформаторных цепей и
полумостового усилителя создает условия для кратковременной подачи питания на
узел управления после подключения блока питания к первичной сети. Временного
интервала начального запуска оказывается достаточно для установки режима
стабильной генерации импульсных последователей, возбуждающих силовой каскад, на
выходе узла управления. Узел управления формирует последовательности особой
формы, усиление которых приводит к появлению трехуровневого сигнала на обмотках
силового импульсного трансформатора, включенного в диагональ полумостового
усилителя мощности. Вторичные низковольтные обмотки силового импульсного
трансформатора нагружены на диоды SBD1, SBD2, D19- D22 блока выпрямителей. Для
выпрямления импульсных сигналов применяются специальные дискретные диодв и
матрицы диодов с малым временем восстановления обратного сопротивления.
Выпрямители самых мощных каналов, то есть для вторичных напряжений +5 и +12 В,
выполнены на матрицах, в состав которых входит по два диода. Для остальных
каналов использованы дискретные элементы- диоды D19- D22. для ускоренного
рассасывания избыточных зарядов в диодных структурах после изменения полярности
импульсного входного сигнала параллельно выпрямительным элементам подключаются
ускоряющие резистивно- емкостные цепи. Сглаживание и фильтрация импульсных
сигналов производиться на однозвенных LC каскадах блока фильтров.
В режиме устойчивой коммутации силовых транзисторов уровень
энергетической мощности, поступающей во вторичные цепи, зависит от степени
нагруженности каналов постоянных напряжений. Стабилизация значений вторичных
напряжений выполняется системой автоматического регулирования. Датчики контроля
уровня энергии, поступающей во вторичные цепи, входят в состав узла защиты и
блокировки. Они подключены к выходной цепи канала +5 В. Сигнал обратной связи,
вырабатываемый узлом защиты и блокировки, подается в узел управления блоком
питания. Основным элементов узла управления является формирователь ШИМ сигнала
на микросхеме IC1. Внутренний источник микросхемы IC1 вырабатывает
стабилизированное напряжение, используемое измерительными каскадами в качестве
опорного. В рассматриваемом блоке питания применен принцип групповой регулировки
выходных напряжений. Регулировка значений вторичных напряжений +12, -5 и -12 В
производится косвенно по оценке состояния напряжения в канале +5 В. В связи с
этим для устройства работы блока питания и поддержания значений вторичных
напряжений в заданных пределах необходимо соблюдать баланс нагрузок по выходным
каналам. Самая большая токовая нагрузка должна быть всегда у канала +5 В.
Регулировка выполняется после сравнения этого напряжения с уровнем опорного
напряжения. Формирователь ШИМ сигнала вырабатывает импульсные
последовательности, частота которых поддерживается постоянной, а длительность
импульсов управления варьируется в зависимости от состояния вторичных каналов.
Если выходное напряжение падает ниже уровня опорного, то узел управления формирует
сигнал воздействия на схемы усилителей как промежуточного, так и силового
каскада на транзисторах Q5 и Q6 для увеличения уровня энергии, подаваемой во
вторичные цепи. Реакция элементов управления на повышение вторичного напряжения
обратная. Превышение выходным напряжением величины опорного напряжения
посредством уменьшения длительности управляющих импульсов приводит к
ограничению энергии, подаваемой на нагрузку.
В процессе эксплуатации блока питания могут возникать нештатные ситуации,
в результате которых выходы каналов вторичных напряжений окажутся в состоянии
перезагрузки или КЗ. Организация системы защиты построена на различном подходе
к оценке последствий воздействия КЗ на цепи основных и вспомогательных каналов
вторичных напряжений. Для активизации защитного механизма блокировки по каналам
отрицательных вторичных напряжений используются диодно- резистивные датчики
узла защиты и блокировки. Слежение за перезагрузкой по основным каналам
осуществляется с помощью отдельного каскада, построенного на специальном
импульсном трансформаторе. Датчик на импульсном трансформаторе имеет большую
инерционность, чем датчик фиксации КЗ отрицательных каналов. Это объясняется
увеличением времени, требуемого для правильной оценке процесса, который
развивается в этом или обоих основных вторичных каналах. Принцип действия всех
элементов защиты одинаков и направлен на прекращение работы узла управления, а
также на блокировку активных элементов силового каскада преобразователя.
Выпрямленное напряжение первичной сети продолжает поступать для питания
силового каскада, но коммутация транзисторов прекращается, предотвращает их от
повреждения нарастающим током. Процесс инициализации схем материнской платы
компьютера начинается не после подачи питающего напряжения, а при получении внешнего
сигнала высокого логического уровня «питание в норме». Это единственный
служебный сигнал, который подается от блока питания внешним устройствам.
Появление высокого уровня на сигнальном выходе «питание в норме» происходит с
задержкой относительно выхода вторичных напряжений на номинальные уровни.
Временной интервал задержки жестко не регламентирован, находится в диапазоне от
100 до 500 мс и устанавливается в схеме резистивно- емкостными элементами.
Схему условно можно разделить на две части: силовую и контрольную.
Силовая часть делится на входную высоковольтную часть и выходную низковольную.
Контрольную же можно разделить на систему регулирования и систему защиты.
Входное напряжение через предохранитель FU1поступает на фильтр помех.
Ничего особого в элементах C1, T1, C2 нет, но вот С3 и С4 требуют отдельного
упоминания ввиду того, что получающийся из них делитель создаёт на корпусе
компьютера переменное напряжение 110V. Это напряжение можно во всех прелестях
ощутить, если взяться одной рукой за корпус незаземлённого компьютера (просто
за корпус), другой за батарею. В-общем, обязательно заземляйте компьютер!
Кстати, их иногда выпаивают (ну неужели лень заземлить?). Отсутствие этих
конденсаторов приводит к попаданию высокочастотных наводок в сеть 220 вольт и
соответствующим эффектам на соседних телевизорах.
Далее напряжение сети поступает на выпрямитель RT1VDM1C5C8R3R4 .
Поскольку диоды выпрямителя заряжают силовые высоковольтные конденсаторы C5C8 ,
они работают преимущественно в импульсном режиме и должны пропускать большой
ток (10A). Более того, в момент запуска блока питания по диодам проходит
ударный ток - всё напряжение сети попадает на незаряженные конденсаторы, т.е.
220V в течение нескольких полупериодов попросту шунтируется на землю. Некоторой
защитой от этого служит терморезистор RT1 , который в холодном состоянии имеет
повышенное сопротивление (десятки ом); при включении блока питания он
ограничивает ток и вместе с тем мгновенно раскаляется, и его сопротивление
падает. Слишком частые включения блока питания этому терморезистору идут не на
пользу, и он иногда выходит из строя.
Выпрямленное напряжение (примерно 300V) поступает на полумостовой
инвертор VT1VT2C7T3 . Инвертор собран по схеме с самовозбуждением, для чего
здесь имеется ПОС от "средней точки" через T2 - там есть специальный
отвод. Хитроумные цепи в базах силовых транзисторов VD2R10C2R11R12R13
накапливают положительные +0.7V для открытия этих самих транзисторов. Однако
параметры этих цепей подобраны таким образом, что инвертор без внешнего управления
способен вырабатывать нестабильные и укороченные импульсы, которые при
выпрямлении всегда дают половинные напряжения (2-3V вместо 5V, 6-8V вместо
12V). Это сделано специально, чтобы неуправляемый блок питания не смог спалить
электронные схемы компьютера. Работающий в неуправляемом режиме инвертор может
запитать только контрольную часть блока питания, а схемы компьютера сигналом
PowerGood выведены в состояние глубокого сброса.
Трансформированные с помощью T3 импульсы из высоковольтных в высокоамперные
поступают на выходной выпрямитель. В цепях +5V/+12V применены высокоамперные
переключающие диоды VDM2VDM3 с пониженным напряжением включения, например диоды
Шоттки. Для улучшения характеристик у каждого выпрямителя выравнен коэффициент
мощности с помощью цепочек R51C19 , R14C13 , R15C14 .
На выходе выпрямителя получаются импульсные напряжения амплитудой
примерно в 2 раза выше номинальной, т.е., например на выходе диода в цепи +12V
мы можем увидеть +24V. Но ничего страшного здесь нет, ведь импульсы прямоугольные,
а впереди - сглаживающий фильтр. Поскольку частота работы инвертора составляет
десятки килогерц, то и сглаживающий фильтр получается простым, маленьким и
вместе с этим очень эффективным. Резисторы R52R53R39R40 на первый взгляд
совершенно не нужные - будучи параллельно включенными, они только рассеивают
мощность. Они нужны только тогда, когда блок питания включается без нагрузки.
Как известно, у всех импульсников общая болезнь - недопустимое и неуправляемое
повышение выходного напряжения при отсутствии нагрузки вследствие полной
зарядки конденсаторов фильтра (например 7V вместо 5V). Вот здесь на помощь и
приходят резисторы, создающие ту самую минимальную нагрузку.
От выхода +12V через R38 получает питание вентилятор. Необходимость в R38
вызвана тем, что иногда вентилятор может выйти из строя и закоротить свои
питающие выводы. Теперь спускаемся по схеме вниз от силовой к контрольной
части. Спуск произведём по цепи питания контрольной части. Здесь имеется отвод
от выпрямителя +12V, расположенный до сглаживающего фильтра. Как уже выше
указывалось, в этой точке действует удвоенное импульсное напряжение +24V. С
помощью диодного выпрямителя VD17C23 импульсное напряжение превращается в почти
такое же по амплитуде, но постоянное. Цепочкой R21C22 оно ещё и сглаживается. А
теперь посмотрим на процесс запуска блока питания. Неуправляемый инвертор
создаёт на выходе блока питания половинные напряжения. В частности, на цепи
+12V с выхода сглаживащего фильтра будет 6-8V. На выходе же выпрямителя до
фильтра - 12-14V! Вот это напряжение и питает управляющие схемы. Вообще всё
питание контрольной части можно поделить на два вида: обычное и
стабилизированное. Обычное может варьироваться от +12V до +24V. Стабилизация
производится встроенным в микросхему TL494 стабилизатором, на выходе которого
получается +5V.
Прежде всего, стабильное напряжение запитывает саму микросхему TL494.
Запускается встроенный генератор, частота которого определяется цепочкой R31C28
, пилообразный сигнал которого поступает на компараторы внутри TL494 . Однако в
момент пуска компараторы "заглушены" сигналом мёртвого времени,
подаваемого на вывод DT . Так сделано для того, чтобы "устаканить"
все переходные процессы в схеме, имеющиеся в момент включения устройства.
Цепочка R25R30C26 постепенно заряжается и постепенно задействует всю большую и
большую часть пилы для регулирования напряжения.
Принцип действия системы регулирования выходного напряжения основан на
сравнении выходного напряжения +5V с опорным. Система регулирования не
ограничивает работу инвертора, а наоборот, усиливает, как бы
"подгоняет" его. Сравнение организовано с помощью двух делителей
R34R27 , R24R28 и компаратора, имеющегося у TL494 . Если выходное напряжение
мало, с выходов TL494 начинают поступать импульсы дополнительной раскачки инвертора.
Эти импульсы подаются на транзисторные ключи R20R32VT4VD8R18VT9VD9 . Цепочка
VD11VD12C21 создаёт на эмиттерах этих транзисторов напряжение порядка 1.5V, что
приводит к их более надёжному закрытию отрицательным (относительно эмиттеров)
напряжением с TL494 . Транзисторные ключи образуют собой ещё один инвертор
VT4VT9T2 , который и раскачивает основной инвертор VT1VT2C7T3 .
Система защиты собирается на другой микросхеме, счетверённом компараторе
LM339 . Назначение этой схемы - предотвратить подачу рабочих напряжений, если
какое-то одно из них отсутствует или находится в недопустимых пределах.
Фактически схема может только вывести инвертор в неуправляемый режим. Например,
нету +5V - нечего блоку выдавать +12V/-12V, или же нет -5V - не должно выходить
+5V, а то как бы чего не вышло (вспомним убожеский советский процессор
КР580ВМ80). Задача сама себе противоречивая, ведь тогда как включить такой блок
питания, когда нет ни одного рабочего напряжения? Это решается небольшой
задержкой, в ходе которой допускается отсутствие какого-либо напряжения. Больше
- ни-ни, моментальный уход в неуправляемый режим.
Итак, "глазами" или "ушами" системы защиты является
хитрое нагромождение резисторов с диодами. Контроль организован по наличию
напряжений -5V, -12V, по отсутствию перенапряжения на линии +5V и по чрезмерной
раскачке управляющего трансформатора T2 - явному признаку неисправности
силового инвертора (ведь он должен самовозбуждаться на половинной мощности).
Напряжение +12V не контролируется, поскольку если его не будет, не будет
работать вся контрольная часть блока питания. Уровень раскачки трансформатора
T2 измеряется по индуцируемому им напряжению на резисторах R17R50 . Здесь
обычно ставят разные резисторы либо лепят спайку, видимо регулируют на
заводе-изготовителе. Оно и понятно: трансформатор, тем более импульсный - самый
трудно контролируемый элемент.
В-общем, напряжение с цепочки R17R50VD7 сглаживается фильтром R16C25 и
подаётся на делитель R41R45R46 . Тут же на этот же делитель через VD15R47
подаётся +5V с выхода блока питания. Давайте рассчитаем напряжения. Опорное
напряжение на компараторах, судя по цепочке R56R43 , равно 1.7V. Компаратор
DA2.2 будет срабатывать, если в точке R45R46 также будет 1.7V. Значит, в точке
R47R45 должно быть 5.1V. Далее у нас диод VD15 с его 0.7V и окончательно
получаем 5.8V - порог срабатывания от перенапряжения. Поскольку R47 значительно
меньше R41 , защита от перенапряжения срабатывает всегда вне зависимости от
уровня раскачки трансформатора. И с другой стороны, если нет перенапряжения,
можно контролировать раскачку трансформатора. Получается как бы резистивное
"И" - независимый контроль двух параметров минимальным числом
элементов.
Контроль наличия напряжений -5V и -12V реализован на цепочке
R36R49VD16R48 и компараторе DA2.1 . В рабочем режиме диод VD16 всегда открыт и
через него всегда протекает ток на линию -12V. То есть на R48 присутствует
напряжение -5.7V. С помощью делителя R36R49 это напряжение смещается вверх, но
всё равно его будет недостаточно для срабатывания компаратора. Теперь
представим, что -5V пропало. Это равносильно тому, что на линии -5V будет
присутствовать нулевой потенциал (благодаря резистору холостого хода R53 ). На
входе компаратора в точке R36R49 напряжение повысится и компаратор сработает.
Ну а если пропадает -12V? Тогда диод VD16 запирается, и на всём делителе
устанавливается напряжение примерно +5V, соответвенно компаратор опять
срабатывает.
Сигнал с обоих компараторов объединяется и поступает на линию задержки,
реализованную на цепочке R44C24R22VT5 . Формируемая здесь задержка на
срабатывание крайне важна при запуске блока питания. Однако если всё-таки
срабатывание защиты произошло, происходит два события. Во-первых, система
"защёлкивается" через VD14 . На делителе R36R49 навсегда заводится
+5V, и вернуть в прежнее состояние схему можно будет только после выключения
блока питания и выдержки его в течении нескольких секунд. Во-вторых, через VD13
положительный сигнал разряжает конденсатор C26 в цепи формирования мёртвого
времени у TL494. То есть генератор перестаёт формировать управляющие импульсы,
и инвертор уводится в неуправляемый режим.
Цепь формирования сигнала PowerGood начинается с цепочки R22C25 .
Поскольку постоянная времени такой цепочки - примерно полсекунды, за такое
время блок питания должен будет гарантированно запуститься и сообразить что все
выходные напряжения в норме. В противном случае будет производиться срыв
колебаний и включение разрядного транзистора VT6 . Транзистор этот включен по
токовой схеме, благодаря чему удаётся избежать слишком больших токов разрядки
C25 . На конденсаторе C25 формируется плавно меняющеся напряжение, непригодное
для управления цифровыми схемами. Поэтому в блоке питания имеется триггер
Шмидта, реализованный на цепочке DA2.3R33R42 . Выход PowerGood привязывается к
выходному напряжению +5V и в таком виде подаётся в системную плату компьютера.
1.3 Схемотехнический анализ
устройства микропроцессорной системы, электрические и эксплуатационные
параметры электрических компонентов, образующих элементную базу
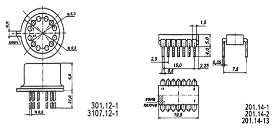
Микросхемы представляют собой операционые усилители средней точности без
частотной коррекции. Корпус К140УД1 (А-В) типа 301.12-1, масса не более 1,5 г.,
КР140УД1 (А-В) типа 201.14-1 масса не более 1,5 г.
Рис.1.3 Корпус К140УД1
Рис.1.4 Электрическая схема КР140УД1 (К140УД1)
Таблица.1.1 Электрические параметры микросхемы
Таблица.1.2 Предельно допустимые режимы эксплуатации
Рекомендации по применению
При одновременной подаче на входы ИС синфазного и дифференциального
входных напряжений потенциал на каждом входе не должен превышать 1,5 и 3 В для
К140УД1А, КР140УД1А; 3 и 6 для К140УД1(Б,В), КР140УД1(Б,В). Зарубежные аналоги
µ A702HC, µ A702PC.
2. Конструкторский раздел
2.1 Методика
диагностирования устройства
2.1.1 Типовые
неисправности устройства и их возможные причины
Проблемы, которые могут иметь место при неисправности блока питания,
можно классифицировать как очевидные и неочевидные.
К очевидным относятся: компьютер вообще не работает, появление дыма,
сгорает предохранитель на распределительном щите.
Неочевидные с целью исключения ошибок определения неисправного элемента
требуют дополнительного диагностирования системы, тем не менее они могут быть
связаны с работоспособностью источника:
ü Любые ошибки и зависания при включении питания.
ü Спонтанная перезагрузка и периодические зависания во время
обычной работы.
ü Хаотические ошибки четности и другие ошибки памяти.
ü Одновременная остановка жесткого диска и вентилятора (нет +12
В), перегрев компьютера из-за выход строя вентилятора.
ü Удары электрическим током во время прикосновения к корпусу
компьютера или разъемам.
ü Небольшие статические разряды, нарушающее работу сети.
Особое внимание обращают на цепь формирования сигнала «Питание в норме»,
ранняя подача этого сигнала может приводить к искажениям CMOS-памяти. Типовые
неисправности, непосредственно связанные с нарушением работоспособности
источника питания, приведены в таблице 2.1.
Источник питания представляет собой сложное радиоэлектронное устройство,
ремонт которого необходимо осуществлять, точно представляя его работу и владея
навыками нахождения и устранения дефектов. При ремонте рекомендуется
комплексное использование всех доступных способов поиска неисправностей.
Табл. 2.1 Типовые неисправности источников питания
2.1.2 Варианты устранения
неисправностей
Необходимо помнить, что источник импульсного питания не работает без
нагрузки, подсоединение к сети должно происходить только через развязывающий
трансформатор, отсутствие работоспособности источника может связано со схемой
управления режимами.
При включении блока питания сгорает предохранитель.
Алгоритм поиска неисправностей:
При отключенном электропитании импульсного преобразователя тестером
провести проверку целостности транзисторов. Дополнительно проверить отсутствие
электрического контакта корпусов этих транзисторов с радиатором. Если требуется
замена транзисторов, то аналоги должны соответствовать оригинальным приборам по
рабочим уровням напряжений, тока, а также по частотным характеристикам.
После подачи питания запуска источника не происходит
Алгоритм поиска неисправностей:
В схеме с самовозбуждением узел начального питания ШИМ преобразователя
подключается к выходу выпрямителя канала +12 В.
Короткое замыкание в канале с отрицательным номиналом напряжения не
вызывает блокировки источника.
Возможная причина: нарушение электрических связей в канале защиты от
перегрузки.
Алгоритм поиска неисправностей:
Такой эффект может возникнуть при К3 в канале -5 В, если неисправен диод
или он не присоединен к выходу этого канала. Проверить исправность диода и
корректность его подключения в электрической цепи.
Вторичные напряжения в норме. С данным блоком питания компьютер не
включается.
Алгоритм поиска неисправностей:
Каскад на транзисторе вырабатывает сигнал высокого логического уровня с
задержкой относительно времени установления вторичных напряжений. Для того
чтобы идентифицировать неисправность в каскаде формирования сигнала «питание в
норме», при включении источника нужно проследить логику срабатывания элементов,
подключенных к транзистору и самого транзистора. Отказавший элемент заменить.
2.1.3 Методика диагностирования
Ремонт следует начинать с внешнего осмотра рекомендуемого устройства в
выключенном состоянии, при котором необходимо обращать внимание на исправность
предохранителя и любое изменение внешнего вида элементов схемы (цвета корпуса).
При определении неисправного элемента следует обратить внимание на исправность
всех элементов, подключенных к этой цепи. Ремонт следует проводить технически
исправными приборами, с использованием низковольтных паяльников, питающихся
через разделительный трансформатор. Как показывает практика из всех элементов
системного модуля наибольшее число отказов приходиться на блоки питания.
Наибольшие число отказов блоков питания связано с «неумышленными»
неисправностями, к которым относится перепутывание напряжения питания, т.е
включение блока в сеть с неправильно установленным переключателем напряжения
питания (в сеть 220 В включается блок питания, в котором переключатель
установлен на 115 В). Результат такой эксплуатации сопровождается мгновенным
взрывом конденсаторов низкочастотного фильтра сгоранием термистора и,
естественного, предохранителя. Поэтому перед первым включением источника
питания обращают внимание на положение переключателя типа питающей сети. После
проведения ремонта рекомендуется адаптировать аппарат под нашу сеть, исключив
(методом выпаивания) все элементы, влекущие возможность ошибочного включения
источника.
Любой ремонт начинается с предварительного внешнего осмотра. Это в
большинстве случаев позволяет отремонтировать блок питания даже при отсутствии
достаточной информации. Нежелательно производить ремонт без развязывающего
трансформатора и нагрузки. Рекомендуется для блока питания мощностью 200 Вт
использовать для источника питания +5 В нагрузку сопротивлением 4,7 Ом (50 Вт),
а для источника +12 В нагрузку 12 Ом (12 Вт). Достаточно эффективной нагрузкой
источника питания по каналу +12 В являются автомобильные лампочки на 12 В.
Учитывая требования к точности, выходные напряжения желательно проверять
цифровым мультиметром. Проведение ремонтных работ любого электронного
устройства в большинстве случаев имеет комплексный характер. Поиск
неисправностей, ее локализация и устранение производится, как правило, с
помощью контрольно-диагностических измерительных приборов. После любого вида
ремонтно- восстановительных работ необходимо проводить тщательную
предварительную проверку функционирования узлов блока питания по методике. В
некоторых случаев постепенная проверка каскадов позволяет определить дефекты,
не выявленные ранее, и проконтролировать правильность проведенных замен
элементов. Все операции по измерению электрических режимов работы элементов
силового каскада следует проводить согласно рис. 2.1 при подключении источника
питания к сети питания через трансформатор развязки.
Рис 2.1 Схема подключения импульсного источника питания через
развязывающий трансформатор
При проведении диагностики основных приборов необходимо проверять и
пассивные элементы, задающие электрические режимы функционирования активных
компонентов. Нередко дефект, вызванный отказом именно пассивных элементов,
является причиной потери работоспособности узла на активных приборов. Перед
принятием окончательного решения по поводу замены нужно убедиться в нормальном
состоянии печатных проводников платы и пассивных элементов.
Безусловно, в качестве рекомендаций по поведению ремонтных работ следует
особо отметить необходимость всестороннего анализа причин, которые могли
привести к проявлению дефекта или отказу работоспособности.
При выявлении причины нужно восстановить логику действий, вызвавших тот
или иной отказ, на основании которых легче спрогнозировать возможные
неисправности элементов и локализовать их.
Если возникает необходимость замены элементов, ее следует проводить с
использованием оригинальных компонентов или самых близких функциональных
аналогов. При этом подборе элементов в первую очередь учитываются параметры,
наиболее критичные для функционирования в конкретных условиях. К ним могут
относиться тепловые режимы, максимальные величины тока или напряжения
используемого прибора. Локализовать неисправный узел по внешним признакам
проявления дефекта и, соответственно, наметить план действий по выявлению
возникшей неисправности.
В графической части дипломного проекта приведена блок схема диагностики
источника питания.
2.2 Диагностирование
устройства
2.2.1 Диагностирование устройства
аппаратным методом
При производстве радиоэлектронной продукции использование
многофункциональных специализированных микросхем, требующих минимального
количества внешних компонентов, позволяет значительно сократить время
разработки конечного устройства и производственные затраты. Значительную долю
рынка недорогих измерительных приборов занимают цифровые мультиметры. Большая
их часть построена на основе АЦП типа ICL7106 от фирмы International Rectifier
(отечественный аналог - АЦП 572ПВ1). На основе этого АЦП можно создавать
различные цифровые измерительные приборы как для измерения электрических
величин, так и для измерения веса, температуры и др. Однако определенный
интерес при разработке цифровых мультиметров представляет другая микросхема -
NJU9207, о которой и пойдет речь.
Японская компания JRC (полное название New Japan Radio Co.Ltd.) выпускает
серию специализированных микросхем, представляющих собой незначительно
отличающиеся варианты цифрового мультиметра на одном чипе, обеспечивающим
управление 31/2-разрядным LCD. Это микросхемы NJU9207, данным предназначены в
основном для применения в карманных цифровых NJU9208, NJU 9207B. На
принципиальных схемах можно встретить либо полное обоз- начение типа микросхемы,
либо сокращенное - только в виде цифр. Микросхемы NJU9207/08 благодаря своим
техническим мультиметрах. Отличие микросхем NJU9208 от микросхем NJU9207
состоит только в расположении выводов.
Микросхема NJU9207/08 включает:
· АЦП;
· источник опорного напряжения;
· контроллер;
· генератор;
· детектор состояния батареи питания;
· драйвер LCD. Возможности микросхемы:
· низкий потребляемый ток (менее 1 мА);
· низкое напряжение источника питания (типовое значение 3 В);
· автоматический выбор предела измерений;
· функция автоудержания (Data, Range);
· наличие удвоителя и стабилизатора напряжения для работы
встроенного драйвера LCD;
· непосредственное управление пьезоэлектрическим зуммером;
· обеспечение индикации состояния батареи питания на LCD.
Рис. 2.2
Микросхемы выполнены по КМОП-технологии в корпусе QFP 80. Вид корпуса и
расположение выводов показаны на рис. 2.2, а на рис. 2.3 изображена структурная
схема микросхемы. В табл. 2.2 приведены сведения о нумерации и назначении выводов.
Рис.2.3
Режимы измерения электрических величин ЦММ на основе микросхемы
NJU9207/08 делятся на две группы: режимы с автоматическим и режимы с ручным
выбором предела измерений. Автоматический выбор предела измерений производится
при измерении напряжения постоянного тока в диапазоне 200мВ…2000 В (пять
пределов), напряжения переменного тока в диапазоне 2 В…2000 В (четыре предела),
сопротивления в диапазоне 100 Ом… 20МОм (шесть пределов). При измерении тока
предел измерения выбирают вручную. Диапазон измерения как постоянного, так и
переменного тока составляет 2 мА…20 А и делится на пять поддиапазонов.
Рис.2.4
Таблица 2.2
|
NJU9207
|
NJU9208
|
Обозначение
|
Назначение
|
|
2
|
62
|
ADI
|
Вход выпрямителя
|
|
3
|
63
|
ADО
|
Выход выпрямителя
|
|
4
|
64
|
AVX
|
Входная клемма при
изменении напряжения (+ при напр. пост. тока)
|
|
5
|
65
|
AVXD
|
Входная клемма при
изменении напряжения (- при напр. пост. тока)
|
|
7
|
67
|
CF1
|
Вывод для подключения
помехоподавляющего конденсатора
|
|
8
|
68
|
BUF
|
Выход буферного усилителя
|
|
9
|
69
|
CAZ
|
Вывод для подключения
конденсатора автообнуления
|
|
10
|
70
|
CI
|
Вывод для подключения
интегрирующего конденсатора
|
|
11
|
71
|
СО
|
Выход компаратора
|
|
12
|
72
|
А/М
|
Выбор режима переключения
пределов измерения: А - автоматический (лог. 1), М - ручной (лог. 0)
|
|
13-15
|
73-75
|
RC1-RC3
|
Выводы переключения
пределов измерения
|
|
16
|
76
|
RH
|
Вывод установки режима
удержания RANGE HOLD (лог. 0)
|
|
42
|
4
|
DH
|
Вывод удержания показаний
LCD - DISPLAY DATA HOLD
|
|
18-21
|
79-80,1
|
FC1-FC4
|
Выбор режима усилений
|
|
23
|
3
|
AFC
|
Выбор ограничения предела
измерений(лог. 1 - ограниченный; лог. 0 - полный)
|
|
34-25
|
14-5
|
SEG1-10
|
Выходы управления
сегментами LCD
|
|
38-35
|
18-15
|
СОМ1-4
|
Общие выходы драйвера LCD
|
|
42
|
22
|
VDSP
|
Вывод управления
мониторингом напряжения
|
|
47
|
27
|
BZ
|
Выход драйвера управления
пьезоэлектрическим символом
|
|
53, 54
|
33, 34
|
С1, С2
|
Выводы для подключения
конденсатора удвоителя напряжения
|
|
59
|
39
|
VADJ
|
Вывод для регулирования
опорного напряжения
|
|
61
|
41
|
VRD
|
Выход мониторинга
напряжения
|
|
63, 64
|
43, 44
|
CL, CH
|
Выводы для подключения
опорного конденсатора
|
|
66-71
|
64-51
|
OR1-6
|
Выводы для подключения
опорных резисторов при изменении сопротивления
|
|
72
|
52
|
OVS
|
Вход опорного напряжения
при измерении сопротивления
|
|
73
|
53
|
OVX
|
Вход измеряемого напряжения
при изменении сопротивления
|
|
75
|
55
|
VI
|
Вход измеряемого напряжения
|
|
76-79
|
56-59
|
VR2-VR5
|
Выводы для подключения
стабидизирующих нагрузочных резисторов
|
|
80
|
60
|
II
|
Вход измеряемого тока
|
|
55, 45
|
35, 25
|
TST1,2
|
Тестовые выводы 1, 2
|
|
44, 40
|
24, 20
|
TST3, 4
|
Тестовые выводы 3, 4
|
|
46
|
26
|
VSS1
|
Земляной вывод аналоговой и
цифровой части схемы - 0 В
|
|
52
|
32
|
VSS2
|
Вывод управляющего
напряжения LCD - -3 В
|
|
56
|
36
|
VDD1D
|
Напряжение питания цифровой
части схемы - +3В
|
|
57
|
37
|
VDD1А
|
Напряжение питания
аналоговой части схемы - +3В
|
|
65
|
45
|
GND
|
Средняя точка питания аналоговой
части схемы - +1,5 В
|
|
74
|
54
|
GNDS
|
Относительный земляной
вывод при операции интегрирования
|
Выбор режима измерений обеспечивается состоянием уровней на выводах
FC1-FC4 (табл. 2). Для изменения такого состояния можно применить механический
переключатель. При изменении состояния на одном из выводов FC1-FC4 по спаду
импульса напряжения формируется звуковой сигнал длительностью 31,25 мс и
частотой 2 кГц. Этот сигнал воспроизводится зуммером. Сигнал сброса системы
(RESET) формируется по фронту или спаду импульсов на выводы FC1-FC4.
Таблица 2.3
|
Режим измерений
|
Логическое состояние
|
|
FC1
|
FC2
|
FC3
|
FC4
|
|
U пост. (DCV)
|
1
|
1
|
1
|
1
|
|
U перем. (АCV)
|
0
|
1
|
1
|
1
|
|
I пост. (DCI)
|
1
|
0
|
1
|
1
|
|
I перем. (АCI)
|
0
|
0
|
1
|
1
|
|
Сопротивление (Ом)
|
1
|
1
|
0
|
1
|
|
Проверка диодов
|
1
|
0
|
0
|
0
|
|
Прозвонка цепи цепи (CONTI)
|
1
|
1
|
1
|
0
|
|
|
|
|
|
|
При изменении режима измерения установка его предела зависит от состояния
уровня на выводе AFC (табл. 2.4). При этомна LCD высвечивается соответствующая
значащая точка - Р1, Р2 или Р3 (рис. 2.4).
Если режим измерений изменен в период работы АЦП, внутри микросхемы
формируется сигнал сброса счетчика (COUNTER RESET), и она инициализируется.
После этого АЦП снова запускается с цикла автообнуления.
При включении режима прозвонки цепи автоматически устанавливается режим
измерения сопротивления на пределе 2 кОм. Если сопротивление проверяемой цепи
менее 300Ом, зуммер издает непрерывный звуковой сигнал, а на LCD отображается
значение сопротивления. В режиме проверки диодов также автоматически
устанавливается режим измерения сопротивления на пределе 2 кОм, и на диод
подается прямое напряжение от источника питания, составляющее 1,5 В.
|
Режим измерений
|
AFC: лог. 0
|
AFC: лог. 0
|
|
Предел
|
Значащая точка
|
Предел
|
Значащая точка
|
|
U пост. (DCV)
|
200 mV
|
P1
|
2 V
|
P3
|
|
U перем. (ACV)
|
2 V
|
P3
|
2 V
|
P3
|
|
I пост. (DCI)
|
200 mA
|
P1
|
200 mA
|
P1
|
|
I перем. (ACI)
|
200 mA
|
P1
|
200 mA
|
P1
|
|
Сопротивление (Ом)
|
200 Ом
|
Р1
|
2 кОм
|
Р3
|
|
Проверка диодов
|
2 V
|
Р3
|
2 V
|
Р3
|
|
Прозвонка цепи (CONTI)
|
2 кОм
|
Р3
|
2 кОм
|
Р3
|
|
|
|
|
|
|
|
Для работы в режиме автоматического выбора предела измерений на выводе
A/M должен присутствовать уровень лог. 1. Чтобы установить режим
автоматического или ручного выбора предела измерения, служит кнопка RANGE
CONTROL. Если установлен режим автоматического выбора, то для перехода в ручной
режим необходимо нажать эту кнопку. Время нажатия при этом должно быть менее 1
с. При установленном ручном режиме нажатие и удержание кнопки на время менее 1
с приведет к изменению предела измерения, а при ее удержании более 1 с
происходит переход в режим автоматического выбора.
В режиме HOLD напряжение низкого уровня на выводе HOLD обеспечивает
фиксацию показаний LCD на измеренном значении электрической величины.
2.2.2 Диагностирование устройства
программным методом
При замене неисправного элемента необходимо найти его аналог. Если же это
не представляется возможным то необходимо воспользоваться программой, которая
позволила бы усовершенствовать конструкцию блока питания и подобрать
необходимые элементы. В качестве такой можно использовать PI Expert Suite 5.0 .
Для построения аналогичного импульсного
источника питания необходимо произвести следующие расчеты:
Выбрать микросхему U1 в соответствии с
максимальной выходной мощностью и входным питающим напряжением.
Рассчитать номиналы резисторов.
Рассчитать величину входной емкости низкочастотного
фильтра.
Рассчитать выходной высокочастотный фильтр.
Выбрать тип сердечника и рассчитать величину
воздушного зазора и количества витков во всех обмотках силового трансформатора.
Определить параметры выходного выпрямительного
диода.
Определить и рассчитать номиналы элементов,
цепи ограничения высоковольтного выброса напряжения на выводе микросхемы .
Почти все эти расчеты можно провести при
помощи программы PI Expert Suite 5.0, разработанной специалистами фирмы PI.
На рис. 2.5 представлен внешний вид рабочего
окна программы PI Expert Suite 5.0.
Рис.2.5 Внешний вид окна программы
Для того чтобы открыть новый проект,
необходимо нажать кнопку NEW, которая находится в левом верхнем углу. На экране
появится окно. В нем предлагается ввести параметры входного напряжения, от
которого должен работать блок питания.
На выбор предлагается несколько типовых
питающих напряжений. Можно выбрать стандартные диапазоны входных питающих
напряжений, либо установить свой диапазон.
Для этого необходимо сначала выбрать User
Defined в нужной области напряжений (AC Defaults - переменный ток, HV DC -
высокое напряжение, постоянный ток; LV DC - низкое напряжение, постоянный ток),
а затем установить минимальное и максимальное входное напряжение (Voltage, V).
Так же можно установить и частоту питающей сети (Line Frequency, Hz), которая
обычно бывает 50 Гц (стандартная бытовая), 400 Гц или 1 кГц.
После этого нажмите кнопку «Далее» для
перехода к следующему окну.
Здесь предлагается ввести параметры выходного
напряжения и тока вашего блока питания. Для этого следует нажать кнопку «Add» и
заполнить графы «Voltage, V» - необходимое выходное напряжение и «Current, A» -
максимальный выходной ток. Потом нажмите «OK». При необходимости можно ввести
напряжения и токи для нескольких выходных каналов. Ниже в графе «Total Power,
W» вы увидите суммарную выходную мощность. Если вы неправильно ввели напряжение
или ток, либо решили вообще удалить один или несколько каналов, то можете
воспользоваться кнопками «Remove» для удаления выбранного канала и «Edit» для
изменения параметров.
После этого нажмите кнопку «Далее» для
перехода к следующему окну.
В открывшемся окне предлагается указать
следующие пункты:
. Topology - архитектура преобразователя
напряжения.
. Family - Семейство микросхем.
. Package - тип корпуса микросхемы:
. Frequency - фиксированная частота
переключения (в кГц).
. Opti.Type - выбор направления, в котором
будет производиться оптимизация схемы. Это означает что оптимизация будет
проводиться исходя из минимальной стоимости источника питания или из
максимального КПД.
Сделайте все установки и нажмите кнопку
«Готово»: программа произведет автоматический расчет блока питания и покажет
окно с результатом расчета (рис. 2.6).
Рис. 2.6 Окно с результатом работы программы
Основные параметры, необходимые для
проектирования имульсного источника питания, выделены желтым цветом. Кроме
того, можно воспользоваться блок-диаграммой (закладка «Block Diagram»), где
представлена структурная электрическая схема блока питания.
Для получения подробной информации об
элементах схемы необходимо выбрать интересующий вас элемент и нажать на него
один раз левой кнопкой мышки. После этого появится табличка с параметрами цепи.
В ней также можно изменить ранее заданный параметр, и, после того как вы
нажмете «ОК», программа автоматически произведет расчет с новыми параметрами.
2.3 Расчёт на
надёжность устройства
Надежность - свойство сохранять во времени в
установленных пределах значениях всех параметров, характеризующих способность
выполнять требуемые функции в заданных режимах и условиях применения.
Надежность - сложное свойство, которое в
зависимости от назначения узла и условий его применения состоит из сочетаний
свойств: безотказности, долговечности, ремонтопригодности и сохраняемости.
Безотказность - свойство непрерывно сохранять
работоспособное состояние в течение некоторого времени или некоторой наработки.
Наработка - объем работы.
Отказ - событие, заключающееся в нарушении
работоспособности. Как правило, отказ вызван физическим разрушением элемента
или постепенным ухудшением ее характеристик.
Сбой - кратковременное нарушение правильной
работы или его элемента, после которого его работоспособность самовосстанавливается
или восстанавливается оператором без проведения ремонта. Считается, что сбои
вызваны внутренними или внешними помехами электромагнитного характера.
Установление требований к надежности представляет собой сложную
технико-экономическую задачу, решаемую по критерию минимума суммарных расходов.
Среди расходов необходимо учитывать расходы, связанные с разработкой и
изготовлением источников питания; на персонал, занятый ремонтом и техническим
обслуживанием; определяемые последствиями отказов и простоев, снижением
эффективности или производительности, а также связанные с увеличением массы или
габаритов и др.
Надежность источников питания планируется на этапе разработки
технического задания (ТЗ), закладывается на ранних этапах разработки - при
эскизном проектировании, обеспечивается на следующих этапах разработки -
техническом и рабочем проектировании, реализуется в процессе производства и
поддерживается в процессе эксплуатации.
Для сравнительной оценки отдельных путей обеспечения и повышения
надежности применяются расчетные и экспериментальные методы. Значимость
расчетных методов больше на первых этапах разработки и снижается в пользу
экспериментального анализа и проверки на последних этапах.
Правильные технические решения по обеспечению надежности на первых этапах
разработки дают значительную экономию средств по сравнению со случаем, когда
принятые технические решения приходится пересмотреть на этапах технического и
рабочего проектирования или даже на этапах производства или эксплуатации.
Поэтому исключительное значение для экономного обеспечения надежности
приобретает правильное понимание и применение расчетных методов оценки
надежности, для обоснованного выбора наилучших технических решений с точки
зрения надежности.
Модели надежности элементов источников питания, отражающие всю полноту
сложнейших физико-химических процессов возникновения отказа, получаются слишком
сложными для практического применения. Поэтому применяют упрощенные методы,
например метод коэффициентов.
Метод коэффициентов заключается в том, что параметр ai выбранной
статистической модели надежности можно записать как ai = ai1·ai2… ain· ai0, где
ai1, ai2, … , ain - эмпирические коэффициенты, каждый из которых выражает
влияние одного из внешних воздействующих факторов (температуры, ускорения,
влажности, радиации и т. д.); ai0 - базовое значение параметра ai.
Следовательно, метод коэффициентов требует знания всех действующих факторов.
Если значения этих факторов неизвестны, то можно использовать коэффициенты,
зависящие от общего характера условий применения аппаратуры. Например, для
интенсивности отказов при экспоненциальной модели надежности существует
следующая зависимость: λ=kλ0, где k - коэффициент, зависящий от
условий работы; λ0 - некоторая базовая интенсивность отказов.
Метод коэффициентов может быть использован также в случае, когда условия
работы аппаратуры изменяются во времени. Однако вероятность безотказной работы,
определенная по методу коэффициентов, когда коэффициенты зависят от времени,
может быть ниже действительного значения, так как работа в переменных режимах
из-за усталостных явлений ведет к дополнительному разрушению объекта по
сравнению со статическим режимом работы.
Рис. 2.7 Графики зависимости интенсивностей отказов БИС от температуры
корпуса
На рис. 2.7 приведены графики, позволяющие оценить интенсивность отказов
БИС, основанных на биполярной технологии 1 и на КМОП-технологии 2. Графики
справедливы для БИС, содержащей 2100 логических элементов. Если количество
элементов отличается от этой цифры, то для приближенной оценки интенсивности
отказов БИС можно использовать зависимость
λБИС = (n/2100) · λ,
где n - число логических элементов в рассматриваемой БИС; λ - значение интенсивности отказов,
определяемое по графику на рис. 2.7.
Для более точной оценки интенсивности отказов БИС следует пользоваться
справочниками, где дается зависимость интенсивности их отказов от ряда факторов
(особенности конструкции, степени освоенности продукции и др.).
В таблице приведены некоторые данные об интенсивностях отказов других
компонентов компьютерной системы.
Таблица 2.5 Интенсивности отказов компонентов компьютерной системы
|
Компонент
|
Интенсивность отказов
|
|
Интегральная схема
|
0,1
|
|
Диод
|
0,2 - 0,5
|
|
Транзистор
|
0,05 - 0,3
|
|
Конденсатор
|
0,002 - 0,04
|
|
Резистор
|
0,01 - 0,1
|
|
Трансформатор
|
0,1 - 0,2
|
|
Пайка
|
0,0001
|
|
Разъем
|
2,0 - 3,5
|
|
Сердечник
|
0,00001
|
|
Выключатель
|
0,2 - 0,5
|
|
Лампочка
|
0,5
|
|
Вентилятор
|
3,0
|
|
Память емкостью 4Кслов
|
100
|
|
Память емкостью 48 Кслов
|
300
|
Расчет на надежность элементов источника питания.
Н = λ(t) · N,
где:
Н - надежность элементов;
λ(t) - интенсивность отказов;- число
элементов.
Расчет на надежность конденсаторов:
Нк = 0,002 · 31= 0,062
Расчет на надежность микросхем:
Нм = 0,1 · 2 = 0,2
Расчет на надежность резисторов:
Нр = 0,1 · 16= 1,6
Расчет на надежность диодов:
Нд = 0,3 · 21= 6,3
Расчет на надежность транзисторов:
Нт = 0,05 · 7 = 0,35
Расчет на надежность трансформаторов:
Нтр = 0,1 · 1 = 0,1
Расчет на надежность пайки:
Нп = 0,0001 · 122 = 0,0122
Общая надежность источника питания составляет:
Нкэ = Нк + Нм + Нр + Нд +Нт + Нтр + Нп
Нкэ = 0,062+0,2+1,6+6,3+0,35+0,1+0,0122 = 8,5622
3. Технологический
раздел
3.1 Требования
техники безопасности при техническом обслуживании микропроцессорных систем
Значительное количество несчастных случаев от поражения электрическим
током связано с тем, что нарушается изоляция электроприемников. Для защиты
людей от поражения электрическим током при повреждении изоляции должна быть
применена, по крайней мере, одна из следующих защитным мер: заземление, зануление,
защитное отключение, разделительный трансформатор, малое напряжение, двойная
изоляция, выравнивание потенциалов.
Защитное заземления - преднамеренное соединение с землёй или её
эквивалентом металлических нетоковедущих частей электроприёмников (электроустановок),
которые могут оказаться под напряжением (ГОСТ 12.1.009 - 76. ССБТ.
Электробезопасность. Термины и определения).
Зануление - преднамеренное электрическое соединение металлически
нетоковедущих частей электроприёмников (электроустановок) с нейтральной точкой
трансформатора питающей подстанции металлических нетоковедущих частей, которые
могут оказаться под напряжением (ГОСТ 12.1.009 - 76. ССБТ. Электробезопасность.
Термины и определения).
Заземление или зануление электроустановок следует выполнять:
• во всех электроустановках при напряжении 380 В и выше переменного тока
и 440 В и выше постоянного тока;
• в электроустановках, эксплуатирующихся в помещениях с повышенной
опасностью, особоопасных и наружных установках - при напряжении выше 42 В, но
ниже 380 В переменного тока и выше 110 В, но ниже 440 В постоянного тока.
Помещения с повышенной опасностью характеризуются наличием одного из
следующих условий: сырости (>75%) или токопроводящей пыли, токопроводящих
полов, высокой температуры (>30°С), возможности одновременного прикосновения
человека к имеющим соединение с землей металлоконструкциям зданий, аппаратам,
механизмам и к металлическим корпусам электрооборудования.
Особо опасные помещения характеризуются наличием одного из следующих
условий: особой сырости (>90%), химически активной или органической средой,
одновременно двух и более условий повышенной опасности.
Заземляющие устройства электроустановок потребителей должны
соответствовать требованиям ПУЭ.
Части электрооборудования, подлежащие заземлению, должны иметь надёжное
контактное соединение с заземляющим устройством либо с заземлёнными
конструкциями, на которых они установлены. Соединения должны быть только
болтовыми или сварными. Скрутка не допускается.
Каждая часть электроустановки, подлежащая заземлению или занулению,
должна быть присоединена к сети заземления или зануления отдельным
проводником. Заземляющие и нулевые проводники должны иметь покрытие,
защищающее от коррозии. Открыто проложенные стальные проводники должны иметь черную
окраску. При производстве работ в электроустановках должны выполняться
специальные мероприятия (организационные, технические), обеспечивающие
электробезопасность. В частности, работы в электроустановках проводятся по
нарядам - допускам или по распоряжениям. Наряд-допуск - это задание на
производство работы, оформленное на специальном бланке установленной формы и
определяющее содержание, место работы, время её начала и окончания, условия
безопасного проведения, состав бригады и лиц, ответственных за безопасное
проведение работы. Распоряжение имеет разовый характер, срок его действия
определяется продолжительностью рабочего дня исполнителей. По распоряжению
выполняются работы, как правило, в электрустановках до 1000 В.
Небольшие по объёму виды работ, в электроустановках до 1000 В,
выполняемые в течение рабочей смены на закреплённом за персоналом оборудовании,
должны содержаться в заранее разработанном и подписанном ответственным за
электрохозяйство и утверждённом руководителем организации перечне.
Организационными мероприятиями, обеспечивающими безопасность работ в
электроустановках, являются:
• оформление работ нарядом-допуском <>, распоряжением <> или
перечнем работ, выполняемых в порядке текущей эксплуатации; <>
• допуск к работе - проводится после проверки подготовки рабочего места.
Подготовка рабочего места осуществляется производителем работ по разрешению,
которое выдает от оперативного персонала (диспетчера). В тех случаях, когда
производитель работ совмещает обязанности допускающего, подготовку рабочего
места он должен выполнять с одним из членов бригады, имеющим группу III. При
допуске к работе допускающий должен проверить соответствие состава бригады
составу, указанному в наряде или распоряжении, по именным удостоверениям членов
бригады; доказать бригаде показом установленных заземлений или проверкой
отсутствия напряжения, если заземления не видны с рабочего места, что
напряжение отсутствует, а в электроустановках напряжением 35 кВ и ниже (где
позволяет конструктивное исполнение) - последующим прикосновением рукой к
токоведущим частям. Подготовка рабочего места и допуск бригады к работе могут
проводиться только после получения разрешения от оперативного персонала или
уполномоченного на это работника. Разрешение о допуске бригады к работе может быть
передано персоналу, выполняющему подготовку рабочего места, лично, по телефону,
радио, с нарочным или через оперативный персонал промежуточной подстанции;
• надзор во время работы (после допуска к работе). Надзор за соблюдением
бригадой требований безопасности возлагается на производителя работ
(наблюдающего). Не допускается наблюдающему совмещать надзор с выполнением
какой-либо работы. При необходимости временного ухода производитель работ
(наблюдающий) обязан удалить бригаду (с выводом её из РУ и закрытием входных
дверей на замок);
• оформление перерыва в работе, перевода на другое рабочее место,
окончания работы. Порядок осуществления перечисленных мероприятий подробно
регламентирован ПОТ Р М-016-2001 Межотраслевыми правилами по охране труда при
эксплуатации электроустановок (далее - ПОТ Р М-016-2001).
3.2 Требования
экологии при техническом обслуживании микропроцессорных систем
Техническое обслуживание микропроцессорной техники осуществляется в
специализированных мастерских с обилием техники и чахлыми кактусами на
подоконниках в качестве народной защиты от коварного электромагнитного
излучения.
При входе в помещение ощущается довольно специфический запах. А ведь
запахи влияют на восприятие куда больше, чем это может показаться на первый
взгляд. В самом деле, слишком сильный запах даже очень хороших духов вызывает
раздражение, в то время как слабый аромат дыма навевает приятные ассоциации.
Между прочим, запахи могут предупреждать о потенциальной опасности, ведь многим
вредным химическим веществам присущ характерный аромат. Например, у паров
нитробензола миндальный запах - он опасен при вдыхании, так как является ядом.
Это вещество может входить в состав лакокрасочных покрытий, обладает
канцерогенными свойствами. Бензиновый запах присущ бензолу - ядовитому
веществу, опасному при вдыхании, который часто применяется как растворитель. Он
угнетающе действует на центральную нервную систему. "Запах
дезинфекции" присущ хлору и фенолу - ядам, которые опасны при вдыхании.
Хлор входит в состав многих дезинфектантов, может вызвать острое отравление,
спровоцировать астматический приступ. Фенол входит в антисептические пропитки
древесины, выделяется из поверхностей, пропитанных фенолформальдегидными
смолами. Угнетает центральную нервную систему, обладает канцерогенным
действием. Кислый, "уксусный" запах присущ акриловой кислоте, которая
входит в состав многих красок; может вызвать удушье, обладает канцерогенными
свойствами. Источниками всех этих ароматов обычно становятся свежее покрытие
стен (особенно краски), потолков и новая мебель. Поэтому свежий ремонт
частенько привносит негативную долю в плохую экологическую обстановку на
работе.
Снизить это дурное влияние может использование при ремонте бумажных или
жидких обоев - бумага не источает химических ароматов и, кроме того, неплохо
поглощает ненужные запахи.
Кроме того множество работающих компьютеров и прочей сложной электронной
оргтехники. Плюс наглухо закрытые окна и постоянно включенный кондиционер. То
есть имеется хорошо изолированное от внешней среды помещение с искусственной
системой циркуляции воздуха - ведь на улице выхлопные газы автомобилей и едкая
городская пыль. Но как нужны воздуху, который в этом случае считается
животворным, ионизированные частицы. В незагрязненной атмосфере соблюдается
строгий баланс между положительными и отрицательными аэрофонами, и человеческий
организм изначально приспособлен именно к таким условиям. Увы, воздух в
помещениях мастерских в 8-10 раз токсичнее атмосферного. По данным ученых,
Москва уже догнала Нью-Йорк по уровню загазованности. В воздухе закрытых
помещений также резко нарушен баланс между положительными и отрицательными
аэроионами. Дело в том, что естественных источников отрицательных аэроинов
(солнечный свет, особенно в ультрафиолетовой его части, гроза) в домах и мастерских
нет, зато источников положительных частиц - сколько угодно. Это вся электронная
и сложная измерительная техника. А дисбаланс заряженных частиц вызывает у
человеческого организма стресс, который не лучшим образом влияет на
самочувствие и производительность труда. Согласно действующим российским
санитарным нормам, концентрация отрицательных аэроионов в воздухе не должна
быть меньше 600 на 1 см3. В реальной жизни их концентрация в
помещениях редко превышает 50-100 частиц в 1 см3.
Есть и еще один нюанс: комфортной для человека является относительная
влажность воздуха от 40% до 60%. В помещениях, особенно зимой, когда работают
отопительные приборы, влажность резко падает, а критической для здоровья
человека является относительная влажность в 25%. Лучшим способом хоть как-то
сбалансировать соотношение заряженных частиц и оптимизировать влажность воздуха
является банальное проветривание. Что касается кондиционера, который исправно
гоняет воздух и даже очищает его в специальных фильтрах, то кондиционированный воздух
- "мертвый": после прохождения через механические фильтры он вообще
теряет ионизацию, а проходя через заставленное оргтехникой помещение насыщается
положительными аэроионами и тяжелыми частицами, еще более увеличивая
существующей дисбаланс. Правда, уже есть системы - например, Bionaire или
Ecoquest, - способные восполнить потери заряженных частиц на фильтрах и
увлажнить атмосферу, но это пока редкость. Конечно, кондиционирование воздуха
необходимо, например, в высотных зданиях, где принудительная вертикальная и
горизонтальная вентиляция является жизненно необходимой, или в подвальных
помещениях без окон. Помимо проветривания, оздоравливающим образом влияют на
воздух специальные приспособления - ионизаторы и увлажнители воздуха. Очень
полезно разводить в мастерской комнатные растения, причем не кактусы (излучение
они не уменьшают - это миф), а растения с большой массой листвы - драцена,
диффенбахия, лимон. Помимо поглощения ненужных примесей, они хорошо увлажняют
излишне сухой воздух. Замечательными способностями поглощать вредные вещества и
оздоравливать атмосферу обладает обыкновенный хлорофитум - растение очень
неприхотливое и живучее. Небольшие хвойные деревца - мирт и самшит - помимо
благотворного влияния на воздух конторы, выделяют природные антибиотики -
фитонциды, что весьма полезно при массовых эпидемиях гриппа.
Особо следует отметить "электромагнитный шум" в мастерской. При
всем удобстве и незаменимости современных электроприборов они являются
источниками электромагнитных полей различной интенсивности, которые по-разному
влияют на человеческий организм. Головные боли, повышенная утомляемость,
хронический стресс, снижение иммунитета - плата современного человека за
комфорт и оперативную информацию. Коварство электромагнитных полей в их
незаметности. Зафиксировать их можно только с помощью специальной аппаратуры. К
сожалению, полностью защититься от излучения невозможно - электрические кабели
проложены везде. Но можно принять меры, чтобы свести опасность к минимуму.
Основными источниками ЭМП в помещениях служат:
бытовая и офисная техника (начиная от утюгов и холодильников и заканчивая
сложной офисной техникой);
персональные компьютеры;
электропроводка;
распределительные щиты.
Все это при работе образует так называемый бытовой смог. Вообще же
наведенные электромагнитные поля образуют любые электрические провода,
уложенные внутри здания. Что касается бытовой и офисной техники и компьютеров,
то производители всячески стараются уменьшить вредное излучение от них. Поэтому
своевременная модернизация техники не только повысит качество работы, но и
улучшит экологическую обстановку в офисе. Гораздо сложнее бороться с
электромагнитными полями, образованными электропроводкой и распределительными
щитами. Но и это вполне возможно. Во-первых, если помещение непосредственно
соседствует со щитовой комнатой, необходимо ее тщательно заэкранировать - для
этого существуют специальные сетки и стеновые панели. Во-вторых, вся проводка
должна находиться в специальных коробах, блокирующих нежелательные наводки;
в-третьих, если где-либо в помещении планируется система электрических
"теплых полов", не стоит искать сиюминутной выгоды и ставить самые
дешевые однопроводные полы - рабочие потери быстро сведут экономию на нет.
Кроме того, все оборудование должно иметь качественное защитное заземление.
Помимо профессиональных приемов защиты от электромагнитных полей, есть и чисто
бытовые способы минимизировать вред:
бытовые офисные приборы не должны размещаться на близком расстоянии и
напротив друг друга;
по возможности следует устанавливать мониторы так, чтобы их тыльная часть
не была направлена на сидящего рядом человека;
находящиеся рядом рабочие места желательно разделять офисными
перегородками.
Вообще, прежде чем обустраивать мастерскую, неплохо обратиться к
специалистам и проверить уровень электромагнитного излучения в ней. Советы
специалистов будут кстати. Приведем российские нормы для компьютерщиков и
пользователей компьютерной техники: время пребывания в электрическом (магнитном
поле напряженностью более 25 В/м (250 нТл) и 2,5 В/м (25 нТл) для диапазонов
частот соответственно 5 Гц - 2 кГц (низкие частоты) и 2-400 кГц (высокие
частоты) должно быть ограничено двумя часами.
Есть еще незаметные "подводные камни", также грозящие
ухудшением экологии:
Если здание (особенно старое) имеет подвал, в цоколе и помещениях первых
этажей может скапливаться радиоактивный газ радон, всегда находящийся в почвах.
Надо чаще проветривать помещение.
При использовании бытовой химии для уборки не следует употреблять слишком
сильно действующие реагенты. Многие бытовые средства включают в себя довольно
агрессивные компоненты: средства для чистки кафеля и санфаянса - хлор и соляную
кислоту, средства для мойки окон - аммиак.
И побольше зеленых насаждений. Они не только радуют глаз и освежают
воздух, но и хорошо дезинфицируют помещение.
4. Экономический раздел
4.1 Расчет
численности персонала службы технического обслуживания и ремонта устройств
программного управления
4.1.1 Составление таблицы типов и
количества, применяемых УЧПУ на участке
Для определения численности персонала службы технического обслуживания и
ремонта УЧПУ необходимо выполнить расчеты, связанные с определением суммарной
трудоемкости работ по ремонту и техническому обслуживанию.
Опираясь на материалы, собранные во время прохождения преддипломной
практики на ЗАО УК БМЗ (ЗТД) составляю таблицу типов и количества УЧПУ,
применяемых на участке.
Таблица 4.1 Количество и типы применяемых УЧПУ на участке
|
Тип применяемых УЧПУ
|
Количество, шт.
|
Группа сложности
|
|
1
|
2
|
3
|
|
П-Ш-13
|
6
|
3
|
|
К-3П
|
4
|
3
|
|
2М-43
|
7
|
4
|
|
Люма-61
|
3
|
4
|
|
П-323Б
|
4
|
5
|
|
Н-323
|
6
|
5
|
|
0551
|
4
|
6
|
|
АЛКАТЕЛЬ
|
6
|
6
|
|
Н-552
|
4
|
6
|
|
2Р135Ф2
|
5
|
8
|
|
ПМ84
|
6
|
21
|
Таблица 4.2 Количество УЧПУ по группам сложности
|
Номер группы сложности
|
Количество УЧПУ, ед.
|
|
3
|
10
|
|
4
|
10
|
|
5
|
10
|
|
6
|
10
|
|
8
|
5
|
|
21
|
6
|
|
Всего: 51
|
Примечание: для определения групп сложности использована “Типовая система
технического обслуживания и ремонта металло- и деревообрабатывающего
оборудования”, Москва, изд. “Машиностроение”, 2002г., стр. 667
4.1.2 Определение трудоемкости работ
по техническому обслуживанию и ремонту УЧПУ на участке
Зная группы сложности УЧПУ, применяемых на участке, можно установить
нормы времени на техническое обслуживание и ремонт УЧПУ на 1000 часов
оперативного времени его работы, используя данные таблицы 4.1.2.1.
Таблица 4.3 Нормы времени на техническое обслуживание и ремонт УЧПУ на
1000 часов оперативного времени его работы
|
Вид работы и операции
|
Перио- дич-ность
|
Трудоемкость для групп
сложности УЧПУ, часы
|
|
(Группа сложности)
|
|
3
|
4
|
5
|
6
|
8
|
21
|
|
1. Осмотр УЧПУ
|
8
|
18.8
|
18.8
|
20.8
|
25
|
25.9
|
40
|
|
2. Чистка ФСУ
|
50
|
6.7
|
6.7
|
6.7
|
6.7
|
6.7
|
6.7
|
|
3. Проверка лентопротяжного
механизма
|
200
|
5
|
5
|
5
|
5
|
5
|
5
|
|
4. Удаление пыли из шкафа
УЧПУ
|
200
|
12.5
|
12.5
|
20
|
20
|
22.4
|
32
|
|
5. Осмотр состояния паек и
разъемных соединений блоков
|
500
|
8
|
10
|
20
|
24
|
25.6
|
36
|
|
6. Проверка и регулировка
питания
|
500
|
1
|
0.3
|
0.3
|
0.3
|
0.46
|
1.5
|
|
7. Проверка
функционирования электронных узлов и каналов связи их с интерполяторами
|
500
|
6.3
|
6.3
|
6.4
|
6.4
|
9
|
19.6
|
|
8. Проверка работы схемы
контроля технических команд
|
500
|
3
|
3
|
3
|
3
|
3.4
|
5.4
|
|
9. Неплановое техническое
обслуживание
|
-
|
2.2
|
2.2
|
2.2
|
2.9
|
3.7
|
8.7
|
|
Итого технического
обслуживания
|
-
|
63.5
|
64.8
|
84.8
|
93.3
|
102.2
|
154.9
|
|
Устранение потока отказов
|
-
|
70
|
98
|
104
|
133
|
169
|
403
|
Примечание:
.Ремонт УЧПУ выполняется по потребностям и состоит из устранения потока
отказов.
.При обслуживании станков, проработавших свыше 2…4 ремонтных циклов,
норму времени на плановое техническое обслуживание умножаем на 1,05,
проработавших свыше 4 ремонтных циклов - на 1,1.
Расчет трудоемкости работ по обслуживанию устройств ЧПУ производится по
формуле 4.1.2.1.
где:
ΣТобс- трудоемкость технического
обслуживания УЧПУ, в часах;
ΣТрп*С3,…, ΣТрп*С21- годовые суммы планируемого
оперативного времени работы, в часах, отдельно по каждой из 6 групп УЧПУ;
ос3,…,
ос21- годовые суммы планового и
непланового технического обслуживания каждого УЧПУ из 6 групп на 1000 часов оперативного
времени работы, приведены в таблице 4.1.2.1.;
С3….С21- количество УЧПУ по каждой из 6 групп сложности.
Для действующего оборудования оперативное время работы станка
определяется путем суммирования произведений оперативного времени обработки
деталей на этом станке на изготовление их количества за год, либо по
приближенной формуле 4.1.2.2.
Трп=Fд*Кз/1,1 (ч), 4.1.2.2.
где:
Fд-
действительный годовой фонд времени работы оборудования в часах. При
двухсменной работе цеха (длительность рабочей смены - 8 часов) на ЗАО УК БМЗ
Fд=5200 часов.
Кз - коэффициент загрузки оборудования. На ЗАО УК БМЗ (ЗТД) Кз=0,75.
,1- коэффициент, исключающий дополнительное время из штучного.
Подставив значения в формулу 4.1.2.2., получим:
Трп=5200*0,75/1,1=3545 (ч)
Таким образом, ΣТобс определяется
ΣТобс=3545*(С3*
ос3+…+С21*
ос21)/1000 (ч), 4.1.2.1.
ΣТобс=3545*(10*63.5+10*64.8+10*84.4+10*93.3+5*102.2+6*154.9)/1000=3545*(635+648+844+933+511+929)/1000=15952
(ч)
Суммарная трудоемкость, в часах, устранения потока отказов устройств ЧПУ
за год определяется по формуле 4.1.2.3.
ΣТр=(ΣТрп*С3*
рс3+…+ΣТрп*С21*
рс21)/1000 (ч), 4.1.2.3.
где:
ΣТр- трудоемкость технического
обслуживания УЧПУ в часах;
ΣТрп*С3,…, ΣТрп*С21- годовые суммы планируемого
оперативного времени работы, в часах, отдельно по каждой из 6 групп УЧПУ;
рс3,…,
рс21- нормы времени устранения потоков отказов на 1000 часов
оперативного времени работы УЧПУ 6 групп сложности, приведены в таблице
4.1.2.1.;
С3,…, С20- количество УЧПУ по каждой из 7 групп сложности.
ΣТр=3545*(С3*
рс3+…+ С21*
рс21)/1000 (ч), 4.1.2.3.
ΣТр=3545*(10*70+10*98+10*104+10*133+5*169+6*403)/1000=
=3545*(700+980+1040+1330+845+2418)/1000=25925 (ч)
Результаты расчетов сводим в таблицу 4.4
Таблица 4.4 Расчет трудоемкости работ по техническому обслуживанию и
ремонту УЧПУ
|
Вид выполняемых работ
|
Единицы измерений
|
Группа сложности
|
Проектируемое
|
Коэффициент оперативного
времени работы станка за год
|
Сумма затрат времени, часов
|
|
|
|
|
Норма времени, часов
|
Количество обслуживаемого
оборудования
|
|
|
|
1.Техни- ческое обслу-
живание УЧПУ
|
УЧПУ
|
3 4 5 6 8 21
|
63.5 64.8 84.4 93.3 102.2
154.9
|
10 10 10 10 5 6
|
3,545
|
2251 2297 2992
3307 1811 3294
|
|
Итого: ΣТобс=15952
|
|
2.Устра- нение потоков отказов
УЧПУ
|
УЧПУ
|
3 4 5 6 8 21
|
70 98 104 133 169 403
|
10 10 10 10 5 6
|
3,545
|
2482 3474 3687
4715 2995 8572
|
|
|
Итого: ΣТр=25925
|
|
|
|
|
|
|
|
|
|
|
|
|
|
|
|
|
4.1.3 Расчет численности работающих
по техническому обслуживанию и ремонту УЧПУ на участке
Трудоемкость годовой программы ремонтов и технического обслуживания
позволяет определить необходимую (расчетную) численность работающих для ремонта
и технического обслуживания электронной части УЧПУ, она определяется по формуле
4.1.3.1.
φр.рас.=ΣТр/Ф*j (человек), 4.1.3.1.
φр.рас.= 25925/2600*1,11=8,9 (человек)
где:
Ф - эффективный годовой фонд времени работающего в часах,
Ф=2600ч;коэффициент переработки норм, в обычных условиях j=1,1…1,15.
Расчетная численность работающих для технического обслуживания УЧПУ
определяется по формуле 4.1.3.2.
φобс.рас.= ΣТобс/Ф*j (человек), 4.1.3.2.
φобс.рас.= 15952/2600*1,11=5,5
(человек)
где:
Ф- эффективный годовой фонд времени работающего в часах, Ф=2600ч;
j-
коэффициент переработки норм, в обычных условиях j=1,1…1,15.
Результаты расчетов сводим в таблицу 4.5
Таблица 4.5 Численность работающих на участке по техническому
обслуживанию и ремонту УЧПУ
|
Состав работающих
|
Расчетное число работающих φрасч., чел.
|
Принятое число работающих φпр., чел.
|
|
1.Работающие, занятые
ремонтом УЧПУ 2.Работающие, занятые техническим обслуживанием УЧПУ
|
8,9 5,5
|
9 6
|
|
Всего: Σφ=15
|
Примечание: принятое число работающих получаем путем округления расчетной
величины до целого значения.
4.2 Расчет фонда заработной платы
работающих по техническому обслуживанию и ремонту УЧПУ на участке
В основе начисления заработной платы лежит тарифная система оплаты труда,
которая включает в себя:
· тарифную сетку;
· тарифно-квалификационный справочник;
· комплекс нормативных документов.
Период развития рыночных отношений накладывает особенность на процесс
формирования тарифной сетки каждого предприятия, а именно: предприятия в
зависимости от экономических факторов, в соответствии с законом РФ о
предприятиях и предпринимательской деятельности, может самостоятельно изменять
свою тарифную сетку, что соответственно приведет к изменению размера оплаты
труда.
Принимают для работающих по техническому обслуживанию и ремонту
сдельно-премиальную систему оплату труда.
Данные для расчетов заработной платы инженерно-технического персонала,
занятого техническим ремонтом и обслуживанием взяты за период прохождения
преддипломной практики на базовом предприятии ЗАО УК «БМЗ» в ОПЭ и А,
находящегося в подчинении заместителя генерального директора по экономическим
вопросам (курируются вопросы отсутствия перерасхода фонда заработной платы при
росте объемов производства по сумме всех обществ).
Действующие оклады на ЗАО УК «БМЗ»:
работающие, занятые ремонтом УЧПУ: - Инженер 1 категории (5150 - 7100
руб.)
Ведущий инженер (5750 - 7615 руб.)
работающие, занятые техническим обслуживанием УЧПУ
Инженер 2 категории (4450 - 6415 руб.)
Инженер 3 категории (4000 - 5720 руб.)
без категории (3800 - 5385 руб.)
В настоящее время действует повышающий коэффициент, к=1,3.
Принимаем для работающих по техническому обслуживанию и ремонту
повременно-премиальную форму оплаты труда.
(руб).
4.2.1
где:
к - повышающий коэффициент
Fн -
номинальный фонд рабочего времени за месяц, Fн = 154 часа.
Fэ -
эффективный фонд рабочего времени за месяц, Fэ = 154 часа.
По этой формуле определяем прямую заработную плату для ремонтников (1
категория) и обслуживающего персонала (2 категория).
ЗПп.рем=5150*1,3=6695руб.
ЗПп.обс.=4450*1,3=5785руб.
Змес.рем=0,3*6695+6695=8703,5 руб.
Змес.обс.=0,3*5785+5785=7520,5 руб.
Таблица 4.6 Расчет годового фонда заработной платы по техническому
обслуживанию и ремонту УЧПУ
|
Профессия
|
Категория
|
Номильный фонд рабочего
времени
|
Эффективный фонд рабочего
времени
|
Размер оклада
|
Прямая заработная плата
|
Размер премии, руб.
|
Начисленная Заработная
плата за месяц, руб
|
|
|
Fн
|
Fэ
|
Ро
|
ЗПп
|
|
|
|
Работающие занятые ремонтом
УЧПУ
|
1
|
154
|
154
|
5150
|
6695
|
2008,5
|
8703,5
|
|
Работающие занятые
техническим обслужива нием УЧПУ
|
2
|
154
|
154
|
4450
|
5785
|
1735,5
|
7520,5
|
Зср.мес=(8703,5+7520,5)/2=8112 руб.
Примечание: Оплата труда работающих в месяц зависит от количества
отработанного времени за расчетный период, который соответствует указанному
времени в план графике работы предприятия.
4.3 Составление сметы затрат на
техническое обслуживание и ремонт УЧПУ на участке
4.3.1 Планирование потребностей в
материалах для ремонта и обслуживания УЧПУ
Определив объем работ по ремонту и обслуживанию оборудования и
необходимую для их выполнения численность работающих, рассчитываем потребность
в материалах. Нормы расходов материалов и комплектующих изделий на ремонт и
техническое обслуживание станков и машин разработаны отдельно на механические,
электрические и электронные части УЧПУ. По материалам, большая часть которых
потребляется при ремонте электронной части УЧПУ, приведены нормы расхода на
1000 часов оперативного времени работы одного УЧПУ. По материалам (смазывающим,
обтирочным, промывочным), большая часть которых употребляется при эксплуатации
электронной части УЧПУ, приведены нормы расхода на 1000 часов оперативного
времени работы одного УЧПУ. Годовую потребность в ремонтных и эксплуатационных
материалах каждого наименования для электронной части станков с УЧПУ определяем
по нормам, приведенным в таблице 4.6 Подставляя их в формулу 4.3.1.1.,
результаты расчета сводим в таблицу 4.7
Мсг=(Мс3*ΣТрп3*С3+…+Мс21*ΣТрп21*С21)/1000 (кг.) 4.3.1.1.
Мсг=3,545*(Мс3*С3+…+Мс21*С21) (кг.) 4.3.1.1.
где:
Мс3…Мс21 - табличные значения норм расхода материалов различных
наименований, приведены в таблице 4.3.1.1.
ΣТрп3*С3…ΣТрп21*С21 - суммарное планируемое
время работы на год для УЧПУ 6 групп сложности с учетом их количества
Таблица 4.7 Нормы расхода материалов на ремонт и обслуживание УЧПУ
|
Материалы
|
Единицы измерения
|
Нормы расхода на 1000 часов
оперативного времени работы УЧПУ
|
|
|
3
|
4
|
5
|
6
|
8
|
21
|
|
Припой оловянно- свинцовый
|
кг
|
0.14
|
0.16
|
0.18
|
0.2
|
0.24
|
0.5
|
|
Крепежные изделия
стандартизированные чистые
|
кг
|
0.3
|
0.35
|
0.4
|
0.45
|
0.55
|
1.2
|
|
Провод эмалированный
|
кг
|
0.06
|
0.065
|
0.07
|
0.075
|
0.085
|
0.15
|
|
Провод установочный
|
м
|
1.2
|
1.3
|
1.4
|
1.5
|
1.7
|
3
|
|
Текстолит или гетинакс
|
кг
|
0.6
|
0.65
|
0.7
|
0.75
|
0.85
|
1.5
|
|
Канифоль
|
кг
|
0.03
|
0.03
|
0.04
|
0.04
|
0.05
|
0.12
|
|
Лак изоляционный
|
кг
|
0.03
|
0.03
|
0.04
|
0.04
|
0.05
|
0.12
|
|
Спирт этиловый
|
кг
|
0.5
|
0.55
|
0.6
|
0.65
|
0.75
|
1.4
|
|
Салфетки технические
|
м
|
0.4
|
0.45
|
0.5
|
0.6
|
0.65
|
1.3
|
|
Вата оптическая
|
кг
|
0.1
|
0.1
|
0.1
|
0.1
|
0.1
|
0.1
|
|
Масло вазилиновое
|
кг
|
0.01
|
0.01
|
0.01
|
0.01
|
0.01
|
0.01
|
|
Подшипники качения
|
кг
|
0.25
|
0.25
|
0.25
|
0.25
|
0.25
|
0.25
|
Результаты расчетов сводим в таблицу 4.8
Таблица 4.8 Расчет потребности в материалах для технического
обслуживания и ремонта УЧПУ
|
Материалы
|
Единицы измерения
|
Проектируемые
|
Коэффициент оперативного
времени работы станка за год
|
Годовая потребность в
ремонтных и эксплуатационных материалах
|
|
|
|
Норма расхода на единицу
измерения
|
Количество обслуживаемого
оборудования по группам сложности
|
|
|
|
Припой оловянно- свинцовый
|
кг
|
0.14 0.16 0.18 0.2 0.24 0.5
|
10 10 10 10 5 6
|
3,545
|
4,96 5,67 6,38
7,09 4,25 10.6
|
|
Всего:38,95
|
|
Крепежные изделия
стандартизированные чистые
|
кг
|
0.3 0.35 0.4 0.45 0.55 1.2
|
10 10 10 10 5 6
|
3,545
|
10,6 12,4 14.18
15,95 9,74 25,5
|
|
Всего:88,37
|
|
Провод эмалированный
|
кг
|
0.06 0.065 0.7 0.075 0.085
0.15
|
10 10 10 10 5 6
|
3,545
|
2,12 2,30 24,8
2,65 1,50 3,19
|
|
Всего:36,56
|
|
Провод установочный
|
м
|
1.2 1.3 1.4 1.5 1.7 3
|
10 10 10 10 5 6
|
3,545
|
42,5 46 49,6
51,1 30,13 63,81
|
|
|
Всего:283,14
|
|
|
Текстолит или гетинакс
|
кг
|
0.6 0.65 0.7 0.75 0.85 1.5
|
10 10 10 10 5 6
|
3,545
|
21,27 23,04 24,8
26,5 15,06 31,9
|
|
|
Всего:142,57
|
|
|
Канифоль
|
кг
|
0.03 0.03 0.04 0.04 0.05
0.12
|
10 10 10 10 5 6
|
3,545
|
0.03 0.03 0,42
0,42 0,88 2,55
|
|
|
Всего:4,33
|
|
|
Лак изоля- ционный
|
кг
|
0.03 0.03 0.04 0.04 0.05
0.12
|
10 10 10 10 5 6
|
3,545
|
0.03 0.03 0,42
0,42 0,88 2,55
|
|
|
Всего:4,33
|
|
|
Спирт этиловый
|
кг
|
0.5 0.55 0.6 0.65 0.75 1.4
|
10 10 10 10 5 6
|
3,545
|
17,7 19,4 21,27
23,04 13,29 29,7
|
|
|
Всего:124,4
|
|
|
|
|
|
|
|
|
|
|
|
|
|
|
|
Продолжение 4.8
|
Салфетки технические
|
м
|
0.4 0.45 0.5 0.6 0.65 1.3
|
10 10 10 10 5 6
|
3,545
|
14,18 15,9 17,7 21,27 11,52
27,65
|
|
Всего:108,22
|
|
Вата оптическая
|
кг
|
0,1 0,1 0,1 0,1 0,1 0,1
|
10 10 10 10 5 6
|
3,545
|
3,54 3,54 3,54
3,54 1,77 2,12
|
|
Всего:18,05
|
|
Масло вазелиновое
|
кг
|
0,01 0,01 0,01 0,01 0,01
0,01
|
10 10 10 10 5 6
|
3,545
|
0.35 0.35 0.35
0.35 0,17 0,21
|
|
Всего:1,78
|
|
Подшипники качения
|
кг
|
0,25 0,25 0,25 0,25 0,25
0,25
|
10 10 10 10 5 6
|
3,545
|
8,86 8,86 8,86
8,86 4,43 5,31
|
|
Всего:45,18
|
4.3.2 Составление годовой сметы
затрат на техническое обслуживание ремонт УЧПУ на участке
Затраты на техническое обслуживание и ремонт определяем по формуле
4.3.2.1.
С=Зо+Смс*ΣС+Кр (руб.) 4.3.2.1.
С=598000+2659*51+0,6*598000=1092409 (руб.)
где:
Зо - основная заработная плата работающих за год, руб.;
Смс - стоимость основных материалов, комплектующих изделий и покупных
полуфабрикатов, руб.;
ΣС - общее количество обслуживаемых
УЧПУ на участке всех групп сложности;
Кр - косвенные расходы, руб.; Кр=60% от Зо.
Стоимость материалов, запасных частей, полуфабрикатов и комплектующих
изделий определяем по нормам расходов. Годовые расходы на материалы, запасные
части, комплектующие изделия для ремонта и технического обслуживания устройств
ЧПУ определяются по формуле 4.3.22.
Смс=(Срс*Трп)/1000 (руб.) 4.3.2.2.
где:
Срс - нормы затрат на материалы и комплектующие изделия устройств ЧПУ, в
рублях, на 1000 часов работы одного устройства; принимаем Срс=750 руб.
Результаты расчетов сводим в таблицу 4.9
Таблица 4.9 Годовая смета затрат на техническое обслуживание и ремонт
УЧПУ
|
Статьи
|
Затраты, руб.
|
|
Основная заработная плата
|
598000
|
|
Материалы
|
135609
|
|
Косвенные расходы
|
358800
|
|
Итого:
|
1092409
|
4.4 Расчет себестоимости технического
обслуживания, диагностики и ремонта источника питания
Расчет себестоимости технического обслуживания, диагностики и ремонта
источника питания определяем по формуле 4.4.1.
С=М+Зо+Зд+Зн+Кр (руб.) 4.4.1.
С=1124,6+80,74+9,69+35,27+48,44=1298,8 (руб.)
где:
М - затраты на материалы и покупные изделия, руб.;
Зо - основная заработная плата рабочего по техническому обслуживанию,
диагностики и ремонту источника питания.
Перечень материальных затрат на источник питания приведен в таблице 4.10
Таблица 4.10 Перечень материальных затрат на источника питания
|
Перечень элементов
|
Количество,шт.
|
Стоимость одной штуки, руб.
|
Общая стоимость, руб.
|
|
Конденсаторы
|
|
КрМП-II-С2 47 нФ +/-20% 63
В
|
2
|
2
|
4
|
|
КРД-II-Д1 10000 пФ +/-20%
63 В
|
29
|
5
|
145
|
|
КРМП-II-С2 0,220 мкФ +/-20%
63 В
|
2
|
2
|
4
|
|
МПТ-ПР-96 0,33 мкФ +/-20
160 В
|
6
|
2,5
|
15
|
|
ЕА-II-И1Пм 7Ц 22 мкФ/16 В
|
2
|
7,5
|
15
|
|
ЕА-II-И1Пм 7Ц 220 мкФ/35 В
|
1
|
10
|
10
|
|
Диоды
|
|
2Д5607
|
80
|
5
|
400
|
|
КД1113
|
1
|
7
|
7
|
|
КИПД19Б-М
|
2
|
6
|
12
|
|
КС 156А
|
2
|
20
|
40
|
|
Микросхемы
|
|
1У0741
|
14
|
12
|
168
|
|
К5111ЛА1
|
2
|
15
|
30
|
|
Резисторы
|
|
СП5-16ВА 330 Ω 0,25 Вт
|
1
|
8
|
8
|
|
СП5-16ВА 6,8 кΩ 0,25 Вт
|
1
|
8
|
8
|
|
СП5-16ВА10 кΩ 0,25 Вт
|
3
|
10
|
30
|
|
СП5-16ВА 22 кΩ 0,25 Вт
|
3
|
11
|
33
|
|
РПМ-2 47 Ω +/-5% 0,25 Вт
|
6
|
0,5
|
3
|
|
РПМ-2 100 Ω +/-5% 0,25 Вт
|
6
|
0,35
|
2,1
|
|
РПМ-2 100 Ω +/-5% 0,25 Вт
|
1
|
0,35
|
0,35
|
|
РПМ-2 470 Ω +/-5% 0,25 Вт
|
3
|
0,4
|
1,2
|
|
РПМ-2 750 Ω +/-5% 0,25 Вт
|
10
|
1
|
10
|
|
РПМ-2 1 кΩ +/-5% 0,25 Вт
|
2
|
1,5
|
3
|
|
РПМ-2 1,8 кΩ +/-5% 0,25 Вт
|
3
|
1
|
3
|
|
РПМ-2 2,4 кΩ +/-5% 0,25 Вт
|
3
|
0,55
|
1,65
|
|
РПМ-2 5,1 кΩ +/-5% 0,25 Вт
|
16
|
0,5
|
8
|
|
РПМ-2 10 кΩ +/-5% 0,25 Вт
|
13
|
0,6
|
7,8
|
|
РПМ-2 15 кΩ +/-5% 0,25 Вт
|
3
|
0,35
|
1,05
|
|
РПМ-2 20 кΩ +/-5% 0,25 Вт
|
7
|
0,35
|
2,45
|
|
РПМ-2 33 кΩ +/-5% 0,25 Вт
|
3
|
0,5
|
1,5
|
|
РПМ-2 36 кΩ +/-5% 0,25 Вт
|
8
|
0,65
|
5,2
|
|
РПМ-2 47 кΩ +/-5% 0,25 Вт
|
2
|
0,35
|
0,7
|
|
РПМ-2 100 кΩ +/-5% 0,25 Вт
|
14
|
0,4
|
5,6
|
|
Транзисторы
|
|
2Т3167
|
8
|
1,5
|
12
|
|
2Т3851
|
8
|
5
|
40
|
|
2Т6821
|
2
|
2,5
|
5
|
|
2Т6551
|
6
|
8
|
48
|
|
Вилки
|
|
202-1020 TGL31427/01
|
2
|
17
|
34
|
|
Итого:1124,6
|
Зо=1,4*Сч*ΣТшк (руб.) 4.4.2.
Зо=1,4*12,27*4,7=80,74 (руб.)
где:
ΣТшк - нормы времени на техническое
обслуживание, диагностику и ремонт субблока источника питания, принимаем
Тшк=4,7 чел/ч. Тшк принимаем по типовым укрупненным нормативам времени на УЧПУ
по видам ремонта. Москва "Экономика" 2000 г.
Сч - часовая тарифная ставка работающего, руб.; для 6 разряда Сч=12,27
руб.
Дополнительная заработная плата рассчитывается по формуле 4.4.3.
Зд=0,12*Зо (руб.) 4.4.3.
Зд=0,12*80,74=9,69 (руб.)
Начисления на социальное страхование рассчитываются по формуле 4.4.4.
Зн=0,39*(Зо+Зд) (руб.) 4.4.4.
Зн=0,39*(80,74+9,69)=35,27 (руб.)
Расчет косвенных расходов производится по формуле 4.4.5.
Кр=0,6*Зо (руб.) 4.4.5.
Кр=0,6*80,74=48,44 (руб.)
Результаты расчетов заносим в таблицу 4.11
Для выполнения расчета себестоимости изготовления источника питания
необходимо знать величину материальных затрат, заработную плату основного
производственного работающего, цеховые расходы и расходы, связанные с
эксплуатацией оборудования.
Таблица 4.11 Расчет себестоимости технического обслуживания, диагностики
и ремонта источника питания
|
Наименование затрат
|
Обозначение
|
Сумма, руб.
|
|
Материалы и покупные
изделия
|
М
|
1124,6
|
|
Основная заработная плата
|
Зо
|
80,74
|
|
Дополнительная заработная
плата
|
Зд
|
9,69
|
|
Начисления на социальное
страхование
|
Зн
|
35,27
|
|
Косвенные расходы
|
Кр
|
48,44
|
|
Итого - себестоимость
|
С
|
1298,8
|
4.5 Расчет себестоимости изготовления
источника питания
Определение себестоимости изготовления источника питания выполняется по
формуле 4.5.1.
Сизг=М+ЗП+ЦР+РСЭО (руб.) 4.5.1.
Сизг=1124,6+280,92+322,23+193,34=1921,1 (руб.)
где:
М - величина материальных затрат, руб.;
ЗП - заработная плата основного производственного работающего, руб.; ЦР -
величина цеховых расходов, руб.;
РСЭО - расходы на содержание и эксплуатацию оборудования, руб.
Величина М определена в разделе 4.4. и составила 1124,6 руб.;
В основу расчета заработной платы основного производственного работающего
закладываем данные тарифной системы. Для работающего 7 разряда Сч=13,18 руб. и
Тшк=9,4 чел/ч.
РСЭО принимаем в размере 150% от прямой заработной платы.
ЦР принимаем в размере 100% от суммы прямой заработной платы и РСЭО.
Заработную плату основного производственного работающего определяем по
формуле 4.5.2.
ЗП=ЗПп+ЗПпр+ЗПд+ЗПн (руб.) 4.5.2.
ЗП=128,89+51,56+21,65+78,82= 280,92 (руб.)
где:
ЗПп - прямая заработная плата, которая определяется по формуле 4.5.3.
ЗПп=Сч*Тшк (руб.) 4.5.3.
ЗПп=13,18*9,4=128,89 (руб.)
где:
Сч - часовая тарифная ставка;
Тшк - норма штучно - калькуляционного времени.
Премиальная заработная плата определяется по формуле 4.5.4.
ЗПпр=0,4*ЗПп (руб.) 4.5.4.
ЗПпр=0,4*128,89=51,56 (руб.)
Дополнительная заработная плата определяется по формуле 4.5.5.
ЗПд=0,12*(ЗПп+ЗПпр) (руб.) 4.5.5.
ЗПд=0,12*(128,89+51,56)=21,65 (руб.)
Начисления на социальное страхование определяются по формуле 4.5.6.
ЗПн=0,39*(ЗПп+ЗПпр+ЗПд) (руб.) 4.5.6.
ЗПн=0,39*(128,89+51,56+21,65)=78,82 (руб.)
Расходы на содержание и эксплуатацию оборудования определяются по формуле
4.5.7.
РСЭО=1,5*ЗПп (руб.) 4.5.7.
РСЭО=1,5*128,89=193,34 (руб.)
Величину цеховых расходов определяем по формуле 4.5.8.
ЦР=1*(ЗПп+РСЭО) (руб.) 4.5.8.
ЦР=1*(128,89+193,34)=322,23 (руб.)
Результаты расчетов сводим в таблицу 4.12
Таблица 4.12 Себестоимость изготовления источника питания
|
Наименование затрат
|
Обозначение
|
Сумма, руб.
|
|
Материалы и покупные
изделия
|
М
|
1124,6
|
|
Заработная плата основного
производственного работающего
|
ЗП
|
280,92
|
|
Расходы на содержание и
эксплуатацию оборудования
|
РСЭО
|
193,34
|
|
Цеховые расходы
|
ЦР
|
322,23
|
|
Себестоимость изготовления
|
Сизг
|
1921,1
|
4.6 Выполнение расчетов необходимых
для планировки рабочих мест бюро наладчиков
Правильно спроектированное и выполненное освещение на предприятии
обеспечивает нормальную производительную деятельность. Сохранение зрения
человека, его безопасность на производстве в значительной мере зависит от
условий освещения. От освещения зависят производительность труда и качество
выполняемой работы.
Свет - (видимое излучение) - электромагнитное излучение с длиной волны
0.38 - 0.76 мкм.
Имеются качественные и количественные характеристики, это:
световой поток,
сила света,
освещенность,
- яркость.
При выборе освещенности учитывается контрастность объекта с фоном (К). она характеризуется отношением яркости
объекта к яркости фона.
если:
К > 0.5 - объект резко выделяется на фоне,
К = 0.2 - 0.5 - средний контраст,
К < 0.2 - объект слабо заметен на фоне.
Чаще всего при нормальных условиях сочетаются естественное и
искусственное освещение. Для освещения места работы применяют комбинированное
освещение.
4.6.1 Расчет требуемой освещенности
рабочих мест в помещении, исходя из норм и нормативов, принятых для выполнения
данного вида работ
Определение освещенности рабочего места наладчика зависит от ряда
факторов, таких как:
. диаметр, точность выполняемых работ;
. разряд и подразряд зрительной работы;
. характеристика фона;
. контраст объекта различения.
Для выполнения расчетов используются данные таблицы 4.13
Таблица 4.13 Нормы освещенности рабочих поверхностей и производственных
помещений
|
Характеристика зрительной
работы
|
Минимальный размер объекта
различения
|
Разряд зритель- ной работы
|
Подразряд зри-тельной
работы
|
Контраст объекта различения
с фоном
|
Характеристика фона
|
Освещенность
|
|
|
|
|
|
|
Комбинированное освещение
|
Общее освещение
|
|
Высокой точности
|
От 0, 15 мм до 0, 3 мм
|
II
|
б
|
Средний малый
|
Средний темный
|
2000
|
500
|
Располагая выше приведенными данными, можно определить число светильников
N по формуле 4.6.1.1.
N=(А*Е*Z*K*100)/(Фл*η) (шт.) 4.6.1.1.
N=(23*5*500*1,15*1,3*100)/(3240*86)=31
(шт.)
где:
Фл - световой поток лампы, лм. Световой поток определяется в
соответствии с типом лампы согласно ГОСТ 2239-89. (Берем лампу Г-125-135-200 со
световым потоком 3240 Лм);
η - КПД использования светового потока
ламп светильников. КПД (%) принимаем в зависимости от типа светильника; η=86%;
А - площадь помещения или участка, м2. А определяется на
основе планировки рабочих мест наладчиком с учетом определенного их числа, а
также используются данные справочника по технике безопасности, нормам и
нормативам по определению минимальных размеров, гигиенические требования для
одного человека и необходимых для работы принадлежности и оборудования в
производственном помещении;
Z -
коэффициент минимальной освещенности; Z=1,15;
K -
коэффициент запаса светильника; K=1,3;
4.6.2 Расчет воздухообмена в
помещении
При обще-обменной вентиляции для удаления вредных веществ расчет
необходимого воздухообмена осуществляется по формуле 4.6.2.1.
L=(G* Ψ)/(gпдк-gкрит) (м³/ч) 4.6.2.1.
L=(0,143*1,8)/(0,015-0,0017)=19,35
(м³/ч)
где:
G -
количество вредных веществ, поступающих в воздух рабочей зоны, кг/ч; Ψ- коэффициент неравномерности
распределения вредных веществ по помещению, 1,2…2;
gпдк -
концентрация вредных веществ в удаляемом воздухе, мг/м³;
gкрит
- концентрация вредных веществ в приточном воздухе, мг/м³;
gкрит
< 0,3*gпдк;
Основываясь на данных справочника по технике безопасности П.А. Долина,
М., «Энергоиздат» 2001г., принимаем следующие данные:
G=0,143
кг/ч; Ψ=1,8;
gпдк=0,015
мг/м³ (свинец, канифоль);
gкрит=0,0017
мг/м³ (свинец, канифоль).
Для обеспечения нормальных условий труда необходимо
обеспечить воздухообмен в помещении, равный:
L=19,35*15=290,25 (м³/ч)
Это возможно за счет применения искусственной и естественной
вентиляции.
ЗАКЛЮЧЕНИЕ
В дипломном проекте была разработана методика диагностирования источников
питания системных блоков и рассмотрены следующие основные вопросы:
структура устройства персонального компьютера;
структура источника питания;
типовые неисправности источников питания;
варианты устранения неисправностей источника питания;
требования техники безопасности и экологии.
Список использованной литературы
.Александров К.К., Кузьмина Е.Г. "Электротехнические
чертежи и схемы." - М.: Энергоатомиздат, 1990.
.Белов Г.В. Экологический менеджмент предприятия. Учебное
пособие. - М.: Логос, 2006.
.Горошков Б.И. "Элементы радиоэлектронных
устройств." Справочник - М.: Радио и связь, 1988.
.Долин П. А. Основы техники безопасности в электроустановках.
- М.: Логос, 2002.
.Дулицкий Г.А., Комаревцев А.П. Электробезопасность при
эксплуатации электроустановок напряжением до 1000 В: Справочник. - М.: Логос,
1998
.Коростылева Е. М. Экономика, организация и планирование
машиност-роительного производства. - М.: Высшая школа. 2004.
.Маглыш С.С. Общая экология. Учебное пособие. - Гродно:
ГрГУ, 2001.
.Миловзоров В.П. "Элементы информационных систем."
- М.: Высшая школа, 1987.
.Орлов И.А. Эксплуатация и ремонт ЭВМ, организация работы
вычислительного центра. Учебник для техникумов. - М.: Энергоатомиздат, 1989.
.Руководство по эксплуатации персонального компьютера IBM
PC386.
.Сорокин Н.Д. Охрана окружающей среды на предприятии в 2009
году. - СПб.: "ВИС", 2009.
.Техническое описание персонального компьютера IBM PC386.
.Угрюмов Е.П. "Проектирование элементов и узлов
ЭВМ." - М.: Высшая школа, 1987.
.Усатенко С.Т., Каченюк Т.К., Терехова М.В. "Выполнение
электрических схем по ЕСКД." Справочник - М.: Издательтво стандартов,
1989.
.Фишман Б.Е. Ремонт наладка, эксплуатация электробытовых
приборов. - М.: Легкая индустрия, 1995.
.http://intericom.narod.ru/pc/index.htm Интернет и компьютер
.http://www.generatortut.ru/install/ups/ Установка ИБП
.А.С.Калинин. ИБП - что это? //Ремонт и сервис.- 2002. - № 3.
- С.45
.http://www.h-energy.ru/actual/?id=35 Неисправности ИБП
.http://kazus.ru/articles/206.html/ Отладка микроконтроллеров
.http://nnm.ru/blogs/wolf86rus/melki/ Микропроцессоры
.А.В. Алексеев. ИБП// Сервисный центр. - 2009. - № 7. - С.
21.
.Скотт Мюллер. Модернизация и ремонт ПК // Сервисный центр. -
2007. - № 12. - С. 16.
. Информация к ремонту ИБП// Сервисный центр. - 2009. - № 9.
- С. 33.
. Информация к ремонту микроконтроллеров// Сервисный центр. -
2009. - № 11. - С. 8.
.Типовые укрупнённые нормативы времени по ремонту станков с
ЧПУ. Москва 2002г.
.Нормативы для расчетов численности специалистов по
обслуживанию I станков с ЧПУ. Москва 2002г.
.Положение по автоматизации технического обслуживания для КЭ
и предприятий тяжелого и транспортного машиностроения. Свердловск 1992г.
.Типовая система технического обслуживания
металлообрабатывающего и деревообрабатывающего оборудования. Москва 2002г.
.Типовые укрупненные нормативы времени на УЧПУ по видам
ремонта. Москва «Экономика» 2000 г.
.Типовая система технического обслуживания
металлообрабатывающего и деревообрабатывающего оборудования. Москва 2002г.