Исследование характеристик типовых линейных звеньев систем радиоавтоматики
Федеральное
агентство по образованию РФ
ТОМСКИЙ
ГОСУДАРСТВЕННЫЙ УНИВЕРСИТЕТ
СИСТЕМ
УПРАВЛЕНИЯ И РАДИОЭЛЕКТРОНИКИ
(ТУСУР)
Кафедра
средств радиосвязи (СРС)
Отчет по
лабораторной работе №1 по дисциплине «Радиоавтоматика»
Исследование
характеристик типовых линейных звеньев систем радиоавтоматики
Проверил:
Покровский М.Ю.
Выполнили
студенты:
Подпругин
Н.А.
Надеев
Н.Ю.
Уфимцев
Р.Р.
Шершнев
Е.О.
Введение
Целью работы является исследование АЧХ и ПХ
типовых линейных звеньев систем радио автоматики: пропорционального,
апериодического первого порядка, звена второго порядка, интегрирующего и
дифференцирующего.
1. Описание установки и методики эксперимента
Эквивалентные схемы звеньев радиоавтоматики, их
передаточные функции, характеристики, значения коэффициентов в уравнениях
модулей звеньев приведены в таблице 2.1.
|
№
звена
|
Звено
|
Уравнения
и коэффициенты
|
1 пропорциональное
2 апериодическое
первого порядка

8 апериодическое
второго порядка
9 интегрирующие
10 дифференцирующие
2/ Расчетное
задание
2.1 Апериодическое
звено
Расчетная характеристика строится по выражению:
2.2 Колебательное
звено
Расчетная характеристика
строится по выражению:
2.3 Интегрирующее звено
Расчетная характеристика строится по выражению:
.4 Дифференцирующее звено
Расчетная характеристика строится по выражению:
3. Результаты лабораторной работы
Переходной процесс в системе РА, вызванный
входным сигналом в виде единичной функции, называют переходной функцией.
1. Пропорциональное звено
Рисунок 3.1 - Переходная характеристика
пропорционального звена S1
Рисунок 3.2 - Переходная характеристика
пропорционального звена S2
2. Колебательное
звено
Рисунок 3.3
- Колебательная характеристика звена 112
Рисунок 3.4 - Колебательная характеристика звена
122
линейный переходный характеристика
логарифмический
Рисунок 3.5
- Колебательная характеристика звена 212
Рисунок 3.6
- Колебательная характеристика звена 222
Рисунок 3.7
- Колебательная характеристика звена 001
3. Апериодическое звено 1 порядка
Рисунок 3.8 - Переходная характеристика
апериодического звена 1 порядка S1
Рисунок 3.9 - Переходная характеристика
апериодического звена 1 порядка S2
4. Интегрирующее звено
Рисунок 3.10
- Переходная характеристика интегрирующего звенa
5. Дифференцирующее звено
Рисунок 3.11 - Переходная характеристика
дифференцирующего звена
Ответы на контрольные вопросы
. Методы математического описания
линейных систем:
- переходные характеристики
- частотные характеристики
-весовая характеристика
.. В чем заключается достоинство переходных
характеристик по сравнению с другими математическими методами?
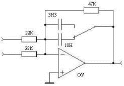
-Переходная характеристика интегрирующего звена
представляет собой постоянно нарастающее напряжение (прямая). Физически
постоянное увеличение напряжения на выходе, объясняется зарядом конденсатора в
цепи обратной связи. При заряде конденсатора напряжение на нем увеличивается
(уменьшается ток), а значит, увеличивается коэффициент усиления звена.
Теоретически напряжение может расти до бесконечности, но в действительности оно
ограниченно напряжением питания операционного усилителя. Идеальная переходная
характеристика дифференцирующего звена представляет собой дельта импульс в
момент включения сигнала. Реально импульс имеет определенную длительность.
Физически такая форма переходной характеристики объясняется тем, что при подаче
на вход дифференцирующего каскада скачка напряжения, напряжение на конденсаторе
не может измениться мгновенно и таким образом весь сигнал поступает на вход ОУ.
. Что называется весовой характеристикой
и как она связана с переходной?
--Весовая характеристика- это
характеристика на выходе звена или системы при подаче на вход дельта -функции
также как и
переходная она представляет дельта-импульс в момент включения сигнала.
4. Являются ли колебательное,
апериодическое второго порядка, пропорционально-интегро-дифферинцирующее звенья
типовыми?
- колебательное и апериодическое второго порядка
звенья- являются типовыми
- пропорционально-интегро-дифферинцирующее звено
не является типовым
. В чем преимущества представления частотных
характеристик звеньев в логарифмическом масштабе?
- В возможности простого построения графиков
. На какой частоте и чему равна максимальная
погрешность представления ЛАЧХ апериодического звена асимптотической ЛАЧХ?
- На частоте когда коэффициент усиления равен
единице.
. Постройте из типовых звеньев нетиповые :
изодромное и форсирующее