|
Фирма-изготовитель
|
Марка
машины
|
Производительность,
кг/ч
|
Загрузка,
кг
|
Масса,
кг
|
Назначение
|
|
Sirman S.P.A. (Италия)
|
PP8 EXPO CE
|
200
|
8
|
31
|
Очистка
овощей
|
|
Pasquini (Италия)
|
PSP 700/15
|
500
|
15
|
42
|
Очистка
овощей
|
|
AMB (Италия)
|
PL-LC4
|
120
|
4
|
22
|
Очистка
овощей
|
|
Dito Sama (Италия)
|
PC10
|
400
|
10
|
45
|
Очистка
овощей
|
|
Fimar (Италия)
|
PLF/10V2
|
-
|
-
|
-
|
Очистка
овощей
|
|
Fama (Италия)
|
FR101
|
250…300
|
10
|
-
|
Очистка
овощей
|
|
Electrolux (Швеция)
|
1671 42
|
150…300
|
10…12
|
61
|
Очистка
овощей
|
|
Hobart (США)
|
6115
|
140
|
-
|
Очистка
овощей
|
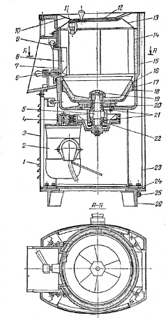
. Теория процесса и обоснование режима работы
Движение рабочему органу
передается от электродвигателя 2, установленного вертикально в нижней части
машины. Передаточным механизмом является клианоременнаяпередача 4 с помощью
которой движение от электродвигателя передается рабочему валу 5. Для натяжении
ремней предусмотрена возможность перемещения двигателя с целью увеличения
межосевого расстояния между шкивами.
Вал, на который насаживается
рабочий орган, вращается в двух шариковых подшипниках 21. Подшипники
устанавливаются в стакане который гайками крепится к корпусу рабочей камеры. От
вытекания смазки из подшипников р попадания
на них воды из рабочей камеры в нижней и верхней крышках стакана предусмотрены
уплотняющие манжеты 20.
Верхняя часть корпуса рабочей
камеры имеет фланец, который устанавливается на четырех стойках 23. Стойки
укреплены на опорной плите 24 с четырьмя ножками 26. На одной из ножек
находится болт 25 для присоединения провода заземления. Пространство между
стойками закрыто облицовкой 3. В последней сделаны жалюзи 1 для поступления и
выброса охлаждающего двигатель воздуха. -
Машина устанавливается на полу
или фундаменте высотой 60-100 мм и крепится четырьмя анкерными болтами М-18.
Подача воды и электропитания осуществляется через отверстие в опорной плите
трубами диаметром 15 мм (1/2"). Рядом с машиной в полу предусматривается
устройство трапа. Вода и образовавшиеся отходы из сливного патрубка машины с
помощью резинового шланга направляются непосредственно в трап.
Для предотвращения растекания
воды по полу цеха место установки одной или нескольких картофслеочпстительных
машин иногда огораживается невысоким бортиком.
Электропусковое устройство
устанавливается, как правило, на стене в непосредственной близости от машины в
легко доступном месте.
При установке нескольких машин
в ряд расстояние между ними должно быть не менее 0,7 м, а расстояние между
картофелечистками и стенкой - не менее 0,5 м.
Рис. 3
3. Расчетная часть
Определим размеры рабочего органа и рабочей
камеры.
Q=200 кг/ч;
форма рабочего органа - конусная; Т=155 с; n=395 мин-1;

; 
; К=0,6; f=1,05;
Kn=0,64.
Определим полезный объем камеры для
обработки продукта:

м3
Далее определим из полезного объема
геометрические размеры рабочего органа:
Поскольку объем рабочей камеры V0
складывается из объема цилиндра Vц и объема
конусной чаши Vk то V0=Vц+Vk можем
принять

м3.
Так как высота цилиндра рабочей
камеры равна,
тогда 
(при этом угол естественного откоса

).
Определим D* рабочей
камера:

м
Определим наибольший диаметр
рабочего органа:

м,
где 
м - зазор между рабочей камерой и
рабочим органом.
Определим угол конусности рабочего
органа:

,
где 
- угловая скорость клубня, рад/с.
Определим угловую скорость рабочего
органа:

рад/с.
Определим угловую скорость клубня:

рад/с.
Определим максимальный радиус
расположения клубней на рабочем органе:

м,
где 
- средний диаметр клубня.



.
Примем длину образующей конусной
чаши:

м.
Найдем наименьший диаметр рабочего
органа:

м.
Определим высоту рабочего органа:

м.
Определим высоту цилиндра рабочей камеры:

м.
Определим высоту рабочей камеры:

м.
Определим V01:

м3.
Сделаем проверку, сравним V0 и V01. V0=0.023 м3
и V01=0.023 м3.
Объемы равны, значит расчеты сделаны правильно.
Диаметр крышки обечайки примем
равным диаметру плоской части рабочего органа:
4. Описание
картофелеочистительной машины - 250
Машина МОК-250. В верхней части
машины, расположен цилиндрический корпус 15, внутреннее пространство которого
образует рабочую камеру. Рабочим органом машины является вращающийся конус,
выполненный в виде литого алюминиевого корпуса 18 с закрепленной на нем
конической чашей из абразивного материала 16. Коническая чаша крепится к
корпусу гайкой 19, а по окружности корпуса - фасонным дышлом 17. На верхней
поверхности' плоской части конической чаши для лучшего перемешивания
обрабатываемого продукта имеются три волны. В средней части корпуса находится
бобышка с коническим отверстием и шпоночными пазами. В отверстие вставляется
хвостовик вала, а в шпоночные пазы штифт, с помощью которого движение от вала
передается рабочему органу машины. С нижней стороны конус имеет кольцевой
выступ для предотвращения попадания отходов к вращающемуся валу и две
вертикальные лопасти (на чертеже не показаны) для отбрасывания отходов к
сливному патрубку.
Боковая поверхность рабочей камеры,
расположенная над рабочим органом, облицована абразивными сегментами
Нижняя часть корпуса (под
конической частью рабочего органа) служит сборником отходов. Во время очистки
продукта кожура смывается водой и проходит через зазор между стенками камеры и
конусом в нижнюю часть цилиндра, откуда выбрасывается лопастями в сливной
патрубок.
Сверху рабочая камера закрыта
крышкой_10, изготовленной из нержавеющей стали. Снизу к крышке прикреплена
обечайка (отбойник) 13 которая направляет продукт при движении его в рабочей
камере от стенок к центру. В крышке имеется окно для загрузки продукта в
рабочую камеру. Для предотвращения разбрызгивания поды и выбрасывания
корнеклубнеплодов во время их очистки загрузочное окно закрывается откидной
крышкой 12. Плотное прилегание крышки к корпусу рабочей камеры обеспечивается
прокладкой. Вода в рабочую камеру подается из штуцера 11.
Для разгрузки картофеля в рабочей камере имеется
разгрузочный люк, закрываемый во время работы дверцей 7. Для предотвращения
вытекания воды через разгрузочный люк дверца снабжена резиновой уплотняющей
прокладкой 9. Открывается дверца с помощью ручки 6. Одновременно ручка служит
запирающим устройством дверцы. С внутренней стороны дверца имеет прилив
(выступ) 8, наталкиваясь на который корнеклубнеплоды изменяют направление
своего движения.
. Правила техники безопасности и эксплуатации
конусных картофелеочистительных машин и механизмов
Прежде чем приступить к очистке овощей, проводят
внешний осмотр машины, определяют ее санитарное состояние, убеждаются в
отсутствии посторонних предметов внутри рабочей камеры, проверяют заземление,
состояние электропроводки и правильность сборки.
Запрещается включать машину при снятой крышке и
открытой дверце разгрузочного лотка. Далее включают машину и проверяют ее
работу на холостом ходу. Предназначенные для очистки овощи должны быть
откалиброваны и тщательно вымыты, что уменьшает процент их отходов, улучшает
качество очистки и удлиняет срок эксплуатации машины.
Включают машину нажатием кнопки «Пуск», открывают
водопроводный кран, и вода поступает в рабочую камеру. Общий расход воды не
должен превышать 1 литр на 1 кг очищаемого продукта. Далее открывают крышку
загрузочного лотка и загружают в рабочую камеру порцию подготовленного
продукта, определенную инструкцией по эксплуатации. При увеличении или
уменьшении загружаемой порции овощей по сравнению с нормативной понижается
производительность машины, ухудшается качество очистки овощей, а также
увеличивается процент их отходов.
Закрыв крышку загрузочного лотка производят
очистку овощей; при этом необходимо следить за выводом из машины воды с мезгой.
После окончания очистки, что определяется визуально или устанавливается с
помощью программатора (у машины LP-90),
нужно разместить под разгрузочным лотком емкость для сбора очищенных овощей,
перекрыть подачу воды в рабочую камеру, осторожно открыть дверцу разгрузочного
лотка и выгрузить очищенные овощи.
После выгрузки очищенных овощей вновь закрыть
дверцу разгрузочного лотка и повторить операцию. После окончания очистки
выключить машину нажатием кнопки «Стоп» и закрыть кран подачи воды в рабочую
камеру. В конце работы отключить автоматический выключатель.
После окончания работы проводят санитарную
обработку машины: ее очищают, тщательно промывают струей воды рабочую камеру,
освобождая от грязи и очисток, насухо вытирают наружную поверхность. При
очистке машины следует пользоваться волосяными, а не металлическими щетками.
При длительной работе машины не следует допускать скопления воды вблизи ее
основания, так как увлекаемая вентилятором влага может попасть в двигатель, что
приведет к быстрому выходу его из строя.
Характерные неисправности картофелеочистительных
машин и методы их устранения приведены в таблице.
Таблица 2
|
Неисправность
|
Вероятная
причина
|
|
Протекание
воды через уплотнительные дверцы разгрузочного люка
|
Износилась
уплотняющая прокладка Нарушена плотность закрытия дверцы Чрезмерное
поступление воды в рабочую камеру
|
Заменить
уплотняющую прокладку Отрегулироваться плотность закрытия дверцы Уменьшить
подачу воды, прикрыв вентиль на водопроводе
|
|
Скопление
воды и отходов в рабочей камере
|
Засорилось
сливное отверстие
|
Прочистить
сливное отверстие
|
|
Двигатель
работает, а рабочий орган пробуксовывает, не вращается или вращается медленно
|
Слабое
натяжение ремней Перегрузка машины овощами
|
Натянуть
ремни с помощью винтов натяжения Уменьшить нагрузку машины
|
|
Слышен
резкий шум или стук
|
Износ
подшипников
|
Разобрать
опору привода, осмотреть подшипники, заменить их
|
|
Очистка
овощей происходит медленно, процент отходов превышает норму
|
Сильно
загрязнены овощи Недостаточное поступление воды в рабочую камеру Перегрузка
рабочей камеры Сносились абразивы рабочего органа
|
Промыть
овощи Увеличить поступление воды в рабочую камеру Уменьшить единовременную
загрузку овощей Заменить абразивы рабочего органа
|
|
После
очистки овощи получаются битыми
|
Частично
выкрошился и образовались острые углы в рабочей камере (для конусных машин)
|
Заменить
абразив рабочего органа и абразивные сегменты камеры (для конусных машин)
|
|
При
включении машины электродвигатель не запускается
|
Обрыв
цепи управления
|
Обнаружить
и устранить обрыв цепи управления
|
|
При
нажатии кнопки «Пуск» электродвигатель не запускается, слышен гул, через
несколько секунд отключается автоматический выключатель
|
Перегрузка
электродвигателя из-за заклинивания в приводной части машины Обрыв одной из
фаз цепи питания обмоток электродвигателя
|
Выгрузить
овощи из рабочей камеры, проверить легкость вращения рабочего органа. В
случае затруднительного проворачивания рабочего органа остановить машину
Проверить цепи питания обмоток электродвигателя, устранить обрыв
|
Вывод
Достаточно много времени у персонала,
работающего на профессиональной кухне, занимает очистка овощей и корнеплодов от
кожуры. Значительно сэкономить время дает возможность картофелечистка,
Большое применения картофелечистки получили на
предприятиях общепита, в кафе, бистро, супермаркетах и т.д. Применение
подобного промышленного оборудования позволяет значительно сократить
трудозатраты и время персонала. Все, что необходимо сделать работнику - это
заложить картофель или другие корнеплоды в аппарат, включить его. После очистки
машина самостоятельно выдает продукты через выпускное отверстие.
Выбирая картофелечистку, необходимо обязательно
обратить внимание на ее мощность. Для этого следует руководствоваться тем,
какой объем овощей требуется для конкретного предприятия общественного питания.
То есть, чем больше предприятие, тем больше расход продукции, и, следовательно,
мощность оборудования также должна быть довольно высокой.
В данном курсовом проекте была
разработана картофелеочистительная машина производительностью 200 кг/ч.
Были произведены все
необходимые расчеты. Сделан обзор российских и зарубежных
картофелеочистительных машин периодического действия. Рассмотрены правила
безопасности и эксплуатации, а также описание МОК Q=200
кг/ч.
В ходе курсового проекта
выполнен сборочный чертеж машины в двух проекциях и кинематическая
принципиальная схема.
В заключение можно сделать
вывод, что разработанная картофелеочистительная машина является удобной в
эксплуатации благодаря своим размерам и несложному принципу действия, поэтому
разработанная машина наиболее применима на небольших предприятиях общественного
питания.
конусный картофелеочистительный
камера
Список используемой литературы
1. Учебник. «Оборудование
предприятий общественного питания». Часть 1. «Механическое оборудование» /В.Д.
Елхина, М.И. Ботов. «Академия» 2010г.
2. Методические указания к
выполнению курсовых проектов по дисциплине «Оборудование предприятий общественного
питания». Раздел «Механическое оборудование» /сост. В.Д. Елхина, А.А. Куликова,
С.К. Осколков. - М.:ГОУ ВПО «РЭУ им. Г.В.Плеханова», 2010г.
. Тепловое и механическое
оборудование предприятий торгового и общественного питания: учебник для нач.
проф. образования/ М.И. Ботов, В.Д. Елхина, О.М. Голованов.- М.: Издательский
центр «Академия», 2006.
. «Механическое оборудование
предприятий общественного питания.»/ В.Д. Елхина. «Издательский центр
«Академия», 2006 г.
. «Лабораторные работы по
оборудованию предприятий общественного питания». М.И. Ботов, В.Д. Елхина, А.Н.
Стрельцов; Издательский центр «КолосС», 2005 г.