Интеллектуальные силовые модули. Автономные инверторы тока
Содержание
Введение
1.Принцип
работы
1.1Процессы
включения и выключения ИСМ
1.2
Статические
и динамические параметры ИСМ
1.3
Область
применения ИСМ
1.4
ИСМ
Серии R 7MBP300RA060 фирмы Fuji Electric
.
Автономные инверторы тока
.1
Однофазный мостовой инвертор. Силовая схема и принцип работы
.2
Трехфазный мостовой инвертор тока
.3
Расчетные соотношения для трехфазного АИТ с отсекающими диодами
.4Схемы
трехфазных АИТ
.5
Область применения
.6
Тиристорный преобразователь частоты ТЧП-50-2,4 компании «ТЕРМОЛИТ
Список
использованных источников
Введение
Одна из основных тенденций современной
микроэлектроники - это увеличение степени интеграции, объединение на одном
кристалле или на одном корпусе максимального количества компонентов для полного
решения какой-либо задачи. В области силовой техники эта тенденция привела в
свое время к разработке силовых модулей полумостовых и мостовых конфигураций.
Наивысшим достижением Одна из основных тенденций современной микроэлектроники -
это увеличение степени интеграции, объединение на одном кристалле или на одном
корпусе максимального интегральной силовой техники на сегодняшний день является
создание интеллектуальных силовых модулей IPM (Intelligent Power Module) -
мощных импульсных высоковольтных усилителей, управляемых силовыми сигналами.
Современный IPM - это гибридный модуль,
содержащий скоростные IGBT-транзисторы, соединенные в определенной
конфигурации, схему управления, оптимизированную по характеристикам управления
затвора для данных транзисторов, схему защиты от перегрузок и схему индикации
состояния. Для надежной работы модуля схема защиты должна уметь анализировать
режим перегрузки по току (overload), режим короткого замыкания нагрузки (SC -
short circuit), режим пробоя (breakdown), а также падение напряжения управления
(UVLO - Under Voltage LockOut) и перегрев (overheat).
Стоимость IPM во всех случаях оказывается выше,
чем стоимость набора дискретных комплектующих, способных решить ту же задачу.
Однако повышение надежности, упрощение процесса сборки, снижение весо-габаритных
показателей несомненно стоят того, чтобы использовать в своей разработке именно
интеллектуальный силовой модуль.
1. Принцип
работы
Интеллектуальные силовые модули (IPM) объединяют
в одном устройстве силовой ключ (одиночный, полумостовой или 3-фазный
мостовой), драйвер, оптимизированный по сигналам управления, и устройство
защиты. Минимальные длины линий связи позволяют получить низкие значения
распределенных индуктивностей, что уменьшает уровень переходных перенапряжений
и уровень EMI. Хорошая тепловая связь элементов кристалла повышает надежность
работы схемы защиты.
Силовые силиконовые кристаллы IGBT размещаются
на керамической подложке {DCB - А120з - керамика), являющейся
электроизолирующим и теплопроводящим слоем. Нижняя сторона этого слоя покрыта
методом напыления сплошной медной фольгой, верхняя сторона представляет собой
печатную плату, на которой выполняются соединения силовых ключей, элементов
управления (драйвер, компаратор, тепловая защиты и пр.) и управляющих выводов.
Минимальные линии связей дают малые значения распределенных индуктивностей, что
уменьшает уровень переходных напряжений. Надежность работы модуля оценивают
областью безопасной работы (ОБР или SOA). Этот показатель определяет допустимые
сочетания токов и напряжений, при которых не нарушается безопасная работа
модуля, поэтому схема защиты ограничивает режимы модуля не по предельному току,
а по параметрам ОБР. Для IPM задаются два вида ОБР: ОБР для короткого замыкания
(SCSOA) и ОБР для импульсного режима (SSOA ). SSOA задает ограничения на ток и
напряжение, одновременно действующие при отключении модуля. Алгоритмы работы
драйвера и настройки системы защиты IPM исключают недопустимые сочетания тока и
напряжения. Безопасным для ΙΡΜ считается
режим, когда напряжение питания не превышает определенного для него напряжения
источника питания Ucc, а перенапряжение при выключении не превышает предельного
значения напряжения коллектор - эмиттер Uces. SC’SO А гарантирует безопасную
работу в однократном режиме короткого замыкания (к. з.) при напряжении питания
ниже значения исс, при перенапряжении в цепи коллектор - эмиттер каждого
модуля, меньше Uces, и температуре кристалла модуля ниже 125 С. Термин
«однократное к. з.» подразумевает, что число к. з. ограничено (его значение
приводится в технической характеристике на модуль) и время между к. з.
значительно больше времени тепловой постоянной кристалла.
Современный интеллектуальный силовой модуль IPM
содержит скоростные IGBT, соединенные определенной конфигурацией, схему
управления ими, оптимизированную по характеристикам управления затвором этих
транзисторов, схему защиты от перегрузок и схему индикации состояния модуля.
Схема защиты анализирует режимы: перегрузки по току (overload), короткого
замыкания нагрузки (SC), пробоя (breakdown), падение напряжения управления
(UVTO) и перегрев модуля (overheat). Конфигурации соединений IGBT в силовом
блоке могут быть по: полумостовой схеме, трехфазной мостовой схеме, трехфазной
транзисторной мостовой схеме с тормозным транзистором, трехфазной транзисторной
мостовой схеме, схеме трехфазного выпрямителя, а также одиночный IGBT-модуль. В
IPM встроен драйвер, оптимизированный по сигналам управления, и устройство
защиты от: короткого замыкания; максимального тока; потери напряжения питания;
а также имеется тепловая защита. Модуль представляет собой многослойную
конструкцию (рисунок 1).
Силовые силиконовые кристаллы IGBT
размещаются на керамической подложке (DCB - Al2O3 - керамика), являющейся электроизолирующим
и теплопроводящим слоем. Нижняя сторона этого слоя покрыта методом напыления
сплошной медной фольгой, верхняя сторона представляет собой печатную плату, на
которой выполняются соединения силовых ключей, элементов управления (драйвер, компаратор,
тепловая защиты и пр.) и управляющих выводов. Минимальные линии связей дают
малые значения распределенных индуктивностей, что уменьшает уровень переходных
напряжений. Надежность работы модуля оценивают областью безопасной работы (ОБР
или SOA). Этот показатель определяет допустимые сочетания токов и напряжений,
при которых не нарушается безопасная работа модуля, поэтому схема защиты
ограничивает режимы модуля не по предельному току, а по параметрам ОБР. Для IPM
задаются два вида ОБР: ОБР для короткого замыкания (SCSOA) и ОБР для
импульсного режима (SSOA). SSOA задает ограничения на ток и напряжение,
одновременно действующие при отключении модуля. Алгоритмы работы драйвера и
настройки системы защиты IPM исключают недопустимые сочетания тока и напряжения.
Безопасным для IPM считается режим, когда напряжение питания не превышает
определенного для него напряжения источника питания Ucc, а перенапряжение при
выключении не превышает предельного значения напряжения коллектор - эмиттер
Uces. SCSOA гарантирует безопасную работу в однократном режиме короткого
замыкания (к. з.) при напряжении питания ниже значения Ucc, при перенапряжении
в цепи коллектор - эмиттер каждого модуля, меньше Uces, и температуре кристалла
модуля ниже 125°С. Термин «однократное к. з.» подразумевает, что число к. з.
ограничено (его значение приводится в технической характеристике на модуль) и
время между к. з. значительно больше времени тепловой постоянной кристалла.
Структурная схема одиночного IPM
приведена на рисунке 2. При отклонении от нормы перечисленных параметров схема
защиты выключает силовой транзистор и выдает сигнал неисправности. В
полумостовых и мостовых конфигурациях IPM отключаются транзисторы нижнего
уровня.
В качестве примера на рисунке 3
приведена структурная схема модуля IPM трехфазного инвертора, работающего в
режиме ШИМ формирования выходного напряжения (выводы U-V-W).
Содержание блоков «Защита 1» и «Защита 2»
приведено на рисунке 4, а и б. При работе инвертора совместно с асинхронным
двигателем для ограничения напряжения в звене постоянного тока Ud в
генераторных режимах предусматривается цепь гашения рекуперируемой двигателем
энергии. Она представляет собою внешний резистор R, присоединяемый к точкам 1 и
2 модуля, и транзистор VT3. Значение сопротивления внешнего резистора
рассчитывается в зависимости от мощности двигателя, а характер коммутации
транзистора VT3 определяется интенсивностью генераторных процессов.
Обязательным для модуля инвертора является наличие цепей защиты (снабберов)
IGBT от коммутационных перенапряжений. Для трехфазных мостовых схем достаточна
установка одной емкости С в снаббере (рисунок 3). Для полумостовой схемы
применяется RCD-снаббер, присоединенный к каждой полумостовой схеме (рисунок 4,
в). Для одиночных модулей, рисунок 2, применяется RCD-снаббер, присоединенный к
каждому силовому ключу (рисунок 4, г).
В модуле инвертора используются две внутренних
обратных связи - по току id и напряжению Ud. Для сложных структур системы
автоматического управления координатами электропривода применяются обратные
связи по токам фаз двигателя и обратная связь по положению ротора двигателя,
причем значение скорости вычисляется микропроцессором. Для управления
координатами технологического процесса используются внешние сигналы: по
аналоговым входам, по дискретным входам через модуль ввода-вывода SPI или по
последовательному порту CAN от внешних «интеллектуальных» устройств.
Питание обмоток фаз двигателя в
вентильно-индукторных электроприводах ВИП с самоподмагничиванием осуществляется
однополярными импульсами тока. Для этого на выходе преобразователя применяется
коммутатор, а не инвертор. Коммутатор обеспечивает подачу напряжения звена
постоянного тока Ud поочередно на обмотки двигателя по информации датчика о
положении ротора. При необходимости коммутатор может ограничивать ток в
обмотках двигателя, работающего в режиме широтно-импульсного регулирования,
поэтому он состоит из ряда одинаковых преобразователей постоянного тока, число
которых равно числу фаз двигателя.
.1 Процессы
включения и выключения ИСМ
Повторное включение модуля,
произошедшее после его отключения по причине превышения температуры, произойдет
после охлаждения модуля до порога включения. Однако кристалл модуля может
перегреться до того, как разогреется основание модуля и термодатчик, и защита
не обеспечит отключение. Это может произойти, например, из-за сбоя работы
контроллера и повышенной частоты коммутации или из-за помех в системе
управления. В IPM используют IGBT со встроенным датчиком тока. Датчик тока
различает два пороговых значения: ток перегрузки, начиная с которого напряжение
на затворе снижается, что приводит к уменьшению тока коллектора и формированию
индикации неисправности; ток к. з., по которому происходит отключение модуля.
Если состояние перегрузки сохраняется 5…10 мкс, напряжение на затворе снижается
до нуля. Снижение напряжения на затворе выполняется по определенному закону.
Такое «мягкое» выключение уменьшает значение di/dt и переходное напряжение при
выключении.
В современных IPM используется
непрерывный мониторинг тока каждого силового ключа и общего тока потребления.
Режим к. з. наступает при замыкании нагрузки или сбое работы контроллера, когда
сигналы включения поступают сразу на IGBT в обоих плечах мостовой схемы,
вызывая сквозной ток. Если непосредственно измеряемый ток коллектора достигает
порогового значения ISC, процесс выключения модуля начинается мгновенно, но
снижение напряжения на затворе происходит по определенному закону для снижения
переходных напряжений. Для уменьшения времени между моментом обнаружения к. з.
и моментом выключения используется схема контроля тока в реальном времени
(RTC). Это устройство работает параллельно драйверу и уменьшает время обработки
сигнала до 100 нс, что уменьшает ток к. з. и уровень перенапряжений почти в два
раза. IPM может содержать встроенное ограничение (супрессор) от импульсных перенапряжений.
IPM для своей работы требует гальванически изолированные источники питания и
гальванически изолированный интерфейс для связи с контроллером. Чтобы устранить
проблемы, связанные с шумами и помехами, создаваемыми мощными силовыми
модулями, целесообразно применять для каждого силового ключа отдельный источник
питания. При использовании изолированного источника питания следует обратить
внимание на значение паразитной емкости между изолированными частями источника.
Оно не должно быть более 100 пФ, в противном случае возникают шумы и сбои в
работе драйвера. Параллельно выводам питания схемы управления присоединяется
электролитический или танталовый конденсатор для фильтрации синфазных помех и
обеспечения высоких пиковых токов заряда затвора. Гальваническая развязка
обеспечивается оптопарами (с высоким коэффициентом подавления синфазного
сигнала CMR не более 10 кВ/мкс, с временем переключения не более 0,8 мкс),
импульсными трансформаторами, волоконно-оптическими связями.
1.2 Статические
и динамические параметры ИСМ
На рисунке 5 показаны зависимости
тока коллектора IGBТ модулей от напряжения Uкэ при различных напряжениях
питания Vcc и температуре выводов модулей Tj = 125°С. При снижении температуры
Uкэ также снижается, например, при Т = 25°С, Vcc = 15 Bи токе Iк = 300 А
напряжение Uкэ = 2,3 В.Параметры переключения модулей характеризуются
диаграммами, показанными на рисунке 6. Время включения ton и выключения toff
зависят от тока коллекторов IGBT незначительно, длительность переднего фронта
tf выходных импульсов изменяется в пределах 0,2…0,3 мкс при изменении Iк от 100
до 300 А (зависимости сняты при Vcc = 15 B, Vdc = 300 B, tвыв = 125°С). На
рисунке 7 приведена зависимость падения напряжения Vf на антипараллельных
диодах от величины прямого тока If при различных температурах; соответствующие
временные диаграммы показаны на рисунке 8.
.3 Область
применения ИСМ
Применение IPM позволило улучшить и
ремонтопригодность аппаратуры, в которой они установлены. В ряде приложений, в
частности, в системах кондиционирования воздуха, автоматических стиральных
машинах, холодильных установках, электронных блоки (ЭБ) реализованы на
отдельных печатных платах. Большинство изготовителей такой техники не предоставляют
сервисным организациям подробную техническую документацию ЭБ. При возникновении
неисправностей в таких «чёрных ящиках» сервисные руководства рекомендуют
заменять их целиком, что увеличивает стоимость и сроки ремонта агрегатов. При
неисправностях IPM обычно требуется замена небольшой периферийной платы, на
которой установлен силовой модуль, а заменять более дорогостоящую плату ЭБ нет
необходимости. Интегральное исполнение IPM позволяет увеличить общее
быстродействие ЭБ и частоту управляющих ШИМ сигналов, что даёт возможность
повысить КПД оборудования и снизить уровень излучаемых помех. Основной и весьма
обширной областью применения интеллектуальных силовых модулей (далее ИСМ)
является электропривод трёхфазных двигателей переменного тока в системах VFD
(Variable Frequency drive) - частотно регулируемый привод (ЧРП). Промышленные
приложения ЧРП: вентиляторы, механизмы подачи топлива, центрифуги, насосы,
компрессоры и т.д. Основные бытовые и офисные приложения: системы
кондиционирования воздуха, стиральные машины и холодильники. При использовании
ЧРП удаётся снизить потребление электроэнергии на 20…50%, кроме того, такое
построение электропривода имеет ряд других достоинств. В частности,
использование насосов с ЧРП позволяет увеличить межремонтные циклы, уменьшить
численность обслуживающего персонала и вероятность разрыва трубопроводов, т.к.
при плавном пуске двигателей насосов исключаются гидравлические удары в
системах, а регулирование скорости вращения предотвращает избыточное давление в
трубопроводах.
В основном ИСМ в интегральном или
гибридном исполнении используются для привода двигателей малой и средней
мощности, а некоторые из них - и приводов большой мощности. Модули выпускает
ряд известных производителей силовых полупроводниковых приборов. В каталогах
2009 г. более десяти наименований ИСМ предлагают фирмы Cyntec, Fuji Electric,
Infineon, IRF,Mitsubishi Electric, Powerex, Sanken, Semikron и некоторые
другие.
ИСМ Серии R 7MBP300RA060 фирмы Fuji
Electric
Рассмотрим ИСМ серии R
7MBP300RA060
фирмы Fuji
Electric.
Расшифровка марки : 7MBP - в данном ИСМ
используется 7 тормозных силовых транзисторов IGBT ; 300 - ток коллектора
Iк=300 A ; RA - серия ключа; 060 - напряжение коллектора-эмиттера Uкэ=600 В.
Основные параметры:
● максимальное постоянное напряжение на
выводе Р 400 В;
● максимальный постоянный ток коллектора
300 А (600 А при Тимп = 1 мс);
● максимальная мощность рассеяния 1040 Вт;
● температура корпуса -20…100°С;
● напряжение изоляции 2500 В;
● напряжение насыщения коллектор-эмиттер
2,8 В (при Iк = 300 A);
● падение напряжения на антипараллельных
диодах 3 В (при Iк = 300 A);
● напряжение питания (типовое значение) 15
В, максимальное 20 В;
● входное напряжение (измеряется между
выводами 2 и 1; 5 и 4; 8 и 7;13,14, 15, 10 и N;
● напряжение стабилизации 8 В (типовое
значение);
● температура срабатывания схемы защиты от
перегрева ОН 110…125°С (измеряется в определённой точке
корпуса модулей);
● ток срабатывания схемы защиты от
короткого замыкания и перегрузки по току SC, ОС, 450 А;
● напряжение срабатывания схемы защиты от
низкого напряжения Vcc UV 11…12,5 B;
● частота входных ШИМ сигналов 1…20 кГц.
Ниже, на рисунке 9 приведена схема включения
данного ИСМ.
Рисунок 9 - Схема включения ИСМ 7МВР300RA060
фирмы Fuji Electric.
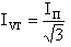
2. Автономные
инверторы тока
Автономные инверторы - устройства, преобразующие
постоянный ток в переменный с неизменной или регулируемой частотой и работающие
на автономную (не связанную с сетью переменного тока) нагрузку. В этом главное
отличие автономных инверторов от ведомых инверторов, также преобразующих
постоянный ток в переменный, но работающих на сеть переменного тока. Нагрузкой
автономного инвертора может быть единичный потребитель (асинхронный двигатель,
электрическая установка) или разветвленная сеть потребителей (несколько
нагрузок, работающих по своему графику).
.1 Однофазный мостовой инвертор. Силовая схема и
принцип работы
Рисунок 9 - Схема однофазного автономного
инвертора тока с отсекающими диодами и временное диаграммы токов и напряжений
На интервале 0<ωt<π
проводят
ток тиристоры VT1 и VT2. Ток нагрузки i>н протекает в соответствии с
направлением, указанным на рисунке 9. Конденсаторы C1, C2 на этом интервале
заряжаются так, что их левые обкладки положительны. Ток нагрузки постоянен,
протекает по цепи VT1, VD1, LH, RH, VD2, VT2 и равен току источника IП = const,
так как индуктивность L реактора велика. Напряжение нагрузки в данном состоянии
цепей , напряжение на входе uп=uн=IпRН.
В момент ωt - ωt1, включаются
тиристоры VT3, VT4 и под действием напряжения, созданного заряженными
конденсаторами указанной полярности, происходит мгновенное переключение тока
нагрузки с тиристоров VT1, VT2 на тиристоры VT3, VT4. К тиристорам VT1, VT2
прикладывается напряжение конденсаторов Uс в обратном направлении. Происходит
первая ступень коммутации, в результате которой создаются условия для запирания
тиристоров VT1, VT2. Напряжение на входе uп изменяется до значения uп = IпRН -
uс1 - uс2, так как на интервале ωt1 - ωt3 ток
нагрузки замыкается по цепи VT3, C1 VD1, Lн, Rн, VD2, С2, VT4. Напряжение на
конденсаторах C1, C2 на этом интервале изменяется линейно в процессе перезаряда
постоянным током iн = iп = const.
В момент ωt2 конденсаторы
полностью разряжены, и обратное напряжение, прикладываемое к тиристорам VT1,
VT2, равно нулю. Начиная с момента ωt2 к
тиристорам прикладывается прямое напряжение. Интервал ωt1
- ωt2 должен быть достаточным для восстановления
тиристорами запирающих свойств.
В момент ωt3 конденсаторы
оказываются заряженными током противоположной полярности. Напряжение в этот
момент равно: uc(ωt3)=IпRН.
Дальнейшее повышение напряжения приводит к смещению отсекающих диодов VD3, VD4
в прямом направлении, и начинается вторая ступень коммутации в инверторе,
сопровождающаяся изменением направления тока в цепи нагрузки. Цепь нагрузки
оказывается подключенной параллельно перезаряженным током обратной полярности
конденсатором. Ток источника iп перераспределяется между нагрузкой и
конденсаторами, дополнительно заряжая их и вызывая изменение направления тока
iн. При этом ток диодов VD3, VD4 увеличивается до значения iп, а ток диодов
VD1, VD2 уменьшается до нуля. Напряжение на входе инвертора возрастает и
превышает значение IпRн.
В момент ωt4 коммутация
инвертора полностью завершается. Далее процессы повторяются.
Благодаря отсекающим диодам конденсаторы C1, C2
оказываются "отделенными" от нагрузки на интервале между коммутациями
и не участвуют в энергообменномпроцессе. На интервале коммутации происходит
обмен энергией между нагрузкой и конденсаторами. Емкость конденсаторов должна
быть достаточной для обеспечения необходимого времени на запирание тиристоров.
Емкость конденсаторов также определяет значение напряжения, до которого
заряжаются конденсаторы. Это напряжение не должно быть слишком высоким, чтобы
параметры тиристоров инвертора не завышать по напряжению.
В этой схеме внезапное изменение нагрузки или
размыкание цепи вызывают высокие перенапряжения на входе инвертора, для
предотвращения этого необходимо предусматривать специальную защиту. Короткие
замыкания в цепи нагрузки не представляют большой опасности для тиристоров, так
как ток ограничивается реактором с большей индуктивностью.
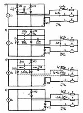
.2 Трехфазный мостовой инвертор тока
Трехфазный мостовой инвертор тока (рисунок 10).
Такие АИТ находят применение в бесколлекторном электроприводе промышленных
рабочих механизмов и машин.
Принципы устройства и работы трехфазного АИТ
аналогичны рассмотренному выше однофазному АИТ. Особенностью является лишь то,
что в процессе коммутации конденсаторы С1, СЗ, С5 и С2, С4, С6 включены в
контур тока в виде двух параллельных цепей (один конденсатор и два
последовательных конденсатора). Например, при коммутации тока с VT1 на VT3
конденсатор С1 включен параллельно с конденсаторами С2 и СЗ, соединенными
последовательно между собой. При этом ток источника iп распределяется по
конденсаторам в соотношении iс1 = 2Iп/3 и iс2 = iс3 = Iп/3. В межкоммутационный
интервал перед коммутацией тиристора VT1 в момент ωt
= 2π/3 ток нагрузки проводят тиристоры VT1 и VT2
(рисунок 11, а). Контур тока нагрузки замыкается через VT1, VD1, фазы а и b,
VD2, VT2. Конденсаторы C1, C5 заряжены полярностью, указанной на рис. 5.14, а,
конденсатор С3 разряжен. Исследуем коммутацию от момента включения VT3
(ωt = ωt1 на рис. 5.14). Конденсатор С1 после
включения VT3 подключен параллельно VT1 и запирает его обратным напряжением.
Ток нагрузки мгновенно переводится в цепь VT3
(см. рисунок 11, б). Ток тиристора VT3 iVT3 = Iп разделяется в отношениях 2/3 и
1/3 между конденсаторами С1 и СЗ, С5 (предполагаем C1 - С2 = СЗ). Постоянным
током 2Iп/3 разряжается линейно конденсатор C1 (интервал ωt1
-ωt2 на рис. 5.). При этом через отсекающий диод VD3
ток не протекает до тех пор, пока напряжение uс1 не станет ниже значения IпR
(при
).
При дальнейшем снижении uc1 (IпR - uс1 >0) dt потенциал анода VD3 становится
положительным, диод открывается и его ток нарастает от нуля до значения Iп (см.
рис. 5.14, интервал ωt2 - ωt4). Ток
диода VD1 уменьшается от значения Iп до нуля. Сумма токов iVD1 и iVD3 равна
постоянному току Iп: iVD1 + iVD3 = 3ic1/2 + Iп - 3iс1/2 = Iп (см. схему
замещения для второй ступени коммутации, рисунок 11, в). Коммутация закончится,
когда iVD1 =0, a iVD3 = Iп (см. рисунок 11, в).
Коммутация проходит в две ступени: мгновенного
переключения тока в тиристорах и постепенного переключения тока в цепи
нагрузки. Коммутирующий конденсатор должен иметь достаточную емкость, чтобы
интервал ωtq = ωt3 - ωt1 (см.
рисунок 10), предусмотренный для запирания тиристора, был больше, чем
минимальный интервал ωtqmin необходимый
для выключения тиристора данного типа. Напряжение, на которое заряжается
коммутирующий конденсатор емкостью С по окончании коммутации, определяется
значением тока Iп, индуктивностью и другими параметрами нагрузки.
Рисунок 10 - Схема трехфазного автономного
инвертора тока с отсекающими диодами и временные диаграммы токов и напряжений
Рисунок 11 - Схемы замещения АИТ с отсекающими
диодами при зависимой двухступенчатой междуфазной коммутации: а - цепи до
начала коммутации; б - на первой ступени коммутации; в - на второй ступени
коммутации; г - цепи после коммутации
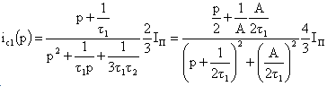
.3 Расчетные соотношения для трехфазного АИТ с
отсекающими диодами
Предположим, что началу отсчета ωt
= ωt2 = 0 (см. рисунок 10) соответствует
момент, когда напряжение на конденсаторе C1 uc1 = IпR (начало второй ступени
коммутации, см. рисунок 11, в). Согласно второму закону Кирхгофа уравнение
равновесия для замкнутого контура имеет вид:
Или
(1),
так как uc1(0) = IпR. Приняв τ1
= L/R и
τ2
= CR, начальное
значение ic1(0) = 2Iп/3 и, применив преобразование Лапласа, получим решение для
тока:
(2),
Где
,
Откуда
(3)
Постоянная А является мнимой частью комплексно сопряженных
корней квадратного уравнения, стоящего в знаменателе первого выражения (2). Для
докритическогозатухания должно выполняться условие А2 > 0, т. е.
, откуда .
Обратным преобразованием Лапласа выражения (2)
получим
(4).
После преобразований выражение для тока
конденсатора имеет вид:
(5),
Где
(6)
φ=arctgA(7)
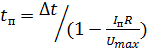
Для момента ωt = ωt4 (см.
рисунок 10) ток перезаряда конденсатора С1 iс1 = 0. Дальнейшему изменению тока
препятствует отсекающий диод VD1 (см. рисунок 11, в). С учетом направления тока
это условие выполняется в равенстве (5) при
,
где для принятого начала отсчета t = tк, tк - временной интервал второй ступени
коммутации:
(8).
Минимальное напряжение на конденсаторе (см.
рисунок 10)
(9).
Максимальное напряжение на конденсаторе Uc1max
достигается при двукратном заряде конденсатора на одном периоде при коммутации
VT3 и VT5. Его абсолютное значение Uc1min прямо пропорционально току Iп
источника и обратно пропорционально корню квадратному коммутирующей емкости.
Время Δt линейного
снижения напряжения U до значения IпR (интервал Δωt на
рисунок 10) получим из уравнения (9):
Откуда
(10).
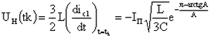
Время, необходимое для запирания тиристора tп
(на рисунок 10, б интервал ωtп),
находим из соотношения
, откуда
.
После преобразований получено условие устойчивой
коммутации тиристора:
(11),
где tq - время выключения конкретного типа
тиристора.
Общее время коммутации АИТ:
(12).
Время коммутации не зависит от значения тока Iп
источника, а является сложной функцией параметров нагрузки и коммутирующих
цепей.
Максимальное превышение напряжения на нагрузке
(пик) по сравнению с IпR достигается в момент времени t = tк (на рисунке 10
момент ωt4),
когда
(12).
Максимальное напряжение на входе АИТ
(13).
При заданных параметрах схемы максимальное
напряжение прямо пропорционально току источника.
Напряжение, прикладываемое к диодам в обратном
направлении, определяется алгебраической суммой линейного напряжения и
напряжения на соответствующем конденсаторе. Максимальное значение этого
напряжения равно превышению напряжения, определяемому по формуле (12). А
максимальное напряжение, прикладываемое к тиристорам в прямом направлении,
равно максимальному линейному напряжению и может быть рассчитано по формуле
(13).
Эффективные токи тиристоров, диодов и нагрузки
соответственно
(14)
(15)
(16),
где Т - период изменения тока нагрузки.
Максимальная частота АИТ fmax = 1/Тmin
ограничена и значительно меньше, чем у АИН. Это вызывается продолжительным
временем коммутации tи, которое в основном зависит от значительной емкости
коммутирующих конденсаторов. Вследствие этого в АИТ трудно получить широтное
или широтно-импульсное регулирование выходного тока. Для АИТ возможно только
амплитудное регулирование входного тока.
2.4 Схемы трехфазных АИТ
Рассмотренная выше схема трехфазного АИТ
является наиболее простой и широко применяемой. Однако ей присущи некоторые
недостатки, главными из них являются: значительное время коммутации вследствие
затягивания перезаряда коммутирующих конденсаторов; высокие перенапряжения на тиристорах,
дополнительные потери в отсекающих диодах. Имеются другие схемы АИТ (рисунок
12).

Существует достаточно большая группа схем АИТ с
двухступенчатой коммутацией, например схема Саба-Каганова (рисунок 12, а).
Отличительная особенность схем с двухступенчатой коммутацией состоит в том, что
коммутация осуществляется в две ступени: на первой ступени ток с основного
тиристора (VT1- VT6) переводится с помощью предварительно заряженного
конденсатора С на вспомогательный тиристор (VT7, VT8); на второй ступени с
вспомогательного тиристора - на очередной основной тиристор. Эта схема обладает
двумя недостатками: для ее реализации требуется трансформатор Т с выведенной
нулевой точкой; коммутация тока из-за наличия индуктивности нагрузки и
трансформатора длительна. Возможна схема без трансформатора. В этом случае
между парой вспомогательных тиристоров и каждой фазой включается отдельный
конденсатор.
.5 Область применения
Основные области применения автономных
инверторов следующие;
питание потребителей переменного тока (АИН, АИТ)
в устройствах, где единственным источником энергии является аккумуляторная
батарея (например, бортовые вторичные источники питания)» а также резервное
питание ответственных потребителей при возможном отключении сети переменного
тока (электросвязь, вычислительная техника);
электротранспорт (АИН, АИТ), питающийся от
контактной сети или какого-либо источника постоянного тока, где в качестве
тяговых электродвигателей желательно иметь простые, надежные и дешевые
короткозамкнутые асинхронные двигатели;
электропривод с асинхронными и синхронными
двигателями (АИН, АИТ), где инвертор служит источником регулируемых напряжения
и частоты;
преобразователи постоянного напряжения одной
величины в постоянное напряжение другой величины (АИН, АИТ, АИР);
устройства для получения переменного тока (АИН,
АИТ, АИР) необходимой частоты от источников прямого преобразования энергии
(термо- и фотоэлектрические генераторы, топливные элементы, МГД- генераторы),
вырабатывающих энергию на постоянном токе; ч
электротермия (АИТ, АИР) для получения
переменного тока повышенной частоты (плавка металла, нагрев и закалка изделий).
В отдельных случаях к автономным инверторам
предъявляется требование в отношении не только прямой передачи энергии от
источника питания в нагрузку, но и обратной передачи энергии от нагрузки в
источник питания, что, в частности, необходимо для реализации рекуперативного
торможения асинхронных двигателей.
.6 Тиристорный преобразователь частоты
ТЧП-50-2,4 компании «ТЕРМОЛИТ»
Тиристорные преобразователи частоты
предназначены для преобразования трехфазного тока промышленной частоты в
переменный ток средней частоты и применяются для питания индукционных
плавильных печей, нагревательных и закалочных установок. Основное преимущество
тиристорных преобразователей перед электромашинными состоит в том, что за счет
высокого коэффициента полезного действия и отсутствия потерь холостого хода
снижается потребляемая мощность от сети и снижаются эксплуатационные расходы.
Большие преимущества ТПЧ в их регулировочных свойствах. Регулирование выходных
параметров и мощности осуществляется безпереключения в силовых цепях, что
позволяет обходится без громоздких коммутирующих устройств.
Структура условного обозначения ТПЧ - Х - Х УХЛ4
ТПЧ - тиристорный преобразователь частоты
Х - номинальная выходная мощность, кВт
Х - номинальная выходная частота, кГц
УХЛ - климатическое исполнение и категория
размещения по ГОСТ - 15150 - 69
|
Тип
преобразователя
|
Мощность,
кВт
|
Рабочая
частота, кГц
|
Напряжение
питающей сети, В
|
Выходное
напряжение, В
|
|
ТПЧ-50-2,4
|
50
|
2,4
|
380
|
800
|
На рисунке 13 представлена структурная схема
питания индукционной печи от ТПЧ
Рисунок 13 - Схема питания индукционной печи
от
тиристорного преобразователя частоты.
Список использованных источников
Беляев,
В.П. Электронные устройства полиграфического оборудования / В.П. Беляев, Р.И.
Шуляк. - Минск: БГТУ, 2011 - 218 с.
Fuji
Electric and Team Semikron Up, Web:
http://www.semikron.com/internet/index.jsp?sekId=443.
Петропавловский,
Ю. Особенности и параметры интеллектуальных силовых модулей фирм Fuji и
Semikron / Ю. Петропавловский // Силовая электроника. - 2010. - №3 С. 18-23
Бурков
А.Т. Электронная техника и преобразователи / А.Т. Бурков - М.: Транспорт,
2000.- 464с. силовой модуль инвертор ток
Костырев
М.Л. Электрооборудование электротермических установок: учебное пособие / М. Л.
Костырев. - Самара: СГТУ, 2010 - 84с.
Индукционное
литейное и нагревательное оборудование ООО «ТЕРМОЛИТ», Web:
http://www.termolit.com/index.php?kt=147&pint=1