Топливоподача газомазутной тепловой электрической станции: схемы и оборудование

  • Вид работы:
    Реферат
  • Предмет:
    Физика
  • Язык:
    Русский
    ,
    Формат файла:
    MS Word
    1,05 Мб
  • Опубликовано:
    2014-07-12
Вы можете узнать стоимость помощи в написании студенческой работы.
Помощь в написании работы, которую точно примут!

Топливоподача газомазутной тепловой электрической станции: схемы и оборудование

Введение

Развитие теплоэнергетики, а также непрерывное ужесточение санитарных требований к чистоте атмосферного воздуха приводит к обострению проблемы защиты воздушного бассейна от выбросов летучей золы. Доля тепловых электростанций в суммарном выбросе твердых аэрозолей промышленными предприятиями весьма значительна. Это обуславливает, в частности, резкое повышение требований на электростанциях, сжигающих твердое топливо, к очистке дымовых газов от золы, осуществляемой в РФ и за рубежом.

При выборе типа золоулавливающих установок электростанции учитывают совокупность ряда факторов, таких, например, как сорт топлива, мощность котельного агрегата, уровень капитальных и эксплуатационных затрат на газоочистку, а в некоторых случаях также и экономическую целесообразность использования уловленной золы в народнохозяйственных целях.

Степень очистки дымовых газов в золоулавливающих установках должна удовлетворять как действующим нормативным требованиям с учетом санитарного законодательства, так и условиям надежной работы дымососов с точки зрения предотвращения их золового износа. Другим важным требованием к таким аппаратам является обеспечение длительной эксплуатационной надежности при минимальных ремонтно-эксплуатационных затратах. [3]

1. Типы и характеристики золоуловителей

В зависимости от мощности ТЭС, зольности топлива, физико-химических свойств золы, санитарно - гигиенических условий в районе расположения электростанций выбирается тип золоуловителей. На выбор типа золоуловителей может повлиять и использование золы.

К основным требованиям, предъявляемым к системам золоулавливания, относятся высокая эффективность и эксплуатационная надежность.

Следует иметь в виду, что чем выше требуемая степень очистки газов и чем мельче подлежащие улавливанию частицы, тем большими оказываются удельные капитальные затраты на сооружение установок для улавливания золы и расходы на их эксплуатацию.

На ТЭС применяются три типа золоуловителей:

·        аппараты сухой инерционной очистки газов (жалюзийные золоуловители, циклоны, прямоточные циклоны, батарейные циклоны):

·        аппараты мокрой очистки газов:

·        электрофильтры.

Фильтры, в которых используются пористые среды для очистки газов от твердых частиц (волокнистые, тканевые или рукавные, зернистые), не нашли широкого распространения из-за очень больших габаритов и повышенной сложности в эксплуатации. Основная сложность заключается в накоплении золы в фильтрующем материале, что требует его периодической регенерации. Основное достоинство таких фильтров заключается в очень высокой степени очистки газов от пыли или золы, превышающей 99,9%.

Каждый тип золоуловителя рассчитан на определенные условия работы. К ним относятся допустимая температура уходящих газов, возможность размещения на открытом воздухе и восприятия нагрузок от подводящих газоходов и площадок обслуживания, наличие необходимого количества воды для мокрых золоуловителей, система транспорта и использования золы.

Золоуловители всегда устанавливают перед дымососами по ходу дымовых газов для предохранения последних от абразивного износа. При двухступенчатой системе золоулавливания возможна установка дымососов между золоуловителями (в рассечку).

Решение об установке золоуловителей внутри или вне зданий принимается в зависимости от климатических условий и типа аппаратов. Наиболее сложные по конструкционному оформлению газоочистные аппараты - электрофильтры - устанавливаются вне зданий. Для защиты изоляторных коробок от осадков и облегчения условий их обслуживания верх электрофильтра закрывается шатром или специальной кровлей. Подбункерное пространство электрофильтров также укрывается легкими материалами.

Степень улавливания золы в золоуловителях колеблется в зависимости от свойств золы и условий эксплуатации в широких пределах. Так, степень улавливания электрофильтров составляет 96 - 99,9%; мокрых золоуловителей 92 - 96%; батарейных циклонов 82 - 90%.

Газоочистительные установки, как правило, не дают прибыли. Возможность использовать уловленный продукт обычно лишь частично окупает их сооружение. Поэтому технико-экономическая оценка газоочистных сооружений строится в основном на базе сравнительных данных. Сравнение аналога с оцениваемым вариантом производится по капитальным вложениям, численности обслуживающего персонала, производительности труда, эксплуатационным затратам, уровню приведенных затрат. [1]

2. Инерционные золоуловители

В качестве инерционных (механических) золоуловителей наибольшее распространение получили циклоны, в которых осаждение твердых частиц происходит за счет центробежных сил при вращательном движении потока. Поступающий тангенциально через входной патрубок (рис.1, а) газ движется в канале, образованном наружной и внутренней цилиндрическими поверхностями циклона, где под действием центробежных сил происходит отделение пыли. Затем очищенный газ удаляется через внутренний цилиндр вверх, а осевшая на наружной стенке зола ссыпается под действием силы тяжести вниз в коническую воронку и далее в общий бункер.

Рис.1. Циклонные золоуловители:

а - принципиальная схема циклона; б - элемент батарейного циклона БЦУ типа «Энергоуголь»; в - батарейный циклон; 1 - входной патрубок запыленного газа; 2 - циклонный элемент; 3 - трубные доски; 4 - выходной патрубок очищенного газа; 5 - бункер для золы

В настоящее время циклоны устанавливаются на котлах паропроизводительностью до 500 т/ч. Причем для повышения эффективности применяются батарейные циклоны, составленные из циклонов малого диаметра, обычно около 250 мм. Гидравлическое сопротивление батарейных циклонов составляет около 500-700 Па.

В качестве элемента батарейных циклонов используется большое число модификаций:

·        с аксиальным подводом газа и лопаточными завихрителями;

·        с тангенциальным подводом газа;

·        прямоточные и др.

Широко применяются для энергетических установок элементы с тангенциальным улиточным подводом газа типа «Энергоуголь» с внутренним диаметром 231 мм (рис.1, б). В маркировке циклонов содержатся основные данные по типоразмерам, и по ширине, их может быть от 7 до 24.

Положительный опыт длительной эксплуатации батарейных циклонов на многих электростанциях позволяет рекомендовать их для ряда случаев, в частности для очистки:

·        дымовых газов от золы при сжигании малозольных топлив, главным образом - бурых углей;

·        рециркуляционых газов котлов от золы с целью защиты дымососов системы рециркуляции от износа;

·        сушильного агента от невзрывоопасной угольной пыли, например марок АШ, в системах подготовки топлива.

Не так широко, как циклоны или батарейные циклоны применяются на ТЭС другие типы инерционных золоуловителей. Однако, в промышленной теплоэнергетике, металлургии, нефтегазовой промышленности, деревообрабатывающем производстве и некоторых других семейство циклонных пылеуловители представлено достаточно разнообразно. К ним относят:

·        жалюзийные пылеуловители;

·        вихревые пылеуловители;

·        отражательные инерционные пылеуловители;

·        ротационные пылеуловители.

Кроме того, для улавливания частиц размером от 100 до 1000 мкм применяют также осадительные камеры. [1]

3. Мокрые золоуловители

Простейшим типом мокрого золоуловителя является центробежный скруббер (рис.2, а). Главным отличием его от сухого инерционного золоуловителя является наличие на внутренней стенке стекающей пленки воды. Отсепарированная за счет центробежных сил зола лучше отводится из скруббера в бункер, при этом уменьшается вторичный захват зольных частиц со стенки газовым потоком.

Золоуловитель тина МП-ВТИ (мокропрутковый конструкции Всесоюзного теплотехнического института им. Ф. Э. Дзержинского) во входном патрубке 1 (рис.2, а) имеет шахматный пучок горизонтальных прутков диаметром 20 мм. Прутковые решетки орошаются водой, распыливаемой механическими форсунками, установленными но ходу очищаемых газов перед решетками. Улавливание золы в аппарате МП-ВТИ проходит две ступени: на орошаемых решетках за счет осаждения частиц золы и на внутренней орошаемой поверхности скруббера. Эффективность золоулавливания составляет 88...90%.

Недостатками золоуловителей МП-ВТИ кроме низкой эффективности золоулавливания являются следующие:

·        возникновение отложений золы в прутковых пучках, что приводит к увеличению аэродинамического сопротивления и снижению нагрузки котла;

·        повышенный расход воды для обеспечения нормального функционирования золоуловителя.

Уральским отделением Союзтехэнерго совместно с ВТИ разработаны и внедрены на многих электростанциях более эффективные мокрые золоуловители с коагуляторами Вентури (рис.2, б). Основными достоинствами этих аппаратов являются стабильная степень очистки газов от золы, составляющая 94-96% при умеренном аэродинамическом сопротивлении (1100 - 1300 Па), относительно небольшие капитальные и эксплуатационные затраты, а также возможность работы на оборотной воде.

Коагуляторы Вентури могут устанавливаться как вертикально, так и горизонтально с небольшим уклоном.

Принцип работы мокрого золоуловителя с коагулятором Вентури заключается в следующем, (рис.2, б.). В конфузор 3 коагулятора через форсунки подается орошающая вода, которая дополнительно диспергируется (распыляется) скоростным газовым потоком на мелкие капли. Летучая зола при прохождении с дымовыми газами через коагулятор частично осаждается на каплях и на его орошаемых стенках. Далее капли и неуловленные частицы золы поступают в корпус аппарата - центробежный скруббер, где дымовые газы освобождаются от капель и дополнительно очищаются от золы, после чего дымососом выбрасываются в атмосферу. Гидрозоловая пульпа сбрасывается через гидрозатвор в канал системы гидрозолоудаления (ГЗУ).

Рис.2. Мокрые золоуловители:

а - центробежный скруббер; 1 - входной патрубок запыленного газа; 2 - корпус золоуловителя; 3 - оросительные сопла; 4 - выход очищенного газа; 5 - бункер; б - золоуловитель с коагулятором Вентури; 1 - входной патрубок запыленного газа; 2 - подача воды через оросительные сопла; 3, 4, 5 - конфузор, горловина и диффузор коагулятора Вентури; 6 - скруббер-каплеуловитель

В конфузоре пылегазовый поток разгоняется от 4...7 до 50...70 м/с. Дополнительное дробление капель воды осуществляется в горловине 4. В диффузоре 5 происходит столкновение частиц золы с каплями воды (кинематическая коагуляция) и снижение скорости пылегазового потока, который, в свою очередь, тангенциально вводится в скруббер.

Размер капель тем меньше, чем больше скорость газа в горловине.

Захват частиц золы каплями может происходить по двум причинам:

·        за счет турбулентных пульсаций частиц золы, которые попадают в практически мало пульсирующие капли.

В отечественной практике применение получили два типа мокрых золоуловителей с коагулятором Вентури: МВ-УО ОРГРЭС и МС-ВТИ. Первый тип золоуловителя выполняется с вертикальным и горизонтальным расположением коагулятора Вентури круглого сечения, второй только с горизонтальным расположением трубы прямоугольного сечения.

Не рекомендуется применять мокрые золоуловители для топлив, содержащих в составе золы более 15...20% оксида кальция СаО, так как это является основной причиной возникновения отложений солей кальция на оборудовании. [1]

4. Электрофильтры

Одним из хорошо зарекомендовавших себя и перспективным типом золоуловителей для крупных ТЭС являются электрофильтры, которые могут обеспечить высокую степень очистки газов при аэродинамическом сопротивлении не более 150 Па практически без снижения температуры и без увлажнения дымовых газов.

Рис.3. Принцип работы электрофильтра:

- осадительный электрод; 2 - коронирующий электрод; 3 - частицы золы; 4 - электрическое поле; 5 - слой осевшей золы; 6 - заряженная зола

В электрофильтрах запыленный газ движется в каналах, образованных осадительными электродами 1 (рис.3), между которыми расположены через определенное расстояние коронирующие электроды 2.

Сущность процесса электрической очистки газов заключается в следующем. Запыленный газ проходит через систему, состоящую из заземленных осадительных электродов 7 и размещенных на некотором расстоянии (называемом межэлектродным промежутком) коронирующих электродов 2, к которым подводится выпрямленный электрический ток высокого напряжения с отрицательным знаком.

При достаточно высоком напряжении, приложенном к межэлектродному промежутку, у поверхности коронирующего электрода происходит интенсивная ударная ионизация газов, сопровождающаяся возникновением коронного разряда (ток короны).

Газовые ионы различной полярности, образующиеся в зоне короны, под действием сил электрического поля движутся к разноименным электродам, вследствие чего в электродном промежутке возникает электрический ток, который и представляет ток короны. Частицы золы из-за адсорбции на их поверхности ионов приобретают в межэлектродном промежутке электрический заряд и под влиянием сил электрического поля движутся к электродам, осаждаясь на них. Основное количество частиц осаждается на развитой поверхности осадительных электродов, меньшая их часть попадает на коронирующие электроды. По мере накопления на электродах осажденные частицы удаляются встряхиванием или промывкой электродов.

Процесс электрогазоочистки можно разделить на следующие стадии:

·        зарядка взвешенных в газе частиц;

·        движение заряженных частиц к электродам;

·        осаждение частиц на электродах;

Коронный разряд возникает при достижении определенной напряженности и электрического ноля, называемой критической или начальной, которая, например, для воздуха при атмосферном давлении и температуре 200 С составляет около 15 кВ/см. При дальнейшем повышении напряженности нарушается электрическая прочность газового промежутка между электродами, наступает искровой или дуговой электрический разряд.

К коронирующим электродам подводится отрицательный заряд, так как подвижность отрицательных ионов выше положительных. Кроме того, при отрицательной короне удается поддержать более высокое напряжение без искрового пробоя между электродами.

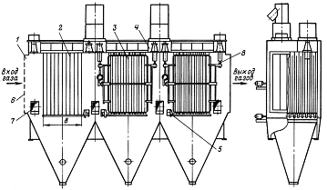
Рис.4. Электрофильтр типа УГ:

- корпус; 2 - электрод осадительный; 3 - электрод коронирующий; 4 - механизм встряхивания коронирующих электродов; 5 - механизм встряхивания осадительных электродов; 6 - газораспределительная решетка; 7 - бункер для золы; 8 - изолятор

Рабочая часть электрофильтра, в которой существует электрическое поле, называется активной зоной. Она разделена на несколько электрических полей, через которые очищаемый газ проходит последовательно. Электрофильтры бывают однопольными и многопольными.

На большинстве электростанций, оснащенных электрофильтрами, применены аппараты типа УГ (унифицированный горизонтальный). Запыленные газы после газораспределительной решетки 6 (рис.4) поступают в коридоры, образованные вертикально висящими широкополосными осадительными электродами С-образной формы. Коронирующие электроды представляют собой профильные ленточные элементы с штампованными иглами, укрепленные в специальной рамке.          Для удаления осевшей на электродах золы предусмотрены встряхивающие устройства в виде молотков, ударяющих по наковальням электродов. Осевшая зола попадает в бункера и затем через гидравлические затворы направляется в систему ГЗУ. Расчетная температура газов до 2500 С.

Электрические поля имеют самостоятельное питание и систему встряхивания. На рис.8 показан трехпольный электрофильтр типа УГ. В первом поле оседает наибольшее количество золы, в последнем - минимальное.

Важным условием, определяющим эффективность работы электрофильтра, является агрегат электрического питания. Каждый агрегат обслуживает одно поле (или половину поля), состоит из трех узлов:

·        повысительно-выпрямительного блока с высоковольтным распределительным устройством;

·        блока магнитных усилителей;

·        дросселей и пульта управления.

Для поддержания напряжения в любой момент работы электрофильтра на грани пробивного, когда обеспечивается наилучшая ионизация газов, применена автоматическая схема регулирования.

Анализ работы электрофильтров на ТЭС показал, что основная причина менее эффективной очистки заключается в высоком удельном электрическом сопротивлении (УЭС) слоя золы, образующемся на осадительных электродах электрофильтра.

Современные электрофильтры серии ЭГА - горизонтальные, модификации А, изготавливаются в широком диапазоне типоразмеров при глубокой унификации узлов и деталей. Такие фильтры рассчитаны на максимальную температуру газов до 3300 С.

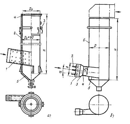
В связи с повышением мощности энергоблоков потребовалось создание двухъярусного фильтра. Для энергоблоков 800 МВт Березовской ГРЭС-1 разработан и изготовлен на базе серии ЭГА электрофильтр типа ЭГД (горизонтальный, двухъярусный) (рис.5).

Электрофильтры серии УВ (рис.6) - унифицированные вертикальные пластинчатые сухие для очистки газов с температурой до 2500 С, выпускаются взамен электрофильтров ДВП и ДВПН. Электрофильтры типа УВ имеют одно поле активной длины 7,4 м и разделены по газу на одну - три секции. Осадительные электроды - пластинчатые с нижним молотковым стряхиванием. Коронирующие электроды - рамные с верхним подвесом и молотковым встряхиванием.

Электрофильтры УВ рассчитаны на невысокую запыленность газов и скорость их в активном сечении до 1 м/с. [1]

Рис.5. Электрофильтр типа ЭГД:

- подводящие газоходы; 2 - газораспределительная решетка; 3 - коронирующий электрод; 4 - осадительный электрод; 5 - механизм встряхивания коронирующих электродов; 6 - механизм встряхивания осадительных электродов; 7 - бункер для пересыпки золы из верхнего яруса.

Рис.6 Электрофильтр УВ

Заключение

Исходя из вышесказанного можно сделать вывод о том, что самым эффективным оборудованием для золоулавливания на ТЭС являются электрофильтры, так как они имеют самую высокую степень очистки запыленных газов и уловленной золы, что удовлетворяет современным требованиям природоохранного законодательства и санитарных нормативов. Использование электрофильтров заметно улучшает экологическую обстановку в районе ТЭС и на планете в целом.

золоулавливающий тепловой электрический станция

Список используемой литературы

1.       Рыжкин В.Я. Тепловые электрические станции: Учебник для вузов / Под ред. В.Я. Гиршфельда. - М: Энергоатомиздат, 1987.

2.      Баскаков А.П., Берг Б.В., Витт О.К. и др. Теплотехника: Учебник для вузов / Под ред. А.П. Баскакова. - М.:Энергоатомиздат,

.        Трухний А.Д. Основы современной энергетики: учебник для вузов: в 2т./ под общей редакцией чл.-корр. РАН Е.В. Аметистова. - М.: Издательский дом МЭИ, 2008.

4. 

Похожие работы на - Топливоподача газомазутной тепловой электрической станции: схемы и оборудование

 

Не нашли материал для своей работы?
Поможем написать уникальную работу
Без плагиата!
Без нейросетей!