Гидромеханическая подвеска Hydractive

  • Вид работы:
    Контрольная работа
  • Предмет:
    Транспорт, грузоперевозки
  • Язык:
    Русский
    ,
    Формат файла:
    MS Word
    294,08 Кб
  • Опубликовано:
    2015-01-02
Вы можете узнать стоимость помощи в написании студенческой работы.
Помощь в написании работы, которую точно примут!

Гидромеханическая подвеска Hydractive

СОДЕРЖАНИЕ

Введение

. Гидромеханическая подвеска Hydractive

. Устройство и принцип работы гидромеханической подвески

2.1 Устройство

2.2 Принцип работы

3. Преимущества гидромеханической подвески

Заключение

Список использованных источников

Введение

Подвеска автомобиля, или система подрессоривания - совокупность деталей, узлов и механизмов, играющих роль соединительного звена между кузовом автомобиля и дорогой. Входит в состав шасси.

Гидропневматикой называют систему амортизации, при наличии которой кузов автомобиля опирается на грузовые подушки, а не на упругие стальные элементы.


1. Гидропневматическая подвеска Hydractive

Гидропневматическая подвеска представляет собой тип подвески, в котором применяются упругие гидропневматические элементы. Впервые данная подвеска была реализована в 1954 году на автомобилях, производимых Citroen. Современной версией гидропневматической подвески на данный момент можно назвать подвеску Hydractive.

Главными преимуществами данного типа подвесок является то, что они обеспечивают хорошую плавность движения, возможность управления положением кузова машины относительно дорожного полотна, отлично гасят колебания и способны адаптироваться к стилю езды конкретного человека. Основными недостатками данных подвесок можно назвать их крайнюю сложность и вследствие этого высокую стоимость.

Подвеска Hydractive на данный момент улучшается по двум направлениям - расширение ее возможностей и увеличение надежности. Устройство данной подвески можно рассмотреть на примере подвески, относящейся к третьему поколению.

Современная гидропневматическая подвеска обеспечивает:

автоматическое регулирование дорожного просвета;

автоматическое регулирование жесткости;

принудительное изменение дорожного просвета.

Автоматическое регулирование дорожного просвета осуществляется в зависимости от скорости движения автомобиля, качества дорожного покрытия и стиля вождения конкретного человека. Высота подъема кузова определяется объемом специальной жидкости, циркулируемой в контуре системы. Объем жидкости дозируется регулятором положения кузова. Работа гидропневматической подвески обеспечивает сохранение заданного уровня пола кузова при перемещении колес по неровному дорожному покрытию.

Автоматическое регулирование жесткости подвески производится путем регулирования величины открытия амортизаторных клапанов, а также использования дополнительных упругих элементов и амортизаторных клапанов на каждой оси. Изменение жесткости осуществляется как для отдельного упругого элемента (при повороте автомобиля), так и всей системы (при прямолинейном движении).

В конструкции гидропневматической подвески предусмотрено принудительное (ручное) изменение дорожного просвета, что в конкретных условиях обеспечивает преодоление препятствий, а также удобство погрузки (выгрузки) и уборки автомобиля. [1]

2. Устройство и принцип работы гидропневматической подвески

.1 Устройство

Гидропневматическая подвеска имеет следующее устройство: гидропневматические упругие элементы; гидравлические цилиндры; амортизаторные клапаны; регуляторы жесткости; регуляторы положения кузова; электромагнитный клапан; система управления.

Гидропневматический упругий элемент представляет собой металлическую сферу, которая внутри разделена эластичной мембраной. Над мембраной находится сжатый газ - азот, под мембраной - специальная жидкость. Жидкость передает давление в системе, а газ выступает упругим элементом.

На автомобилях Citroen устанавливается по одному упругому элементу на каждое колесо и по одной дополнительной «сфере» на каждую ось. Применение дополнительных упругих элементов значительно расширяет параметры регулирования жесткости подвески.

Гидравлические цилиндры предназначены для нагнетания жидкости в упругие элементы и регулирования высоты положения кузова относительно дорожного покрытия. Гидроцилиндр снабжен поршнем, шток которого соединен с соответствующим рычагом подвески.

Для гашения колебаний в конструкции подвески предусмотрены основные и дополнительные амортизаторные клапаны. Величина открытия амортизаторных клапанов регулируется электронной системой управления.

Регуляторы жесткости обеспечивают согласованную работу упругих элементов. Регуляторы положения кузова предназначены для управления высотой подъема кузова над полотном дороги. Электромагнитный клапан служит для переключения режимов работы подвески.

Система управления гидропневматической подвески включает следующие компоненты: входные датчики; электронный блок управления; исполнительные устройства.

Входные датчики преобразуют соответствующие характеристики в электрические сигналы. В гидропневматической подвеске используются следующие датчики: положения рулевого колеса; давления в тормозной системе; колебания кузова; скорости автомобиля; положения кузова.

На основании сигналов датчиков электронный блок управления по установленной программе воздействуют на исполнительные устройства: амортизаторные клапаны, регуляторы жесткости, регуляторы положения кузова, электромагнитный клапан. [1]

2.2 Принцип работы

Главным составляющим подвески является упругий элемент, который состоит из цилиндра, в котором перемещается поршень 2, с длинной направляющей цилиндрической поверхностью. В верхней части цилиндра установлен сферический баллон 4, разделенный эластичной диафрагмой (мембраной) на две полости: верхняя заполнена сжатым азотом, нижняя жидкостью. Между цилиндром и баллоном расположен амортизационный клапан, через который пропускается жидкость при ходе отбоя и сжатия (на схеме не показан).

Рис. 1. Принципиальная схема гидропневматической подвески: 1 - рычаг подвески; 2 - поршень гидроцилиндра; 3 - корпус гидроцилиндра; 4 - сфера; 5 - масло; 6 - сжатый азот

Функцию упругой пружины в пневмогидравлическом упругом элементе выполняет газ (азот), полость расположения которого от полости, занятой жидкостью, разделяется эластичной мембраной. Увеличивая или уменьшая объем жидкости, можно изменять положение поршня, связанного с направляющим рычагом подвески 1, и тем самым изменять дорожный просвет между кузовом и дорогой. Изменяя давление и объем газа в определенной пропорции, (подвеска Hydractive) можно при одной и той же нагрузке на колесе изменять упругую характеристику подвески, делая ее либо «мягкой» (комфортный режим), либо «жесткой» (спортивный режим). Гашение колебаний в таком упругом элементе осуществляется амортизационным клапаном 8, при перетекании жидкости под воз­действием поршня из полости цилиндра в подмембранную полость баллона.

Увеличение объема газа в пневмогидравлическом упругом элементе (для создания «мягкой» характеристики) достигается с помощью дополнительных сфер 7, включенных раздельно в систему передней и задней подвесок. Работа подвески в «комфортном» режиме обеспечивает при движении автомобиля высокий комфорт и удобство управления; работа в «спортивном» режиме улучшает устойчивость автомобиля на поворотах и при торможении, что повышает безопасность. В «комфортном» режиме электромагнитный клапан 3 и золотник 10 открывают соединительную магистраль между основными сферами 6, а также подключают к ним дополнительную сферу 7, что увеличивает плавность хода. В «спортивном» режиме золотник отключает третью сферу и размыкает соединительную магистраль, что увеличивает жесткость подвески примерно в три раза выше.


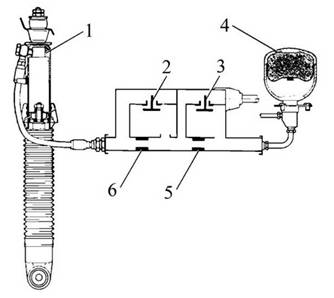
Рис. 2. Схема работы подвески Hydractive: 1 - предохранительный клапан-распределитель; 2 - регулятор положения кузова; 3 - электромагнитный клапан; 4 - регулятор жесткости; 5 - гидроцилиндр подвески; 6 - основная сфера; 7 - дополнительная сфера; 8 - основной амортизационный клапан; 9 - дополнительный амортизационный клапан; 10 - золотник

В «комфортном» режиме электромагнитный клапан 3 и золотник 10 открывают соединительную магистраль между основными сферами 6, а также подключают к ним дополнительную сферу 7, что увеличивает плавность хода. В «спортивном» режиме золотник отключает третью сферу и размыкает соединительную магистраль, что увеличивает жесткость подвески примерно в три раза выше.

Для перевода подвески в «комфортный» или «спортивный» режим служит электромагнитный клапан 3 (регулятор жесткости), отключающий или подключающий дополнительный баллон к гидравлическому приводу системы подвески.

Дальнейшим совершенствованием подвески Hydractive явилось применение электронной системы управления по специальной программе. Она обеспечивает изменение характеристики подвески в зависимости от дорожной ситуации для лучшей управляемости и от изменения состояния дороги. Аналогично рассмотренной выше системе, программа позволяет водителю выбрать «жесткий» или «автоматический» режим. В «жестком» режиме компьютер регулирует уровень демпфирования для обеспечения спортивной жесткой характеристики подвески. В «автоматическом» режиме регулируется уровень демпфирования для обеспечения комфортного движения в нормальных условиях. При торможении, повороте или резком ускорении система автоматически переключается на «жесткий» режим. При высоких скоростях движения система переключается на «жесткий» режим по сигналу контрольного модуля двигателя в зависимости от угла поворота дроссельной заслонки и давления во впускном коллекторе.

Управление электромагнитным клапаном, переключающим режимы работы подвески, осуществляется микропроцессором, который получает информацию от нескольких датчиков:

·  положения кузова по высоте

·        угла поворота рулевого колеса и его угловой скорости вращения

·        положения педали акселератора

·        давления в тормозной системе

·        крена кузова

·        скорости автомобиля

Данные памяти компьютера сравниваются с получаемой от датчиков информацией, и микропроцессор выбирает соответствующий режим подвески. Включение соответствующего режима подвески происходит менее чем через 0,05 с.

Информацию о положении кузова в микропроцессор передает специальный датчик.

Рис. 3. Датчик высоты положения кузова: 1 - контактный разъем; 2 - рычаг положения кузова

Датчики высоты кузова относятся к аналоговому типу. Они посылают информацию о средней высоте кузова и колебаниях подвески на электронные блоки управления подвеской и фар. Изменение высоты кузова вызывает изменение угла датчика высоты кузова, что влияет на выходное напряжение датчика.

Отрицательное значение угла датчика высоты кузова соответствует сжатию подвески. Положительное значение угла датчика высоты кузова соответствует отдаче подвески.

Аналогичные системы применяются для автомобилей Mersedes-Benz.

Блок управления получает входные сигналы от следующих устройств:

·        датчика ускорений колеса

·        датчика загрузки, давления в задних стойках

·        датчика угла поворота колеса

·        переключателя «комфорт/спорт»

·        блока управления ABS о скорости движения автомобиля

На основании этих данных вычисляются качество дорожного покрытия, поперечное ускорение, загрузка, предпочтение водителя и производится управление клапанами регулировки жесткости.

Рис. 4. Схема работы подвески ADS Mercedes-Benz: 1 - амортизационная стойка; 2, 3 электромагнитные клапана; 4 - сфера (энергоаккумулятор); 5, 6 - калиброванные отверстия

Если оба клапана 2 и 3 закрыты, сечение канала по которому перетекает жидкость минимально, и амортизатор имеет максимальную жесткость. Открывая клапаны по отдельности или одновременно, можно увеличить сечение канала и, соответственно уменьшить жесткость амортизаторов. При отключении системы питание с контактов снимается, что устанавливает режим максимальной жесткости амортизаторов. Управление жесткостью амортизаторов производится раздельно для передней и задней оси. [2]

гидромеханический электронный подвеска автомобиль

3. Преимущества гидропневматической подвески

Первое преимущество заключается в способности регулировать положение кузова относительно дорожного покрытия. При этом данная функция может происходить в автоматическом режиме в зависимости от дороги и стиля управления автомобилем. Также предусмотрено принудительное изменение дорожного просвета. Эта функция покажется особенно полезной любителям езды по бездорожью. Хотя и в городских условиях она может оказаться очень полезной, например, при парковке возле бордюра.

Следующее преимущество это - комфорт от путешествия, ведь гидропневматическая подвеска не только гасит многочисленные колебания, но и обеспечивает потрясающую плавность хода. Даже иногда возникает ощущение, что едешь не по твердому асфальту, а плывешь по водной глади. Ощущения, конечно, непередаваемые, это надо один раз испытать, чтобы понять.

И последнее это изменение характеристик подвески, исходя из дорожного покрытия и стиля вождения. [3]


Заключение

Все это замечательно, но почему тогда, спрашивается, другие автопроизводители обходят стороной данную разработку? Вся причина кроется в сложности и дороговизне изготовления такой подвески. Правда, здесь есть исключение: гидропневматическая подвеска имеется не только у компании Citroen, но и Mercedes-Benz.

И, конечно же, для автовладельца здесь уготован существенный минус - это цена.

Во-первых, происходит удорожание машины, оборудованной «гидропневматикой».

А во-вторых, в случае ее поломки придется выложить круглую сумму за ремонт. Тем не менее, если Ваши финансовые возможности позволяют иметь и обслуживать такую подвеску, то зачем же от нее отказываться?!


Список использованных источников

. “Устройство автомобиля АВТОсайт“

. “Авто обозреватель”

. “Автошкола - новости автомира”

Похожие работы на - Гидромеханическая подвеска Hydractive

 

Не нашли материал для своей работы?
Поможем написать уникальную работу
Без плагиата!
Без нейросетей!