Теоретические основы фазового равновесия компонентов смеси
Контрольная работа
Теоретические основы фазового равновесия компонентов смеси
Содержание
1. Термодинамические основы фазового
равновесия растворов
. Расчет фазового равновесия системы
жидкость-пар бинарных и многокомпонентных смесей
.1. Интерполяционные уравнения
расчета равновесия тройной смеси азот-аргон-кислород
.2. Расчет фазового равновесия смесей
кислород-криптон и криптон-ксенон
.3. Расчет параметров фазового
равновесия бинарных и тройных смесей молекул водорода
.4. Расчет параметров фазового
равновесия многокомпонентной углеводородсодержащей смеси
. Основы теории массопередачи при
разделении смеси методом ректификации
. Определение параметров
теплофизических свойств смеси
Литература
1. Термодинамические основы фазового равновесия растворов
В аппаратах узлов низкотемпературной ректификации
применяются двухфазные системы, состоящие из жидкой и паровой фаз и включающие два или более компонентов. На контактных
устройствах осуществляется соприкосновение жидкой и паровой фаз, и в результате
тепло- и массообмена происходит непрерывный обмен веществом между фазами,
стремящимися к равновесию. жидкость пар бинарный смесь
Для определения условий фазового равновесия
рассматривают закрытую систему, в которой осуществляется обмен веществом между
фазами. В то же время каждая из фаз представляет собой открытую систему, так
как является раствором с переменным составом [27].
В случае, когда жидкая фаза является идеальным
раствором и описывается законом Рауля, парциальное давление компонента в
идеальном растворе
pi = psi(T) xi,
где psi(T) - давление насыщенного
пара чистого компонента при температуре раствора Т; xi - молярная доля компонента в жидкой
фазе.
При нахождении равновесных концентраций пара или
жидкости часто используют константу фазового равновесия
,
где
yi -
молярная доля компонента в паровой фазе, а также коэффициент разделения
.
В
частном случае для идеальных газов и растворов
.
Для
идеальных растворов с идеальной газовой смесью в паровой фазе при Т = const
коэффициент разделения может быть найден из отношения парциальных давлений
компонентов:
.
Значение
концентрации i-го компонента в паровой фазе определяют из уравнения
.
Температуру
насыщения при фазовом переходе в идеальных растворах по заданному давлению и
составу
находят из трансцендентного уравнения
.
Если
пар является неидеальной смесью, то для сохранения простой связи между
изотермическими изменениями химического потенциала и мерой способности вещества
переходить из одной системы в другую вводят величину f - летучесть, или
фугитивность. В общем случае летучесть реального вещества является
сложной функцией состояния от температуры и давления. Значение летучести
приближается к величине давления при сближении свойств реального вещества со
свойствами идеального газа, т. е.
.
Отношения
и
называют
коэффициентами летучести и парциальной летучести, a fi - парциальной летучестью.
При
проведении исследований и решении практических задач удобно оперировать
эталонными, или стандартными, состояниями, которые входят в определение
«летучесть». Вводя понятие стандартного состояния (обозначено надстрочным
индексом 0), получают для компонента смеси
. Это так
называемая относительная летучесть, или активность, а величина, получившая
название «коэффициент активности»,
аналогична
коэффициенту летучести, или фугитивности,
.
Для
газов за стандартное всегда принимают такое состояние, в котором
летучесть равна единице [28], вследствие чего активность численно равна
летучести, т. е.
.
Для
жидкостей стандартные состояния конденсированной и паровой фаз
должны согласовываться. В качестве определяющего фактора обычно используют
давление насыщенного пара, при котором летучесть паровой фазы и летучесть
жидкой фазы равны, т. е.
.
Стандартное
состояние определяют как состояние чистого вещества при температуре и давлении
системы, тогда
,
где
vL - молярный объем жидкости; R - газовая
постоянная;
- коэффициент Пойнтинга, который при умеренном
давлении, как правило, немного отклоняется от единицы.
Тогда
летучесть для жидкой фазы
, а константа фазового равновесия для реальных систем
пар-жидкость
.
Коэффициент
активности для i-го компонента многокомпонентной смеси при определенных
допущениях может быть определен по уравнению Скэтчарда-Гильденбранда [4]:
,
где
- параметр растворимости компонента;
- средневзвешенная растворимость смеси,
.
Еще
более точные значения константы фазового равновесия могут быть получены по
экспериментальным данным фазового равновесия бинарных и многокомпонентных
систем.
2. Расчет фазового равновесия системы жидкость-пар бинарных и
многокомпонентных смесей
В криогенной технике разделение смесей чаще всего
осуществляют методом низкотемпературной ректификации в сочетании с другими процессами. Среди разделяемых смесей особый интерес
представляют воздух, водород, природный газ.
Сухой и очищенный от углеводородных примесей
атмосферный воздух представляет собой газовую смесь сложного состава.
Воздух - единственное исходное сырье для получения в
промышленных масштабах кислорода, аргона, азота, неона, криптона, ксенона и др.
(табл. 1).
Фракция низкокипящих компонентов, состоящая из гелия,
водорода, неона, находится в ректификационной колонне в газообразном состоянии,
накапливается с паром азота под крышкой конденсатора-испарителя нижней колонны,
выводится из аппарата, и из нее методом низкотемпературной дефлегмации
выделяется неон.
Криптон и ксенон имеют более высокую температуру
кипения, чем остальные компоненты воздуха, поэтому они накапливаются в жидком
кислороде и выделяются из него методом низкотемпературной ректификации в
сочетании с другими методами. После обогащения криптоновый концентрат
представляет собой бинарную смесь криптон-ксенон, которая разделяется методом
низкотемпературной ректификации.
Таблица 1
Основные свойства веществ [4, 29]
|
Вещество
|
Химическая формула
|
Газовая постоянная, Дж/(кг·К)
|
Температура кипения, К
|
Критические параметры
|
Фактор ацентричности ω
|
|
|
|
|
Ткр, K
|
pкр, МПа
|
ρкр, кг/м3
|
|
|
Азот
|
N2
|
0296,8
|
77,36
|
126,2
|
3,398
|
313,1
|
0,04
|
|
Аргон
|
Ar
|
0208,146
|
87,29
|
150,65
|
4,864
|
531,0
|
0,002
|
|
Кислород
|
O2
|
0259,835
|
90,19
|
154,581
|
5,107
|
436,2
|
0,0213
|
|
Пара- водород
|
p-H2
|
4124,2
|
20,39
|
32,984
|
1,287
|
31,43
|
0,2491
|
|
Пара- дейтерий
|
p-D2
|
2063,0
|
23,57
|
38,34
|
1,61
|
20,39
|
0,238
|
|
Криптон
|
Kr
|
0099,215
|
111,7
|
209,40
|
5,49
|
912,0
|
0,002
|
|
Ксенон
|
Xe
|
0063,322
|
165,05
|
289,74
|
5,82
|
1110,0
|
0,002
|
|
Неон
|
Ne
|
0411,94
|
27,17
|
44,45
|
2,721
|
484,0
|
0,0388
|
|
Оксид углерода
|
CO
|
0297,0
|
81,63
|
132,92
|
3,496
|
301,86
|
0,049
|
|
Диоксид углерода
|
CO2
|
0188,9
|
194,7
|
304,2
|
7,376
|
468,19
|
0,225
|
|
Метан
|
CH4
|
0518,3
|
111,7
|
190,6
|
4,6
|
162,02
|
0,0104
|
|
Этан
|
C2H6
|
0276,5
|
161,3
|
305,4
|
4,883
|
203,18
|
0,098
|
Бинарные и тройные смеси, состоящие из основных
компонентов воздуха, в той или иной степени отклоняются от свойств идеальных
газовых смесей и растворов, поэтому данные об их равновесных параметрах
определяют в результате экспериментальных исследований. При обобщении опытных
данных часто используют промежуточные функции γi, Ki [см. уравнения (6) и (7)], с помощью
которых получают выражения, применяемые при расчетах на ЭВМ.
Для удобства обозначения состава бинарных и тройных
смесей, состоящих из компонентов воздуха, принимаем, что индекс 1 относится к N2,
2 - к Аг, 3 - к O2, 4 - к Kr и 5 - к Хе.
2.1 Интерполяционные уравнения расчета равновесия тройной смеси
азот-аргон-кислород
В работах [8, 13, 30] содержится обширная информация
по равновесию системы азот-аргон-кислород, которая обобщена в виде
интерполяционного уравнения для расчета фазового равновесия. Однако более
удобное обобщение данных по фазовому равновесию предложено В.С. Кортиковым и В.С. Суриной, которое приводится в работе [31].
При этом концентрацию в паре и жидкости тройной системы азот-аргон-кислород
определяют по следующим выражениям:
,
где
αi3 -
относительная летучесть i-го компонента в кислороде.
Для
азота
для
аргона
где A13 = 1,1494 - 0,2696 lgp; A31
= 0,8458 - 0,0673 lgp - 0,0369 lgp2;
A12 = 0,9406 -
0,2194 lgp; A32 = 0,1186 - 0,0347 lgp;
B13 = 0,0518 -
0,015 lgp; B12 = 0,0360 - 0,0102 lgp;
B23 = 0,0046 -
0,0011 lgp; A23 = 0,3938 - 0,0957 lgp;
A21 = 0,4777 +
0,0479 lgp - 0,0432 lgp2; p - давление смеси,
кПа.
Свойства
разделяемой смеси, наряду с другими параметрами, определяются закономерностью
изменения фазового равновесия и коэффициентов разделения соответствующих
бинарных систем. Константы фазового равновесия компонентов рассматриваемой
тройной смеси азот-аргон-кислород изменяются по нелинейному закону (рис. 1).
Рис.
1. Изменение констант фазового равновесия компонентов смеси азот-аргон-кислород
при x2 = 0,1
моль/моль: 1, 2, 3 - при p = 150 кПа;
1', 2', 3' - при р = 600 кПа
Наибольшие значения Ki (кривая 1) принадлежат
легкокипящему азоту. Вместе с тем константы фазового равновесия компонентов
системы азот-аргон-кислород имеют сложную зависимость от давления. Так, если
при увеличении давления значения констант K3 и K2
увеличиваются, то K1 уменьшается.
В рассмотренном диапазоне изменения концентраций и
давлений коэффициенты разделения соответствующих бинарных смесей меняются
незначительно. Например, при p = 150 кПа, x2 = 0,10 моль/моль и варьировании x1
от 0,05 до 0,90 моль/моль α12 изменяется от 2,391 до 2,163; α13 - от 3,438 до 3,245; α23 - от 1,438 до 1,500, а при р
= 600 кПа при тех же значениях концентрации компонентов α12 изменяется от 1,926 до 1,922; α13 - от 2,348 до 2,563; α23 - от 1,217 до 1,333.
2.2 Расчет фазового равновесия смесей кислород-криптон и криптон-ксенон
Криптон и ксенон являются наименее летучими
компонентами воздуха, и температура кипения при стандартном давлении у криптона
почти на 30 К, а у ксенона на 70 К выше температуры кипения кислорода. В связи с этим они
накапливаются в жидком кислороде и представляют собой смесь кислород-(криптон +
ксенон), относящуюся к разбавленным растворам, поскольку их суммарная объемная
доля составляет 5·10-6.
Для расчета процесса ректификации на первом этапе
выделения Kr и Xe важно знать зависимость для области малых содержаний
примесей от исходной до 0,0001…0,001 объемной доли Kr. При расчете параметров фазового равновесия рассматриваемую
смесь условно представляют бинарной (кислород-криптон), тогда концентрация
криптона в паре
y4 = K4 x4.
Сопоставление и обобщение опытных данных [32, 33] по
фазовому равновесию смеси (3-4)* в области малых концентраций
позволяет представить зависимость константы K4 от давления в виде
,
а
от температуры - в виде
,
где
р - давление, МПа; Т - температура, К.
Для
расчета параметров фазового равновесия смеси кислород-криптон используем
подпрограмму, текст которой на алгоритмическом языке ФОРТРАН показан на рис. 2.
Рис.
2. Подпрограмма расчета параметров фазового равновесия смеси кислород-криптон
Константа
фазового равновесия разбавленного раствора кислород-криптон имеет практически
постоянное значение. Так, при р = 125 кПа K4 = 0,118,
а при р = 0,15 МПа K4 = 0,123,
в то время как в рассматриваемом интервале изменения концентрации K3 = 1,0.
При
расчете фазового равновесия обогащенной смеси криптон-ксенон (4-5) в целях
получения чистых компонентов могут быть использованы аппроксимационные
зависимости [21], позволяющие определить коэффициент разделения и другие
параметры равновесия. Подпрограмма расчета равновесных параметров системы
криптон-ксенон в интервале давлений от 0,2 до 0,45 МПа показана на рис. 3.
Коэффициент разделения смеси криптон-ксенон можно определить по уравнению
.
В
уравнении (16) коэффициенты A1…A4 представлены в
зависимости от давления:
где
р - давление, МПа.
Рис.
3. Подпрограмма расчета равновесных параметров системы криптон-ксенон
Значение
равновесной концентрации паровой фазы при известном давлении и составе жидкой
фазы определяем из уравнения
.
Значение
температуры кипения смеси при заданных ее параметрах определяем по уравнению
,
где
p - давление смеси, МПа; pст - стандартное давление, MПа, pст = 0,101325 MПа;
Результаты
вычислительного эксперимента по фазовому равновесию смеси криптон-ксенон
показаны на рис. 4 и 5.
Рис.
4. Зависимость изменения констант фазового равновесия смеси криптон-ксенон от
состава жидкой фазы и давления: 1 - 2000 гПа; 2 - 4000 гПа
Из анализа полученных данных следует, что, в отличие от ранее
рассмотренных бинарных смесей, в системе криптон-ксенон имеет место более
заметное изменение значений констант фазового равновесия и коэффициентов
разделения. При этом константа фазового равновесия криптона K4 в широком диапазоне изменения концентраций (см. рис.
4) имеет значение намного больше минимального (K4 = 1,0), а значение константы фазового равновесия
ксенона K5 примерно на порядок ниже по сравнению K4.
Рис. 5. Зависимость коэффициента разделения для смеси криптон-ксенон от
состава жидкой фазы и давления: 1 - 2000 гПа; 2 - 3000 гПа; 3 - 4000 гПа
Такое соотношение между значениями констант фазового равновесия K4 и K5, которое
отражает физико-химические свойства компонентов, позволяет получить большие
величины коэффициентов разделения смеси криптон-ксенон (4-5) (см. рис. 5) с
нелинейной зависимостью от молярного состава смеси.
2.3 Расчет параметров фазового равновесия бинарных и тройных смесей
молекул водорода
Водород, поступающий на низкотемпературную
ректификацию, представляет собой многокомпонентную смесь, состоящую из
следующих форм молекул: параводорода р-Н2, ортоводорода o-Н2, водорододейтерия HD,
ортодейтерия o-D2 и парадейтерия p-D2 (исходная концентрация в смеси молекул дейтерия 0,03 %).
Дейтерий из исходной смеси выделяют в два этапа:
вначале разделяют смесь HD-H2 для получения водорододейтерия, а
затем этот промежуточный продукт в специальном реакторе преобразуют в тройную
систему D2-HD-D2, из которой получают дейтерий.
В связи с недостаточной информацией об
экспериментальных данных по фазовому равновесию рассматриваемых систем и
отклонением смесей HD-H2 и D2-H2 по своим
свойствам от законов идеальных растворов примерно на 1,5 % [34] при расчете
фазового равновесия данных систем были применены законы Рауля и Дальтона. В этом случае коэффициенты разделения для бинарных смесей могут
быть определены по соотношению (3) с использованием аппроксимационных полиномов
[8] для расчета давления насыщенных паров чистых компонентов. Тогда уравнения
для вычисления коэффициентов разделения имеют вид
где
принято, что индекс 1 относится к D2, 2 - к HD и 3 - к Н2.
Аналогичным
образом составлены уравнения для расчета коэффициентов разделения бинарных
смесей нормального водорода.
Температуру
насыщения при фазовых переходах в рассматриваемых смесях находим методом
итераций, в частности методом половинного деления трансцендентного уравнения
вида (5) по заданному давлению разделяемой смеси. При известных значениях αik и составе жидкой фазы бинарной смеси по уравнению типа (4) находим
концентрацию компонентов в паровой фазе, а по соотношению (1) - константы
фазового равновесия.
Для
расчетов параметров фазового равновесия бинарных смесей разработаны
соответствующие подпрограммы. На основе уравнений (22)-(24) с использованием зависимостей
типа (8) составлены подпрограммы расчета фазового равновесия тройных смесей
молекул параводорода, а также нормального водорода.
Подпрограмма
расчета фазового равновесия молекул нормального водорода изображена на рис. 6.
Рис.
6. Подпрограмма расчета фазового равновесия молекул нормального водорода
Среди
бинарных смесей молекул водорода наибольшей разделительной способностью
обладает система 1-3 (рис. 7), что объясняется, прежде всего, большей разностью
парциальных давлений чистых компонентов смеси. Константы фазового равновесия
бинарных смесей молекул водорода в рассмотренном диапазоне давлений (р =
150...350 кПа) имеют близкие значения. Однако наиболее трудноразделимой
системой является смесь дейтерия и водорододейтерия.
Рис.
7. Изменение констант фазового равновесия смеси D2-H2 в зависимости от состава и давления: 1 - 1000
гПа; 2 - 2000 гПа; 3 - 3000 гПа; 4 - 4000 гПа
Коэффициент
разделения αik во всем диапазоне концентраций изменяется незначительно. Например, для
бинарной смеси HD-H2 при давлении р = 150 кПа коэффициент α23
изменяется от 0,450 до 0,373, а при р = 350 кПа - от 0,538 до 0,466 и
имеет прямолинейную зависимость.
2.4 Расчет параметров фазового равновесия многокомпонентной
углеводородсодержащей смеси
Сжиженный природный газ (СПГ) представляет собой
многокомпонентную смесь, состоящую из ряда компонентов с различными
теплофизическими свойствами.
При его транспортировании, хранении, ожижении и
использовании происходят тепломассообменные процессы, для расчета которых может
быть применен алгоритм на базе уравнения состояния Редлиха-Квонга в модификации
Соаве [12]
.
Наиболее
часто встречается задача фазового равновесия, когда по заданному давлению p
и составу жидкой фазы
(N - число компонентов смеси) требуется определить
температуру смеси Т и состав паровой фазы
.
Расчет
фазового равновесия базируется на основе уравнения Соаве и выражения для
расчета коэффициента летучести:
где
;
,
здесь
Tкр i, pкр i - критическая температура и критическое давление i-го компонента смеси; zm
- коэффициент сжимаемости смеси; υm -
молярный объем смеси;
;
,
здесь
OA, OB - коэффициенты (OA =
0,4274802327; OB = 0,08664035);
;
,
здесь
- приведенная температура; ωi - фактор ацентричности молекул i-го
вещества; yi и
yj - содержание i-го и j-го
компонентов в смеси; kij - параметр бинарного взаимодействия компонентов
смеси.
Межфазовое
равновесие характеризуется равенством р, Т и парциальной
летучести отдельных компонентов в любой точке систем:
T(1) = T(2) - для каждой фазы;
p(1) = p(2) - для каждой фазы;
fi(1) = fi(2) - для каждой
фазы (индекс 1 - пар; индекс 2 - жидкость; номера компонентов равны 1, 2, …, n;).
Для
бинарной системы пар-жидкость можно выразить условия равновесия и преобразовать
это равенство в выражение, содержащее коэффициенты летучести и активности:
или
.
На
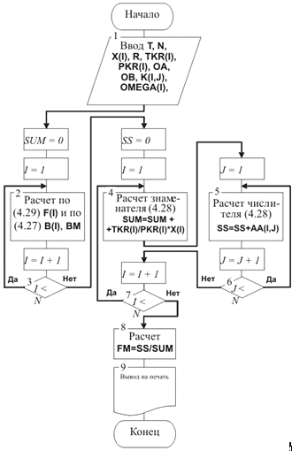
рис. 8 изображена блок-схема расчета коэффициентов уравнения Редлиха-Квонга в
модификации Соаве, которые используются для решения уравнения (26). Структурно
она выполняет три цикла, зависящие от числа компонентов N и состава
смеси (
).
В
блоке 1 осуществляется ввод исходной информации, характеризующей состав и
свойства смеси.
В
блоке 2 рассчитываются индивидуальные коэффициенты Fi
(F(I)* по уравнению (29)), bi
(B(I)) по (27), а также суммарный параметр bm
(BM).
Рис.
8. Блок-схема алгоритма расчета коэффициентов уравнения (26)
В
блоках 4 и 5, которые структурно входят в циклы по I и по J, рассчитываются знаменатель и числитель уравнения
(28), а в блоке 8 завершается его решение определением коэффициента Fm
(FM), учитывающего параметры бинарных взаимодействий компонентов смеси.
Блоки 3, 6 и 7 организуют расчетные циклы по I и J по числу
компонентов смеси от 1 до N. В блоке 9 производится вывод и передача
определенных величин в соответствующие подпрограммы и процедуры.
На
основании приведенной блок-схемы разработана и реализована подпрограмма MIXTURE.
При
решении алгоритма (26)-(31) расчета фазового равновесия по заданным давлению р
и составу жидкой фазы (рис. 9) вначале определяем коэффициент летучести i-го
компонента ψi (FG1(I)),
а затем
состав j-го компонента в паровой фазе (
) и температуру насыщения.
В блоке 1 вводится исходная информация,
характеризующая параметры и свойства смеси. Ряд величин, необходимых для
расчета коэффициента сжимаемости смеси и решения уравнения (26), определяется
по подпрограмме MIXTURE в блоке 2. Это B(I), BM, F(I),
FM, а в блоке 3 вычисляется комплекс а'(Т) (А1). В
блоке 4 находится комплекс a'i(T) (A(l)).

Рис. 9.
Блок-схема алгоритма расчета коэффициента летучести i-го компонента
Решение уравнения (26) осуществляется в блоках 5-9 при
реализации циклов по I и J в пределах от 1 до N.
При решении рассматриваемой задачи фазового равновесия
кроме состава паровой фазы неизвестна еще и температура системы пар-жидкость. В
связи с этим при решении алгоритма (26)-(31) необходимо использовать метод
итераций.
На рис. 10 показан фрагмент подпрограммы расчета
равновесного состава паровой фазы и температуры кипения, где δi (DELTA(I)) - параметр растворимости i-го компонента смеси; δ
(SUM1) - средневзвешенный параметр растворимости; γi (AK(I)) - коэффициент активности i-го компонента; (PF)i (PF(I)) - коэффициент Пойнтинга i-го компонента; ψsi (FLS(I)), ψi (FGV(I)) - коэффициенты летучести жидкости при параметрах
насыщения и пара соответственно.
Рис. 10. Фрагмент подпрограммы расчета фазового
равновесия смеси
3. Основы теории массопередачи при разделении смеси методом ректификации
Ректификация является массообменным (диффузионным)
процессом. Движущая сила процесса массопередачи - разность химических
потенциалов, но в инженерных расчетах удобнее выражать ее через эквивалентные
ей разности концентраций разделяемых компонентов. При этом основные уравнения
массообмена процесса ректификации имеют вид
где
Ky, Kx - коэффициенты массопередачи; βG, βL - коэффициенты массоотдачи в жидкой и паровой фазах; y* - концентрация паровой
фазы, равновесная концентрации жидкости x; x* - концентрация жидкой
фазы, равновесная концентрации пара у; yгр, xгр -
концентрация пара и жидкости на границе раздела фаз (рис.11).
Рис.
11. Схема процесса массообмена: а - изменение концентрации вблизи раздела фаз;
б - графическое изображение процесса массообмена для двухфазной среды
Поскольку
при ректификации криогенных смесей сопротивление границы раздела фаз процессу
массообмена равно 0 и на ней всегда существует равновесие между фазами, то
условие равновесия может быть записано так [29]:
где
- тангенс угла наклона кривой равновесия (см. рис.
11, б).
В
результате сопоставления выражений (31)-(34) и их преобразования получаем
следующие зависимости для расчета коэффициентов массопередачи:
.
Материальный
баланс элементарного участка противоточной ректификационной колонны,
образованного двумя плоскостями, перпендикулярными направлению движения
потоков, может быть представлен в виде
,
где
G, L - массовые потоки пара и жидкости; dy, dx
- изменение концентрации компонентов в соответствующих фазах.
С
другой стороны, если известны значения коэффициентов массоотдачи βG, βL и площадь поверхности контакта фаз dF,
массовый поток вещества dM, перенесенного из одной фазы в другую, можно
определить из выражения
Или
В
результате интегрирования уравнений (37) и (38) с учетом материального баланса
(36) для участка колонны, на котором G = const, L = const и
концентрации соответствующих потоков изменяются от ун до ук
и от xн до xк, могут быть получены
следующие зависимости:
и
,
где
F - полная площадь поверхности контакта фаз;
- средние значения движущей силы процесса
массообмена.
С
учетом уравнений (37) и (39) при допущении, что на данном участке колонны G1=1const и Ку
= const, может быть получено уравнение для определения средней движущей силы
процесса массообмена:
.
При
выражении движущей силы через концентрацию х аналогичным образом можно
получить
.
Уравнения
(41) и (42) могут быть преобразованы для определения общих чисел единиц
переноса (ЧЕП):
;
.
При
получении криопродуктов особой чистоты методом низкотемпературной ректификации
равновесная линия по базовому веществу и микропримеси рассматривается как
прямая линия, т. е.
,
где
K - константа фазового равновесия.
При
этом среднюю движущую силу процесса массообмена по высоте аппарата можно
определить как среднюю логарифмическую:
,
где
- движущая сила процесса в n-м и (n-1)-м
сечениях рассматриваемого участка аппарата соответственно.
При
условии (46) число единиц переноса Ny представляет
собой отношение изменения рабочих концентраций к величине средней движущей
силы:
.
Сопоставление
уравнений (39), (40) и (43), (44) показывает, что величина ЧЕП тем выше, чем
больше значение коэффициента массообмена, поверхность контакта фаз и чем меньше
расход потоков пара и жидкости. В реальных колоннах она зависит от
гидродинамических условий работы аппарата [13, 29], прежде всего от контактных
устройств.
При
анализе интенсивности массообмена на контактных устройствах вводят понятие
коэффициентов массообмена и массоотдачи, отнесенных к единице рабочей
поверхности тарелки. Тогда уравнение (39) может быть представлено в виде
,
где
; fтр -
рабочая поверхность тарелки.
В
результате обобщения многочисленных экспериментальных данных были получены
выражения для расчета коэффициентов массоотдачи βGf и βLf для различных типов контактных устройств. Для определения коэффициента
массоотдачи в паровой фазе может быть использовано уравнение
,
где
c, m, n - константы; wк - скорость пара в колонне, м/с; hст
- статический напор жидкости, м.
Значения
констант c, m, и n для различных контактных устройств приведены в табл.
2.
Таблица 2
Значения констант c, m,
n в уравнении (49)
|
Контактные устройства
|
c
|
m
|
n
|
|
Колпачковые
|
0,126
|
1,05
|
0,65
|
|
Ситчатые
|
0,440
|
0,72
|
0,50
|
|
Провальные
|
0,264
|
0,72
|
0,50
|
Для расчета коэффициента массоотдачи βLf в жидкой фазе была предложена [13]
критериальная зависимость
,
Где
,
здесь
DL - коэффициент диффузии компонента, распределенного в
жидкости, м2/с;
,
здесь
σ
- поверхностное натяжение,
МН/м;
g - ускорение силы тяжести, м/с2;
ρL -
плотность жидкости, кг/м3;
,
здесь
ηL - динамическая вязкость жидкости, Па·с;
,
здесь
Ga - критерий подобия Галилея;
hст - статический напор жидкости, м.
На
эффективность процесса массообмена при ректификации, разделительную способность
контактных устройств существенное влияние оказывает межтарельчатый унос
жидкости, который зависит от скорости пара wк, расстояния между контактными устройствами hm, конструкции тарелок и физико-химических свойств фаз. Он может быть
рассчитан по формуле
,
где
hc = hm -
2,5hст - высота сепарационного пространства, м.
Для
воздухоразделительных колонн [29] справедливо соотношение
.
(52)
Разделительное
действие любого контактного устройства реальной ректификационной колонны может
быть охарактеризовано общим коэффициентом эффективности тарелки
, (53)
где
n,
- число теоретических и действительных тарелок
соответственно.
Значение
Е0 находят опытным путем в промышленных условиях, и оно
изменяется в колоннах с противотоком в пределах от 0,3 до 0,8.
При
потарелочном расчете процесса ректификации важно знать локальный, или точечный,
коэффициент эффективности тарелки
, который
имеет реальное физическое значение и вычисляется на основе кинетических данных.
,
где
- равновесная и текущие концентрации пара на
тарелках; N - ЧЕП.
Например,
при расчете колпачковых тарелок для определения значения ЧЕП может быть
применено следующее выражение [8]:
,
где
hст - высота слоя жидкости на тарелке, см; Kj - константа фазового равновесия; ML
- молекулярная плотность жидкости; ρL -
плотность жидкости, г/см3; w - скорость
пара в прорезях колпачков, см/с; ηL -
динамическая вязкость, 10 Па·с; b - ширина прорези в
колпачках, см.
Интенсификация
процессов тепломассообмена в ректификационных колоннах обеспечивается при
движении жидкости в пленочном режиме, который осуществляется обычно в
насадочных аппаратах. При этом следует отметить, что насадочные
ректификационные колонны являются пленочными аппаратами с непрерывным процессом
массообмена. Для повышения эффективности пленочных ректификационных колонн
воздухоразделительных установок целесообразно применять аппараты с регулярной насадкой.
Для таких колонн определяющими параметрами являются необходимое число единиц
переноса [см. (43) и (44)] и высота насадки эквивалентной теоретической
тарелки.
Для
описания массообмена в пленочных колоннах наиболее приемлема модель
пограничного диффузионного слоя [13], в котором молекулярный перенос начинает
преобладать над турбулентным, происходит резкое изменение содержания вещества и
в слое сосредотачивается основное сопротивление массопереносу.
При
использовании принципа аддитивности диффузионных сопротивлений в жидкой и
паровой фазах можно записать зависимости (35) или
, (56)
где
h0 - высота
единицы переноса, м; h0y, h0x - высоты единиц переноса в паровой и жидкой фазах, м;
Gп - расход
пара, кг/с;
- расход жидкости, кг/с.
При
этом для колонн с контактными устройствами пленочного типа высота единиц
переноса в паровой фазе
, (57)
а
в жидкой фазе
, (58)
где
dэ -
эквивалентный диаметр канала насадки, м; Rey, Rex - числа Рейнольдса; Pry, Prx - числа Прандтля;
-
диффузионные числа Нуссельта для паровой и жидкой фаз; δпр -
приведенная толщина пленки жидкости, м.
С
достаточной для инженерных расчетов точностью диффузионные числа Нуссельта
можно оценить по соотношениям [13]:
. (59)
4. Определение параметров теплофизических свойств смеси
В криогенных системах и установках в качестве рабочих
веществ широко применяются смеси в газообразном, парообразном и жидком
состояниях.
При определении параметров, характеризующих
теплофизические свойства смесей, близких по свойствам к идеальным, часто
используют принцип аддитивности. Так, термические и калорические параметры
могут быть найдены из следующих соотношений:
,
где
hi,
-
удельные энтальпия и изобарная теплоемкость чистых веществ i-го компонента при температуре и давлении смеси; yi - молярная доля i-го компонента в паре.
Выражение
(60) в диапазоне приведенных температур компонентов смеси (τi ≈ 0,9)
применимо и для вычисления с достаточной точностью энтальпии жидкой смеси.
Принцип
аддитивности может быть использован также и для расчета других параметров [8,
12, 35]. Приведем формулы для вычисления некоторых из них.
Молярная
масса смеси:
в
паровой фазе
;
в
жидкой фазе
,
где
μi - молярные массы чистых компонентов; xi
- молярная доля i-го
компонента в жидкости.
Плотность
смеси:
в
паровой фазе
;
в
жидкой фазе
,
где
- плотность пара и плотность жидкости чистых
компонентов.
Кинематическая
вязкость газообразной смеси
,
где
νi -
кинематическая вязкость чистого i-го компонента при
температуре смеси.
Динамическая
вязкость смеси сжиженных газов может быть приближенно вычислена по выражению
,
где
ηi - вязкость чистого вещества i-го
компонента.
Теплопроводность
газообразных или жидких смесей компонентов может быть определена по уравнению
,
где
λi -
теплопроводность чистого вещества i-го компонента.
Для
смеси H2 и Не или водорода и гелия с другими газами расчет
теплопроводности рекомендуется проводить по формуле
,
где
a -
коэффициент, зависящий от молярной доли легколетучего компонента в смеси [8].
Теплопроводность
смеси, состоящей из полярных и неполярных компонентов или из веществ с сильно
различающимися дипольными моментами, может быть вычислена с помощью уравнения
,
где
- сумма молярных долей полярных компонентов.
Поверхностное
натяжение жидкой смеси при давлении, близком к атмосферному, находят по
уравнению
,
где
σi, σk - поверхностное натяжение чистых компонентов смеси; xi, xk - молярные доли компонентов.
В
случае, когда давление смеси выше атмосферного,
,
где
Πi - парахор i-го компонента.
При
определении параметров, характеризующих свойства реальных смесей, находит
применение метод, основанный на принципе соответственных состояний [35]. При
этом для повышения точности расчетов, наряду с приведенными давлением и
температурой, используют еще фактор ацентричности ω, который для большинства основных чистых криогенных
рабочих веществ (см. табл. 1) имеет небольшое числовое значение. Сложность
применения принципа соответственных состояний для смеси заключается в
определении ее истинных критических параметров. В связи с этим пользуются
понятием псевдокритических параметров, которые определяют как сумму
произведений молярной доли компонента на параметр. Указанный прием, называемый
правилом Кэя, записывается так:
,
где
Tкp i - критическая температура i-го
компонента.
Наиболее
простое правило, обеспечивающее получение вполне удовлетворительных результатов
расчета псевдокритического давления, выражается формулой
,
где
zкp i -
коэффициент сжимаемости i-го компонента при критических параметрах; vкр i - критический удельный объем i-го
компонента.
Псевдокритические
параметры смеси, которая состоит из компонентов, удовлетворяющих условиям
и
,
вычисляют с погрешностью не более 2 %.
Фактор
ацентричности во всех случаях аппроксимируют как
.
В
результате зависимость для получения коэффициента сжимаемости смеси может быть
записана следующим образом:
,
где πm = pm/pn кр - приведенное давление смеси; τm = Tm/Tn кр - приведенная температура смеси.
Понятие псевдокритических параметров позволяет
применять для смесей те же закономерности, которые используются при
исследовании свойств чистых веществ в зависимости от их приведенных давлений и
температур. Метод, основанный на принципе соответственных состояний, дает
возможность с некоторой погрешностью быстро вычислять параметры теплофизических
свойств смесей в широком диапазоне давлений и температур.
Алгоритм расчета энтальпии смеси на линии насыщения и
конденсации может быть представлен следующим образом:
1. По
известным значениям энтальпии чистых веществ, находящихся в идеально-газовом
состоянии при р = 0 и
, и ее
составу из выражения (60) получают энтальпию смеси в идеально-газовом
состоянии.
. По
соотношениям (72)-(74) рассчитывают псевдокритические параметры смеси, а из
выражения (75) определяют значения критического коэффициента сжимаемости смеси zm.
. Находят
поправки, связанные с отклонением смеси от идеального состояния, так называемые
изотермические изменения.
В работе [12] на основании преобразования уравнения
Йена и Александера получено, что zкр = 0,29 (большинство криогенных рабочих веществ имеют коэффициент
сжимаемости zкр ≈ 0,29 - см. табл. 1).
Поправку для насыщенного пара определяют по выражению
,
а
для насыщенной жидкости
.
. По
известному значению
и поправкам на изотермическое изменение, полученным
по формулам (76) и (77), для насыщенного пара и насыщенной жидкости
рассчитывают искомые значения энтальпии hG и hL.
В последние годы в связи с широким применением вычислительной
техники появилась возможность производить аппроксимацию массивов
экспериментальных данных, характеризующих теплофизические свойства чистых
компонентов и их смесей, и получать зависимости, удобные для программирования.
Для моделирования тепло- и массообменных процессов в
аппаратах узла ректификации воздуха необходимо знать и другие свойства паровой
и жидкой фаз тройной смеси N2-Ar-O2. Зависимости для их расчета получены В.С. Кортиковым, Л.В.
Лебедевым и приводятся в работе [13].
Температура жидкой тройной смеси на линии насыщения
,
где
температура кипения чистых компонентов
,
здесь
Фi, Hi -
коэффициенты (табл. 3); р - давление, кПа.
Температуры
Т13, Т12, Т23 определяют
из соотношений
,
Где
Таблица
3
Значения
коэффициентов в выражениях (79)-(87) для определения свойств чистых компонентов
тройной смеси азот-аргон-кислород
|
Компонент
|
Ai
|
Bi
|
Ci
|
Di
|
Ei
|
|
N2 Аг O2
|
0,289 0,208 0,257
|
0,00460 0,00423 0,00628
|
0,00943 0,00350 0,00540
|
0,507 0,413 0,384
|
25,160 34,095 36,360
|
|
N2 Аг O2
|
0,211 0,247 0,255
|
0,006725 0,009410 0,008580
|
114 142 131
|
05,46 01,00 14,80
|
256,7 283,3 228,5
|
|
N2 Аг O2
|
302,8255 345,1872 364,7802
|
5,92 5,98 6,05
|
24867,26 26767,32 31222,48
|
6811,50 7364,81 8177,97
|
4,030 3,885 4,186
|
Для
расчета плотности смеси паровой и жидкой фаз по уравнениям (63) и (64)
плотность чистых компонентов пара
(кг/м3)
и жидкости
(кг/м3) вычисляют по следующим формулам:
для
насыщенного пара
;
для
насыщенной жидкости
.
Теплота
испарения смеси (Дж/моль)
,
где
ri - теплота испарения чистых компонентов, Дж/моль,
;
Поверхностное
натяжение жидкой смеси (Н/м)
,
где
, Н/м.
Динамическая
вязкость смеси (Па∙с)
.
Вязкость
чистого компонента:
в
состоянии насыщенного пара
;
в
состоянии насыщенной жидкости
.
Коэффициент
диффузии (м2/с):
в
паре азота
;
в
паре кислорода
,
где
- коэффициенты диффузии компонентов в паре бинарных
систем,
,
здесь
ii - соответствующая пара компонентов паровой бинарной
системы, причем a13 = 9,5; a12 = 9,146; a23 = 9,028.
Коэффициент
диффузии в жидкости:
азота
;
кислорода
,
где
- коэффициенты диффузии компонентов в жидких бинарных
системах;
, здесь ii - соответствующая пара
компонентов жидких бинарных систем, причем b13 = 5,316; b31 = 5,594; b12 = 5,943; b21 = 5,562; b23 = 5,946; b32 = 6,686.
Литература
1. Соколов, Б.А. Основы теплотехники. Теплотехнический
контроль и автоматика котлов: Учебник для нач. проф. образования / Б.А.
Соколов. - М.: ИЦ Академия, 2013. - 128 c.
2. А.Б. Невзорова, Г.Н. Белоусова. Отопление и
вентиляция жилого здания: Пособие по курсовому проектированию: Гомель БелГУТ,
2011-43с.
. Строительная теплотехника/СНБ 2.04.01-97. Мн., 1998
- 32с.
. Тихомиров К.В. Теплотехника, теплогазоснабжение и
вентиляция: Учеб. Для вузов. М: 2001 - 272с.
. Богословский В.Н., Сканави А.н., Отопление: Учеб.
Для вузов. М.: Строй издат, 2001 - 735с.
. Теплотехника, отопление, вентиляция и
кондиционирование воздуха: Учеб. Для вузв/В.М.Гусев, Н.И.Ковалёв, В.А.
Потрошков; Под ред. В.М. Гусева. Л: Строй издат. 2001. - 343с.
. Внутренние санитарно-технические устройства.4.1.
Отопление/ В.Н. Богословский и др. М.: Строй издат., 2000 - 344с.
. Теплоснабжение: Учеб. Пособие для студентов вузов.
М.: Высшая школа, 2010 480с