Технология монтажа сборных железобетонных пролетных строений на мостах

  • Вид работы:
    Реферат
  • Предмет:
    Строительство
  • Язык:
    Русский
    ,
    Формат файла:
    MS Word
    130,9 Кб
  • Опубликовано:
    2014-11-21
Вы можете узнать стоимость помощи в написании студенческой работы.
Помощь в написании работы, которую точно примут!

Технология монтажа сборных железобетонных пролетных строений на мостах

Технологии строительных процессов









РЕФЕРАТ

На тему: Технология монтажа сборных железобетонных пролетных строений на мостах












Санкт-Петербург

г

Конструкция сборных балочных пролетных строений из цельноперевозимых элементов

Сборные балочные пролетные строения можно подразделить на ребристые и плитные. Пролетные строения формируются из отдельных монтажных блоков - балок или плит (рис. 3.1).

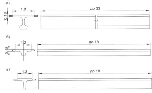
Наибольшее распространение в последние годы находят ребристые пролетные строения (ПС) из цельноперевозимых тавровых балок полной длиной до 33 м (рис. 3.1, а, б, в) с монолитными продольными стыками по плитам балок.

По типу рабочего армирования пролетные строения подразделяются на конструкции:

• с каркасами из арматуры без предварительного напряжения;

• с напрягаемой арматурой в основном из пучков канатов К-7.

Предварительно напряженные цельноперевозимые балки таврового сечения чаще всего изготавливают на заводах МЖБК. В Московском регионе такие заводы расположены в Бескудниково, а также в городах Дмитрове и Хотьково. Максимальная полная длина тавровых цельноперевозимых балок составляет 33 м, вес блоков - около 60 т. Их перевозка осуществляется по автомобильным и железным дорогам.Балки с поперечным сечением, показанным на рис. 1.1, а, и полной длиной 42 м в виду их значительного веса (до 90 т) и полной длины не могут быть цельноперевозимыми.

Возможны два варианта их конструкции:

• балки изготавливают на подходе к мосту в специальной опалубке, арматуру натягивают после бетонирования;

• короткие сборные блоки изготавливают на заводах, укрупнительная сборка балки производится на подходе к мосту.

Плитные пролётные строения из пустотных, сводчатых или П-образных плит (рис. 1.1, г, д, е) применяются значительно реже. В процессе эксплуатации их шпоночные монтажные соединения довольно часто расстраиваются и возникает «клавишный эффект». В настоящее время по верху таких пролётных строений устраивается монолитная железобетонная накладная плита толщиной не менее 110 мм, что делает необходимым классифицировать эти пролетные строения как сборно-монолитные.

За рубежом и в России применяют сборно-монолитные пролетные строения со сборными ребрами, армированными обычной или чаще предварительно напряженной рабочей арматурой (рис. 1.1, ж) и монолитной плитой проезжей части. Ребра таких сборно-монолитных пролетных строений могут иметь различную форму поперечного сечения (трапециевидную, прямоугольную, с нижним уширением и др.) в зависимости от рабочего армирования. Монолитная плита бетонируется на месте после установки ребер в проектное положение.

Рис. 1.1. Конструктивные типы цельноперевозимых балок и плит:

а - типовые балки таврового сечения с предварительно напряженной

арматурой; б - тавровые балки уменьшенной высоты с предварительно напряженной арматурой; в - балки таврового сечения с ненапрягаемой

каркасной арматурой; г - пустотные плиты; д - сводчатые плиты; е - двухконсольные плиты; ж - цельноперевозимый армоэлемент ребра

Краны, применяемые для монтажа балок

В мостостроении применяют общестроительные и специальные краны для строительства мостов. Общестроительные краны предпочтительнее специальных из-за дефицитности последних и необходимости их перевозки, сборки и разборки, что увеличивает временные затраты и стоимость монтажа.

Схемы применения того или иного типа крана для монтажа сборных железобетонных мостовых конструкций обусловлены многими факторами: весом блока, местными условиями (продольный профиль, свойства грунтов в пойме, режим реки, климат), возможностями строительной организации).

Стреловые полноповоротные самоходные краны наиболее широко применяют для монтажа балок полной длиной до 33 м. Основные характеристики кранов приведены в справочниках.

Краны с решетчатыми стрелами обладают более пологими грузовыми характеристиками по сравнению с кранами, имеющими телескопические подпорные стрелы, вес которых в 2-4 раза больше.

Для продолжительных работ на строительной площадке предпочтительнее гусеничные краны, которые работают без выносных опор (аутригеров). Они могут передвигаться при монтаже в пролет моста с балкой весом до 80% от предельной грузоподъемности. Однако для гусеничных кранов в большей степени, чем для колесных, необходим твердый настил из железобетонных (дорожных) плит по слою песка или щебня. Это объясняется тем, что основная нагрузка (собственный вес крана и вес груза) приходится на переднюю часть трака.

Таким образом, пневмоколесные краны имеют преимущества перед гусеничными при частых перемещениях с объекта на объект, однако проигрывают при необходимости работы без выносных опор.

Козловые краны целесообразно применять для монтажа балок пролетных строений в пойме и для эстакад на подходах к мостам при их достаточно большой протяженности (больше 100 м) и количестве пролетов более пяти. При этом рационально использовать козловые краны для комплексного монтажа как тела опор, так и пролетных строений. Для мостов применяют козловые краны К-451 (К-451М) и К-651 грузоподъемностью 45 т и 65 т соответственно, КС-50-42Б грузоподъемностью 50 т и пролетом 42 м. Козловые краны перевозят на объект в разобранном виде. Они состоят из ригеля и двух ног, причем для исключения заклинивания и опрокидывания крана одна нога гибкая. Некоторые конструкции кранов могут иметь только жесткие ноги. Пути под кран состоят из щебеночного балласта, деревянных шпал и рельсов; пути должны быть в высшей степени надежными. Для обеспечения безопасности на концах путей устраиваются упоры (пружинные буферы). В русловой части при относительно небольшой глубине воды необходимо устраивать подкрановые эстакады из инвентарных конструкций, стоимость которых составляет 20% и более от стоимости строительно-монтажных работ.

Консольно-шлюзовые краны являются специальными грузоподъемными механизмами для монтажа мостовых балок длиной 21,24, 33 и 42 м и весом 35-100 т. Они подразделяются на сборноразборные, перевозимые на объект в разобранном виде (ГП 2×30,МКШ-100), и мобильные шлюзовые краны (КШМ-35, КШМ-63, КШМ-40). Мобильные краны перевозят по автомобильным дорогам в собранном виде и применяют для монтажа балок весом 35...63 т и полной длиной 21, 24 и 33 м. Эти краны широко применялись при строительстве мостов в Московской и Ленинградской областях.). Для монтажа балок полной длиной 42 м и весом 90 т применяют шлюзовой кран МКШ-100 грузоподъемностью 100 т. Особенностью конструкции МКШ-100 является перемещение его в пролет с помощью специальной транспортной балки. Аналогичные краны используются за рубежом, например, в Ливане. Работы консольно-шлюзовыми кранами ведутся в несколько стадий.

Стадия 1. Для установки шлюзовых кранов отсыпают насыпь подхода.

Стадия 2. Если кран сборно-разборный, его собирают на насыпи с помощью легких самоходных стреловых кранов. Продолжительность сборки зависит от марки крана и квалификации персонала. Сборка может продолжаться 7-14 суток и более.

Стадия 3. Кран устанавливается в рабочее положение на опоры моста (устой и следующая за ним промежуточная опора). В момент выведения несущей фермы (стрелы крана) в рабочее положение она работает по консольной схеме. Когда передняя нога крана устанавливается на следующую опору, стрела крана начинает работать как балка.

Стадия 4. Под кран со стороны подхода к мосту подается блок пролетного строения (балка). Передний конец балки стропуется к грузовой тележке крана №1. После этого балку продвигают в пролет («шлюзуют»). Передний конец балки остается на тележке №1 и перемещается вместе с ней; задний конец балки перемещается на транспортировочной тележке или вагонетке по путям на подходе.

Стадия 5. Задний конец балки стропуется к грузовой тележке крана №2; балка «дошлюзовывается» в пролет и устанавливается в проектное положение.

Во избежание опрокидывания балки ее опирают на специальные монтажные упоры, устанавливаемые на опорах, а стержни арматурных выпусков плиты «прихватываются» сваркой.

Стадия 6. Переход крана в следующий пролет.

Старый кран КШК 2×32 не мог перемещаться в поперечном направлении по опорам моста. Вследствие этого приходилось после подачи балки в пролет передвигать ее в поперечном направлении домкратами по специальным путям, проложенным по ригелям опор.

В случае использования старого крана ГП 2×30 при габаритах более Г-8 монтаж необходимо вести за несколько проходов крана. Более новые модификации кранов (например, КШМ-35, КШМ-40, КШМ-63 и МКШ-63) для установки балки в проектное положение сами перемещаются вместе с ней по поперечным путям, устраиваемым на опорах. Таким образом, возможен монтаж пролетных строений любых габаритов.

Мобильные шлюзовые краны перемещаются вдоль оси моста на пневмоходу. Для старых кранов необходимо укладывать рельсовый путь. При передвижении шлюзового крана в следующий пролет (стадия 6) стрела крана (несущая ферма) опять работает как консоль до тех пор, пока передняя нога не достигнет следующей опоры моста.

После окончания монтажа во всех пролетах шлюзовые краны разбирают; при монтаже мостов со всеми одинаковыми по длине пролетными строениями кран разбирают на противоположном берегу.

Надо отметить, что применение в нашей стране шлюзовых,особенно сборно-разборных кранов, в настоящий момент достаточно редкое явление. Это объясняется наличием незначительного числа таких кранов, сложностью их перевозки, сборки и разборки. Поэтому многие мостостроительные организации полностью от них отказались. Тем не менее в некоторых случаях использование шлюзовых кранов, даже старых конструкций, продолжается.

Рассмотрим в качестве примера консольно-шлюзовой кран ГП (рис. 2.1.). Его применение начато в 1957 г. Кран разработан ЦНИИПСК для монтажа железобетонных балок.

Рис. 2.1. Консольно-шлюзовый кран грузоподъемностью 2×30 т: 1 - несущая балочная ферма; 2 - противовес; 3 - передняя опора с винтовыми домкратами; 4 - средняя опора портального типа; 5 - задняя опора портального типа; 6 - подкрановый рельсовый путь; 7 - двухконсольная каретка; 8 - грузовая тележка с полиспастами; 9 - монтируемая балка

Кран состоит из несущей балочной фермы, опирающейся приперемещении на две опоры портального типа, а в рабочем положении - еще и на переднюю вспомогательную опору. Задняя опора установлена на ведомую ходовую одноосную тележку, а средняя опора на приводную трехосную тележку. Передняя опора имеет винтовые домкраты для выборки прогиба консоли главной фермы (стрелы), возникающего при выведении ее в пролет.

Для продольного перемещения балок пролетных строений в пределах крана (т.е., для «шлюзования») имеются две двухконсольные каретки, по которым перемещаются грузовые тележки. Посредством этих тележек осуществляется поперечное и вертикальное перемещение устанавливаемых балок. Для обеспечения устойчивости крана во время его перемещения из пролета в пролет предусмотрен противовес из железобетонных блоков. В комплект крана входят две вагонетки для перевозки балок со склада, фермоподъемник грузоподъемностью 60 т для монтажа балок. Для установки балок собранный на подходе кран по рельсовым путям перемещается своим ходом в пролет до тех пор, пока передняя опора окажется над  подферменниками. Опущенная на подферменник передняя опора не должна в последующем мешать установке балок.

Давление на ходовую тележку средней опоры может достичь 90 т, поэтому монтируемые конструкции (балки и опоры моста) должны проверяться расчетом на эту нагрузку. Если балки пролетных строений могут воспринять нагрузку от крана без омоноличивания по результатам расчетов прочности и устойчивости, то обходятся временным объединением балок сваркой выпусков арматуры плиты. При невозможности передачи давления на балки их монтажные стыки омоноличивают. Для более равномерного распределения нагрузки на местах рабочих стоянок крана под тележками вместо шпал укладываются стальные распределительные балки.

Монтаж балок пролетных строений краном ГП 2×30 осуществляется в несколько стадий.

Стадия 1. Балку кранами или специальными подъемниками устанавливают на транспортные вагонетки и перевозят к хвостовой части крана.

Стадия 2. Ближайший к крану конец балки закрепляют на полиспасте первой грузовой тележки и снимают с транспортной.

Стадия 3. Балку с подвешенным передним и опертым на транспортную вагонетку задним концами перемещают в пролет, пока вагонетка не окажется под второй грузовой тележкой крана.

Стадия 4. После закрепления заднего конца балку продолжают перемещать в пролет до проектного положения. Затем балку перемещают в поперечном направлении и опускают на опорные части.

На складе балки грузят на вагонетки, которые затем подаются к крану приводными лебедками или мотовозом. Для строповки балок применяют захватные приспособления, предусмотренные в комплекте крана, а в плите монтируемой балки оставляют отверстия (окна), сквозь которые пропускают тяги, подхватывающие балку.

Для работы в следующем пролете кран перемещается по рельсовым путям, которые для этого укладывают на смонтированное пролетное строение. Также устраиваются отдельные пути для подачи балок. За смену бригада из 8 ч может смонтировать 2-7 балок в зависимости от навыков.

Недостатки крана ГП 2×30:

1. При больших габаритах проезжей части мостового сооружения необходимо проходить краном несколько раз по ширине.

. Трудоемкость сборки крана (бригада монтажников из 12 человек собирает кран 9-20 суток).

Таким образом, применение консольно-шлюзовых кранов наиболее целесообразно в случае равнопролетной схемы моста, включающей три и более пролета, а также при невозможности применения другого кранового оборудования.

Жестконогие деррик-краны большой грузоподъемности применяются для монтажа железобетонных балок. Особенностью этих кранов является сохранение постоянной грузоподъемности в широком диапазоне вылета стрелы. Это объясняется тем, что кран может заанкериваться за смонтированное пролетное строение. Неоспоримым достоинством таких кранов является их относительно малый собственный вес. Существенный недостаток заключается в высокой стоимости монтажа-демонтажа кранов.

Рис. 2.2. Схемы строповки цельноперевозимых балок: а - с использованием строповочных петель; б - через окна в плите; в - через монтажные отверстия; г - с использованием траверсы. 1 - крюк крана; 2 - строп;3 - балка; 4 - строповочные петли; 5 - монтажное отверстие в ребре;6 - траверса; 7 -клинья.

Рис. 2.3. Поперечные сечения по схемам строповки: а - с использованием строповочных петель; б - через окна в плите; в - через монтажные отверстия; г - с использованием траверсы

Разновидности технологических схем монтажа сборных железобетонных балочных разрезных пролетных строений из цельноперевозимых балок и плит

сборный пролетный балка мост

Принципиальные схемы монтажа пролетных строений разрабатываются проектными организациями на стадии «проекта» (в ПОС). Детальные схемы монтажа на стадии «рабочих чертежей» приводятся в проекте производства работ (ППР), который подготавливается в строительной организации.

Для выбора оптимальных схем сооружения пойменных и русловых пролетных строений разрабатываются варианты технологических схем и проводится их сравнение по технико-экономическим показателям.

В практике отечественного мостостроения применяются следующие принципиальные схемы установки цельноперевозимых балок и плит в проектное положение (рис. 3.1, 3.2, 3.3).

Схема 2. Стреловыми самоходными полноповоротными кранами со смонтированной части моста - способ «впереди себя» - для балок полной длиной до 24 м

Схема 3. Стреловыми самоходными кранами с рабочего моста

Схема 4. Самоходными стреловыми кранами со льда - в районах с суровым климатом, при условии набора льдом достаточной прочности

Схема 5. Козловыми кранами - одним или двумя с грунта или с применением подкрановых эстакад

Схема 6. Консольно-шлюзовыми кранами

Схема 7. Плавучими кранами с воды

Схема 8. Деррик-кранами «впереди себя» или монтажным краном типа МК-63, перемещающимся на рельсовом ходу по смонтированным пролетным строениям

Схема 9. Железнодорожными стреловыми кранами снизу, с путей - практикуется для монтажа пролетных строений путепроводов через железные дороги

Схема 10. Специальными консольными железнодорожными кранами сверху - для мостов и путепроводов под железную дорогу

Схема 11. Перекатка балок по временной эстакаде с поперечной передвижкой по капитальным опорам - при отсутствии кранов на строительной площадке

Технические характеристики самоходных строительных стреловых, шлюзовых, козловых, деррик-кранов, железнодорожных консольных кранов и особенности их работы приведены в справочниках. Выбор схемы установки балок и плит зависит в значительной степени от возможностей и опыта работы строительной организации. Во всех случаях, где это возможно, предпочтение отдают общестроительным самоходным стреловым кранам.

Рис. 3.1. Технологические схемы монтажа разрезных балочных пролетных строений самоходными стреловыми кранами: а - монтаж с грунта;

б - монтаж с ранее собранного пролетного строения («впереди себя»); в - монтаж с рабочего моста; г - монтаж со льда

При монтаже особое внимание необходимо уделять точности установки балок на опорные части. Отклонения установленных балок от проектных положений не должны превышать 5-10 мм. В противном случае при эксплуатации могут возникнуть сколы бетона трещины в ребрах на концах балок, которые снижают долговечность конструкций и уменьшают срок их службы.

После установки балок в проектное положение и до начала перемещения кранов в целях безопасности необходимо предусмотреть надежное закрепление смонтированных блоков неустойчивого таврового сечения в проектном положении и обеспечивать геометрическую неизменяемость конструкций до устройства монолитных монтажных стыков по плите. Для этого на опорах под консоли плит балок устанавливаются временные монтажные стойки. Затем устраивается монолитный монтажный стык по плите проезжей части (омоноличивание балок), после чего временные связи демонтируются. Омоноличивание тавровых балок по плите выполняется в следующем порядке:

• выпуски арматуры из плиты выправляют, очищают от коррозии и грязи;

• устанавливают продольную противоусадочную арматуру, которая фиксируется в проектном положении с помощью вязальной проволоки;

• связывают арматурный каркас продольного шва, образуемый

выпусками арматуры из плиты проезжей части и противоусадочной арматурой;

• подвешивают щитовую опалубку

• стык бетонируют и проводят уход за бетоном (в зимнее времяобеспечивают прогрев твердеющего бетона). На каждой стадии осуществляется контроль качества с участием представителей Заказчика и составляются акты приемки работ, в которых оценивается качество и делается вывод о возможности проведения дальнейших работ. Обоснование выбора самоходного стрелового крана осуществляется по графикам «вылет стрелы - грузоподъемность» и «высота подъема груза - грузоподъемность». На чертежах, отражающих технологические схемы, в обязательном порядке приводят эти графики, подтверждающие возможность применения конкретного кранового оборудования. Проекты производства работ должны включать технологические регламенты на основные виды работ, например, на выполнение монтажных стыков сборных железобетонных элементов и другие работы. Эти регламенты разрабатывает технический отдел строительной организации или, в более ответственных случаях, проектные и научные организации.

Рис. 3.2. Технологические схемы монтажа разрезных балочных пролетныхстроений: а - козловым краном; б - консольно-шлюзовым краном;

в - плавучим краном; г - монтажным краном на рельсовом ходу

Рис. 3.3. Технологические схемы монтажа разрезных балочных пролетных строений: а - железнодорожным стреловым краном; б - консольным железнодорожным краном сверху;в - надвижкой по эстакаде (при отсутствии кранов).

Заключение

В настоящий момент при производстве строительства монтажа сборных железобетонных балочных разрезных пролетных строений из цельноперевозимых балок и плит. применяются автоматизированные системы и техника которые позволяет существенно ускорить процессы строительства.

Похожие работы на - Технология монтажа сборных железобетонных пролетных строений на мостах

 

Не нашли материал для своей работы?
Поможем написать уникальную работу
Без плагиата!
Без нейросетей!