Технология возведения подземных сооружений

  • Вид работы:
    Реферат
  • Предмет:
    Строительство
  • Язык:
    Русский
    ,
    Формат файла:
    MS Word
    813,54 Кб
  • Опубликовано:
    2015-03-18
Вы можете узнать стоимость помощи в написании студенческой работы.
Помощь в написании работы, которую точно примут!

Технология возведения подземных сооружений

Содержание

Введение

1.            Опускной способ

2.            Открытый способ

3.            Способ «стена в грунте»

Заключение

Список Литературы

Введение

Подземные сооружения в зависимости от гидрологических условий и глубины заложения осуществляют различными способами, основными из которых являются открытый, опускной и «стена в грунте»

Грунт

Площадь сооружения, м2

Глубина, м, при которой рекомендуется метод строительства



в открытом котловане, до

Опускной более

«стена в грунте», более

Пески естественной влажности

75

5

5,5

5


450

6,5

8,5

6,5


1250

11,5

16

11,5

Суглинки естественной влажности

75

5

6

5


450

6

10

6


1250

13

18,5

13

Пески водонасыщенные

75

5

5

5


450

5

5

5


1250

7

10

7

Суглинки водонасыщенные

75

5,5

6

5,5


450

9

11,5

9


1250

17

20

17


Объемно-планировочные и компоновочные решения заглубленных сооружений, принимаются в соответствии с назначением сооружения и технологией строительного производства. Применяемые решения должны обеспечить уменьшение расхода материалов, индустриальность конструкций, снижение стоимости строительства. Форма и размеры подземной части заглубленных сооружений, определяются заданием на проектирование строительной части объекта, условиями производства работ, инженерно-геологическими условиями, применяемым оборудованием для производства работ и предварительными расчетами.

1. Опускной способ

При строительстве сооружений иногда возникает необходимость устройства мощных или глубоко заложенных фундаментов в сложных гидрогеологических условиях. В этом случае прибегают к устройству опускных систем. Опускная система - ограждающая конструкция в виде бетонной, железобетонной или металлической оболочки, погружаемой в грунт, внутри которой создаётся рабочее пространство для ведения строительно-монтажных работ. Опускные системы выполняются в виде опускных колодцев или кессонов. Опускные колодцы - открытые сверху и снизу полые, как правило массивные, конструкции, погружаемые под действием собственного веса по мере удаления из полости грунта. Кессоны - тонкостенные конструкции, имеющие сверху герметичное перекрытие, образующее рабочую камеру с избыточным давлением, позволяющим работать под водой.

.        Устройство основания под ножевую часть.

.        Бетонирование ножевой (опорной) части и нижнего яруса опускного колодца.

.        Наращивание стенок опускного колодца.

.        Гидроизоляция стенок опускного колодца.

.        Опускание колодца.

.        Бетонирование днища опускного колодца.

Массивные опускные колодцы большого диаметра и кессоны наряду со стеной в грунте используются при возведении заглубленных помещений зданий и сооружений (подземные гаражи, шахты, скиповые ямы, отстойники, водозаборные сооружения, насосные станции и т.д.). По условиям работы и возведения такие конструкции нельзя рассматривать как фундаменты.

Опускные колодцы используются при устройстве заглубленных подземных помещений насосных станций, водозаборов, скиповых ям доменных печей, вагоноопрокидывателей, установок непрерывной разливки стали, подземных гаражей, в качестве массивных и заглубленных фундаментов для опор мостов, набережных, механических прессов и различных испытательных стендов.

Опускные колодцы классифицируются: по материалу - на железобетонные, бетонные, металлические, деревянные, каменные и кирпичные. Опускные колодцы из дерева, камня и кирпича применяются крайне редко; по форме колодца (в плане) - на круглые, прямоугольные, квадратные и с закругленными торцовыми стенками.

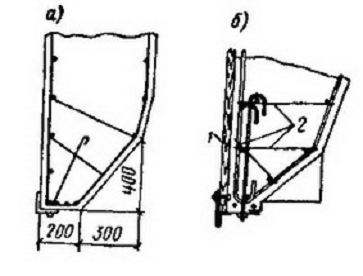
Рис.1 Формы сечений опускных колодцев: а - круглые; б - квадратные; в - прямоугольные; г - с закругленными боковыми стенками; 1 - стена; 2 -днище; 3 - поперечная стенка

Прямоугольная или квадратная форма позволяет более рационально использовать площадь внутреннего помещения под оборудование. Однако опускные колодцы круглой формы более экономичны. Круглый опускной колодец лучше работает на сжатие и меньше подвержен кренам при опускании. Первым этапом процесса сооружения колодца является устройство основания под нож. Надежное основание, рациональная и правильно выбранная схема опирания ножа колодца на грунт гарантируют сохранность колодца при снятии его с временных опор и равномерность погружения в грунт на первых метрах опускания. Чаще всего применяются пять типов оснований под нож опускного колодца.

Подкладки выполняются из круглых бревен, отесанных на один или два канта, из брусьев или железнодорожных шпал, распиленных на два-три отрезка. Деревянные подкладки укладывают на песчаную (песчано-гравийную) подушку с заглублением их на 0,5 диаметра подкладки. Песчаная подушка равномерно распределяет давление на грунт основания и увеличивает площадь опирания.

Песчаные подушки делают втопленными в естественный грунт основания и насыпными. Высота подушки 50-70 см, ширина определяется длиной деревянных подкладок плюс 100 см (по 50 см с каждой стороны). Диаметр подкладок не менее 22-25 см, длина определяется по расчету в зависимости от веса колодца и грунта основания. Обычно длина подкладок находится в пределах 2-3,5 м. Деревянные подкладки на втопленной и на насыпной песчаных подушках применяют для сравнительно небольших колодцев и с незначительным первоначальным их весом.

Для более крупных опускных колодцев сооружают опоры из песчано-гравийных призм, из деревянных опор-подмостей на щебеночном основании и осуществляют бетонирование ножа колодца враспор в подготовленной траншее (котловане).

Такие опоры используются и при бетонировании опускных колодцев на слабых грунтах. Если на месте установки колодца залегают илистые грунты или торф, то их удаляют и заменяют песчаными грунтами. Песчаные и песчано-гравийные призмы для удержания опалубки отсыпают по контуру стен опускного колодца.

Рис.2 Схема подготовки оснований под нож и установка ножа опускного колодца: а - на втопленной песчаной подушке и деревянных подкладках; б - на насыпной песчаной подушке и деревянных подкладках; в - на насыпной песчаной призме; г -в специально подготовленной траншее (котловане); д - на песчано-гравийной (щебеночной) призме и деревянных опорных подмостях; 1 - нож колодца; 2 -деревянные подкладки; 3 - деревянная опалубка или железобетонные плиты-оболочки; 4 - деревянные подмости

Наружный откос призмы выравнивают вручную с уклоном, соответствующим углу наклонной грани ножа опускного колодца. На наружный откос призмы и под банкетку ножа укладывают сборные железобетонные плиты-оболочки, которые затем крепят к армокаркасам ножа. В дальнейшем они служат опалубкой. Могут быть использованы и деревянные щиты опалубки.

Широкое распространение получил способ бетонирования ножа колодца в траншее враспор. При этом одна из сторон траншеи делается с уклоном, соответствующим уклону наклонной грани ножа колодца. На этот откос укладывается опалубка чаще всего из железобетонных плит-оболочек, затем устанавливается армокаркас ножа, закрепляется опалубка у вертикальной грани ножа с другой стороны и нож бетонируется. Подготовка основания под нож сборного из железобетонных панелей опускного колодца имеет некоторые особенности. При монолитном ноже колодца, т. е. когда нож армируется и бетонируется непосредственно на месте погружения колодца, подготовку основания под нож производят так же, как и при монолитных опускных колодцах. В этом случае, чаще всего в грунте основания, делается пионерный котлован, одна сторона которого планируется строго по уклону наклонной ножевой части колодца, а с другой стороны котлована оставляется проход примерно 1 м шириной для установки вертикальных щитов опалубки ножа.

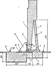
На рис. 3 приведена схема опирания ножа круглого опускного колодца диаметром 60 м и высотой 20,5 м, стены которого выполнены из плоских сборных железобетонных панелей. Таким образом, общий вес колодца передается через опорные стойки, шпалы и упоры на два опорных бетонных кольца, благодаря чему нагрузка равномерно распределяется на всю площадь опоры.

Конструкции опускных колодцев обычно делают массивными с толщиной стен до 1 - 1,5 м и более, что обусловлено не столько требованиями прочности или жесткости, сколько условиями опускания - необходимостью иметь достаточную массу для преодоления сил трения. Широкое внедрение прогрессивного способа опускания колодцев в тиксотропнои рубашке позволило во многих случаях отказаться от массивных колодцев и перейти к облегченным конструкциям оболочкам, толщина стен которых не превышает 60 - 80 см. Оболочки больших диаметров (до 50-60 м) могут быть возведены из монолитного железобетона, что позволяет легко создать нужную массу для погружения колодца. В зависимости от глубины погружения колодца оболочка может собираться по высоте из одного или нескольких ярусов панелей. Длину панелей при глубине погружения колодца менее 15 м следует принимать равной глубине колодца. В многоярусных конструкциях отдельные ярусы соединяют при помощи сплошной монолитной обвязки, до бетонирования которой сваривают выпуски арматуры из верхних и нижних панелей. Горизонтальные стыки могут быть устроены также и на болтах. Для объединений панелей и выравнивая их по высоте в верхней части устраивают сплошной монолитный пояс. Конструкция ножевой части должна обладать повышенной прочностью и распределять нагрузки от массы колодца на грунт, обеспечивая устойчивость всего сооружения. Ножевую часть выполняют сплошного или ребристого (пустотного) сечения высотой 2-3 м. В стенках колодца должны быть предусмотрены пазы или консольные выступы для опирания междуярусных перекрытий и днища, а также закладные детали для крепления инъекторов и манжет.

Рис.3 Схема подготовки оснований под нож опускного колодца из сборных железобетонных панелей: 1 - нож; 2 -деревянные опорные стойки; 3-шнур для взрывчатого вещества; 4 - деревянные брусья (шпалы); 5 - рым; 6- внутреннее опорное кольцо; 7 - уплотненный щебень; 8 - металлическая пластинка; 9-опорное бетонное кольцо форшахты; 10 - фиксирующий металлический уголок; 11 - металлические упоры; 12 - металлические крепежные болты; 13 - металлический резец

При крупнообломочных грунтах либо при наличии в грунтах валунов, обломков скальных пород, остатков деревьев и других предметов, мешающих погружению опускного колодца, применяют кессоны. Кессон представляет собой жесткую коробчатую конструкцию, имеющую потолок и боковые стенки консоли, располагаемые в нижней части фундамента. В рабочую камеру подается сжатый воздух по трубам, давление которого назначается таким, чтобы уравновесить давление столба воды высотой Н и обеспечить ее отсутствие в рабочей камере. Для сообщения с рабочей камерой, которое необходимо в основном для прохода людей, подачи материалов и оборудования, на шахтной трубе устанавливают шлюзовой аппарат. Разработку грунта часто осуществляют гидромонитором, а его удаление - с помощью эрлифта.

В настоящее время кессоны применяются, когда: подземное сооружение возводится в непосредственной близости от существующих зданий или сооружений и есть опасность выноса или выпора грунта из-под подошвы их фундаментов; подземное сооружение строится в сильно обводненных грунтах. В этих условиях опускной колодец требует больших затрат на водоотлив, и поэтому экономически выгоднее использовать кессон. Кроме того, кессон находит применение при проходке горизонтальных туннелей в водонасыщенных грунтах.

По назначению различают кессоны: для устройства глубоких фундаментов и заглубленных зданий; для выполнения различных строительных работ под водой. По способу опускания кессоны делят на: опускаемые с поверхности земли и из котлованов; островные, погружаемые на местности, покрытой водой, с искусственных островков; наплавные, опускаемые с воды путем затопления кессонной камеры, которой предварительно сообщается плавучесть.

Кессоны для устройства глубоких фундаментов и заглубленных зданий

Форма сечения кессонной камеры - прямоугольная, квадратная или круглая. Стенки камеры наклонные и заканчиваются ножом. Высота камеры от банкетки до потолка принимается не менее 2,2 м. В потолке оставляются отверстия для установки шахтной трубы, патрубков для трубопроводов сжатого воздуха, воды, электроэнергии.

Собственно кессон (рис.4) состоит из кессонной камеры, надкессонного строения, гидроизоляции. Обычно кессонная камера устраивается из железобетона и лишь в редких случаях - из металла.

Рис.4 Схемы устройства кессона: а - для заглубленного здания; б - для глубокого фундамента; 1- кессонная камера; 2 надкессонное строение; 3 - гидроизоляция; 4 -шлюзовой аппарат

Рис.5 Нож кессона а-тупой; б- с резцом; 1- опалубка; 2 - хомуты

Надкессонное строение выполняется в зависимости от назначения кессона как колодец с железобетонными стенками (рис.4, а) или в виде сплошного массива из монолитного бетона или железобетона (рис.4, б). Иногда в конструкции надкессонного строения предусматривается установка по наружному контуру кессона тонких железобетонных плит-оболочек, выполняющих роль внешней опалубки. С внутренней стороны плиты-оболочки снабжается выпусками арматуры или покрываются мелким щебнем (щебеночная шуба). То и другое служит связью для бетона, укладываемого в надкессонное строение.

Гидроизоляция наносится на наружные стенки кессона для защиты от проникания воды внутрь кессона. В качестве гидроизоляции применяются торкрет, покраска битумно-бензиновым раствором, штукатурка из холодных битумных мастик и из горячих асфальтовых растворов, металлические листы, свариваемые в виде ванны. Перед нанесением гидроизоляции поверхность бетона должна быть хорошо очищена от грязи, краски, масляных пятен и т. п.

Поскольку опускные колодцы пли кессоны, погружаемые в тиксотропных рубашках, чаще подвержены кренам, следует, как минимум, в начале и в конце каждой смены производить геодезический контроль вертикальности данного колодца. Навалы опускного колодца на грунтовую стену тиксотропной рубашки могут повлечь за собой смятие инъекционных труб и поломку форшахты. Геодезический контроль степени вертикальности опускных сооружений обычно выполняется следующим, хорошо зарекомендовавшим себя простым способом. Подготовленное к погружению опускное сооружение разбивается в плане двумя взаимно перпендикулярными диаметрами на четыре сектора. На наружной поверхности стены по вертикальным линиям, проходящим через концы вышеуказанных диаметров, наносят риски с интервалом, например, в 1 м, разбивая таким образом все сооружение по высоте на несколько ярусов. Риски каждого яруса должны находиться на равных расстояниях от верха или низа колодца. Величина и направление крена, а также общее перемещение вниз определяются нивелиром привязкой отметок рисок одного из, ярусов к реперу. Для того чтобы экскаваторщик, ведущий разработку грунта, мог в любой момент приблизительно определить крен, с внутренней стороны стен закрепляют два отвеса с длиной нити почти на всю глубину колодца. Отвесы располагают в диаметрально противоположных точках.

. Открытый способ

Открытый способ основан на отрывке котлована с естественными откосами или шпунтовым ограждением, на дне которого возводят подземное сооружение. По окончании работ котлован засыпают грунтом.

Работы нулевого цикла базируются на технологиях переработки грунта и устройства земляных сооружений различных типов, форм и расположения по отношению к поверхности.

Стоимость работ нулевого цикла в среднем составляет до 20% общей стоимости строительства, а трудозатраты - до 30% общих трудозатрат.

В состав работ нулевого цикла входят:

•        отрывка котлована с зачисткой основания под фундаменты;

•        водоотвод и водопонижение;

•        подготовительные работы к монтажу подземной части здания - устройство усиленного основания под самоходный кран;

•        разбивка осей фундаментов в вырытом котловане;

•        монтаж подземной части здания, включая фундаменты, фундаментные балки, стены подвалов;

•        прокладка подземных коммуникаций водопровода, канализации, газопровода, теплосети, водостока, дренажа, телефонной канализации, электрокабелей;

•        устройство бетонной подготовки под полы;

•        монтаж перекрытия над подземной частью здания;

•        гидроизоляция фундаментов и стен подвала;

•        обратная засыпка пазух с уплотнением;

•        подготовительные работы к монтажу надземной части здания - укладка подкрановых путей на усиленное основание и монтаж башенного крана.

Отрывку котлована осуществляют экскаваторами разных типов.

Недокопка котлована обычно составляет 15...30 см. Этот слой грунта можно снять бульдозером, планировщиком или вручную.

Подготовка основания. Монтаж фундаментов начинают только после приемки подготовленного основания, а именно:

.        Земляное основание выравнивают путем зачистки при песчаных грунтах или подсыпки песка, если фундаменты сооружают на других грунтах. Толщина песчаной подсыпки должна быть не менее 5 и не более 15 см. Применяется крупный песок без примесей ила или пылеватых частиц. Подсыпку осуществляют и за пределы будущих фундаментов: не менее 10 см с каждой стороны.

.        Сильно ослабленный грунтовыми водами или атмосферными осадками грунт уплотняют щебнем или гравием слоем толщиной 5...8 см, утрамбовывают, сверху устраивают основание из тощего бетона толщиной не менее 3 см.

Песчаная или бетонная подготовка будут обеспечивать равномерную передачу нагрузки от сооружения на земляное основание.

Особенности монтажа подземной части здания.

Основные особенности работ:

•        увязка с земляными работами - монтажный кран или спускают в котлован и для него устраивают въездной пандус или для крана оставляют достаточно широкую полосу для перемещения по кромке котлована;

•        тщательность обратной засыпки грунта и послойного уплотнения, так как необходимо гарантировать устойчивость подкрановых путей, которые часто располагают и в зоне обратной засыпки грунта.

Способ применяют при сравнительно небольшом углублении сооружения (до 15 м) и преимущественно в сухих грунтах. При других условиях используют способы «стена в грунте» или опускной.

. Способ «стена в грунте»

Использование способа “стена в грунте” вместо традиционных методов выполнения работ при сооружении подземных помещений способствует снижению сметной стоимости до 25%, подпорных стен и ограждений - до 50%, противофильтрационных завес - до 65%.

Способ позволяет отказаться от дорогостоящих работ по водоотливу, водопонижению, замораживанию и цементированию грунтов, дает возможность экономить дефицитные материалы, металлический шпунт, снижает энергоемкость строительства, а в отдельных случаях является единственно возможным способом возведения подземного сооружения.

Наиболее трудоемкой и дорогостоящей операцией этого метода остается образование узкой глубокой траншеи в грунтах на глубину до 50 м, шириной 0,5-1,2 м. Для этих целей используют траншеепроходческое оборудование, в основе работы которого - ударный, вибрационный, режущий и водовоздушный принципы разработки грунта в узкой траншее.

К области незаменимости метода “стена в грунте” относятся, в частности, следующие случаи:

         сооружение имеет в плане большие размеры и очень сложную конфигурацию, что исключает возможность успешного применения метода опускного колодца из-за большой вероятности его частых перекосов при опускании, а большая глубина заложения сооружения в водонасыщенных неустойчивых грунтах и сжатые сроки исключают возможность строительства его в открытом котловане;

         сооружение закладывается на значительную глубину в сильно проницаемых суффозионных и подверженных выпору грунтах в условиях отсутствия в его основании водоупорных пластов для сопряжения с ними противофильтрационных шпунтовых или ледопородных диафрагм;

         сооружение большого размера в плане и большой глубины строится в суровых климатических условиях при длительном периоде морозов, что практически исключает его возведение опускным методом из-за опасности примерзания конструкций к окружающему грунту, а возведение его в открытом котловане невозможно в требуемые сроки из-за сильных морозов;

         строительство сооружения производится в непосредственной близости от существующих зданий и сооружений на стесненной площадке, когда опускной метод и строительство в открытом котловане исключаются из-за возникновения опасности нарушить устойчивость смежных сооружений (эти случаи наиболее часты в связи с реконструкцией и расширением промышленных предприятий и подземных объектов в городах);

         сооружение является незамкнутым, то есть линейным или линейно-протяженным (противофильтрационная диафрагма, подпорная стенка или галерея), осуществление которого методом опускного колодца вообще невозможно, а сооружение в открытом котловане также заведомо исключается из-за явной технической нецелесообразности (большие глубины заложения);

         сооружение представляет собой канализационный коллектор, который необходимо уложить в короткие сроки в неустойчивых водонасыщенных грунтах в глубокой траншее при отсутствии металлического шпунта.

Из приведенных примеров незаменимости метода “стена в грунте” видна особо важная роль, которую играет этот метод в техническом прогрессе строительства заглубленных сооружений.

Наряду с выяснением области незаменимости или сравнительной эффективности метода “стена в грунте” следует установить также и область неприменимости этого метода:

         крупнообломочные грунты с пустотами между отдельными камнями, не заполненными мелкозернистыми грунтами, в результате чего глинистая суспензия с большими скоростями проваливается в грунт и траншею создать не удается;

         карстовые грунты с пустотами, которые также могут служить путями для утечки глинистой суспензии, в результате чего ее горизонты в траншее не удается поддержать на нужном уровне, что приводит к быстрому обрушению стенок траншеи;

         текучие илы, особенно когда они залегают у поверхности земли;

         насыпные грунты на территории современных и древних свалок, имеющие включения твердых, в частности металлических предметов, таких как рельсы и балки, а также пересекающие трассу траншеи, подземные сооружения и инженерные сети, перенос которых невозможен;

         твердые включения, в частности валуны, если их размеры превышают 150-200 мм.

Метод “стена в грунте” обладает рядом преимуществ по сравнению с другими методами строительства:

         появляется возможность устройства глубоких котлованов в непосредственной близости от существующих зданий и сооружений, что особенно важно при строительстве в стесненных условиях, а также при реконструкции сооружений;

         резко уменьшается, а в некоторых случаях отпадает необходимость в устройстве водопонижения или водоотлива; уменьшаются объемы земляных работ;

         отпадает необходимость в устройстве обратных засыпок и, следовательно, исключаются неравномерные осадки и просадки полов и отмосток в процессе их эксплуатации;

         появляется возможность одновременно производить работы по устройству надземных и подземных частей зданий, что резко сокращает сроки их строительства.

Метод “стена в грунте” предназначен для возведения заглубленных в грунт сооружений различного назначения. Сущность его заключается в том, что стены заглубленного сооружения возводят в узких и глубоких траншеях, вертикальные борта которых удерживаются от обрушения при помощи глинистой суспензии, создающей избыточное гидростатическое давление на грунт и выполняющей роль крепления траншеи. После устройства в грунте траншей необходимых размеров их заполняют (в зависимости от конструкции и назначения сооружения) монолитным железобетоном, сборными железобетонными элементами или глиногрунтовыми материалами. В результате этого в грунте формируют несущие стены сооружений или противофильтрационные диафрагмы.

Сущность этого способа состоит в том, что в грунте сначала возводят из монолитного бетона (железобетона) или сборных железобетонных элементов конструкции ограждающих стен подземного сооружения, а затем под их защитой разрабатывают грунтовое ядро, устраивают днище и строят внутренние конструкции. Обычно ограждающие стены выполняют роль и фундамента (опоры) подземного сооружения.

Технология «стена в грунте» для устройства подземных сооружений

Сущность технологии «стена в грунте» заключается в том, что в грунте устраивают выемки и траншеи различной конфигурации в плане, в которых возводят ограждающие конструкции подземного сооружения из монолитного или сборного железобетона, затем под защитой этих конструкций разрабатывают внутреннее грунтовое ядро, устраивают днище и воздвигают внутренние конструкции.

В отечественной практике применяют несколько разновидностей метода «стена в грунте»:

свайный, когда ограждающая конструкция образуется из сплошного ряда вертикальных буронабивных свай;

траншейный, выполняемый сплошной стеной из монолитного бетона или сборных железобетонных элементов.

С использованием технологии «стена в грунте» можно сооружать:

противофильтрационные завесы;

туннели мелкого заложения для метро;

подземные гаражи, переходы и развязки на автомобильных дорогах;

емкости для хранения жидкости и отстойники;

фундаменты жилых и промышленных зданий.

В зависимости от свойств грунта и его влажности применяют два метода возведения «стен в грунте».

Сухой - применяется в сухих, маловлажных грунтах, без применения глинистых растворов.

Мокрый - применяется с водонасыщенных, неустойчивых грунтах. Устойчивость стенок выемок и траншей обеспечивается заполнением их глинистыми растворами с тиксотропными свойствами. Тиксотропность - способность раствора загустевать в состоянии покоя и сдерживать стенки от обрушения, а при динамических воздействиях разжижаться. Глинистый раствор приготовляется из бентонитовых глин на глиномешалках, с добавлением химических реактивов (соды, крахмала, ССБ и др.). После очистки от песка и крупных включений раствор перекачивается в ёмкости для хранения (объёмом до 10м3), откуда поступают в траншею (скважину). После использования раствор направляется в ёмкость-отстойник, узел очистки (вибросита) и на повторное использование. Обычно используется глинопорошок заводского изготовления.

Для разработки траншей под защитой глинистого раствора применяют землеройные машины общего назначения - грейферы, драглайны и обратные лопаты, буровые установки вращательного и ударного бурения и специальные ковшовые, фрезерные и струговые установки.

Нецелесообразно применять метод «стена в грунте» в следующих случаях:

в грунтах с пустотами и кавернами, на рыхлых свалочных грунтах;

на участках с бывшей каменной кладкой, обломками бетонных и железобетонных элементов, металлических конструкций и т. д.;

при наличии напорных подземных вод или зон большой местной фильтрации грунтов.

Последовательность работ при устройстве монолитных конструкций по способу «стена в грунте» (рис. 6.1):

·        забуривание торцевых скважин на захватке;

·        разработка траншеи участками или последовательно на всю длину при постоянном заполнении открытой полости бентонитовым раствором, с ограничителями, разделяющими траншею на отдельные захватки;

·        монтаж на полностью отрытой захватке арматурных каркасов и опускание на дно траншеи бетонолитных труб;

·        укладка бетонной смеси методом вертикально перемещаемой трубы с вытеснением глинистого раствора в запасную емкость или на соседний, разрабатываемый участок траншеи.

Бетонирование осуществляют методом вертикально перемещаемой трубы с непрерывной укладкой бетонной смеси и равномерным заполнением ею всей захватки снизу вверх.

Недостатки технологии «стена в грунте»: ухудшается сцепление арматуры с бетоном, так как на поверхность арматуры налипают частицы глинистого раствора; много сложностей возникает при ведении работ в зимнее время, поэтому, когда позволяют условия, используют сборный и сборно-монолитные варианты.

Разрушение грунта в полости траншеи производят тремя методами: разрушение грунта последовательными слоями по вертикали; разрушение грунта последовательными слоями по горизонтали; разрушение грунта по вертикали сплошным забоем.

Траншею при горизонтальном забое составляют из захваток, длина которых меньше их глубин. Разработку ведут на всю длину захватки горизонтальными слоями сверху вниз. При вертикальном забое траншею разрабатывают сразу на всю глубину с одного или обоих ее концов.

Рис. 6 Технологическая схема устройства «стены в грунте»: 1 - устройство форшахты (укрепление верха траншеи); 2 - рытье траншеи на длину захватки; 3 - установка ограничителей (перемычек между захватками); 4 - монтаж арматурных каркасов; 5 - бетонирование на захватке методом вертикально перемещаемой трубы

Разработку траншей короткими захватками длиной 3,6-м в грунтах I-IV групп производят траншейными грейферами при глубинах до 30м и штанговым экскаватором при длине захватки 2,2 м и глубине до 15 м, а траншеи, близкие по форме к кольцевым, разрабатывают штанговыми экскаваторами или грейферами с захватом небольшой длины.

Схема разработки грунта изнутри сооружения выбирается в зависимости от конкретных условий - геометрических размеров сооружений в плане, глубины, способа обеспечения устойчивости стеновых панелей, типа грунта (рис. 7).

Рис. 7 Схема разработки грунта изнутри сооружения

Так как все работы по устройству подземных сооружений методом «стена в грунте» являются скрытыми и их качество можно установить только после выемки грунта из котлована, то контролю за выполнением каждого процесса уделяют большое внимание.

В проекте сооружения требования по контролю качества должны включать проверку характеристик глинистого раствора, траншеи и зачистки дна перед установкой армокаркасов и укладкой бетонной смеси или установкой сборных панелей, правильности установки ограничителей между захватками, которые должны удерживать бетонную смесь от попадания в смежную захватку.

колодец фундамент монолитный грунт

Заключение

Основными признаками для классификации заглубленных сооружений и их конструкций являются назначение сооружения, объемно-планировочное и конструктивное решение, примененные материалы.

По назначению заглубленные сооружения можно классифицировать следующим образом:

         промышленные - подземные этажи и фундаменты промышленных зданий, скиповые ямы, установки непрерывной разливки стали, колодцы для дробильных цехов горнообогатительных комбинатов, бункерные ямы под вагоноопрокидыватели; технологические галереи, туннели и др.;

         жилищно-гражданские - подземные этажи и фундаменты жилых и общественных зданий, закладываемых на глубину до 30 м;

         транспортные - подземные переезды и переходы под улицами с интенсивным движением, станции и туннели метрополитенов мелкого заложения; подземные автомагистрали; подземные автогаражи и автостоянки и другие подсобные сооружения, закладываемые на глубине до 25-30 м;

         гидротехнические - водозаборы и насосные станции, располагаемые в берегах рек, водохранилищ и озер; противофильтрационные диафрагмы, устраиваемые как в теле, так и в основании гидротехнических подпорных сооружений на реках, в прудах-накопителях для промышленных сточных вод, не поддающихся очистке и загрязняющих поверхностные и подземные воды; каналы и дренажные коллекторы; противооползневые и многие другие подобные инженерные сооружения.

По конфигурации эти сооружения и конструкции разделяют на:

         линейные, состоящие только из одной протяженной стены (противофильтрационные диафрагмы, подпорные стены, ленточные фундаменты глубокого заложения и другие подобные сооружения);

         линейно-протяженные, имеющие две протяженные ограждающие стены, обычно параллельные друг другу (галереи, коллекторы для совмещенной прокладки инженерных сетей, туннели с вертикальными стенами и др.);

         сооружения колодезного типа с вертикальными стенами

         круглые, прямоугольные и многоугольные в плане (подземные этажи зданий, подвалы, колодцы дробильных цехов горнообогатительных комбинатов, бункерные ямы, насосные станции и станции метро, колодезные опоры глубокого заложения и другие сооружения.

Список литературы

1.   Булычев Н.С. Механика подземных сооружений // Учебник. - Москва : Недра, 1982 г..

.        Круглицкий Н.Н. [и др.] Траншейные стенки в грунтах. - Киев : Наук. думка, 1973 г..

.        Цветков А.А. Технология возведения зданий и сооружений. Конспект лекций. // Конспект лекций по направлению подготовки 08.03.01 - Строительство. - Великий Новгород : НовГУ им. Ярослава Мудрого., 2014 г.. - стр. 140.

Похожие работы на - Технология возведения подземных сооружений

 

Не нашли материал для своей работы?
Поможем написать уникальную работу
Без плагиата!
Без нейросетей!