Реконструкция тяговой подстанции Толмачёво

  • Вид работы:
    Дипломная (ВКР)
  • Предмет:
    Физика
  • Язык:
    Русский
    ,
    Формат файла:
    MS Word
    954,7 Кб
  • Опубликовано:
    2014-09-11
Вы можете узнать стоимость помощи в написании студенческой работы.
Помощь в написании работы, которую точно примут!

Реконструкция тяговой подстанции Толмачёво

ВЕДЕНИЕ

Электрификация железных дорог является важным звеном технического прогресса на железнодорожном транспорте. Она позволяет достигать высоких показателей по объёму перевозок, производительности труда, снизить потребление топливно-энергетических ресурсов, улучшить воздействие на окружающую среду.

Рост перевозок по железной дороге требует от устройств электроснабжения надёжности, безаварийности работы и снижение потерь при получении, переработки и распределения электрической энергии среди потребителей. При проектировании новых электрифицированных линий железных дорог необходимо применять самое современное оборудование, способное быстро реагировать на изменение параметров тока и напряжения, условий окружающей среды и действия обслуживающего персонала.

На многих действующих железнодорожных электрифицированных магистралях проводится реконструкция действующих устройств. Это связано с необходимостью увеличение грузового сообщения, а также развитию скоростного пассажирского движения. Такие факты приводят к увеличению объёма потребления электрической энергии. Помимо этого тяговые подстанции снабжают железнодорожных нетяговых и районных потребителей. Среди них также отмечается стабильный рост потребления электрической энергии. Появляются новые станции и перегоны. Возрастает нагрузка на линии продольного электроснабжения и СЦБ. В отросли народного хозяйства строятся новые заводы и предприятия, расширяются населённые пункты, что также требует увеличение запаса мощностей.

В дипломном проекте предложен технический проект реконструкции тяговой подстанции Толмачёво Санкт-Петербург Балтийской дистанции электроснабжения. Оборудование данной тяговой подстанции технически устарело и не соответствует современным эксплуатационным требованиям. Необходима срочная замена некоторых устройств, таких например как выключателей, сглаживающего устройства, понижающего трансформатора и другие агрегатов, так как они являются небезопасными для обслуживающего персонала.

Реконструкция тяговой подстанции Толмачёво очень актуальна. Надёжное и качественное электроснабжение - составная и неотъемлемая часть в обеспечении регулярного и безопасного движения грузовых и пассажирских поездов на участке Санкт-Петербург - Луга - Нижний Новгород.

Исходные данные для проектирования получены в Санкт-Петербург Балтийской дистанции электроснабжения ЭЧ-4.

1. АНАЛИЗ СУЩЕСТВУЮЩЕЙ СХЕМЫ ЭЛЕКТРОСНАБЖЕНИЯ И СХЕМЫТЯГОВОЙ ПОДСТАНЦИИ

1.1 Типы тяговых подстанций

Согласно ПУЭ электрическая тяга относится к потребителям первой категории. Поэтому основным требованием к тяговым и трансформаторным подстанциям является обеспечение надёжной работы оборудования и бесперебойного электроснабжения электроподвижного состава. Из этого требования исходят при проектировании и реконструкции тяговых и трансформаторных подстанций, ими руководствуются во время монтажа и эксплуатации. Надёжность работы тяговых и трансформаторных подстанций и бесперебойность электроснабжения тяговых потребителей обеспечиваются правильным выбором схемы питания от электроснабжающей системы, типа и мощности преобразовательных агрегатов, схемы и аппаратуры распределительных устройств, системы резервирования, системы защиты от возможных нарушений нормального режима, системы управления. Тяговые подстанции постоянного тока различают: по первичному напряжению - 6 или 10 кВ, 35 кВ, 110 или 220 кВ; по роли и назначению в электрической схеме питающей энергосистемы - опорные, тупиковые и промежуточные, которые подразделяются на транзитные и отпаечные.

Тяговые подстанции обеспечивают электроэнергией не только электрическую тягу. но и железнодорожных нетяговых потребителей (локомотивные депо, мастерские, погрузочные площадки, обеспечение железнодорожных объектов, связь и др). Одновременно большинство тяговых подстанций на дорогах России питает прилегаюшие промышленные, коммунальные и сельскохозяйственные нагрузки, осуществляя тем самым функции районных подстанций. Нетяговые потребители получают питание или от шин первичного напряжения тяговых подстанций или от шин пониженного напряжения. Выбор напряжения или числа линий для питания нетяговых потребителей зависит от местных условий и категории потребителей.

1.2 Схема внешнего электроснабжения тяговой подстанции Толмачёво

Существующая схема электроснабжения тяговой подстанции Толмачёво представлена на рис 1.1.

Тяговая подстанция Толмачёво в схеме внешнего электроснабжения является транзитной и носит обозначение ПС-406. Она питается от соседних подстанций ПС-538 и ПС -144, также транзитных, по двум линия 110 кВ Толмачёвской - 4 и Толмачёвской - 1 соответственно. Длина линии Толмачёвской -4 - 18,5 км. Она выполнена проводом АС-120. Длина линии Толмачёвской - 1 4,7 км. Она выполнена также проводом марки АС-120.

Подстанция ПС-538является районной и транзитной. Питается от подстанции ПС-259 Белогорка по линии Толмачёвская -3 110 кВ. Подстанция ПС-259 Белогорка осуществляет транзит электрической энергии через высоковольтный масляный выключатель 110 кВ и питается от опорной подстанции ПС - 42 по линии 110 кВ Белогорка - 2. Подстанция ПС- 42 является опорной и имеет источник питания от Гатчинских сетей.

Подстанция ПС-144 транзитная, питается по линии Лужская-7 110 кВ от подстанции ПС-48 Луга. Подстанция ПС-48 Луга - опорная. Она имеет источник питания от Псковэнерго.

В схеме электроснабжения дистанции Тяговая подстанция Толмачёво имеет обозначение ЭЧЭ -14. На вводах подстанции в качестве защитных коммутационных аппаратов установлены отделители и короткозамыкатели. Транзит электрической энергии осуществляется через секционный выключатель марки МКП - 110.

В данном дипломном проекте схема будет предложена реконструкция тяговой подстанции Толмачёво. Схемы внешнего электроснабжения и транзита электрической энергии останутся прежними.

Изменения коснутся только оборудования подстанции, через которое она питается и проходит транзит.

Рис. 1.1 - Схема внешнего электроснабжения тяговой подстанции Толмачёво

1.3 Анализ существующей схемы тяговой подстанции Толмачёво

Тяговая подстанция Толмачёво питается по двум линиям 110кВ. Линия Толмачёвская - 4 питает 1 секцию шин 110 кВ. Линия Толмачёвская- 1 питает 2 секцию шин 110 кВ. На каждом из вводов подстанции установлены линейные разъединители ЛР - 1 л. Тлм - 4 и ЛР - 1 л. Тлм.-1 марки РГ-110/1000. Они совмещены с заземляющими разъединителями линий ЛР - 1 л. Тлм. - 4 и ЛР -1 л. Тлм. - 1 . После линейных разъединителей установлены трансформаторы тока ТТ - 110 л. Тлм. - 4 и ТТ - 110 л. Тлм. - 1 марки ТБМО - 110.

РУ - 110 кВ оснащено ремонтной перемычкой для предотвращения перерыва в транзите электрической энергии при проведении ремонтных работ на тяговой подстанции. В ней установлены два разъединителя РП - 1 110 и РП - 2 110 марки РЛНД - 110/600. Разъединитель РП - 2 110 совмещён с заземляющим разъединителем ЗР РП - 110, установленным со стороны РП - 1 110.

На 1 и 2 секций шин 110 кВ после ремонтной перемычки установлены заземляющие ножи ЗР ЛР Тлм - 4 и ЗР ЛР Тлм - 1. За заземляющими ножами установлены линейные разъединители ЛР л. Тлм - 4 и ЛР л. Тлм - 1 марки РЛНД - 110/600. Транзит электрической энергии и соединение секций шин 110 кВ осуществляет масляный выключатель СВ - 110 марки МКП - 110 - 630 - 20. На выключателе с обеих сторон установлены трансформаторы тока марки ТВ - 110 -20. Также с двух сторон выключателя стоят разъединители СР - 1 110 и СР - 2 110, совмещённые с заземляющими разъединителями ЗР 1, ЗР - 2. Они осуществляют заземление СВ - 110.

На каждой секции шин 110 кВ контроль напряжения обеспечивают трансформаторы напряжения ТН - 110 №1 и ТН - 110 № 2 марки НАМИ - 110.

К первой секции шин подключён главный понижающий трансформатор Т1 марки ТДН - 10000/110/10. Его подключение осуществляется через разъединитель ШР -110 Т1 марки РЛНД - 2 110/600, совмещённый с двумя заземляющими разъединителями ЗР ТН - 110 №1 и 1ЗР - 110 Т1. Между ШР - 110 Т1 и Т1 установлены: ТТ ввода №1 марки ТБМО - 110, ОПН - 110, отделитель ОД - Т1 110 марки ОД - 110/600; заземляющий разъединитель 2ЗР - 110 Т1 и короткозамыкатель КЗ - Т1 марки КЗ - 110. На вводах трансформатора стоят трансформаторы тока марки ТВТ - 110. На нейтрали трансформатора установлен разрядник марки РВС - 35 и заземляющей разъединитель нейтрали ЗРН Т - 1 марки ЗОН - 110м.

Ко второй секции шин подключён главный понижающий трансформатор Т2 марки ТДН - 10000/110/10. Его подключение осуществляется через разъединитель ШР - 110 Т2 марки РЛНД - 2 110/600, совмещённый с двумя заземляющими разъединителями ЗР ТН - 110 №2 и 1ЗР - 110 Т2. Между ШР - 110 Т2 и Т2 установлены: ТТ ввода №2 марки ТБМО - 110, ОПН - 110, отделитель ОД - Т2 110 марки ОД - 110/600; заземляющий разъединитель 2ЗР - 110 Т2 и короткозамыкатель КЗ - Т2 марки КЗ - 110. На вводах трансформатора стоят трансформаторы тока марки ТВТ - 110. На нейтрали трансформатора установлен разрядник марки РВС - 35 и заземляющей разъединитель нейтрали ЗРН Т - 2 марки ЗОН - 110м.

РУ - 110 кВ выполнено проводом марки АС - 120.

От главных понижающих трансформаторов Т1 и Т2 проходит шинный мост к комплектному распределительному устройству 10 кВ (КРУН - 10 кВ). На шинном мосту установлены разрядники РВП - 10. КРУН - 10 кВ представляет собой закрытое помещение в котором располагаются ячейки с высоковольтными выключателями, панелями защит и др. Сквозь все ячейки проходят две секции шин 10 кВ к которым и подключены выключатели. Ячейки конструктивно могут обслуживаться с двух сторон. Каждая ячейка имеет высоковольтный отсек, в котором располагается выключатель и отсек вторичных цепей для устройств автоматики и защиты. Выключатели смонтированы на тележках, что позволяет ставить выключатель в ремонтное положение. Две ячейки выделены под панели защит Т - 1 и Т - 2. К данному РУ подключены трансформаторы ТСН, ТО, ТПВ. Они располагаются на открытой части вблизи здания КРУН. Трансформаторы ТРСН - 1 и ТРСН - 2 имеют собственные ячейки. Секции соединяются через перемычку с выключателем и разъединителем. Все ячейки пронумерованы. Нечётные номера присвоены ячейкам 1 с. ш. Чётные номера имеют ячейки 2 с. ш.

В ячейке № 1 располагается вводной выключатель 10 кВ марки ВМП - 10. На вводных шинах стоит заземляющий разъединитель ЗР10 Т - 1 и трансформаторы тока марки ТПОЛ - 10. В ячейки №3 смонтирована панель защит Т1. Ячейка №7 предназначена для выключателя трансформатора выпрямительного агрегата ПВ - 1 . На данном фидере стоит выключатель В - ПВА1 - 10 марки ВВ/TEL-10-1000-20000. За выключателем стоят трансформаторы тока марки ТПОЛ - 10 и заземляющий разъединитель ЗР ТПВ - 1. В ячейке №9 установлен выключатель с/х фидера №9 марки ВМП - 10. Ниже выключателя - трансформаторы тока марки ТПОЛ - 10. Этот фидер питает Лужский комбикормовый завод. Ячейка №11 включат в себя трансформатор напряжения ТН - 10 №1 марки НТМИ - 10. Он защищён предохранителем ПКТ - 10 и разрядником РВП - 10. Перед ним установлен заземляющий разъединитель ЗР 1СШ. В ячейке №13 стоит секционный выключатель СВ - 10 марки ВМП - 10. За ним располагается заземлитель секционной перемычки 2ЗР СП - 10. Ячейку №14 занимает с/х фидер №3. Он оснащён масляным выключателем марки ВМП - 10, трансформаторами тока марки ТПОЛ - 10 и заземляющем разъединителем ЗР ф3. Ячейку №17 занимает выключатель В - ТСН - 1 трансформатора ТСН - 1. Выключатель марки ВВ/ТЕL 10/1000 - 20000, трансформатор ТМ - 400 10/0,23. Также на этом фидере установлены трансформаторы тока марки ТПОЛ - 10. На самом трансформаторе с двух сторон смонтированы заземляющие разъединители ЗР - 10 ТСН - 1 и ЗР - 220 ТСН - 1. В ячейке № 19 располагается трансформатор ТРСН - 1 марки ТМ - 63 10/0,23 и предохранители ПКТ - 10.

Этот трансформатор подключён к шинам соседней ячейки №21 фидера ПЭ - 1. Ячейку №21 занимает фидер ПЭ - 1, содержащей в себе В - ПЭ1 - 10 марки ВВ/ТЕL 10/1000 - 20000, трансформаторы тока ТПОЛ - 10, заземляющий разъединитель ЗР ПЭ - 1 и ограничители перенапряжений марки PT/TEL 10/11,5. В ячейке №23 находится выключатель трансформатора ТО - 1 марки ВВ/ТЕL 10/1000 - 20000. За ним расположен разъединитель ЗР - 10 ТО -1. Сам трансформатор имеет марку ТМ - 250 10/0,4 и с двух сторон заземляется разъединителями ЗР - 10 ТО - 1 и ЗР - 380 ТО - 1.

В ячейке № 2 располагается вводной выключатель 10 кВ марки ВМП - 10. На вводных шинах стоит заземляющий разъединитель ЗР10 Т - 2 и трансформаторы тока марки ТПОЛ - 10.

В ячейки №4 смонтирована панель защит Т2. В ячейке №6 установлен выключатель с/х фидера №2 марки ВМП - 10, трансформаторы тока марки ТПОЛ - 10 и заземляющий разъединитель линии фидера ЗР Ф2. Данный фидер питает Лужский завод железобетонных консктрукций. Ячейка №8 предназначена для выключателя трансформатора выпрямительного агрегата ПВ - 2 . На данном фидере стоит выключатель В - ПВА2 - 10 марки ВВ/TEL-10-1000-20000. За выключателем стоят трансформаторы тока марки ТПОЛ - 10 и заземляющий разъединитель ЗР ТПВ - 2. В ячейке №10 установлен выключатель с/х фидера №10 марки ВМП - 10. Ниже выключателя - трансформаторы тока марки ТПОЛ - 10. Этот фидер,также как и фидер №9, питает Лужский комбикормовый завод. Ячейка №11 включат в себя трансформатор напряжения ТН - 10 №2 марки НТМИ - 10. Он защищён предохранителем ПКТ - 10 и разрядником РВП - 10. Перед ним установлен заземляющий разъединитель ЗР 2СШ. В ячейке №13 стоит секционный разъединитель СР - 2 10кВ. За ним располагается заземлитель секционной перемычки 2ЗР СП - 10. Ячейку №16 занимает с/х фидер №6. Он оснащён масляным выключателем марки ВМП - 10, трансформаторами тока марки ТПЛ - 10 и заземляющем разъединителем ЗР ф6.

Данный фидер питает Туристическую базу. Ячейку №18занимает выключатель В - ТСН - 2 трансформатора ТСН - 2. Выключатель марки ВВ/ТЕL 10/1000 - 20000, трансформатор ТМ - 400 10/0,23. Также на этом фидере установлены трансформаторы тока марки ТПОЛ - 10. На самом трансформаторе с двух сторон смонтированы заземляющие разъединители ЗР - 10 ТСН - 2 и ЗР - 220 ТСН - 2. В ячейке № 19 располагается трансформатор ТРСН - 2 марки ТМ - 63 10/0,23 и предохранители ПКТ - 10. Этот трансформатор подключён к шинам соседней ячейки №22 фидера ПЭ - 2. Ячейку №22 занимает фидер ПЭ - 2, содержащей в себе В - ПЭ2 - 10 марки ВВ/ТЕL 10/1000 - 20000, трансформаторы тока ТПОЛ - 10, заземляющий разъединитель ЗР ПЭ - 2 и ограничители перенапряжений марки PT/TEL 10/11,5. В ячейке №24 находится выключатель трансформатора ТО - 2 марки ВВ/ТЕL 10/1000 - 20000. За ним расположен разъединитель ЗР - 10 ТО - 2. Сам трансформатор имеет марку ТМ - 250 10/0,4 и с двух сторон заземляется разъединителями ЗР - 10 ТО - 2 и ЗР - 380 ТО - 2.

От ячейки №7 через высоковольтный выключатель В-ПВ1-10 получает питание тяговый трансформатор Т-ПВ1-10 марки ТРДП-12500/10-ЖУ1. На стороне 3,3 кВ смонтирован шинный мост, к которому подключены шесть разрядников марки РВКУ-1,65ДО1. Шинный мост соединяет тяговый трансформатор Т-ПВ1-10 с выпрямительным агрегатом ПВ1 марки ТПЕД-3150-3,3кВ. Данный агрегат имеет двенадцатипульсовую схему выпрямления. За выпрямителем смонтирован шинный мост, который содержит в себе «+» и « - » шины. «+» шина входит в отдельную ячейку, где установлен выключатель БАОД1 марки ВАБ-28-3000-30к. После выключателя стоит шинный разъединитель ШР+-ПВ1 марки РВКЗ-10/3000 с совмещённым заземляющем разъединителем ЗР+-ПВ1. От ШР+-ПВ1 шины приходят на секцию 3,3 кВ.

От ячейки №8 через высоковольтный выключатель В-ПВ2-10 получает питание тяговый трансформатор Т-ПВ1-10 марки УТМРУ-6300/10. На стороне 3,3 кВ смонтирован шинный мост. Он соединяет тяговый трансформатор Т-ПВ2-10 с выпрямительным агрегатом ПВ2 марки ТПЕД-3,15К. Данный агрегат имеет шестипульсовую схему выпрямления. К нему также подключён шкаф RCcзаземляющем разъединителем 2ЗР RC-2. За выпрямителем смонтирован шинный мост, который содержит в себе «+» и « - » шины. «+» шина входит в отдельную ячейку, где установлен выключатель БАОД2 марки ВАБ-28-3000-30к. После выключателя стоит шинный разъединитель ШР+-ПВ2 марки РВКЗ-10/3000 с совмещённым заземляющем разъединителем ЗР+-ПВ1. От ШР+-ПВ1 шины приходят на секцию 3,3 кВ.

Секция шин 3,3 кВ проходит над ячейками сглаживающего устройства, фидеров питания контактной сети с 1 по 4 и ячейкой запасного выключателя. Она содержит в себе «+» главную шину, «+» запасную шину и «-» шину. На секции шин установлен заземляющий разъединитель ЗР-3,3 кВ. Между «+» и «-» шинами подключено сглаживающее устройство. «+» главная с «+» запасной шиной соединяются выключателем БВ-ЗП. Ячейка БВ-ЗП содержит выключатель БВ-ЗП марки ВАБ-28-2500/30л и разъединитель ШР БВ-ЗП марки РВКЗ-10/2000ПР3 с заземляющем разъединителем ЗР БВ-ЗП.

Ячейка фидера №1 контактной сети содержит в себе шинный разъединитель ШР-БВ1 марки РВКЗ-10/2000ПР3 с совмещённым с ним заземляющем разъединителем ЗР-БВ1, быстродействующий выключатель БВ-1 марки ВАБ-206, линейный разъединитель ЛР-БВ2, разъединитель запасной шины ЗП БВ-1 марки РВК-10/2000ПР2 и заземляющий разъединитель ЗР ф1. На крыше ячейки установлен разрядник РМВУ-3,3кВ. К «+» шины подключён шлейф, который ведёт на опору контактной сети с установленным на ней разъединителем марки Ф1, оснащённым моторным приводом марки УМП-II.

Ячейка фидера №2 контактной сети содержит в себе шинный разъединитель ШР-БВ2 марки РВКЗ-10/2000ПР3 с совмещённым с ним заземляющем разъединителем ЗР-БВ2, быстродействующий выключатель БВ-2 марки ВАБ-206, линейный разъединитель ЛР-БВ2, разъединитель запасной шины ЗП БВ-2 марки РВК-10/2000ПР2 и заземляющий разъединитель ЗР ф2. На крыше ячейки установлен разрядник РМВУ-3,3 кВ. К «+» шины подключён шлейф, который ведёт на опору контактной сети с установленным на ней разъединителем марки Ф2, оснащённым моторным приводом марки УМП-II.

Ячейка фидера №3 контактной сети содержит в себе шинный разъединитель ШР-БВ3 марки РВКЗ-10/2000ПР3 с совмещённым с ним заземляющем разъединителем ЗР-БВ3, быстродействующий выключатель БВ-3 марки ВАБ-206, линейный разъединитель ЛР-БВ3, разъединитель запасной шины ЗП БВ-3 марки РВК-10/2000ПР2 и заземляющий разъединитель ЗР ф3. На крыше ячейки установлен разрядник РМВУ-3,3 кВ. К «+» шины подключён шлейф, который ведёт на опору контактной сети с установленным на ней разъединителем марки Ф3, оснащённым моторным приводом марки УМП-II.

Ячейка фидера №4 контактной сети содержит в себе шинный разъединитель ШР-БВ4 марки РВКЗ-10/2000ПР3 с совмещённым с ним заземляющем разъединителем ЗР-БВ4, быстродействующий выключатель БВ-1 марки ВАБ-206, линейный разъединитель ЛР-БВ4, разъединитель запасной шины ЗП БВ-4 марки РВК-10/2000ПР2 и заземляющий разъединитель ЗР ф4. На крыше ячейки установлен разрядник РМВУ-3,3 кВ. К «+» шины подключён шлейф, который ведёт на опору контактной сети с установленным на ней разъединителем марки Ф4, оснащённым моторным приводом марки УМП-II.

«-» шина берёт своё начало от путевых дросселей марки ДТ-1000 и приходит в реактор марки РБФАУ-660/3250. На этом участке «-» шина имеет длину 290м и выполнена проводом марки 5АС-185.

РУ СЦБ представляет собой отдельно стоящее здание, в которое от шин собственных нужд ШСН - 220 В через предохранители ПР - 2 приходит питание на трансформатор СЦБ-1 марки ТМ-63 10/0,23. Сами шины собственных нужд получают питание от трансформаторов ТСН1, ТСН2 или в аварийных ситуациях - от дизельного генератора марки ДГМА-48, также установленного на подстанции. От шин 10кВ СЦБ получают питание два фидера СЦБ1 и СЦБ2. Каждый из фидеров занимает две ячейки. В одной установлен выключатель 10 кВ, в другой - трансформатор напряжения. Выключатели смонтированы на выкатных тележках и имеют обозначения В-СЦБ1-10 и В-СЦБ-10 соответственно. Их марка BB/TEL 10/1000/12500. Ниже выключателей установлены трансформаторы тока марки ТПЛ-10/5 и заземляющие разъединители ЗР СЦБ1, ЗР СЦБ2. Трансформаторы напряжения имеют обозначения ТН-СЦБ1, ТН СЦБ2 и имеют марку НТМИ-10. Они смонтированы также на выкатных тележках и подключены через высоковольтные разъёмы, предохранители ПКТ-10 с подключёнными разрядниками марки РВП-10. От каждого фидера отходит кабель, ведущий на опору с разъединителем Р1 СЦБ и Р2 СЦБ.

1.4 Нагрузка тяговой подстанции Толмачёво

В связи с увеличение грузовых и пассажирских перевозок на магистрали Санкт-Петербург - Луга - Нижний Новгород на тяговых подстанциях наблюдается повышение рост потребляемой мощности тяговой нагрузки в максимальных кратковременных режимах, повышение расхода электрической энергии на тягу поездов, что представлено в табл. 1.1.

Таблица 1.1 Нагрузка тяговой подстанции Толмачёво

Мощность тяги Sт, кВА

Нетранспортные потребители Sнп, кВА

Железнодорожные потребители Sжд, кВА

Собственные нужды Sтсн, кВА

Максимальная

Максимальная

Минимальная

Максимальная

Минимальная

Максимальная

Минимальная

9500

1420

630

800

200

400

100



1.5 Выбор понижающих трансформаторов и преобразовательных агрегатов

Мощность понижающего трансформатора определена из условий аварийного режима, кВА

 

где  - суммарная максимальная нагрузка первичной обмотки

трансформатора, кВА; - коэффициент допустимой перегрузки трансформатора по отношению к его номинальной мощности в аварийном режиме, =1,4; n - количество трансформаторов;

Необходимая мощность первичных обмоток понижающих трансформаторов тяговой подстанции Толмачёво , кВА:

 =( + + +)kp,(1.2)

где kp - коэффициент разновременности максимальных нагрузок тяговых и нетяговых потребителей, kp=0,97.

 = (9500+1420+800+400)=12120(кВА).

Необходимая мощность каждого из двух понижающих трансформаторов согласно условию (1.1):

 

По результатам расчёта в качестве главного понижающего трансформатора принимается трансформатор марки ТДН-10000/10. В качестве главного понижающего трансформатора подстанции Толмачёво принимается трансформатор такой же марки ТДН-10000/10. Мощности этих трансформаторов способны выдержать нагрузки потребителей.

Тяговые трансформаторы и выпрямители также нуждаются в обновлении. В качестве выпрямительного агрегата №1 принимается к установке трансформатор марки ТРДП-12500/10ЖУ1 и выпрямитель модульного типа МТВ-В-6-3.15к-3.3кУ1 производства НИИЭФА-Энерго. Данный агрегат имеет двенадцатипульсовую схему выпрямления. Для выпрямительного агрегата №2 также допущен к установке трансформатор марки ТРДП-12500/10ЖУ1 и выпрямитель МТВ-В-6-3.15к-3.3кУ1 взамен устаревшего шестипульсового, установленного в настоящий момент.

.6 Расчёт мощности тяговой подстанции Толмачёво

Полная мощность тяговой подстанции зависит от количества и мощности понижающих трансформаторов и схемы электроснабжения тяговой подстанции, определяющей её тип. При реконструкции подстанции Толмачёво предусматривает схему внешнего электроснабжения оставить без изменений. При этом транзит мощности также будет проходить через шины 110 кВ подстанции Толмачёво и составит ∑Sтранз.=20 000 кВА.

Полная мощность тяговой подстанции Толмачёво, кВА:

 (1.3)

где ∑- суммарная мощность понижающих трансформаторов, ∑=20 000 кВА; k'р -коэффициент разновременности максимальных нагрузок реконструируемой и соседних подстанций, k'р=0,75;

=(20000+20000)0,75=30000 кВА.

Главная схема подстанции «Толмачёво» в процессе реконструкции изменений не требует. На данный момент требуется замена технически устаревшего оборудования на более современное.

В соответствии с рекомендациями, масляные выключатели, установленные в РУ-35 кВ и РУ-10кВ, заменяются на вакуумные. Устаревшие трансформаторы напряжения и тока требуется заменить на современные. В 2011 году была произведена замена быстродействующих выключателей постоянного тока ВАБ-43 на современные ВАБ-206, поэтому при проведении реконструкции требуется их проверка по всем условиям на существующую мощность с учетом её возможного увеличения. Если установленные выключатели пройдут проверку, то их замена не требуется. Аналоговые элементы релейной защиты и автоматики так же требуется заменить на современные цифровые устройства.

2. РАСЧЁТ АВАРИЙНЫХ ТОКОВ

.1 Расчёт токов короткого замыкания на шинах 110кВ и 10 кВ тяговой подстанции Толмачёво

Расчёт токов 3-х фазного короткого замыкания (т.к.з.) в узловых точках схемы выполнен по относительным сопротивлениям элементов цепи от источника питания до точки короткого замыкания, приведённым к базисной мощности (Sб) и базисному напряжению (Uб) на каждой ступени трансформатора.

За базисную мощность принята Sб=100 МВА, а за базисное напряжение принято среднее напряжение Uср на каждой ступени трансформации: 10,5 и 115 кВ.

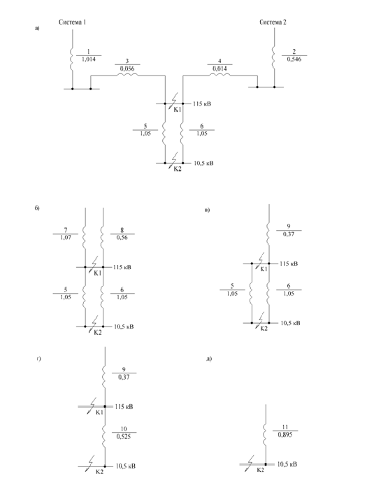
Расчётная схема т.к.з. на шинах тяговой подстанции Толмачёво представлена на рис 2.1.

Мощности короткого замыкания на шинах 110кВ подстанции ПС - 538 (Система№1) для максимального и минимального режима к.з. составляют соответственно:

SK1MAX=98,6 МВА;K1MIN =41,95 МВА.

Мощности короткого замыкания на шинах 110 кВ подстанции ПС - 144 (Система №2) для максимального и минимального режима к.з. составляют соответственно:

SK2MAX=183,2 МВА;MIN=86,5 МВА.

Рис. 2.1 - Схема для расчетов токов на шинах т/п Толмачёво

При принятых значениях базисной мощности и базисных напряжений значение базисного тока на каждой ступени трансформации будет равно

 

где Iбi- базисный ток, кА; Sб-базисная мощность, МВА; Uбi-базисное напряжение, кВ.

 

 

.2 Вычисление относительных сопротивлений элементов цепи короткого замыкания, приведённых к базисной мощности

На рис. 2.2 представлены эквивалентные схемы замещения расчётной схемы для максимального и минимального режимов соответственно. На схемах каждый элемент показан эквивалентным сопротивлением. Все сопротивления пронумерованы дробью, числитель которой - порядковый номер, а знаменатель - сопротивление элемента, выраженное в относительных базисных единицах. Активные сопротивления в данном расчёте не учтены, так как они существенно меньше индуктивных в высоковольтных цепях. Расчётные точки к.з. считаются электрически удалёнными.

Относительные сопротивления питающих энергосистем в режиме максимума до шин опорных подстанций

 

 

 

Относительные сопротивления питающих энергосистем в режиме минимума до шин опорных подстанций

 

 

 

Относительные сопротивления линий

 

где X0 - индуктивное сопротивление 1 км линии, X0 = 0,4 Ом/км; li-длина i-ого участка линии, км.

 

 

Относительные сопротивления обмоток двухобмоточных понижающих трансформаторов

 

где Sн.тр. - номинальная мощность трансформаторов ТДН - 10000/110, МВА; UK-напряжение короткого замыкания трансформаторов, UK= 10,5 %;

 

2.3 Преобразование схем замещения

Схемы замещения упрощены (рис 2.2, рис 2.3) с использованием известных из курса ТОЭ преобразований. Они приведены к видам, изображённым на рис 2.2 для максимального режима. Для минимального режима схемы приведены на рис 2.3.

2.4 Расчёт для максимального режима

Произведены последовательные преобразования исходной схемы замещения (рис 2.2а) в упрощённую схему (рис 2.2д). найдены сопротивления элементов схемы.

X * б7= X* б1 + X * б3                                              (2.6)

X * б7 = 1,014 +0,056 =1,07;

Рис. 2.2 - Эквивалентные схемы замещения для максимального режима

а. Исходная схема замещения

б.

в.           Схемы преобразования

г.

д. Схема результирующего сопротивления

X* б8 = X * б2 + X * б4 ;                                           (2.7)

X * б8 = 0,546 + 0,014 = 0,56.

Результирующее относительное сопротивление цепи к.з. до точки К1 (шины ОРУ 110) в максимальном режиме

 

 

 

 

Результирующее относительное сопротивление цепи к.з. до точки К2 (шины РУ 10) в максимальном режиме:

X* б11 = X * б9 + X * б10;                                                           (2.10)

X * б11= 0,37 + 0,525 = 0,895.

.5 Расчёт для минимального режима к. з.

Произведены последовательные преобразования исходной схемы замещения (рис 2.3а) в упрощённую схему (рис 2.3в) и преобразования (рис 2.3г) в упрощённую схему (рис 2.3е). Определены вычисления для минимального режима.

X* б4= X * б1+ X * б2;                                              (2.11)

X * б4= 1,014 + 0,056 = 1,07.

Рис. 2.3 - Эквивалентные схемы замещения для минимального режима.

а. Исходная схема замещения

б.

в.         Схемы преобразования

г.

д.

е. Схема результирующего сопротивления

X* б5= X * б4+ X * б3;                                                                           (2.12)

X * б4 = 1,07+ 1,05= 2,12.

В минимальном режиме при питании от подстанции ПС - 538 сопротивление до точки К1 составляет 1,07, до точки К2 - 2,12.

X* б9= X * б6+ X * б7;                                                                           (2.13)

X * б9= 0,546 + 0,014 = 0,56.

X* б11= X * б9+ X * б10;                                                             (2.14)

X * б4 = 0,56 + 0,525,=1,085.

В минимальном режиме при питании от подстанции ПС - 144 сопротивление до точки К1 составляет 0,56, до точки К2 - 1,085

Результаты расчётов занесены в табл. 2.1.

Таблица 2.1 Эквивалентные сопротивления для точек к.з.

Точки к.з.

Относительное сопротивление для токов к.з.


Режим MAX

Режим MIN

Точка К1

0,37

1,07

Точка К2

0,895

2,12


2.6 Вычисление мощности 3-x фазного короткого замыкания и токов короткого замыкания на шинах 110 и 10 кВ тяговой подстанции Толмачёво

Мощность 3-х фазного короткого замыкания и токи короткого замыкания в узловых точках тяговой подстанции вычисляют по формулам

 

 )

 

 

Где Ski- мощность 3-х фазного короткого замыкания в i-ой узловой точке схемы, МВА; -действующее значение тока трёхфазного короткого замыкания, кА;  - действующее значение тока двухфазного короткого замыкания, кА; - ударный ток трёхфазного короткого замыкания, кА;

2.7 Расчёт мощности 3 - х фазного короткого замыкания и токов короткого замыкания для максимального режима

Для точки K1 (шины ОРУ 110 кВ):

 

 

 

 

Для точки K2 (шины ОРУ 10 кВ):

 

 

 

 

2.8 Расчёт токов короткого замыкания для минимального режима

Для точки К1 (шины ОРУ 110 кВ):

 

 

Для точки К2 (шины РУ 10 кВ):

 

 

2.9 Вычисление теплового импульса тока 3-х фазного короткого замыкания на шинах 110 и 10 кВ тяговой подстанции Толмачёво

Расчёт теплового импульса тока 3-х фазного короткого замыкания произведён исходя из наиболее тяжёлого режима работы оборудования на рассматриваемом присоединении.

Величина теплового импульса BKi, зависящая как от значения тока 3-х фазного к.з., так и от продолжительности протекания по проводниковым материалам этого тока, определена, кА2сек:

2.19)

где tоткл - время действия тока короткого замыкания (tоткл=tср+tрз+tcв), с; Tа - постоянная времени апериодической составляющей тока к.з.: Tа = 0,03с для шин 110 кВ; Tа = 0,07 с для шин 10 кВ; tср - собственное время срабатывания защиты, tср = 0,1 с; tрз - время выдержки срабатывания защиты: tрз =1,5 с - для шин 110 кВ; tрз =0,5 с для сборных шин 10 кВ; tсв - собственное время отключения выключателя с приводом, с: tсв = 0,04 с - для шин 110 кВ; tсв = 0,02 с для сборных шин 10 кв.

Для оборудования и проводниковых материалов на присоединениях в ОРУ 110 кВ (точка К1):

BK1=1,442∙(0,1+0,5+0,04+0,03)= 1,389 кА2∙с.

Для оборудования и проводниковых материалов на присоединениях в РУ 10 кВ (точка К2):

BK1=6,1432∙(0,1+1,5+0,02+0,07)= 63,77 кА2∙с.

2.10 Вычисление максимального значения апериодической составляющей тока 3-х фазного короткого замыкания на шинах 110 и 10 кВ тяговой подстанцией Толмачёво

Величина максимального значения апериодической составляющей тока 3-х фазного к.з., зависящая как от периодической составляющей тока 3-х фазного к.з., так и от минимального времени до момента размыкания контактов выключателя, определена, кА

 

гдеτ = tзmin + tcd - минимальное время до момента размыкания контактов выключателя, с; tз min-минимальное время действия защиты,tз min=0,01 с.

Для точки K1 (ОРУ 110 кВ):

 

Для точки K1 (РУ 10 кВ):

 

Все конечные результаты расчёта аварийных режимов сведены в табл. 2.2.

Таблица 2.2. Результаты расчётов токов короткого замыкания на шинах 110 и 10 кВ тяговой подстанции Толмачёво

Точка к.з.

Sк, МВА

I(3)Kmax, кА

I(3)Kmin, кА

I(2)Kmax, Ка

I(2)Kmin, кА

у, А

к, А2с

aτ, А

К1 (ОРУ-110 кВ)

270,3

1,44

0,5

1,25

0,43

3,672

1,389

0,826

К2 (ЗРУ- 10 кВ)

111,73

6,143

2,593

5,319

5,186

5,66

3,77

3,525


2.11 Расчёт токов короткого замыкания на шинах 3,3 кВ постоянного тока тяговой подстанции Толмачёво

Расчёт выполнен в именованных единицах. Установившийся максимальный ток к.з. на шинах 3,3 кВ

 (2.21)

где Idн - номинальный выпрямленный ток одного выпрямительного преобразователя подстанции, Idн = 3150 А; N-количество выпрямительных преобразователей на

подстанции, N = 2; ∑Sп.а. - номинальная мощность всех трансформаторов выпрямительных преобразователей ∑Sп.а. = 21,2 МВА; SK-мощность к.з. на шинах 10 кв, SK -мощность к.з. на шинах 10 кВ, SK =111,73 МВА; uk-напряжение к.з. преобразовательных трансформаторов. uK-напряжение к.з. преобразовательных трансформаторов, uK= 8,2 %.

 

3. ВЫБОР И ПРОВЕРКА ОСНОВНОГО ЭЛЕКТРООБОРУДОВАНИЯ

3.1 Предложение изменению оборудования тяговой подстанции Толмачёво

Схема внешнего электроснабжения остаётся без изменений, но при этом необходима замена коммутационных аппаратов, установленных на вводе. В замене нуждается РУ - 10 кВ, РУ - 3,3 кВ и РУ СЦБ. Оборудование этих устройств устарело материально и морально. Также это необходимо для применения в реконструкции подстанции современных комплексов защиты и автоматики, что невозможно выполнить в устройствах, эксплуатируемых в данное время. Одновременно замене подвергнется всё силовое оборудование.

3.2 Открытое распределительное устройство110 кВ

Распределительное устройство 110 кВ открытого типа будет располагаться на порталах и поддерживающих конструкциях из бетона и металла. Будет произведена замена отделителей, дополненных короткозамыкателями, а также масляного многообъёмного секционного выключателя на современные элегазовые. Это обеспечит надёжное и оперативное отключение повреждённых участков цепи без создания искусственного короткого замыкания.

Существующие разъединители необходимо заменить в связи с их техническим износом. Трансформаторы тока, трансформаторы напряжения также нуждаются в замене.

Главные понижающие трансформаторы будут заменены на новые.

3.3 Распределительное устройство 10кВ

Распределительное устройство 10 кВ будет состоять из функциональных блоков КРУ - 10 кВ. Блоки КРУ -10кВ формируются из шкафов комплектного распределительного устройства на базе шкафов «ОМЕГА» производства компании НИИЭФА - ЭНЕРГО.

Также подвергнутся замене трансформаторы ТСН 1,2; ТО 1,2 и ТР СН 1,2 на современные сухие марки ТС. Они будут располагаться на открытой части, вблизи здания РУ 10 кВ.

3.4 Распределительное устройство 3,3 кВ

В рамках реконструкции подстанции будет произведена замена тяговых трансформаторов на ТРДП-12500/10ЖУ1 с двенадцатипульсовой схемой выпрямления. РУ 3,3 кВ будет выполнено ячейками блочно-модульного типа производства компании НИИЭФА - ЭНЕРГО.

3.5 Проверка эксплуатируемых и выбираемых токоведущих частей и электрических аппаратов подстанции Толмачёво

Электрические аппараты выбирают по условиям длительного режима работы сравнением рабочего напряжения и наибольшего длительного рабочего тока присоединения, где предполагается установить данный аппарат, с его номинальным напряжением и током. При выборе учитывается необходимое исполнение аппарата (для наружной и внутренней установки). Выбранные аппараты проверяют по условию короткого замыкания.

3.6 Расчёт максимальных рабочих токов основных присоединений подстанции

За наибольшей рабочий ток присоединения принят ток с учётом допустимой перегрузки длительностью не менее 30 минут. При расчёте максимальных рабочих токов присоединений учтена возможность 1,5-кратной перегрузки трансформаторов в наиболее неблагоприятном режиме, увеличение токов параллельно включённых трансформаторов.

Максимальный рабочий ток вводов 110 кВ и перемычек между ними, А

 

где Sтп - максимальная полная мощность подстанции, кВА; kпр - коэффициент развития потребителей, равный 1,3; Uн - номинальное напряжение на вводе подстанции, кВ.

 

Максимальный рабочий ток первичных обмоток понижающих трансформаторов, А

 

где Sн.тр - максимальная мощность понижающего трансформатора, кВА; kпер - коэффициент допустимой перегрузки трансформатора ,kпер = 1,3; Uн - номинальное напряжение первичной обмотки трансформатора, кВ.

 

Максимальный рабочий ток вводов в РУ - 10 кВ, А:

 

где Smax110 - максимальная мощность понижающего трансформатора, кВА; Uн2 - номинальное напряжение вторичной обмотки трансформатора, кВ.

 

Максимальный рабочий ток сборных шин РУ - 10 кВ и цепи секционного выключателя 10 кВ, А

 

где ∑Sн. тр. - сумма номинальных мощностей понижающих трансформаторов, кВА; kрн - коэффициент распределения нагрузки на шинах 10 кВ, kрн - 0,5; Uн2 - номинальное напряжение вторичной обмотки трансформатора, кВ.

 

Максимальный рабочий ток первичный обмотки преобразовательного трансформатора, А

 

где Smaxт - максимальная мощность тяги, кВА; Uн1 - номинальное напряжение первичной обмотки преобразовательного трансформатора, кВ.

 

Максимальный рабочий ток вторичной обмотки «звезда» преобразовательного трансформатора, А

 

гдеIdн - номинальный выпрямленный ток преобразователя, А.

 

Максимальный рабочий ток вторичной обмотки «треугольник» преобразовательного трансформатора, А

 

Где Idн - номинальный выпрямленный ток преобразователя, А.

 

Так как включение одного выпрямителя полностью обеспечивает мощность тяги, то максимальный рабочий ток по плюсовой шине РУ 3,3 кВ, А

 

Где Idн - номинальный выпрямленный ток преобразователя, А; kрн- коэффициент распределения

 

Максимальный рабочий ток по минусовой шине РУ 3,3 кВ, Ipmax = Idн = 3150 (А).

.7 Выбор токоведущих частей

В настоящее время эксплуатируются в ОРУ 110 кВ гибкие шины АС - 120, в РУ 10 кВ - алюминиевые сборные шины А-50x6, в РУ - 3,3 - сдвоенные сборные шины АДО 10x100.

Все шины проверены по условию:

Iдоп ≥ Ipmax- по длительному допустимому току;

где Iдоп - длительно допускаемый ток для проверяемого сечения, А;

Кроме того все сборные шины 10 кВ проверены по условиям:

электродинамической стойкости токам к.з.

 

по термической стойкости:

 

где q - выбранное сечение шин, мм2; qmin-минимально допустимое сечение токоведущей части по условию её термической стойкости, мм2; BK - тепловой импульс тока к.з. для соответствующей характерной точки подстанции, кА2с; С - термический коэффициент материала шин при нормальных условиях их эксплуатации (для алюминиевых шин С =88); - допустимое механическое напряжение в материале шин, равное 40 Мпа; - механическое напряжение в материале шин, возникающее при коротких замыканиях, Мпа.

Так как шины расположены плашмя, то значение допустимого длительного тока уменьшено на 8%.

Расчётное механическое напряжение в материале шин при возникновении на них короткого замыкания определено, МПа

 

где l - расстояние между соседними опорными изоляторами,l = 1 м; а - расстояние между осями шин соседних фаз, а = 0,25 м; W-момент сопротивления шины относительно оси, перпендикулярной действию усилия,м3.

 

где b - толщина шины, b = 0,006 м; h-ширина шины, h = 0,05 м.

 

 

Гибкие шины 110 кВ проверены по условию термической стойкости, аналогично проверке сборных шин 10 кВ, а также по условиям отсутствия коронирования

E0 ≥ 1,07∙E

Максимальное значение начальной критической напряжённости электрического поля, при котором возникает разряд в виде короны, кВ/cм

 

где m-коэффициент, учитывающий шероховатость поверхности провода,

m = 0,82; rпр - радиус провода, см.

E0 = 30,3 ∙0,82(1 +0,299/√7,6) = 33,25 (кВ/cм).

Напряжённость электрического поля около поверхности провода, кВ/см

 

где U - линейное напряжение, кВ; Dcр - среднее геометрическое расстояние между проводами фаз, см; D = 300 cм.

 

Проверку жёстких шин 3,3 кВ на термическую и динамическую стойкость не производят, учитывая быстродействие защиты и отсутствия динамического действия со стороны других проводников с током.

Соответствие токоведущих шин условиям работы показано в табл. 3.1.

Таблица 3.1 Выбор токоведущих частей

Наименование условия

Паспортные данные оборудования

Условия работы

Гибкие шины АС - 120 ОРУ 110 кВ

По допустимому току По термической стойкости По условию отсутствия коронирования

380 (А) 120 (мм2) 33,25 кВ/см

205  А  1,07∙19=20,33 (кВ/cм)

Сборные шины А-50х6РУ 10 кВ

По длительному допустимому току По термической стойкости  По электродинамической стойкости

740 - 0,08∙740 =680(А) 300 (мм2)  40 (МПа)

578 (А)  7,58 (МПа)

Сдвоенные сборные шины АДО-10х100 РУ-3,3 кВ

По длительному допустимому току

3350

2520 (А)


Условиями соответствия параметров выключателей режимам их работы на подстанции являются:

Uн ≥ Uр - по номинальному напряжению:

Iн ≥ Iр max - по номинальному длительному току;

Iн. откл ≥ Iк - по отключающей способности;

Iпр.с. ≥ Iу  - по электродинамической стойкости току 3-х фазного к.з.;

I2т∙tт ≥ BK - по термической стойкости току 3 - х фазного к.з.,

где  Uн - номинальное напряжение, кВ; Uр - рабочее напряжение РУ;

Iн - номинальный ток, А;

I р max - максимальный рабочий ток присоединения, А;

Iн откл - номинальный ток отключения, кА;

Iк - максимальный ток 3-х фазного к.з., кА;

iпр с - амплитудное значение предельного сквозного тока 3-х фазного к.з.,

кА; iу - ударный ток 3-х фазного к.з., кА;

Iт - предельный ток термической стойкости, кА;

tТ - время прохождения тока термической стойкости, с;

Bк - тепловой импульс тока 3-х фазного к.з. на присоединении, кА∙с;

Соответствие принятых выключателей условиям их работы показано в табл. 3.2.

Таблица 3.2

Выбор выключателей высокого напряжения переменного тока

Наименование условия

Паспортные данные оборудования

Условия работы установки

Ввода РУ-110 кВ, секционный выключатель

Выключатель ВГТ-110II-40/2500У1

По месту установки

У1

Наружная

По номинальному напряжению

110 кВ

110 кВ

По номинальному току

2500 А

205 А

По отключающей способности: - по номинальному периодическому току отключения

40 кА

1,44 кА

По электродинамической стойкости: по ударному току

40 кА

3,672 кА

По термической стойкости

402 ∙ 3 = 4800кА2∙с

1,389кА2∙с

РУ 10 кВ вводов и секционный выключатель

Выключатель BB/Tel - 10/1000-20-У2

По месту установки

У2

Внутренняя

По номинальному напряжению

10 кВ

10 кВ

По номинальному току

1000 А

701 А

По отключающей способности: - по номинальному периодическому току отключения

80 кА

6,143 кА

По электродинамической стойкости: по ударному току

51 кА

15,66 кА

По термической стойкости

202∙3=1200 кА2∙с

63,77 кА2∙с

РУ 10 Выключатели преобразовательных агрегатов

Выключатель BB/Tel - 10/1000-20-У2

По месту установки

У2

Внутренняя

По номинальному напряжению

10 кВ

10 кВ

По номинальному току

1000 А

549 А

По отключающей способности: - по номинальному периодическому току отключения

20 кА

6,143 кА

По электродинамической стойкости: по ударному току

51 кА

15,66 кА

По термической стойкости

202∙3=1200 кА2∙с

63,77 кА2∙с

РУ 10 кВ Выключатели ПЭ, СЦБ, ТСН, ТО, с/х фидера

Выключатель BB/Tel - 10/630-12,5-У2

По месту установки


Внутренняя

По номинальному напряжению

10 кВ

10 кВ

По номинальному току

630 А

До 100 А

По отключающей способности:

12,5 кА

6,143 кА

По электродинамической стойкости: по ударному току

35 кА

15,66 кА

По термической стойкости

12,52 ∙ 3 = 468,8 кА2∙с

63,77 кА2∙с


.9 Проверка быстродействующих выключателей постоянного тока

Условиями соответствия параметров выключателей режимам их работы на подстанции являются:

по номинальному напряжению:

Uн ≥ Uр,

где Uн - номинальное напряжение, кВ; Uр - рабочее напряжение на шинах. кВ. по номинальному длительному току:

Iн ≥ Iр max,

где Iн - номинальный ток, А; Iр max - максимальный рабочий ток фидера контактной сети, А; по наибольшему току отключения:

Iн.откл ≥ k ∙ Ik,

где Iн.откл - наибольший отключаемый ток выключателем, кА; Ik - установившийся ток короткого замыкания на шинах выпрямленного напряжения, кА; k-коэффициент, учитывающий токоограничивающий эффект выключателя, так как ток короткого замыкания отключается раньше, чем он достигнет установившегося значения, k = 0,6.

Соответствие принятых выключателей условиям их работы показано в табл. 3.3.

Таблица 3.3

Выбор быстродействующих выключателей постоянного тока

Наименование условия

Паспортные данные оборудования

Условия работы оборудования

По термической стойкости

12,52 ∙ 3 = 468,8 кА2∙с

63,77 кА2∙с

Ячейка фидера контактной сети и запасного выключателя

ВАБ-206-4000/30-Л-УХЛ4

По назначению По номинальному напряжению По номинальному току По наибольшему току отключения

поляризованный 3,3 кВ 4000 А 35 кА

- 3,3 кВ 2520 22,647 ∙ 0,6 =13,588 кА

Ячейка катодного выключателя

ВАБ-206-4000/30-К-УХЛ4

По назначению По номинальному напряжению По номинальному току По наибольшему току отключения

неполяризованный 3,3 кВ 4000А 35 кА

- 3,3 кВ 3150 А 22,647 ∙ 0,6 =13,588 кА


3.10 Выбор разъединителей

Условиями соответствия параметров разъединителей режимам их работы на подстанции являются:

Uн ≥ Uр - по номинальному напряжению;

Iн ≥ Iр max - по номинальному длительному току;

iпр.с ≥ iу - по электродинамической стойкости току 3-х фазного к.з.;

I2Т ∙ tТ ≥ BK - по термической стойкости току 3-х фазного к.з.

При этом разъединители постоянного тока не нуждаются в проверке на электродинамическую и термическую стойкости по тем же соображениям, что и сборные шины 3,3 кВ.

Соответствие разъединителей условиям их работы показано в табл. 3.4

Таблица 3.4

Выбор разъединителей высокого напряжения переменного тока

Наименование условия

Паспортные данные оборудования

Условия работы оборудования

Ввод 110 кВ

Разъединитель РЛНД-2-110/630 У1

По месту установки По номинальному напряжению По номинальному току По электродинамической стойкости По термической стойкости

У1 110 кв 630 А 80 кА 222 ∙ 3 = 1452 кА2∙с

Наружная 110 кВ 205 А 3,672 кА 1,389кА2∙с

Наименование условия

Паспортные данные оборудования

Условия работы оборудования

Рабочая перемычка 110 кВ

Разъединитель РЛНД-1-110/630 У1

По месту установки По номинальному напряжению По номинальному току По электродинамической стойкости По термической стойкости

У1 110 кв 630 А 80 кА 222 ∙ 3 = 1452 кА2∙с

Наружная 110 кВ 205 А 3,672 кА 1,389 кА2∙с

Ремонтная перемычка 110 кВ

Разъединитель РЛНД-1-110/630 У1

По месту установки По номинальному напряжению По номинальному току По электродинамической стойкости По термической стойкости

У1 110 кв 630 А 80 кА 222 ∙ 3 = 1452 кА2∙с

Наружная 110 кВ 205 А 3,672 кА 1,389 кА2∙с

Разъединители вводов понижающих трансформаторов

Разъединитель РЛНД-1-110/630 У1

По месту установки

У1

Наружная

Наименование условия

Паспортные данные оборудования

Условия работы оборудования

По номинальному напряжению По номинальному току По электродинамической стойкости По термической стойкости

110 кв 630 А 80 кА 222 ∙ 3 = 1452 кА2∙с

110 кВ 79 А 3,672 кА 1,389 кА2∙с

Разъединители ячеек и фидеров контактной сети и запасного выключателя 3,3 кВ

Разъединитель РВР.1-10/4000 У3

По месту установки По номинальному напряжению По номинальному току

У3 10 кВ 4000 А

Внутренняя 3,3 кВ 3150 А


В РУ 10 кВ функции разъединителей выполняют пальцевые (втычные) контакты ячеек ОМЕГА тип К99-59В-1000У3 - для вводов, питания тяговых агрегатов и секционирования сборных шин 10 кВ и К99-56В-630У3 - для остальных ячеек.

3.11 Выбор измерительных трансформаторов тока и напряжения

Условиями соответствия параметров трансформаторов тока режимам их работы на подстанции являются:

Uн ≥ Uр - по номинальному напряжению;

Iн ≥ Iр max - по номинальному длительному току;

√2 ∙ I1н ∙ kД ≥ iу - по электродинамической стойкости току 3-х фазного к.з.;

(I1н ∙ kТ)2 ≥ ВК - по термической стойкости току 3-х фазного к.з.;

Z2H ≥ Z2 - по нагрузке вторичных цепей в классе точности работы вторичной обмотки,

где I1н - номинальный ток первичной обмотки трансформатора тока, кА;

kД - кратность тока электродинамической стойкости трансформатора тока;

kТ - кратность тока термической стойкости трансформатора тока;

tТ - время термической стойкости по каталогу, с;

Z2н - номинальная допустимая нагрузка вторичной обмотки в выбранном классе точности, Ом;

Z2 - вторичная нагрузка, присоединяемая к проверяемой обмотке трансформатора тока, Ом.

Соответствие принятых трансформаторов тока условиям работы показано в табл. 3.5.

Таблица 3.5 Выбор измерительных трансформаторов тока

Наименование условия

Паспортные данные оборудования

Условия работы оборудования

Рабочая и ремонтная перемычки ОРУ 110 кВ

ТФЗМ-110Б-0,5-600/5 У1

По месту установки

У1

Наружная

По номинальному напряжению

110 кВ

110 кВ

По номинальному току

600 А

205 А

По электродинамической стойкости

√2 ∙0,6 ∙ 150 = 127,3 кА

3,672 кА

По термической стойкости

(0,6 ∙ 60)2 ∙ 3 = 3888 кА2с

1,389 кА2∙с

Нагрузка вторичных цепей в классе точности: 0,5

30 ВА

-

Ввод РУ 10 кВ

ТЛО - 10 - 0,5 -1000/5 У3

По месту установки

У3

Внутренняя

По номинальному напряжению

10 кв

10 кВ

По номинальному току

1000 А

701 А

По электродинамической стойкости

100 кА

15,66 кА

По термической стойкости

402 ∙ 1 = 1600 кА2с

63,77 кА2с

Нагрузка вторичных цепей в классе точности: 0,5

10 ВА

-

Наименование условия

Паспортные данные оборудования

Условия работы оборудования

Преобразовательные агрегаты

ТЛО-10-0,5-1000/5 У3

По месту установки

У3

Внутренняя

По номинальному напряжению

10 кв

10 кВ

По номинальному току

1000 А

549А

По электродинамической стойкости

100 кА

15,66 кА

По термической стойкости

402 ∙ 1 = 1600 кА2с

63,77 кА2с

Нагрузка вторичных цепей в классе точности: 0,5

10 ВА

-

Фидера ПЭ, СЦБ, ТСН, ТО, с/х фидера

ТЛО - 10 - 0,5 -1000/5 У3

По месту установки

У3

Наружная

По номинальному напряжению

10 кв

10 кВ

По номинальному току

1000 А

701 А

По электродинамической стойкости

81 кА

15,66 кА

По термической стойкости

31,52 ∙ 1 =992,25 кА2с

63,77 кА2с

Нагрузка вторичных цепей в классе точности: 0,5

10 ВА

-


Условиями соответствия параметров трансформаторов напряжения режимам их работы на подстанции являются:

Uн ≥ Uр - по номинальному напряжению;

S2н ≥ S2 - по нагрузке вторичных цепей в классе точности работы вторичной обмотки,

где S2н - номинальная мощность вторичной обмотки трансформатора в выбранном классе точности, ВА;

S2н = 3Sн - при использовании однофазных трансформаторов напряжения, соединённых в трёхфазную группу звездой;

S2н = 2Sн - при соединении по схеме открытого треугольника;

S2- мощность, потребляемая всеми приборами и реле, присоединяемыми к вторичной обмотке, ВА.

Соответствие принятых трансформаторов напряжения условиям работы показано в табл. 3.6.

Таблица 3.6 Выбор измерительных трансформаторов напряжения

Наименование условия

Паспортные данные оборудования

Условия работы оборудования

ОРУ 110 кВ

НКФ - 110 У1

По месту установки

У1

Наружняя

По номинальному напряжению

110 кв

110 кВ

По нагрузке вторичных обмоток: в классе точности 0,5

400 ВА

-

Дополнительной вторичной обмотки

1200 кА

-


Таблица 3.6 Выбор измерительных трансформаторов напряжения

Наименование условия

Паспортные данные оборудования

Условия работы оборудования

РУ 10 кВ

ЗНОЛ -10 У3

По месту установки

У3

Внутренняя

По номинальному напряжению

10 кв

10 кВ

По нагрузке вторичных обмоток: в классе точности 0,5

120 ВА

-


3.12 Выбор устройств защит от перенапряжений и предохранителей

Всё оборудование подстанций защищено от коммутационных и атмосферных перенапряжений. Условиями соответствия электрических параметров ограничителей напряжения условиями их работы при эксплуатации подстанции является:

Uн ≥ Uр - по номинальному напряжению;

Соответствие принятых ограничителей напряжения условиями работы показано в табл. 3.7.

Таблица 3.7 Выбор ограничителей перенапряжений

Наименование условия

Паспортные данные оборудования

Условия работы оборудования

0РУ 110 кВ

Ограничитель напряжения ОПН - 110 УХЛ1

По месту установки

УХЛ1

Наружняя

По номинальному напряжению

110 кВ

110 кВ

РУ 10 кВ

Ограничитель напряжения ОПН - PT/TEL

По месту установки

У3

Внутренняя

По номинальному напряжению

10 кВ

10 кВ


Для защиты измерительных трансформаторов напряжения применены предохранители марки ПКН001-10 У3.

3.13 Выбор аккумуляторной батареи

Для более надёжного питания цепей постоянного тока тяговой подстанции Толмачёво в режиме подзаряда от зарядно-подзарядного агрегата необходима замена эксплуатируемой в настоящее время аккумуляторной батареи СК-6 на более компактную, экологически чистую батарею фирмы «ХОППЕК».

Она состоит из 34-х шестивольтовых блока типа 30PzS150. Ёмкость аккумуляторной батареи 150 Ач обеспечит работу привода выключателя … после заряда током 15А в течении 10 часов при отключении зарядно-подзарядного устройства, а также работу устройства ТМ в течении 4 - 5 часов.

3.14 Выбор сглаживающего устройства

Замена выпрямительного агрегата ПВЭ-3 на агрегат с двенадцатипульсовой схемой выпрямления позволит заменить существующий двухзвенный сглаживающий фильтр резонансно-апериодическое фильтрустройство. При этом индуктивность и емкость резонансной цепочки, настроенной на частоту 100 Гц, составят 31,7x10-3мГн и 80 мкФ соответственно, а емкость апериодичекого звена - 400 мкФ. В этом случае оптимальное значение индуктивности реактора в цепи отсасывающего фидера составит 5,0 мГн. Он идёт в комплекте блочно-модульного комплека 3.3 кВ производства НИИЭФА-Энерго

Конкретные типы основного электрооборудования подстанции Толмачёво в соответствии с электрической схемой, внесены в табл. 3.8.

Спецификация нового оборудования тяговой подстанции Толмачёво

Обозначение

Наименование

Тип

Кол.

Прим.

Т 1 - 2

Главный понижающий трансформатор

ТДН-10000/10

2


Т 9 - 10

Преобразовательный трансформатор

ТРДП-12500/10ЖУ1

2


Т 3 - 6

Трансформатор собственных нужд

ТМ - 400

2


Т 5 - 8

Трансформатор отопления

ТМ - 250

2


Т 4 - 7

Трансформатор резерва

ТМ - 63

2


Т 12

Трансформатор СЦБ

ТМ - 63

1


UD 1 - 2

Выпрямительный агрегат

МТВ-В-6-3.15к-3.3кУ1

2


Q1 - 3

Выключатель секционный, выключатели вводов

ВГТ-110-40/2500УХЛ1

3


Q 4, 15, 8, 6,17

Вакуумный выключатель 10 кВ

BB/Tel-10/1000-20-у2

5


Q 5-14, 16,18-23

Вакуумный выключатель 10 кВ

BB/Tel-10/630-12,5-у2



QF 1 - 4

БВ фидеров 1 - 4

ВАБ-206-4000/30-Л-УХЛ4



TA 1 - TA 7

Трансформатор тока 110 кВ

ТФЗМ-110Б-0,5-600/5 У1



TA 8 - ТФ 22

Трансформатор тока 10 кВ

ТЛО-10-0,5-1000/5 У3



TV 1 - 2

Трансформатор напряжения 110 кв

НКФ - 110 У1



TV 3 - 4

Трансформатор напряжения 10 кв

ЗНОЛ - 10 У3



QS 1 - 10

Разъединитель трёхполюсный с заземлителями 110 кВ

РЛНД-1-110-630 У1



QS 12 - 17

Разъединитель РУ-3,3 кВ

РВР.1-10/4000 У3



FV 1 - 2

ОПН-110 кВ

ОПН -110 УХЛ1



FV 3 -16

ОПН - 10 кВ

ОПН - PT/Tel -10



FU 1 - 3

Предохранители 10 кВ

ПКН001 - 10 У3




4. ПЛАНИРОВОЧНЫЕ И КОНСТРУКТИВНЫЕ РЕШЕНИЯ

4.1 Основные планировочные решения

Требования при сооружении распределительных устройств тяговых подстанций определены Правилами устройства электроустановок. РУ должны обеспечивать надёжность работы, безопасность их обслуживания, ограничение аварий в случае их возникновения, экономичность и возможность их расширения.

При разработке планировочных решений учтено существующее расположение оборудования. На тяговой подстанции Толмачёво распределительные устройства 110 кВ, 10 кВ и 3,3 кв выполняются наружной установки. Для предотвращения утечки масла в аварийных ситуациях предусмотрены маслоприёмники с гравийными ямами. Для доставки оборудования на подстанцию предусмотрены два железнодорожных пути.

Распределительное устройство 10 кВ будет размещено в двух блоках. Блок РУ - 10 кВ является конструктивно и функционально законченным устройством секции шин. Блоки состоят из ячеек серии «Омега» НИИЭФА-Энерго:

ячейка выключателя ввода №1;

ячейка выключателя ввода №2;

ячейка выключателя фидера завода железобетонных конструкций;

ячейка выключателя резерва;

ячейка выключателя выпрямительного агрегата№1;

ячейка выключателя выпрямительного агрегата №2;

ячейка выключателя фидера Лужского комбикормового завода №1;

ячейка выключателя фидера Лужского комбикормового завода №2;

ячейка ТН-10 секции шин №1;

ячейка ТН-10 секции шин №2;

ячейка секционного выключателя;

ячейка выключателя фидера «Жельци»;

ячейка выключателя фидера «Турбаза»;

ячейка выключателя ТСН-1;

ячейка выключателя ТСН-2;

ячейка выключателя ПЭ-1;

ячейка выключателя ПЭ-2;

ячейка выключателя ТО-1;

ячейка выключателя ТО-2;

ячейка ввода СЦБ;

ячейка выключателя СЦБ-1;

ячейка выключателя СЦБ-2;

ячейка ТН-10 СЦБ-1;

ячейка ТН-10 СЦБ-2;

Распределительное устройство 3,3 кВ размещено в устройствах блочно-модульного типа на открытой части подстанции. Силовые трансформаторы установлены на фундаментах, выступающих не менее 0,2 м над уровнем планировки земли. Разъединители, разрядники и трансформаторы тока установленные на конструкциях, имеющих высоту, при которой не требуется ограждение. В одноэтажном здании подстанции размещены бытовые помещения, кладовая, мастерская и щитовая.

4.2 Основные конструктивные решения

При реконструкции любой тяговой подстанции устанавливаемое оборудование должно обеспечить следующее:

короткий цикл изготовления в заводских условиях;

гарантированное качество и высокую надёжность;

проведение большей части испытаний в заводских условиях;

простоту установки и монтажа оборудования;

быстрый ввод подстанции в эксплуатацию по нормальной схеме;

сокращение сроков и объёмов строительно-монтажных работ;

ОРУ - 110 кВ состоит из железобетонных стоек и металлических регилей с траверсами для установки оборудования и анкеровки ошиновки. Ошиновка гибкая, выполненная сталеалюминевыми проводами марки АС-120. Всё коммутационное оборудование размещено на одном уровне.

Установка оборудования выполнена с учётом допустимых минимальных расстояний между токоведущими частями и заземлённым конструкциям, а также минимальных безопасных расстояний до частей, находящихся под напряжением.

Ячейки РУ - 10 кВ выполнены в полной заводской сборки. Это позволит выполнить электромонтажные работы в короткий срок с высоким качеством при небольшом количестве рабочей силы и невысокой стоимости монтажных работ. Ячейки имеют металлический сварной корпус с несколькими камерами, в которых размещается оборудование. На выкатных тележках устанавливаются выключатели или трансформаторы напряжения в зависимости от назначения ячейки.

Ячейки РУ 3,3 кВ также как и ячейки 10 кВ будут располагаться в модулях. Модули КРУ - 3,3 кВ также выполнены в полной заводской сборке. В качестве выкатных элементов здесь установлены быстродействующие выключатели постоянного тока.

4.3 Конструкция отдельных элементов

В качестве рассматриваемого элемента выбран современный двенадцати импульсный выпрямительный агрегат МТВ - В - 6 - 3.15к - 3.3кУ1, который поставляется совместно с ячейками серии «Омега», используемыми при реконструкции данной тяговой подстанции.

Выпрямители для системы тягового электроснабжения являются конструктивно и функционально законченными устройствами и предназначены для преобразования переменного тока в постоянный на тяговых подстанциях магистральных железных дорог и метрополитена.

Выпрямители соответствуют требованиям ТУ 3185-160-53304326-2008.

Рис.4.1. Расшифровка условного обозначения (наименования) выпрямителей.

Основные технические характеристики представлены в табл. 4.1.

Таблица 4.1 Технические характеристики выпрямительного агрегата

Наименование параметра

Значение

Номинальное входное напряжение,Y/D, B

1305

Число фаз переменного тока

6

Номинальная частота питающей сети, Гц

50

Номинальное выпрямленное напряжение, В

3300

Номинальный выпрямленный ток, А

3150

Номинальное напряжение питания собственных нужд переменного тока, 50 Гц, В

220

Номинальное напряжение питания оперативных цепей постоянного тока, В

220 (110)

Мощность питания собственных нужд, Вт, не более

700

Суммарная мощность тепловых потерь, кВт, не более

16

Коэффициент полезного действия, %, не менее

99,6

Перегрузки по току: в течение 15 мин один раз в 2 ч, кА, не более

1,25-I ном

в течение 2 мин один раз в час,кА, не более

1,5-I ном

в течение 10 с один раз в 2 мин, кА, не более

2-I ном

Ток термической стойкости с полным временем отключения защитой не более 0,25 с, кА, не менее

25

Номинальный ток электродинамической стойкости силовых цепей, кА

40

Амплитуда возможных перенапряжений на шинах постоянного тока, кВ, не более

9

Вид охлаждения

Принудительное

* Среднеквадратическое значение тока за любые 30 мин (время усреднения) недолжно превышать номинального, в режиме 200 % от номинального значения - время усреднения 5 мин

Срок службы выпрямителей 25 лет (при условии замены комплектующей аппаратуры, срок службы которой менее 25 лет), далее по техническому состоянию.

Гарантийный срок эксплуатации 2 года со дня ввода в эксплуатацию, но не более 3 лет от даты отгрузки предприятием-изготовителем.

Подключения силовых цепей переменного тока для выпрямителей номинальным выходным током 1600 А выполняются в верхней части шкафа шинами сечением не менее 1000 мм2 для алюминиевых шин и не менее 800 мм2 для медных шин.

Подключения силовых цепей переменного тока для выпрямителей номинальным выходным током 3150 А, выполняются в верхней части шкафа шинами сечением не менее 2000 мм2 для алюминиевых шин и не менее 1600 мм2 для медных шин.

Подключения силовых цепей постоянного тока для выпрямителей с номинальным выходным напряжением 825 В (выпрямители для метрополитена)выполняются в нижней части шкафа при помощи кабелей. К каждой силовой шине постоянного тока может быть подключено не более 4 кабелей сечением 400÷600 мм2.

Максимальное количество точек подключения для каждой шины постоянного тока16 штук.

Подключения силовых цепей постоянного тока выпрямителей с номинальным выходным напряжением 3,3 кВ выполняется в верхней части шкафа выпрямителя при помощи шин. Подключение к выпрямителям с номинальным выходным током 1600 А выполняется шинами сечением не менее 1200 мм2 для алюминиевых шин и не менее1000 мм2 для медных шин. Подключение к выпрямителям с номинальным выходным током 3150 А выполняется шинами суммарным сечением не менее 2400 мм2 для алюминиевых шин и не менее 2000 мм2 для медных шин.

Ввод внешних вторичных цепей осуществляется:

для выпрямителей В-МПЕ-Д-3,15к-3,3к УХЛ4 и В-МПП-Д-3,15к-3,3к УХЛ4 в релейный отсек А2;

для всех остальных выпрямителей в нижней части силового шкафа А1.

Сечение проводов цепей вторичной коммутации должно быть не более 2,5 мм2.

релейный трансформатор дистанция токоведущий

5. РАСЧЕТ РЕЛЕЙНОЙ ЗАЩИТЫ И АВТОМАТИКИ СИЛОВЫХ ТРАНСФОРМАТОРОВ

Для обеспечения нормальных условий работы электрических сетей и предупреждения развития повреждения необходимы быстрая реакция на изменения режима работы, незамедлительное отделение повредившегося оборудования от неповреждённого и при необходимости включение резервного источника питания потребителей.

Выполнение этих задач возложено на устройства релейной защиты и автоматики. Релейная защита в случае возникновения аварийного режима воздействует на отключение выключателей повреждённых участков сети или оборудования.

К релейной защите предъявляются следующие требования.

. Автоматическое отключение оборудования электрических сетей в аварийных режимах должно быть избирательным (селективным). Это означает, что релейная защита должна отключать только повреждённое оборудование или участок сети. Неселективное действие релейной защиты приводит к развитию аварийной ситуации.

. Автоматическое отключение оборудования при КЗ должно быть по возможности быстрым, чтобы уменьшить размеры повреждения и не нарушить режим работы электростанций и приёмников электрической энергии.

. Для того чтобы релейная защита реагировала в аварийных режимах, она должна обладать определённой чувствительностью, т. е. должна приходить в действие при КЗ в любом месте защищаемой зоны и при минимально возможном токе КЗ.

. Релейная защита должна быть надёжной, безотказно работать при КЗ в защищаемой зоне и только при тех режимах, при которых предусмотрена её работа.

Устройства релейной защиты отличаются друг от друга по принципу действия, схеме включения и другим признакам. Применение тех или иных защит определяется особенностями электрического оборудования, схемами его включения, рабочим напряжением и ответственностью потребителей.

Защита трансформаторов ЭЧЭ - 14 реализована с помощью устройств микропроцессорной защиты «Сириус-Т» производства ЗАО «Радиус Автоматика» (Россия). Устройство «Сириус-Т» является комбинированным микропроцессорным терминалом релейной защиты и автоматики.

Применение в устройстве модульной мультипроцессорной архитектуры наряду с современными технологиями поверхностного монтажа обеспечивают высокую надежность, большую вычислительную мощность и быстродействие, а также высокую точность измерения электрических величин и временных интервалов, что дает возможность снизить ступени селективности и повысить чувствительность терминала.

Реализованные в устройстве алгоритмы функций защиты и автоматики, а также схемы подключения устройства разработаны по требованиям к отечественным системам РЗА в сотрудничестве с представителями энергосистем и проектных институтов, что обеспечивает совместимость с аппаратурой, выполненной на различной элементной базе, а также облегчает внедрение новой техники проектировщикам и эксплуатационному персоналу.

Устройство «Сириус-Т» обеспечивает следующие эксплуатационные возможности:

выполнение функций защит, автоматики и управления, определенных в ПУЭ;

задание внутренней конфигурации (ввод/вывод защит, автоматики, сигнализации);

ввод и хранение уставок защит и автоматики;

передачу параметров аварии, ввод и изменение уставок по линии связи;

непрерывный оперативный контроль работоспособности;

блокировку всех выходов при неисправности устройства для исключения ложных команд;

получение дискретных сигналов управления и блокировок, выдачу команд аварийной и предупредительной сигнализации;

гальваническую развязку всех входов и выходов, включая питание, для обеспечения высокой помехозащищенности;

высокая устойчивость к перенапряжениям во вторичных цепях.

Функции защиты, выполняемые устройством микропроцессорной защиты «Сириус-Т»:

двухступенчатая дифференциальная токовая защита трансформатора (токовая отсечка и защита с торможением от сквозного тока и отстройкой от бросков тока намагничивания).

двухступенчатая МТЗ высшей стороны трансформатора с возможностью комбинированного пуска по напряжению от стороны низшего напряжения (по дискретному входу). Действие на отдельное реле НН и на общие реле отключения с разными временами. Предусмотрен автоматический ввод ускорения при включении выключателя ВН;

защита от перегрузки с действием на сигнализацию;

контроль состояния трансформатора по ряду входных дискретных сигналов;

управление схемой обдува трансформатора по двум критериям: ток нагрузки и сигналы от датчиков температуры;

выдача сигнала блокировки РПН при повышении тока нагрузки выше допустимого;25

возможность подключения внешних защит;

формирование сигнала УРОВ (устройство резервирования отказов выключателя) при отказах своего выключателя;

исполнение входного сигнала УРОВ при отказах нижестоящих выключателей;

контроль небаланса в плечах дифференциальной защиты с действием на сигнализацию.

5.1.1 Дифференциальная защита трансформатора (ДЗТ)

Дифференциальная токовая защита является быстродействующей защитой абсолютной селективности и выполняет функцию основной токовой защиты трансформатора. Дифференциальная защита имеет две ступени: ДЗТ- 1 (быстродействующая дифференциальная токовая отсечка) и ДЗТ-2 (чувствительная дифференциальная токовая защита с торможением от сквозного тока и отстройкой от бросков тока намагничивания).

Производим расчет дифференциальной защиты устройства «Сириус-Т» для трансформатора Т1 (ТРДН-10000/10) ЭЧЭ - 14. При этом расчет для трансформатора Т2 будет аналогичным. Произведем расчет общих уставок устройства «Сириус-Т», для чего определяем первичные и вторичные токи на выводах высшего и низшего напряжения трансформатора Т1 и коэффициенты трансформации трансформаторов тока. Результаты расчетов записываем в табл. 5.1

Таблица 5.1 Расчет общих уставок устройства микропроцессорной защиты «Сириус-Т»

Наименование величины

Обозначение и метод определения

Числовые значения для стороны



110 кВ

10 кВ

Первичный ток на сторонах защищаемого трансформатора, соответствующий его номинальной мощности, А

 

 

Коэффициент трансформации трансформаторов тока

nТА

 

 

Вторичный ток в плечах защиты, соответствующий номинальной мощности защищаемого трансформатора, А

 

 

Принятые значения

Iном.ВН,А; Iном.НН,А

1,67

2,75

Размах РПН, %

Размах РПН

±9×1,78%=16%



В соответствии с [9] за реально возможный диапазон регулирования напряжения принимаем диапазон от 96,5 кВ до 126 кВ.

Исходя из этого, середина диапазона равна:

,5 + (126−96,5) /2= 111,25 кВ.

Полученное значение принимаем за Uопт. Дальнейший расчет производим табличным способом при помощи табл. 5.2.

Таблица 5.2 Расчет общих уставок- устройства микропроцессорной защиты «Сириус-Т»

Наименование величины

Обозначение и метод определения

Числовые значения для стороны



110 кВ

10 кВ

Первичный ток на сторонах защищаемого трансформатор а, соответствующий его номинальной мощности, А

 

 

Коэффициент трансформации трансформаторов тока

nТА

 

 

Вторичный ток в плечах защиты, соответствующий номинальной мощности защищаемого трансформатора, А

 

 

 

Принятые значения

Iном.ВН,А; Iном.НН,А

1,67

2,75

Размах РПН%

Размах РПН

100∙(126-96,5)/(2·111,25)=13


.1.2 Дифференциальная токовая отсечка трансформатора

Дифференциальная токовая отсечка предназначена для быстрого отключения повреждений, сопровождающихся большим дифференциальным током. Она работает без каких-либо блокировок и не имеет торможения.

Согласно [9], уставка дифференциальной отсечки трансформаторов должна выбираться из двух условий:

отстройки от броска тока намагничивания силового трансформатора;

отстройки от максимального первичного тока небаланса при переходном режиме расчетного внешнего КЗ.

При включении силового трансформатора со стороны высшего напряжения отношение амплитуды броска тока намагничивания к амплитуде номинального тока защищаемого трансформатора не превышает 10.

Это соответствует отношению амплитуды броска тока намагничивания к действующему значению номинального тока первой гармоники, равному 5·=7. Отсечка реагирует на мгновенное значение дифференциального тока и на первую гармонику этого же тока. Уставка по мгновенному значению равна 2,5∙Iдиф/Iном. Минимально возможная уставка по первой гармонике Iдиф/Iном в устройстве микропроцессорной защиты «Сириус-Т»равна 4, что соответствует 2,5∙4 = 10 по отношению амплитуды к действующему значению или 10 /= 7 по отношению амплитуд.

Сравнение полученных значений свидетельствует об отстроенности отсечки по мгновенным значениям от возможных бросков тока намагничивания.

Расчеты показывают, что действующее значение первой гармоники броска тока намагничивания не превышает 0,35 от амплитуды броска. Если амплитуда равна 7 действующим значениям номинального тока, то действующее значение первой гармоники равно 7·0,35=2,46. Следовательно, даже при минимальной уставке в 4∙Iном отсечка отстроена от бросков тока намагничивания и при реагировании на первую гармонику дифференциального тока.

В [9] указано, что при небольших предельных кратностях отечественных трансформаторов тока амплитуда тока небаланса может достигать амплитуды максимального тока внешнего КЗ. В этих условиях необходимо выбирать уставку дифференциальной отсечки трансформатора Т1 по условию:

(5.1)

где Кнб(1) - отношение амплитуды первой гармоники тока небаланса к приведенной амплитуде периодической составляющей тока внешнего КЗ. Согласно [9], если и на стороне ВН, и на стороне НН используются ТТ с вторичным номинальным током 5А, то принимаем значение Кнб(1) =0,7;

Котс - коэффициент отстройки. Для дифференциальной отсечки трансформа тора принимаем значение Котс=1,2;

I*кз.вн.max - отношение тока внешнего расчетного КЗ в точке К2 на шинах 10кВ приведённой к стороне 110кВ, к номинальному току трансформатора.

Определяем значение I*кз.вн.max по выражению

 

 

Подставляем значения Кнб(1), Котс, I*кз.вн.max в выражение:

 

Принимаем уставку дифференциальной отсечки трансформатора Т1 в устройстве микропроцессорной защиты «Сириус-Т» равной 9.

5.1.3 Дифференциальная защита трансформатора (с торможением)

Тормозная характеристика защиты приведена на рис. 6.

Она построена в относительных единицах, то есть токи приведены к номинальному току стороны ВН. Тормозной ток формируется как полу сумма модулей токов двух сторон защищаемого трансформатора.

Рис. 6. - Тормозная характеристика дифференциальной защиты

Расчету и выбору подлежат следующие параметры дифференциальной защиты:

IД1/Iном - базовая уставка ступени;

Кторм- коэффициент торможения (наклон тормозной характеристики на втором ее участке);

IТ2/Iном - вторая точка излома тормозной характеристики;

IДГ2/IДГ1 - уставка блокировки от второй гармоники.

Базовая уставка IД1 /Iном определяет чувствительность рассматриваемой ступени защиты. Согласно [9], принимаем IД1/Iном =0,3.

Коэффициент торможения Кторм должен обеспечить несрабатывание ступени при сквозных токах, соответствующих второму участку тормозной характеристики (примерно 1,0÷3,0∙Iном.). Такие токи возможны при действии устройств АВР трансформаторов, АВР секционных выключателей, АПВ питающих линий 110кВ.

Согласно [9], при прохождении через защищаемый трансформатор сквозного тока возникает дифференциальный расчетный ток небаланса:

(5.3)

где Котс - коэффициент отстройки. Для дифференциальной защиты трансформатора принимаем значение Котс=1,2;

Кпер - коэффициент, учитывающий переходный режим. В соответствии с рекомендациями [9], принимаем Кпер=2,5;

Кодн - коэффициент однотипности трансформаторов тока. В соответствии с рекомендациями [9], принимаем Кодн =1,0;

ε - относительное значение полной погрешности трансформаторов тока в установившемся режиме. В соответствии с рекомендациями [9], принимаем ε =0,1.

ΔUРПН - слагаемое расчетного тока небаланса, обусловленное наличием РПН в трансформаторе. В соответствии с рекомендациями [9], принимаем значение ΔUРПН равным определенному в таблице 5.2 дипломного проекта, то есть ΔUРПН =0,13.

fдобав - слагаемое обусловлено неточностью задания номинальных токов сторон ВН и НН трансформатора (округлением при установке), а элементами устройства микропроцессорной защиты «Сириус-Т». По данным производителя устройства, принимаем расчетное значение fдобав =0,04.

Таким образом,

При принятом способе формирования дифференциального расчетного тока небаланса тормозной ток равен:

(5.4)

при допущении, что один ТА работает точно, второй имеет погрешность, равную Iдиф.

Определим коэффициент снижения тормозного тока Kсн.т в соответствии с рекомендациями [9], по выражению:

(5.5)

Определяем коэффициент торможения Кторм в процентах по выражению

(5.6)

Отсюда,

Вторая точка излома тормозной характеристики IТ2/Iном определяет размер второго участка тормозной характеристики. В нагрузочном и аналогичных режимах тормозной ток равен сквозному. Появление витковых КЗ лишь незначительно изменяет первичные токи, поэтому тормозной ток почти не изменится. Для высокой чувствительности к витковым к.з. необходимо, чтобы во второй участок попал режим номинальных нагрузок (IТ/Iном=1,0), режим допустимых длительных перегрузок (IТ/Iном=1,5).

В соответствии с рекомендациями, изложенными в [9], принимаем уставку IТ2/Iном=2,0.

Первая точка излома тормозной характеристики IТ1/Iном вычисляется в устройстве микропроцессорной защиты «Сириус-Т» автоматически и равна:

(5.7)

Полученное значение соотношения IТ1/Iном проверяем по условию:

IТ2/Iном >IТ1/Iном , следовательно 2,00>0,43

Условие выполнено, следовательно, значения IТ2/Iном и IТ1/Iном приняты верно.

Уставку блокировки от второй гармоники IДГ2/IДГ1 принимаем на основании опыта фирм, использующих защиту «Сириус-Т», и в соответствии с рекомендациями, изложенными в [9], значение IДГ2/IДГ1=0,15.

Уставку по току сигнализации небаланса в плечах дифференциальной защиты принимаем меньше, чем минимальная уставка чувствительной ступени дифференциальной защиты IД1/Iном =0,3 а уставку по времени сигнализации небаланса в плечах дифференциальной защиты принимаем порядка нескольких секунд, что позволяет выявлять неисправности в токовых цепях дифференциальной защиты.

В соответствии с рекомендациями [9], принимаем значение IД/Iном=0,10, tсиг.= 10с.

Для контроля перегрузки трансформаторов достаточно следить за токами в одной из обмоток трансформатора. Для удобства в процессе эксплуатации трансформаторов Т1 и Т2 вводим контроль токов как в обмотке стороны ВН трансформаторов, так и в обмотке стороны НН. Уставки в устройстве микропроцессорной защиты «Сириус-Т» задаем во вторичных значениях токов своей стороны напряжения, то есть приведение тока не используем.

В соответствии с рекомендациями, изложенными в [9], уставка сигнала перегрузки принимается равной:

(5.8)

где Котс - коэффициент отстройки. Для контроля перегрузки трансформатора. В соответствии с рекомендациями [9], принимаем значение Котс=1,05;

Кв - коэффициент возврата. В соответствии с рекомендациями [9], принимаем значение Кв=0,95.

Iном - номинальный ток трансформатора на стороне ВН и НН, определенн в табл.5.2 дипломного проекта. Принимаем значение 1,05∙Iном с учетом возможности увеличения номинального тока на 5% при регулировании напряжения.

Для трансформатора мощностью Sт.ном = 10000кВ·А номинальные вторичные токи на среднем ответвлении на сторонах ВН и НН равны 1.67А и 2.75А соответственно. Расчетные значения уставки перегрузки защиты «Сириус-Т» равны:

IВН = 1,05∙1,05·50,21·1,67 /0,95 = 97,3А;

IНН = 1,05∙1,05·274,93·2,75/0,95 = 877,4А.

5.2 Максимальная токовая защита

Расчет уставок МТЗ трансформаторов Т1 и Т2 для устройства микропроцессорной защиты «Сириус-Т» производим по стандартной методике, изложенной в [9]. Определяем ток срабатывания Iс.з.Q МТЗ на выключателе Q1, расположенном в ОРУ-110кВ. Значение Iс.з.Q должно находиться в следующем диапазоне:

; (5.9)

Защита не должна срабатывать при протекании в трансформаторах максимального из возможных токов IТ.max (при отключении одного из трансформаторов 110/10кВ), но при этом должна отключить защищаемый участок при протекании в нём минимального из возможных токов при КЗ как в основной зоне действия МТЗ на Q1 в ОРУ-10кВ, так и в зоне резервирования -распределительные сети 10кВ.

Величина загрузки оставшегося в работе трансформатора средней мощности (Sт.ном<100 МВ×А) двухтрансфоматорных подстанций в часы максимума нагрузки, при отключении второго трансформатора 110/10кВ, не должна превышать значения bав.доп =1,5.

Отсюда,

(5.10)

 

Минимальный ток КЗ в точке К2 на секциях 10кВ, приведенный к стороне 110кВ, составляет

 (5.11)

 

Где  (5.12)

 

К110 - перерасчетный коэффициент со ступени напряжения 10,5 кВ на ступень напряжения 115кВ.

Следовательно:

,8А <Iс.з.Q1< 506,6А.


 (5.13)

 

где kн - коэффициент надёжности, учитывающий погрешности устройства «Сириус-Т» и неточности в определении Iс.з.Q1. Для МТЗ принимаем kн=1,2

kв-коэффициент возврата устройства микропроцессорной защиты «Сириус-Т». Для микропроцессорного устройства защиты принимаем kв=0,96.

Полученное значение Iс.з.Q1 удовлетворяет требованиям неравенства.

Определяем чувствительность МТЗ, выражаемую коэффициентом чувствительности kЧ

(5.14)

значение kЧ для МТЗ, срабатывающей при КЗ в основной зоне действия защиты должно быть не менее kЧдоп³1,5.

Определим коэффициент чувствительности kч МТЗ в основной зоне действия по выражению:

  Где

Таким образом, МТЗ чувствительна в основной зоне действия.

Определяем ток срабатывания Ic.у.Q1 устройства «Сириус-Т» по формуле:

(5.15)

где kсх-коэффициент схемы, учитывающий схему соединения вторичных обмоток трансформаторов тока (ТТ) и обмоток токовых реле.

МТЗ трансформатора выполнена по схеме полной звезды (трехфазная схема), поэтому kс.х.=1.

nТА-коэффициент трансформации ТТ, то есть отношение тока в первичной обмотке к току во вторичной обмотке:

; (5.16)

Согласно табл. 6.1 дипломного проекта nТА = 30.

Подставляем значения kсх и nТА в формулу:

 

Принимаем стандартную величину уставки срабатывания МТЗ устройства «Сириус-Т» равную Ic.у.Q1= 3,9А.

Схема подключения устройства «Сириус-Т» к трансформаторам тока приведена на листе 4 графической части дипломного проекта.

Для обеспечения селективности выдержку времени МТЗ на выключателях смежных участков выбираем по ступенчатому принципу.

Таким образом, принимаем следующее время срабатывания релейной защиты (МТЗ):

линейные выключатели ОРУ-10кВ - tз(лин)=0,7с.;

секционные выключатели ОРУ-10кВ - tз(секц)=1,0 с.;

вводные выключатели ОРУ-10кВ - tз(ввод)=1,3 с.

Выдержку времени МТЗ на выключателях 110кВ заносим в память устройства микропроцессорной защиты.

.3 Газовая защита трансформаторов

Газовая защита трансформаторов основана на использовании явления газообразования в баке поврежденного трансформатора.

Интенсивность газообразования зависит от характера и размеров повреждения. Это дает возможность выполнить газовую защиту, способную различать степень повреждения, и, в зависимости от этого, действовать на сигнал или отключение. Газовая защита реагирует на образование газов, сопровождающих повреждение внутри кожуха трансформатора, в отсеке переключателя отпаек РПН. Основным элементом защиты является газовое реле KSG, устанавливаемое в маслопроводе между баком и расширителем. В качестве газового реле используем реле типа BF80/Q фирмы “АBB”. Оно имеет высокую чувствительность и реагирует практически на все виды повреждений внутри бака, сравнительно небольшое время срабатывания, простоту выполнения, а также способность защищать трансформатор при недопустимом понижении уровня масла по любым причинам.

Газовая защита действует на отключение выключателей 110кВ самоудержанием, чтобы обеспечить отключение трансформатора в случае кратковременного замыкания или вибрации нижнего контакта газового реле, обусловленного толчками потока масла при бурном газообразовании.

6. ЗАЩИТНОЕ ЗАЗЕМЛЕНИЕ

Согласно ПУЭ сопротивление заземляющего устройства не более 0,5 Ом на напряжении 110 кВ.

Сопротивление заземления железобетонного фундамента здания:

 (6.1)

где r = 150 Ом·м, удельное сопротивление грунта;- площадь ограниченная периметром здания, м2.= b·c = 36·36 = 1296 м2,

где b и c - соответственно ширина и длина здания.

Сопротивление естественного заземлителя Rе:

е = R ф·R Т /( R ф+R Т) = 4,17·6 / (4,17+6) = 3,09 Ом,

где R т = 6 Ом, сопротивление заземленного троса линии 110 кВ.

Для обеспечения Rз=0,5 Ом, необходимо выполнить дополнительные искусственные заземлители.

и = Rе·Rз /( Rе-Rз) = 3,09·0,5 / (3,09 -0,5) = 0,6 Ом.

Расчетное сопротивление искусственного заземлителя из вертикальных электродов, соединенных горизонтальной соединительной полосой:

и = R в·R г /(R в+R г).

Суммарное сопротивление всех вертикальных электродов

в = R о.в /( n·hв),

где n - число электродов;

hв - коэффициент использования электродов, характеризующий степень использования его поверхности из-за экранирующего влияния соседних электродов.

Сопротивление одиночного вертикального заземлителя

,

где ρ - удельное сопротивление грунта Ом·м;- длина заземлителя м;- диаметр заземлителя м;- заглубление ( расстояние от поверхности земли до середины заземлителя) м;

 = 1,25 климатический коэффициент для вертикальных электродов.


Вертикальный заземлитель выполнен электродами из угловой стали 50·50·5 мм и длиной 2,5 м, на расстоянии 2,5 м друг от друга, a/l = 1. Контур выполнен из полос 40·4 мм, проложенных на глубине 0,7 м.

В этом случае общая длина горизонтальных полос, приблизительно равная периметру здания, составит:г = 144 м.

Всего необходимо разместить:=Lг /а = 144/2,5 = 58 ( электродов).в = R о.в /( n·hв) = 15,65/(58·0,35) = 0,77 Ом.

Сопротивление горизонтального заземлителя, уложенного на глубине 0,7 м с учетом экранирования:


где lг - длина заземлителя, м;

в - ширина полосового заземлителя, м;- глубина заложения, м;

Км - коэффициент сезонности;г - коэффициент использования горизонтальной полосы с учетом экранирующего влияния вертикальных электродов;

r - удельное сопротивление грунта.

Сопротивление искусственного заземления:

и = Rв·R г /( Rв+Rг) = 0,77·15,5/(0.77+15,5) = 0,73 Ом.

Сопротивление заземления:

з =Rе ·R и /( Rе +Rи) = 3,09·0,73/(3,09+0,73) = 0,49 Ом.

Внутреннюю сеть заземления выполняют в виде магистрали заземления, проложенных во всех помещениях электроустановки. С заземлителями внутреннюю сеть соединяют в нескольких местах. Выполняют сеть заземления стальными полосами сечением не менее 24мм2 при толщине не менее 3мм. Все соединения заземляющих проводников между собой и с заземлителем выполняют сваркой.

Каждый заземляющий элемент установки присоединяют к заземлителю при помощи отдельного ответвления.

К кожухам электрооборудования заземляющие проводники присоединяют при помощи болтов или сварки.

Открыто проложенные заземляющие проводники окрашивают в фиолетовый цвет.

Для снижения напряжения прикосновения у рабочих мест может быть выполнена подсыпка щебня слоем толщиной 0,1-0,2 м.

Каждый заземляющий элемент установки присоединяют к заземлителю при помощи отдельного ответвления.

Результаты измерения растекания ЗУ ПС, представленные ООО «Эзоп» после проведения обследования имеющегося ЗУ показали, что сопротивление растеканию ЗУ ПС составляет 0,5 Ом, что удовлетворяет требованиям п. 1.7.90 ПУЭ-7.

По результатам осмотра степень коррозии элементов ситемы уравнивания потенциалов составляет не более 5% от первоначально поперечного сечения 160 мм2, таким образом сечение элементов уравнивания потенциалов удовлетворяет п.1.7.111 ПУЭ-7.

Замена заземляющего устройства не требуется.

 


7. МОЛНИЕЗАЩИТА ОБОРОДУВАНИЯ ЭЛЕКТРОПОДСТАНЦИИ


Согласно ПУЭ защита РУ и ПС от прямых ударов молнии осуществляется стержневыми и тросовыми молниеотводами.

Защита ОРУ 35 кВ и выше от прямых ударов молнии должна быть выполнена отдельно стоящими или на конструкциях стержневыми молниеотводами. Рекомендуется использовать защитное действие высоких объектов, которые являются молниеприемниками (опоры ВЛ, прожекторные мачты, радиомачты и т.п.).

Если зоны защиты стержневых молниеотводов не закрывают всю территорию ОРУ, дополнительно используют тросовые молниеотводы, расположенные над ошиновкой.

Расстояние в земле между точкой заземления молниеотвода и точкой заземления нейтрали трансформатора должно быть не менее 3 м.

Защиту от прямых ударов молнии ОРУ, на конструкциях которых установка молниеотводов не допускается или не целесообразна по конструктивным соображением, следует выполнять отдельно стоящими молниеотводами, имеющими обособленные заземлители с сопротивлением не более 80 Ом при импульсном токе 60 кА.

Расстояние между обособленными заземлителями молниеотвода и заземляющим устройством ОРУ (ПС) должно быть не менее 3 м.

Место присоединения заземлителя отдельно стоящего молниеотвода к заземляющему устройству ПС должно быть удалено по магистралям заземления на расстоянии не менее 15 м от места присоединения к нему трансформатора (реактора).

Заземлители молниеотводов , установленных на прожекторных мачтах, должны быть присоединены к заземляющему устройству ПС.

Каждый молниеотвод образует вокруг себя строго определенное пространство, вероятность попадания в которое молнии практически равно 0. Это пространство называют зоной защиты молниеотвода.

Реконструируемая подстанция имеет шесть двойных молниеотводов, расположенных на железобетонных мачтах. Три молниеотвода на ОРУ-110 кВ; два на ОРУ-10 кВ; один - возле здания подстанции, что соответствует требованиям, предъявляемым к новому оборудованию. Поэтому, молниеотводы в замене не нуждаются.

 


8. УЧЕТ ЭЛЕКТРОЭНЕРГИИ


Согласно ПУЭ расчетным учетом электроэнергии называется учет выработанный, а также отпущенной потребителям электроэнергии для денежного расчета для нее.

Счетчики, устанавливаемые для расчетного учета, называются расчетными счетчиками.

Техническим (контрольным) учетом электроэнергии называется учет для контроля расхода электроэнергии внутри электростанций, подстанций, предприятий, зданий и т.п.

Счетчики, устанавливаемые для технического учета, называются счетчиками технического учета.

Основной целью учета электроэнергии является получение достоверной информации о количестве производства, передачи, распределения потребление электроэнергии. Учет электроэнергии осуществляется с помощью измерительных комплексов. Совокупность измерительных комплексов представляет собой систему учета электроэнергии. В общем случае измерительных комплексов состоит из трансформаторов тока, трансформаторов напряжения и счетчиков. Достоверным является такой счетчик электроэнергии, при котором величина электроэнергии, измеренная системой учета, отличается не более чем на величину допустимой погрешности системы учета, которая определяется параметрами измерительных комплексов.

Согласно «Техническим требованиям к автоматизированной системе учета и контроля электроэнергии в системе тягового электроснабжения электрифицированных железных дорог» система автоматизированного учета и контроля электроэнергии (АСКУЭ) должна обеспечивать решение следующих задач:

сбор и формирование данных по расходу электроэнергии на тяговых подстанциях;

передачу информации на уровень энергодиспетчера и проведение на ее основе коммерческих расчетов между субъектами ранка;

определение потребляемой мощности и энергии в данные интервалы времени, по группам учета (энергосистемам);

определение максимальных значений мощности в пиковые интервалы энергосистемы;

формирование статической отчетности;

хранение полученной информации и отображение ее по вызову на мониторе.

Учет электроэнергии должен обеспечивать определение:

количества энергии, отпущенной на тягу поездов;

количество энергии, потребленной на собственные нужды тяговой подстанции;

количество энергии, отпущенным потребителям по линиям, отходящим от шин тяговой подстанции;

количество энергии, переданной в другие энергосистемы или полученной от них.

Учет реактивной энергии должен обеспечивать определение количества реактивной энергии, полученной от энергоснабжающей организации.

Учет активной и реактивной энергии трехфазного тока следует осуществлять с помощью трехфазных счетчиков.

В АСКУЭ СЖД должны применятся счетчики электроэнергии, включенные в «Государственный реестр средств и измерения, разрешённых к применению на территории РФ». Предпочтительно использование счетчиков электроэнергии «Альфа», обеспечивающих (в одном корпусе)измерение активной и реактивной энергии в двух направлениях.

Также в состав комплекса технических средств автоматизации контроля и учета электроэнергии должны входить:

устройства сбора и передачи данных (УСПД);

каналы связи;

центральное вычислительное устройства (ЦВУ).

Класс точности расчетных счетчиков рекомендуется 0,5. Классы точности трансформаторов тока и напряжения, используемых для присоединения счетчиков, должны быть не более 0,5.

9. ОЦЕНКА ЭКОНОМИЧЕСКОГО ЭФФЕКТА ОТ РЕКОНСТРУКЦИИ ТЯГОВОЙ ПОДСТАНЦИИ ТОЛМАЧЁВО

9.1 Общие сведения

Обновляемость производства является объективным законом развития, отражающим диалектику расширенного воспроизводства и непрерывное техническое совершенствование материальных элементов производительных сил. Периодичность воспроизводства обусловлена физическим износом и моральным старением материально-вещественных элементов производства.

Расширенное воспроизводство средств труда определяется действием объективных экономических законов, находящихся во взаимосвязи и взаимозависимости. Эти законы обусловлены характером собственности на средства производства, содержанием производственных отношений и уровнем развития производственных сил.

При планово-централизованном управлении народным хозяйством расширенное воспроизводство и совершенствование орудий труда осуществляется в рамках исследований, проводимых в области научно-технического процесса за счет социально выделенных средств с помощью различных методов, которые не полной мере учитывали особенности инновационного процесса. В условиях рыночной экономики структура источников средств для осуществления расширенного воспроизводства и совершенствования техники изменилось, соответственно изменились и методы их экономической оценки.

9.2 Определение годовых эксплуатационных затрат

Стоимости силового оборудования, устанавливаемого на подстанции в плане её реконструкции, а также стоимость монтажа и наладки оборудования приведены в табл. 9.1.

Таблица 9.1 Стоимость силового оборудования

Наименование оборудования

Количество, шт

Цена за 1 шт., тыс руб.

Общая стоимость тыс. руб.

Вводной выключатели 110 кВ ВГТ-110II-40/2500У1

3

938

2814

Выключатели 10 кВ BB/Tel - 10/1000-20-У2

5

178

890

Выключатели 10 кВ BB/Tel - 10/630-12,5-У2

12

167

2004

Выключатели постоянного тока ВАБ-206-4000/30-Л-УХЛ4

5

270

1350

Разъединители 110 кВ РЛНД-2-110/630 У1

4

121

484

Разъединители 110 кВ РЛНД-1-110/630 У1

6

105

630

Разъединители 3,3кВ РВР.1-10/4000 У3

5

22

110

Трансформаторы понижающие ТДН-10000/10

2

9000

18000

Трансформаторы выпрямителей ТРДП-12500/10ЖУ1

2

6800

13600

Трансформаторы ТСН ТМ-400

2

263

526

Трансформаторы ТО ТМ-250

2

176

334

Трансформаторы ТРСН ТМ-63

2

150

300

Выпрямители МТВ-В-6-3.15к-3.3кУ1

2

5710

11420

Трансформаторы тока 110 кВ ТФЗМ-110Б-0,5-600/5 У1

6

152

912

Трансформаторы тока 10 кВ ТЛО-10-0,5-1000/5 У3

5

18

90

Трансформаторы напряжения 110 кВ НКФ - 110 У1

12

144

1728

Трансформаторы напряжения 10 кВ ЗНОЛ -10 У3

2

37

74

Ограничители перенапряжения 110 кВ ОПН - 110 УХЛ1

4

39

156

Ограничители перенапряжения 10 кВ ОПН - PT/TEL

8

8

64

Стоимость оборудования



55487


Капитальные вложения для рассматриваемой тяговой подстанции рассчитаны, тыс. р

К = Nпт ∙ Цпт + Nтт ∙ Цтт+ Nва ∙ Цва+ Nр110 ∙ Цр110+ Nр10 ∙ Цр10+ Nр3,3 ∙ Цр3,3+ Nв110 ∙ Цв110+ Nв10 ∙ Цв10 + Nв3,3 ∙ Цв3,3+ Nтт110 ∙ Цтт110+ Nтт10 ∙ Цтт10+ Nтн110 ∙ Цтн110+ Nтн10 ∙ Цтн10+ Nопн110 ∙ Цопн110+ Nопн10 ∙ Цопн10; (9.1)

где N(пт,тт,ва,р110,р10,р3.3,тт110,тт10,тн110,тн10,опн110,опн10) - количество данного вида оборудования, шт.;

Ц(пт,тт,ва,р110,р10,р3.3,тт110,тт10,тн110,тн10,опн110,опн10) - количество данного вида оборудования, тыс.р.;

Кмн - затраты на монтажно-наладочные работы, тыс.р.

Kмн = Кст ∙ 2%, (9.2)

где Кст - стоимость оборудования, тыс.р.

Kмн = 0,02 ∙ 55487 =1109,74 (тыс.р.).

K = 55487 + 1109,74 = 56596,74 (тыс.р.).

Расчёт текущих затрат включает:

затраты на амортизацию, тыс.р.:

 

где K - капитальные вложения на реконструкцию, тыс.р.; q - норма амортизационных отчислений, 5,8%; СА - амортизационные затраты, тыс.р.;

 

фонд оплаты труда, тыс.р.:

Сфот = Ч∙ЗПср∙n,(9.4)

где ЗПср - средний месячный заработок рабочих, специалистов и руководителей, руб.; n - количество месяцев в году, n = 12;

Численность персонала:

Чп = Чд. рек. - ∆Ч (9.5)

где Чд. рек - численность персонала до реконструкции; ∆Ч - снижение контингента работников.

Расчёт планового контингента работников определяется по трудоёмкости работ и номинальному годовому фонду рабочего времени

 

где ∆Ni - снижение годовой программы ремонтных работ i-ого вида устройств; ti-нормированная трудоёмкость ремонта или содержания i-ого вида устройств(нормы времени на текущие, капитальные ремонты и испытания); Fном - номинальный годовой фонд времени.

После реконструкции ремонтные работы снизятся на 80%.

∆Ni = 60 ∙ 0,2 =12.

 

 

 

 

По данным, взятым в ЭЧ-4 за 2012г. было выделено на материальные затраты на ЭЧЭ-14 Толмачёво сумма 2841,72 (тыс.р). материальные затраты, тыс.р.:

СМЗ=5%∙K,(9.7)

∆Смз=Смз(2012)-Смз(реконстр.) (9.8)

∆Смз=2841,72 - 2829,837= 11,883 (тыс.р);

затраты на социальные отчисления, тыс.р.:

ССОЦ.ОТ. = 0,37 ∙ СФОТ (9.9)

где ССОЦ.ОТ -отчисления на социальные нужды, ССОЦ.ОТ = 30,7 (%).

ССОЦ.ОТ = 0,37 ∙ 993,600 = 367,632 (тыс.р.).

∆ССОЦ.ОТ = 0,37 ∙ 110,400 = 40,848 (тыс.р.).

затраты на обслуживание подстанции, тыс.р.:

С=СФОТ+ССОЦ.ОТ+СА+СМЗ (9.10)

С = 110,400 + 367,632 + 3282,61 + 2829,837 = 6590,029 (тыс.р.).

Эффект от реконструкции подстанции:

∆СЭкЭф=∆ССОЦ.ОТ + ∆СМЗ +∆СФОТ (9.11)

∆СЭкЭф=40,848 + 11,883 +110,400 = 163,131 (тыс.р.).

Новое оборудование подстанции во время работы и эксплуатации в меньшей степени подвергается риску возникновения нештатных аварийных ситуаций, а также способно предотвратить ошибочные действия обслуживающего персонала работой блокировочных устройств и компьютерной самодиагностики. На основании произведённых расчётов эффект от реконструкции подстанции достигается за счёт сокращения ремонтных работ на 80%. Этот факт позволяет сократить частоту проведения планово-предупредительных и капитальных ремонтов, что в свою очередь позволяет снизить материальные затраты на обслуживание подстанции, сократить численность ремонтных бригад, фонд оплаты труда и расходы на социальные отчисления.

Реконструкция тяговой подстанции Толмачёво необходима в связи с увеличением потребления электрической энергии среди железнодорожных и районных потребителей. Также на сегодняшний день оборудование подстанции имеет критический износ. Оно сильно устарело физически, а также морально и не соответствует современным требованиям к устройствам электроснабжения.

Некоторое из эксплуатируемого оборудования представляют угрозу для безопасности обслуживающего персонала. Реконструкция тяговой подстанции Толмачёво необходима для бесперебойной работы энергосистемы, снижения потерь энергии и повышения безопасности обслуживающего персонала.

10. ОБЕСПЕЧЕНИЕ БЕЗОПАСНОСТИ ЖИЗНЕДЕЯТЕЛЬНОСТИ НА ТЯГОВОЙ ПОДСТАНЦИИ

.1 Вводная часть

Тема дипломного проекта предусматривает комплексную реконструкцию тяговой подстанции Толмачёво Санкт-Петербург Балтийской дистанции электроснабжения. Непосредственным обслуживанием подстанции занимаются работники дистанции электроснабжения ЭЧ-4. При проведении различных видов работ на этой тяговой подстанции обеспечение безопасности играет главную роль. Обслуживающий персонал должен уделять большое внимание охране труда и технике безопасности для обеспечения безопасного обслуживания электроустановок, при работе с которыми необходимо соблюдение правил технической эксплуатации электроустановок потребителей. Кроме того, как и все работники железнодорожного транспорта, персонал ЭЧ должен строго соблюдать технику безопасности, находясь на железнодорожных путях.

10.2 Анализ потенциально опасных и вредных производственных факторов

Тяговая подстанция является объектом, который должен удовлетворять требованиям безопасности и экологии. При эксплуатации ТП на работников воздействуют опасные и вредные факторы. Вредным производственным фактором является фактор, воздействие которого на человека ведет к появлению и развитию заболеваний и снижению работоспособности. Опасными факторами являются такие, которые, воздействуя на человека, могут привести к тяжелым травмам или смертельному исходу. Опасные и вредные производственные факторы подразделяются на следующие группы:

физические;

химические;

биологические;

психофизиологические.

К вредным физическим факторам, действующим на работников ТП, относятся шум, электромагнитные поля, недостаточное и некачественное освещение, несоответствие нормам показателей микроклимата в помещении, вредные пары аккумуляторной батареи, трансформаторное масло и т.д.

К опасным факторам действующим на работников ТП, относятся действие на организм человека электрического тока, работа на высоте, работа вблизи электроподвижного состава, работа с грузоподъемными механизмами и аппаратами, приводы которых имеют мощные пружины.

Основным источником шума на ТП являются вентиляционные установки помещения, преобразовательных агрегатов и аккумуляторной батареи.

Химическое воздействие на организм человека оказывают вредные вещества, выделяющиеся при нагреве изоляционных и лакокрасочных материалов.

Содержание этих веществ в воздухе без превышения ПДК обуславливается работой электроустановок в нормальном режиме. В процессе эксплуатации аккумуляторной батареи в воздух рабочей зоны выделяются вредные вещества (водород, пары серной кислоты, прочие примеси). Водород выделяется как в чистом виде, гак и в виде ядовитых соединений. Его опасность заключается в снижении концентрации кислорода и воздухе.

К психологическим факторам относятся нервно-психические нагрузки, связанные с важностью принимаемых решений, факторы, связанные с неправильной организацией труда.

Биологические факторы представляют собой микроорганизмы (бактерии, вирусы, грибки), появляющиеся из-за нарушения правил личной гигиены, санитарного состояния помещения, неисправности сантехнических коммуникаций.

10.3 Технические требования к электроустановкам, обеспечивающие электробезопасность персонала

Согласно МОПТ распределительные устройства выше 1000 В соответствии с ГОСТ 12.2.003-01 должны быть оборудованы оперативными блокировками, исключающими ошибочные действия персонала при производстве переключений (блокировка от ошибочных переключений) и блокировками, препятствующими преднамеренному проникновению персонала к токоведущим частям, находящимся под напряжением.

Блокировки от ошибочных переключений должны исключать: отключение (включение)разъединителей при включённом выключателе; включение заземляющих ножей до отключения разъединителя; включение разъединителей при включённых заземляющих ножах.

Блокировки препятствующие ошибочному проникновению должны исключать открытие дверей ячеек, шкафов преобразователей, открытие лестниц для подъема на силовые трансформаторы (кроме лестниц для осмотра газового реле) до включения заземляющих ножей.

При неполном блокировании дверей ячеек (шкафов), при возможном открытии и проникновении к токоведущим частям, находящимся под напряжением, дверь ячейки должна быть заперта на замок.

Заземление токоведущих частей должно осуществляться в специально выделенных местах, очищенных от краски и отмеченных графически.

При производстве работ в распределительном устройстве РУ - 3.3 кВ места подключения переносных заземлений должны быть выбраны с таким расчётом, чтобы исключать шунтирование реле земляной защиты.

В распределительных устройствах места присоединения переносных заземлений должны быть очищены от краски, окаймлены чёрными полосами, а места подключения к магистрали заземления или заземлённой конструкции должны быть отмечены знаком «земля» и приспособлены для их закрепления. В ЗРУ такое место предусматривается снаружи каждой ячейки. Для подсоединения заземлений в «земле» в ОРУ и ЗРУ устанавливаются барашки, язычки, а для обеспечения удобства установки переносного заземления на шину или шлейф на них прикрепляют специальную скобу, на которую должно завешиваться заземление.

Корпуса масляных выключателей, находящихся во время работы под напряжением должны быть окрашены в сигнальный красный      цвет или на них наносится сигнальная красная стрела или знак «Осторожно! Электрическое напряжение». Этот же знак наносят на конденсаторные банки установок емкостной компенсации. Заземляющие ножи окрашиваются в чёрный цвет, рукояти и тяги - в красный, рукояти других проводов - в цвета оборудования, а рукояти разъединителей схем плавки гололёда - в цвет «зебра». Магистраль заземления должна быть окрашена в чёрный цвет, либо в цвет стен с нанесением чёрных поперечных полос через 1 - 2 м и в местах ответвлений.

У кнопок управлениям выключателями, у рукояток разъединителей, заземляющих ножей, на шкафах, панелях ячеек, на оборудовании и т.п. должны быть надписи с диспетчерскими наименованиями, при необходимости должны быть установлены крючки для вывешивания плакатов.

Кроме того при монтаже и эксплуатации быстродействующих выключателей ВАБ-206-4000/30-Л-УХЛ4 существуют дополнительно следующие требования: оградить выключатель заземлённым ограждением, если он устанавливается не в шкафу. Ограждение выключателя должно быть сплошным, выдерживать указанные в паспорте расстояния до заземленных конструкций и между выключателями; заземлить корпус выключателя; работать на выключателе только при снятом напряжении главной цепи; запретить откидывать камеру без установки ограничивающих тяг.

Запрещается эксплуатировать выключатель при открытой или не до конца закрытой дугогасительной камере.

10.4 Требования безопасности, предъявляемые к электротехническому персоналу на тяговой подстанции

Электротехнический персонал должен быть обучен согласно «Межотраслевым правилам по охране труда при эксплуатации электроустановок» порядку безопасного производства эксплуатационных и ремонтных работ на воздушных и кабельных линиях, в электрических устройствах и трансформаторных помещениях.

Вся работа, связанная с эксплуатацией электрооборудования регламентирована в основном «Межотраслевыми правилами по охране труда при эксплуатации электроустановок» и «Правилами эксплуатации электроустановок потребителей». Согласно им, безопасное производство работ обеспечивается организационно-техническими мероприятиями. Организационными являются: оформление наряда - допуска, распоряжение на производство работ или в порядке текущей эксплуатации; допуск к работе; надзор во время работы; оформление перерывов в работе и переходов на другое рабочее место; оформление окончания работ.

К техническим мероприятиям, направленным на обеспечение безопасности обслуживающего персонала относят: производство необходимых переключений; вывешивание запрещающих плакатов; проверка отсутствия напряжения; наложение заземления; ограждение рабочего места; вывешивание предупредительных и предписывающих плакатов.

В условиях эксплуатации электроустановок обязательно применяют специальные защитные средства, служащие для защиты эксплуатационного персонала от поражения электрическим током, воздействия электрической дуги, электрического поля.

К работам в электроустановкам допускаются лица не моложе 18 лет, прошедшие медицинское обследование и не имеющие медицинских противопоказаний.

Электротехнический персонал до назначения на самостоятельную работу обязан пройти производственное обучение на рабочем месте. Для обучения работнику предоставляется срок, достаточный для ознакомления с оборудованием, аппаратурой, оперативными схемами и одновременного изучения в необходимом для своей должности объеме: МПОТ. ЦЭ-936, ПУЭ,. ЦРБ-756, ПОТРМ - 016 - 2001. «Правила технической эксплуатации железнодорожного транспорта РФ», должностных и производственных инструкций, инструкций для работников железнодорожного транспорта, инструкций по охране труда, других правил, нормативных документов, действующих на данном предприятии.

Программу обучения с указанием необходимых разделов правил и инструкций составляет инженер по охране труда и утверждает главный инженер энергохозяйства. По окончании обучения обучаемый должен пройти проверку в объёме, предусмотренным для данной должности. Ему должна быть присвоена соотвествующая группа по электробезопасности. При последующей работе производятся проверки знаний должностных и производственных инструкций: первичная - перед допуском к работе; периодическая - в установленном порядке; внеочередная - при нарушении правил и инструкций, по требованию ответственных лиц. Первичная и периодическая проверка знаний персонала по охране труда, а также внеочередные проверки производятся комиссиями.

10.5 Мероприятия по производственной санитарии

На тяговой подстанции существует целый ряд опасных и вредоносных факторов. Избежать или снизить их влияние можно, осуществляя мероприятия по производственной санитарии, которые включают в себя нижеперечисленное.

Анализ опасности поражения электрическим током сводится к определению значений тока, протекающего через тело человека в различных условиях.

Опасность поражения зависит от ряда факторов:

. Напряжение сети.

. Путь тока в теле человека.

. Схемы самой сети.

. Режима работы ее нейтрали.

. Степени изоляции токоведущих частей от земли.

. Емкости токоведущих частей относительно земли.

Электрический ток, проходящий через тело человека, оказывает термическое, электролитическое и биологическое воздействие. Нормирование осуществляется по ГОСТ-12.03.82, защита обеспечивается выполнением ряда организационных и технических мероприятий. Эти мероприятия обеспечивают электробезопасность персонала при обслуживании электроустановок, предотвращает ошибочные действия персонала при эксплуатации электрооборудования. Работники ТП подвергаются ежегодной проверке знаний ПТЭ и ПТБ, с ними проводятся занятия по тех.учебе и противоаварийные тренировки.

Электрическое поле частотой 50 Гц и напряженностью до 5 кВ/м не оказывает на организм человека вредного воздействия, поэтому время пребывания персонала в нем не нормируется. При напряженности более 5 кВ/м время пребывания регламентируется ГОСТ-112.1.002-84. В электрическом поле постоянного тока напряженностью менее 20 кВ/м время пребывания не ограничено при применении средств защиты. При напряжении выше 25 кВ/м максимальное время в электроустановках не должно превышать 3 часа. Защиту обеспечивают рациональной организацией труда и применением защитных экранов.

Создание нормального микроклимата на рабочем месте обуславливает производительность и качество выполняемой работы. Микроклимат внутри помещения нормируется. Температура окружающего воздуха может колебаться от + 18° до + 23° при относительной его влажности 65%, скорость движения воздуха не более 0,3 м/сек. Для нормализации микроклимата на ТП устанавливается общеобменная и местная вентиляция, а также электрическое отопление для поддержания температурного режима.

Открытая часть и помещения ТП должны быть хорошо освещены. Для освещения открытой части проектируются прожекторные мачты, число которых, а также мощность источников света, принимаются согласно расчетов. Освещение рабочих мест внутри помещения должны соответствовать требованиям ПУЭ.

В зависимости от категории работ освещенность рабочего места должна находиться в пределах 200-700 лк. На подстанциях кроме естественного освещения предусмотрено и искусственное, которое подразделяется на :

рабочее (необходимое для осуществления производственного процесса):

в проходах - 75 лк;

помещении щитовой - 200-500 лк.

аварийное (для продолжения работы при отключении рабочего освещения):

в проходах и на открытой части - 1 лк;

в помещении щитовой - 2 лк.

эвакуационное (для эвакуации людей в случае аварии и отключении освещения из помещения)

в проходах и открытой части - 1 лк;

в помещениях - 0,5 лк.

Основным источником шума на ТП являются вентиляционные установки помещения, преобразовательных агрегатов и аккумуляторной батареи. Характеристикой постоянного шума на рабочих местах является уровень звукового давления в октавных полосах со среднегеометрическими частотами: 31,5, 63. 125, 250, 500, 1000, 2000, 4000, 8000 Гц. Для помещений управления и постоянных рабочих мест допустимый уровень звукового давления по ГОСТ-12.1.003-83 составляет 60-85 дБА. Защита от шума в помещениях осуществляется применением специальных звукопоглощающих материалов, рациональным размещением рабочих мест и мест отдыха.

Химическое воздействие на организм человека оказывают вредные вещества, выделяющиеся при нагреве изоляционных и лакокрасочных материалов.

Содержание этих веществ в воздухе без превышения ПДК обуславливается работой электроустановок в нормальном режиме. В процессе эксплуатации аккумуляторной батареи в воздух рабочей зоны выделяются вредные вещества (водород, пары серной кислоты, прочие примеси). Водород выделяется как в чистом виде, гак и в виде ядовитых соединений. Его опасность заключается в снижении концентрации кислорода и воздухе. Допустимые концентрации:

водорода в помещении - 0,7%;

мышьяковистый водород (AsH3);

пары серной кислоты (H2SO4) - 1 мг/м.

К психологическим факторам относятся нервно-психические нагрузки, связанные с важностью принимаемых решений, факторы, связанные с неправильной организацией труда. Для снижения их воздействия необходимо проводить обучение персонала, правильно организовывать труд и рабочее место, наличие регламентированных перерывов в работе и комнат отдыха.

Биологические факторы представляют собой микроорганизмы (бактерии, вирусы, грибки), появляющиеся из-за нарушения правил личной гигиены, санитарного состояния помещения, неисправности сантехнических коммуникаций.

10.6 Средства индивидуальной защиты

Средства индивидуальной защиты (СИЗ) являются одной из мер предупреждения неблагоприятного воздействия на работающих опасных и вредных производственных факторов. Обеспечение работающих надёжными и эффективными СИЗ способствуют повышению безопасности труда, снижению производственного травматизма профессиональной заболеваемости.

Эффективность использования СИЗ во многом завит от правильного их выбора и эксплуатации. При выборе СИЗ необходимо учитывать конкретные условия производственного процесса, вид и длительность воздействия на работающих опасного и вредного производственного фактора, а также индивидуальные особенности работающих. Только правильное применение СИЗ может обеспечит максимальный защитный эффект от их использования на рабочих местах. СИЗ - спецодежду, спецобувь, различные предохранительные приспособления - применяются, как правильно, совместно с техническими средствами, это повышает безопасность работающих и способствует защите их неблагоприятных метеорологических, химических, тепловых, электрических др. воздействий в производственных условиях. Так, при работах с переносным электроинструментом используют диэлектрические перчатки, галоши и коврики.

Администрация обязана выдавать рабочим и служащим спейодежду, спецобувь и предохранительные приспособления строго в соответствии с установленными нормами и сроками службы.

Для защиты органов зрения применяются защитные очки. Очки должны плотно прилегать к лицу; для защиты кожного покрова работающих от воздействия вредных факторов применяются мази и пасты; для защиты органов дыхания применяются противогазы респираторы; для защиты головы от механических воздействий применяются каски; для защиты от падения с высоты используется предохранительный пояс. Все изолирующие защитные средства подразделяются на основные и дополнительные.

Основными изолирующими защитными средствами считают такие, изоляция которых надёжно выдерживает полное рабочее напряжение ЭУ и которым можно касаться токоведущих частей, находящихся под напряжением.

К дополнительным относятся изолирующие средства, которые не могут сами по себе в данном напряжении обеспечить безопасность от поражением током и применяются только в сочетании с основными.

В ЭУ выше 1000 В к основным средствам защиты относятся: изолирующие штанги, изолирующие и электроизмерительные клещи, указатели напряжения; к дополнительным - диэлектрические перчатки, диэлектрические боты, изолирующие подставки и накладки, изолирующие колпаки.

В ЭУ до 1000 В к основным относятся: изолирующие штанги, изолирующие и электроизмерительные клещи, указатели напряжения, диэлектрические перчатки, изолированный инструмент; к дополнительным - диэлектрические галоши, диэлектрические ковры, изолирующие подставки и накладки, изолирующие колпаки.

10.7 Обеспечение пожарной безопасности тяговой подстанции. Расчёт средств пожаротушения

В соответствии с правилами противопожарной безопасности и МПОТ ответственность за противопожарное состояние электроустановок приказом по ЭЧ назначается лицо, ответственное за электрохозяйство.

Начальник дистанции электроснабжения обязан: создать пожарно-техническую комиссию (ПТК); разработать готовые планы по повышению пожарной безопасности с выполнением средств на их реализацию; назначить ответственных за пожарную безопасность по каждой электроустановке.

Пожарно-техническая комиссия назначается приказом начальника дистанции электроснабжения в составе: ответственного за электрохозяйство или лиц его замещающего, начальников ЭЧЭ, РРУ, лабораторий.

Территория электроустановок должна содержаться в чистоте, очищаться от сгораемых отходов. Запрещается загромождать материалом и оборудованием проезды вокруг зданий и дорог, в коридорах ЗРУ устраивать кладовые, хранить электрооборудование, запасные части, ёмкости с горючими жидкостями.

Для очистки электротехнического оборудования от грязи и отложений должны использоваться, как правило, пожаробезопасные моющие составы и препараты. В исключительных случаях допускается применение горючих жидкостей в количествах, не превышающих при разовом использовании 1 л. При этом должна применятся только закрывающаяся тара из небьющегося материала.

При прокладке кабеля внутри помещения необходимо снимать сгораемый джутовый покров. Кабельные каналы ЗРУ и ОРУ должны быть постоянно закрыты несгораемыми плитами.

Первичные средства пожаротушения следует располагать у входов. В местах предполагаемой установки передвижной пожарной техники следует оборудовать и обозначить места для её заземления.

При пожаре на трансформаторе во избежание распространения огня на его обмотки запрещается сливать из трансформатора масло. Слив масла с соседних трансформаторов также не производится. С ближайшего оборудования, находящегося в зоне действия водяной струи, должно быть снято напряжение и токоведущие части заземлены. Трансформатор должен быть отключён от сети всех напряжений, если он не отключился от действий земляной защиты, и заземлён. Гравийная засыпка под маслонаполненным электрооборудованием должна содержаться в чистоте.

После окончания смены сгораемые отходы и обтирочные материалы необходимо складировать в специальные металлические ящики вместимостью не более 0,5 м2 с надписью «Для ветоши» и регулярно удалять для утилизации. Неиспользованные легковоспламеняющиеся горючие жидкости, а также краски, лаки и растворители следует сдавать в кладовые или хранить в специальных металлических шкафах.

На тяговых подстанциях в качестве средств пожаротушения используют углекислотные огнетушители, а также применяется автоматическая противопожарная сигнализация.

Тяговая подстанция относится к сооружениям, где применяется автоматический тепловой или дымный пожарный извещатель. Количество автоматических пожарных извещателей определяется необходимостью обнаружения загораний по всей контролируемой площади помещений (зон).

Максимальное расстояние между дублирующими дымовыми и тепловыми пожарными извещателями должно быть равно 5 м, если установка пожарной сигнализации предназначена для управления автоматическими установками пожаротушения, дымоудаления и оповещения при пожаре.

Дымовые и тепловые пожарные извещатели следует устанавливать, как правило, на потолке. При невозможности установки извещателей на потолке допускается установка их на стенах, колоннах. Пожарные извещатели следует устанавливать в каждом отсеке потолка на 0,4 и более. Автоматические пожарные извещатели необходимо применять в соответствии с требованиями технических условий, стандартов и паспортов, с учётом условий среды контролируемых помещений. В одном помещении следует устанавливать не менее двух автоматических пожарных извещателей.

Площадь, контролируемая одним дымным пожарным извещателем, а также максимальное расстояние между извещателями, извещателем и стенкой долно быть соответственно 9,0 и 4,5 м, но не превышать величин, указанных в паспортах на извещатели.

Площадь, контролируемая одним тепловым извещателем, а также максимальное расстояние между ними, извещателем и стеной долно быть 5 и 2,5 м соответственно.

Температура срабатывания максимальных и минимальных дифференциальных выключателей должна быть не менее чем на 20o Cвыше максимально допустимой температуры в помещении.

На рисунке 6.1 представлена схема расположения пожарных извещателей на тяговой подстанции Толмачёво.

Рис. 10.1 - Расположение пожарных извещателей

Объекты железнодорожного транспорта оборудуются огнетушителями по «Нормам оснащения объектов и подвижного состава железнодорожного транспорта первичными средствами пожаротушения Г822У».

Количество огнетушителей, необходимое для оборудования тяговой подстанции рассчитано

 


где Fi - площадь защищаемых помещений, м2; Fуд.оп.i - удельная потребность в огнетушителях, шт./м2.

Количество углекислотных огнетушителей составило

 

Тогда общее количество огнетушителей, необходимое для оборудования подстанции, равно:

 

При реконструкции тяговой подстанции Толмачёво достигается снижение шума благодаря установки нового выпрямительного агрегата марки ТПЕД-3150-3,3КУ1.

Рассмотренные в данном разделе дипломного проекта вопросы охраны труда, включающие в себя соблюдение правил технической эксплуатации электроустановок потребителей, правила техники безопасности при подготовке и производстве работ, обеспечивают безопасность обслуживающего персонала при проведении различных видов работ на подстанциях, позволяют предотвратить возникновение несчастных случаев и профессиональных заболеваний.

1) Распределительные устройства напряжением выше 1000 В должны быть оборудованы блокировочными устройствами исключающими ошибочное действие персонала при производстве переключений ( блокировочные устройства от ошибочных переключений) и блокировочными устройствами, препятствующими непреднамеренному проникновению персонала к токоведущим частям, находящимся под напряжением.

Блокировочное устройство от ошибочных переключений должно исключать:

·  отключение (включение) разъединителей при включенном выключателе;

·        включение заземляющих ножей до отключения разъединителя;

·        включение разъединителей при включенных заземляющих ножах.

) На токоведущие части переносные заземления необходимо накладывать в установленных для этого местах.

В распределительных устройствах места присоединения переносных заземлений должны быть очищены от краски, окаймлены черными полосами, а места подключения к магистрали заземления или заземленной конструкции должны быть отмечены знаком «земля» в ОРУ и ЗРУ устанавливаются барашки, а для обеспечения удобства установки переносного заземления на шину и шлейф на них прикрепляют специальную скобу, на которую должно завешиваться заземление.

) Корпус масляных выключателей, находящиеся во время их работы под напряжением, должны быть окрашены в сигнальный красный цвет или на них наносится красная стрела или знак « Осторожно! Электрическое напряжение».

У кнопок управления выключателями, у рукояток разъединителей, заземляющих ножей, на шкафах, на оборудовании и т.п. должны быть надписи с диспетчерскими наименованиями, при необходимости установлены крючки для вывешивания плакатов, должны быть указаны положения «включено», «отключено».

Техническая документация, знаки и плакаты по безопасности труда труд безопасность охрана санитария

) Перечень оперативно-технической документации на тяговых подстанциях, ПС, ППС, районах электроснабжения должен утвержден ответственным за электрохозяйство дистанции электроснабжения и пересматриваться не реже 1 раза в 3 года.

) Контроль за правильностью ведения оперативного журнала осуществляется начальником тяговой подстанции, района электроснабжения, о чем делается запись в журнале. Ответственность за правильность и достоверность записей в оперативном журнале несет оперативный персонал тяговой подстанции, района электроснабжения. Заполненные оперативные журналы хранятся в течении трех лет со дня последней записи.

) Правильность заполнения нарядов, распоряжений проверяет лицо, выдавшее наряд, бланков переключений - начальник тяговой подстанции в течении пяти суток после окончания работ по ним.

) Опасные места выявляются комиссией в составе заместителя начальника дистанции электроснабжения, ведающего эксплуатацией тяговых подстанций.

) Опасные места на ЭЧЭ, ПС, ППС окрашены красной краской, обозначены предупреждающими знаками-указателями ( красной стрелкой) и плакатами « Внимание! Опасное место». При производстве работ в таком месте должен быть выдан наряд с красной полосой по диагонали. Выдающий наряд должен проинструктировать ответственного руководителя, производителя работ и членов бригады по условиям ее безопасного производства на основе карты технологического процесса подготовки работ в опасном месте с оформлением инструктажа в журнале «Учет работ по нарядам и распоряжениям» ЭУ-40.

ЗАКЛЮЧЕНИЕ

В дипломном проекте рассмотрено предложение по реконструкции тяговой подстанции Толмачёво Санкт-Петербургской - Балтийской дистанции электроснабжения.

Дано описание эксплуатируемого в настоящее время оборудования и рассмотрены возможные варианты реконструкции. В проекте предложен вариант замены устройств подстанции с частичным использованием существующего здания и сооружений. В помещениях тяговой подстанции возможно расположить новую щитовую, установить аккумуляторную батарею, предварительно выполнив косметический ремонт.

Для выбора оборудования произведён расчёт рабочих и аварийных токов. Произведено сравнение параметров нового устанавливаемого оборудования с условиями работы. Также определена стойкость оборудования к динамическим и термическим нагрузкам при возникновении аварийных режимов.

Для лучшего ознакомления с проектируемым процессом реконструкции в дипломном проекте служит раздел планировочных и конструктивных решений, в котором дано подробное описание технических особенностей расположения и монтажа нового оборудования.

В экономическом разделе дипломного проекта приведён расчёт затрат на реконструкцию и определён экономический эффект. В разделе охраны труда даны описания прицепов и приёмов безопасного монтажа, наладке и обслуживания устройств тяговой подстанции. Выполнены расчёты пожарных извещателей и необходимого количества огнетушителей.

К дипломному проекту прилагаются чертежи схемы внешнего электроснабжения, однолинейной схемы, схемы расположения оборудования, технических особенностей оборудования и экономической составляющей.

СПИСОК ИСПОЛЬЗОВАННЫХ ИСТОЧНИКОВ

1. Федеральный закон «О железнодорожном транспорте Российской Федерации». // Российская газета от 18.01.2003 г.

. Федеральный закон «Об электроэнергетике» от 26.03.2003 г. №35 - Ф3 // Российская газета от 01.04.2003 г.

. Энергетическая стратегия ОАО «РЖД» на период до 2010 г. И на перспективу до 2030 г. №269 - М.: ОАО «РЖД», 2008. - 76с..

. Правила устройства системы тягового электроснабжения железных дорог. ЦЭ-462. - М.: МПС,1997. - 147 с.

. Концепция модернизации устройств электроснабжения железных дорог. - М.: МПС, Департамент электрификации и электроснабжения, 1999. - 147 с.

6. Межотраслевые правила по охране труда (Правила безопасности) при эксплуатации электроустановок. ПОТ Р М - 016 -2001 РД 153-34.0 - 03.150 - 00. С изменениями и дополнениями, утверждёнными Минтруда России и Минэнерго России. - 2003.

. Инструкция по техники безопасности при эксплуатации тяговых подстанций, пунктов питания и секционирования железных дорог. ЦЭ - 4054 12.03.2008 г.

. Правила безопасности при эксплуатации контактной сети и устройств электроснабжения автоблокировки железных дорог ОАО «РЖД» ДЭЭ №103, 16.12.2010 г.

9. Почаевец В. С. Электрические подстанции. Москва 2001г. 268 с.

10. Микропроцессорное устройство основной защиты трёхобмоточного трансформатора <Сириус-Т3>. Руководство по эксплуатации, паспорт 72 с.

11. Каталог 89 - 2013 - 01 <<Выпрямители для системы тягового электроснабжения>>. НИИЭФА - ЭНЕРГО 35 с.

12. Правила устройства электроустановок (ПУЭ). Седьмое издание.

Похожие работы на - Реконструкция тяговой подстанции Толмачёво

 

Не нашли материал для своей работы?
Поможем написать уникальную работу
Без плагиата!
Без нейросетей!