|
Види впливу, характеристика
|
Норми впливу I група
|
|
Прискорення
|
15
|
|
Тривалість ударного імпульсу, м/с
|
|
Кількість ударів, не менше
|
1000
|
|
Робоча температура, 0С
|
40
|
|
Гранічна температура, 0С
|
55
|
|
Гранична температура, 0С
|
-40
|
|
Вологість, %
|
93
|
|
Температура, 0С
|
25
|
1.3 Аналіз елементної
бази
Для живлення цієї схеми
необхідне джерело постійного струму 12В.
У регуляторі гучності,
балансу та тембру на TDA1524A використовуються наступні елементи:
). електролітичні
конденсатори С13, С14 ємністю 2,2 мкф - 2 шт.;
). електролітичні конденсатори
С5, С10 ємністю 100 мкф - 2 шт.;
). конденсатори
керамічні С1, С2 ємністю 68 нф - 2 шт.;
). конденсатор Сз,
С4 ємністю 15 нф - 2 шт.;
). конденсатор С5,
С10 ємністю 100 нф - 2 шт.;
). конденсатор С6,
С7, С8, С9 ємністю 0,1 мкф - 4 шт.;
). конденсатор С11,
С12, С15 ємністю 0,22 нф - 3 шт.;
). опори змінного струму
R1, R2, R3, R4 номіналом 47 кОм - 4
шт.;
). опори постійного
струму R5, R6 - млт - номіналом 0,125-10 кОм - 2 шт.;
). підрядкові опори R7,
R8 номіналом 68 кОм - 2 шт.;
). опір постійного
струму R9 номіналом 2, 2 кОм - 1 шт.;
). мікросхема TDA1507.
Оксидно-електролітичний
конденсатор наведено на рисунку 2.
Рисунок 2 -
Оксидно-електролітичний конденсатор
Керамічний конденсатор
підналаштування наведено на рисунку 3.
Рисунок 3 - Керамічний
конденсатор підналаштування
Резистор змінний ППБ-15Д
1кОм наведено на рисунку 4.
Рисунок 4 - Резистор
змінний ППБ-15Д 1кОм.
Резистор змінний RV16LN
5 kOm лінійний наведено на рисунку 5.
Рисунок 5 - Резистор
змінний RV16LN 5 kOm лінійний.
Резистори постійні та
керамічні конденсатори наведено на рисунку 6.
Рисунок 6 - Резистори
постійні X7R1206 та керамічні конденсатори
Резистори підстрочні
наведено на рисунку 7.
Рисунок 7 - Резистори
підстрочні
Опори змінного струму
наведенона рисунку 8.
Рисунок 8 - Опори
змінного струму
Підрядкові опори
наведено на рисунку 9
Рисунок 9 - Підрядкові
опори
Мікросхема на TDA
наведена на рисунку 10.
Рисунок 10 - Мікросхема
Analog Devices TEA1507P, DIP8
2. Спеціальний розділ
.1 Технологія
виготовлення друкованої плати
У виробництві виробів
приладобудування, засобів обчислювальної техніки та побутової ЕРА широко
застосовуються ДП як засіб, що забезпечують автоматизацію монтажно -
складальних операцій, зниження габаритних розмірів апаратури, металоємності і
підвищення ряду конструктивних і експлуатаційних якостей виробу.
Для виготовлення ДП
найбільшого поширення набули три методи: хімічний, електрохімічний
(полуаддітівний), комбінований позитивний.
Суть
хімічного методу: в якості вихідного матеріалу використовуються діелектрики, що
вкриті фольгою з однієї або двох сторін. На фольгу наносять рисунок схеми.
Незахищені дільниці фольги видаляють шляхом травлення, в результаті чого
одержується необхідний рисунок ПП. Існують хімічний негативний та позитивний
засоби.
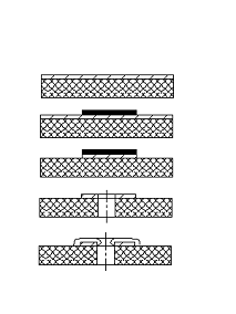
Хімічний
негативный метод. Послідовність операцій.
. Різка
заготовок та підготовка поверхні, виконання базових отворів. (ГФ, СФ).
.
Отримання захисного рисунка схеми. В якості фотошаблону використовується
негативне зображення провідного рисунка ПП.
.
Травлення міді.
.
Вилучення захисного рисунка.
.
Виконання монтажних та перехідних отворів.
.
Нанесення сплаву Розе (16% Sn, 32% Pb, 52% Bi) - для поліпшення паяння.
.
Фінішна обробка (обробка контура, маркування. Контроль ПП, нанесення захисної
лакової плівки).
Хімічний
негативный метод виготовлення ДП наведено на рисунку 11.
Рисунок
11 - Хімічний негативний метод виготовлення ДП
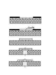
.
Отримання захисного рисунка на пробільних місцях. Використовується позитивний
фотошаблон.
.
Гальванічне нанесення металевого покриття (сплав олово-свинець).
.
Вилучення захисного рисунка.
.
Травлення міді.
.
Виконання монтажних та перехідних отворів.
.
Фінішна обробка (оплавлення+маркування…).
Хімічний
позитивный метод виготовлення ДП наведено на рисунку 12.
Рисунок
12 - Хімічний позитивний метод виготовлення ДП
Достоїнства
хімічного засобу (субтрактивної технології).
.
Простий технологічний процес.
. Засіб
легко автоматизується.
. Малий
час хімічних впливів на ПП (25 хв.).
.
Висока прочність зчеплення фольги з діелектриком.
Недоліки.
.
Необхідність в металевих втулках при двосторонньому печатному монтажі.
.
Великий видаток міді.
. Існує
ефект бокового підтравлення елементів провідного рисунка. Звідси низька
дозвільна спроможність.
Адитивний засіб
виготовлення ПП. Послідовність операцій:
. Виготовлення
заготовки, підготовка поверхні, утворення базових отворів.
. Виконання отворів під
металізацію.
. Сенсибілізація та
активація поверхні.
. Отримання негативного
захисного рисунка схеми.
.Хімічне міднення
(впродовж 8 -16 г., товщина шару міді 25-35 мкм).
. Вилучення захисного
рисунка.
. Виконання
неметалізованих отворів.
. Покриття сплавом
олово-свинець (ПОС-60) (біля 8 мкм).
.Фінішна обробка.
Достоїнства.
. Висока дозвільна спроможність,
бо немає підтравлення.
. Однакова товщина та
однорідність міді на всіх дільницях ПП та в металізованих отворах. Звідси
слідує збільшення надійності.
. Экономія міді.
Недоліки: низька
швидкість процесу.
Комбінований засіб
виготовлення ПП: поєднання хімічного та електрохімічного засобів. Вихідним
матеріалом служить фольгований з двох сторін діелектрик. Провідний рисунок
одержують за допомогою витравлення міді, а металізація отворів здійснюється
хімічним мідненням з наступним нарощуванням шару міді. Розрізняють комбінований
негативний та комбінований позитивний засоби виготовлення ПП.
Комбінований
негативний засіб. Послідовність операцій.
.
Виготовлення заготовки, виконання базових отворів, підготовка поверхні.
.
Формування захисного рисунка.
. Травління.
.
Вилучення захисного рисунка.
.
Нанесення захисної лакової плівки.
.
Виконання отворів (свердлення), що підлягають металізації.
.
Підготовка поверхні та хімічне міднення.
.
Вилучення лакової плівки.
.
Гальванічне міднення.
.
Нанесення сплаву олово-свинець.
.
Оплавлення сплаву олово-свинець.
.
Фінішна обробка.
Комбінований
негативний засіб виготовлення ДП наведено на рисунку 13.
Рисунок
13 - Комбінований негативний засіб виготовлення ДП
При
негативному комбінованому засобі діелектрик наражається на вплив гальванічних
розчинів та складів, опір ізоляції готових ПП в 10 раз нижче, ніж при позитивному
процесі.
Комбінований позитивний
метод заснований на хімічному і електрохімічному методах. Дозволяє отримати
провідники підвищеної точності. Спочатку виконуються операції свердлення
отворів та їх металізація, а після цього травлення міді з пробільних місць. При
використанні сухих фоторезистів свердлення отворів та хімічне міднення
виконується до нанесення рисунка, при використанні рідких - після нанесення
рисунка. Відповідно розрізняють комбінований позитивний - I та комбінований
позитивний - II засоби. (I - свердлення - рисунок - травлення; II - рисунок -
свердлення - травлення).
Технологічна
послідовність операцій при комбінованому позитивному - I засобі.
. Виготовлення заготовки
та виконання базових отворів.
. Виконання отворів, що
підлягають металізації та їхнє очищення.
.Підготовка поверхні,
хімічне та попереднє гальванічне міднення.
Далі - аналогічно
напівадитивному засобу
.Підготовка поверхні та
формування захисного рисунка.
. Гальванічне міднення
та нанесення захисного покриття.
. Вилучення захисного
рисунка.
. Травління міді.
. Оплавлення захисного
покриття.
.Фінішна обробка.
Послідовність операцій
при комбінованому позитивному-II засобі.
. Виготовлення заготовки
та виконання базових отворів.
.Підготовка поверхні та
формування захисного рисунка (резисту).
. Нанесення захисної
лакової плівки.
. Отримання отворів, що
підлягають металізації та їхнє очищення.
.Хімічне міднення.
. Вилучення лака.
. Нанесення захисного
покриття (сплав олово-свинець).
. Вилучення захисного
рисунка (резисту).
. Травління.
. Оплавлення.
.Фінішна обробка.
До позитивного
комбінованого - I та II засобів: забезпечують добру адгезію елементів
провідного рисунка до діелектрика та збереження електроізоляційних властивостей
діелектрика, захищеного під час обробки в хімічних розчинах мідною фольгою.
Дозвільна спроможність засобу декілька нижче, ніж хімічного, що пояснюється
великим боковим підтравлюванням та розрощуванням (збільшенням перетину)
елементів схеми, характер якого залежить від товщини захисного шару фарби або
фоторезиста, нанесеного перед металізацією.
Перевагою позитивного
комбінованого методу в порівнянні з негативним є гарна адгезія провідника,
підвищена надійність монтажних та перехідних отворів, високі електроізоляційні
властивості.
Останнє пояснюється тим,
що при тривалій обробці в хімічноагресивних розчинах (розчини хімічного
міднення, електроліти та ін) діелектричну підставу захищено фольгою.
Проаналізувавши всі
методи, обраний метод комбінований позитивний, тому що в порівнянні з хімічним
він володіє кращою якістю виготовлення, досить гарними характеристиками, що
необхідно в вимірювальноій апаратурі і є можливість реалізації металізованих
отворів,
2.2 Технологія
виготовлення блоку
Комбінований позитивний
метод.
. Виготовлення
фотошаблонів та підготовка інформації.
а) Підготовка інформації
. Розробка принципової
схеми пристрою.
. Трасировка.
. Доробка файлів. Вихід
файлів з свердління фрезерування.
Правильна оптимізація
даних, рисунка та положення елементів плати наведенно на рисунку 14.
Рисунок 14 - Правильна
оптимізація даних, рисунка та положення елементів плати
б) Виготовлення
фотошаблонів
Рзрізняють позитивні та
негативні фотошаблони. Дуже важливо контрлювати сумісність фотошаблонів один з
одним та проводити контрольний замір фотошаблонів.
Сумісність фотошаблонів
наведено на рисунку 15.
Рисунок 15 - Сумісність
фотошаблонів
2. Різка заготовок.
Листи склотекстоліта
надрізаються на заготовки. Розмір заготовок вибирається кратним листу
склотекстоліта (914,4x1220 мм). Різка заготовок може виконуватися на гільйотинних
ножицях або на роликових ножицях.
. Виготовлення базових
отворів.
Тип та размір отворів
залежить від вибраної системи базування. Базові отвори круглої форми
виконуються сверлінням, а овальної - вирубкою.
. Ламінування.
Наступний етап -
нанесення пластичного фоточутливого материалу на заготівлю. Заготівля
очищується та приготавляється до нанесення фоторезиста. Цей етап проходить в
чистій кімнаті з жовтим освітленням. Резист світлочутливий й при довгому
невикористанні руйнується.
Нанесення пластичного
фоточутливого материалу на заготівлю наведено на рисунку 17.
Рисунок 17 - Нанесення
пластичного фоточутливого материалу на заготівлю
. Експонування.
а) Розміщення
фотошаблона.
Зображення на
фотошаблоні негативне по відношеннюю до майбутньої схеми. Під темними ділянками
фотошаблона мідь не буде видалена. При виористанні систем базування точність
сумісництва визначається точністю виготовлення базових отворів в заготівлях та
фотошаблоні, типу системи базування. Найбільш точною системою сумісництва є
автоматична оптична система сумісництва.
б) Експонування
фоторезиста.
Ділянки поверхні
незахищені фотошаблоном засвітлюються. Фотошаблон знімається. Після цього
засвітлені ділянки можуть бути видалені хімічно.
Видалення засвітлених
ділянок наведено на рисунку 18.
Рисунок 18 - Видалення
засвітлених ділянок
. Хімічна обробока.
а) Проява.
Засвітлені ділянки
фоторезиста видаляються, залишая фоторезист тілько в тих областях, де будуть
проходити доріжки плати. Призначення фоторезиста - захистити мідь під ним від
впливу травителя на наступному етапі.
б) Травлення.
Заготівля травиться для
видалення непотрібної міди. Резист, залишившийся на поверхні предохраняє мідь
під ним від травлення. Вся незахищенна мідь видаляеться, залишая діелектричну
підложку. Після травлення доріжки схеми создані та внутрішній шар мають
необхідний рисунок.
в) Видалення резиста
Резист видаляється,
відткривая не витравлену мідь. Зараз заготовка представляє собою повністю
готовий внутрішній шар.
Рисунок 19 - Видалення
резистора
7. Пресування.
На цьому етапі плата
збирається в пакет, який сладається з внутрішнього та зовнішніх слоїв,
прокладених препрегом (матеріалом що служить у якості клею). На межах пакету
необхідно використання додатових шарів, що служать для захисту пластин пресу
від попадання расплавленого препрега та простоти розборки пакету. Пресування
виконується в вакуумі в декілька етапів. Спочатку при відносно невеликих
зусиллях (при певних температурах), потім при великих зусилляз та велиих температурах.
Межою є крапка гелеутворення препрега.
. Сверління отворів.
Отвори на платі
слуговують двум цілям: забезпечувати з’єднання між шарами та для монтажних
цілей. Плати сверляться на станках з програмним керуванням. Точність сверління
визначається класом обладнання, а також його налаштуванням.
Сверління отворів
наведено на рисунку 20.
Рисунок 20 - Свердління
отворів
. Металізація отворів.
Цей етап служить для
покриття отвору тонким слоєм металу. Для металізації плата розташовується в
ванній, де повністю хімічно покривається тонким шаром паладію. Сутність процесу
хімічна та покриваються як діелектричні, так і металічні поверхні.
. Химічна обробка.
а) Нанесення резиста.
Далі плата покриваєтсья
резистом, резист засвітлюється через фотошаблон, засвітлені ділянки
видаляються. Ці етапи аналогічні описаним раніше з різницею: резист видаляється
з ділянок, де буде наноситься мідь. Зображення на фотошаблоні повинно бути
позитивним. Етап сумісництва фотошаблона та заготовки являється ключовим у
забезпеченні сумісництва.
б) Електролітичне
нанесення міді.
Електролітичне нанесення
міді наведено на рисунку 21.
Рисунок 21 -
Електролітичне нанесення міді
Мідь наноситься на
поверхню отвору до товщини 0,25 мм. Мідь, достатньо товста, щоб проводити
струм, необхідний для електролітичного осадждення міді. Це необхідно для
надійного електричного з’єднання сторін та внутрішніх шарів плати.
в) Оловяно - свинцове
покриття.
г) Видалення резиста
Видалення резиста
наведено на рисуну 22.
Рисунок 22 - Видалення
речиста
Резист видаляється,
залишаучи оловяно-свинцову суміш (припой) та нанесену мідь. Мідь, вкрита
припоєм, витримає процес травлення та утворить собою рисунок плати.
д) Травлення міді.
На цьому етапі припой
використовується як резист для травлення.
е) Видалення припоя.
Припой видаляється з
поверхні міді та плата очищується. В інших процесах оловяно-свинцова суміш
розплавляється для подальшого використання (лудіння).
. Нанесення захиного
покриття.
Для захисту поверхні
плати, де в подальшому не потребує пайка, наноситься маска. Існує декілька
типів масок та методів її нанесения. Фоточутлива маска наноситься тим самим
способом, що й фоторезист та забезпечує високу точність процесу. Нанесення
через трафарет не має такої точності, але матеріал маски більш пластичен, і
вартість процесу нижче.
2.3 Застосування
автоматизації при виготовленні блоку
Автоматизована лінія
виробництво ДП.
Розвиток предметної
форми спеціалізації цехів машинобудівних підприємств приводить до створення
потокового виробництва - найбільш прогресивної й ефективної форми організації
виробничих процесів, що ґрунтується на ритмічній повторюваності погоджених у
часі основних і допоміжних операцій. Ці операції виконуються на спеціалізованих
робочих місцях, розташованих у послідовності технологічного процесу, що
максимально дає змогу реалізувати принципи прямоточності, спеціалізації,
безперервності, паралельності, ритмічності.
Для організації
потокового виробництва характерні такі ознаки:
можливість розподілу
виробничого процесу виготовлення продукції на більш-менш прості операції і
закріплення їх за окремими робочими місцями або за групою однакових робочих
місць;
оснащення робочих місць
потокової лінії спеціальним устаткуванням, інструментом, пристосуваннями, що
забезпечують високопродуктивне виконання закріплених операцій;
розміщення робочих місць
відповідно до послідовності технологічного процесу;
транспортна
спрямованість, що регламентує все виробництво в часі й у просторі;
високий ступінь
механізації й автоматизації процесів виробництва;
безупинно повторювана
однаковість усіх виробничих чинників - якості і форм матеріалів, інструментів і
пристосувань таін.;
рівномірність випуску
продукції на основі єдиного розрахункового такту потокової лінії;
негайна передача
предметів праці з попередньої операції на наступну поштучно або невеликими
партіями мірою їхньої обробки на попередній за допомогою спеціальних
транспортних засобів.
Умовами переходу на
потокові методи виробництва є: достатній обсяг випуску однотипних виробів, для
чого максимально уніфікують конструкції виробів, що випускаються; поглиблення
спеціалізації заводу, цехів, ділянок і робочих місць; відпрацьовування
конструкцій виробів з погляду вимог потокової технологічності; розробка технологічного
процесу, що забезпечує найбільшу пропорційність у потоці, а в серійному
виробництві - уніфікація технології та застосування групової обробки.
За ступенем
спеціалізації виокремлюють такі:
однопредметні по токові
лінії, що звичайно є постійними - потоковими, для яких характерні: виробництво
одного виду продукції протягом тривалого періоду часу до зміни об'єкта
виробництва на заводі; постійно діючий незмінюваний технологічний процес;
великий масштаб виробництва однотипної продукції. Ці лінії, як правило,
застосовуються в умовах масового або великоесрійного виробництва;
багатопредметні потокові
лінії, що створюються в тих випадках, коли програма випуску продукції одного
виду не забезпечує достатнього завантаження комплекту устаткування лінії.
Залежно від методу
чергування об'єкта виробництва багатопредметні лінії є таких видів:
перемінно - потокові -
це лінії, на яких обробляється кілька конструктивно-однотипних виробів різного
найменування, обробка здійснюється по черзі через визначені інтервали часу з
переналагодженням робочих місць або без їхнього переналагодження;
групові - це лінії, на
яких обробляється кілька виробів різних найменувань за груповою технологією і з
використанням групового оснащення або одночасно, або по черзі, але без
переналагодження устаткування.
За ступенем
безперервності технологічного процесу виокремлють:
без перервно-потокові -
це лінії, на яких предмети праці з операції на операцію передаються безупинно
поштучно або невеликими транспортними партіями за допомогою механізованих або
автоматизованих транспортних засобів через однаковий проміжок часу. При цьому
час виконання всієї операції технологічного процесу на певному робочому місці
має дорівнювати або бути кратним тактові, тобто технологічний процес має бути
синхронізований;
перервно-потокові лінії,
що створюються, коли відсутня рівність або кратність тривалості операцій
тактові і повна безперервність виробничого процесу не досягається. Для
підтримки безперервності процесу па найбільш трудомістких операціях створюються
міжопераційні оборотні заділи.
За способом підтримки
ритму виокремлюють:
лінії з регламентованим
ритмом, характерні для безперервно-потокового виробництва. На них ритм
підтримується за допомогою конвеєрів, що переміщують предмети праці з
визначеною швидкістю, або за допомогою світлової або звукової сигналізації за
відсутності конвеєрів;
лінії з вільним ритмом,
що не мають технічних засобів, строго регламентованого ритму роботи. Ці лінії
застосовуються для будь-яких форм потоку, і дотримання ритму в цьому разі покладається
безпосередньо на працівників певної лінії.
За видом використання
транспортних засобів є такі види потокових ліній:
з транспортними засобами
безперервної дії залежно від функцій, виконуваних цими засобами, що
підрозділяються на:
лінії з транспортним
конвеєром - призначені для транспортування предметів праці і підтримки ритму
роботи лінії;
лінії з робочим
конвеєром - це лінії, де робочі конвеєри є не тільки транспортними засобами
безперервної дії, що виконують функції транспортних конвеєрів, а й становлять
систему робочих місць, на яких здійснюються технологічні операції без зняття
предметів праці;
лінії з розподільним
конвеєром - це потокові лінії з виконанням операцій на стаціонарних робочих
місцях і з різною кількістю робочих місць-дублерів на окремих операціях, коли
для підтримки ритмічності необхідно забезпечити чітке адресування предметів
праці на робочі місця;
з транспортними засобами
дискретної дії. До транспортних засобів дискретної дії належать: безприводні
транспортні засоби (рольганги, схили, спуски); підйомно-транспортне
устаткування циклічної дії (бруківки крани, монорейки з тельферами,
електровізки, електрокари та ін.);
без наявності
транспортних засобів - це лінії з нерухомим предметом праці.
За характером руху
конвеєра виокремлюють такі:
лінії з безперервним
рухом конвеєра, що створюються в тих випадках, коли за умовою технологічного
процесу операції мають виконуватися під час руху робочого конвеєра без зняття
предметів праці з робочих місць або операції виконуються на стаціонарних робочих
місцях;
лінії з пульсуючим рухом
конвеєра які створюються в тих випадках, коли за умовою технологічного процесу
операції мають виконуватися за нерухомого об'єкта виробництва на робочому
конвеєрі. У цьому разі привід конвеєра включається автоматично через заданий
інтервал часу тільки на час, необхідний для переміщення виробів на паступну
операцію.
За рівнем механізації
процесів визначають такі види потокових ліній:
автоматичні, що
характеризуються об'єднанням у єдиний комплекс технологічного і допоміжного
устаткування і транспортних засобів, а також автоматичним централізованим
керуванням процесами обробки і переміщення предметів праці;
напівавтоматичні,
агреговані зі спеціальних верстатів-напівавтоматів (з послідовним,
послідовно-рівнобіжним, паралельним агрегуванням).
2.4 Розрахунок
технологічності конструкцій
друкований плата
автоматизація технологічний
Під технологічністю
конструкції розуміють таке поєднання конструктивно-технологічних вимог, що
забезпечує найбільш просте і економічне виробництво виробів при дотриманні всіх
технічних та експлуатаційних умов.
Технологічність
конструкції складальних одиниць визначають трудомісткістю операцій складання,
можливістю ефективного використання високопродуктивного автоматизованого
устаткування для збірки.
Оцінка технологічності
конструкції полягає в розрахунку комплексного показника технологічності даного
виробу і порівняння його з нормованим показником, встановленим для даного виду
виробу. Нормований показник технологічності для серійного виробництва перебуває
в межах від 0,45 до 0,75. Комплексний показник визначається на основі відносних
часткових показників і коефіцієнтів їх впливу на технологічність виробів.
Відносні часткові
показники і коефіцієнти їх впливу на технологічність виробів наведено у таблиці
4.
Таблиця 4 - Показники
технологічності та коефіцієнти значущості
|
Порядковий номер в ранжируваній
послідовності
|
Показник технологічності
|
Коефіцієнт значущості
|
|
1
|
0,27
|
|
|
2
|
0,47
|
|
|
3
|
0,73
|
|
|
4
|
0,75
|
|
|
5
|
0,25
|
|
Коефіцієнт автоматизації
и механізації підготовки елементів до монтажу:
де
- число ЕРЕ и ІМС, підготовка до монтажу яких виконується
механізованим або автоматизованим способом;
=21.
-
загальне число ЕРЕ,
=26;
-
загальне число мікросхем и мікрозбірок,
=1.
=21/(26+1)=0,77.
Коефіцієнт установчих
розмірів:
(2)
де
- число типів установчий розмірів;
=4.
-
число всіх установчих розмірів;
=5.
Ку=1-4/26=0,846.
Коефіцієнт застосовності
ЕРЕ:
, (3)
де
- число типорозмірів оригінальних ЕРЕ;
-
число всіх типорозмірів ЕРЕ.
=1-1/5=0,8.
Коефіцієнт
повторюваності ЕРЕ:
-
, (4)
=1-5/(26+1)=0,815.
Коефіцієнт
використання мікросхем та мікрозборок:
, (5)
=1/(26+1)=0,037.
Комплексний
показник технологічності:
(6)
К=(0,27.0,037+0,47.0,77+0,73.0,81+075.0,8+0,25.0,2)/(.27+0,47+0,73+0,25)==0,65.
Порівнюючи
отриманий комплексний показник технологічності виробу з нормованим показником
технологічності для серійного виробництва можна зробити висновок про те, що
розроблений виріб є достатньо технологічним. Основний вплив на зниження
технологічності зробив низький коефіцієнт використання мікросхем.
Висновки
В даній курсовій
роботі розглянуто регулятор гучності, балансу та тембру на TDA1524A.
Комбінований позитивний метод виготовлення ДП. До даної системи розроблена
схема електрична принципова, друкована плата. В роботі міститься опис роботи
пристрою, розрахунки технологічності конструкції.
Під час виконання
курсової роботи я удосконалив свої знання з технології виготовлення ДП.
Література
1. cxem.net.ua
. Горобец А.И. й ін. Справочник по конструированию
радиоэлектронных аппаратов. - К.: Техника, 1985.-312 с.
. ГОСТ 25467-82. Изделия электронной техники. Классификация по
условиям применения и требования к стой кости к внешним факторам.
. ГОСТ 11478-88. Аппаратура радиоэлектронная бытовая. Нормы и методы
испытаний на влияние внешних механических и климатических факторов.
. Шерстнев В.В. Конструирование и микроминиатюризация ЭВА - М.:
Радио и связь, 1984. - 272 с.
. Методичні вказівки до лабораторних робіт по дисциплінах «Основи
конструювання електронно-обчислювальних засобів».
. Разработка и оформление конструкторской документации
радиоэлектронных аппаратов: Справочник/ Э.Т. Романычева й ін.; Под ред. Э.Т.
Романычевой. - М.: Радио и связь, 1989. - 448 с.
. Технология ЭВА, оборудование и автоматизация: учебное пособие
для студентов вузов специальности «Конструирование и производство ЭВА»/
Алексеев В.Г., Гриднев В.Н., Нестеров Ю.И. и др. - М.: Высш.шк., 1984.-392 с.
. Технология и автоматизация производства РЭА /Под редакцией А.П.
Достанко, Ш.М. Чабдарова. - М.: Радио й связь, 1989.-624 с.
. Методичні вказівки до практичних робіт по дисциплінах
«Технологія виготовлення ЕОТ», СХМТ.
. Автоматизация и механизация сборки и монтажа узлов на печатных
платах /Под ред. Журавского В.Г./ - М.: Радио й связь, 1988. - 280 с.