|
Дано: F1=0,8
кН F2=1,0 кН
|
|
N1-
? N2- ?
|
Решение
Рассмотрим равновесие точки В,
которая считается несвободной, так как на нее наложены связи в виде стержней АВ
и BС.
Освобождаем точку В от связей и заменяем их силами реакций связей, считая, что
стержень ВС и АВ растянуты под действием сил F1 и F2. Обозначим реакцию стержня ВС через N1, а стержень АВ через N2. В итоге точка становится свободной, находясь под действием
плоской системы четырех сходящихся сил: активной F1 и F2 и реакций N1и N2. Приняв точку B за начало координат перенесем силы N1, N2, F1, F2 параллельно самим себе в эту точку и составим уравнение проекций
сил на оси координат.
=0; - N1·cos60
- N2·cos15
+ F2·cos30
=0 (1.1)
=0; - F1
- N2·sin15
+ N1·sin60
+ F2·sin30
=0 (1.2)
Выразим из уравнения 1.1 N1:
N1=
В уравнение 1.2 подставим N1 и получим:
- F1 - N2·sin15
+
·sin60
+F2·sin30
=0

2=
1=
=
0,16603 кН
Графический метод. Для
решения задачи этим методом выбираем масштаб силы F
(например, 10Н=1 мм) и строим замкнутый четырехугольник сил. Из произвольной
точки О проводим прямую параллельную вектору
. Аналогично поступаем
для сил
,
,
.
Получим замкнутый четырехугольник сил, стороны которого в выбранном масштабе
изображают силы. Величины
,
определяем после измерения соответствующих сторон
четырехугольника.
С учетом графического построения:
N1
0,16603 кН
N2
кН
Ответ:
N1= 0,16603 кН, N2=
кН
Задача 2
Для заданных плоских ферм, к узлам
которых приложены силы F определить реакции в опорах и усилия во всех стержнях. Для
решения использовать метод вырезания узлов.
|
Дано: F=10 кН
|
|
N1- ? N2-
? N3- ? N4- ? N5- ? N6- ? N7-
? RAX- ? RAY- ? RB- ?
|
Решение
Освобождаемся от связей, заменяя их
реакциями опор. На ферму действует плоская система произвольно расположенных
сил. Опора B шарнирно-подвижная, поэтому опорная реакция RB перпендикулярна
связи. Опора A шарнирно-неподвижная, поэтому опорные реакции RAX и RBX.
Ферма находится в равновесии,
поэтому сумма моментов пар сил приложенных к ней равна нулю.
;
=
=
= -4,33013 кН
;
=
=
= 4,33013 кН
;
+
Узел A. Вырезав узел приложим к нему неизвестные усилия стержней и
реакции опоры. В итоге на узел действует плоская система четырёх сходящихся
сил. Для определения неизвестных усилий составим уравнения равновесия:
Узел B.
Узел I.
Узел II.
Проверим правильность нахождения
усилий в стержнях по способу Риттера: для этого условимся считать все
стержни фермы растянутыми, знак «минус» в ответе будет означать, что стержень
сжат. Допустим, требуется определить усилие в стержне 6 фермы. Для этого
проводим сечение I-I, рассекая не более трех стержней, в том числе стержень 6, усилие
в котором определяется. Мысленно отбрасываем левую часть фермы, заменяя ее
действие на оставшуюся правую часть усилиями N6, N5 и N4, приложенными в соответствующих сечениях стержней и направленными
в сторону отброшенной части.
Чтобы определить усилие N6 независимо от усилий N5 и N4, составляем уравнение моментов сил, действующих на правую часть
фермы, относительно точки III, в которой пересекаются линии действия сил N4 и N5. Эту точку называют точкой Риттера:
Полученное значение
верно с предыдущим ответом.
Результаты расчетов
|
стержень
|
N1
|
N2
|
N3
|
N4
|
N5
|
N6
|
N7
|
RAX
|
RAY
|
RB
|
|
N, кН
|
-5
|
-12,5
|
-10
|
10
|
2,5
|
-5
|
10
|
4.33
|
-4,33
|
Задача 3
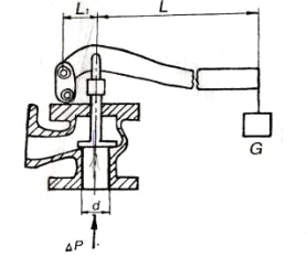
Клапан предназначен для установки на
стационарном паровом котле или других подобных резервуарах и служит для выпуска
излишка рабочей среды при повышении давления сверх нормы. Определить какой груз
необходимо подобрать к клапану, чтобы он открывался при избыточном давлении
Р.
|
Дано: L1=145 мм L=800 мм d=50 мм ∆P=0.7 МПа
|
|
m- ?
|
Решение:
Рассмотрим рычаг СD. Заменим действие опор их
реакциями. В результате избыточного давления в сети на рычаг в точке В
действует сила F.
F=ΔP·S;=
d2/4;=
d2ΔP /4.
Составим уравнение моментов
относительно точки C:
МС(Fi)=0; F·L1-G·(L1+L)=0=F·L1/(L1+L);=
=
=210,787 H
Если вес груза будет 210,787 Н, то
при избыточном давлении ΔP =0,2 МПа клапан откроется, т.к. нарушится равновесие.
G=gm;
m=G/g=210,787 /9,8=21,4870 кг
Ответ: груз массой 21,4870 кг.
Задача 4
Определить силу, с которой натянут
трос АВ, если вес изоляторов вместе с проводами равен G, а вес железной конструкции DBC - Ge на каждый метр длины.
|
Дано: G=60
H Ge=9,5
H/м AB= 2,4 м АС=3,0 м α=550
|
|
Т- ?
|
Решение:
Рассмотрим равновесие железной
конструкции.
BC=AC-AB=3,0 - 2,4=0,6 м
Запишем уравнение моментов
относительно точки D:
⅀MD=0;
;
(1)
Так как на каждый метр
железобетонной конструкции приходится
, тогда исходя из
условия, определяем
и
.
Найдём АD: АD=
м
Подставляем полученные
значения в уравнение (1) и находим силу натяжения троса.
Таким образом искомое
значение натяжения троса
Ответ:
F=
.
Задача 5
Платформа находится на
четырех железобетонных основаниях. Рассчитать фундаментные болты у опор, если
известно, что у каждой опоры их восемь, а также вес платформы со всеми
конструкциями G.
|
Дано: F=
3,0 кН G= 2,0 кН h=
8,0 м l= 7.0 м
|
|
F1-
? F2 - ?
|
Решение:
Так как ферма
симметрична, то
и
.
Поэтому данную систему сил можно преобразовать в плоскую систему сил.
стержень уравнение
риттер
Составим уравнение моментов сил
относительно точки B:
;
;
Так как каждая опора имеет по 8
болтов, то усилия в них определяются следующим образом:
Знак минус показывает на
неправильный выбор направления реакции опоры. Поэтому реакция левых болтов
равна 0,
кН.
Ответ:
кН,
кН.