Газированные безалкогольные напитки. Технология. Сырье. Примеры рецептур

  • Вид работы:
    Реферат
  • Предмет:
    Другое
  • Язык:
    Русский
    ,
    Формат файла:
    MS Word
    195,81 Кб
  • Опубликовано:
    2014-08-09
Вы можете узнать стоимость помощи в написании студенческой работы.
Помощь в написании работы, которую точно примут!

Газированные безалкогольные напитки. Технология. Сырье. Примеры рецептур

Министерство образования и науки Российской Федерации

Санкт-Петербургский национальный исследовательский университет

информационных технологий, механики и оптики

Институт холода и биотехнологий

Кафедра «пищевой биотехнологии продуктов из растительного сырья»





Реферат

по дисциплине: «Введение в технологию продуктов питания» на тему: «Газированные безалкогольные напитки. Технология. Сырье. Примеры рецептур»



Выполнила: Студентка группы и3303 Серпухова Мария

Приняла: Матвеева Наталья Алексеевна





г. Санкт-Петербург

г

Содержание

Введение

Классификация и характеристика безалкогольных газированных напитков

Основное сырье для производства безалкогольных газированных напитков

Технология производства безалкогольных газированных напитков

Получение натуральных и спиртованных соков

Получение концентрированных соков и экстрактов

Производство настоев и экстрактов из растительного сырья

Производство концентратов, композиций, концентрированных основ, ароматических эмульсий

Получение сахарного сиропа

Получение колера

Способы получения купажного сиропа

Технологическая схема насыщения диоксидом углерода

Рецептурные нормативы

Заключение

Список литературы

газированный напиток сок сироп

Введение

Первооткрывателем газированных напитков был английский ученый Джозеф Пристли (1733-1804г.)

Ученого интересовало, какого рода пузырьки выделяют пиво при брожении. Он поместил два контейнера с водой над варящимся пивом, через некоторое время вода зарядилась пивным углеродистым газом. В итоге ученый был поражен приятным вкусом получившегося напитка и в 1767г.он сам изготовил первую бутылку газированной воды.

В наши дни самая развивающаяся отрасль бродильной промышленности- производство безалкогольных газированных и негазированных напитков, так как они пользуются большим спросом (особенно в летний период) из-за приятного и сладкого вкуса.

В данном реферате я рассмотрю технологию производства газированных напитков, на основе различных видов сырья, исходя из рецептур приготовления.

Классификация и характеристика безалкогольных напитков

В соответствии с ГОСТ 28188-89 классификация пpоводится по признакам:

Вид напитков:

жидкие - пpозрачные и замутненные (без включений, не свойственных продукту);

концентpаты напитков (cухие или пастообpазные cмеcи для напитков).

Группы напитков (в зависимости от иcпользования cырья, технологии производства и назначения):

cокоcодержащие напитки;

напитки на пpяно-аpоматическом cырье;

напитки на аpоматизаторах (эccенциях и аpоматных cпиртах);

напитки на зерновом сырье;

напитки бpожения;

напитки cпециального назначения (витаминизированные, низкокалорийные, тонизиpующие, для cпортсменов, для больных сахарным диабетом, для детского питания)

искусственно-минерализованные воды (питьевая вода с добавлением неорганических солей.)

Типы напитков (по степени насыщения диоксидом углерода):

cильногазированные (массовая доля СО2 более 0,4 %);

cpеднегазированные (массовая доля СО2 более 0,3 % до 0,4 % включительно);

cлабогазированные (массовая доля СО2 более 0,2 % до 0,3 включительно);

негазированные.

Способ обработки:

непастеризованные;

пастеризованные;

напитки с применением консервантов;

напитки без применения консервантов;

напитки холодного розлива;

напитки горячего розлива.

Классификация напитков по группам

к сокосодержащим относят безалкогольные напитки, в состав которых входит до 50 % соков, в том числе:

напитки нектарного типа, содержащие соки от 25 до 50 % включительно;

соковые - напитки с содержанием сока от 6 до 24,9 % включительно

фруктовые - напитки с содержанием сока от 3 до 5,9 % включительно;

лимонады - напитки с содержанием сока до 2,9 %;

морсы - безалкогольные напитки, полученные в промышленных условиях путем смешивания плодово-ягодного сока или смеси плодово-ягодных соков.

Основное сырье для производства безалкогольных газированных напитков

Большой ассортимент сырья используется для производства напитков. Количество его на единицу продукции определяется действующей рецептурой.

Основное сырье для напитков - вода, содержание которой в напитке до 90%. Вода применяется питьевая в соответствии с ГОСТ 2874-51. Мягкую воду желательно использовать для приготовления напитков безалкогольных. Жесткую воду умягчают ионообменным cпоcобом.

Сахар-песок содержит сахарозы 99,75 % на сухое вещество, влажность - 0,14 %. При температуре более 160 0С плавится, более 180 0С теряет воду и превращается в карамели.

Сахар-рафинад - дополнительно очищенный сахар-песок в виде кусков. Сахарозы 99,9 % на сухое вещество, влажность 0,1-0,4 %.

Сладкие спирты - ксилит и сорбит используются в напитках для диабетиков. Сорбит - шестиатомный спирт, внешний вид - твердые серовато-белые плиты, сладкий вкус, без запаха. Хорошо растворим в воде, калорийность немного меньше сахара, коэффициент сладости Ксл.=0,6. Ксилит - пятиатомный спирт, по внешнему виду - белый кристаллический порошок, вкус сладкий, без запаха, Ксл.=0,85.

Подсластители:

Натуральные:

. Тауматин - это соединение нескольких белков. Имеет выраженный лакричный привкус.

. Монелин - имеет белковую природу, обнаружен в ягодах африканского винограда. Слаще сахара в 1500-3000 раз.

. Дигидрохалконы выделены из кожуры цитрусовых плодов.

. Глиццеризин получают из корня солодки.

. Стевиозид - из листьев растения стевия (Stevia rebaudiana). Представляет собой белый порошок гигроскопичный кристаллический, легко растворяется в воде. Выпускается также в виде сиропа.

Синтетические:

Сахарин - один из первых синтетических подсластителей. В воде плохо растворим, используют натриевую и калиевую соли.

Ацесульфам калия

Цикламаты - соли цикламовой кислоты.

Кислоты - по значимости второй из компонентов напитков.

Используются в производстве лимонная, молочная, уксусная, фосфорная, виннокаменная, аскорбиновая кислоты.

Функции кислот в напитках:

придание кислого вкуса;

усиление жаждоутоляющего действия;

смягчение сладости;

консервирующее действие.

Лимонная кислота добавляется в большинство напитков.

Получают ее биохимическим путем сбраживанием сахаров некоторыми видами плесневых грибов.

Молочную кислоту используют в производстве напитков на зерновом сырье. Получение - молочнокислым брожением сахаров.

Уксусная кислота -получают путем уксуснокислого брожения

Ортофосфорная - дешевая, агрессивная кислота, с резким кислым вкусом. Аскорбиновая кислота используется для витаминизации напитков, она обладает также антиоксидантными свойствами.

Красители В производстве использутся натуральные и синтетические красители.

К натуральным красителям относят: колер, препараты β-каротина, энокраситель (из выжимок винограда), красители из вишни, свеклы, черной смородины, черноплодной рябины и других темноокрашенных плодов.

Из синтетических красителей чаще используют индигокармин - паста или порошок синего цвета, тартразин - желто-оранжевый порошок. Их смесь вносят в напитки для создания зеленой окраски.

Ароматические вещества

Аpоматические вещества подразделяют на несколько групп:

настои, экстракты, эссенции из натурального растительного сырья;

эccенции из смеси синтетических веществ или из смеси натуральных и синтетических компонентов;

вкусо-ароматические смеси (ароматизаторы, эмульсии) с красителями и без красителей;

вкусо-ароматические основы для специальных напитков (например, энергетических);

Загустители, эмульгаторы и другие виды добавок В качестве загустителей используются натуральные и синтетические вещества: желатин, пектин, модифицированные крахмалы, производные целлюлозы и др. Основные свойства - способность в низких концентрациях создавать стабильные коллоидные системы, представляющиен непрозрачные растворы.

Эмульгаторы имеюто липидную пpиpоду, образуют в растворах однородные дисперсии из двух несмешивающихся жидкостей, например липид и вода. Для создания эмульсий используется, в частности, натуральные эфирные масла или смесь эфирных и растительных масел.

Стабилизаторы стабилизируют системы из несмешивающихся жидкостей. Стабилизаторы занимают по своему поведению промежуточное положение между загустителями и эмульгаторами, выполняют аналогичные функции.

Плодово-ягодные полуфабрикаты для безалкогольных напитков

В зависимости от строения, состава и технологических особенностей переработки плодово-ягодного сырья делятся на группы:

семечковые (яблоки, груши, рябина)

косточковые (вишня, слива, персики, абрикосы)

ягоды (виноград, малина, брусника, клубника)

орехи;

субтропические плоды (цитрусовые, гранаты, хурма)

тропические плоды (ананасы, бананы, манго)

Технология производства безалкогольных газированных напитков

Устройство и принцип действия технологической линии.

Вода, являющаяся основным компонентом газированного напитка, сначала фильтруется в песочном фильтре 9 грубой очистки. Тонкая фильтрация воды осуществляется в керамическом свечном фильтре 8.

Для тонкой очистки воды используют фильтр-пресс 7, работающий под давлением. Осветленная вода насосом 6 подается в катионитовый фильтр 5 для умягчения. Регенерация фильтров осуществляется с помощью солерастворителя 3 путем изменения тока воды. Умягченная вода подвергается обеззараживанию ультрафиолетовыми лучами в бактерицидной установке 4. Насосом 1 вода подается в холодильник 2, где охлаждается до температуры 4...7 °С и направляется в производство <#"799809.files/image001.gif">

Получение натуральных и спиртованных соков

Для производства соков используется свежее плодово-ягодное сырье, перерабатываемое в период его сбора. Сырье должно быть не поражено вредителями, без признаков порчи, в стадии технической зрелости.

Плоды и ягоды, поступающие на предприятия, хранятся на сырьевых площадках, расположенные на открытом воздухе под навесом, ограниченное время: от 6 часов (облепиха, малина, клубника) до 48 часов (яблоки, груша, рябина, шиповник). В охлаждаемых камерах при температуре 1-3 0С до нескольких суток.

Производство натурального сока включает несколько стадий:

. Мойка сырья

. Инспекция

. Дробление

. Обработка мезги (полученной дробленной массы)

. Извлечение сока

. Осветление сока

. Фильтрование сока

Получение концентрированных соков и экстрактов

Натуральные соки концентрируют путем удаления большей части влаги выпариванием, вымораживанием или обратным осмосом.

Выпаривание проводится с улавливанием и без улавливания ароматических веществ. Для сохранения качества сока выпаривание ведется под вакуумом в выпарных аппаратах разной конструкции.

Способ концентрирования вымораживанием основан на охлаждении сока ниже температуры его замерзания. Часть воды в виде кристаллов льда отделяется от жидкой фазы, в результате чего сухие вещества в ней концентрируются.

Обратный осмос основан на отделении воды из соков через полупроницаемые мембраны, размер пор которых соизмерим с размером молекул воды.

Производство настоев и экстрактов из растительного сырья

Для производства безалкогольных напитков готовятся настои из частей растительного сырья: корней, травы, соцветий, коры, цедры цитрусовых плодов. Используют, обычно, двукратное настаивание водно-спиртовым раствором. Концентрация водно-спиртового раствора зависит от вида сырья.

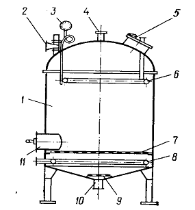
Используютспособы экстрагирования периодические и непрерывные. Простейшие экстракторы для периодического настаивания - это емкости с ложным перфорированным днищем на расстоянии 20 см от основного дна аппарата.

Экстрактор 1 - корпус; 2 - предохранительный клапан; 3 - манометр; 4 - патрубок; 5 - загрузочный люк; 6 - барботер для подачи водно-спиртового раствора; 7 - сетка; 8 - баботер для подачи пара; 9 - сетка с диаметром 250 мм; 10 - спескной патрубок; 11 - разгрузочный люк

На ложное ситчатое днище укладывают ткань, загружают измельченное сырье с размером частиц 3-5 мм и заливают экстрагентом. Первое настаивание проводится 10-12 суток при периодическом перемешивании путем циркуляции раствора (перекачиванием «на себя»). Первый настой сливают и заливают свежим водно-спиртовым раствором. Второе настаивание проводят 5-7 суток, настой второго слива соединяют с первым, фильтруют через фильтр-пресс и направляют на хранение.


Производство концентратов, композиций и концентрированных основ сосредоточенно на специализированных заводах. Использование концентратов в производстве напитков экономично - упрощается технология, сокращаются потери сырья.

Концентраты для безалкогольных напитков, как правило, состоят их 2-х частей: ароматической и экстрактивной. Импортные концентраты напитков «Пепси-кола», «Кока-кола», «Фанта», «Фиеста» и др. могут включать 2-3 части.

Концентрированные основы включают, обычно, ароматические и экстрактивные вещества. Содержание спирта 18-20 %. Применяется обычно шестикратно концентрированный сок с содержанием сухих веществ до 65 %, пульпы не более 5 %. При необходимости добавляются красители, кислота и консерванты. Смесь пастеризуют при температуре 62-65 0С под высоким давлением (250-280 Бар) для измельчения замутняющих веществ, после охлаждения вносят ароматизирующие вещества, деаэрируют и разливают в транспортную тару.

Композиции также включают, обычно, ароматические и экстрактивные вещества, а также другие компоненты напитков - кислоты, красители, иногда сахар.

Ароматические эмульсии производятся на основе эфирных масел, так же с добавлением растительных масел. Эти вещества не растворимы в воде, поэтому их гомогенизируют с добавлением эмульгаторов и стабилизаторов для тонкого распределения в водной фазе.

Получение сахарного сиропа

Белый сахарный сироп - концентрированный раствор сахара. Его получают холодным или горячим способом.

Холодным способом сироп готовится растворением сахара в воде с последующим фильтрованием через обеспложивающие фильтры или обеззараживанием пастеризацией в потоке. Такой способ рекомендуется для напитков типа «Пепси-кола», «Фанта».

Горячим способом готовят сахарный сироп для большинства напитков. Для варки сиропа используют сироповарочные котлы с мешалкой и обогревом. В верхней части котла имеется вытяжная труба. Рассчитанное количество воды подают в котел и нагревают до температуры 55-60 0С. При перемешивании загружают сахар нагревают до кипения, кипятят сироп 30 минут, снимая пену, для полного уничтожения слизеобразующих бактерий. В горячем состоянии сироп подают на фильтрацию через мешочный сетчатый или тканевый фильтр, можно использовать рамные фильтры. После фильтрования сироп охлаждают рассолом или водой в противоточных трубчатых или пластинчатых теплообменниках до температуры 10-20 0С. Содержание сухих веществ в готовом сиропе 60-65 %. Хранят сахарный сироп в сборниках с мерным стеклом.

Получение колера

Самый распространенный краситель-колер. Его получают путем нагревания сахара до температуры 180-200 0С.

Получают колер в колероварочных котлах с электрическим обогревом. Они устанавливаются в отдельных помещениях с интенсивной вентиляцией.

Котел на 25 % объема загружают сахаром, добавляют 1-2 % воды и постепенно нагревают при перемешивании до температуры 160-165 0С. Эту температуру поддерживают до приобретения сахаром бурой окраски. Затем добавляют тонкой струйкой горячую воду с температурой 75-90 0С в количестве 8 % к массе сахара и повышают температуру до 180-200 0С.

Продолжительность варки составляет 3-4 часа, колер должен образовывать упругую нить при взятии пробы. В готовый колер вносят тонкой струйкой воду с температурой 60-65 0С из расчета получения раствора с содержанием сухих веществ 70-72 %. Полученный раствор перекачивают насосом и хранят в мерных сборниках до 3 месяцев.

Способы получения купажного сиропа

Купажный сироп получаеют смешиванием всех компонентов, за исключением воды.

Холодным способом готовятся купажные сиропы для напитков на настоях, концентратах, ароматических эссенциях, композициях.

Полугорячий способ используется для приготовления купажных сиропов напитков на спиртованных соках, винах. В сироповарочный котел вносят 50 % сока, подогревают до 50-52 0С, при перемешивании задают расчетное количество сахара-песка, доводят до кипения, кипятят 30 минут, удаляя пену. Фильтруют в горячем виде, и после охлаждения вносят остальные компоненты купажа.

Горячий способ производится аналогично полугорячему, но кипятят с сахаром все количество сока.

Технологическая схема насыщения воды и напитков диоксидом углерода


Насыщение напитка на установке осуществляется следующим образом. В бачок 2 поступает вода, которая насосом 3 через струйный эжектор 1 прокачивается «на себя». В результате этого эжектор 1 отбирает воздух из колонки деаэрации 4, что приводит к образованию в ней вакуума. Для контроля за процессом деаэрации колонка 4 снабжается вакуумметром 6. Отфильтрованная, исправленная и охлажденная вода подается в нижнюю часть колонки деаэрации по трубопроводу, проходит по нему в верхнюю часть и, стекая по коническим тарелкам 5, теряет содержащийся в ней воздух.

Деаэрированная вода сосредоточивается в нижней части колонки деаэрации, ее количество можно определять по указателю уровня 7. Деаэрированную воду насосом 8 подают в струйную насадку 9 для насыщения ее диоксидом углерода, которая засасывается из колонки насыщения 10. На колонке 10 имеются предохранительный клапан 11, манометр 12, указатель уровня 7, штуцер для вывода газированной воды и промывных вод и ввода диоксида углерода, который поступает в колонку через редуктор 13. Насыщенную диоксидом углерода воду насосом-дозатором 14 перекачивают в смесительный бачок 15, куда одновременно задается определенная доза купажного сиропа из бачка 16. Из смесительного бачка 15 готовый, насыщенный диоксидом углерода напиток поступает в накопительную колонку 17, снабженную указателем уровня 7, предохранительным клапаном 11, манометром 12 и штуцером для вывода готового напитка и промывных вод. В струйной насадке вода насыщается при давлении 0,6- 0,8 МПа. На выходе из установки напиток содержит 0,7 мае. % диоксида углерода. Температура воды, поступающей на деаэрацию, должна быть не выше 6° С, а купажного сиропа - не более 8° С..

В синхронно-смесительной установке насыщению диоксидом углерода подвергается смесь деаэрированной воды и купажного сиропа.

Рецептурные нормативы на производство газированных и негазированных безалкогольных напитков

На каждых предприятиях производятся расчеты, учитывающие фактические потери сухих веществ в производстве, на любой напиток.

Расчет сухих веществ лимонной кислоты производят из условий использования питьевой воды с нулевой щелочностью.

Наличие солей жесткости в воде приводит к частичной нейтрализации вносимой кислоты, в связи с этим при расчете расхода кислоты необходимо добавить определенное количество кислоты на нейтрализацию щелочности воды сверх указанного в рецептуре. При этом учитывается и количество кислоты, которая была внесена с сырьем (плодово-ягодным, вином, концентратом).

Количество кислоты в рецептуре рассчитывают с учетом показателя кислотности напитка.

Если в рецептуре на напитки в строчке «Кислота лимонная» в графе -«Содержание сухих веществ в кг» стоит прочерк, это значит, что кислотность напитка обеспечивается кислотой, вносимой с соком. Нормативы допустимых потерь сухих веществ при производстве безалкогольных напитков для каждого предприятия устанавливаются в зависимости от применяемого технологического оборудования.

Количество сахара-песка в напитках определяется из расчета массовой доли сухих веществ в нем 99,85%, а количество жидкого сахара -из расчета содержания его в напитке в количестве, эквивалентном содержанию сухих веществ в сахаре-песке.

Рецептуры на безалкогольные напитки составлены с применением спиртованных, натуральных и концентрированных соков, сброженных соков (морсов), экстрактов, водных и спиртовых настоев плодово-ягодного сырья, основ напитков.

Сухие вещества спиртованных соков, экстрактов и морсов рассчитываются по показателям экстрактивных веществ, предусмотренных стандартами.

При производстве напитков допускается замена спиртованного сока одноименным экстрактом или пастеризованным соком, не содержащим пектина, в количестве, эквивалентном содержанию сухих веществ.


Заключение

В заключении мне хотелось отметить, что производство газированных напитков - интересный технологический процесс, основанный на достижениях техники и технологии. В основе производства используется большое разнообразие сырья, на любой вкус, что способствует удовлетворению всех потребителей. Так же безалкогольные напитки являются хорошей основой для введения в них водорастворимых витаминов, минеральных и биологически активных веществ, что ставит их в ряд ценных видов пищевых продуктов.

Список литературы и интернет-ресурсов

Сарафанова Л.А. «Применение пищевых добавок в индустрии напитков.» Издательство: Профессия, год 2007, стр 240.

Ермолаева Г.А., Колчева Р.А « Технология и оборудование производства пива и безалкогольных напитков.» Издательство: ИРПО, Изд.центр «Академия»,год 2000,стр 416

В.А.Помозова « Производство кваса и безалкогольных напитков.» Производство кваса и безалкогольных напитков : учебное пособие . Кемеровский технологический институт пищевой промышленности. - 2-е изд. тереотип. - Кемерово, 2006. - 148 с.: ил.

Гюнтер Шулчанин «Безалкогольные напитки: сырье, технологии, нормативы» Издательство: «Профессия»,год 2004,стр 280

В.Г.Тихомиров «Технология пивоваренного и безалкогольного производств.»-М.:Колос,1998-448с.(Учебники и учебные пособия для учащихся средних специальностей учебных заведений)

Похожие работы на - Газированные безалкогольные напитки. Технология. Сырье. Примеры рецептур

 

Не нашли материал для своей работы?
Поможем написать уникальную работу
Без плагиата!
Без нейросетей!