Производство гидрографических съемок с использованием комплекса GPS Trimble R3

  • Вид работы:
    Методичка
  • Предмет:
    Геология
  • Язык:
    Русский
    ,
    Формат файла:
    MS Word
    4,83 Мб
  • Опубликовано:
    2014-12-16
Вы можете узнать стоимость помощи в написании студенческой работы.
Помощь в написании работы, которую точно примут!

Производство гидрографических съемок с использованием комплекса GPS Trimble R3

Министерство транспорта Российской Федерации

ФГОУ ВПО «НОВОСИБИРСКАЯ ГОСУДАРСТВЕННАЯ АКАДЕМИЯ ВОДНОГО ТРАНСПОРТА»










МЕТОДИЧЕСКОЕ РУКОВОДСТВО

по производству гидрографических съемок с использованием комплекса GPS Trimble R3 для студентов гидротехнического факультета


Перфильев А.А.







Новосибирск 2011

МЕТОДИЧЕСКОЕ РУКОВОДСТВО по производству гидрографических съемок с использованием комплекса GPS Trimble R3 предлагается в качестве приложения и дополнения к « Методическому руководству по проведению учебной практики по гидрологии и водным изысканиям» для студентов гидротехнического факультета. / В.К. Моргунов, А.А. Перфильев. Новосибирск, НГАВТ-2007.

Данное методическое руководство предназначено для замены заданий 2,3,4 в методическом руководстве (2007 г.), где рассматриваются устаревшие методы гидрографической съемки, на современные, с использованием спутниковых навигационных систем и компьютерных технологий.

В руководстве произведена привязка к месту проведения учебной практики, к наличию приборов, оборудования и плавательных средств, а так же степени подготовки студентов в знании специальных компьютерных программ.

СОДЕРЖАНИЕ

Введение

      Методическое руководство по использованию комплекса GPS Trimble R3

.1 Основные характеристики GPS приемника Trimble R3

.2 Использование и уход

1.3 Основные особенности системы Trimble R3

.4 Полевое программное обеспечение Trimble Digital Fieldbook

1.5 Создание нового проекта

.6 Определение координат точки при помощи GPS съемки

1.7 Запуск базовой станции

1.8 Запуск подвижного приемника

1.9 Передача полевых данных из контроллера Trimble R3 в офисный компьютер

.10 Создание цифровой модели местности с помощью Trimble DTMLink

Съемка береговой полосы

2.1 Подготовительные работы

.2 Полевые работы

.3   Камеральные работы

Съемка русла реки

.1 Подготовительные работы

.2 Полевые работы

.3 Камеральные работы

Список использованной литературы

Введение

система Trimble R3 является одночастотным решением от компании-лидера в производстве GPS-технологий. Сочетая в себе одночастотный GPS-приёмник и антенну, надежный переносной контроллер и простое полевое и офисное программное обеспечение, система R3 обеспечивает выполнение съёмочных работ, сгущение сетей и привязку районов работ с сантиметровой точностью. Система работает при любой погоде и в любое время суток.

Рис.1.1 - Trimble R3 (установка антенны на штативе и на вехе)

В новой системе впервые объединён одночастотный GPS приёмник R3 геодезического класса с защищенным контроллером Trimble Recon в едином корпусе, специально предназначенном для работы в сложных полевых условиях. Компактная и лёгкая система Trimble R3 выдерживает падение с небольшой высоты, экстремальные температурные воздействия и избыточную влагу, что делает её надежным одночастотным решением.

Контроллер Recon также предоставляет дополнительные возможности для проведения полевых работ: большой цветной активный дисплей, расширяемая память и поддержка USB-соединений - только лишь часть функциональности.

1 Методическое руководство по использованию комплекса GPS Trimble R3

.1 Основные характеристики GPS приемника Trimble R3

гидрографический съемка trimble

Общие характеристики

Современная технология Maxwell для устойчивого приема GPS-сигналов 12 каналов L1 C/A код и фаза несущей L1, WAAS/EGNOS.

Технология Trimble EVEREST для снижения многолучевости сигнала.

Выполнение статической съёмки.

Режимы: Статика, Быстрая статика.

Точность:

В плане ±5 мм + 0.5 мм/км

По высоте ±5 мм + 1.0 мм/км

Выполнение кинематической съёмки

Точность:

В плане ±10 мм + 1.0 мм/км

По высоте ±20 мм + 1.0 мм/км

Выполнение дифференциальной съёмки в реальном времени с использованием WAAS/EGNOS. Точность менее 3 м в плане и по высоте.

Физические характеристики

Корпус легкий, полностью герметичный из промышленного пластика.

Водонепроницаемость соответствует стандарту IPX 7.

Пылегрязезащищенность соответствует стандарту IP6X.

Вес 0.62 кг (со встроенной батареей).

Электрические характеристики

Электропитание 5 В постоянного тока.

Энергопотребление 0.6 Вт (приемник и антенна).

Зарядное устройство внутреннее, с внешним адаптером питания от сети переменного тока 220 в.

Батарея 8 часов непрерывной работы. Вес батареи- 0.2 кг.

Температурные характеристики

Рабочий диапазон от -30°С до +60°С

Температура хранения от -40°С до +70°С

Обмен и хранение данных:

внешний порт питания, 1 серийный порт, внешний антенный разъем SMB для GPS-антенны, интегрированный USB порт, позволяющий обмениваться данными со скоростью 1 мегабит в секунду, что примерно в 10 раз быстрее, чем самый скоростной u1089 серийный порт.

Интервал определения координат и записи данных - максимум 1 Гц,

слота для карт формата Compact Flash (если не подключен приемник Trimble R3).


.2 Использование и уход

Приемник R3 разработан для противодействия грубому обращению, характерному для полевых условий. Однако, приемник - высокоточный электронный инструмент, с которым необходимо обращаться с разумной аккуратностью.

Предупреждение - работа или хранение приемника R3 вне допустимого диапазона температур может вызвать его повреждение или снизить долговечность.

Мощные сигналы от расположенных рядом радио или радарных передатчиков могут перегрузить цепи приемника. Это не повредит приемник, однако, может вызвать неправильное функционирование электроники приемника. Следует избегать использование приемника ближе, чем 400 метров от мощных радарных, телевизионных или других передатчиков. Маломощные передатчики, подобные используемым в сотовой телефонии и переговорных устройствах обычно не нарушают работу приемника R3.

.3 Основные особенности системы Trimble R3

• Мощный и выносливый полевой контроллер Trimble Recon работает под управлением процессора Intel XScale 400 MHz и специально разработан под полевые условия эксплуатации, конструкция соответствует военным требованиям по падениям, погружению в воду, вибрации и рабочим температурам.

• Операционная система контроллера под управлением Microsoft Windows Mobile для Pocket PC может работать с такими приложениями как Pocket Word , Excel и многими другими.

• Интуитивно понятное в использовании программное обеспечение Trimble Digital Fieldbook соответствует промышленным стандартам.

• Большой цветной сенсорный экран: дисплей контроллера Trimble Recon даёт возможность отображать информацию и карты даже в условиях плохой видимости.

• Быстрая передача данных: передача данных на ПК возможна со скоростью более, чем 1 Мб/сек - в десять раз быстрее, чем по последовательному порту.

• Расширяемая память: возможность расширения места для хранения информации при помощи карточек CompactFlash в контроллере Recon.

• Надежная GPS-антенна: одночастотная GPS-антенна Trimble A3 содержит “встроенную” технологию борьбы с многолучевостью, что улучшает качество измерений. Многолучевость возникает из-за переотражения сигналов от поверхностей, таких как земля, окружающие деревья и здания.

• Комплексное геодезическое решение: каждая часть системы Trimble R3, от электронных плат до программного обеспечения, разработаны для совместной эффективной работы. Накопив полевые данные, можно передать job-файлы в офисное программное обеспечение Trimble Geomatics Office для их обработки.

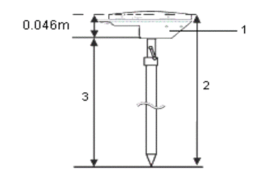
Рис.1.2 - Антенна приемника, установленная на вехе.

-        антенна GPS, 2 - высота до верха антенны, 3 - высота до нижней части антенны

Использование стилуса: сенсор экрана контроллера Recon работает аналогично мыши персонального компьютера. Для перемещения на экране и выбора экранных объектов используется стилус. Одиночное нажатие стилуса выбирает объект или нажимает программную кнопку (аналогично использованию левой кнопки мыши в ПК). Удерживая стилус на экране и перемещая его, не отрывая от экрана, можно выделить текст или рисунок.

Рис.1.3 - GPS приемник Trimble R3

1 - Приемник GPS

- Контроллер

- Окно программы TDF

- «Ввод»

-  «Enter»

-  Джойстик

-  Питание вкл/выкл

.4 Полевое программное обеспечение Trimble Digital Fieldbook

ПО Trimble Digital Fieldbook управляет работой системы Trimble R3 в поле. С помощью данной программы можно проводить съемки в режимах Статика, Быстрая статика, Кинематика и непрерывная Кинематика достаточно легко, быстро и продуктивно.

Рис.1.4 - Экран Trimble Digital Fieldbook

- Экран TDF (главное меню программы TDF)

- Панель состояния

- Иконки программы TDF (Файлы, Ввод, Настройки, Съемка, Расчеты, Инструменты)

- Строка состояния

- Кнопки TDF

ПО имеет достаточно простое исполнение и вполне приемлемо для новичков, легко доступно в освоении, что дает возможность пользователям достичь максимальной эффективности за короткие промежутки времени. ПО Trimble Digital Fieldbook управляется при помощи активного дисплея в реальном времени. Используя цветной дисплей контроллера Trimble Recon можно управлять работой программы, получать доступ к любой информации в кротчайшие сроки. Программа позволяет сохранять данные съемочных работ в отдельные job-файлы для более удобной передачи полевых данных и постобработки в ПК.

Файловое меню (иконка Файлы)

Это меню используется для просмотра проектов и управления ими, а также для обмена данными между офисным компьютером и внешним устройством.

Нажав на иконку Файлы, - откроется закладка со следующим списком:

Новый проект

Открыть проект

Просмотр текущего проекта

Карта текущего проекта

Свойства текущего проекта

Копирование между проектами

Импорт/Экспорт

Ввод

Это меню используется для ввода данных с клавиатуры в программное обеспечение Trimble Digital Fieldbook.

Нажав эту иконку, можно вводить точки, линии, дуги, границы и примечания.

Настройки

Используется это меню, чтобы:

произвести или изменить установки, связанные с программным обеспечением Trimble Digital Fieldbook :

Создать или редактировать библиотеку объектов и атрибутов

Создать или редактировать стили съемки

Съемка

Это меню используется для выбора стиля съемки, и при входе в него открывается следующая вкладка:

Fast Static - быстрая статика

РРК - статика с постобработкой

RTK - кинематика с постобработкой

Расчеты

Это меню позволяет производить вычисления расстояний, азимутов, координат различными методами и содержит следующий список:

Обратная геодезическая задача

Вычисление точек

Вычисление площади

Вычисление азимута

Вычисление расстояний

Вычисление среднего значения

Калькулятор

Инструменты

Это меню позволяет получить информацию об инструменте, который подключен к Trimble Digital Fieldbook и содержит следующий список:

Файлы приемника

Координаты

Состояние приемника

Установки приемника

Навигация на точку

Панель состояния

Рис.1.5 - Панель состояния

Строка состояния

Строка состояния находится в районе нижней части экрана над кнопками Trimble Digital Fieldbook. В строке состояния выдаются сообщения после совершения каких-либо действий или событий, а также когда программное обеспечение Trimble Digital Fieldbook не может запустить или продолжить выполнять текущую операцию.

Рис.1.6 - Строка состояния

Когда контроллер подключен к приёмнику, в строке состояния отображается текущий режим съёмки.

Кнопки Trimble Digital Fieldbook

Рис.1.7 - Кнопки Trimble Digital Fieldbook.

Чтобы добавить экран в список Перейти, необходимо просмотреть этот экран, после чего выбрать Перейти / Добавить в избранное.

Чтобы удалить экран из списка, сначала надо закрыть все экраны в списке текущих активных экранов (отображаются внизу меню Перейти) и в этом меню выбрать экран, который требуется удалить, после чего выбрать опцию Перейти / Удалить из избранного.

Клавиатура

Для ввода имени проекта, имени точки, исходных координат и т. д. в контроллере используется стандартная компьютерная клавиатура (см. Рис.1.8) и клавиатура TDS (последняя имеет большие кнопки).

Вызов клавиатуры на экран осуществляется путем нажатия стилусом связанных с ней активных окон или кнопкой, расположенной в правом нижнем углу панели клавиатуры.

Рис.1.8 - Клавиатура контроллера

Звуковые сообщения

Звуковые сообщения - это записанные ранее сообщения, которые извещают вас о произошедшем событии или действии. Они соответствуют сообщениям в строке состояния и общим сообщениям об ошибке и предупреждающим сообщениям. Звуковые сообщения хранятся в виде wav файлов. Можно настроить собственные звуковые сообщения путем замены или удаления существующих wav файлов, расположенных в папке Program Files/Trimble Digital Fieldbook/Languages/English.

Дополнительно можно передать wav файлы с офисного компьютера в контроллер при помощи утилиты Trimble «Передача данных» или Microsoft ActiveSync. Чтобы включить или выключить звуковые сообщения, требуется в главном меню выбрать пункт Настройка / Контроллер / Звуковые события (используя переключатель Включить или Выключить звуковые сообщения).

Индикаторы заряда батарей

Уровень оставшегося заряда батарей отображается в виде символов батареи в левой части панели состояния. Верхний символ отображает оставшийся заряд контроллера Trimble.

Символ ниже него показывает уровень заряда батареи внешнего устройства, такого как GPS приёмник. Полоска затемнения символа батареи уменьшается по мере разряда батареи.

1.5 Создание нового проекта

Для выполнения GPS-съемки необходимо создать новый проект (программу), содержащий тип системы координат, единицы измерений, метод проекции и т.д. Любой проект может содержать один или несколько сеансов съемки.

Для создания нового проекта требуется включить контроллер и активировать программу Trimble Digital Fielbook ( TDF).

Далее нажать Файлы / Новый проект. Появится окно Нового проекта.

Рис.1.9 - Создание нового проекта.

Задать имя проекта / нажать Enter (Принять).

В свойствах проекта выбрать систему координат. Для этого надо нажать кнопку, расположенную напротив «сист. коорд.». Появится окно Выбор системы координат (см. Рис.1.10).

В этом окне сделать выбор из библиотеки / нажать След. (появится окно - выбор системы), найти Russia.

Рис.1.10 - Окна «Свойства проекта» и «Выбор системы координат»

В этом же окне выбрать зону (для Новосибирска - зона №14).

Координаты (из возможного выбрать на плоскости), нажать Запись.

Появится окно «Новый проект» где в свойствах система координат будет иметь название Zone 14 (Russia) (см. Рис.1.10), нажать кнопку Принять.

Далее Единицы (Расст.) / Принять.

Связанные файлы / Принять нет.

Активная карта / Принять нет.

Библиотека объектов / Принять нет.

Расчеты, выбрать на Плоскости / Принять. Появится основное окно программы TDF. Используя данный проект, получим координаты точек в прямоугольной системе координат СК- 42.

1.6 Определение координат точки при помощи GPS съемки

Пример автономного определения координат точки с сантиметровой точностью. Порядок работы.

Выполнить центрирование и горизонтирование штатива с антенной над точкой съемки. Соединить антенну и контроллер кабелем.

Включить контроллер и активировать программу TDF.

Нажать иконку Файлы / Открыть проект (выбрать проект для измерений или создать новый).

В меню программы TDF выбрать иконку Съемка. На появившейся вкладке выбрать РРК (статика). На следующей вкладке выбрать - измерение точек / Enter.

Начнется подготовка к съемке, затем появится окно, где в поле Метод ввести - по Новой точке.

Ввести значения в поля Имя точки и Код (код необязательно).

- Ввести значение высоты антенны над точкой в поле Высота антенны.

В поле Измерена до, выбрать соответствующее значение.

Нажать программную кнопку Запуск, чтобы начать записывать данные в контроллер.

Когда будет достигнуто необходимое для измерения точки время, нажать программную кнопку Запись. Далее можно переходить для измерений на следующую точку.

Для этого необходимо установить штатив с антенной над следующей точкой и нажать кнопку Запись.

Для завершения съемки в меню TDF нажать иконку Съемка и выбрать Завершение съемки. Нажать Выход (Esc) в нижней строке и подтвердить, чтобы выйти из программы TDF, затем выключить контроллер и отсоединить кабель от антенны.

Примечание: на экране контроллера отображается период измерений и оставшееся время измерений. Продолжительность измерений для достижения сантиметровой точности при 4 ИСЗ не менее 30 минут, при 5 ИСЗ - 25 мин., 6 ИСЗ - 20 минут. Посмотреть полевые данные такие как: координаты, дата и время измерений, точность измерений, сведения о количестве спутников и их положении, активную карту и т.д., можно как во время съемки так и после, нажав в нижней строке кнопку Перейти и на появившейся вкладке выбрать необходимую строку.

Рис.1.11- Окно просмотра текущих координат точки.

.7 Запуск базовой станции

Включить контроллер и активировать программу TDF.

Нажать иконку Файлы / Открыть проект (выбрать проект для измерений на базе или создать новый).

В главном меню выбрать Съемка / Запуск базовой станции, появится экран Запуск базы.

В поле Имя точки ввести имя базовой станции и код (необязательно).

Ввести известные зональные координаты (х,у,z) для этой базовой станции и нажать Запись.

Ввести значения в поля Код (необязательно) и Высота антенны.

Установить соответствующее значение в поле Измерена до (Рис.1.12).

Рис.1.12 - Окно запуск базовой станции

Нажать Запуск (Начать). Появится экран База, показывающий какая точка снимается в данный момент и время, которое прошло с момента запуска записи данных (см. Рис.1.13).

Рис.1.13 - Окно измерения на базовой станции

Завершение съемки на базовой станции выполняется в следующем порядке.

Нажав Esc, перейти в главное меню TDF.

Нажать иконку Съемка, выбрать Завершение съемки.

Нажать Выход (Esc) в нижней строке и подтвердить, чтобы выйти из программы TDF, затем выключить контроллер и отсоединить кабель от антенны.

.8 Запуск подвижного приемника

Запуск подвижного приемника производится в том же проекте, что и запуск базовой станции.

Нажать иконку Файлы / Открыть проект (выбрать проект для измерений на базе).

Нажать иконку Съемка / RTK (кинематика с постобработкой).

Ввести высоту антенны и установить соответствующее значение в поле Измерена до.

Дать имя начальной точке и нажать Запуск. Начнется съемка, причем имена точек через определенный интервал времени (1, 5, 10, 15, 30 секунд) будут изменяться в сторону увеличения. Выполнить съемку необходимого объекта путем движения вдоль него вехи с антенной и приемника.

Для завершения съемки нажать Завершить, выйти из окна съемки нажав Выход (Esc). Нажав иконку Съемка / Завершить съемку / Enter. Нажать Выход (Esc) в нижней строке и подтвердить, чтобы выйти из программы TDF. Выключить питание, и отсоединить кабель от антенны.

1.9 Передача полевых данных из контроллера Trimble R3 в офисный компьютер

Включить контроллер и офисный компьютер. На компьютере включить программу Trimble Geomatics Office (TGO).

Соединить контроллер с компьютером посредством кабеля, (произойдет подключение устройств через проводник Microsoft Active Sync).

В TGO создать Новый проект ( дать имя и нажать ОК ).

В окне Свойства проекта заполнить пустые строки ( не обязательно ).

Нажать система координат / Изменить, в окне Выбор системы координат выбрать недавно используемую систему или создать новую, далее нажать ОК.

Нажать иконку Геодезические инструменты и в окне активировать строку Trimble Digital Fielbook on Active Sync / Открыть.

В следующем окне активировать строку с именем проекта, данные которого необходимо передать, и нажать Открыть.

Произойдет передача и конвертация файлов проекта, после чего появится окно Система координат проекта, где выбрать нужную систему / нажать ОК.

Появится окно Проверить ДАТ, где можно проверить имя файла, дату и время съемки, данные о высоте антенны и топокодах, нажать ОК.

На мониторе компьютера появятся экспортированные точки проекта, с которыми в программе TGO можно производить дальнейшие действия (уравнивать, соединять, удалять, подписывать имена и отметки и т.д.).

Рис.1.14 - Окно программы Trimble Geomatics Office

- Координаты точек можно получить, нажав в верхней строке Инструменты / Отчеты / Дополнительные отчеты / Каталог координат точек / ОК.

.10 Создание цифровой модели местности с помощью Trimble DTMLink

Программа Trimble DTMLink - часть программного обеспечения Trimble Geomatics Office, позволяет создавать новые или редактировать ранее созданные цифровые модели местности (ЦММ), создавать отчеты об объемах земляных работ и т.д.

Для создания цифровой модели местности требуется открыть в Trimble Geomatics Office проект в режиме План (см. Рис.1.14).

В верхней строке выбрать Инструменты / DTMLink / Новая поверхность, появится окно Новая поверхность.

Рис.1.15 - Окно «Новая поверхность»

В данном окне дать название поверхности, выбрать точки и линии перегиба а также границы исключения и включения, нажать ОК. Появится окно программы Trimble DTMLink с набором инструментов для просмотра редактирования, создания отчета по объемам созданной ЦММ.

Рис.1.16 - Цифровая модель местности

Отчет по объемам можно получить, нажав Инструменты / Отчет по объемам, появится следующий диалог:

Рис.1.17 - Диалог «Отчет по объемам»

Для выбора варианта отчета требуется выбрать Тип отчета, базовую отметку (мин, мах, или другую) и нажать ОК.

Рис.1.18 - Отчет по объемам

2 Съемка береговой полосы

.1 Подготовительные работы

Для выполнения съемки береговой полосы с использованием комплекса GPS Trimble R3 требуется следующее оборудование:приемник с антенной - 2шт., штатив, веха, журнал для записей характеристик точек и составления абриса съемки.

Перед съемкой необходимо зарядить аккумуляторные батареи, путем подключения штатного зарядного устройства, которое в свою очередь подключается к сети с напряжением 220 вольт. Зарядка полностью разряженной батареи выполняется не менее 8 часов, но не более 16часов. Создать в контроллерах приемников два идентичных проекта съемки

.2 Полевые работы

Антенна одного из приемников GPS устанавливается с помощью подставки на штативе и центрируется на пункте с известными координатами. Производится горизонтирование антенны и подключение к ней приемника посредством кабеля. Включив приемник, следует открыть созданный проект и выполнить запуск съемки методом «Базовая станция». После достижения необходимого времени (20-30 минут, в зависимости от количества ИСЗ) запускается второй GPS-приемник, подсоединенный к антенне, установленной на вехе. На этом приемнике выбирается метод съемки Fast Static (быстрая статика). Веха устанавливается на первую точку, и производится запуск съемки, при этом в поле Метод надо ввести по «Известной точке», установить ее имя и высоту антенны /нажать Запись (Enter). Во время съемки на точке веху с антенной следует удерживать в вертикальном положении с помощью круглого уровня.

Съемка прибрежной полосы осуществляется путем последовательного переноса вехи с одной точки на другую, при этом съемка во время переноса не производится (режим ожидания). Запуск съемки на каждой точке выполняется путем нажатия стилусом кнопки Запуск ( или начать). Период измерений координат на каждой точке составляет 15 секунд (3 эпохи измерений). Период измерений при необходимости можно уменьшить или увеличить с помощью настроек контроллера. Если включить «звуковые сообщения», то будут подаваться сообщения об ошибках и о завершении съемки на точке.

При съемке правобережной полосы съемке подлежат точки, расположенные на линии уреза, на подошве бровки, на бровке. При этом расстояния между точками следует принимать в пределах 40-60 метров. Кроме этого, необходима съемка на точках устьев оврагов, твердых контурах, контурах кустарников и характерных рельефных точках.

При выполнении съемки необходимо вести полевой журнал, в который следует записывать номера точек и соответствующие им характеристики. Кроме того, в журнале целесообразно рисовать абрис съемки. Это позволит избежать грубых ошибок при редактировании и составлении плана.

Завершить съемку подвижного приемника нужно в следующем порядке:

нажать Esc (откроется окно TDF);

нажать иконку Съемка / выбрать Завершить;

нажать Esc (появится окно кнопки Пуск);

выключить приемник кнопкой Пуск.

Отсоединить кабель от антенны и разобрать оборудование.

Так же производится выключение приемника на базовой станции.

.3 Камеральные работы

Камеральные работы выполняются в следующей последовательности:

Передача полевых измерений базового приемника в программу TGO

офисного компьютера с созданием соответствующего проекта съемки.

Передача данных из подвижного приемника в офисный компьютер,

в тот же проект.

Редактирование данных, составление и печать каталога координат.

Создание цифровой модели местности, ее редактирование и печать.

В производственных условиях выполняется передача данных в программы AutoCAD, Mapinfo, Credo, Surfer и др., где окончательно производится составление топографического плана с использованием условных знаков. Это требует времени и определенных навыков работы с этими программами. В условиях учебной практики составление плана прибрежного участка реки предлагается выполнить вручную. Для этого требуется следующее.

Построить прямоугольную координатную сетку (50х50 см с координатными линиями через 10 см.) и выполнить ее оцифровка с учетом требуемого масштаба.

Нанести по координатам все точки съемки с помощью измерителя и масштабной линейки.

Составить план с использованием условных знаков и выполнить зарамочное оформление планшета.

3       Съемка русла реки

.1 Подготовительные работы

Для выполнения съемки русла реки требуется промерное судно (моторная лодка, катер), эхолот, два GPS-приемника, один штатив.

На точке с известными координатами устанавливается один приемник с антенной, укрепленной на штативе.

На промерное судно устанавливается забортное устройство, и подключается эхолот. Над забортным устройством крепится антенна и к ней подсоединяется GPS-приемник.

.2 Полевые работы

Для достижения необходимой точности промерных работ на точке с известными координатами центрируется и горизонтируется антенна GPS-приемника, и в выбранном (или новом) проекте запускается съемка на базовой станции (см. п.1.7). Через 20 минут на промерном судне производится запуск подвижного приемника в том же проекте. Выбирается съемка в режиме кинематики с постобработкой (см. п. 1.8). Запуск съемки начинается с момента нажатия на контроллере кнопки Запуск, промерное судно должно находиться в это время в начале первого галса. Включив «звуковые события», момент определения и записи координат в каждой точке, можно фиксировать по сигналу контроллера. Глубина в каждой такой точке (момент сигнала) визуально снимается с экрана эхолота и под своим номером записывается в журнал промеров глубин. Промерное судно, двигаясь по поперечным галсам, начиная первый галс с нижнего по течению, последовательно проходит весь участок съемки. Расстояние между смежными галсами должно быть в пределах 50 метров (для съемки масштаба 1:2000) и выдерживается путем выставления створов.

3.3 Камеральные работы

Вычисляются срезочные глубины в промерных точках, для этого в измеренные глубины при рабочем уровне вводится поправка на заглубление забортного устройства эхолота и срезка.

hc =hp + a - ΔH

где hc - срезочная глубина, м;

hp - рабочая глубина (измеренная эхолотом), м;

а - заглубление забортного устройства эхолота, м;

ΔH - срезка глубин, м.

Срезка глубин вычисляется по формуле

ΔH=Hp - Hc

где Hp и Hc - соответственно рабочий и срезочный (проектный) уровни воды.

Выполняется передача измеренных данных с базовой станции и подвижного приемника (см. п.1.9) в программу TGO офисного компьютера.

В этой программе производится постобработка и редактирование съемки, при котором выполняется просмотр и удаление точек, расположенных между смежными галсами, точек с большими отклонениями от галсов в плане и по глубине. Составляется отчет, и на печать выводится каталог координат точек съемки.

В программе Trimble DTMLink по точкам, прошедшим редактирование, создается новая поверхность (см. п.1.10 цифровая модель местности - ЦММ) и выводится на печать.

На планшет с координатной сеткой с помощью измерителя и масштабной линейки по координатам наносятся все точки съемки из каталога координат. Из журнала промеров глубин выбираются соответствующие точкам глубины и подписываются с правой стороны от точек, перпендикулярно направлениям галсов.

Методом интерполирования на плане проводятся изобаты через 0.5 м и, используя ЦММ производится их коррекция.

Окончательно составленный и оформленный по условным знакам план

участка реки должен содержать:

ситуацию прибрежной полосы;

пункты планово-высотного обоснования;

знаки плавучей и береговой судоходной обстановки;

изобаты, включая сухие и гарантированные;

линии урезов воды при рабочем уровне;

линию наибольших глубин или ось судового хода;

направление течения (стрелка);

отметки проектного уровня в начале, середине и в конце участка;

рамку планшета и зарамочные подписи.

Список использованной литературы

.        Методическое руководство по проведению учебной практики по гидрологии и водным изысканиям для студентов гидротехнического факультета. / В.К. Моргунов, А.А. Перфильев. Новосибирск, НГАВТ-2007.

.        Руководство пользователя GPS приемника Trimble R3. Электронная версия в формате PDF на CD-ROM, 2005г.

Похожие работы на - Производство гидрографических съемок с использованием комплекса GPS Trimble R3

 

Не нашли материал для своей работы?
Поможем написать уникальную работу
Без плагиата!
Без нейросетей!