Электропривод механизма подъема ковша экскаватора ЭШ 100.100
Министерство
образования и науки РФ
ФГБОУ
ВПО
«Уральский
государственный горный университет»
Горо-механический
факультет
Кафедра
электрификации горных предприятий
Курсовой
проект
по
дисциплине:
«Теория
электропривода»
на
тему:
«Электропривод
механизма подъема ковша экскаватора ЭШ 100.100»
Выполнил:
Студент группы
ЭЭТ-11 Лобович К.В.
Проверил:
Преподаватель Тельманова
Е.Д.
Екатеринбург
2014
Содержание
Исходные
данные
.
Назначение, устройство и описание работы технологического оборудования
.
Расчет статических нагрузок механизма и параметров одномассовой и двухмассовой
схемы замещения
.
Расчет параметров структурной схемы силовой части электропривода постоянного
тока
.
Расчет передаточных функций регуляторов тока и скорости
.
Расчет статических и динамических характеристик электропривода
Список
литературы
ковш экскаватор
электропривод
Исходные данные
Таблица 1 «Силовой модуль электропривода подъема
драглайна»
Таблица 2 «Используемые в приводе подъема драглайна
электрические машины»
Таблица 3 «Технические данные генераторов
драглайна»
Таблица 4 «Технические данные двигателей привода
подъема драглайна»
Таблица 5 «Параметры драглайна»
|
Наименование
параметра
|
Обозначение
|
Экскаватор
|
|
|
ЭШ
100.100
|
|
1.
Емкость, м3
|
E
|
100
|
|
2.
Длина стрелы, м
|
Lc
|
100
|
|
3.
Угол наклона стрелы, град
|
𝜓
|
35
|
|
4.
Максимальный радиус разгрузки, м
|
|
97
|
|
5.
Максимальная высота разгрузки, м
|
|
43
|
|
6.
Максимальный радиус черпания, м
|
|
97
|
|
7.
Максимальная глубина черпания, м
|
|
47
|
|
8.
Вес груженного ковша, кН
|
Gк+г
|
2940
|
|
9.
Момент статических сопротивлений приводу поворота, приведенный к оси
центральной цапфы, кНм
|
Mст
|
3700
|
|
10.
Динамический момент инерции поворотной платформы с ковшом на 2/3 вылета
стрелы, тм2 с груженным ковшом с порожним ковшом
|
Jгр Jп
|
5409600 4700000
|
|
11.
Диаметр каната, м
|
dк
|
|
12.
Передаточное отношение механизмов подъема тяги поворота
|
iп
iт iв
|
16
16 26
|
|
13.
Радиус барабана лебедок, м
|
Rб
|
1,7
|
|
14.
КПД механизмов подъема тяги поворота
|
ƞп
ƞт ƞв
|
0,9
0,9 0,95
|
|
15.
Количество канатов в приводе
|
nк
|
4
|
|
16.Максимальное
усилие подъема ковша, МН
|
|
5,4
|
|
17.
Максимальное усилие тяги ковша, МН
|
|
5,8
|
|
18.
Скорость подъема ковша, м/с
|
Vп
|
2,9
|
|
19.
Скорость движения тягового каната, м/с
|
Vт
|
2,8
|
|
20.
Частота вращения поворотной платформы, 1/с
|
ωп
|
0,129
|
|
21.
Коэффициент ослабления поля
|
kоп
|
1,3
|
|
22.
Мощность сетевого двигателя, кВт
|
Pс
|
4Х3600
|
|
23.
Подводимое напряжение, В
|
U
|
10000
|
1. Назначение, устройство и описание работы
технологического оборудования
Одноковшовые экскаваторы являются одними из
основных машин, используемых на открытых горных работах. Эффективность эксплуатации
одноковшовых экскаваторов во многом определяет основные технико-экономические
показатели предприятия.
Работает драглайн следующим образом. С помощью
подъемного каната (при отпущенном тяговом канате) ковш опускают на забой и
затем подтягивают тяговым канатом к экскаватору, при этом ковш наполняется
срезаемой породой. После наполнения груженый ковш поднимают вверх подъёмным
канатом и, удерживая его в горизонтальном положении натяжением тягового каната,
вместе с поворотной платформой поворачивают к месту разгрузки. Над местом
разгрузки при ослаблении тягового каната ковш опрокидывается передней стороной
вниз и разгружается, после чего платформу поворачивают к забою, одновременно
опуская ковш. Далее рабочий цикл повторяется.
Основным критерием эффективности эксплуатации
одноковшового экскаватора является повышение производительности. Однако часто
вместо указанного критерия используют косвенные, способствующие повышению
производительности экскаватора. К ним относятся, например, критерии сокращения
длительности рабочего цикла и снижения опасных динамических нагрузок,
способствующие повышению коэффициента использования экскаватора во времени.
Производительность экскаватора зависит от
качества управления, рабочим циклом, состоящим из операций копания, переноса
груженого ковша в точку разгрузки, разгрузки и переноса порожнего ковша в забой
к точке начала копания. Эти операции осуществляются при помощи электроприводов
подъема, тяги ковша и поворота платформы. Указанные электроприводы принято
называть главными.
Исходя из этого, важное значение приобретает
задача автоматизации процесса работы одноковшового экскаватора. Основу любой
системы автоматического управления режимом работы одноковшового экскаватора
составляют локальные системы автоматического управления отдельными
технологическими операциями. Объектом автоматизации являются главные
электроприводы рабочего органа экскаватора, в курсовом проекте будет произведен
расчет системы автоматического управления электропривода подъема ковша
экскаватора ЭШ 100.100 функциональная схемы которого приведена на рис. 1.1.
Рис. 1.1 Функциональная схема электропривода
подъема ковша экскаватора ЭШ 100.100
Электрический привод рабочего органа экскаватора
представляет собой электромеханическое устройство, приводящее в движение
рабочий орган (ковш) и управляющее его перемещением. В системе электропривода
рабочего органа одноковшового экскаватора выделяют:
систему автоматического управления частотой
вращения электродвигателя, включающую задающее устройство, регуляторы и датчики
выходных координат;
преобразователи напряжения для питания
электродвигателей - генератор или тиристорные преобразователи;
приводные электродвигатели с устройствами
возбуждения; механическое оборудование, включающее устройство передачи
движущего момента рабочему органу и рабочий орган - ковш.
Кинематическая схема имеет вид:
Рис. 1.2 Кинематическая схема лебедки подъема
ковша
экскаватора ЭШ 100.100
Рассмотрим механизм подъёма экскаватора ЭШ
100.100. Механизм подъёма оборудован приводом с четырмя двигателями. От
электродвигателей через эластичные муфты передаётся крутящий момент на
шевронные зубчатые передачи, открытые.косозубые передачи (защищенные кожухами),
и барабан вращается.
Применение многодвигательного привода позволило
уменьшить момент инерции вращающихся частей, динамичные нагрузки, благоприятно
распределить усилия в элементах лебёдки. Объединение зубчатых передач каждой
стороны лебедки в один блок с общей сварной рамой позволяет повысить точность
положения валов, сократить число элементов лебёдки, сократить продолжительность
монтажа последней.
. Расчет статических нагрузок механизма и
параметров двухмассовой схемы замещения
В этой главе произведен расчет параметров
передаточных функций элементов двухмассовой схемы замещения. Схема замещения
приведена на рис. 2.1.
Рис. 2.1 Двухмассовая схема замещения
По данным таблицы 1 в электроприводе подъема
имеется 4 двигателя типа МПЭ-2500-260.
Расчитаем номинальную угловую скорость вращения
двигателя:
Определим номинальный момент электродвигателя:
Определим стопорный момент всех
электродвигателей:
где: λ - коэффициент
превышения момента двигателя в переходных режимах пуска над номинальным.
Определим по данным из таблицы 5 приведенный к
валу двигателя момент инерции второй массы:
Коэффициент передачи передаточной функции звена
«вторая масса» в именованных и относительных единицах:

По данным таблицы 4 суммарный момент инерции
электрических двигателей привода и жестко связанных с ним механизмов:
Коэффициент передачи передаточной функции звена
«первая масса» в именованных и относительных единицах:
Жесткость упругого звена:
где: Eк - модуль упругости стали (110…140)∙109
Н/м2;к - длина каната, определяется:
S - площадь поперечного сечения проволок каната,
определяется по формуле:
где: kз - коэффициент заполнения сечения каната
(0,4…0,5).
Жесткость упругого звена, приведенная к валу
двигателя:
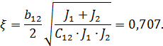
Коэффициент демпфирования колебаний определяется
по формуле:
Отсюда определим относительный момент инерции:
Параметры передаточной функции упругого звена в
именованных и относительных:
Соотношение масс и частота собственных колебаний
(частота резонанса) механической системы:
Подставим параметры передаточных функций (в
именованных и относительных единицах) в схему замещения двухмассовой системы.
Рис. 2.2 Двухмассовая схема замещения в
именованных единицах
Рис. 2.3 Двухмассовая схема замещения в
относительных единицах единицах
. Расчет параметров структурной схемы силовой
части электропривода постоянного тока
Силовая часть электропривода постоянного тока
включает в себя управляемый преобразователь и электрический двигатель. В
качестве управляемого преобразователя применяют генераторы или тиристорные
преобразователи. Для питания обмотки возбуждения генераторов применяют
тиристорные преобразователи.
Входным воздействием силовой части
электропривода является сигнал управления, вырабатываемый системой управления в
соответствии с законом управления, выходными переменными являются вращающий
момент и частота вращения электродвигателя.
Возмущающим воздействием является момент сил
сопротивления движению (рис 3.1).
Рис. 3.1 Структурная схема электропривода
Значительное влияние на характер процессов в
силовой части электропривода оказывает внутренняя обратная связь по ЭДС
вращения, темп изменения которой зависит от темпа изменения частоты вращения
якоря электродвигателя, определяемым, в свою очередь, моментом инерции
вращающихся масс электропривода.
Расчет параметров силовой части электропривода
выполняют по схеме замещения (рис. 3.2).
Рис. 3.2 Схема замещения якорной цепи силового
модуля электропривода
Определим суммарное сопротивление обмоток якоря
генератора и двигателя, учитывая схему соединения, по паспортным данным
электрических машин (табл. 3, 4):
Индуктивность якорных обмоток генератора и
двигателя и суммарная индуктивность с учетом схемы соединения электрических
машин:
Рассчитаем постоянную времени обмотки якоря
эквивалентных генератора и двигателя:
Параметры передаточной функции якорной цепи в
именованных и относительных единицах:
где: 
- передаточный коэффициент якорной
цепи, определяется:
Определим коэффициент усиления
генератора:
Постоянная времени передаточной
функции обмотки возбуждения генератора:
Параметры передаточной функции
обмотки возбуждения генератора в именованных и относительных единицах:
Коэффициент усиления тиристорного
преобразователя для питания обмотки возбуждения генератора в именованных и
относительных единицах:
где: 
- номинальное напряжение
тиристорного преобразователя:
Номинальное напряжение тиристорного
преобразователя увеличивается в три раза, для осуществления возможности режима
форсировки возбуждения.
Подставим параметры передаточных
функций (в именованных и относительных единицах) в структурную схему силовой
части электропривода.

Рис. 3.4 Структурная схема силовой
части электропривода в относительных единицах единицах
. Расчет передаточных функций
регуляторов тока и скорости
Решение задач автоматизации
технологических процессов тесно связано с совершенствованием систем
электропривода основных рабочих механизмов горных машин.
В общем случае задачей оптимизации
динамики систем электропривода является получение экономичным способом
переходных процессов в системе, удовлетворяющих заданным требованиям, которыми
являются взаимно противоречивые требования повышения быстродействия и
увеличения степени устойчивости привода при управляющих и возмущающих
воздействиях. Иногда эту задачу не удается решить полностью и приходится
принимать компромиссные решения. При выборе структур электроприводов и настроек
регуляторов учитывают режимы работы электроприводов, характер внешних и
внутренних возмущений и соотношение динамических параметров объекта
регулирования.
Развитие экскаваторных
электроприводов характеризуется в настоящее время широким внедрением
тиристорных преобразователей и многоконтурных унифицированных систем
автоматического управления.
Получившие распространение системы
подчиненного регулирования состоят из типовых контуров, число которых, как
правило, равно числу регулируемых параметров, таких, например как ток якоря,
скорость двигателя, натяжение канатов.
Достоинствами систем электропривода,
построенных по принципу подчиненного регулирования координат, являются простота
расчета, настройки и ограничения предельных значений промежуточных координат
системы.
В экскаваторном электроприводе
использованы, как правило, двухконтурные системы подчиненного регулирования
координат электромеханических систем. При,этом внутренним является контур тока
и внешним - контур скорости. На рис. 4.1 приведена структурная схема контура
тока, на рис. 4.2 - контуоа скорости.
Рис. 4.1 Структурная схема контура
тока
Рис. 4.2 Структурная схема контура
скорости
Расчет регулятора тока (момента).
Схема электропривода постоянного
тока с унифицированным контуром регулирования тока изображена на рис. 4.3.
Рис. 4.3 Схема электропривода с
контуром регулирования тока
Определим коэффициент усиления
преобразователя:
Определим суммарное сопротивления
якорной цепи:
Задаваясь значение Rо.с.т.=10 кОм
определим емкость конденсатора:
Коэффициент обратной связи по току:
Постоянная времени регулятора тока:
Максимальное напряжение задания
тока:
Коэффициент ЭДС двигателя:
Электромеханическая постоянная
времени:
где:
Получаем передаточную функцию
регулятора тока:
Расчет параметров регулятора
скорости.
Рис. 4.4 Схема электропривода с
контуром регулирования тока и внешним контуром регулирования скорости
Коэффициент обратной связи по
скорости:
Коэффициент усиления регулятора
скорости:
где: 
Задавшись сопротивлением 
, определим сопротивление:
ЭДС тахогенератора:
Сопротивление обратной связи по
скорости:
. Расчет статических и динамических
характеристик электропривода
Расчет статических характеристик
произведем при двух значения напряжения задания скорости 5 и 10 В.
Уравнение электромеханической
характеристики имеет вид:
при 
при 
Для построения статических
характеристик определим скорость идеального холостого хода:
Рис. 5.1 Статические
электромеханические характеристики электропривода
Определим стопорный момент
электропривода:
Построим механическую характеристику:
Рис. 5.2 Механическая характеристика
электропривода
Максимально требуемое значение ЭДС
преобразователя соответствующее 
Электромеханическая характеристика
при 
Установившаяся суммарная ошибка при
линейном нарастании:
где:
Время первого согласования текущего
и установленного значения скорости:
Перерегулирование по скорости:
где:
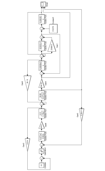
Для получения графиков переходных
процессов возпользуемся программой MATLAB, структурная схема изображена на рис.
5.3.
Рис 5.3 Структурная схема
электропривода подъема экскаватора ЭШ 100.100
При помощи программы получаем
следующие графики переходных процессов, изменения угловой скорости, тока и
момента.
Рис. 5.4 График изменения угловой
скорости
Рис. 5.5 График изменения тока
Рис. 5.6 График изменения момента
Список литературы
.
Барановский В.П. «Теория автоматического управления»: Учебное пособие по
курсовому проектированию 3-е изд., исправленное. Изд-во УГГУ, Екатеринбург 2009
- 110с.
.
Лукас В.А. «Теория автоматического управления»: Учеб. для вузов.-2-е изд.,
перераб. и доп.-М.: Недра, 1990.-416с.