Экстрактивная ректификация как способ разделения смеси бензол-циклогексан
Обозначения и сокращения
В настоящей работе применены следующие обозначения и сокращения:
СЭР - Сульфолановая экстрактивная ректификация;
ЭА - экстрактивный агент;
ЭР - экстрактивная ректификация;
NFM - N-формилморфолин;
Введение
экстрактивный ректификация бензол циклогексан
В технологиях основного органического и нефтехимического синтеза,
химико-фармацевтической и лесохимической промышленности, в производствах кино-
и фотоматериалов существует необходимость разделения многокомпонентных
азеотропных смесей. Как правило, такие системы характеризуются сложным
характером фазового поведения и требуют разработки специальных приемов
разделения, одним из которых является экстрактивная ректификация.
В настоящее время метод экстрактивной ректификации (ЭР) находит применение
для решения разнообразных задач по разделению различных смесей. Появление
данного метода обусловлено необходимостью разделения близкокипящих
углеводородов в связи с широким развитием нефте- и газопромышленности. Метод
экстрактивной ректификации предпочтительней для производств крупного масштаба,
с непрерывным процессами разделения в целях экономии тепла.
В
технологическом процессе строящегося в Приморском крае нефтеперерабатывающего и
нефтехимического предприятии ЗАО «ВНХК» также запланирована установка
экстрактивной ректификации - установка извлечения бензола из широкой фракции С6.
В прошлом году была защищена дипломная работа [1], посвященная предварительному
расчету колонны ЭР на основе модельных смесей. Было показано, что наиболее
корректно реальный процесс моделируется ректификацией бинарной смеси
бензол-циклогексан
Целью
настоящего исследования является построение модели экстрактивной ректификации
выделения бензола из фракции С6 в технологическом процессе ЗАО
«ВНХК».
В
рамках данной курсовой работы решались следующие задачи:
- анализ литературных данных применения процесса ЭР в углеводородной
промышленности;
- описание технологического процесса разделения смеси
бензол-циклогексан методом ЭР.
1.
Литературный обзор
1.1 Сущность
экстрактивной ректификации
Экстрактивная
ректификация (ЭР) - один из методов разделения азеотропных смесей и смесей
компонентов с малой относительной летучестью, основанный на применении
специально подобранного вещества - экстрактивного агента (ЭА), который
увеличивает относительную летучесть компонентов исходной (базовой) смеси и, тем
самым, способствует их разделению [2]. Рисунок 1 иллюстрирует типичный процесс
экстрактивной ректификации.
- колонна экстрактивной ректификации; 2 - отгонная колонна; 3 - насос
Рисунок 1 - Типичная схема экстрактивной ректификации
Поток
исходной смеси входит в среднюю часть колонны экстрактивной ректификации 1, в
то время как разделяющий компонент вводится в колонну рядом с конденсатором.
Компонент с более высокой летучестью, в присутствии растворителя (не
обязательно компонент с более низкой температурой кипения) выходит верхним
потоком, как относительно чистый дистиллят. Другой компонент смешивается с
растворителем (экстрагируется) и выходит из колонны через нижний поток.
Растворитель затем отделяют во втором блоке (отгонной колонне 2) от остальных
компонентов, как правило, путем ректификации (или испарения), и возвращают в
колонну ЭР [3].
Главными
преимуществами экстрактивной ректификации являются [3]:
- полная, автономная работа;
- большая степень свободы в проектировании, что дает большую
гибкость в реализации;
легкая управляемость и работоспособность;
продукты получают свободными от растворителя;
количество растворителя требуется обычно меньше, чем
азеотропообразователя при азеотропной ректификации;
не весь растворитель должен испариться (растворитель получают в
виде кубового продукта);
существенно меньшее энергопотребление, чем в азеотропной
ректификации.
Недостатки рассматриваемого метода ректификации:
- сравнительно низкая степень извлечения низкокипящих целевых
компонентов, несмотря на наименьшие коэффициенты активности в растворителе;
- низкая степень чистоты высококипящих целевых компонентов,
остающихся в кубовом остатке (необходимость использовать более узкокипящие
фракции по сравнению с экстракцией);
процесс основан на равновесии жидкость - пар, причем желательно,
чтобы на всех тарелках колонны существовала лишь одна жидкая фаза;
использование менее селективных растворителей по сравнению с
экстрагентами;
не пригодна для термически чувствительных материалов.
1.1.1
Колонна экстрактивной ректификации
Колонна ЭР отличается от колонны «обычной» ректификации наличием
дополнительной тарелки питания для ввода экстрагента (рисунок 2).
Рисунок 2 - Секции ректификационных колонн: а - "обычная"
ректификация, б - экстрактивная ректификация (обозначения см. в тексте)
В обычной колонне отгонная, или исчерпывающая секция 2 расположена ниже
ввода сырья. Тарелка, на которую подается сырье I, называется тарелкой питания. Целевым продуктом отгонной
секции является жидкий (кубовый) остаток III. Укрепляющая секция 1, часто называемая секцией
питания, расположена над тарелкой питания. Целевым продуктом являются пары
ректификата II.
В
колонне ЭР сырье I вводится в секцию питания колонны, а растворитель
(экстрагент) IV на несколько тарелок ниже верха колонны. Над точкой
ввода экстрагента расположена секция извлечения растворителя 3, а остальная
часть колонны - экстрактивная секция 4. Экстрактивная секция в свою очередь
разделяется на поглотительную секцию 5 и отгонную 6. В поглотительной секции 5
высококипящий компонент абсорбируется из паровой фазы, а в отгонной -
низкокипящий компонент II отгоняется из смеси растворителя и высококипящего
компонента [4]. С низу колонны отбирается смесь высококипящего компонента и
экстрагента V.
Принципиально
колонна ЭР конструктивно может не отличаться от колонны «обычной» ректификации
кроме наличия в ней дополнительной тарелки питания, как это описано выше.
Однако эффективность работы колонны ЭР увеличивается при внесении некоторых
конструктивных изменений, обусловленных существенно большим, чем в обычной
колонне, потоке жидкой фазы.
Так,
колонна ЭР (рисунок 3), предложенная в [5] работает следующим образом. Пар в
колонну 1 движется снизу вверх, а жидкость (флегма) движется сверху вниз.
Растворитель вводится на тарелку 2 по коллекторам 6 в месте слива жидкости из
сливных устройств. На тарелке 2 происходит смешение растворителя с флегмой с
пенообразованием вследствие действия поверхностно-активных примесей в
растворителе и дополнительное испарение флегмы за счет теплоты смешения
растворителя с жидкостью, взаимодействие поднимающихся паров и жидкой смеси и
массообмен между ними.
Рисунок
3 - Строение колонны экстрактивной ректификации (обозначения см. в тексте) [5]
Таким образом, интенсивное пенообразование происходит на тарелке, на
которую подается растворитель, а для обеспечения слива большого объема жидкости
(парожидкостной эмульсии) с малой плотностью с этой тарелки сечение сливных
устройств увеличено в 5 - 6 раз по сравнению с вышележащими нормализованными
тарелками, и расстояние до нижней глухой тарелки также увеличено в 3 раза.
Расстояние между глухой тарелкой 4 и нижележащей обычной тарелкой 2 выполняется
обычным, как и между вышележащими нормализованными тарелками, так как с глухой
тарелки 4 будет стекать ответленная жидкость без пены.
Утроенное
расстояние между тарелкой 2, на которую подается растворитель, и нижележащей
глухой тарелкой 4 позволяет использовать для экстрактивной ректификации обычные
с нормализованными тарелками ректификационные колонны, удалив при этом на
уровне ниже ввода растворителя в колонну две нормализованные тарелки и установив
одну глухую тарелку, при этом будет совпадать чередование периферийных и
центральных сливов двух- и многопоточных тарелок и диаметральное расположение
однопоточных тарелок [5].
Также
известна колонна ЭР, в которой растворитель вводится в сливные карманы колонны.
Сливной карман - это зона, в которую сливают жидкость с тарелки, снабженный
переливной перегородкой, обеспечивающей определенную высоту слоя жидкости на
тарелке, сепарационной частью, где происходит отделение пара от жидкости, и
переливными трубами, по которым жидкость сливают на следующую тарелку [6].
Множество
работ [6,7] посвящено колонне ЭР с разделительной перегородкой. Оптимальная
экономическая конструкция колонны, с разделяющей перегородкой была основана на
минимизации общей суммы расходов, которые включает в себя энергию и капитальные
затраты. Тем не менее, наиболее распространенным положение в промышленном
осуществлении колонны с разделительной перегородкой.
Колонна
должна быть рассчитана на максимальную нагрузку пара в каждой из секций. Для
того чтобы рассчитать стоимость колонны, предварительно рассчитывается диаметр
каждой из трех секций экстрактивной колонны на основе скорости паров. Обычно
общее число тарелок в колонне с разделительной перегородкой [7] колеблется в
пределах от 51 до 57.
Технология
колонны с разделительной перегородкой хорошо зарекомендовала себя для
реконструкции установок, увеличения производительности, повышения качества и
выхода продукции. Перевооружение существующего оборудования может быть
проведено в течение лишь одной недели, т. е. в ходе кратковременной остановки
при низких потерях продукции [8].
Использование
колонны с разделительной перегородкой и ее термодинамические преимущества,
которые обеспечивают уменьшение инвестиций на макс. 20 %, снижение энергозатрат на макс. 35 %, уменьшение требуемой площади на макс. 40% [9].
1.2 Растворители
для экстрактивной ректификации
1.2.1 Критерии
отбора растворителей
Обязательным
этапом предпроектной разработки процесса экстрактивной ректификации является
формирование множества потенциальных разделяющих агентов, из которого затем
осуществляется выбор наиболее подходящего селективного вещества [10].
В
процессе выбора растворителя должны быть рассмотрены как явные, так и неявные
свойства растворителя. Явные свойства растворителя, к которым относятся
летучесть, селективность, растворимость, могут быть рассчитаны
термодинамически. А неявные свойства не могут быть вычислены и являются
характеристиками самого растворителя, например, токсичность, стоимость,
стабильность и т.д.
Растворитель
с самой высокой селективностью всегда считается наиболее перспективным для
разделения смеси. Это важнейший критерий выбора растворителя, что указывает на
использование растворителя с самой высокой селективностью, и соответственно
дает наименьшее общую сумму расходов. Тем не менее, общая потребность процесса
в энергии и стоимость растворителя может влиять на его выбор. В процессах
экстрактивной ректификации, двустороннее взаимодействие между растворителем и
каждым из компонентов должны быть приняты во внимание; это даст представление о
легкости регенерации растворителя.
Коэффициенты
активности и, следовательно, селективность зависит от концентрации в жидкой
фазе и от температуры. Как правило, коэффициент активности (и, таким образом,
селективность) каждого основного компонента определяется при бесконечном
разбавлении в каждом из потенциальных растворителей. В большинстве случаев,
селективность увеличивается, часто почти линейно с концентрацией растворителя.
Таким образом, растворитель с наибольшей селективностью при бесконечном
разбавлении, как правило, имеет самую большую селективность.
В
дополнение к селективности растворителя, есть и другие желательные
характеристики для пригодности:
- растворитель не должен образовывать азеотропов с компонентами в
смеси, подлежащей разделению (это может быть гарантировано выбором растворителя
с температурой кипения на 30-40 °C выше, чем у тяжелого компонента смеси,
которая должна быть разделена; это различие также облегчает восстановление
растворителя);
- растворитель должен быть термически и химически стабильным при
температурах процесса для предотвращения его деградации или химического
превращения;
растворитель должен быть нетоксичным и экологически чистым;
желательно, чтобы растворитель имел достаточную растворимость в
подающей смеси при температуре и концентрации в экстрактивной дистилляции
(однако это не является обязательным требованием, чтобы разработать успешную
систему разделения);
растворитель должен легко отделяться от компонентов, связанных с
ним.
В большинстве случаев, такие критерии как термостойкость,
коррозионностойкость, реактивность и растворимость могут быть выявлены с
помощью оптимизации процесса и условий эксплуатации. Таким образом, наиболее
важные критерии при выборе растворителя, являются селективность и
растворимость.
Как правило, предпочтительнее растворители, которые усиливают разницу в
давлении паров компонентов, которые должны быть разделены. Таким образом,
требуются растворители с селективностью более 1,0 с целью получить наиболее летучие
соединения в верхней части колонны.
Как
указано в [7] сильные отклонения от идеальности часто связаны с водородной
связью между молекулами и наиболее предпочитаемыми растворителями, являются
соединения, способные образовывать прочные водородные связи. Таким образом, в
случаях, когда рекомендованы либо полярный, либо неполярный растворитель,
полярные соединения являются более предпочтительными.
Одной
из важных характеристик экстрактивной ректификации является то, что
растворитель увеличивает нагрузку жидкости внутри колонны. При этом количество
растворителя должно быть таково, чтобы обеспечить его высокую концентрацию на
всех тарелках колонны. Поток паров в колонне является относительно низким по
сравнению с потоком жидкости.
В
настоящее время принято разделять четыре класса растворителей, которые,
используются для экстрактивной ректификации:
- жидкие растворители;
- твердые соли;
сочетания жидкого растворителя и твердой соли;
гиперразветвленные полимеры.
1.2.1.1 Жидкие
растворители
Жидкие
растворители относятся к наиболее распространенному классу растворителей,
используемых в процессах ЭР для разделения компонентов с близкокипящими
температурами [13]. Главное преимущество этих растворителей является простота в
эксплуатации и регулирование в колонне ЭР. Благодаря своим характеристикам, они
могут быть восстановлены в обычной ректификационной колонне и возвращаются
снова в колонну ЭР. Растворимость или емкость, является мерой концентрации
(молярный состав) в одной из жидких фаз, когда соединение представляет собой
высококонцентрированное в другой жидкой фазе. Предпочтительны растворители с
высокой селективностью (высокая степень разделения) и высокой растворимостью
(во избежание образование второй жидкой фазы).
В
последнее время в качестве РА в процессе ЭР наряду с традиционными
растворителями используются и ионные жидкости (ИЖ) [11]. Ионные жидкости
представляют собой новый класс компонентов с высоким потенциалом для замены
существующих растворители экстрактивной ректификации и для экономии энергии /
капитала более 20 %. Тем не менее, на данный момент незначительные знания
оптимальных свойств ионных жидкостей не дает возможности использовать и
реализовать в реальных технологических системах.
Ионными
жидкостями принято называть сложные органические соли (вещества), молекулы
которых, как правило, состоят из органического катиона и неорганического или
органического аниона [12]. Подходящие катионы и анионы могут быть выбраны для
получения ионной жидкости с желаемыми свойствами для конкретных случаев.
Хотя
ИЖ известны более 100 лет, только в течение последнего десятилетия интерес
резко возрос, так как стали применяться во многих областях химической
промышленности. ИЖ используются в качестве растворителей, заменяющих летучие
органические соединения, катализаторов в химических реакциях, смазок,
терможидкостей, пластификаторов, и электропроводных жидкостей в электрохимии.
Для применения в экстрактивной ректификации ИЖ приобретают ряд уникальных
характеристик, как незначительное давление пара, которое отражается на чистоте
продуктов паров и возможность переработки после восстановления; химическая и
термическая стабильность в присутствии воды и без нее; широкий диапазон
материалов, в том числе органические, неорганические и даже полимерные,
растворимые в ионных жидкостях, которые гарантирует, что ИЖ имеют достаточную растворимость
компонентов, которые должны быть разделены, и чтобы увеличить относительную
летучесть из жидких смесей, избегая образования нескольких жидких фаз [3].
При
использовании жидких ионных растворителей в экстрактивных процессах они
действует как обычный растворитель. Его подают в верхнюю часть колонны и
получают в нижнем потоке колонны в сочетании с менее летучими компонентами. ИЖ
увеличивают относительную летучесть смеси и поэтому очень чистый поток может
быть получен в дистилляте. Если относительная летучесть с ионным растворителем
выше, чем у обычных растворителей, в этой колонне достигнуто энергосбережение.
Ионные растворители могут быть легко восстановлены и возвращаются в колонну ЭР.
1.2.1.2 Твердые
соли
В
некоторых системах можно использовать твердую соль, растворенную в жидкой фазе
[13]. Так называемый "эффект соли в парожидкостном равновесии"
относится к способности твердой соли для изменения равновесия путем изменения
коэффициентов активности в жидкой фазе. Соль не восстанавливается посредством
дистилляции, но как правило, отделяется путем испарения. Одним из преимуществ
этого процесса является легкое восстановление соли. Наиболее важным применением
этой технологии является разделение этанола и воды. Тем не менее, в
промышленных операциях есть проблемы с нерастворимостью, повторным
использованием, коррозией и транспортировкой соли. Эти недостатки делают
экстрактивную ректификацию с твердой солью наименее применимой в
промышленности.
1.2.1.3 Сочетание
жидкого растворителя и твердой соли
Некоторые системы позволяют использовать комбинацию жидкости и твердого
растворителя - соли, растворенной в жидкой фазе в качестве разделительного
агента. Сочетание этих двух растворителей включает преимущества жидких
растворителей и твердой соли (высокой способности разделения с низким
растворимостью и коэффициентами), и могут быть пригодны для разделения полярных
или неполярных систем. Тем не менее, коррозионное воздействие твердых солей все
еще является существенным недостатком. С другой стороны, из-за ограничений
растворимости твердых солей, количество добавленной соли в жидкий растворитель
часто мало и улучшение разделения ограничено. Кроме того, жидкие растворители,
в некоторой степени, летучие, которые все еще могут загрязнять дистиллят.
1.2.1.4 Гиперразветвленные
полимеры
Разветвленные
полимеры были в основном изучены в разделении полярных смесей, например,
этанол-вода и тетрагидрофуран-вода, с помощью экстрактивной ректификации и
экстракции растворителем, соответственно. Тем не менее, есть только несколько гиперразветвленных
полимеров, коммерчески доступных в настоящее время, которые отвечают
требованиям, предъявляемым к азеотропообразователю или растворителю (низкая
вязкость, низкая температура плавления, устойчивость, избирательность и
мощность) [13].
1.3
Применение процесса экстрактивной ректификации в углеводородной промышленности
Процессы экстрактивной ректификации почти никогда не используются
самостоятельно, а являются стадиями технологических процессов разделения
смесей. Необходимо заметить, что метод экстрактивной ректификации применяется
не только когда обычная ректификация невозможна, но и когда требуется упрощение
процесса или значительное уменьшение энергозатрат.
Ниже приведено несколько примеров применения экстрактивной ректификации.
1.3.1 Разделение
смесей близкокипящих углеводородов
Смесь
близкокипящих углеводородов подвергают ЭР с использованием в качестве
экстрагента ацетонитрила или его смеси с водой или другими экстрагентами с
последующей десорбцией углеводорода из ацетонитрила, в присутствии аммиака. Для
уменьшения потерь аммиака и ацетонитрила, десорбцию необходимо проводить в
присутствии органического азотсодержащего соединения с константой основной
диссоциации 1*10-6 - 1*10-1, а также в необходимом
количестве, которое поддерживает pH ацетонитрила в диапазоне от 7,1-11 при десятикратном
разбавлении водой [14].
Применение
смеси аммиака и органического основания обеспечивает при их меньших
концентрациях более низкие потери ацетонитрила, чем при применении в
отдельности аммиака или органического амина.
1.3.2 Снижение
содержания бензола в автомобильном бензине
Бензол
- наиболее токсичный из применяющихся в промышленности углеводородов,
относящийся ко второму классу опасности вредных веществ. Бензол может вызывать
развитие лейкоза, доказаны его канцерогенный, мутагенный и тератогенный
эффекты. Кроме того, бензол, содержащийся в автомобильном бензине, усиливает
нагарообразование в двигателе, и увеличивает содержание сажи и канцерогенных
полициклоаренов в отработавших газах [15]. При повышенном содержании
ароматических углеводородов из-за нагарообразования ухудшается отвод тепла
через стенку двигателя, повышается температура во фронте пламени, что вызывает
увеличение концентрации в отработавших газах высокотоксичных оксидов азота
[16]. Возможно извлечение бензола из бензинов методом экстрактивной
ректификации. Это направление снижения содержания бензола в автомобильных
бензинах признается наиболее экономичным для нефтеперерабатывающих заводов с
ресурсами риформатов более 1.5 млн. т/год [17] или при использовании
выделенного бензола непосредственно на заводе. Например, в ООО «ПО
«Киришинефтеоргсинтез» бензол находит применение на комплексе ЛАБ-ЛАБС для
производства моющих средств. В Японии рекомендовалось снижать содержание
бензола в автомобильных бензинах методами экстрактивной ректификации с
N-формилморфолином или экстракцией сульфоланом [18,19].
1.3.3 Выделение
толуола из сложных нефтяных фракций
Одним
из наиболее важных применений ЭР в углеводородной промышленности можно
считается процесс выделение толуола из сложных нефтяных фракций [20]. Этот
процесс называют Shell-процессом. Типовая технологическая схема Shell-процесса
изображена рисунке 4.
- подача углеводорода; 2 - подача фенола; 3 - колонна для выделения
толуола; 4 - вывод неароматических углеводородов; 5 - исчерпывающая колонна; 6
- вывод толуола
Рисунок
4 - Shell-процесс для выделения толуола [20]
Установка состоит из колонны для экстрактивной разгонки или выделения
толуола и исчерпывающей колонны для выделения растворителя.
1.3.4 Способ
выделения и очистки 1,3-диоксолана
В
[21] говорится о выделении и очистке 1,3-диоксолана из водных растворов,
образующихся при взаимодействии этиленгликоля с формальдегидом. С целью
повышения выхода, упрощения процесса за счет исключения стадии щелочной
промывки из процесса осушки 1,3-диоксалана (тем самым повышается экологическая
чистота технологии), разделение азеотропной смеси 1,3-диоксолан - вода проводят
экстрактивной ректификацией, а в качестве экстрагента применяется
этиленгликоль. Выход 98 - 98,5 %, энергозатраты уменьшаются на получение
чистого 1,3-диоксолана на 25 - 35 %.
1.3.5
Способ очистки изопрена
В
[22] предложен способ очистки изопрена от примесей с помощью ЭР в присутствии
РА, содержащий 0,005-10 мас. 5 % гидроокиси щелочного металла. С целью
уменьшения энергозатрат предлагается РА, который представляет из себя
высококипящий побочный продукт, образующийся на стадиях синтеза или разложения
диметилдиоксана в изопрен в процессе его производства из изобутилена и
формальдегида, или высококипящий побочный продукт, образующийся в процессе
одностадийного производства изопрена.
1.3.6 Способ
разделения С4 углеводородных фракций
Фракции
С4 разделяют ректификацией в присутствии экстрагента, содержащего
ацетонитрил, 2-10 мас. % воды и 1.9-30.0 мас. % С1-С4
алифатических спиртов. В качестве алифатических спиртов используют первичные
или третичные спирты или их смеси. Способ обеспечивает высокую селективность
разделения и уменьшение потерь спиртов при их рекуперации [23, 24].
Например,
бутан-бутиленовую фракцию, подвергают разделению экстрактивной ректификацией с
использованием экстрагента, содержащего ацетонитрил, алифатические спирты C1-C4
в количестве 1,9-30,0 мас. % и воду в количестве 2-10 мас. %. Дистиллятом колонны
экстрактивной ректификации отбирают бутан-изобутановую фракцию, а кубовый
продукт колонны разделения направляют в десорбер. С верха десорбера отбирают
бутиленовую фракцию. Извлечение экстрагента из углеводородных потоков
осуществляют водной отмывкой, рекуперацию экстрагента из промывных вод
осуществляют ректификацией.
1.4
Экстрактивная ректификация смеси бензол-циклогексан
Особое место в углеводородной промышленности занимает процесс разделения
смеси бензол-циклогексан.
Циклогексан
в основном получают путем каталитического гидрирования бензола и удаления
непрореагировавшего бензола. Тем не менее, эти два компонента имеют близкие
температуры кипения и образуют азеотропную смесь, которая требует специальных
процессов сепарации, таких как экстрактивной дистилляции. Однако существующие
обычные растворители, используемые для экстрактивной дистилляции имеет
разнообразные ограничения. Разделение смесей бензола и циклогексана была
показана [10] как одна из самых сложных задач в нефтехимической промышленности
из-за их близких точек кипения (только 0,6 °C).
Добавка
растворителя используется, чтобы уменьшить летучесть одного компонента. Другой
компонент отгоняется сверху в чистом виде, а внизу смесь подают в отпарную
колонну для разделения. Общими растворителями можно назвать сульфолан,
N-формилморфолин (NFM), диметилсульфоксид, этиловый эфир ацетоуксусной кислоты,
азотосодержащие компоненты соединения, фурфурол, циклодекстрин.
Для
увеличения производительности и селективности растворителя добавляют
сорастворитель, такой как вода с диметилсульфоксидом, этиленгликолем,
N,N-диметилформамидом, метилпирролидоном и как сорастворитель с NFM. Тем не
менее, эти растворители не особо применимы, так как требуют дополнительной
перегонки для восстановления растворителя [25].
Согласно
рекомендациям, приводимым в литературе [19], для эффективного разделения
бинарные растворы базовых компонентов с разделяющим агентом должны быть
«антиподами», т.е. характеризоваться противоположными знаками всех избыточных
термодинамических функций. Этому критерию соответствует 1,1,2,2-тетрахлорэтан.
Противоположный характер отклонений от идеального поведения наблюдается,
например, в смесях циклогексана и бензола с н-додеканом и этилбензолом.
Формирование
множества потенциальных разделяющих агентов для экстрактивной ректификации
можно осуществлять по результатам анализа концентрационных зависимостей
избыточной энергии Гиббса растворов исходный компонент - РА. В результате
такого анализа для разделения смеси циклогексан - бензол предложены [26] 1,1,2,2-тетрахлорэтан,
анилин и нитробензол, а также диметилсульфоксид и диметилформамид, которые
традиционно используются в промышленности в качестве разделяющих агентов. При
использовании анилина, нитробензола или 1,1,2,2-тетрахлорэтана возможно
получение в колонне экстрактивной ректификации циклогексана первого сорта (ГОСТ
14198-78). Диметилсульфоксид начинает разлагаться при атмосферном давлении ниже
температуры кипения, поэтому ректификацию целесообразно проводить при
пониженном давлении. Это благоприятно сказывается и на относительной летучести
базовых компонентов. При этом возможно получение технического циклогексана
первого сорта (ГОСТ 14198-78). Диметилформамид также разлагается при
атмосферном давлении ниже температуры кипения, поэтому ректификацию следует
проводить при пониженном давлении. ДМФА является эффективным разделяющим
агентом. Однако в бинарной системе циклогексан - ДМФА в широком диапазоне
давления существует тангенциальный азеотроп, поэтому получение циклогексана
товарного качества невозможно.
1.4.1
Разделение бензола и циклогексана экстрактивной с использованием в качестве
разделяющего агента фенола
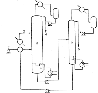
I-смесь
бензола с циклогексаном; II-свежий
фенол; III-водяной пар; IV-циркулирующий экстрагент (фенол); V-бензол-фенол; VI-циклогексан; VII-бензол; 1-колонна экстрактивной
ректификации (1а-экстракционая секция, 1б-отпраная секция, 1в-секция
регенерации экстрагента), 2-кипятильник, 3-конденсатор, 4-колонна регенерации
экстрагента
Рисунок
5 - Разделение бензола и циклогексана экстрактивной ректификацией [27]
Циклогексан и бензол при атмосферном давлении имеют близкие температуры
кипения, а при добавке сильно полярного фенола относительная летучесть смеси
значительно увеличивается. Фенол термически устойчив имеет достаточно высокую
температуру кипения 182,2 °С, селективен. В присутствии фенола летучесть
циклогексана возрастает по сравнению с летучестью бензола, поэтому смесь
относительно легко разделяется.
Сырье непрерывно вводится в точке F колонны (рисунок 5), а фенол в точке N между тарелкой подачи сырья и верхом
колонны. Фенол стекает вниз с кубовой жидкостью. Участок колонны ниже точки F используется для отпарки
циклогексана из бензола и фенола. Выше точки N в парах содержатся лишь циклогексан и фенол, так как между
точками F и N происходит экстракция бензола из паровой фазы. Над точкой
ввода фенола происходит отделение циклогексана от фенола. Выходящие пары
представляю собой практически чистый циклогексан. Кубовая жидкость колонны
экстрактивной ректификации (весь бензол и фенол) отправляется в колонну 4.
Бензол кубовой жидкости отгоняется, а регенерированный фенол выводится из
куба-испарителя и возвращается в колонну 1 на линию подачи.
1.4.2 Процесс
Morphylane
По
технологии «Morphylane» [28], разработанной фирмой Heinrich Koppers, в качестве
селективного растворителя используется N-формилморфолин. В 1973 г. была
построена установка производства бензола из гидрированной бензол-толуольной
фракции пиробензина. К 2009 г. технология Morphylane стала лидирующей в области
экстракции ароматических углеводородов, о чем свидетельствуют 55 установок с
лицензированной годовой мощностью 12 млн. т высокочистых ароматических
углеводородов.формилморфолин - более селективный растворитель, чем
диметилформамид и N-метилпирролидон, поэтому он может применяться не только для
выделения бензола из узкокипящей бензольной фракции, но и бензола с толуолом из
бензол-толуольной фракции в одной колонне экстрактивной ректификации.
На
первых установках экстрактивной ректификации с N-формилморфолином чистота
выделяемых аренов была существенно ниже: бензола - 99.9 % и толуола - 98 %.
Содержание бензола в дистилляте в 1970-е гг. достигало 15 % мас. В результате
ряда совершенствований процесса «Morphylane» в конце 1980-х гг. оно снизилось
до 2.5-5.0 % мас., что привело к повышению выхода бензола с 93.6 до 98.4 % .
Потери растворителя снизились с 30-50 до 10-20 г на 1 тонну аренов. Эта
технология позволила получить продукт необходимой чистоты при существенном
уменьшении энергопотребления (по сравнению с жидкостной экстракцией). Компания
Uhde разработала специальную технологическую схему для снижения доли бензола в
риформате с использованием технологии «Morphylane». Так, в материалах компании
приведены сведения о работе установки, введенной в эксплуатацию в 1999 г. в г.
Кавасаки (Япония) производительностью по бензолу 100 тыс. т/год. Содержание
бензола в сырье колонны экстрактивной ректификации около 30 % мас., качество
получаемого бензола - 50 ppm неароматических углеводородов, расход пара - 380 кг/т
сырья. Отмечаются очень низкие потери N-формилморфолин - 1 г/т бензола. Как
одно из важных преимуществ технологии по сравнению с вариантом
гидроизомеризации бензола указывается экономия ценного для НПЗ водорода, а
также простота схемы и низкие эксплуатационные затраты [8]. Технологическая
схема процесса «Morphylane» представлена на рисунке 6.

Рисунок
6 - Технологическая схема и физические свойства NFM [28]
Особенности растворителя Morphylane:
- высокая избирательность и эффективность растворителя;
- высокая термическая и химическая стабильность;
не вызывает коррозии;
не образует отложений и пены;
минимальные потери растворителя вследствие отсутствия воды;
простая регенерация растворителя;
минимальная подпитка, отсутствие химических реагентов;
малое количество растворителя.
Особенности технологии Morphylane:
- небольшое количество оборудования, все из углеродистой стали;
- простая компоновка оборудования на минимальной площади;
простота эксплуатации (длительная продолжительность работы);
опробовано со всеми типами сырья;
высочайшая чистота и выход ароматики при минимальных затратах;
низкий объем инвестиций и эксплуатационных затрат.
1.4.3 Сульфолановая
экстрактивная ректификация
Бензол
и циклогексан могут быть разделены с помощью экстрактивной дистилляции с
использованием сульфолана в качестве ЭА [29].
Сульфолановая
экстрактивная ректификация (СЭР) является экстрактивной ректификацией с
использованием сложной системы растворителей, который состоит из сульфолана
(как основного растворителя) и сорастворителя. Способ может быть использован
для восстановления высокой чистоты бензола или бензола и толуола от
углеводородных смесей, таких как гидрированный, пиролизный бензин продукта
риформинга или масло каменноугольной смолы.
Обычный
блок СЭР в основном состоит из экстрактивной дистилляционной колонны и колонны
для извлечения растворителя. Углеводородное сырье разделяется на
неароматические углеводороды и ароматические продукты через экстрактивную
ректификацию с растворителем. В случае восстановления бензола, бензол
непосредственно получают из СЭР блока. В случае восстановления бензола и
толуола, чистый бензол и чистый толуол изготавливаются из ароматического
продукта СЭР блока через нижний поток фракционирования [30].
СЭР
процесс использует сульфолан в качестве основного селективного растворителя, в
котором добавлен сорастворитель. Уникальная система растворителей,
оптимизированная схема процесса, надежная и экономичная конструкция оборудования,
передовая и разумная стратегия контроля обеспечения технологии СЭР и имеет
следующие преимущества:
- хорошая гибкость для сырья, включая гидрированный пиролизный бензин
каменноугольной смолы нефти и продукта риформинга;
- высокое качество продукции и высокая степень извлечения;
низкие капитальные вложения и низкие эксплуатационные затраты;
сверхнизкой расход растворителя, примерно на 70% ниже, чем при
использовании иных растворителей.
Чистый
сульфолан часто называют "белой водой", но в промышленности часто
принимает легкий желтый цвет из-за взаимодействия с воздухом [30]. Ухудшение
свойств сульфолана характеризуется изменением цвета, с желтого до
коричнево-черного с увеличением непрозрачности. Чем толще слой осадка, тем
более испорчен сульфолан. Международный союз теоретической и прикладной
химической (МСТПХ) называет его тиолан 1,1-диоксан.
Сульфолан
термически стабилен приблизительно до 220 °C, далее начинает распадаться на
двуокись серы и полимерный материал. Процесс синтеза включает взаимодействие
диоксида серы и бутадиена, чтобы создать 3-сульфолен, а затем его
гидрированием, формулируется сульфолан. Сульфолан хранится и транспортируется с
азотной подушкой. Защитный слой азота предотвращает химическое разложение,
которое возможно в результате воздействия кислорода. Хранить следует его в
диапазоне от 30 °C до 40 °C. Ниже 30 °С сульфолан становится твердым, и выше 40
°С начинают происходить разложение, о чем свидетельствует изменение цвета [30].
Во
время регулярного использования сульфолан не удаляют, потому что растворитель
используют в замкнутом цикле. Однако, с течением времени сульфолан теряется в
небольших количествах в результате неполного восстановления и должен быть
пополнен из свежего бака. Потерянный растворитель находится также в конечных
продуктах процесса очистки и в промышленных сточных водах [31].
Реакция
сульфолана с кислородом создает серные и органические кислоты, а также
альдегиды и кетоны.
Первопричиной
коррозии, связанной с использованием сульфолана является наличие примесей в
растворителе. Для своевременного обнаружения коррозии необходим мониторинг
растворителя и контроль оборудования. Состояние растворителя контролируется
несколькими способами. Присутствие кислорода обычно может быть обусловлено либо
углеводородным сырьем или утечкой в процессе. Наличие хлоридов необходимо
контролировать химически в подаваемом потоке. Концентрация хлорида имеет
тенденцию изменяться с течением времени.
Заключение
В настоящее время, процесс экстрактивной ректификации играет значительную
роль в промышленности. Процесс экстрактивной ректификации выгоднее в отличие от
иных методов разделений с точки зрения экономии энергозатрат, а также для
упрощения технологий процессов.
По литературным данным, самыми популярными растворителями в процессе
экстрактивной ректификации считаются сульфолан, N-метилпирролидон,
N-формилморфолин, и их смеси с сорастворителями.
В процессе разделения смеси бензол-циклогексан в качестве растворителя
используют чаще сульфолан совместно с сорастворителем и фенол.
Список литературы
2 Анохина, Е.А. Энергосбережение в процессах
экстрактивной ректификации / Е.А. Анохина // Вестник МИТХТ, 2013. - Т. 8, № 5.
- С. 3-16.
3 Gutiйrrez, H. Extractive distillation with
ionic liquids as solvents: selection and conceptual process design / H.
Gutiйrrez, P. Juan // A catalogue record is available from the Eindhoven
University of Technology Library, 2013. - С. 2-11.
4 Багатуров, С.А. Основы теории и расчета перегонки и
ректификации / С.А. Багатуров // 3-е Издание - М. : Химия, 1974. - 339 с.
Патент SU 889024 Колонна экстрактивной ректификации / И.П. Слободяник, П.П. Краев,
В.А. Красильников, А. А. Тараканов, В.И. Бутин // Краснодарский политехнический
институт и Тольяттинское, производственное объединение
"Синтезкаучук", 1981. - С. 1-16.
Кутузова, М.А. Технологический расчет
ректификационной колонны / М.А. Кутузова, А.В. Дмитриев, А.Г. Кутузов //
Методические указания к курсовому проектированию. - Казань, КГТУ, 2008. - С. 14
- 76.
7 Extractive Dividing Wall Column: Design and
Optimization / C. Bravo-Bravo, J.G. Segovia-Hernandez, C. Gutierrez-Antonio,
A.L. Duraґn, A. Bonilla-Petriciolet, A. Briones-Ram // Ind. Eng. Chem. Res.,
2010. - С. 3672-3675.
8 Технология получения ароматических углеводородов
[Электронный ресурс] / Разработчик : ООО «Уде» 2012. - Режим доступа :
http://www.uhde.ru/pub/index1.html, свободный.
9 Tututi-Avila, S. Analysis of Multi-Loop
Control Structures of Dividing-Wall Distillation Columns Using a Fundamental
Model / S. Tututi-Avila, A. Jimйnez-Gutiйrrez, J. Hahn // Journal Processes №2.
- 2014. - P.180-193.
10 Раева, В.М. Исследование экстрактивной ректификации
бинарных гетерогенных смесей / В.М. Раева, А.Ю. Себякин // Вестник МИТХТ, 2012.
- т. 7, № 2. - 32 с.
Экспериментальные исследования экстрактивной
ректификации в присутствии ионной жидкости / В.И. Жучков, П.Г. Румянцев, С.А.
Решетов, Т.В. Челюскина, А.К. Фролкова // МИТХТ им. М.В. Ломоносова, Вестник
МИТХТ, 2011. - т. 6, № 3. - 44 с.
Решетов, С.А. Ионные жидкости как разделяющие агенты
/ С.А. Решетов, А.К. Фролкова // Вестник МИТХТ, 2009. - Т. 4, № 3. - 27 с.
13 Tiverios, P.G. Extractive Distillation Solvent
Characterization and Shortcut Design Procedure for Methylcyclohexane-Toluene
Mixtures / P.G. Tiverios, V. Van Brunt Department of Chemical Engineering,
University of South Carolina, Columbia, South Carolina, Ind. Eng. Chem. Res. №39, 2000. - P.1614-1623.
Горшков, В.А. Патент SU 686266 Способ разделения
смесей близкокипящих углеводородов / С.Г. Кузнецов, С.Ю. Павлов, В.А. Беляев,
Н.В. Серова, Г.П.Васильев., Е. А.Малов / 1996. - С. 1 - 6.
Азев, В.С. Химия и технология топлив и масел / В.С.
Азев, В.Е. Емельянов, Ф.В. Туровский // 2004. - №5. - С. 20-24.
Магарил, Е.Р. Экологические свойства моторных топлив
/ Е.Г. Магарил // Тюмень: Изд-во Тюмен. гос. нефтегазового ун-та, 2000. - 171
с.
Мириманян, А.А. Об источниках образования бензола
при ужесточении процесса риформинга / А.А. Мириманян, А.Г. Вихман, И.Б. Марышев
[и др.] // Мир нефтепродуктов. 2006. № 5. С. 26 - 27.
Analysis of Extractive Distillation with
Mathematical Programming / M.E. Abdulfatah, B. Czuczai, E. Rev, Z. Lelkes //
Department of Chemical and Environmental Process Engineering, Budapest
University of Technology and Economics, Budapest, Ind. Eng. Chem. Res., 47, 2008.
- P. 9983 - 9995.
19 Гайле, А.А. Снижение содержания бензола в
автомобильных бензинах методом экстрактивной ректификации / А.А. Гайле,
И.А.Соловых // Санкт-Петербургский государственный технологический институт,
2012. - С. 2-18
Васйсберг А. Перегонка / М.: Издатинлит, 1954. - 302
с.
Балашов, А.Л. Патент RU 2039054 Способ выделения и
очистки 1,3-диоксолана. Чубаров С.М., Авдошин Г.А. Нижегородский технический
университет, 1997. - №1. - С. 1-5.
Патент 976630 Способ очистки изопрена / В.Н.Чуркин,
В.А.Горшков, Н.В. Елифантьева, В.И. Бутин //№2986343/04, 2000. - 3 с.
Патент 2213721 Способ разделения С4-углеводородных
фракций / Н.П. Борейко, В.П. Яфизова, В.В. Репин, В.Г. Романов, Г.С. Гаврилов
// Россия, Опубл. 10.10.2003
Павлов, С.Ю. Выделение и очистка мономеров для
синтетического каучука / С.Ю. Павлов // Л.: Химия. - 1987. - 98 с.
25 COSMO-RS Based Screening Ionic Liquids for
Separation of Benzene and Cyclohexane / G. Gonfa, M.A. Bustam, T. Murugesan, Z.
Man, M.I. Abdul // Mutalib International Journal of Chemical and Environmental
Engineering, 2012. - Vol.3, №4. - P. 244.
26 Критерий выбора потенциальных разделяющих агентов
экстрактивной ректификации / В.М. Раева, А.Ю. Сазонова, А.Ю. Себякин, Д.Ю.
Кудрявцева // МИТХТ Вестник МИТХТ, 2011. - Т. 6. - № 4. - С. 20-25.
Коган, В.Б. Азеотропная и экстрактивная
ректификация: издание 2-ое, перераб. и доп. / В.Б. Коган. - Л. : Изд-во
«Химия», 1971. - 432 с.
Технология получения ароматических углеводородов.
Проспект фирмы Uhde.
29 Control of Benzene−Cyclohexane Separation
System via Extractive Distillation Using Sulfolane as Entrainer / J. Qin, Q.
Ye, X. Xiong, N. Li // Institute of Petrochemical Technology, Changzhou
University, Changzhou 213100, People’s Republic of China Industrial &
Engineering Chemistry Research, 2013. - P. 1-5.
Stewart, O. Sinopec Tech. Sulfolane
Extractive Distillation Technology / O. Stewart // Alaska Department of
Environmental Conservation Project Engineer June 1, 2010. - P. 3-42.
Zaretskii, M.I. Extractive Rectification by
Means of Sulfolane in Chemical Technology: A Review / M.I. Zaretskii, V..
Rusak, E.M. Chartov // Zelinskii Institute of Organic Chemistry, Russian
Academy of Sciences Received, Coke and chemistry, 2011. - №8. - P. 299 - 301.