Эксплуатация технологического оборудования резервуаров РВС-20000 НПС площадки Псекупская ЛПДС Хадыженская

  • Вид работы:
    Курсовая работа (т)
  • Предмет:
    Другое
  • Язык:
    Русский
    ,
    Формат файла:
    MS Word
    286,77 Кб
  • Опубликовано:
    2014-07-13
Вы можете узнать стоимость помощи в написании студенческой работы.
Помощь в написании работы, которую точно примут!

Эксплуатация технологического оборудования резервуаров РВС-20000 НПС площадки Псекупская ЛПДС Хадыженская

Введение

Трубопровод, предназначенный для перекачки нефтей делится на три группы:

внутренние;

местные;

магистральные.

Внутренние нефтепроводы находятся внутри чего-либо: промыслов (внутрипромысловые), нефтебаз (внутрибазовые), нефтеперерабатывающих заводов (внутризаводские). Протяженность их невелика.

Местные нефтепроводы соединяют различные элементы транспортной цепочки: нефтепромысел и головную станцию магистрального нефтепровода, нефтепромысел и пункт налива железнодорожных цистерн, либо судов. Протяженность местных нефтепроводов больше, чем внутренних и достигает нескольких десятков и даже сотен километров.

Кроме того, нефтепровод делят на категории, которые учитываются при расчете толщины стенки, выборе испытательного давления, а также при определении доли монтажных сварных соединений. подлежащих контролю физическими методами.

Магистральный нефтепровод в общем случае, состоит из следующих комплексов сооружений:

подводящие трубопроводы;

головная и промежуточные нефтеперекачивающие станции (НПС);

конечный пункт;

линейные сооружения.

Конечным пунктом магистрального нефтепровода обычно является нефтеперерабатывающий завод или крупная перевалочная нефтебаза.

Собственно трубопровод - основная составляющая магистрального нефтепровода представляет собой трубы, сваренные в ‘нитку’, оснащенные камерами приема и пуска скребков, разделителей, диагностических приборов, а также трубопроводы-отводы.

резервуар нефтеперекачивающий ремонт


1. Назначение нефтеперекачивающей станции (НПС)

Для создания и поддержания в трубопроводе напора, достаточного для обеспечения транспортировки нефти, необходимы нефтеперекачивающие станции. Основное назначение каждой нефтеперекачивающей станции состоит в том, чтобы забрать нефть из сечения трубопровода с низким напором, с помощью насосов увеличить этот напор и затем ввести нефть в сечение трубопровода с высоким напором. Основными элементами НПС являются насосные агрегаты, резервуары, системы подводящих и распределительных трубопроводов, узлы учета, устройства приема и пуска очистных устройств и поточных средств диагностики, а также системы смазки, вентиляции, отопления, энергоснабжения, водоснабжения, автоматики, телемеханики и т.п.

1.1 Основное технологическое оборудование НПС и его размещение

Нефтеперекачивающие (насосные) станции подразделяются на головные (ГНПС) и промежуточные (ПНПС). Головная нефтеперекачивающая предназначается для приема нефти с установок её подготовки на промысле или из других источников и последующей закачки нефти в магистральный нефтепровод. Промежуточные станции обеспечивают поддержание в трубопроводе напора, достаточного для дальнейшей перекачки.

Объекты, входящие в состав ГНПС и ПНПС, можно условно подразделить на две группы:

объекты основного (технологического) назначения;

объекты вспомогательного и подсобно-хозяйственного назначения.

К объектам первой группы относятся: резервуарный парк; подпорная насосная; узел учёта нефти с фильтрами; магистральная насосная; узел урегулирования давления и узлы с предохранительными устройствами; камеры пуска и приёма очистных устройств; технологические трубопроводы с запорной арматурой.

К объектам второй группы относятся: понижающая электроподстанция с распределительными устройствами; комплекс сооружений, обеспечивающих водоснабжение станции; комплекс сооружений по отводу промышленных и бытовых стоков; котельная с тепловыми сетями; инженерно-лабораторный корпус; пожарное депо; узел связи; механические мастерские; мастерские ремонта и накладки контрольно-измерительных приборов (КИП); гараж; складские помещения; административно-хозяйственный блок и т.д.

Головная нефтеперекачивающая станция - комплекс сооружений, расположенный в начале магистрального нефтепровода или его отдельного эксплуатационного участка и предназначенный для накопления и перекачки по трубопроводу нефти и нефтепродуктов.

В состав головной нефтеперекачивающей станции входят: насосные станции (основная и подпорная), резервуарный парк, сеть технологических трубопроводов, электроподстанция, котельная, объекты водоснабжения и канализации, подсобные и административные здания, культурно-бытовые объекты и др. Насосные станции оборудуют центробежными насосами с подачей до 12500 м3/ч. Количество насосов на основной станции от 3 до 4, один из них резервный. Соединение насосов, как правило, последовательное. В качестве привода преимущественно применяются электродвигатели мощностью до 8000 кВт. Насосы подпорной станции создают дополнительное давление на входе основных насосов, необходимое для их бескавитационной работы. Резервуарный парк головной нефтеперекачивающей станции включает металлические и железобетонные резервуары с единичным объёмом 50 000 м3. Вместимость парка зависит от объёма перекачки, а при последовательном её характере от числа циклов. Технологические трубопроводы головной нефтеперекачивающей станции оборудуются переключающими, предохранительными и регулирующими устройствами, обеспечивающими приём нефти и нефтепродуктов, очистку их от механических примесей, замер и учёт их количества, защиту трубопроводов и резервуарного парка от повышения давления, регулирование давления на выходе станции, периодический запуск специальных устройств для очистки внутренней полости трубопровода. Схема технологических трубопроводов обеспечивает работу насосов в любых сочетаниях, а также возможность прямой, обратной и внутристанционной перекачки.

Головная нефтеперекачивающая станция при последовательной перекачке нефтепродуктов оборудуется специальной лабораторией по контролю качества нефтепродуктов и приборами для быстрого и точного определения концентрации одного нефтепродукта в другом. Головная нефтеперекачивающая станция трубопровода, по которому перекачивают подогретые нефти, снабжается подогревательными устройствами (печами, теплообменниками). При сооружении магистральных трубопроводов применяются блочно-комплектные насосные станции, включающие набор отдельных блоков технологического, энергетического и вспомогательно-функционального назначения, а также общее укрытие для магистральных насосных агрегатов с узлами обвязки их трубопроводами и другими коммуникациями. Технологическое оборудование, аппаратура, контрольно-измерительные приборы размещаются в блок-боксах, монтажных блоках и блок-контейнерах, которые изготовляют и собирают в заводских условиях, а затем в готовом виде транспортируют к месту строительства.

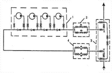
На головных нефтеперекачивающих станциях осуществляются следующие технологические операции: приём и учёт нефти; краткосрочное хранение нефти в резервуарах; внутристанционные перекачки нефти (из резервуара в резервуар); закачка нефти в магистральный трубопровод; пуск в трубопровод очистных и диагностических устройств. На ГНПС может производиться подкачка нефти из других источников поступления, например, из других нефтепроводов или попутных нефтепромыслов. Технологическая схема представлена на рисунке 1.

- подпорная насосная;

- площадка фильтров и счетчиков;

- основная насосная;

- площадка регуляторов;

- площадка пуска скребков; 6 резервуарный парк.

Рисунок 1 Технологическая схема ГНПС.

Промежуточные НПС служат для восполнения энергии, затраченной потоком на преодоление сил трения, с целью обеспечения дальнейшей перекачка нефти. Промежуточные НПС размешают по трассе трубопровода согласно гидравлическому расчету на расстоянии от 50 до 200 км.

На промежуточных нефтеперекачивающих станциях происходит повышение напора транспортируемой нефти с целью обеспечения её дальнейшей перекачки. При работе ПНПС «из насоса в насос» (т.е. режиме, при котором конец предыдущего участка нефтепровода подключен непосредственно к линии всасывания насосов следующей НПС) промежуточные НПС не имеют резервуарных парков; в других случаях, когда перекачка ведется через резервуары или с подключенными резервуарами такие парки на ПНПС имеются. На ПНПС устанавливаются также системы сглаживания волн давления и защиты от гидравлических ударов.

Принципиальная технологическая схема промежуточной НПС приведена на рисунке 2.

- основная насосная;

- площадку регуляторов давления;

- площадка приема и пуска скребка;

- площадка с фильтрами-грязеуловителями

Рисунок 2 Технологическая схема ПНПС

Нефть, поступающая из магистрального трубопровода, сначала проходит через фильтры грязеуловители, затем приобретает в насосах энергию, необходимую для дальнейшей перекачки, и после регулирования давления на площадке 2 закачивается в следующий участок магистрального нефтепровода.

Кроме технологических сооружении на головной и промежуточных НПС имеются механическая мастерская, понизительная электроподстанция, котельная, объекты водоснабжения и водоотведения, подсобные и административные помещения и т.д.

Как правило, магистральные нефтепроводы разбивают на так называемые эксплуатационные участки с протяженностью от 400 до 600 км, состоящие из 3 и 5 участков, разделенных ПНПС, работающих в режиме «из насоса в насос», и, следовательно, гидравлически связанных друг с другом.

1.2 Техническая характеристика резервуара и резервуарных парков

Различают 4 основных типа резервуаров вертикальных стальных:

РВС - резервуар вертикальный стальной со стационарной крышей без понтона.

РВСП - резервуар вертикальный стальной со стационарной крышей и понтоном

РВСПк - резервуар вертикальный стальной с плавающей крышей.

Резервуары с защитной стенкой («стакан в стакане»).

РВС - резервуар вертикальный стальной со стационарной крышей без понтона.

Используются для хранения продуктов с относительно низкой летучестью (с давление насыщенных паров не более 26,6 кПа), и температурой воспламенения более 61 0С. Наиболее часто в таких резервуарах складируют мазут, дизельное топливо, бытовой керосин, битум, гудрон, масла (в том числе пищевые) и воду. Также резервуары вертикальные стальные со стационарной крышей без понтона могут применяться для хранения более летучих (с ДНП до 93,3 кПа) и легко воспламеняемых продуктов. В таких случаях резервуар оборудуется газовой обвязкой или установкой улавливания легких фракций.

РВСП - резервуар вертикальный стальной со стационарной крышей и понтоном

Используются для хранения продуктов с давлением насыщенных паров в пределах от 26,6 до 93,3 кПа и температурой воспламенения менее 61 0С. Наиболее часто в них складируются нефти, бензины, керосины, реактивное топливо. Понтон представляет собой жесткое газонепроницаемое плавающее покрытие в форме диска, помещаемое на зеркало продукта внутри резервуара так, чтобы было закрыто не менее 90% его площади. Кольцевой зазор между понтоном и стенкой резервуара герметизируется специальным уплотняющим затвором. Понтон служит для снижения скорости насыщения газовоздушного пространства резервуара парами хранимого продукта.

РВСПк - резервуар вертикальный стальной с плавающей крышей.

Данная конструкция резервуара предполагает использование кровли, располагаемой на поверхности хранимого продукта с полным контактом. Плавучесть кровли достигается за счет применения герметичных отсеков или коробов. В опорожненном резервуаре крыша располагается на специальных опорах, смонтированных на днище. Исключение вращения плавающей крыши достигается использованием направляющих труб. Недостаток плавающей крыши - возможность загрязнения хранимого продукта вследствие осадков. Также бывают случаи примерзание уплотняющего затвора крыши к стенке резервуара. Преимущества такой конструкции кровли в снижении потерь продукта от испарения.

Резервуары с защитной стенкой («стакан в стакане»).

Резервуары такой конструкции используются на производственных площадках, где нет возможности устройства обваловки резервуарного парка. Также резервуары с защитной стенкой строятся вблизи водоемов и жилых поселений для обеспечения безопасности окружающей среды и населения. Защитная стенка монтируется с целью исключить разлив продукта при разгерметизации рабочего резервуара.

Изотермические резервуары используются для хранения различных нефтепродуктов при постоянной пониженной или отрицательной температуре, проектирование и сооружение которых является новым направлением в резервуаростроении. Разработаны различные типы конструкций для хранения нефтепродуктов при температуре выше 196°С.

Наиболее распространены двухслойные конструкции изотермических резервуаров с зазорами между стенками, крышками и днищами.

Величины зазоров определяют технологические институты и выдают в техническом задании (ТЗ) на проектирование. Задания включают исходные данные для проектирования резервуаров: объем; название и температуру хранимого сжиженного газa, марки сталей для внутреннего и наружного резервуаров; величину избыточного и гидростатического давления; район строительства; величину снеговой и ветровой нагрузок; сейсмичность района строительства; наименование теплоизоляционных материалов, сварочные материалы для сварки сталей специальных марок и другие данные.

Если температура хранения не ниже минус 65°С, то при проектировании резервуаров применяются строительные стали. При более низких температурах должны применять стали специальных марок: никельсодержащие; нержавеющие стали; алюминиевые сплавы.

Проектирование и сооружение изотермических резервуаров во многом аналогично проектированию и сооружению вертикальных цилиндрических резервуаров низкого и повышенного давления. Также аналогичны методики инженерных расчетов, что дает возможность использовать многолетний опыт их проектирования. Новым, с чем столкнулись при проектировании и расчете несущих элементов изотермических резервуаров, явились нагрузки от теплоизоляционных материалов. При расчете стенки пустого внутреннего резервуара на устойчивость - собственный вес изоляции, находящейся между крышами и вызывающей осевое сжатие стенки. Изоляция, находящаяся в межстенном пространстве, вызывает боковое давление на стенки внутреннего и наружного резервуаров. Кроме того, за счет трения о стенки она вызывает также вертикальное усилие.

Резервуарные парки обеспечивают равномерную загрузку магистральных трубопроводов, компенсацию пиковых и сезонных неравномерностей потребления нефти, нефтепродуктов и воды промышленными районами и городами, накопление запасов аварийного и стратегического резерва, для технологических операций по смешению, подогреву и доведению продуктов до определённой кондиции и могут использоваться при товарно-коммерческих операциях для замеров количества продуктов.

Резервуарные парки обеспечивают повышение надёжности систем нефтеснабжения народного хозяйства в целом. Резервуарные парки могут входить в состав нефтепромыслов, нефтебаз, головных и промежуточных (с ёмкостью) перекачивающих станций магистральных нефтепроводов, нефтепродуктопроводов и водоводов, нефтеперерабатывающих предприятий, нефтехимических комплексов, а также являться самостоятельным предприятием.

По способу размещения резервуаров различают резервуарные парки надземные, наземные, полуподземные, подземные и подводные. Надземные и наземные резервуарные парки оборудуются в основном стальными вертикальными цилиндрическими нефтяными резервуарами со стационарной или плавающей крышей, понтонами или резервуарами специальных конструкций (каплевидных, сферических и др.); полуподземные железобетонными резервуарами с облицовкой внутри стальным листом или без неё.

Подземные резервуарные парки позволяют создать значительные запасы продуктов при небольших площадях по сравнению с наземными или полуподземными. Подземные резервуарные парки сооружаются обычно в отложениях каменной соли или в твёрдых осадочных породах.

Подводные резервуарные парки могут сооружаться в бетонных фундаментах морских буровых платформ, состоять из подводных резервуаров или танкеров, используемых в качестве резервуарных парков.

Подземные и подводные резервуарные парки безопасны в пожарном отношении и исключают потери продуктов от испарения.

Общая тенденция при строительстве и эксплуатации резервуарных парков повышение безопасности и сокращение потерь продуктов при минимальной их стоимости.

Характеристика резервуарного парка и его молниезащиты по проекту. Резервуарный парк сырой нефти состоит из четырех наземных металлических резервуаров типа РВС-20.000. Резервуары имеют дыхательные и предохранительные клапаны. Наибольшая высота резервуара Н = 12,9 м, а высота дыхательных клапанов равна 2 м. Молниезащита парка осуществлена четырьмя отдельно стоящими молниеотводами типа СМ-35. Заземли-тели защиты от прямых ударов молнии состоят из трех вертикальных электродов Ф 12 мм длиной 1= 5,0 м, соединенных друг с другом полосовой сталью сечением 40x4 мм. Заземлители заглублены на 0,8 м. Места расположения молниеотводов находятся за пределами их обвалования.

Резервуарные парки обеспечивают равномерную загрузку магистральных трубопроводов, компенсацию пиковых и сезонных неравномерностей потребления нефти, нефтепродуктов и воды промышленными районами и городами, накопление запасов аварийного и стратегического резерва, для технологических операций по смешению, подогреву и доведению продуктов до определённой кондиции и могут использоваться при товарно-коммерческих операциях для замеров количества продуктов.

Резервуарные парки обеспечивают повышение надёжности систем нефтеснабжения народного хозяйства в целом. Резервуарные парки могут входить в состав нефтепромыслов, нефтебаз, головных и промежуточных (с ёмкостью) перекачивающих станций магистральных нефтепроводов, нефтепродуктопроводов и водоводов, нефтеперерабатывающих предприятий, нефтехимических комплексов, а также являться самостоятельным предприятием.


2. Технологический расчет магистрального насоса

Данные для технологического расчета магистрального нефтепровода приведены в таблице 1.

Таблица 1- Исходные данные для технологического расчета МНП

tп.н,°C

сст = с20, кг/м3

мст = м20, мПа∙с

Gг, млн т/год

L, км

∆Z, м

Число НПС

0,5

775

105

8,0

1000

2

1000

<nнс


Расчет основного магистрального насоса

В соответствии с заданной пропускной способностью МНП Gг, млн т/год выберем его ориентировочные параметры по таблице 4.1 методического указания.

Таблица 2 - Ориентировочные параметры МНП

Пропускная способность (грузопоток) Gг, млн т/год

Диаметр наружный Dн, мм

Допустимое дав-ление Рдоп, МПа

8,0

630

6,2


Определим расчетную толщину стенки трубопровода д (с округлением до номинальной толщины стенки в большую сторону), мм по формуле:

    (1)

где Ку.р - коэффициент условий работы трубопровода;

Кн - коэффициент надежности, учитывающий внутреннее давление Р;

Кн.м.1 - коэффициент надежности по материалу;

Кн.р-коэффициент надежности по внутреннему рабочему(допустимому) давлению в трубопроводе;

Рдоп - допустимое давление в трубопроводе, МПа;

Dн - наружный диаметр трубопровода, мм;

[sр] - расчетное (допустимое) сопротивление стали на разрыв, МПа.

Принимаем для расчета Ку.р. = 0,9 для III категории трубопровода;

Кн.м1 = 1,4;

Кн = 1

Расчётное (допустимое) сопротивление стали на разрыв s, МПа по формуле:

,    (2)

где Ку.р - коэффициент условий работы трубопровода;

Кн - коэффициент надежности, учитывающий внутреннее давление Р;

Кн.м.1 - коэффициент надежности по материалу;

Принимаем д = 6,9 м.

Определим внутренний диаметр трубопровода dвн, мм по формуле:вн = Dн - 2 ∙ д (3)вн = 630-2×6,9 = 616,2 мм

Температурная поправка на плотность нефти  принимается из таблицы 4.4 методического указания.

Таблица 3 - Температурная поправка на плотность нефти

Плотность

Температурная поправка

775

0,805




Определим плотность перекачиваемой нефти, кг/м3

(4)

где rст - плотность перекачиваемой нефти, кг/м3;

g-средняя температурная поправка к плотности, [кг/(м3∙°С];

tп.н-средневзвешенная температура перекачиваемой по МНП нефти, °С;

tст - нормальная температура, °С.

= 775-0,805 (0,5-20)=790,7 кг/м3

Определим расчетный часовой Qч, м3/ч и секундный Qc, м3/ч расходы нефти по формуле:


где Qч - часовой расход нефти, м3/ч;

Gr - плановое задание на перекачку или грузопоток в нефтепроводе, млн т/год;

Кп-коэффициент, учитывающий возможность перераспределения потоков в процессе эксплуатации нефтепровода (принимаем Кп = 1,07 - для однотрубных (однониточных) нефтепроводов);

Nr - число рабочих дней трубопровода в году;

rt-плотность перекачиваемой нефти, кг/м3


Qc = Qч/3600                                                                                  (6)


Qс=1274,2/3600= 0,35 м3

Нормативная годовая продолжительность (в сутках) работы МНП определяется по таблице 4.5 методического указания

Таблица 4 - Нормативная годовая продолжительность (в сутках) работы МНП

Протяженность L, км

Диаметр нефтепровода DH, мм


до 820 (включительно)

свыше 820

500 < L £ 700

354 (352)

351 (349)


Определим скорость перекачки V, м/с по формуле:

       (7)

где Qс - секундный расход нефти, м3/ч;

Sпрох - площадь проходного сечения трубопровода, мм2;

dвн - внутренний диаметр трубопровода, мм

В соответствии с расчётной часовой пропускной способностью Qч, м3/ч выберем марку основного магистрального насоса (НМ) по приложению 2 методического указания.


Таблица 5 - Технические характеристики насосов серии НМ

Типоразмернасоса

Номинальный режим на воде

Число ступеней (рабочих колёс), nк


Подача QO.H, м3

Напор НО.Н, м

Частота вращения, n, об/мин

Допуст. кавитац. Запас ∆hдопН, м

КПД з ОН, %

Мощость привода (эл/двиг.) NО.Н, кВт


Насосы спиральные одноступенчатые с двухсторонним подводом жидкости к рабочему колесу nвс = 2

НМ 2500-230*с ротором1,0Qо.н - 0,7 Qо.н - 0,5 Qо.н - 1,25 Qо.н

 2500 1750 1250 3125

 230 ** ** **

 3000  

 32 30 - 38

 86  

 2000 2000 2000 2500

 1  


Рассчитаем подачу насоса в оптимальном режиме, м3/ч по формуле:

(8)

Где С, С-коэффициенты, определяемые по приложению 3 методического указания

-7,11∙10 -4 / (2∙(-15,63∙10 -8))= 2274,5 м3/ч,

При которой максимальный к.п.д. на воде равен:

 (9)

Где С, С, С-коэффициенты, определяемые по таблице методического указания

6,86 ∙ 102 + 7,11 ∙10-4 ∙ 2274,5 + (-15,63 ∙ 10-8) ∙2274,52 = 683,6

Определим границы рабочей области , м3/ч и  м3/ч по формуле:

 (10)

 (11)

Где Qл - левая граница рабочей зоны насоса;

Qп - правая граница рабочей зоны насоса

Qл= 0,8∙2274,5= 1819,6 м3/ч;

Qп=1,2∙2274,5= 2729,4 м3

Определим аналитическую зависимость напора, развиваемого насосом от его подачи по двум точкам (Q1, H1) и (Q2, H2):

, (12)

где Q1= Qл и Q2= Qп;

hм.в и bм.в-коэффициенты, которые рассчитываются на основании системы двух уравнений с двумя неизвестными:

 

откуда  (13)

 289 - 0.0000097×909.8 2 = 281 м

Напор, развиваемый насосом на воде в оптимальном режиме, м определяется по формуле:

(14)


289-0,0000097∙2274,5 2 = 238,8 м


Где F(Qо.н)=hм.в - bм.вQ2о.н

F(Qо.н)= 289-0,0000097∙25002 =228,4

Тогда напор, развиваемый насосом на воде в оптимальном режиме будет равен:



. Техническое обслуживание и ремонт вертикального стального резервуара

Техническое обслуживание резервуаров и резервуарного оборудования должно проводиться на основании инструкций заводов-изготовителей, настоящих Правил и результатов осмотров, с учетом условий эксплуатации. Технический надзор за эксплуатацией резервуара возлагается на квалифицированного работника и выполняется на основе осмотра основного оборудования

График осмотра утверждается главным инженером предприятия. Результаты осмотра вносятся в журнал осмотра основного оборудования и арматуры. Осмотр резервуаров и оборудования проводится старшим по смене при вступлении на дежурство. Об обнаруженных дефектах следует сообщить руководству предприятия, принять меры к устранению неисправностей и занести соответствующие сведения в журнал.

Осадка основания каждого резервуара систематически контролируется. Первые четыре года при эксплуатации резервуаров (до стабилизации осадки) необходимо проводить нивелирование в абсолютных отметках окрайков днища или верха нижнего пояса не менее чем в восьми точках, не реже, чем через 6 месяцев. В последующие годы после стабилизации осадки следует систематически (не реже одного раза в пять лет) проводить контрольное нивелирование основания.

В процессе текущего обслуживания резервуара и его оборудования необходимо проверять герметичность разъемных соединений, а также мест присоединения арматуры к корпусу резервуара. При обнаружении течи необходимо подтянуть болтовые соединения, исправить сальниковые уплотнения и заменить прокладки.

При осмотре резервуарного оборудования необходимо:

следить за исправным состоянием измерительного люка, его шарнира и прокладочных колец, исправностью резьбы гайки-барашка, направляющей планки, плотностью прилегания крышки;

обеспечивать эксплуатацию дыхательных клапанов и огневых предохранителей в соответствии с техничской документацией и инструкциями предприятий изготовителей;

проверять качество и проектный уровень масла в предохранительном (гидравлическом) клапане, поддерживать горизонтальность колпака, содержать в чистоте сетчатую перегородку. В зимнее время очищать внутреннюю поверхность колпака от инея и льда с промывкой в теплом масле. В мембранных клапанах следить за состоянием мембраны, чистотой соединений, каналов, уровней рабочей жидкости в блок-манометре;

следить за горизонтальностью положения диска-отражателя, прочностью его подвески;

следить за правильностью положения герметизирующей крышки в пеногенераторах ГВПС-2000, ГВПС-600, ГВПС-200 (прижим крышки должен быть равномерным и плотным), за целостностью сетки кассет, следить нет ли внешних повреждений, коррозии на проволоке сетки. В случае обнаружения признаков коррозии кассета подлежит замене;

проводить контрольную проверку правильности показаний приборов измерения уровня и других средств измерения в соответствии с инструкцией завода-изготовителя;

проверять исправность ручного насоса и клапанов воздушной и гидравлической систем в пробоотборнике стационарного типа, следить нет ли на наружной части узла слива пробы следов коррозии, грязи и т.п.; следить за плотным закрытием крышки пробоотборника;

проверять правильность действия хлопушки или подъемной (шарнирной) трубы в приемо-раздаточных патрубках (подъем должен быть легким и плавным); следить за исправным состоянием троса и креплением его к лебедке; следить за герметичностью сварных швов приварки укрепляющего кольца и фланца, патрубков, а также плотностью фланцевых соединений;

проверять наличие надежного утепления резервуарных задвижек в зимнее время и, в необходимых случаях, во избежание их замерзания, спускать из корпуса задвижки скопившуюся воду, выявлять наличие свищей и трещин на корпусе задвижек, течей через фланцевые соединения; обеспечивать плотное закрытие плашек клинкета), свободное движение маховика по шпинделю, своевременную набивку сальников; - проверять нет ли течи в сальниках сифонного крана (поворот крана должен быть плавным, без заеданий); следить, чтобы в нерабочем состоянии приемный отвод находился в горизонтальном положении, а спускной кран был закрыт кожухом на запоре;

следить за состоянием окрайков днища и уторного сварного шва (нет ли трещин, свищей, прокорродированных участков), отклонения наружного контура окраек по высоте не должны превышать величин в соответствии с «Инструкцией по ремонту резервуаров»;

следить за состоянием сварных швов резервуара (нет ли отпотеваний, течи, трещин в основном металле и сварных швах);

следить за состоянием люка-лаза (фланцевого соединения, прокладки, сварных соединений);

следить за исправностью автоматизированных средств измерения уровня, объема, массы нефтепродуктов в соответствии с инструкциями заводов-изготовителей;

следить за наличием и исправностью устройств молниезащиты;

следить за состоянием отмостки (нет ли просадки, растительного покрова, глубоких трещин), должен быть отвод ливневых вод по лотку;

следить за наружным и внутренним состоянием трассы канализационной сети резервуарного парка, ливневых и специальных колодцев (нет ли повреждений кладки стен, местах входа и выхода труб, хлопушки, тросе хлопушки, не переполнены ли трубы, не завалены ли грунтом или снегом), следить за состоянием крышек колодцев.

Для обеспечения нормальной работы дыхательных клапанов в зимний период необходимо регулярно очищать их от инея, не допуская уменьшения зазора между тарелкой и стенкой корпуса клапана, что может препятствовать нормальному подъему тарелок клапана и уменьшать их пропускную способность. Сроки между осмотрами устанавливаются в зависимости от минимальной температуры окружающего воздуха и условий эксплуатации.

3.1 Приемка резервуаров в эксплуатацию. Организация технического обслуживания и ремонта

Приемку резервуара после сооружения, монтажа технологического оборудования, подводящих трубопроводов осуществляет рабочая комиссия, в состав которой входят представители заказчика, генерального подрядчика, субподрядных организаций, генерального проектировщика, органов государственного санэпиднадзора, органов государственного пожарного надзора, службы охраны окружающей среды, Госгортехнадзора, технической инспекции труда, профсоюзной организации заказчика или эксплуатационной организации, других заинтересованных органов надзора.

До начала испытаний резервуаров РВС генеральный подрядчик должен предъявить заказчику всю техническую документацию на резервуар и прочие документы, удостоверяющие качество металла и сварочных материалов; сертификаты, содержащие данные о сварочных работах и результаты проверки качества сварных соединений; акты на скрытые работы по подготовке основания и устройству изолирующего слоя; результаты контроля сварных соединений смонтированного резервуара, предусмотренного СНиП 3.03.01.

Для резервуаров, покрытых с внутренней стороны защитным антикоррозионным покрытием, должны быть представлены технические характеристики нанесенного материала покрытия, карта-схема покрытия и результаты испытаний на адгезию.

.3 Испытания конструкции резервуара должны быть проведены в соответствии с требованиями

СНиП 3.03.01 и ВСН 311 «Монтаж стальных вертикальных цилиндрических резервуаров для хранения нефти и нефтепродуктов от 100 до 50000 м3».

До начала испытаний резервуаров ЖБР генеральный подрядчик (строительно-монтажная организация) представляет заказчику документацию в соответствии со СНиП 3.01.04 и СниП 3.03.01: сертификаты, технические паспорта на качество бетона, класс арматуры, железобетонных элементов конструкций; результаты контроля качества антикоррозионных покрытий сварных соединений, закладных и соединительных деталей; акты на скрытые работы при устройстве грунтового основания с отражением сведений о сохранении естественной плотности грунта и об устройстве водоотвода, бетонной подготовки, слоя скольжения, гидроизоляции днища, днища и фундамента стен с указанием об отсутствии дефектов (трещин, раковин, обнаженной арматуры и т.п.); акты на скрытые работы при монтаже сборных элементов, замоноличивании стыков между железобетонными элементами, навивке кольцевой арматуры, торкретных работах; акты на монтаж и испытания технологического оборудования.

При пропитке или покраске готовой конструкции защитными составами или нанесении облицовочных покрытий заказчику должны быть представлены технические характеристики нанесенного материала покрытия, карта-схема покрытия.

Дефекты, встречающиеся в элементах конструкции резервуаров, условно можно разделить на шесть групп:

металлургические - появившиеся при изготовлении проката (закаты, расслоения, неравномерное легирование, задиры, микротрещины, нарушение геометрии проката и т.п.);

проектные - появившиеся из-за несовершенств проекта;

заводские - появившиеся на этапе изготовления рулонных или иных заготовок (дефекты сварки и сборки);

транспортные - появившиеся в процессе транспортировки заготовок до монтажной площадки (вмятины, смятие части рулона, вырывы, задиры, гофры и т.п.);

монтажные - появившиеся в процессе монтажа резервуара (дефекты сварки и монтажа металлоконструкций, дефекты оснований и фундаментов, неубранные остатки монтажных приспособлений, угловатость монтажных швов и т.п.);

эксплуатационные - появившиеся в процессе эксплуатации резервуара (осадка, потеря устойчивости, коррозия, хлопуны и т.п.).

Методы ремонта должны выбираться в зависимости от видов дефектов и их геометрических характеристик по результатам полного диагностирования резервуара и расчетов экономической целесообразности.

При капитальном ремонте выполнение отдельных видов работ (при их необходимости) должно осуществляться в следующей последовательности:

подготовительные работы;

техническое диагностирование;

разработка и согласование проекта ремонта;

разработка и согласование проекта производства работ;

выполнение ремонтных работ:

а) устранение дефектов, не требующих замены элементов конструкции;

б) установка дополнительных элементов жесткости;

в) замена элементов конструкции с недопустимыми дефектами;

г) исправление геометрического положения;

устройство антикоррозийной защиты;

контроль качества выполнения ремонтных работ;

гидравлические испытания на прочность, устойчивость и герметичность,

оформление документации и приемка в эксплуатацию.

При выполнении ремонтных работ следует руководствоваться требованиями проекта ремонта, прошедшего экспертизу органов Госгортехнадзора РФ, и требованиями нормативных документов, указанных в проекте.

Работы по ремонту резервуаров проводятся с соблюдением действующих правил охраны труда и пожарной безопасности. При проведении огневых работ перед их началом оформляется наряд-допуск, который предусматривает весь объем работ в течение указанного в нем срока.

В проекте ремонта должна быть разработана технология ремонта с обоснованием принятых технических решений и стройгенплан объекта, на котором должны быть нанесены все временные сооружения, проезды для техники, коммуникации, линии подвода электроэнергии, телемеханики, канализации и водопровода, площадки укрупненной сборки металлоконструкций, стоянки с указанием порядка перемещения строительной техники, места установки средств пожаротушения и предупредительных знаков.

Контроль качества ремонтных работ осуществляется заказчиком или независимой организацией имеющей лицензию, не зависимо от выполнения контроля качества силами монтажной организации. Авторский надзор выполняется организацией, разработавшей проект ремонта данного резервуара.

Гидравлические испытания на прочность и герметичность следует проводить после выполнения капитального ремонта (за исключением случаев, когда при ремонте не производилась замена металлоконструкций, а срок эксплуатации резервуара не превышает 20 лет).

Для ремонта и замены дефектных участков стенки, окраек днища, несущих конструкций покрытия и колец жесткости, кровли резервуаров, понтонов и плавающих крыш резервуаров, эксплуатируемых в районах с различной расчетной температурой наружного воздуха, в зависимости от объема резервуаров рекомендуется применять марки сталей в соответствии с проектной документацией на резервуар.

Качество и марки сталей, применяемых при ремонтах резервуаров, должны отвечать требованиям соответствующих стандартов или технических условий и подтверждаться сертификатами заводов-поставщиков.

В понтонах, плавающих крышах, затворах и резервуарном оборудовании допускается применять синтетические, резинотехнические и другие полимерные материалы, которые должны отвечать специальным техническим требованиям для каждого конкретного вида изделия. Эти материалы должны также удовлетворять требованиям правил охраны труда и пожарной безопасности.

3.2 Системы защиты резервуаров и их обслуживание

Резервуарные парки или отдельно стоящие резервуары для товарной нефти (далее резервуары) должны быть защищены от прямых ударов молнии, электростатической и электромагнитной индукции, заноса высоких потенциалов устройствами молниезащиты, выполненными в соответствии с требованиями действующей НТД.

Устройства молниезащиты должны быть приняты и введены в эксплуатацию до начала заполнения резервуара нефтью. При этом оформляется и передается заказчику исполнительная документация.

Для резервуарных парков при общей вместимости группы резервуаров более 100 тыс. м3 защиту от прямых ударов молнии следует, как правило, выполнять отдельно стоящими молниеотводами.

На резервуарах РВСП и РВСПК для защиты от электростатической индукции необходимо устанавливать не менее двух гибких стальных перемычек между плавающей крышей или понтоном и корпусом резервуара.

Защита от заноса высокого потенциала по подземным и наземным металлическим коммуникациям осуществляется присоединением их на вводе в резервуар к заземлителям. Ввод линий электропередачи, сетей сигнализации должен осуществляться только кабелями длиной не менее 50 м с металлической броней или оболочкой или кабелями, проложенными в металлических трубах и коробах.

Стержневые молниеприемники должны быть изготовлены из стали любой марки сечением не менее 100 мм2 и длиной не менее 200 мм и защищены от коррозии оцинкованием, лужением или окраской. Тросовые молниеприемники должны быть выполнены из стальных многопроволочных канатов сечением не менее 35 мм2.

Соединения молниеприемников с токоотводами и токоотводов с заземлителями должны выполняться сваркой или болтовыми соединениями с переходным сопротивлением не более 0,05 Ом.

При наличии стержневых и тросовых молниеотводов каждый токоотвод присоединяется к искусственному заземлителю, состоящему из 3-х и более вертикальных электродов длиной не менее 3 м, объединенных горизонтальным электродом, при расстоянии между вертикальными электродами не менее 5 м. Токоотводы и заземлители выбираются в соответствии с требованиями действующей НТД.

При эксплуатации устройств молниезащиты должен осуществляться систематический контроль за их техническим состоянием. В график планово - предупредительных работ должно входить техническое обслуживание этих устройств. В случае выявления механических повреждений и износа устройств молниезащиты следует производить текущий или капитальный ремонт. Проверка состояния устройств молниезащиты должна проводиться 1 раз в год перед началом грозового сезона. Проверке подлежат целостность и защищенность от коррозии доступных обзору частей молниеприемников и токоотводов и контактов между ними, а также значение сопротивления току промышленной частоты заземлителей отдельно стоящих молниеотводов. Это значение не должно превышать результаты соответствующих замеров на стадии приемки более чем в пять раз. При превышении сопротивления заземлений более чем в пять раз по сравнению с замерами в период приемки заземление подлежит ревизии (и ремонту, при необходимости).

Цель ревизии заключается в следующем:

выявить элементы, требующие замены или усиления из-за механических повреждений;

проверить надежность электрической связи между токоведущими элементами (мест сварки и болтовых соединений);

определить степень разрушения коррозией отдельных элементов молниезащиты и принять меры по восстановлению антикоррозионной защиты и усилению элементов, поврежденных коррозией.

На основании ревизий определяется необходимый объем ремонтных работ по системе молниезащиты, которые должны быть закончены к началу грозового периода года. Мелкие текущие ремонты устройств молниезащиты можно проводить во время грозового периода года, капитальные ремонты - только в негрозовой период.

Результаты ревизий молниезащитных устройств, проверочных испытаний заземляющих устройств, проведенных ремонтов необходимо заносить в журнал эксплуатации молниезащиты и устройств защиты от статического электричества.

Лица, проводящие ревизию молниезащиты, должны составлять акт осмотра и проверки с указанием обнаруженных дефектов. Ответственность за исправное состояние молниезащиты несет служба главного энергетика

3.3 Техническое диагностирование резервуаров

Под техническим диагностированием понимается комплекс работ, включающих подготовку, натурное обследование элементов конструкции, оценку технического состояния и составление технического заключения о возможности дальнейшей эксплуатации резервуара. Целью диагностирования является своевременное выявление дефектов, снижающих эксплуатационную надежность резервуара.

Система технического диагностирования включает в себя два уровня проведения работ:

частичное техническое обследование резервуара с наружной стороны без выведения его из эксплуатации;

полное техническое обследование, требующее выведения резервуара из эксплуатации, его опорожнения, зачистки и дегазации.

Предельно допустимые отклонения образующих стенки от вертикали, наружного контура днища от горизонтали, допустимые стрелы прогиба выпучин или вмятин поверхности стенок, высота хлопунов, допустимые значения угловых деформаций сварных соединений стенки резервуара, допустимые отклонения геометрических размеров понтона (плавающей крыши.

Данные технического обследования резервуара и его элементов служат основанием для разработки проекта ремонта и заключения о возможностиего дальнейшей эксплуатации.

Отбраковка отдельных элементов резервуара (стенки, кровли, днища, ферм, связей, балок) или всего резервуара проводится на основании детального рассмотрения результатов технического обследования, полной дефектоскопии с учетом всех факторов, снижающих его надежность при эксплуатации.

Все полученные при техническом обследовании и дефектоскопии данные, характеризующие состояние основного металла, сварных швов, деформацию, коррозию, геометрическое положение и т.п., должны быть сравнены с допустимыми значениями, указанными в проекте, действующих нормативных документах. Недопустимые дефекты должны быть занесены в ведомость дефектов с указанием всех геометрических и др. параметров, необходимых для разработки проекта ремонта.

Основание при решении вопроса о полной отбраковке резервуаров неудовлетворительное качество металла как по механическим свойствам, так и по химическому составу, недопустимое поражение элементов конструкций РВС коррозией, недопустимый монтажный брак при строительстве.

После обследования и оценки технического состояния резервуара исполнителем составляется технический отчет, который должен содержать следующее:

сведения о месте расположения резервуара, его инвентарный номер и дату диагностирования;

наименование организации, выполнившей диагностирование, фамилии идолжности исполнителей;

краткую техническую характеристику резервуара, материалов, примененных при строительстве, данные о режиме эксплуатации и свойствах хранимой нефти;

сведения о технологии сварки и сварочных материалах, примененных при изготовлении, монтаже. и ремонте резервуара;

даты и результаты проведенных ранее технических диагностирований;

данные о видах и датах аварий, количество и описание проведенных ремонтов;

значения проектной и фактической толщины крыши, днища, стенки и элементов плавающей крыши (понтона);

расчет кольцевых напряжений исходя из фактической толщины стенки РВС;

результаты внешнего осмотра конструкций и сварных соединений;

результаты измерений отклонений образующих стенки от вертикали;

результаты нивелирования наружного контура и поверхности днища;

результаты физического контроля сварных соединений стенки;

результаты контроля герметичности сварных соединений днища; - результаты механических испытаний, металлографического и химического анализов основного металла и сварных соединений;

эскизы крыши, днища, развертки стенки резервуара и плавающей крыши (понтона) с нанесенными на них местами дефектов, отступлений от проекта, местами установки оборудования, точками измерения толщины элементов и т.п.;

выводы по результатам обследования с основными данными, характеризующими состояние отдельных элементов или резервуара в целом;

дефектную ведомость с указанием координат дефектов на эскизах или

чертежах;

заключение о состоянии резервуара и рекомендации по обеспечению его дальнейшей безопасной эксплуатации.

Оформленный технический отчет утверждается в установленном порядке техническим руководителем организации, выполнившей диагностирование. Копия технического отчета хранится в организации, проводившей диагностирование.

После получения технического отчета в паспорт резервуара вносится информация о проведенном диагностировании.

.4 Капитальный ремонт резервуаров

Ремонт резервуара - комплекс строительно-монтажных работ и организационно - технических мероприятий по устранению физического износа, не связанных с изменением основных технико-экономических показателей сооружения.

Текущий ремонт резервуара осуществляется с целью восстановления исправности (работоспособности) его конструкций и систем инженерного оборудования, а также поддержания эксплуатационных показателей.

Капитальный ремонт резервуара осуществляется с целью восстановления его ресурса с заменой, при необходимости, конструктивных элементов и систем инженерного оборудования, а также улучшения эксплуатационных показателей на период до следующего капитального ремонта.

Оценка качества ремонтно-строительных работ по капитальному ремонту резервуара должна проводиться на основе оценок качества отдельных видов работ. При оценке качества ремонтно-строительных работ должно проверяться соблюдение установленных параметров: геометрических (размеры, отметки, зазоры, допуски), физико-механических (прочность, плотность, состояние поверхности, герметичность, влажность, температура) и других контролируемых параметров, предусмотренных проектом производства работ.

Проверка соответствия выполненных ремонтно-строительных работ требованиям проекта, нормативных документов и стандартов должна осуществляться в зависимости от характера контролируемых параметров и требований инструментально (измерения, испытания) и визуально. Необходимость сплошной или выборочной проверки, объем и способы контрольных измерений и испытаний следует определять исходя из требований нормативных документов и стандартов.

Ремонт, восстановление и усиление железобетонных конструкций резервуара осуществляются по индивидуальному проекту организацией, эксплуатирующей резервуар, или специализированной организацией, имеющей соответствующую лицензию Госгортехнадзора РФ.

Все ремонтные и восстановительные работы должны выполняться при соблюдении требований безопасности, изложенных в разделе «Правил…».

Мероприятия по подготовке резервуара к ремонту со стороны организации, выполняющей проект на капитальный ремонт:

представление заказчику лицензии Госгортехнадзора РФ на проведение проектных работ;

ознакомление с документацией по конструкции резервуара, его эксплуатации, техническим отчетом по обследованию и рекомендациями по ремонту;

согласование с заказчиком проекта капитального ремонта резервуара;

разработка проекта производства работ на капитальный ремонт резервуара;

согласование с заказчиком проекта производства работ на ремонт резервуара.

Для герметизации покрытия, стен, днища, мест ввода трубопроводов допускается применение органических, неорганических и комплексных моно- или армированных составов, обеспечивающих требуемую герметичность элемента, надежность и долговечность применяемого материала, а также его экологическую и техническую безопасности.

4. Требования по технике безопасности и охране труда, пожарной безопасности и охране окружающей среды при эксплуатации резервуаров

Охрана труда - система сохранения жизни и здоровья работников в процессе трудовой деятельности, включающая в себя правовые, социально-экономические, организационно - технические, санитарно-гигиенические, лечебно-профилактические, реабилитационные и иные мероприятия.

Требования по охране труда при эксплуатации резервуаров и резервуарных парков определяются законом «Об основах охраны труда в РФ», «Законом о промышленной безопасности опасных производственных объектов», другими действующими законодательными актами РФ и субъектов РФ, правилами, решениями и указаниями органов государственного надзора, Министерства и ведомства (компании).

Ответственность за соблюдение требований промышленной безопасности, а также за организацию и осуществление производственного контроля несут руководитель эксплуатирующей организации и лица, на которых возложены такие обязанности в соответствии с должностными инструкциями.

Согласно Федеральному закону «О промышленной безопасности опасных производственных объектов» резервуары и резервуарные парки, входящие в состав НПС, относятся к опасным производственным объектам. Декларация промышленной безопасности опасных производственных объектов должна содержать требования к промышленной безопасности резервуаров и резервуарных парков.

К работам по эксплуатации резервуаров допускаются лица не моложе 18 лет, прошедшие в установленном порядке инструктаж, подготовку, не имеющие медицинских противопоказаний при работе на опасных производственных объектах.

Обслуживание и ремонт технических средств резервуаров и резервуарных парков должны осуществляться на основании соответствующей лицензии, выданной федеральным органом исполнительной власти, специально уполномоченным в области промышленной безопасности, при наличии договора страхования риска ответственности за причинение вреда при их эксплуатации.

Инструкции по охране труда разрабатываются руководителями цехов, участков, лабораторий и т.д. в соответствии с перечнем по профессиям и видам работ, утвержденным руководителем предприятия.

При эксплуатации резервуаров и резервуарных парков возможно наличие следующих опасных и вредных производственных факторов:

образование взрывоопасной среды;

загазованность воздуха рабочей зоны;

повышенная или пониженная температура воздуха рабочей зоны;

выполнение работ на высоте;

повышенная или пониженная подвижность воздуха;

недостаточная освещенность на рабочем месте;

воздействие на организм человека электрического тока;

повышенная или пониженная влажность воздуха.

Требования безопасности при выполнении технологических операций в резервуарах и резервуарных парках

Обслуживающий персонал резервуарного парка должен знать схемы его коммуникаций, чтобы при эксплуатации, авариях, пожарах в нормативные сроки безошибочно выполнять необходимые переключения. Схемы должны находиться на рабочих местах. Каждый резервуар должен иметь номер, соответствующий технологической схеме, написанный на стенке РВС, а для ЖБР он должен быть написан на стенке камеры (колодца) управления задвижками или трафарете, установленном на кровле резервуара

В случае перелива нефти из резервуара необходимо немедленно подключить другой незаполненный резервуар, а разлитую нефть откачать в незаполненные резервуары. Резервуар, где произошел перелив, отключить из работы. Подключить его можно только после устранения загазованности, уборки загрязненного грунта, проведения расследования причин перелива и устранения его последствий. Загрязненный грунт следует собрать и увезти с территории парка в специально отведенное место.

При закачке нефти в резервуары в безветренную погоду при температуре окружающего воздуха выше 20°С необходимо осуществлять контроль загазованности резервуарного парка. При достижении ПДК должны приниматься меры по изменению режима работы резервуаров.

На территории резервуарных парков при обслуживании необходимо осуществлять контроль воздушной среды на наличие вредных веществ с помощью переносных газоанализаторов.

Контроль воздушной среды должен проводиться на расстоянии 10-12 м от наполняемых резервуаров и у обвалования с подветренной стороны. В резервуарных парках с сернистыми нефтями замер концентраций паров или отбор проб следует осуществлять, кроме того, на расстоянии 5-10 м за обвалованием по осевым линиям наполняемых резервуаров с подветренной стороны. Замер концентраций паров должен проводиться не реже 1 раза в смену - в каре резервуарных парков с резервуарами типа РВСП и РВСПК; 1 раза через 4 часа - в каре с резервуарами типа РВС.

В резервуарных парках с подземными или полуподземными железобетонными резервуарами (ЖБР) замер концентраций паров нефти или отбор проб воздуха следует проводить через каждые 4 часа на высоте от 0,10 до 0,15 м над покрытием крыши около стенки наполняемого резервуара по осевой линии и против дыхательных клапанов (по осевым линиям) с подветренной стороны.

Заключение

резервуар нефтеперекачивающий ремонт

Курсовой проект выполнен на основании индивидуального задания руководителя проекта и состоит из пояснительной записки, расчетной и графической частей.

В курсовом проекте рассматривались вопросы назначение нефтеперекачивающей станции (НПС), производился технологический расчет магистрального насоса, приемка резервуаров в эксплуатацию, организация технического обслуживания и ремонта, Капитальный ремонт резервуаров требования по технике безопасности и охране труда, пожарной безопасности и охране окружающей среды при эксплуатации резервуаров.

Во время проектирования использовалась нормативно-справочная, методическая и техническая литература.

Курсовой проект - один из способов подготовки к профессиональной деятельности, к самостоятельному решению вопросов по эксплуатации вспомогательного оборудования насосной станции.

Все разделы курсового проекта выполнены в соответствии с заданием.


Список использованных источников

1 Беляева В.Я. Нефтегазовое строительство: учебное пособие для студентов вузов / В.Я. Беляева, И.И. Мазура, В.Д. Шапиро - М.: Издательство ОМЕГА-Л, 2005. - 774 с.

Веригин И.С. Компрессорные и насосные установки: учебник / И.С. Веригин. - М.: Издательский центр «Академия», 2007. - 288 с.

Гумеров А.Г. Реконструкция линейной части магистральных нефтепроводов / А.Г. Гумерова, Х.А. Азметов, Р.С. Гумеров. - М.: ООО «Недра-Бизнесцентр», 2003. - 308 с.

Дятлов В.А. Оборудование, эксплуатация и ремонт магистральных газопроводов / В.А. Дятлов, В.М. Михайлов, Е.И. Яковцев. - М.: Недра. 2010. - 221 с.

Крылов Г.В., Степанов О А Эксплуатация и ремонт газопроводов и га-зохранилищ. - М.: Академия, 2000. - 231 с.

Поршаков Б.П. Газотурбинные установки. - М.: Недра, 2002. - 343 с.

Энергетика трубопроводного транспорта газа / под редакцией Козаченко А.Н.; Никишин В.Н., Коршаков Б.П. - М.: изд. РГУ Нефти и газа им. Е.М. Губкина, 2001. - 400 с.

Похожие работы на - Эксплуатация технологического оборудования резервуаров РВС-20000 НПС площадки Псекупская ЛПДС Хадыженская

 

Не нашли материал для своей работы?
Поможем написать уникальную работу
Без плагиата!
Без нейросетей!