Проект геодезичних робіт при будівництві висотних будівель
Вступ
Актуальність теми. В наші дні будівлі потребують високої
точності при будівництві . Цю точність забезпечують інженери - геодезисти.
Насам перед потрібно відзначити значущисть даної групи людей на будівництві,
оскільки завдяки цій касті робітників оптимізується затрата грошей та часу.
Будівництво йде в ногу з часом, з цим росте етажність будівель, які будуються.
Тим самим потребує більш точного забезпечення. Щоб не витрачати час та сили, до
початку будівництва розроблюється проект геодезичних робіт при будувництві. В
яких виконуються оцінка точності мережі та метод створення мережі, передача
відміток, та визначення відповідних приладів ( якщо є певне забезпечення ними)
.
Мета даного дослідження полягає в розробці проекту
геодезичних робіт.
Досягнення поставленої мети передбачає шляхом вирішення таких
завдань:
· Метод та оцінка точності зовнішньої
мережі
· Передача відміток на дно котловану
· Передача планових координат на
монтажний горизонт
· Передача відміток на монтажний
горизон.
1.
Архітектурно конструкторські характеристики
Було запроектовано будівлю розміром 35 м на 40 м. Будівля
каркасно - монолітного типу. Котлован риється на глибину 7 м. Оскільки будинок
будується на нестійкому ґрунті, тим самим було запроектовано фундамент палевого
типу. Будинок має 14 поверхів, висота поверху 2,8 м, перекриття 0,25 м.
2.
Нормативне забезпечення
Тахеометр Focus 6 (2")
Дальність вимірювань 3000 м на призму і 300 м без відбивача,
висока точність 3 + 2 мм / км. Двосторонній дисплей.
Тахеометр FOCUS 6 дуже легкий і компактний, він володіє
повністю пилевлагозащітним корпусом, захист по класу IP 66 з продуманим
ергономічним дизайном. Завдяки якісній просвітленої оптики Ви знизити
навантаження на очі і зможете легко працювати, як в темний час доби, так і при
зустрічних променях сонця.
Нескінченні навідні гвинти володіють плавним ходом, а прилад
надійною фіксацією, що забезпечує істотне зростання продуктивності за рахунок
швидкості наведення на ціль. На повному заряді акумуляторів Тахеометр FOCUS 6
дозволяє проводити вимірювання кожні 30 секунд протягом більше 26-ти годин.
У безвідбивному режимі Ви зможете знімати недоступні точки на
відстань до 500 м, або скористатися функціями зйомки зі зміщенням, тим самим
підвищуючи рівень своєї продуктивності і безпеки.
Тахеометр FOCUS 6 володіє розширеною алфавітно-цифровою
клавіатурою і зручним багатофункціональним меню. У ньому передбачено управління
інтелектуальними цілями і створення для користувача налаштувань, а також
програмування клавіш для миттєвого доступу до виробництва або редагуванню
польових вимірювань. Вашу роботу полегшить система блискавичного кодування
QuickCode і вбудовані програми інженерних розрахунків. Завдяки цим та багатьом
іншим чудовим компонентам Ви будете впевнені в якості та точності своїх
геодезичних робіт.
Комплектація:
• Прилад Focus 6 (5 ")
• Акумуляторна батарея (2 шт.)
• Універсальний зарядний пристрій, його адаптери та кабелі
• Регулювальний штифт, торцевий ключ
• Вініловий чохол
• Інструкція на диску Total Station Focus 6 травня "
• Транспортувальний кейс
Цифровий нівелір Leica Sprinter 150M
В електронному (цифровому) нівелір Sprinter 150M реалізовано
практично все, що необхідно при роботі з нівеліром:
· Простий користувальницький інтерфейс;
· Вбудовані програми;
· Високий захист від пилу і вологи;
· Мале споживання енергії (батареї типу
АА);
· Вбудована пам'ять;
· RS232 порт для пердачи даних
(доповнення).
Збільшення продуктивності досягається за рахунок відображення
на дисплеї електронного нівеліра вимірювання менш ніж за 3 секунди, миттєвого обчислення
перевищення та запису результатів в пам'ять для подальшої передачі в комп'ютер
(додатково).
Зменшення помилок оператора пов'язано з відсутністю помилки
читання і запису, а також наявності вбудованої система попередження нахилу, яка
зупиняє вимірювання при неприпустимих нахилах.
Умови задимленості, слабке освітлення (менше 20 Lux)
усередині приміщень, в тунелях - не перешкода для роботи цього цифрового
нівеліра Leica Sprinter 150M працює навіть з підсвічуванням від ліхтарика.
|
Sprinter 150M
|
|
точність вимірювань
|
1.5 мм/ км
|
|
Стандартна рейка
1,5
|
Стандартна рейка
1,5
|
|
Час вимірювань, сек
3
|
|
Діяльність
вимірювань
|
Діяльність
вимірювань
|
|
Електронні
вимірювання 2 - 100
|
|
програми вимірювань
|
програми вимірювань
|
|
Стандартні програми
Вимірювання відстаней і перевищень, визначення різниці висот, функція
моніторинг, виконання нівелірних ходу, визначення відсипання / виїмки,
збереження та передача даних
|
|
компенсатор
|
компенсатор
|
|
Діапазон роботи ±
10 '
|
Діапазон роботи ±
10 '
|
|
Тип магнітний
демпфер
|
|
зорова труба
|
зорова труба
|
|
Збільшення 24-х
|
Збільшення 24-х
|
|
Поле зору 2 °
|
|
Реєстрація даних
|
Реєстрація даних
|
|
Дисплей LCD,
128х104 пікселя
|
Дисплей LCD,
128х104 пікселя
|
|
Вбудований пам'ять
1000 вимірювання
|
Вбудований пам'ять
1000 вимірювання
|
|
Збереження даних у
форматі GSI
|
Збереження даних у
форматі GSI
|
|
Вимірювання в
режимі Online c ПК RS232 у форматі GSI
|
Вимірювання в
режимі Online c ПК RS232 у форматі GSI
|
|
Обмін даними RS232
|
Обмін даними RS232
|
|
Клавіатура 5 кнопок
для керування інтерфейсом, кнопка вимірювання
|
|
харчування
|
харчування
|
|
Акумулятор 4,
елементи типу AA
|
|
Інші характеристики
|
Інші характеристики
|
|
Діапазон робочих
температур, ° С від -10 ° C до + 50 ° C
|
Діапазон робочих
температур, ° С від -10 ° C до + 50 ° C
|
|
вологозахист IP55
|
вологозахист IP55
|
|
Розміри приладу
(ДхШхВ в мм) 219x196x178
|
Розміри приладу
(ДхШхВ в мм) 219x196x178
|
3.
Створення планово-висотної мережі
фундамент висотний підвальний геодезичний
Генеральні плани та розмічувальні креслення розробляють на
основі існуючих топографічних планів місцевості в масштабах 1:500-1:5000.
У разі відсутності планів і карт вказаних масштабів на
територію будівельного майданчика створюють GPS-мережі, тріангуляції,
полігонометрії, трилатерації, лінійно-кутові планові мережі та ходи нівелірних
мереж включно до ходів знімальної основи. Від закріплених пунктів планових і
висотних мереж виконують топографічні знімання і складають плани у необхідних
масштабах.
Інженерно-геодезичні розмічувальні роботи в період
будівництва виконують з більш високою точністю. Якщо точність наявної
геодезичної основи не задовольняє потреби розмічувальних робіт, то до початку
будівельних робіт на будівельному майданчику створюють планову і висотну основу
більш високої точності і з більшою густотою закріплених пунктів. Її називають
геодезичною розмічувальною основою чи спеціальною будівельною сіткою.
Форма і розміри геодезичних опорних розмічувальних мереж
залежать від типу, форми і розмірів інженерних споруд, їх конструкцій та
необхідної точності дотримання геометричних параметрів. Мережі розвивають від
пунктів державних геодезичних мереж або в умовній системі координат.
Найбільш поширеними методами створення геодезичної основи при
зведенні гідроелектростанцій, атомних електростанцій, великих мостів,
промислових підприємств, забудові мікрорайонів на відкритих територіях та ін. є
побудова планових GPS-мереж, лінійно-кутових мереж, полігонометрії з
використанням сучасних GPS-приладів, електронних тахеометрів високої точності.
Не виключається створення мереж тріангуляції і трилатерації. Висотні мережі, як
правило, розвивають ходами геометричного нівелювання у вигляді замкнених і
розімкнених нівелірних ходів і полігонів. При цьому ходи нівелювання повинні
обпиртись не меньше ніж на 2 пункти (марки, репери) державної висотної мережі.
При цьому пункти планових та висотних розмічувальних мереж, як правило,
суміщують.
При будівництві промислових підприємств та забудові
мікрорайонів на відкритих територіях геодезичну розмічувальну основу розвивають
від пунктів державної геодезичної мережі у вигляді будівельної сітки . За
точністю вона повинна забезпечувати точність вимірювань у плані і за висотою
при виконанні всіх видів інженерно-геодезичних розмічувальних робіт при
зведенні споруд.
Залежно від площі будівельного майданчика та технології
будівельних робіт інженерно-геодезичні мережі можуть розвиватись у декілька
стадій (ступенів). Геодезична розмічувальна основа проектується на генплані при
розробці проекту виконання геодезичних робіт. (ПВГР).
При зведенні окремих будинків планова геодезична основа може
бути відсутня. Висотна основа є закріпленим у районі виконання будівельних
робіт репером або “будівельним нулем”, висота якого дорівнює позначці підлоги
першого поверху споруди.
Геодезичну розмічувальну основу поділяють на зовнішню та
внутрішню. Зовнішня геодезична основа розвивається і закріплюється поза
будинком або спорудою. Вона служить для виконання будівельних робіт нульового
циклу: виносу головних, основних і детальних осей споруди, планування
будівельного майданчика, упорядкування котловану, монтажу фундаментів до
позначки “будівельного нуля”. Цей етам називають зведення підземної частини
споруди.
Внутрішня геодезична розмічувальня основа розвивається від
пунктів зеовнішньої геодезичної основи. Її пункти закріплюють на перекритті
першого поверху споруди. Взаємне положення пунктів внутрішньої геожезичної
основи повинне бути з більш високою точністю, ніж пунктів зовнішньої основи.
Створені на нульовомумонтажному горизонті геодезичні розмічувальні мережі
називаються базисними.( створна, геодезичний чотирикутник, мережа трикутників).
3.1
Планова мережа
Основні планові розмічувальні роботи полягають у створенні на
будівельному майданчику геодезичної розмічувальної основи і винесенні та
закріплені на місцевості положення головних або основних осей.
Розмічування осей комплексу споруд, будинків мікрорайону,
промислових споруд виконується від пунктів планової геодезичної мережі чи від
пунктів будівельної сітки.
Винесення на місцевість осей окремих житлових і громадських
будинків у районах існуючої забудови чи окремих будинків на території діючих
промислових підприємств можна здійснювати від твердих місцевих предметів і
контурів (будинків, доріг з покриттям, бордюрів, комунікацій, тошо).
Використовуючи картографічні матеріали визначаємо приблизне
положення 2-х точок, а саме п.6 та п.5, визначаємо планові координати через
рішення огз. Після приблизного виносу вону будуть мати приблизні координати,
проте направлення для базисної лінії ми вже будемо мати. Редукуємо лінію 6
відповідно до 5 створним методом, використовуючи проектне значення відстані між
ними та закріплюючи опочні точки.
Детальні планові геодезичні розмічувальні роботи полягають у
винесенні основних осей( якщо раніше були винесені головні), детальних і
монтажних осей, а також інших видів робіт для визначення у плані положення
елементів і вузлів будівельних констркцій. Не виключаєтся винесення детальних
осей від пунктів геодезичної основи. Практично використовують усі наявні
можливості для встановлення елементів будівельних конструкцій у проектне
положення із заданою точністю.
.2 Висотна мережа
Основні висотно розмічувальні роботи полягають у винесенні на
територію будівельного майданчика основних висотних реперів відреперів та марок
державних, місцевих або спеціальних геодезичних мереж. Поблизу споруджуваного
будинку або споруди закріплюють репери “будівельного нуля” на рівні підлоги
першого поверху.
Детальні висотні розмічувальні роботи полягають у становленні
на проекні висоти елементів конструкції будинків і споруж при їх монтажі. Їх
виконують від існуючих висотних реперів або закріплених точок “будівельного
нуля”. На монтажних горизонтах ( перекриття поверхів) висотні розмічування
виконують відносно робочих реперів або “висотних маяків”.
Використовуючи картографічні матеріали, було знайдено
декілька пунктів висотної мережі. З допомогою цих пунктів було проведено
нівелірні ходи через декілька точок зовнішньої мережі.
При будівництві висотних споружд, визначення висоти реперів
має бути здійснене з точністю 1-2 мм. Тому висотною основою для таких монтажних
робіт може служити геометричне нівелювання III класу.
|
Показатели
|
Классы нивелирования
|
|
II
|
III
|
IV
|
|
Максимальная длина хода, км
-между исходными пунктами -между узловыми точками
|
40 10
|
15 5
|
4 2
|
|
Максимальное расстояние
между постоянными знаками, км: на застроенных территориях на незастроенных
территориях
|
2 5
|
0,2 0,8
|
0,2-0,5 0,5-2
|
|
Допустимые невязки в
полигонах и по линиям в мм, L км
|
 
|
|
|
Враховуючи, що прийнято нівелірний хід III класу
При довжині ходів 0,7 та 0,5 км та точністю приладу 1.5 мм/км
Використовуючи формулу
Де fh - точність приладу на 1 км ходу
2,12 мм
1,79 мм
Точність відповідає II класу нівелювання
√0,5=3,54 мм
√0,7=4,18 мм
4.
Підземна частина
.1
Геодезичне забезпечення земляних робіт
Для розпочатку земляних робіт потрібно виміряти об’єми
земляних робіт, які потрібно виконати для оптимізації грошових затрат, а саме в
моєму випадку виконується проектування горизонтальною площиною для приведення
поверхні до майже однакової висоти.
Вибраний метод проектування горизонтальних площин. У
результаті виконання планувальних земляних робіт поверхня будівельного
майданчика становитиме рівну горизонтальну поверхню (площину).
З метою забезпечення балансу земляних робіт обчислюють
середню проектну позначку за формулою
де H1, H2, H3, H4 - позначки вершин квадратів, які належать
відповідно до одного, двох, трьох та чотирьох суміжних квадратів;- кількість
квадратів.
Обчислена за наведеною формулою позначка H0 = 106,7 буде
проектною (“червоною”) позначкою кожної з вершин квадратів її підписують зверху
справа біля кожної з вершин квадратів.
Обчислюють робочі позначки за формулою
= H0 - Hi ,
де H0 - проектна позначка;- позначка щемлі;- номер вершини
квадрата.
Їх виписують зліва від вершин квадратів. Далі складають
картограму земляних робіт.
Розрахунок координат нижньої лінії котловану. Та закріплення
її на обноску. Нижня лінія котловану в проекті знаходиться на на відстані 1 м
від сторін будівлі.
|
Назва
|
Х
|
У
|
|
1'
|
48322,5998
|
23229,7466
|
|
2'
|
48351,492
|
23255,8603
|
|
3'
|
48325,2548
|
23285,6568
|
|
4'
|
48296,3627
|
23262,5431
|
Обрахунок координат вершин кутів верху котловану:
|
НазваХУ
|
|
|
|
1"
|
48321,8346
|
23222,8593
|
|
2"
|
48358,3793
|
23252,095
|
|
3"
|
48326,0201
|
23292,5441
|
|
4"
|
48289,4754
|
23263,3084
|
Рис. Проектування горизонтальної площини
За робочими позначками на картограмі інтерполяцією за
сторонами квадрата визначають точку нульових робіт.
=
де hi та hj - робочі позначки вершин квалрата.- довжина
квадрата
У кожному квадраті обчислюють об’єм виїмки чи насипу за
формулою
,h2,hn - робочі позначки по кутах кожної площі , включаючи
значення точок нульових робіт.- кількість кутів фігури- площа фігури
Також ці функції можна виконувати у спеціальному програмному
забезпеченні, такі як Civil 3, …
Рис. Картограма земляних робіт
4.2
Детальні геодезичні роботи при улаштування фундаменту
При влаштуванні котлованів під фундаменти будинків і споруд
на місцевості розбивають границі ( лінію брівки) котловану, ведуть постійний
геодезичний контроль за виїмкою ґрунту. Після закінчення проведення земляних
робіт виконується виконавче знімання дна котловану.
Способи розмічувальних робіт залежать від матеріалу,
конструкції і глибини закладання фундаменту. Котловани розмічають на основі
рисунків фундаментів і розмічувальних креслень від винесених осей споруд.
Спочатку на місцевості виносять нижню кромку котловану згідно
з проектними розмірами. Розміри беруться від осі до зовнішньої грані
фундаменту. Границя брівки залежить від величини ухилу 1 : т і глибини
котловану. Якщо місцевість похила (рис. 16.11, а), то на кожному куті
обчислюють відстань від кромки до брівки котловану за формулою
А(Н - Н0): т * Ні: т,
де Нм - позначка землі; Н0 - проектна позначка дна котловану.
Позначка землі визначається за топографічним планом.
Відклавши від кромки котловану обчислені відстані М, для
характерних точок отримують лінію брівки котловану (рис. а, б).

а
б
Рис. Розмічування глибоких котлованів
Вздовж брівки забивають кілки і натягують шнур. Вони і будуть
позначати межу котловану. Оскільки при механізованій розробці ґрунту кілки,
закріплені по брівці котловану, знищуються, то рекомендується ці кілки
закріплювати поза зоною проведення земляних робіт. Кожна лінія брівки і кромки
котловану закріплюється двома тимчасовими створними кілками.
Під час земляних робіт геометричним нівелюванням перевіряють
глибину котловану. При копанні глибоких і широких котлованів на їх дні чи на
окремих виступах встановлюють тимчасові репери для зручності геометричного
нівелювання.
Передача позначки на дно глибоких котлованів. За способом
геометричного нівелювання позначку на дно глибокого котловану передають за
схемою, відображеною на рис.
На спеціальному кронштейні підвішують рулетку з тягарем.
Рейки встановлюють на репер (“будівельному нулі”) та на точці В на дні
котловану. Одночасно встановлюють нівеліри на станціях І та II і приводять у
робоче положення. Беруть відліки а, ,c, b, d (рис). За наявності одного
нівеліра спочатку зі станції І беруть відліки а, с, а потім переносять нівелір
на дно котловану і на станції II беруть відліки b, d.
Шукана позначка точки В на дні котловану обчислюється за
формулою
У результат вимірювання довжини рулетки (d - с) вводять
поправки за компарування, температуру і розтяг під дією маси тягаря.
Поправка за розтяг обчислюється за формулою
де Р - маса тягаря;=d - c; E - модуль пружності (для сталі Е
= 2*106 кг/см2);
- площа поперечного перерізу рулетки.
Середня квадратична похибка визначення точки В дорівнює
Рис. Пережача позначки на дно котловану способом
геометричного нівелювання: ma, mb, me - середні квадратичні похибки відліків а і
b та довжини рулетки l
При передачі точок на дно глибокого котловану є єфективним
використання електронного та .лазерного нівелірів.
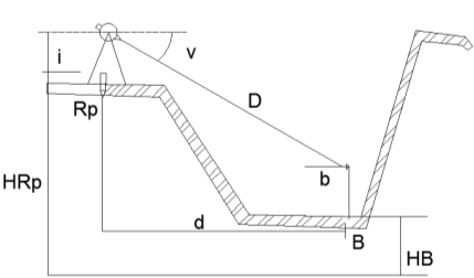
Методом тригонометричного нівелювання передачу позначки у
глибокий котлован виконують аа схемою, поданою на рис. 16.13.
Теодоліт встановлюють на репері чи точці з відомою позначкою
HRp, рейку на дні котловану в точці В. вимірюють на висоті b нахилену відстань
D та кут нахилу візирної осі V. Шукана позначка точки В обчислюється за
формулою
Де
i - висота тахеометра; b - висота наведення візирної осі на
відбивач.
Для підвищення точності визначення позначки точки В (НB)
використовують теодоліт з віддалемірною насадкою, що значно підвищує точність
вимірювання довжини лінії D.
Рис. Передача позначки на дно котловану методом
тригонометричного нівелювання
При використанні електронних теодолітів і тахеометрів можна
одразу отримати на табло значення позначки дна котловану.
Точність тригонометричного нівелювання достатня для передачі
позначок на дно котловану.
Для контролю позначки на дно котловану передають двічі (від
двох реперів). Похибка винесення не повинна перевищувати ±1 см.
При остаточному зачищенні дна котловану розмічають сітку,
утворену перетином ліній, паралельних поздовжнім і поперечним осям будинку.
У вершинах сітки забивають кілки. Геометричним нівелюванням
встановлюють кілки, розміщені на відстані 15...20 м один від одного, на
проектну позначку дна котловану. Інші кілки можна встановити на проектну висоту
за допомогою візирок або нівеліра при встановленні основних кілків. Оскільки
дно котловану, як правило, знаходиться в горизонтальній площині, то винесення
її за допомогою нівеліра не становить труднощів. Коли верх кілків знаходиться
нижче від поверхні ґрунту, то біля них роблять невеликі поглиблення.
Після остаточного зачищення дна котловану складають виконавчу
схему. На дні котловану від напрямків поздовжніх і поперечних осей будинку
розбивають сітку через 5...8 м і нівелюють дно у вершинах сітки.
На виконавчому рисунку позначають розміри котловану від
основних осей і виписують позначки до риття котловану та фактичні позначки його
дна. У середині рисунка наводиться проектна позначка. Відхилення фактичних
позначок дна котловану від проектних не повинні перевищувати 2...З см.
Методика проведення геодезичних розмічувальних робіт при
монтажі фундаментів залежить від конструкції фундаментів. Був запланований
метод палевого фундаменту.
При облаштуванні палевих фундаментів їх планове положення
розмічують на основі осей будівлі і плану палевого поля, користуючись способом
полярних координат, створно - лінійної побудови. Центри паль закріплюють
тимчасовими дерев’яними або металевими штирями. Для контролю висотного положення
під час занурення паль їх розмічують рисками через 1 м від вістря до оголовка.
Після занурення паль на оголовки виносять позначки низу ростверка, по яких палі
зрізають. На завершення проводять виконавче знімання поля паль і складають
виконавчу схему, на якій показують відхилення центрів паль від проектного
положення в плані та позначки вверху зрізаних паль.
Схема розмірів ростверка які використовуватимуться (розмір в
мм)
4.3
Детальні розмічувальні роботи при будівництві підвальних поверхів
Після забивання палей відносно осей розмічують планове та
висотне положення заливного шару бетону. На палевому полі влаштовують
залізобетонну фундаментну плиту (подушку) товщиною 20 см. На яку встановлюються
ростверки на які буде встановлюватись перший підвальний поверх.
Рис. Розміри ростверку
Виконуються розмічувальні роботи на розстверках для
правильного встановлення в планове та висотне положення.
Після встановлення першої підвальної плити виконується
перевірка в плані та по висоті.
5.
Надземна частина
.1
Побудова внутрішньої мережі
Внутрішня мережа будується від зовнішньої мережі та
закріплюються тимчасовими знаками для виконання розмічувальних робіт. Можна
побудувати лінійно-кутову мережу. Також можна закріпити точки на нульовому
горизонті методом полярних координат або винести точки оберненою геодезичною
задачею від видимих пунктів зовнішньої мережі.
|
Идентификатор пункта
|
Координаты (м)
|
Дирекционные углы
|
На пункты
|
Длини сторон
|
Средние квадратические
ошибки
|
Относительные ошибки сторон
|
|
|
|
|
|
|
|
|
X
|
Y
|
|
|
|
X
|
Y
|
MXY
|
сторін
|
дир. уг.
|
|
|
|
|
|
|
(м)
|
(м)
|
(м)
|
(м)
|
(м)
|
(сек)
|
|
|
2
|
48341.645
|
23254.528
|
128° 39'
35.19"
|
1
|
27.09
|
|
|
|
|
|
1:00
|
|
|
|
|
169° 50'
44.19"
|
4
|
36.00
|
|
|
|
0.0000
|
0.1609
|
1 : 1411080
|
|
|
|
|
218° 39'
35.19"
|
3
|
23.71
|
|
|
|
0.0000
|
0.1956
|
1 : 775757
|
|
|
1
|
48324.721
|
23275.684
|
218° 39'
34.88"
|
4
|
23.71
|
|
|
|
0.0000
|
0.1956
|
1 : 775755
|
|
|
|
|
267° 28'
25.75"
|
3
|
36.00
|
|
|
|
0.0000
|
0.1609
|
1 : 1411076
|
|
|
|
|
308° 39'
35.19"
|
2
|
27.09
|
|
|
|
|
|
1:00
|
|
|
4
|
48306.209
|
23260.875
|
308° 39'
34.66"
|
3
|
27.09
|
0.0000
|
0.0000
|
0.0000
|
0.0000
|
0.2145
|
1 : 1098742
|
|
|
|
|
349° 50'
44.19"
|
2
|
36.00
|
|
|
|
0.0000
|
0.1609
|
1 : 1411080
|
|
|
|
|
38° 39' 34.88"
|
1
|
23.71
|
|
|
|
0.0000
|
0.1956
|
1 : 775755
|
|
|
3
|
48323.134
|
23239.719
|
38° 39' 35.19"
|
2
|
23.71
|
0.0000
|
0.0000
|
0.0000
|
0.0000
|
0.1956
|
1 : 775757
|
|
|
|
|
87° 28' 25.75"
|
1
|
36.00
|
|
|
|
0.0000
|
0.1609
|
1 : 1411076
|
|
|
|
|
128° 39'
34.66"
|
4
|
27.09
|
|
|
|
0.0000
|
0.2145
|
1 : 1098742
|
|
п.2=2,7мм mп.1=2,7ммп.4=2,7мм mп.3=2,7мм
5.2
Передача осей (координат) на монтажний горизонт
Точки осей, або пунктів розмічувальної основи, передаються на
розташовані вище монтажні горизонти такими способами : похилого та
вертикального проектування.
При передачі планового положення точок використовують прилад
вертикального проектування. Прилад вертикального проектування застосовують для
перенесення планового положення осей споруд по вертикалі; у зеніт (вверх) та
надир (вниз).
Випускають у двох модифікаціях: 1) оптичні прилади
вертикального проектування (типу PZL); 2) лазерні прилади вертикального
проектування типу LVI.
Сам метод заклечається в тому що на нульовому монтажному
горизонті в місцях точок внутрішньої мережі встановлюється прилад PZL, який
центрується над точкою через оптичний/лазерний центриром. Промінь спрямовується
в зеніт через технологічний отвір, на монтажному горизонті в технологічному
отворі перекриття встановлюється прозора палетка яка має підписану сітку
прямокутних координат. За допомогою візирного променя беруться відліки по
палетці. Вони і вказуються центр знака на монтажному горизонті.
.3
Детальні розмічувальні роботи на монтажному горизонті
Геодезичні роботи, які виконуються
для визначення планового та висотного положення характерних точок будівлі
(споруди) та її конструкцій, що будується, згідно з робочим кресленням проекту
Створення внутрішньої геодезичної розмічувальної мережі будівлі (споруди) на
вихідному горизонті треба виконувати з прив'язкою до пунктів зовнішньої
геодезичної розмічувальної мережі, а на монтажному горизонті - до пунктів
внутрішньої геодезичної розмічувальної мережі вихідного горизонту.
Пункти внутрішньої геодезичної
розмічувальної мережі прив'язують до чітко розпізнаних орієнтирів місцевості зі
складанням схем прив'язки, для контролю стабільності цієї мережі та полегшення
виконання розмічувальних робіт на монтажному горизонті. Для будівель (споруд)
до дев'яти поверхів створення внутрішньої геодезичної розмічувальної мережі не
є обов'язковим.
Правильність виконання розмічувальних
робіт треба перевіряти шляхом контрольних геодезичних вимірювань та побудов (у
напрямках, що не співпадають з прийнятими при розмічу ванні) з точністю не
нижче, ніж при розмічувальних роботах.
Граничні (допустимі) відхили 5
потрібно визначати за формулою:
δ = t × m, (5.1)
де t - величина, що залежить від
категорії будівлі (споруди) та дорівнює 2; 2,5; 3 і визначається при
розробленні проекту виконання робіт або ПВГР;середня квадратична похибка, що
приймається згідно з таблицею 2.
Методику вимірювань та математичної
обробки результатів наводять окремим пунктом у ПВГР.
Передачу точок планової внутрішньої геодезичної
розмічувальної мережі будівель (споруд) з вихідного на монтажний горизонт потрібно
виконувати методами нахиленого або вертикального проектування в залежності від
висоти будівлі (споруди) та її конструктивних особливостей.
Таблиця А.1 - Умови забезпечення точності кутових вимірювань
|
Процеси, умови
вимірювання, тип приладів
|
Середні квадратичні
похибки результатів кутових вимірювань
|
|
3"
|
5"
|
15"
|
30"
|
|
Середні квадратичні
похибки центрування
|
0,5 мм
|
1 мм
|
3 мм
|
|
Метод центрування
кутомірного приладу і візирних цілей
|
Оптичним центри-ром
або примусове центрування
|
Оптичним центриром
|
Оптичним центриром,
виском
|
|
Середні квадратичні
похибки фіксування пунктів та маркування осей та точок
|
0,5 мм
|
1 мм
|
3 мм
|
|
Фіксування центрів
пунктів та маркування осей та точок
|
Рисувалкою
|
Керном
|
Олівцем, шпилькою
|
|
Кількість прийомів
|
2
|
1
|
|
Примітка. Теодоліти
мають відповідати вимогам ГОСТ 10529.
|
Результати вимірювання та побудови при створенні внутрішньої
геодезичної розмічу вальної мережі на вихідному та монтажному горизонтах
потрібно фіксувати шляхом складання схем місць розташування пунктів мережі, з
наведеними координатами та прив'язками до осей будівлі.
Також встановлюються в проектне
положення після створення внутрішньої мережі колон та перекриття в планове
положення, після встановлення виконується виконавче знімання. Точність яку не
повинне перевищувати регламентується СНиП III -18-75
Таблиця А.2 - Умови забезпечення точності лінійних вимірювань
|
Процеси, умови
вимірювання, тип приладів
|
Відносні середні
квадратичні похибки лінійних вимірювань
|
|
   
|
|
|
|
|
|
А. Сталевими
рулетками
|
|
Укладання в створ
|
-
|
За допомогою
теодоліта
|
Візуально
|
|
Сила натягу
вимірюваль-ного приладу, Н
|
-
|
Динамометром, 100
|
Вручну
|
|
Похибка вимірювання
температури для врахування різниці температури компарування і вимірювань, °С
|
-
|
Термопара
|
Термометром
|
|
|
0,5
|
1,0
|
2,5
|
|
Кількість відліків
|
-
|
2 пари відліків і 1
зсув
|
|
Провис рулетки
|
-
|
Нівелюванням
|
Візуально
|
Не враховується
|
|
Фіксація проміжних
точок
|
-
|
Рисувалкою
|
Керном
|
Олівцем
|
|
Границі допустимої
похибки рулеток, мм
|
Робочий еталон 3-го
розряду за ДСТУ 3741 Δ
= ±(0,01+0,01×(L-1)
|
2-й клас точності
за ДСТУ 4179 Δ=±(0,3+0,15×(L-1)
|
3-й клас точності
за ДСТУ 4179 Δ =±(0,4+0,2× ×(L-1)
|
|
Б. Тахеометрами,
світловіддалемірами або віддалемірами лазерними ручними
|
|
Центрування
приладів
|
Оптичним центриром
або примусове центрування
|
Оптичним центриром
|
Оптичним центриром
або виском
|
|
Фіксація центрів
знаків
|
Рисувалкою
|
Керном
|
Олівцем, шпилькою
|
|
Похибка вимірювання
температури повітря, °С
|
2
|
4
|
5
|
10
|
20
|
|
Похибка вимірювання
атмосферного тиску, кПа (мм рт. ст.)
|
0.5 (4)
|
0.9 (7)
|
1.23 (10)
|
2.7 (20)
|
6.7 (50)
|
|
Визначення
перевищення кінців лінії, що вимірюється
|
Нівелюванням
|
|
Середні квадратичні
похибки приладу при вимірювані згідно ГОСТ 19223-90
|
1 +2×D
|
2 + 2×D
|
3 + 3×D
|
5 + 5×D
|
|
Примітка 1. При
роботі на монтажному горизонті поправка в довжину рулетки за врахування
різниці температури компарування і вимірювань не вводиться. Примітка 2. D -
довжина, що вимірюється виражена в кілометрах. Примітка 3. L - довжина, що
виміряється виражена в метрах.
|
|
|
|
|
|
|
|
|
|
5.4
Передача відміток на монтажний горизонт
Висотну основу на монтажному горизонті становлять робочі
репери або маяки. Для цього використовують закладні деталі в конструкціяї,
штирях, скоби, пластини,... . Позначки робочих реперів визначають способом геометричного
чи тригонометричного нівелювання. Рекомендується виконання геометричного
нівелювання.
Технологія передачі позначки на монтажний горизонт подібна до
передачі позначки в котлован.
Передача позначки на монтажний горизонт способом
геометричного нівелювання.
Шукана позначка точки В на дні котловану обчислюється за
формулою
У результат вимірювання довжини рулетки (d - с) вводять
поправки за компарування, температуру і розтяг під дією маси тягаря.
Поправка за розтяг обчислюється за формулою
де Р - маса тягаря;=d - c; E - модуль пружності (для сталі Е
= 2*106 кг/см2);
- площа поперечного перерізу рулетки.
Середня квадратична похибка визначення точки В дорівнює
, mb, me - середні квадратичні похибки відліків а і b та
довжини рулетки l.
2 мм
При передачі точок на дно глибокого котловану є доцiльним
використання електронного та .лазерного нівелірів.
5.5
Побудова та розрахунок точності просторової геодезичної мережі (ПГМ)
Розрахунок точності зовнішньої мережі (лінійно-кутовим
мережа)
Оскільки данна мережа має досить велику кількість обрахунків,
використовувався програмний засіб Invent-Grad.
Прилад на який розраховується точність має похибку в
вимірюванні кутів 2’’ та 3 мм +2 мм/ км. З урахуванням цих СКП виконувався
поередній обрахунок точності.
Попередня оцінка точності лінійно кутової мережі, розрахована
на Тахеометр Focus 6
п1=2,1 мм mп4=2,1 мм mп8=2,1
ммп7=2,1 мм mп3=2,1 мм mп2=2,1 ммп6=2,0 мм mп5=2,1
мм
Побудова зовнішньої геодезичної мережі.
Виносимо точки п.3 - п.8 від базисної лінії п.1 п.2. методом
полярних координат, а саме спосіб полярних координат застосовують на відкритій
місцевості. Положення характерної точки ситуацій та рельєфу визначається
горизонтальним кутом відносно ліній знімальної основи AB та відстані l
від точки знімання основи А до точки місцевості (рис.*). Кути вимірюють
тахеометром (теоделітом) за ходом годинникової стрілки від лінії АВ. Відстані l
вимірюють тахеометром.
Рис.* Спосіб полярних координат
Найбільшь ефективний при використанні електронних
тахеометрів. У способі полярних координат нуль лімба орієнтують за напрямком
лінії знімальної основи АВ.
Після винесення точок виконується урівнювання лінійно-кутової
мережі по пунктам які були винесені та отримання урівняних координат.
Католог попередньої оцінки координат:
|
Номер точки
|
X
|
Y
|
|
П.1
|
48319,071
|
23293,388
|
|
П.2
|
48357,801
|
23244,973
|
|
П.3
|
48328,784
|
23222,016
|
|
П.4
|
48290,179
|
23270,274
|
|
П.5
|
48332,205
|
23291,217
|
|
П.6
|
48358,832
|
23258,732
|
|
П.7
|
48314,869
|
23223,562
|
|
П.8
|
48288,398
|
23256,171
|
|
Номер точки
|
X
|
Y
|
|
П.1
|
48319,0704
|
23293,3874
|
|
П.2
|
48357,8014
|
23244,9735
|
|
П.3
|
48328,7843
|
23222,0160
|
|
П.4
|
48290,1782
|
23270,2737
|
|
П.5
|
48332,2046
|
23291,2166
|
|
П.6
|
48358,8322
|
23258,7324
|
|
П.7
|
48314,8692
|
23223,5621
|
|
П.8
|
48288,3978
|
23256,1712
|
Таб. Проектних координат координати
|
Номер точки
|
X
|
Y
|
|
П.1
|
-0,0006
|
-0,0006
|
|
П.2
|
0,0004
|
0,0005
|
|
П.3
|
0,0003
|
0,0000
|
|
П.4
|
-0,0008
|
-0,0003
|
|
П.5
|
-0,0004
|
-0,0004
|
|
П.6
|
0,0002
|
0,0004
|
|
П.7
|
0,0002
|
0,0001
|
|
П.8
|
-0,0002
|
0,0002
|
Оскільки різниця значень між попередньо оціночними та
плановими точками в допуску, значить що данна мережа може будуватись приладом
такої точності.
6.
Виконавче знімання будівельної конструкції
Виконаче знімання виконується для звірення фактичного
положення об’єкта ( палі, стіни, перекриття, ...) з проектним, та визначення
похибки положення по вертикалі та по плановому положенні.
.1
Виконавче знімання фундаменту
Після встановлення паль у планове та висотне положення, виконується
перевірка положення паль, а саме в плані та по висоті. Прилад встановлюється в
будь-якому місці звідки видно палі та пункти зовншньої мережі. Стягуючи
координати на ( не закріплену ) точку стояння, тим самим прибирає похибку за
центрування, та виконується знімання паль. Після знімання створюється
“Виконавча схема знімання планового і висотного положення пальового поля”.
Дивитись в додатках.
.2
Виконавче знімання колон та стін
Після створення внутрішньої мережі та
розмічувальних робіт виносят будуть стіни та колони. Після встановлення в
положення виконують виконавче знімання, щоб визнчити відхилення в даниї
елементів у плані та по висоті. Допуски які потрібно витримати при створенні,
або перенесенні даних об’єктів регламеннується СНиП III -18-75. Дивитись
додаток 2.
6.3
Виконавче знімання перекриття
Після створення колон, поверх них створюють плити. Це може
буди монолітні або привезені з заводу. Повинен пройти певний час, а після
виконується Виконавче знімання перекриття та визначається висота та відхилення
від планового положення.
Використана
література
1. ДБН_2010
ГЕОДЕЗИЧНІ РОБОТИ У БУДІВНИЦТВІ
. СНиП
III -18-75 приймання робіт металеві
. Інженерна
геодезія С.П. Войтенко
. Інженерна
геодезія Монографія Баран.
Додатки
Дод.1
Виконавча схема висотного положення плит перекриття
Дод. 2
Виконавча схема планового знімання стінових панелей
Виконавча схема співвісності вертикальних елементів (колон,
панелей)