Паспорт выемки угля, крепления и управления кровлей пласта k51 шахты 'Красный партизан' ГП 'Свердловантрацит'
МИНИСТЕРСТВО ОБРАЗОВАНИЯ И
НАУКИ УКРАИНЫ
ДОНБАССКИЙ ГОСУДАРСТВЕННЫЙ
ТЕХНИЧЕСКИЙ УНИВЕРСИТЕТ
Кафедра разработки
месторождений полезных ископаемых
КУРСОВОЙ ПРОЕКТ
Паспорт выемки угля, крепления
и управления кровлей пласта k51 шахты «Красный партизан»
ГП «Свердловантрацит»
Проект
выполнил
студент
группы ГИ-10-2
Медведев
В.С.
Проект
принял руководитель
Филонюк
Ю.В.
Алчевск,
2013
СОДЕРЖАНИЕ
лава забой крепежный безопасность
Введение
1. Краткие
ведомости о шахте
2. Анализ
горно-геологических условий разработки пласта
. Выемка
угля, крепление и управление кровлей в лаве
3.1
Выбор средств механизации выемки и транспортирования угля
.2
Крепление лавы
.3
Управление кровлей в лаве
.4
Охрана и поддержание прилегающих к лаве подготовительных выработок
.5
Требования правил безопасности
4. Организация
работ в лаве
4.1
Расчет нормативной нагрузки на очистной забой
.2
Определение численного состава звена горнорабочих очистного забоя
.3
Организация работ в лаве
.4
Расчет расхода крепежных материалов
Вывод
Перечень
ссылок
ВВЕДЕНИЕ
Основная составляющая часть
топливно-энергетического комплекса Украины - угольная промышленность. Угольная
промышленность располагает только вскрытыми запасами, которых достаточно при
добычи 140-150 млн.т. в год на 250-300 лет, в то время, как запасы нефти и газа
имеют ограниченные возможности в своей отдаче.
Многообразие горно-геологических условий, частая
их изменяемость в пределах шахтного поля и выемочного участка, характерные для
современных угольных шахт, обуславливают невозможность применения
механизированных комплексов и расширяют поле деятельности лав, оборудованных
индивидуальной крепью, отрабатывающих, как правило, выемочные участки со
сложными горно-геологическими условиями.
Целью данного курсового проекта является формирование
у студента профессиональных навыков в составлении паспорта выемки угля,
крепления и управления кровлей в очистном забое. При обосновании параметров
очистной выработки и рабочих процессов, предусматривается раскрытие умения
студента самостоятельно владеть накопленными знаниями по рассматриваемой
профилирующей дисциплине и решать, связанные с ней, проектно-технологические
задачи.
. КРАТКИЕ СВЕДЕНИЯ О ШАХТЕ
Шахта Красный партизан по административному
делению находится на территории г. Червонопартизанска Свердловского района
Луганской области Украины. В промышленном отношении недра шахты принадлежат
ГП «Свердловантрацит» Министерства топлива и
энергетики Украины.
Вблизи расположены крупные промышленные центры,
г. Свердловск,
г. Краснодон, г. Луганск.
В транспортном отношении расположение шахты
благоприятное: в восточной части находится железнодорожная магистраль
Дебальцево - Зверево, проходящая через станцию «Красная Могила».
Участок пересекает асфальтированная дорога
,соединяющая города Луганск, Краснодон, Свердловск, Красный партизан, город
Гуково (Российская Федерация).
В орогидрографическом отношении участок
приурочен к Главному водоразделу Донецкого бассейна, чем обусловлены основные
черты его рельефа и представляют слабо всхолмленную степную равнину. Наивысшая
точка местности +310м. Наименьшая отметка +252м над уровнем моря приурочена к
тальвегу балки Большая Боргуста.
Техническими границами шахтного поля на севере -
выход пл.k21 на поверхность карбона, на востоке - общая
граница с шахтой «Гуковская» производственного объединения «Гуковуголь»,
проходящая вкрест простирания пород в 3 км восточнее вертикальных стволов шахты
«Красный партизан», на юге - проекция изогипсы минус 1300 пл. k6 на
поверхность карбона;
на западе - общая граница с шахтой им. Свердлова
и Володарским рудником, проходящая вкрест простирания пород 5-6км западнее
ствола шахты «Красный партизан»
Размеры участка в указанных границах: по
простиранию -8,5км, по падению - 8,0км, площадь участка - 68,0км2.
Смежные поля действующих шахт находятся на:
·
на
востоке - шахта «Гуковская», (Российская Федерация).
·
на
западе - шахта «Свердлова».
Перспективные участки находятся:
·
пласт
. k51 между изогипсами - 1000м - 1200 м.
·
пласт i3
на 680м ниже пласта. k51
Шахта «Красный партизан» ГП «Свердловантрацит»
сдана в эксплуатацию в 1958г. с проектной мощностью шахты 1650тыс./тн в год.
Производственная мощность на 2010г. - 1800тыс. /тон в год.
Шахта имеет 4 основных угольных пл.:51,
k6. k21,¡3
с
мощностью 0,60- 1,70;
углами падения 7-250
угли марки А.
Пласт k51 в пределах поля
шахты «Красный партизан» является одним из производительных рабочих пластов с
выдержанной рабочей мощностью. Отработан по простиранию до 8,5 км, а по
падению на отдельных участках до 4,2 км. В настоящее время работы ведутся на
глубине 1375 м.
Количество угля добываемое в сутки 500 тонн.
. АНАЛИЗ ГОРНО-ГЕОЛОГИЧЕСКИХ УСЛОВИЙ
РАЗРАБОТКИ ПЛАСТА
Средняя мощность пласта - 0,95 м;
Колебание мощности - 10%;
Угол падения пласта - 6°;
Марка угля - «А»;
Сопротивление угля резанию - 180 КН/м;
Склонность к самовозгоранию - нет;
Категория шахты по газу метану - не газовая;
Обводненность пласта - 0,1 м3/час;
Система разработки - столбовая;
Длина выемочного столба - 1050 м;
Длина лавы - 200 м
Согласно принятым условным обозначениям на рис.
2.1 изображена структура пласта и боковых пород с указанием их мощности и
крепости по слоям.

Вынимаемую мощность пласта определяем из
выражения:
,
где m -
геологическая мощность пласта,
Dm - колебание мощности пласта ,
м;
м;
м.
На основании [1] для рассматриваемых
условий устанавливается категория обрушаемости массива пород кровли,
устойчивости нижнего слоя кровли и верхнего слоя почвы.
Для определения категории
обрушаемости массива пород кровли, рассчитывается средневзвешенный коэффициент
крепости вышележащих слоёв (до 8-кратной мощности пласта) по следующей формуле:
,
где h1,h2,…hi - мощность
слоёв кровли, м ;
f1,f2,…fi -
коэффициент крепости соответствующих слоёв кровли.
Полученное значение
средневзвешенного коэффициента крепости, в соответствии с [1], попадает в
промежуток от 6 до 10, что соответствует категории А3, то есть
основная кровля труднообрушаемая.
Для данной категории по [1]
выбираются ожидаемые количественные значения геомеханических критериев:
конвергенция на 1м ширины
призабойного пространства в долях от мощности пласта (aз) - 0,015;
коэффициент вариации величины
конвергенции K2 = 30-50%;
- шаг первичной осадки массива пород, м. 25
< Шо < 50;
- шаг последующих осадок массива пород,
м. 15 < Шп < 30;
Устойчивость нижнего слоя кровли, которая
представлена аргиллитом мощностью 1,4м с крепостью
f = 3,8,
принимаем Б3 (малоустойчивые) на основании того, что коэффициет
крепости нижнего слоя кровли по [1] f
=3,8
.
Значения геомеханических критериев для данной
категории устойчивости нижнего слоя кровли следующее:
· высота нижнего непосредственного слоя кровли, м.
В5 = 0,5 - 2,0;
ü расстояние между трещинами в нижнем
слое, м. Г5 >1,0;
ü зависание кровли, м. Д >5
.
Коэффициент крепости верхнего слоя почвы равен
4, который по [1] попадает в условие f
> 4, то есть, категория устойчивости верхнего слоя
почвы - П3 (устойчивые). Сопротивление верхнего слоя почвы
вдавливанию составляет [sвд]
>25Мпа.
Исходя из исходных данных, а именно - мощности и
угла падения пласта, и особенностей горного оборудования - области применения
узкозахватных комбайнов, принимается выемка угольного пласта по восстанию.
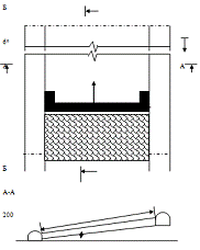
На рис. 2.2 отображена схема выемочного столба
при столбовой системе разработки с указанием основных размеров.
Рис. 2.2 Схема выемочного столба
3. ВЫЕМКА УГЛЯ, КРЕПЛЕНИЕ И УПРАВЛЕНИЕ КРОВЛЕЙ В
ЛАВЕ
.1 Выбор средств механизации и транспортировки
угля
Для рассматриваемых горно-геологических условий,
исходя из технических характеристик выемочной машины, представленной в [2] ,
К-103(2) предназначен для выемки угля в очистных забоях, подвигающихся по
простиранию пластов мощностью 0,85-1,2 м с углом падения до 35 градусов, а
также по восстанию или падению с углом до 10 градусов, при сопротивляемости
угля резанию до 360 кH/м.
Таблица 3.1 Технические характеристики комбайна
К-103(2)
Рис. 3.1 - Комбайн 1К - 101У
Для данного комбайна был выбран скребковый
конвейер СПЦ - 163 (рис.3.2). Технические характеристики представлены в таблице
3.2
Таблица 3.2 - Технические характеристики
скребкового конвейера СПЦ - 163
|
Производительность,
т/мин
|
6,1
|
|
Длина
конвейера в поставке, м
|
207
|
|
Скорость
движения тягового органа, м/с
|
1,0±0,05
|
|
Номинальная
мощность электродвигателей, кВт
|
2х110;
2х160
|
|
Тяговый
орган: - тип цепи (калибр, шаг, класс прочности)
|
24x86-C
|
|
-
количество и расположение цепей
|
две,
в центре
|
|
Рештачный
став: - высота боковины рештака, мм
|
192
|
|
-
длина рештака по боковинам, мм
|
1500;
1350
|
|
-
ширина рештака, мм
|
642
|
|
Масса,
кг
|
97400-101000
|
Исходя из заданного угла падения 6o
и двухсторонней схеме размещения исполнительных органов комбайна принимается
челнаковая схема выемки пласта с применением косого заезда.
Рис. 3.2 - Скребковый конвейер СПЦ - 163
.2 Крепление лавы
На основании категории устойчивости нижнего слоя
пород кровли (Б3) согласно рекомендаций выбираем соответствующую
технологическую схему крепления 3у
Также принимаем мероприятия для обеспечения
способа управления кровли труднообрушаемый. При этом категория боковых пород А3.
Выбор типоразмера индивидуальной крепи
производится на основании расчёта их допустимой минимальной и максимальной
высоты и имеющихся конструкций.
, м
, м
где mmax, mmin -
соответственно максимальная и минимальная вынимаемая
мощность пласта, м
hз - толщина
затяжки по кровле, м
hв - высота
верхняка, м
a
- конвергенция на 1м ширины призабойного пространства в долях от
мощности пласта,
aо
- ширина машинной дороги, м
Rk
- максимальная ширина призабойного пространства, м
Q
-
величина запаса на разгрузку стойки, м
(для пластов
м
м)
В соответствии с вычислениями принимаем ГВП - 6
. высота в раздвинутом положении - 1400 мм, в сдвинутом - 630 мм, масса - 36
кг.
Шаг установки призабойной крепи в соответствии с
шириной захвата исполнительного органа комбайна 0,8 м
Схема крепления концевых участков лавы
принимается типовая на основании . Для категории устойчивости нижнего слоя
кровли Б3 таковой является схема 2к.
Типоразмер специальных стоек рассчитываем по
формуле:
, м,
, м,
, м,
,м.
В соответствии с вычислениями принимаем
«Спутник» 3-го типоразмера . высота в раздвинутом положении - 1390 мм, в
сдвинутом - 700 мм, масса - 365 кг.
3.3 Управление кровлей
В соответствии с категорией обрушаемости массива
пород кровли (А3), принимаем способ управления кровлей -
трудообрушаемые. Исходя из принятой типовой технологической схемы управления
кровлей и крепления очистного забоя, установлены следующие параметры установки
специальной крепи. Посадочные стойки «Спутник» 3-го типоразмера устанавливаются
по одной между стойками последнего ряда призабойной крепи, причем при установке
таким образом двух стоек на следующем промежутке стойка не устанавливается , а
за ним снова устанавливаются две стойки через 1 м.
Рисунок 3.3 Рабочие операции по креплению
кровлей в лаве:
,2,3) Навеска верхняка;
) Установка гидростойки;
) Выдвижение консольного перекрытия;
) Извлечение и переноска гидростойки;
) Передвижка посадочной крепи «Спутник»
.4 Охрана и поддержание прилегающих к лаве
подготовительных выработок
Основными причинами деформирования выработок,
сохраняемых на границе с выработанным пространством, являются:
q неполная посадка кровли в лаве;
q тяжелые геологических условиях;
q применение в выработках,
поддерживаемых в средних геологических условиях, деревянной крепи;
q охрана выработок в средних
геологических условиях с помощью чураковой крепи;
q несоответствие параметров
податливости обрезной и штрековой крепи;
q несоответствие несущей способности
обрезной крепи возникающим нагрузкам, особенно при осадке основной кровли в
лаве;
q проведение выработок без запаса
сечения на величину смещения пород;
q несоответствие геометрической формы
крепи в процессе ее работы характеру смещения пород по периметру выработки;
q преждевременное начало ремонта
крепи, особенно в зоне влияния очистных работ;
недостаточная плотность крепи.
.5 Требования правил безопасности
Выемка угля в очистных забоях
должна осуществляться в соответствии с паспортом выемочного участка с
применением комплекса мер по предотвращению всех опасных и вредных
производственных факторов.
Паспорта выемочных участков на
пластах с труднообрушаемые боковыми породами и отработки отдельных выемочных
участков (целиков) на вышележащих этажах должны утверждаться на предприятии с
учетом рекомендаций постоянно-действующих комиссий по управлению горным
давлением.
Ведение очистных работ до
первичной посадки основной кровли, первичная посадка основной кровли, а также
подход забоя к техническим границам выемочного участка должны проводиться по
мероприятиям, предусмотренным паспортом выемочного участка.
Факт первичной посадки основной
кровли оформляется актом, который утверждается главным инженером шахты.
В случае остановки работ в
очистной выработке на время свыше суток должны быть приняты меры по
предупреждению обрушения кровли в призабойном пространстве, загазирования или
затопления. Возобновление работ допускается с разрешения главного инженера
шахты после осмотра очистной выработки должностными лицами или специалистами.
В процессе работы должна
производиться проверка устойчивости
кровли и забоя путем осмотра и остукивания. При наличии признаков опасности
обрушения кровли, забоя или сползания почвы на крутых пластах должна
производиться оборка отслоившейся горной массы и устанавливаться дополнительная
крепь.
Ширина свободного прохода для
людей в лавах, оснащенных индивидуальной крепью, должна быть не менее 0,7 м.
В очистных выработках должна
применяться механизированная или индивидуальная крепь с характеристиками,
соответствующими горно-геологическим условиям.
Постоянная индивидуальная крепь
должна состоять из однотипных стоек с одинаковыми характеристиками по несущей способности.
Тип, конструкция и параметры
крепи очистного забоя определяются паспортом выемочного участка.
При применении в очистной
выработке деревянной крепи должен быть неснижаемый сменный запас крепежных
материалов, располагаемых вблизи забоя. При применении в очистном забое
индивидуальной металлической крепи необходимо иметь запас этой крепи не менее
5%.
При выемке угля узкозахватными
комбайнами и стругами индивидуальная металлическая крепь должна применяться с
консольными металлическими верхняками. Допускается применение других видов
крепи, обеспечивающих надежное поддержание кровли в призабойном пространстве,
особенно за комбайном в месте изгиба конвейера.
В лавах, закрепленных
металлической крепью, разрешается применение деревянных верхняков, а деревянных
стоек - в качестве контрольных.
Сопряжения очистных выработок с
откатными (конвейерными) и вентиляционными штреками (бремсбергами, уклонами,
ходками и др.) должны быть закреплены механизированной передвижной крепью.
Применение другого специального вида крепи допускается в случае невозможности
применения механизированной передвижной крепи. Специальные виды крепи этих
сопряжений согласовываются с соответствующим проектным институтом и вносятся в
паспорт выемочного участка.
При применении индивидуальной металлической
призабойной и режущей крепи на пластах с углом падения до 25° одновременно с
посадкой допускается производство и других работ в лаве на расстоянии от места
посадки, определяемом паспортом.
Крепь, выбитая при взрывных
работах, при зарубке и отбойке угля, переноске оборудования, а также вышедшая
из строя из-за деформации, утечки рабочей жидкости или утери деталей,
обеспечивающих безопасность ее обслуживания, должна быть восстановлена или
заменена.
В случае задержки обрушения
кровли свыше установленного паспортом шага посадки необходимо применять
искусственное обрушение. В этих случаях не допускается производить работы в
лаве по добыче угля до обрушения кровли.
Работы по подготовке к
искусственному обрушению кровли производятся в соответствии с мероприятиями,
разработанными в соответствии с рекомендациями постоянно-действующей комиссии
по управлению горным давлением и утвержденными главным инженером шахты.
4 ОРГАНИЗАЦИЯ РАБОТ В ЛАВЕ
.1 Установление нагрузки на очистной забой
Ан= 336 т/см
Определим количество угля, вынимаемого комбайном
за один цикл:
т,
где
- количество вынимаемых комбайном
полос за один цикл, шт.
- коэффициент извлечения угля.
т/сут
циклов.
цикла
4.2 Определение численного состава звена
горнорабочих очистного забоя
Численный состав рабочих определяется по их
расстановке в лаве исходя из необходимого обеспечения выполнения
соответствующих рабочих процессов выемки угля, крепления, оформления забоя,
передвижки конвейера, управления кровлей, концевых операций.
При этом для обеспечения рациональной
организации труда необходимо выполнять следующие требования:
q взаимоувязка во времени и пространстве всех
рабочих процессов в лаве при максимально возможной скорости их протекания и
достижения максимальной производительности труда;
q равные трудозатраты рабочих на всех рабочих
процессах в течение смены (равнонапряженный труд);
q исключение лишних трудовых операций и предметов,
а также передвижений по лаве за счет рационального разделения и кооперации
труда;
q нормальная физиологическая тяжесть за счет
ритмичного (равномерного в течение смены) выполнения работ с темпом, предусмотренным
соответствующими нормативами времени.
Численный состав рабочих в добычную смену
определим по формуле:
чел.,
где
-
численность рабочих, занятых на креплении, чел.;
- численность рабочих одновременно
занятых на передвижке конвейера и оформлении призабойного пространства, чел.;
- численность рабочих на управлении
кровлей, чел.;
- численность комбайнового звена
(машинист комбайна и его помощник), чел.;
- численность рабочих, занятых на
проведении ниш, чел.
Всего явочный состав звена
чел.
Таблица 4.1 - Расстановка рабочих звена по
рабочим местам и выполняемые ими функции
|
Профессия
|
Выполняемые
функции
|
Количество
исполнителей
|
Порядковый
номер исполнителя
|
|
МГВМ
|
Управление
комбайном
|
1
|
1
|
|
ГРОЗ
|
Наблюдение
за исполняющим органом, состоянием силового кабеля и подтягивание их
|
1
|
2
|
|
ГРОЗ
|
Численность
рабочих, занятых на креплении
|
1
|
3
|
|
ГРОЗ
|
Навеска
металлических шарнирных верхняков ВВЗ0
|
1
|
4
|
|
ГРОЗ
|
Передвижение
конвейера и оформлении призабойного пространства
|
1
|
5
|
|
ГРОЗ
|
Численность
рабочих, занятых на проведении ниш
|
4
|
6,7,8,
9
|
|
ГРОЗ
|
Управление
кровлей
|
3
|
10,11,12
|
Схема расстановки рабочих в лаве при выполнении
рабочих процессов по добыче угля, представлена на рис. 4.1.
Рисунок 4.1 - Схема расположения рабочих в
лаве по добыче в лаве
.3 Организация работ в лаве
График организации работ в лаве представлен в
графической части курсового проекта в виде типовой планограммы работ при соответствующем
количестве технологических циклов и графика выходов рабочих с учетом принятого
режима работы.
· число смен за сутки: 4 смены по 6 часов,
· ремонтно-подготовительная - 1 смена;
· смена по управлению кровлей - 2
смена;
· по добыче - 3 смена,
· количество выходных дней в неделю - 2 дня.
4.4 Расчет расхода крепежных материалов на цикл
Расчет крепежных материалов
Количество стоек крепи ГВП 6:
Количество металлических
верхняков 1ВВ-30:
Количество стоек специальной
крепи «Спутник»
Количество контрольных стоек:
Расход материалов на цикл
Тумб БЖБТ:
Стоек органного ряда:
Объём лесоматериалов
Расход материалов на 1000т.
Тумб БЖБТ:
Стоек органного ряда:
ВЫВОД
Целью курсового проекта является обработка
выданного задания и представления возможного варианта отработки, крепления и
управления кровлей в лаве.
Полученные теоретические знания по курсу
«Производственные процессы горных работ» позволили определить паспорт крепления
лавы, крепление концевых участков, очистной комбайн, скребковый конвейер,
рассчитать нормативную нагрузку на очистной забой, количество циклов по добыче
угля, график выхода рабочих, количество рабочих в смену, параметры
индивидуальной крепи и др.
С помощью «классификации боковых пород угольных
пластов» ДонУГИ определили способ управления кровлей, паспорт крепления лавы и
концевых участков, выбрали способ охраны подготовительных выработок.
Рассчитали затраты на материалы на один цикл
добычи, а так же на тысячу тонн добычи.
На данном курсовом проекте мы закрепили свои
теоретические знания и практические навыки расчета всех параметров для нормального
функционирования очистного забоя.
По данным практических расчетов суточная
производительность шахты при принятых условиях возрастет на 39 тонн в сутки и
будет равна 300 тонн. Данные улучшения суточной добычи положительно отразятся
на технико - экономическом состоянии шахты.
ПЕРЕЧЕНЬ ССЫЛОК
1. Управление
кровлей и крепление в очистных забоях на угольных пластах с углом падения 35º.
Руководство
КД 12.01.01.503 - 2001. - Киев: Минтопэнерго Украины, 2002 - 141 с.
2. Машины
и оборудование для шахт и рудников. Справочник/С.Х.Клорикьян, В.В.Старичева,
М.Л.Сребный и др. - М.: Изд. Московского горного университета, 1994. - 471 с.
. Правила
безопасности в угольных шахтах. Государственный нормативный акт об охране
труда. Утвержд. приказом гос. ком. Украины по надзору за охраной труда от 18
января 1996 р. №7 - К.: 2003. - 421 с.
. Нормативы
нагрузки на очистные забои действующих угольных шахт при различных
горно-геологических условиях и средствах механизации выемки: Утв. Минуглепром
СССР 31.03.82 г. - М.: им. А.А.Сорочинского, 1982. - 71 с.