Узлы и механизмы ткацкого станка

  • Вид работы:
    Реферат
  • Предмет:
    Другое
  • Язык:
    Русский
    ,
    Формат файла:
    MS Word
    554,31 Кб
  • Опубликовано:
    2014-12-11
Вы можете узнать стоимость помощи в написании студенческой работы.
Помощь в написании работы, которую точно примут!

Узлы и механизмы ткацкого станка

Содержание

1. Технологические операции формирования ткани. Основные механизмы ткацкого станка

. Прокладывание уточной нити в зев. Классификация способов прокладывания

.1 Прокладывание уточной нити на ткацких станках с малогабаритными прокладчиками утка

.2 Пневморапирные ткацкие станки

.3 Пневматические ткацкие станки

.4 Рапирные ткацкие станки

. Зевообразовательные механизмы

. Батанные механизмы

. Отвод ткани и подача нитей основы. Товарные регуляторы

. Механизмы натяжения и отпуска основы

. Предохранительные механизмы

.1 Уточные предохранители

.2 Основные предохранители

. Механизм для питания станка утком различных видов ткацкого

станка СТБ

Литература

уточная нить ткацкий станок

1. Технологические операции формирования ткани. Основные механизмы ткацкого станка

Цель ткачества - формирование ткани определенной структуры с заданными свойствами и внешним видом.

Основная и уточная пряжа из приготовительного отдела поступает на ткацкий станок, где из нее вырабатывают ткань определенного переплетения, плотности и ширины.

Процесс образования ткани на ткацком станке складывается из следующих циклически связанных друг с другом основных технологических операций:

зевообразование - нити основы перемещаются в вертикальном направлении, разделяются в соответствии с рисунком переплетения и образуют зев;

прокладывание уточной нити - в образованный зев вводится уточная нить;

прибивание - проложенная в зеве уточная нить прибивается к опушке ткани, образуется новый элемент ткани;

отвод и навивание ткани - наработанная ткань отводится из зоны формирования и наматывается на товарный валик;

отпуск основы - основа сматывается с ткацкого навоя под определенным натяжением, необходимым для ведения технологического процесса.

Все эти операции осуществляются в результате согласованного действия  основных механизмов ткацкого станка:

зевообразовательный механизм, перемещающий нити основы в вертикальном направлении;

боевой механизм для прокладывания уточной нити через зев;

батанный механизм, прибивающий бердом уточную нить к опушке ткани;

товарный регулятор, отводящий наработанную ткань и перемещающий нити основы в продольном направлении;

основный тормоз или регулятор, отпускающий основу с навоя и создающий необходимое ее натяжение.

Кроме основных механизмов на станке имеются предохранительные и дополнительные механизмы.

Предохранительные механизмы останавливают ткацкий станок для предотвращения образования пороков ткани в случае обрыва уточной или основной нити и освобождают ткача от непрерывного наблюдения за работой станка.

Дополнительные механизмы позволяют вырабатывать ткани с различным утком и повышают производительность труда ткача.

Классификация ткацких станков основана на делении их по группам в зависимости от вида перерабатываемого сырья (станки для изготовления хлопчатобумажных, шелковых, шерстяных, льняных, стеклянных, металлических и других тканей); назначения ткани (станки обыкновенные и специальные, для выработки тканей специального назначения); ширины вырабатываемой ткани (станки узкие и широкие). Узкие ткацкие станки называются лентоткацкими, на них вырабатываются ткани шириной до 100 см.

Обычные ткацкие станки классифицируют по способу прокладывания уточной нити в зев - на челночные (одно- и многочелночные) и бесчелночные; по принципу тканеформирования - на прерывные (циклические) и непрерывные (многозевные).

2. Прокладывание уточной нити в зев. Классификация способов прокладывания

Прокладывание утка в зев может быть периодическими или непрерывным. При периодическом прокладывании на основную операцию (прокладывание уточной нити) приходится 1/3 времени работы обычного станка, остальное время затрачивается на подготовительные и вспомогательные операции.

В новых конструкциях ткацких станков с непрерывным способом прокладывания утка изменяется сам принцип образования ткани и существенно меняется конструкция рабочих механизмов станка. В ткацких станках этого типа повышение производительности достигается благодаря использованию многосистемного принципа образования ткани, когда уток одновременно вносится в несколько последовательно образующихся зевов. Зевообразование может происходить волнообразно в поперечном по отношению к нитям основы или в продольном направлении. К ткацким станкам этого типа относятся круглые ткацкие машины, плоскосекционные многозевные машины, машины с волнообразным зевом вдоль основы.

Как периодическое, так и непрерывное прокладывание утка в зев можно осуществлять двумя способами - челночным или бесчелночным. По первому способу уточная нить прокладывается челноком, несущим паковку с уточной пряжей.

Одним из главных недостатков обычного челночного ткацкого станка является периодический характер действия его рабочих механизмов, что является основным препятствием к повышению его скоростного режима. Другим большим недостатком является значительная масса челнока (до 500 г), что ограничивает скорость движения челнока, а следовательно, и скоростной режим ткацкого станка, в то время как масса пряжи на уточной шпуле составляет 30-40 г. Условия свободного и слабоконтролируемого полета челнока через зев в сочетании с быстрым износом деталей боевого механизма не обеспечивают надежности работы станка в целом. Кроме того, станок производит большой шум и не отвечает современным требованиям техники безопасности.

В конструкциях бесчелночных ткацких станков сохраняется общий принцип образования ткани обычного станка, а видоизменяется только способ введения уточной нити в зев. При этом увеличение скоростного режима достигается благодаря значительному повышению скорости прокладывания уточной нити через зев.

Бесчелночные способы прокладывания утка в зев могут осуществляться несколькими способами:

специальный малогабаритный прокладчик, не несущий уточной паковки, захватывает конец уточной нити с неподвижно помещенной на раме станка паковки и прокладывает нить в зев;

пневматический способ, когда уточная нить предварительно отмеренной длины с неподвижной паковки вдувается в зев струей сжатого воздуха;

гидравлический способ, когда уточная нить предварительно отмеренной длины с неподвижной паковки вносится в зев струей воды, выходящей под давлением из форсунки;

рапирный способ, когда в зеве перемещается специальный захват с помощью жестких или гибких рапир и вводит уточную нить в зев с неподвижной паковки; уток может прокладываться с одной стороны или поочередно с обеих сторон;

пневморапирный способ, когда уточная нить с неподвижной паковки, постоянно отмериваясь, подается в зев с помощью жестких полых рапир, перемещаясь с них сжатым воздухом (этот способ является комбинацией рапирного и пневматического способов).

В зависимости от способа прокладывания уточной нити в зев механизмы ввода утка можно подразделить на следующие группы. Механизмы первой группы - боевые механизмы - применяются на челночных ткацких станках. Механизмы второй группы - механизмы движения уточной нити - применяются на бесчелночных  ткацких станках.

Ведущие фирмы, выпускающие ткацкое оборудование: Sulzer Ruti, Staubli, Jakob Muller, Grob (Швейцария), Gunne, Dornier, Jurgens, Megeba, Grosse, Schleicher (Германия), Somet, Nuova Pignone, Nuova Vamatex, Panter, Fimtextile, Roj Electrotex, Savi, L.G.L. Electronics, Lamiflex (Италия), Pi-canol, Michel van de Wiele (Бельгия), Te Strake (Голландия), Bonas (Англия),  Tsudakoma, Toyoda, Yamada (Япония).

Технические характеристики современных ткацких станков представлены в таблице 1.

Сущность операции прокладывания утка в зев заключается в расположении уточной нити в зеве под определенным натяжением.

Цель операции - подготовка уточной нити для взаимного переплетения с нитями основы.

.1 Прокладывание уточной нити на ткацких станках с малогабаритными прокладчиками утка

В бесчелночных станках типа СТБ прокладывание утка через зев осуществляется малогабаритными прокладчиками. Принцип образования ткани остается таким же, как на челночных станках. Отличие заключается в способе прокладывания уточной нити. Уточная нить вводится в зев прокладчиком, имеющим зажим для удерживания конца уточной нити в период прокладывания. Уточная паковка неподвижно крепится на левой раме станка.

Прокладчики пробрасываются через зев поочередно только с одной стороны станка, из боевой коробки, расположенной на левой раме, в приемную коробку, расположенную на правой раме. В обратном направлении прокладчики перемещает транспортер, находящийся под основой. Скорость транспортера в несколько раз меньше скорости движения прокладчика через зев, поэтому в работе участвуют от 9 до 17 прокладчиков в зависимости от ширины станка.

После того как уточная нить проложена через зев, она разрезается у левой кромки на расстоянии 1,5 см от кромочных нитей основы. После прибоя уточной нити правый и левый концы ее закладываются в следующий зев механизмом кромокообразователя, а затем прибиваются к опушке ткани вместе с вновь проложенной уточной нитью.

Применение на станке СТБ иного по сравнению с челночным способа прокладывания утка привело к появлению на станке дополнительных механизмов, которые можно разделить на три группы: механизмы движения прокладчика, механизмы питания прокладчика утком, кромкообразователи.

За один цикл движения прокладчика выполняется десять операций, при которых рабочие органы механизмов воздействуют на прокладчик.

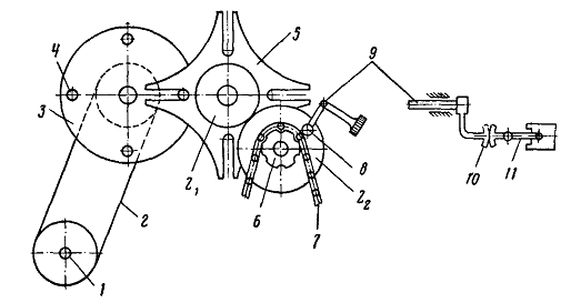
На рис. 1 показана схема прокладывания уточной нити через зев в различные фазы рабочего цикла.

Рисунок 1 - Схема прокладывания уточной нити на станке СТБ

Уточная нить с бобины 1 проходит через глазок 2 щитка, тормоз 3 уточной нити, направляющий глазок 4, глазок компенсатора 5, направляющий глазок 6 и удерживается зажимами возвратчика утка 7.

Положение I - прокладчик с раскрытыми зажимами направляется к возвратчику утка, который держит кончик нити. Тормоз зажимает нить, компенсатор находится в верхнем положении.

Положение II - прокладчик 8 поступает на линию полета и боя, его зажимы раскрыты и располагаются за зажимами возвратчика утка, который еще держит нить.

Положение III - зажимы возвратчика утка открываются, а зажимы прокладчика закрываются, нить передается прокладчику, который подготовлен к полету. Тормоз утка начинает открываться, а компенсатор опускаться.

Положение IV - происходит бой. Прокладчик с концом уточной нити, которая сматывается с бобины, пролетает через зев в приемную коробку. Тормоз утка полностью раскрыт, компенсатор опущен вниз.

Положение V - для уменьшения правого кончика уточной нити, выступающего за край ткани, прокладчик немного перемещается назад к правой кромке ткани. Компенсатор поднимается и удаляет избыточную длину нити из зева. Тормоз утка закрывается. Возвратчик утка подошел к левой кромке ткани, зажимы его начинают закрываться.

Положение VII - раскрытые ножницы 11 подошли к уточной нити. Прокладчик, находящийся в приемной коробке, раскрывает зажимы и освобождает уточную нить.

Положение VIII - уточная нить разрезается ножницами около левой кромки. Подъемник поднимает с транспортера очередной прокладчик и перемещает его вверх к боевой коробке, прокладчик в приемной коробке начинает движение к транспортеру.

Положение IX - возвратчик утка перемещается влево, компенсатор поднимается и выбирает из зева излишек нити. Бердо и нитедержатели перемещаются к опушке ткани, уточная нить прибивается к опушке ткани. Ножницы к этому времени отходят в исходное положение.

Положение X - возвратчик утка отходит в крайне левое положение, компенсатор заканчивает выбирать нить и приходит в крайне верхнее положение. Концы уточной нити от нитедержателей переходят к иглам кромкообразователей и закладываются в образованный зев.

Далее цикл прокладывания уточной нити повторяется.

Скорость, необходимая для пролета прокладчика через зев, сообщается боевым механизмом, работа которого основана на использовании потенциальной энергии закрученного валика.

Бесчелночные ткацкие станки СТБ предназначены для выработки самого разнообразного ассортимента тканей из пряжи и нитей любого волокнистого состава. Их выпускают нескольких типоразмеров, с шириной заправки по берду 175, 180, 216, 220, 250, 280 и 330 см. Станки работают с одноцветным, двухцветным и четырехцветным утком, оснащены негативным основным регулятором с фрикционной передачей и позитивным товарным регулятором непрерывного  действия. Плотность вырабатываемых тканей по утку 36-750 нитей на 10 см. Зевообразовательный механизм  может быть эксцентриковый на 10 ремизок, механическая или электронная каретка на 14-20 ремизок или двухподъемная жаккардовая машина.

Станки оснащены автоматическим розыском «раза», электронным контролером утка, двойным скалом и тормозом скало для выработки тканей с повышенной плотностью, накопителем утка для снижения обрывности уточной нити, ширителями для равномерного распределения ткани, антистатическим баллоногасителем.

Ткацкие станки с малогабаритными прокладчиками уточных нитей выпускают многие фирмы в мире. В настоящее время станки СТБ Новосибирской фирмы «Сибтекмаш» выпускаются под маркой СТМ. Частота вращения главного вала составляет 240-350 мин-1, заправочная ширина 180-390 см, производительность 630-1050 метроуточин/мин.

Наиболее совершенные конструкции станков выпускает фирма «Sulzer Ruti» (Германия). Эти станки универсальны с точки зрения переработки нитей различного волокнистого состава, надежности работы и возможности вырабатывать самый разнообразный ассортимент тканей. По своей конструкции они практически не отличаются от ткацких станков СТБ, которые выпускаются по лицензии этой фирмы. Однако за счет более точного изготовления основных узлов, механизмов и деталей станка, использования электроники, микропроцессоров они превосходят все станки с малогабаритными прокладчиками как по производительности, так и по качеству выпускаемых тканей. Заправочная ширина станков  составляет 180-560 см, а производительность достигает 1200 метроуточин в минуту.

Станки оснащены электронным контролером утка, автоматическим розыском «раза», двухзонным основонаблюдателем, двойным скало и тормозом скало, световой сигнализацией причин останова станка, накопителями утка для снижения обрывности уточной нити, антистатическим баллоногасителем. Возможно исполнение с кнопочным управлением, электронным счетчиком метража ткани, числа уточин и показаний числа оборотов главного вала станка. Станки могут быть изготовлены под установку жаккардовых машин.

2.2 Пневморапирные ткацкие станки

На рис. 2а показана схема прокладывания уточной нити в зеве на пневморапирном ткацком станке типа АТПР. Механизм прокладывания утка состоит из двух полых рапир - правой 1 и левой 3, отмеривающего барабана 6. К барабану с помощью пружины прижат ролик 7, образующий с барабаном фрикционную пару, которая непрерывно сматывает нить с неподвижной бобины 4. Между бобиной и зажимом фрикционной пары расположена система нитепроводников и нитенатяжителей 5. Рычаг компенсатора 9 вместе с неподвижными нитепроводниками 8 и 10 образуют зону накопления уточной нити, в данном случае - устройство для образования петли. Огибая пруток уточного контролера 11, нить заводится в правую рапиру 1 и удерживается там воздушным потоком.

Рисунок 2 - Схема прокладывания уточной нити на станке АТПР-120

В момент прокидки нити с двух сторон в открытый зев 2 (рис. 2б) вводятся рапиры 1 и 3. Примерно в середине зева рапиры сходятся и образуют воздушный канал. Уточная нить из рапиры 1 под воздействием потока воздуха, нагнетаемого в правую рапиру и эжектируемого левой рапирой 3, переходит в нее. Затем рапиры выходят из зева, а свободный конец тягой воздуха удерживается в левой рапире. После выхода рапир из зева проложенная нить прибивается бердом к опушке ткани. Кромкообразующее устройство формирует закладные или брошюровочные кромки.

Пневморапирные ткацкие станки предназначены для выработки хлопчатобумажных и шелковых тканей из пряжи от 14,9 до 50 текс, а также льняных и джутовых тканей некоторых видов.

Для перемещения уточной нити в канале рапир используется сжатый воздух невысокого давления, подаваемый компрессором небольшой мощности, установленным на станке. Такое решение позволяет исключить использование коммуникаций для подачи сжатого воздуха к станкам.

Для пневморапирных ткацких станков не решена проблема недолетов уточной нити. Основным недостатком этого способа прокладывания утка являются сложные динамические условия движения рапир при высокой скорости станка и неизбежность быстрого износа некоторых деталей этого узла. Кроме того, станки имеют большие габаритные размеры по ширине, что снижает съем продукции с единицы производственной площади.

.3 Пневматические ткацкие станки

Прокладывание уточной нити на пневматических ткацких станках (рис. 3) осуществляется следующим образом. Уток сматывается с бобины 1 и проходит через нитенатяжитель 2. Отмеривающий барабанчик 4 с помощью прижимного ролика 3 отмеривает длину уточной нити, необходимую для одной прокидки. Кончик утка зажимается тормозом 5 и находится в аэродинамической форсунке 6.

При образовании зева струя воздуха из форсунки 6 переносит уток отмеренной длины через канал конфузора 8, вошедшего в зев, с одного края основы на другой. Для повышения эффективности прокладывания конец утка подсасывается соплом 9. После прокидки уточная нить отрезается ножницами 7 и ее конец фиксируется от обратного вытягивания из сопла и зажимается тормозом 5.

Конфузор состоит из отдельных пластин, которые закреплены на батане. В момент прибоя батан отводит конфузор под опушку ткани, происходит смена зева, уточная нить выводится нитями основы через щель в пластинах конфузора и прибивается к опушке ткани. Кромочные нити основы закрепляются с помощью специального механизма перевивки.

Ткань, вырабатываемая на пневматическом ткацком станке, имеет с правой стороны неровную кромку из концов нитей утка. Эта бахрома мешает дальнейшей отделке ткани, поэтому ее отрезают специальным ножом, в результате чего на станке образуются дополнительные отходы.

Применение сжатого воздуха требует дополнительных затрат на подвод коммуникаций для подачи воздуха к станкам и на оборудование для подготовки и очистки сжатого воздуха. Движение уточной нити в конфузоре неустойчивое, поэтому на современных ткацких станках в зеве устанавливаются дополнительные эстафетные сопла для исключения возможности недолета уточной нити до противоположного края основы.

Рисунок 3 - Схема прокладывания утка на пневматическом ткацком станке

Выпуск этих станков налажен многими ведущими зарубежными фирмами: «Picanol» (Бельгия), «Gunne», «Sulzer Ruti» (Германия), «Zaurer» (Швейцария) и др.

Пневматические ткацкие станки выпускаются с шириной заправки по берду от 110 до 410 см. Увеличение ширины заправки станка приводит к увеличению скорости прокладывания утка от 28 до 52 м/с. На широких ткацких станках такая скорость достигается за счет использования дополнительных эстафетных сопел вдоль движения уточной нити. На станках может быть установлено до 28 эстафетных сопел.

Увеличение скоростных режимов пневматических ткацких станков до 1800 прокидок в минуту и увеличение рабочей ширины станка повлекло за собой не только резкое увеличение их производительности до 3200 метроуточин в минуту, но и увеличение съема продукции с единицы производственной площади.

На современных пневматических ткацких станках широко применяются микропроцессоры, которые управляют такими важными операциями, как прокладывание уточной нити, автоматический поиск зева, где произошел обрыв уточной нити, работа эстафетных сопел, подача основы, натяжение основы и утка, автоматическое удаление дефектных уточин. Чаще всего электронное управление используется в приводе станка. Благодаря микропроцессору можно точно контролировать износ главных деталей станка. С помощью электронной ремизоподъемной каретки возможно автоматически синхронизировать зевообразование и создание цветного рисунка из уточных нитей. Микропроцессор контролирует различные параметры, каждое их изменение фиксируется, обрабатывается и моментально реализуется. Память микропроцессора собирает и запоминает информацию, а затем автоматически выбирает правильное решение среди огромного множества возможностей. Управление станками с помощью микропроцессоров увеличивает степень автоматизации и облегчает обслуживание станка ткачом.

.4 Рапирные ткацкие станки

В последние годы повышенное внимание в ткачестве уделяется рапирным ткацким станкам. Классификацию рапирных ткацких станков можно провести по следующим основным признакам: по виду рапир, их числу и способу введения уточной нити в зев. Ткацкие станки могут быть с жесткими, гибкими и телескопическими рапирами. Станки могут иметь одну или две рапиры.

По способу введения уточной нити в зев различают систему Dewas - в зев прокладывается одна уточная нить, передача нити происходит за конец и систему Gabler - уточная нить вводится в зев петлей, которая потом в большинстве конструкций ткацких станков распрямляется.

На рисунке 4 показан процесс прокладывания уточной нити на ткацком станке с гибкими рапирами. Уток 1 с конической бобины, расположенной с правой стороны станка, прокладывается через зев гибкими рапирами 3, которые представляют собой стальные ленты с захватами 4 и 5 на концах. Рапиры движутся возвратно-поступательно с помощью дисков 2, расположенных с двух сторон станка.

Рисунок 4 - Схема прокладывания уточной нити гибкими рапирами

Правая рапира доводит уточную нить до середины станка, где происходит встреча правого и левого захватов и уточная нить передается левой рапире. Рапиры расходятся, и уточная нить прокладывается через зев полностью. Затем кромкообразовательное устройство формирует закладные кромки.

Рапирные ткацкие станки предназначены для выработки многоцветных тканей по утку (до шестнадцати цветов). Одним из недостатков станков с жесткими рапирами является увеличение габаритных размеров станка по ширине. Применение гибких рапир требует дополнительных направляющих для движения рапир.

Рапирные ткацкие станки выпускают многие зарубежные фирмы: «Dornier» (Германия), «Picanol» (Бельгия), «Somet», «Nuova Pignone», «Vamatex» (Италия), «Zaurer» (Швейцария) и др. На станках широко используются электронные средства автоматизации процесса формирования ткани.

Станки с жесткими рапирами имеют заправочную ширину 160-400 см, скорость движения рапир от 12 до 42 м/с, производительность - до 1000 метроуточин в минуту.

Станки с гибкими рапирами выпускают с заправочной шириной 175-380 см, скорость движения рапир составляет 12-28 м/с, производительность - до 1300 метроуточин в минуту.

Ткацкие станки с телескопическими рапирами выпускает фирма «Zaurer» (Швейцария). Их применение позволяет уменьшить площадь, занимаемую станком. Они хорошо подходят для выработки тканей из фасонной пряжи, пряжи высокой крутки (креп, вуаль), а также из пряжи с малой разрывной нагрузкой.

Следует отметить, что в последнее время рапирный способ прокладывания утка постоянно совершенствуется и находит практически неограниченную область применения для изготовления самых разнообразных тканей.

3. Зевообразовательные механизмы

Зевообразовательные механизмы разнообразны по конструкции, но все они выполняют следующие функции:

приводят в движение нити основы в вертикальном направлении, образуя зев (образование зева согласовывается с работой других механизмов);

создают определенное переплетение нитей основы и утка в ткани в соответствии с заданным рисунком переплетения, поднимая и опуская определенные нити основы согласно циклу зевообразования.

Все зевообразовательные механизмы подразделяются на три группы:

кулачковые зевообразовательные механизмы;

ремизоподъемные каретки;

машины Жаккарда.

На ткацких станках СТБ с малогабаритным прокладчиком утка могут устанавливаться все три типа зевообразовательных механизмов.

Особенность кулачковых механизмов состоит в том, что главный орган механизма - кулачок - осуществляет перемещение ремизки по заданному закону и определяет переплетение ткани. Переплетение ткани и закон перемещения ремизки определяется формой и профилем кулачка.

По способу приведения в движение ремизок кулачковые зевообразовательные механизмы подразделяются на механизмы с зависимым движением ремизок и независимым движением ремизок.

В механизмах с независимым движением ремизок отдельные ремизки друг с другом не связаны, поэтому подъем и опускание их происходят независимо друг от друга. В механизмах с зависимым движением ремизок отдельные ремизки имеют связь между собой, и таким образом перемещение одной ремизки вызывает перемещение других.

Кулачковые механизмы применяют при выработке тканей с небольшим раппортом переплетения по утку: главным образом для тканей полотняного переплетения, простой и сложной саржи, сатина с раппортом не более 8.

Таблица 1 - Технические характеристики современных ткацких станков

Показатели

Ед.  измерения.

Ткацкие станки



С гибкими рапирами

С жесткими рапирами

Пневматические

С микропрокладчиком

Фирма-изготовитель, марка станка


Panter TM «Panter E4»

Dornier «H/HS»

Picanol «Omni»

Sulzer Ruti P 7200 (K)

см

160-380

150-400

190-380

190-390

Частота вращения главного вала

мин-1

до 630

500

900-1000

400-470

Теоретическая производительность

м утка/мин

до 1500

До 1000

до 2000

860-1400

Количество уточных нитей

шт.

4; 8; 12; 16

2-12

2; 4; 6

2; 3; 4; 6

Плотность ткани по утку

нитей/см

5-83

0,7-200

2,3-72

1-181

Назначение


Легкие и тяжелые ткани; Тпр=5-200 текс, Тнити=10-3300 дтекс

Легкие и тяжелые ткани; Тпр,нити=1-333 текс

Ткани с плотностью до 500 г/м2 из пряжи, химических нитей; Тпр=8,33-200 текс, Тнити 20-400 дтекс

Ткани из хлопка, шерсти, химических нитей, льна, джута

Зевообразовательный механизм


Кулачковый мех-м на 8 ремизок; каретка ротационного типа до 24 ремиз, жаккардовая машина с электр. управлением

Кулачковый мех-м на 12 ремизок; каретка ротационного типа на 12, 20, 28 ремиз, жаккардовая машина с электр. управлением (до 10000 крючков)

Кулачковый позитивный мех-м на 8 ремизок; каретка с электр. управлением на 8, 12, 16 ремиз, жаккардовая машина с электр. управлением

Кулачковый позитивный мех-м на 10 или 14 ремизок; каретка позитивного типа на 18 ремиз, жаккардовая машина


Зевообразовательные механизмы с независимым движением ремизок установлены на ткацких станках новых конструкций - СТБ, АТПР, П-125. На станках СТБ и АТПР механизм расположен снаружи станка и может управлять движением от 2 до 10 ремизок. Для каждой ремизки используется кулачок 1 (рис. 5), установленный на кулачковом валу. Кулачок поднимает ремизку, а спаренный с ним контркулачок 2 опускает ее. Кулачки соприкасаются с роликами 3 и 4, расположенными на ремизных рычагах 5 на одинаковом расстоянии от оси вращения рычагов. Через тяги 6 ремизные рычаги соединены с двуплечими рычагами 7, передающими движение через горизонтальные тяги 8, угловые 9 и вертикальные 10, 11 рычаги ремизкам 12.

Рисунок 5 - Схема кулачкового зевообразовательного механизма

Система кулачок-контркулачок обеспечивает постоянство контакта их с роликами. Кулачки, ролики и ремизные рычаги заключены в металлический кожух - масляную ванну.

Кулачки зевообразовательного механизма производят отклонение ремизок от среднего уровня вверх или вниз. Ремизки перемещаются за счет выступов и выемок кулачков относительно их средних окружностей. Профиль контркулачка является полной противоположностью профиля кулачка.

Последовательность расположения выступов и выемок определяет чередование подъема и опускания ремизки. Каждый выступ или выемка соответствует образованию одного зева, а, следовательно, сумма выступов и выемок кулачка определяет раппорт переплетения по утку. В соответствии с этим за один оборот кулачка главный вал должен сделать не один, а несколько оборотов, количество которых равно раппорту переплетения по утку. Число кулачков определяется числом ремизок в заправке.

Размеры зевообразовательного кулачка определяют величину отклонения нитей основы от среднего уровня или высоту зева. Раппорт переплетения по утку, закон перемещения ремизок, а также время выстоя ремизок определяются профилем кулачка.

Кулачковый зевообразовательный механизм позволяет вырабатывать ткани с раппортом по утку до восьми нитей и по основе до десяти нитей при рядовой проборке.

4. Батанные механизмы

Основная технологическая функция батанного механизма ткацкого станка - прибивание уточной нити к опушке ткани. На бесчелночных ткацких станках на батане установлены направляющие гребенки для движения нитепрокладчика или специальный канал-конфузор на пневматических или гидравлических станках.

По типу привода батанные механизмы можно разделить на две основные группы - кривошипные и с кулачковым приводом. На бесчелночных ткацких станках применяются батанные механизмы с кулачковым приводом.

Все батанные механизмы должны удовлетворять следующим технологическим и техническим требованиям:

размах качания берда должен быть наименьшим во избежание сильного перетирания нитей основы зубьями берда;

уточная нить к опушке ткани должна прибиваться плавным давлением, а не ударом;

масса батана должна быть небольшой и достаточной для выполнения всех технологических и механических операций механизма.

Кулачковый батанный механизм при использовании кулачка соответствующего профиля может обеспечить любой заданный закон движения и любую продолжительность периодов движения и выстоя берда, что необходимо при работе на высокоскоростных ткацких станках и станках большой ширины.

На рис. 6 изображена схема батанного механизма, которая применяется на станках СТБ. Кулачки 1 и 2 вращаются на валу О. Кулачок 1 контактирует с роликом 6, а кулачок 2 - с роликом 3, которые установлены на угловом рычаге 4, последний расположен на подбатанном валу 5. На лопасти 7 установлены брус батана 8 и бердо 9. На брусе батана со стороны опушки ткани закреплены гребенки, составленные из стальных пластинок 10. Они являются направляющими при движении нитепрокладчиков через зев.

Во время движения нитепрокладчика в зеве батан выстаивает в заднем положении. Время выстоя батана значительно превышает время полета нитепрокладчика через зев, тем самым обеспечивается прямолинейная траектория движения нитепрокладчика и необходимое время для работы кромкообразующего устройства. Во время прибоя лопасть 7 движется по часовой стрелке и с помощью берда 9 перемещает уточную нить к опушке ткани 11. Выстой берда в переднем положении не происходит. Заданный закон движения батана обеспечивается профилем кулачков 1 и 2.

Рисунок 6 - Схема батанного механизма станка СТБ

5.       Отвод ткани. Товарные регуляторы

Для обеспечения непрерывности процесса ткачества готовая ткань отводится из рабочей зоны и наматывается на товарный валик, а основа сматывается с ткацкого навоя, перемещается в продольном направлении и подводится в зону формирования. Необходимо, чтобы нити основы подавались в рабочую зону при определенном натяжении. Недостаточное или чрезмерное натяжение основы нежелательно, так как повышается ее обрывность в процессе ткачества.

Длина нитей основы, сматываемой с навоя, должна быть несколько больше длины ткани, выработанной за то же время, так как основные нити в ткани, в результате переплетения их с уточными нитями, располагаются не прямолинейно, а волнообразно, что приводит к их уработке.

Ткань на ткацких станках отводится товарными регуляторами, которые имеют следующее назначение:

отводят готовую ткань и наматывают ее на товарный валик;

поддерживают постоянную плотность нитей по утку и создают определенное взаимное расположение уточных нитей в ткани;

совместно с механизмами отпуска основы создают определенное заправочное натяжение и поддерживают его постоянным во время работы станка.

В зависимости от способа расположения утка в ткани товарные регуляторы делятся на две группы:

независимого способа действия, дающие равномерное распределение утка в ткани;

зависимого способа действия, дающие расположение утка в ткани с равномерным прибоем.

Для первой группы механизмов длина отводимой ткани за один оборот главного вала не зависит от толщины прибиваемой уточной нити, при втором - зависит.

По способу навивания товарные регуляторы делятся на регуляторы прямого действия, в которых ткань наматывается сразу на товарный валик, и непрямого действия, в которых ткань навивается на товарный валик, предварительно обогнув вальян.

На рисунке 7 дана схема товарного регулятора независимого способа действия ткацких станков типа СТБ и АТПР, который осуществляет непрерывный отвод ткани из зоны формирования.

Товарные регуляторы с непрерывным отводом ткани более совершенны, чем с прерывным, так как отсутствуют ударные воздействий собачек при отводе ткани.

Наработанная ткань 1 (рис. 7 а) огибает грудницу 2, вальян 3, направляющий валик 4, направляющую планку 5 и наматывается на товарный валик 6.

Рисунок 7 - Схема движения ткани из зоны формирования к товарному валику станка СТБ (а) и  товарного регулятора независимого непрерывного действия (б)

Движение товарному механизму (рис. 7 б) передается от наборного валика 1, который вращается с такой же частотой, как и главный вал станка. От червяка Z1 движение передается червячной шестерне Z2, которая жестко соединена с храповиком 2 (на одной втулке) червячной шестерни с храповиком сидят на валу 9 свободно. Движение от храповика к валу 9 передается через двойную собачку 6, ось которой помещается в серьге 5, закрепленной на валу 9 жестко. Втулка соединена с серьгой 5 пружиной 4. Движение от вала 9 с помощью зубчатой передачи Z3, Z4, Z5, Z6, Z7, Z8, Z9, Z10, Z11 передается вальяну 8.

Вальяном ткань непрерывно отводится из рабочей зоны станка. Навивание ткани на товарный валик 10 осуществляется через звездочку 7, цепь 11, звездочку 12 и фрикционную муфту 13. В начале наматывания ткани на товарный валик окружная скорость его немного превышает окружную скорость вальяна, что компенсируется скольжением во фрикционной муфте, которая может регулироваться изменением силы сжатия пружин фрикционных колец муфты.

Длина ткани, которую отводит товарный регулятор за один оборот главного вала станка, см


где    Z1 - заходность червяка; Z3, Z4, Z5, Z6 - число зубьев сменных шестерен; dв - диаметр вальяна, см (dв = 16 см).

Плотность ткани по утку, нит/см

Ру =

Используя данный товарный регулятор, можно вырабатывать ткани с плотностью по утку от 36 до 750 нитей на 10 см и регулировать плотность ткани с интервалом 0,2 нити на 1 см.

6.       Механизмы натяжения и отпуска основы

Процесс отпуска основы с навоя и обеспечение ее необходимого натяжения осуществляются на ткацком станке механизмами отпуска и натяжения основы. С помощью этих механизмов решаются следующие задачи:

равномерный отпуск основы с навоя соразмерно с расходом ее в ткачестве;

создание необходимого режима натяжения основы (заправочного натяжения) и сохранение его постоянным в течение всего процесса.

По принципу действия механизмы разделяются на:

основные тормоза, в которых ткацкий навой поворачивается за счет натяжения нитей основы;

основные регуляторы, которые сами поворачивают ткацкий навой на определенный угол в зависимости от колебаний натяжения нитей основы.

Основные регуляторы бывают двух типов:

независимого действия (позитивные), которые отпускают с навоя постоянную, заранее установленную, длину основы независимо от ее натяжения;

зависимого действия (негативные), которые отпускают основу с навоя соразмерно с расходом ее в ткачестве и обеспечивают постоянный режим натяжения.

В отличие от основных тормозов в регуляторе имеется специальная подвижная система, которая воспринимает давление основы.

Органом (чувствительным элементом), воспринимающим давление основы, является скало. Подвижная система регулятора взаимодействует с механизмом вращения навоя.

На ткацких станках типа СТБ применяются основные регуляторы зависимого способа действия. Передача движения к ткацким навоям фрикционная, что дает возможность поворачивать навой на различные углы без применения сменных деталей.

На рисунке 8 представлена схема основного регулятора с фрикционной передачей. Основа 4, сматываемая с навоя 1, огибает скало 5, которое свободно вращается в подшипниках, расположенных на рычагах 6, которые могут поворачиваться вокруг оси О. К рычагам 6 крепятся болтами рычаги 7, на них действуют пружины 8. К рычагам 6 и 7 с левой стороны станка (если смотреть спереди станка) крепится рычаг-шатун 9, палец 10 которого входит в прорезь тяги 11. Болты б1 и б2 устанавливают так, чтобы между их головками и пальцем 10 был зазор, в пределах которого рычаг 9 мог бы свободно перемещаться при качании скала и нормальном натяжении основы. Нижний конец тяги 11 соединен с кулисой 12, которая, имея прорезь, может перемещаться относительно неподвижного пальца 13. Ось вращения кулисы О1 находится на одном из плеч двуплечего рычага 3, который в свою очередь может поворачиваться вокруг оси О2. На другом конце рычага 3 закреплен ролик 2. Он касается пространственной горки 17, выполненной за одно целое с корпусом ведущего диска 16, который жестко закреплен на конце валика 14, получающего движение от главного вала станка. Ведущий диск 16 вместе с валиком 14 может перемещаться вдоль его оси. К диску 16 прилегает ведомый фрикционный диск 15. На соприкасающихся поверхностях дисков 15 и 16 укреплены тормозные (фрикционные) прокладки.

Ведомый диск 15 через втулку соединяется с червяком Z, который входит в зацепление с червячной шестерней Z1. На одной оси с шестерней Z1 находится поднавойная шестерня Z2, соединенная с навойной шестерней Z3.

Во время работы станка диск 16 вращается вместе с валиком 14. За каждый оборот главного вала станка ролик 2 надавливает на горку 17 диска 16. в результате этого ведущий диск 16 перемещается вдоль валика в сторону ведомого диска 15, прижимается к нему и благодаря тормозным прокладкам происходит их сцепление. Диск 15 и червяк Z делают небольшой поворот и через червячную шестерню Z1 и соответствующие зубчатые колеса передает движение ткацкому навою. Навой поворачивается на некоторый угол и происходит отпуск основы. Величина отпуска основы зависит от угла поворота ведомого диска 15. Угол поворота диска определяется временем воздействия ролика 2 на горку диска 16.

Во время работы станка при нормальном натяжении основы скало совершает качательное движение относительно оси О, при этом установочные болты б1 и б2 отрегулированы так, что конец рычага-шатуна 9 свободно перемещается между этими болтами, а тяга 11 и вместе с ней кулиса 12 остаются неподвижными.

В условиях увеличивающего натяжения основы скало опускается, а конец рычага-шатуна 9 идет вверх, упирается в установочный болт б1 и несколько поднимает тягу 11. При этом кулиса 12 поворачивается по часовой стрелке относительно оси О1. Вследствие этого изменяется расстояние от пальца 13 до оси О1, так как прорезь кулисы выполнена, таким образом, что расстояние в нижней части кулисы меньше, чем в верхней. При движении тяги 11 конец кулисы с прорезью опускается, расстояние от пальца до оси О1 увеличивается и двуплечий рычаг 3 поворачивается против часовой стрелки. Ролик 2 переместится ближе к горке и продолжительность воздействия ролика на горку увеличится, а значит, увеличится время сцепления фрикционных дисков 15 и 16. В результате ведомый диск 15 повернется на больший угол, чем при нормальном натяжении основы и, следовательно, на больший угол повернется навой. Таким образом, при возрастании натяжения основы увеличивается ее отпуск с ткацкого навоя, и вследствие этого натяжение выравнивается.

С уменьшением диаметра намотки основы на навое угол поворота его должен все время увеличиваться, чтобы сохранить постоянную величину отпуска основы. Это происходит благодаря увеличению времени сцепления фрикционных дисков 15 и 16, так как по мере уменьшения диаметра намотки основы скало постоянно опускается и ролик 2 перемещается ближе к горке 17.

Рисунок 8 - Схема фрикционного основного регулятора

зависимого действия станка СТБ

7.       Предохранительные механизмы

На каждом ткацком станке, кроме основных механизмов, непосредственно участвующих в выработке ткани, установлен целый ряд предохранительных приспособлений и механизмов. Предохранительные приспособления предназначены для предупреждения пороков ткани в случае обрыва основной или уточной нити. Кроме того, отдельные предохранительные приспособления освобождают ткача от непрерывного наблюдения за работой станка, предупреждают поломки деталей станка.

По назначению предохранительные механизмы разделяются на две группы:

) механизмы, предупреждающие образование порока ткани - недосека (т. е. отсутствие утка в ткани). К этой группе относятся уточные контролеры и контролеры опушки ткани на бесчелночных станках, разоискатели, недосечник. Автоматические разоискатели применяются главным образом в шерстоткацком производстве на многочелночных станках;

) механизмы, предупреждающие образование порока ткани при обрыве основной нити; к ним относятся  основонаблюдатели, которые делятся на механические и электрические;

Все перечисленные механизмы при нарушениях автоматически останавливают станок.

.1 Уточные предохранители

Назначение уточных предохранителей - уточных контролеров и контролеров опушки ткани - состоит в том, чтобы при обрыве или сходе уточной нити с паковки предупредить возникновение пороков в ткани (недосек, прометок). Уточные предохранители при прекращении введения утка в зев останавливают станок.

На станках новых конструкций применяют боковые уточные контролеры электрического действия.

Принцип работы уточных предохранителей всех видов одинаков и состоит в том, что при наличии уточной нити в зоне ее контроля контролер утка сопротивлением натянутой уточной нити кинематически отключается от механизма выключения станка. При отсутствии уточной нити контролер  действует на механизм выключения станка, вызывая его останов.

Рассмотрим устройство и работу уточного контролера и контролера опушки ткани на станке АТПР.

Уточный контролер, расположенный с правой стороны станка на входе нити в правую рапиру, представляет собой металлическую петлю 1 (рис. 9, а), поддерживаемую в горизонтальном положении уточной нитью 2. При отсутствии уточной нити петля под действием собственной массы поворачивает ось 3. Контакт 4 также поворачивается до соприкосновения со штырем однополюсной вилки 5, замыкая его на корпус станка, что вызывает включение электромагнита останова станка.

Рисунок 9 - Схема уточной вилочки (а) и контролера опушки ткани (б) станка АТПР

Контролер опушки ткани (рис. 9, б) размещен на крышке левой шпарутки и представляет собой металлический пруток - щуп 8, посаженный на ось 10. Правый конец щупа пружиной 7 прижимается к поверхности ткани 9 на расстоянии 2- 4 уточин от опушки. При отсутствии утка опушка ткани перемещается влево и конец щупа 8 проходит между нитями основы. Щуп поворачивается вместе с валиком 10, и короткий конец 11 щупа 8 замыкается на однополюсную вилку 6. Замыкание цепи вызывает срабатывание электромагнита останова станка.

.2 Основные предохранители

Назначение основных предохранителей - основонаблюдателей - состоит в том, чтобы при обрыве одиночной нити основы остановить станок и предупредить появление порока в ткани - близн и подплетин.

По принципу действия основонаблюдатели делятся на два типа - механического и электрического действия, а по наличию органа, контролирующего целостность основной нити,- ламельные и безламельные.

Наибольшее распространение получили ламельные основонаблюдатели электрического действия на бесчелночных станках.

Основонаблюдатель электрического действия, установленный на станках типа СТБ устроен следующим образом. Максимальное число реек основонаблюдателя равно 6.

Ламельная рейка (рис. 10) представляет собой два электрических проводника - стальную обойму 12 и латунную шину 10, изолированных друг от друга диэлектриком 11. К проводникам подведено напряжение 12 В. На рейке прорезями 13 набраны ламели 9 в количестве, равном числу нитей основы.

Рисунок 10 - Схема рейки и ламели

Нижними открытыми прорезями 15 ламели насажены на нити основы 14, которыми ламели 9 удерживаются в приподнятом положении над рейками. При обрыве нити основы ламель под действием собственной массы падает и благодаря скошенному профилю верхней прорези 13 ламель замыкает проводники, включенные в электрическую цепь, и вызывает останов станка.

8.       Механизм для питания станка утком различных видов ткацкого станка СТБ

Для выработки некоторых тканей применяют уточную пряжу различного цвета, линейной плотности, крутки, структуры и т. д.

На ткацких станках СТБ для выработки ткани из различной уточной пряжи используют двух-, четырёх- и шестиуточные приборы. На рис. 11 представлена схема двухуточного прибора станка СТБ-2-216.

От приводного валика 1 через цепную передачу 2 получает вращение диск 3. На его торцовой поверхности расположены пальцы 4, которые передают вращение мальтийскому кресту 5. От него через шестерни Z1 и Z2 движение получает призма 6 с надетым на нее картоном 7.

Рисунок 11 - Схема двухуточного прибора станка СТБ

Картон состоит из шарнирно соединенных металлических пластин двух видов - овальной формы и с горкой. К картону пружиной прижимается ролик 8. При подходе пластины с горкой ролик отжимается в одном направлении, а при подходе овальной пластины - в другом. При этом поворачивается валик 9. Далее движение передается через зубчатый сектор 10 рычагу 11, который перемещает возвратчик утка. На линии прокладчика устанавливается возвратчик утка с нитью необходимого цвета.

Литература

Лабораторный практикум по механической технологии текстильных материалов / В. Ф. Галкин [и др. ] ; под ред. А. Г. Севостьянова. - 2-е изд. , перераб. и доп. - Москва : Легпромбытиздат, 1993. - 272 с.

механическая технология текстильных материалов: учебник для вузов / А. Г. Севостьянов [и др. ] ; под ред. А. Г. Севостьянова. - Москва : Легпромбытиздат, 1989. - 512 с.

Гордеев, В. А. Ткачество : учебник для вузов / В. А. Гордеев, П. В. Волков.  - 4-е изд., перераб. и доп.  - Москва : Легкая и пищевая промышленность, 1984. - 485 с.

Малафеев, Р. М., Машины текстильного производства. / Р. М. Малафеев, Ф. Ф. Светик - Москва : Машиностроение, 2002. - 496 с.

Башметов, В. С. Оборудование ткацкого производства на выставке ITMA-2003 : учебное пособие / В. С. Башметов, Т. П. Иванова, А. В. Башметов ; УО «ВГТУ». - Витебск, 2004. - 39 с.

Похожие работы на - Узлы и механизмы ткацкого станка

 

Не нашли материал для своей работы?
Поможем написать уникальную работу
Без плагиата!
Без нейросетей!