Методика изучения ископаемых организмов в континентальных и морских разрезах кайнозоя Дальнего Востока
Методика
изучения ископаемых организмов в континентальных и морских разрезах кайнозоя
Дальнего Востока
Реферат
Данная курсовая работа содержит 48 страниц
печатного текста, 32 рисунка и 40 литературных источников.
КАЙНОЗОЙ, ПАЛЕОНТОЛОГИЯ, МЕТОДИКА, ВОЗРАСТ,
ДАТИРОВАНИЕ, ИССЛЕДОВАНИЯ, ОБРАЗЦЫ, СВИТА, ГОРИЗОНТ, СПОСОБЫ, ОТМЫВКА.
Цель работы заключается в рассмотрении методики
изучения ископаемых организмов в континентальных и морских разрезах кайнозоя
Дальнего Востока.
Содержание
Введение
. Стратиграфия кайнозойских
отложений Приамурья
.1 Палеогеновая система
.1.1 Палеоцен
.1.2 Эоцен
.1.3 Олигоцен
.2 Неогеновая система
.2.1 Миоцен
.2.2 Плиоцен
.3 Четвертичная система
.3.1 Эоплейстоцен
. Методика изучения ископаемых
организмов
.1 Радиолярии
.2 Фораминиферы
.3 Диатомовые водоросли
.4 Моллюски
.5 Флора
Заключение
Список литературы
Введение
кайнозойский приамурье ископаемый
палеогеновый
Геология кайнозоя континентальной части Дальнего
Востока характеризуется повышенной сложностью, прежде всего из-за отсутствия
морских составляющих в коррелятных отложениях палеогена-неогена, а также
территориальной разобщенности отдельных звеньев общего разреза при значительном
их сходстве как по литологическому облику, так и по составу соответствующих
палеофлор.
Палеонтология - это наука об ископаемых
организмах. Из-за специфики и разнообразия изучаемых объектов палеонтология
использует множество различных методов. Палеонтологические данные позволяют
выяснить генезис вмещающих горных пород, восстановить условия древних
бассейнов, их географические особенности, воссоздать историю региона в тот или
иной период, установить относительный возраст горных пород, а это значит, что
они тем самым составляют основу исторической геологии. Поэтому палеонтологию
следует поставить на первое место среди наук, непосредственно связанных с
исследованием эволюции органического мира.
1. Стратиграфия кайнозойских отложений Приамурья
Кайнозойская эра - последний крупный этап
геологической истории, продолжающийся по настоящее время [3].
В настоящее время в стратиграфической схеме
континентальной части юга Дальнего Востока выделяют 13 горизонтов:
Верхнецагаянский, Кивдинский, Угловский, Надеждинский, Усть-давыдовский,
Павловский, Синеутесовский, Нежинский, Новокачалинский, Усть-суйфунский,
Шуфанский, Анненский и Суйфунский. Границы большинства горизонтов в схеме
приняты совпадающими с границами подотделов и ярусов общей стратиграфической
шкалы, хотя характеризующие их свиты обнаруживают в ряде случаев более сложные
взаимоотношения с ними. В качестве мел/палеогеновой границы в Верхнем Приамурье
принят рубеж, разделяющий средне- и верхнецагаянскую подсвиты в разрезе
континентальных угленосных отложений Зейско-Буреинской впадины (рисунок 1). В
Приморье этой границе отвечает подошва тахобинской свиты, залегающей с размывом
на верхнемеловой левособолевской свите [7].
.1 Палеогеновая система
.1.1 Палеоцен
В составе палеоцена Верхнего Приамурья
выделяется два региональных горизонта: Верхнецагаянский и Кивдинский.
Верхнецагаянский горизонт характеризуется
верхнецагаянской подсвитой, залегающей с размывом на отложениях среднего
цагаяна.
Разрез подсвиты на правобережье р. Буреи ниже
впадения в нее р. Дармакан включает три литологические пачки, в составе которых
преобладают пески, гравийники, а в основании разреза - галечники, отмечаются
кроме того угольные пласты. Общая мощность - 65 м [7].
Возраст верхнего цагаяна, согласно В.А.
Красилову, соответствует верхнедатскому подъярусу (датскому), что составляет
4,4 млн. лет [8].
В верхнецагаянской палинофлоре высока роль
морфологических групп, близких к сосновым и кипарисовым, при одновременном
сокращении участия таксодиевых. В Приморье аналогом верхнецагаянской подсвиты
является тахобинская свита, залегающая на коре выветривания, развитой в кровле
левособолевских эффузивов. В разрезе свиты песчаники чередуются с алевролитами,
туфами и туффитами. Мощность свиты примерно 100 м [27].
Кивдинский горизонт характеризуется одноименной
свитой, распространенной в пределах Зейско-Буреинской депрессии. Согласно данным
А.М. Нарышкиной (1973), слои кивдинской свиты залегают с постепенным переходом
на верхнецагаянской подсвите. В ее составе выделены две толщи (снизу): первая -
преимущественно песчаниковая и вторая - глинистая с угольными пластами. Общая
мощность свиты составляет 34-52 метра. Возраст свиты соответствует позднему
данию. В спорово-пыльцевом комплексе преобладают голосеменные. В Приморье
кивдинскому горизонту отвечает тадушинская свита с "березовым"
фитокомплексом [7].
.1.2 Эоцен
В стратиграфической схеме уровню эоцена отвечают
три горизонта: Угловский, Надеждинский, Усть-Давыдовский.
Угловский горизонт характеризуется угловской
свитой (п-ов Речной, Артемо-Тавричанская впадина). Свита залегает с размывом на
нижнемеловых углистых сланцах. Базальный слой, маломощный, сложен кремнистой
галькой и угловатыми обломками подстилающих пород в глинистом заполнителе.
Разрез наращивается толщей мелко- и среднезернистых песчаников и
туфоалевролитов с прослоями сидеритовых конкреций, с шестью пластами бурого
угля. Переход к вышезалегающей надеждинской свите постепенный, по появлению
коричнево-серых алевролитов и аргиллитов. Мощность свиты - 230 метров. В
стратиграфической схеме возраст свиты рассматривается в широком интервале:
поздний палеоцен - ранний олигоцен (55,8 - 33,9 млн. лет) [7].
Надеждинский горизонт отличается одноименной
свитой, стратотип которой на п-ове Речной непосредственно наращивает угловскую
свиту. Первоначально этот стратон именовался глинисто-сланцевой толщей. В
составе Надеждинской свиты преобладают коричнево-серые и кремово-серые
слаботуфогенные аргиллиты и алевролиты. В породах свиты отмечается ракушечный
детрит, плохо сохранившиеся раковины пресноводных двустворчатых моллюсков и
гастропод, присутствуют сидеритовые конкреции. В последних нередко обнаруживаются
растительные остатки, включая отпечатки листьев. Мощность надеждинской свиты
380 м [27].
Усть-Давыдовский горизонт, характеризуемый
одноименной свитой, включен в перечень региональных стратонов на Втором
Дальневосточном стратиграфическом совещании от 1971 года. Палеогеновый возраст
свиты был пересмотрен Б.М. Штемпелем на IV Дальневосточном МРСС (Хабаровск,
1990 г.) в сторону существенного омоложения (ранний-средний миоцен) [27]. Свита
сложена ритмично чередующимися песчаниками, алевролитами, в средней части
отмечается слой мелкогалечного конгломерата, выше в кровле ритмов появляются
прослои лигнитизированных растительных остатков. В верхней части свиты роль
песчаников в разрезе нарастает. Отмечаются полурастворенные раковины моллюсков,
довольно часты сидеритовые конкреции. Мощность свиты, согласно Г.М. Власову,
достигает 670 м [7].
.1.3 Олигоцен
Павловский горизонт подразделяется на два
подгоризонта: нижний, безугольный и верхний, угленосный.
К нижнему подгоризонту отнесены маломощные
(первые десятки метров) толщи туфоалевролитов с четко выраженной слоистостью,
отпечатками листьев и плодов, домиков ручейников, скелетов рыб. Текстурные
особенности пород и состав диатомовой флоры дают основание считать их озерными
образованиями. На территории Приморья указанные толщи известны в Хасанской,
Реттиховской, Кемской, Максимовской впадинах, а также в прибрежной полосе на
юге Хабаровского края [7].
Верхнему подгоризонту соответствуют угленосные
отложения ряда кайнозойских впадин, преимущественно в западной части Приморья.
Наиболее представительные разрезы известны в пределах структурно-формационных
зонах Ханкайского массива и Западно-Сихотэ-Алинской [27].
Третичные отложения (павловская свита)
подстилаются здесь выветрелыми до состояния дресвы палеозойскими гранитами и
перекрываются галечниками суйфунской свиты. Павловская свита, сложенная
алевролитами и песчаниками с четырьмя рабочими пластами угля, выполняет
мульдообразное понижение в фундаменте. Углы наклона нижнего пласта: первый на
флангах мульды достигают 20-25º. Мощность
свиты, составляющая 45-50 м, увеличивается к центру Павловской впадины до 300 м
[27].
.2 Неогеновая система
.2.1 Миоцен
Синеутесовский горизонт характеризуется
одноименной свитой, распространенной в Синеутесовской впадине (Юго-Западное Приморье).
В разрезе свиты выделяются четыре толщи (снизу):
) песчаники аркозовые светло-серые, залегающие
на выветрелых до состояния дресвы палеозойских гранитах и переходящие в
туфоалевролиты светло-кофейного цвета с тонкой субгоризонтальной слоистостью -
20 м;
) два пласта бурого угля, разделенные пачкой
белесых алевролитов и песчаников - 3 м;
) пачка чередующихся буровато-серых слегка
силицитизированных туфоалевролитов и светло-серых песчаников; в верхней части
появляются линзовидные прослои гравелитов - 10 м;
) пачка чередующихся гравелитов, мелких
галечников и песчаников с линзовидными прослоями желтовато-серых алевролитов -
50 м. Выше без признаков стратиграфического перерыва залегает мощный покров
базальтовых лав [27].
Горизонт характеризуется нежинской толщей,
вскрытой в эксплуатируемом буроугольном карьере в окрестностях с. Нежино. Толща
залегает с размывом на угольном пласте верхний угленосной толщи верхнего
олигоцена. Она сложена песчаниками, крепко сцементированными туфоалевролитами с
маломощным пластом рыхлого лигнитового угля в кровле. Мощность, составляющая
немногим более 5 м в пределах карьера, увеличивается к центральной части
Пушкинской впадины до первых десятков метров [27].
Новокачалинский горизонт залегает с размывом на
слабоугленосных отложениях верхнепавловского подгоризонта и перекрывается
красноцветными глинами верхнего плиоцена. В разрезе преобладают три типа пород:
галечники с песчано-глинистым туфогенным заполнителем, дресвяники (продукты
размыва кор выветривания) и тонкослоистые туфоалевролиты со спорадически
встречающимися гальками. В туфоалевролитах изредка отмечаются тонкие (первые
сантиметры) прослои угля и линзочки, переполненные растительным детритом. Слои
очень полого (первые градусы) наклонены к югу, юго-востоку. Мощность свиты
превышает 200 м [21].
Усть-суйфунский горизонт рассматривается
одноименной свитой, выделенной в окрестностях с. Раздольное. Свита подстилается
здесь толщей туфогенных песчаников и алевролитов. В разрезе свиты преобладают
галечники, подчиненную роль играют прослои туфопесков, туфоалевролитов и
пепловых туфов. Мощность - 40-45 м. Петрографический состав галек довольно
пестрый, но при явном преобладании обломков силицитизированных яшмовидных пород
(до 75% от общего числа в выборках). В легкой фракции постоянно отмечается
(10-80%) риодациты [7].
.2.2 Плиоцен
Шуфанский горизонт характеризуется средней
частью одноименной свиты. Стратотипической местностью для нее является
Шуфанское вулканическое плато в Южном Приморье [27]. Диапазон формирования
шуфанских базальтов охватывает интервал, как минимум, от второй половины
позднего миоцена до рубежа эоплейстоцен - ранний неоплейстоцен. Свита сложена
андезибазальтами с пакетами туфогенно-осадочных пород, образовавшихся в озерных
условиях. Мощность шуфанской свиты достигает 250 м [24].
Анненский горизонт или "пудинговая"
толща. Толща сформирована отложениями делювиально-пролювиально ряда фаций. Ее
мощность не превышает 7 м. Несмотря на небольшую мощность
"пудинговая" толща важна для стратиграфии верхнего кайнозоя Приморья,
т.к. она завершает третичную составляющую общего разреза кайнозоя. Ее возраст,
на основании палеомагнитных данных и находок остатков гиппарионовой фауны
отвечает позднему плиоцену [7].
.3 Четвертичная система
.3.1 Эоплейстоцен
Суйфунский горизонт характеризуется одноименной
свитой, распространенной в бассейне р. Раздольной в ее среднем течении. В
типовой местности она залегает с четко выраженным эрозионным несогласием на
породах различного состава и возраста от палеозойских гранитов до миоценовых слабоугленосных
туфогенных отложений и красноцветов "пудинговой" толщи. Свиту слагают
косолоистые галечники с линзами зеленовато-серых песков и глин, с
многочисленными фрагментами древесины. Мощность свиты меняется в пределах 10-65
м. Возраст ее, по результатам палеомагнитных измерений и комплексу растительных
остатков, отвечает эоплейстоцену [7].
Рисунок 1 - Корреляционная стратиграфическая
схема позднемеловых и кайнозойских отложений Верхнего Приамурья [5]
2. Методика изучения ископаемых организмов
Всякое исследование палеонтологических
ископаемых, естественно, начинается с тщательного изучения разрезов и отбора
образцов через определенные интервалы. Подобно любым геологическим
исследованиям, изучение ископаемых состоит из следующих этапов: полевые сборы
материала; химико-техническая (препарирование) обработка найденных образцов и
научная обработка [2]. Хотя не существует универсального метода отбора образцов
для палеонтологических исследований (все зависит от конкретных условий
исследования), необходимо соблюдать некоторые общие правила. Наиболее важная
общая рекомендация состоит в том, что собранный материал всегда должен быть
чистым, он должен быть задокументирован, координаты точки точно определены [6].
К радиоляриям относятся микроскопические
саркодовые с кремневым скелетом. Все они являются планктонными организмами и
отличаются большим разнообразием, особенно в тропических морях. Радиолярии
имеют изящный, сложно построенный скелет шарообразной или звездчатой формы,
реже в виде колокола, который является опорой для протоплазмы и придает
определенную форму телу радиолярии (рисунок 2) [4].
Современные радиолярии - обитатели открытого
моря, редко достигающие прибрежных районов. Раковины радиолярий концентрируются
преимущественно в осадках, которые накапливаются на континентальном склоне и
примыкающих к нему участках как больших, так и меньших глубин.
Таким образом, поиски радиолярий лучше всего
вести в отложениях, накапливавшихся в глубоких частях шельфа или на еще более
значительных глубинах нормального открытого морского бассейна. Меловые и
кайнозойские отложения, в которых преобладают планктонные фораминиферы,
наиболее благоприятны для поисков радиолярий. Поскольку радиолярии очень редко
распознаются непосредственно в поле, сбор образцов обычно проводится
"вслепую" [6].
Рисунок 2 - Скелеты радиолярий [38]
Большинство работ, выполненных по радиоляриям,
основано на изучении их сечений в шлифах. Это не лучший метод исследования, но
его приходится применять, если породы, вмещающие радиолярии, сильно окремнены.
Образцы таких пород расшлифовывают обычным способом. Следует иметь в виду два
обстоятельства: во-первых, шлифы должны быть как можно более толстыми, с тем
чтобы большее число радиолярий заключалось в пределах толщины шлифа, и,
во-вторых, тщательная полировка обеих поверхностей шлифа полностью
оправдывается при их дальнейшем изучении. Наиболее распространенная ошибка при
изготовлении шлифов с ископаемыми заключается в том, что шлифы последовательно
не полируют абразивными порошками различных номеров [6].
Раковины радиолярий сложены опалом, что дает им
преимущество при выделении из пород благодаря стойкости кремнезема. Любая
кислота, кроме плавиковой (водный раствор фтороводорода, HF), используется для
разрушения вмещающих пород путем растворения карбонатов [6].
Щелочи способствуют разрушению и диспергированию
глин, но слишком сильные их растворы разрушают раковины радиолярий. Поэтому при
кипячении породы в щелочах следует проявлять большую осторожность, чтобы
концентрация раствора в результате испарения не поднялась выше допустимо"
инструкцией. Если поверхность раковин после обработки окажется корродированной,
можно предполагать, что раствор щелочи был слишком концентрированным [6].
Обработка 30%-ным раствором перекиси водорода
или азотной кислотой проводится для окисления органического вещества,
содержащегося в породе. Органическое вещество, прилипая к раковинам или
способствуя прилипанию к ним глинистых частиц, скрывает строение радиолярий.
Перекись водорода, кроме того, является сильным механическим агентом, очищающим
радиолярии, и по возможности должна всегда использоваться[6].
Отмытые водой раковины радиолярий при высыхании
часто склеиваются между собой из-за присутствия солей или глинистых частиц на
их поверхности. Это явление устраняется обезвоживанием образца ацетоном
следующим методом:
. Раздробите образец на кусочки размером
менее 0,5 см. Для этого рекомендуется металлическая ступка, причем при
дроблении пестик двигают только в вертикальном направлении. Не следует
растирать образец или пытаться обработать сразу более 2,5 см3
породы, так как это приводит к нежелательному превращению значительной ее части
в порошок. Ступку после каждой операции следует тщательно очистить.
. В 400-мл стакан поместите такое
количество раздробленного образца, чтобы было покрыто дно (25-30 г). Налейте
около 50 мл спирта, а затем 50 мл концентрированной технически чистой соляной
кислоты. При обработке слабо известковистых пород спирт можно не добавлять.
Когда реакция замедлится, стакан наполовину залейте водой, покройте стеклом и
поставьте на горячую плиту. Содержимое кипятите 10-30 мин.
. Снимите стаканы с горячей плиты и
оставьте их на 10 мин. Слейте кислоту по возможности полностью. Залейте стакан
на 2/3 водой, энергично перемешайте и оставьте на 5-10 мин. Снова вылейте и еще
раз налейте полстакана воды.
. Осторожно добавьте порошок углекислого
натрия (Na2СО3),
энергично перемешивая до нейтрализации кислоты, на что укажет прекращение выделения
пузырьков газа. Увеличьте концентрацию Na2C03,
прибавив половину чайной ложки или немного больше этого реактива. Затем
опустите 10-12 таблеток едкого натрия (NaOH).
Залейте стакан водой на 2/3, покройте его стеклом и поставьте на горячую плиту.
Даже наиболее легко разрушаемые образцы должны кипеть по крайней мере полчаса.
Образцы туфов почти не изменялись после такого кипячения, зато они полностью
проваривались за 24 ч (три рабочих дня). Весь этот процесс не разрушает образцы
полностью, но освобождает из породы достаточное количество радиолярий, чтобы
набрать хороший комплекс.
Если после столь длительной обработки не будут
получены положительные результаты, то в таком случае материал вряд ли пригоден
для извлечения радиолярий.
. Когда образец будет достаточно
дезинтегрирован, снимите его с горячей плиты и поместите на сито не крупнее 200
меш. Отберите все крупные неразрушившиеся куски породы. Применяя водяной
распылитель, осторожно отмывайте осадок до тех пор, пока вода, проходящая через
сито, не станет чистой. Нельзя тереть осадок о сетку.
. Используя водяной распылитель,
осторожно смойте осадок обратно в тот же стакан. После того как он отстоится,
слейте воду.
. Добавьте ацетон в количестве, равном
двойному объему осадка, слегка перемешайте и слейте. Повторите эту операцию.
. Высушите осадок на слабом жару.
. Добавьте 30%-ный раствор перекиси
водорода (H2O2)
в таком количестве, чтобы уровень его был выше осадка. Нагрейте содержимое до
начала энергичного выделения пузырьков газа, затем снимите стакан с плиты и
ждите прекращения образования пузырьков. Налейте воды до образования 10%-ного
раствора H2O2. Покройте стакан стеклом и кипятите содержимое 30 мин.
. Повторите операции 5, 6, 7 и 8, но в
операции 6 слейте осадок в чашку Петри (рисунок 3) .Образец готов для изучения.
. Ацетон, использованный в операциях 7 и
10, слейте в бутыль и сохраните. Его можно очистить с минимальными потерями
путем перегонки.
. Никогда не следует использовать
фильтровальную бумагу для сбора осадков с радиоляриями, так как раковины
прилипают к бумаге [6].
Рисунок 3 - Чашка Петри [39]
Подготовка препарат с помощью насыпки. При
определении известной фауны предпочтительно делать насыпку отмытого осадка на
предметное стекло[6]. Метод следующий:
. Предметное стекло размером 2,5x7,5
см тщательно протрите. Нанесите пять капель раствора гуммиарабика или
трагаканта таким образом, чтобы четыре его капли находились па расстоянии 0,3
см от каждого угла покровного стекла, а одна располагалась в центре.
. В каждое кашпо поместите по
карборундовому или алундовому зерну размером 50 меш (можно было бы поместить
фораминиферу), чтобы держать покровное стекло выше раковин хрупких радиолярий.
(Если осадок содержит песчаные зерна сравнимых с карборундом размеров, то операции
1 и 2 опускаются.) После этого предметное стекло можно подсушить.
. На чистую поверхность между зернами
карборунда нанесите такое количество консервирующей среды, чтобы пространство
под покровным стеклом было полностью ею покрыто. Среду, которую надо
приготовлять или расплавлять, как, например, канадский бальзам, использовать не
стоит. Можно рекомендовать консервирующую среду текникон.
. На консервирующую среду насыпают слой
отмытого осадка толщиной, не превышающей одно зерно или раковину после равномерного
распределения его под покровным стеклом. Избыток осадка приведет к тому, что
раковины будут нагромождаться одна па другую, затрудняя определение. Лучше
использовать меньше осадка и сделать хороший препарат. Если осадок содержит
грубые частицы породы, они должны быть отсеяны до начала этой операции.
. Пользуясь чистой иглой, осторожно и
тщательно перемешайте осадок в консервирующей среде, уничтожая все пузырьки.
. Протрите покровное стекло и осторожно
опустите его на место. Добейтесь, чтобы избыток среды выступил но краям
покровного стекла. Если среда не выступает, следует добавить ее вокруг стекла
медицинской пипеткой или стеклянной палочкой.
. Готовый препарат можно оставить на всю
ночь. Это позволит среде проникнуть в раковины радиолярий, а ее избытку
подсохнуть.
. При хранении располагайте препараты
горизонтально. Если они хранятся на боку, радиолярии станут постепенно
смещаться вниз к краю стекла, разрушая готовый препарат [6].
Радиолярии следует изучать в проходящем свете
при довольно большом увеличении, которое достигается на биологическом или
петрографическом микроскопе. При изучении радиолярий исследуются детали
структур размером менее микрона. Малое увеличение (х100) применяется для
сканирующих препаратов, обычно же исследование проводится успешнее при
увеличениях более 400-500. Вертикальный осветитель металлографического типа не
дает особых преимуществ. Для успешного изучения радиолярии должны быть
абсолютно чистыми. Если под бинокуляром не видно блистающих чистотой раковин,
осадок должен быть еще раз прокипячен в щелочи [6].
.2 Фораминиферы
В морях и океанах у поверхности воды и на дне
обитают раковинные одноклеточные организмы, которые относятся к типу простейших
и называются фораминиферами (рисунок 4). Это очень древние организмы. Самые ранние
находки фораминифер известны из кембрийских отложений
Рисунок 4 - Фораминифер Лагенида [2]
К фораминиферам относится большинство саркодовых
с раковиной, пронизанной множеством мелких пор - фораменов (отсюда название
"фораминиферы" - несущие отверстия), через которые выходят тончайшие
нитевидные псевдоподии [4]. Название "простейшие" применительно к
фораминиферам не означает "примитивные". Фораминиферы - эукариотные
организмы, а это значит, что их четко оформленное ядро отделено оболочкой от
цитоплазмы и ядерная ДНК заключена в хромосомах. Прежде всего, по этой причине
они относятся к царству животных [9].
Фораминиферы одноклеточные, поэтому ни тканей,
ни тем более органов у них не существует (рисунок 5). Тело фораминифер состоит
из цитоплазмы. Различные физиологические функции - захват пищи, ее
переваривание, выделение, дыхание, размножение, передвижение и др. - выполняют
отдельные внутриклеточные цитоплазматические структуры (органоиды), а
координация этих функций осуществляется самой же цитоплазмой [9].
Рисунок 5 - Фораминифер Нуммулитида [2]
По размерам раковины фораминиферы делятся на
мелкие (до 1 мм) и крупные (свыше 1 мм). Среди мелких выделяются планктонные и
бентосные формы (рисунок 6), крупные принадлежат к бентосу (рисунок 7).
Основным критерием классификации ископаемых фораминифер является строение
раковины [7].
Рисунок 6 - Мелкий планктонный фораминифер
Глобигеринида [2]
Рисунок 7 - Крупный бентосный фораминифер
Роталиида [2]
Отбор образцов мелких фораминифер приводят двумя
способами: бороздовым и точечным. В первом случае в обнажении или на
искусственно вскрытой поверхности пород делается борозда, из которой отбирается
проба в пределах заданных стратиграфических интервалов (обычно от 0,6 до 3,0
м). Бороздовый способ гарантирует включение в пробу ископаемых из всех слоев в
данном интервале отбора, но увеличивает опасность засорения образцов. При
точечном способе образцы отбираются на определенных стратиграфических уровнях,
что дает возможность произвести более тщательный отбор фауны из нужных слоев.
Образцы при этом способе легче отбирать, а опасность засорения уменьшается
из-за сокращения площади поверхности, с которой берется проба. Однако при
точечном способе часть слоев неизбежно пропускают, поэтому уверенность в
получении полного фаунистического комплекса данного интервала отсутствует [6].
Породы кайнозойского возраста разрушаются без
сложной обработки. Некоторые из них, чистые и рыхлые, можно просеять в сухом
виде и изучать без отмывки. Вес пробы может изменяться от нескольких граммов до
нескольких килограммов. Обычно обрабатывается только часть пробы, а остаток
используется в качестве резерва для поиска других микроископаемых.
Отмывка очень важная процедура для обработки
образцов. Некоторые образцы можно отмыть без предварительного замачивания за
сравнительно короткое время, другие следует залить водой на несколько часов или
на всю ночь. Слабое кипячение в обычной воде или с небольшим количеством соды в
течение часа ускоряет процесс разрушения. Перекись водорода (30%-ный раствор,
разбавленный до 15%) - очень эффективное средство для пропитывания глинистых
образцов [6].
При отмывке породы на сите используется гибкий
резиновый шланг около 9,5 мм в диаметре. Обычно материал, предназначенный для
отмывки, помещают непосредственно на сито 200 меш, но если в нем содержится
крупная галька или обломки раковин, которые портят сито и разбрызгивают струю
воды, сверху ставится еще сито 10 меш. Крупные куски породы растирают руками,
после чего породу отмывают на сите 200 меш. Струю перемещают по направлению к
центру сита: сильное давление воды, направленное к краю, может выплеснуть
осадок [6].
Для переноса отмытого образца в посуду для сушки
весь осадок собирают на краю сита с помощью очень слабой струи и смывают его в
чашку или ковш. Слив лишней воды производится только обратно на то же сито.
Затем снова смывают осадок слабой струей, стараясь, чтобы в посуде для сушки
осталось минимальное количество воды. Сушить пробы следует в сушильном шкафу
при температуре около 70°С [6].
Просмотр под бинокуляром будет более
эффективным, если осадок просеян на несколько фракций. В противном случае
мелкие формы могут оказаться закрытыми крупными экземплярами. Просеянные
образцы для отбора следует рассыпать тонким слоем на черной пластинке,
предпочтительно не из картона. Если пластинка разлинована светлыми полосами для
ориентировки, это позволит во время перемещения пластинки под бинокуляром легко
следить за уже просмотренной частью осадка. Перемешивание осадка на пластинке
производится тонкой иглой. Отобранные из образца раковины обычно помещают в
картонную камеру или в серию камер в зависимости от размеров фауны. Дно такой камеры
разлиновано на 30 или 60 квадратов. Размеры раковин обусловливают глубину камер
[19].
Крупные послепалеозойские фораминиферы связаны
преимущественно с кайнозойскими толщами. Все они по происхождению морские формы
и, очевидно, обитали на дне сравнительно мелких и теплых водоемов. Наружное
строение многих послепалеозойских форм имеет таксономическое значение.
Отдельные крупные экземпляры или плитки породы с видными на них раковинами
должны быть завернуты для защиты от повреждения. Другие образцы только
завертывают в вату, и в таком виде они хорошо сохраняются в мешочках во время
транспортировки [19].
Крупные фораминиферы изучают главным образом в
шлифах. Но и на выделенных из породы экземплярах можно изучить внешние
признаки, пригодные для систематики. Крупные фораминиферы отмывают из породы
тем же способом, что и мелкие. После отмывки высушенные экземпляры готовы для
изучения их внешних признаков и для шлифования. Когда имеются выделенные из
породы экземпляры, из них сравнительно легко изготовить ориентированные шлифы.
Каплю канадского бальзама или маленький кусочек термопластика помещают на
предметное стекло и нагревают его. Затем в эту среду опускают раковину.
Препарат кладут на столик микроскопа с небольшим увеличением или под лупу и
располагают плоскость, по которой хотят шлифовать раковину, параллельно
плоскости стекла, используя для этой манипуляции иглу или зубочистку.
Необходимо постоянное наблюдение за ходом шлифования. В случае необходимости
коррекция ориентации делается путем слабого нагревания препарата и установки
экземпляра. Когда раковина пришлифуется до нужной плоскости, ее переворачивают,
предварительно нагрев препарат. Если среда засоряется шлифовальным порошком,
раковину можно переложить на новое предметное стекло со свежей закрепляющей средой.
Очень важно на этой стадии работы удалить все пузырьки и обеспечить контакт
между стеклом и пришлифованной поверхностью экземпляра. Если среду перегреть,
она закипит, образуя пузырьки, или сделается такой хрупкой, что может
раскрошиться до того, как сечение станет достаточно тонким. Окончательное
шлифование, как и в других случаях, заключается в осторожном доведении
экземпляра до такой толщины, когда будет видно максимальное число деталей [6].
.3 Диатомовые водоросли
Тип диатомовые водоросли (DIATOMEA)
(от греч. di- два, tome- разрез, рассечение), или Бациллярии (bacillum -
палочка) [10]. Диатомовые водоросли - это одноклеточные микроскопические
одиночные организмы, реже колониальные. Клетки диатомей окружены панцирем из
кремнезема, состоящим из двух створок (рисунок 8). Панцирь пронизан мельчайшими
порами, через которые происходит обмен с внешней средой. Большинство диатомовых
ведут планктонный образ жизни преимущественно в областях умеренного или
холодного климата. Первые диатомовые появились в юрских морях и получили
широкое распространение в меловом и палеогеновом периодах. Массовые скопления
их створок образуют кремнистую породу - диатомит, а на дне современных морей -
диатомовые илы [4].
Существующие методы сбора и изучения водорослей
многообразны. Это определяется как эколого-морфологическим своеобразием
представителей различных отделов и экологических группировок, так и
разнообразием целей и подходов к их изучению [11].
Рисунок 8 - Диатомовые водоросли [29]
Выбор метода отбора проб фитопланктона зависит
от типа водоема, степени развития водорослей, задач исследования, имеющихся в
наличии приборов, оборудования и т. п. Одним из таких методов является
фильтрование воды через планктонные сети различной конструкции (рисунок 9)
[11].
Рисунок 9 - Планктонные сети: 1-3 - сети
Апштейна; 4 - сеть Берджа;
- стаканчик к ней; 6 - цилиндрическая сеть
("цеппелин") [12]
Планктонная сеть состоит из латунного кольца и
пришитого к нему конического мешка из мельничного шелкового или капронового
сита или иного типа. К узкому выходному отверстию плотно прикрепляется
стаканчик, который имеет выводную трубку, закрытую краном или зажимом Мора. При
сборе планктона поверхностных слоев воды планктонную сеть опускают в воду так,
чтобы верхнее отверстие сети находилось на 5-10 см над ее поверхностью.
Литровой кружкой черпают воду из поверхностного слоя (до 15-20 см глубины) и
выливают ее в сеть, отфильтровывая, таким образом, 50-100 л воды [11].
Закончив сбор планктона, планктонную сеть
прополаскивают, опуская ее несколько раз в воду до верхнего кольца, чтобы
отмыть водоросли, задержавшиеся на внутренней поверхности сети.
Сконцентрированную таким образом пробу планктона, находящуюся в стаканчике планктонной
сети, сливают через выводную трубку в заранее приготовленную чистую баночку или
бутылку. Сетяные пробы планктона можно изучать в живом и фиксированном
состоянии [11].
Для количественного учета фитопланктона
производят отбор проб определенного объема. Для этих целей могут быть
использованы и сетяные сборы (при условии обязательного учета количества
отфильтрованной через сеть воды) или специальные приборы - батометры
разнообразной конструкции (рисунок 10) [11].
Рисунок 10 - Приборы для сбора количественных
проб фитопланктона:
Сгущение количественных проб фитопланктона можно
осуществлять тремя методами, дающими примерно одинаковые результаты -
осадочным, фильтрационным и центрифугированием [25].
Сгущение проб осадочным методом проводят после
их предварительной фиксации и отстаивания в темном месте в течение 15-20 дней
путем отсасывания среднего слоя воды с помощью стеклянной трубки. Отсасывание
проводят медленно и осторожно, чтобы не допустить нарушения осадка и
засасывания поверхностного слоя пробы. Сгущенную таким способом пробу
взбалтывают и, замерив, ее объем, переносят в сосуд меньшего размера [25].
При сгущении проб фильтрационным методом
используют "предварительные", а, при необходимости (если размеры
планктонных организмов очень малы), и бактериальные фильтры. При этом пробы
воды предварительно не фиксируют, и фитопланктон изучают в живом состоянии. Для
длительного хранения фильтр с осадком фиксируют в определенном объеме жидкости
[25].
Метод центрифугирования применяется обычно для
концентрации живого материала проб, в которых плотность природного
фитопланктона достаточно низка и прямое микроскопирование содержимого выборки
затруднено. Этот метод позволяет сконцентрировать пробу в 10-50 раз [25].
Существующие методы отбора проб фитобентоса
предусматривают сбор водорослей, обитающих на поверхности донных грунтов и
отложений, в их толще (глубиной до 1 см) и в специфическом придонном слое воды
толщиной 2-3 см. Для изучения видового состава фитобентоса достаточно извлечь
на поверхность некоторое количество донного грунта с отложениями. На мелководье
(до 0,5-1,0 м глубины) это достигается с помощью опущенной на дно пробирки или
сифона - резинового шланга со стеклянными трубками на концах, в который
засасывают наилок (рисунок 11) [11]. (Наилок - глинисто алевритовый материал,
переносимый рекой во взвешенном состоянии [13]). На больших глубинах
качественные пробы отбирают с помощью ведерка или стакана, прикрепленного к
палке, а также различными грабельками, "кошками", драгами,
дночерпателями, илососами, из которых наиболее прост в изготовлении и удобен в
работе илосос Перфильева (рисунок 10). Основная часть этого прибора -
U-образная трубка с неравными концами. К короткому концу трубки подведена
тонкая металлическая трубочка, к которой присоединен длинный резиновый шланг с
зажимом на свободном конце. На этом же конце U-образной трубки с помощью
резиновой пробки закреплена широкогорлая склянка. На длинном открытом конце
трубки прикреплен груз. Прибор с помощью веревки опускают на дно водоема, где
под действием груза длинный конец U-образной трубки врезается в толщу донных
отложений; после этого конец резинового шланга, оставшийся на поверхности,
освобождают от зажима, давая выход воздуху, и ил с силой засасывается в банку
через длинный конец трубки. Затем прибор извлекают на поверхность, и содержимое
банки переносят в приготовленную для пробы посуду [11].
Рисунок 11 - Приборы для сбора проб фитобентоса:
1 - сифон; 2 - илосос Перфильева; 3 - стакан для ила; 4 - ведро для ила;
5-грабельки; 6-"кошка" [1]
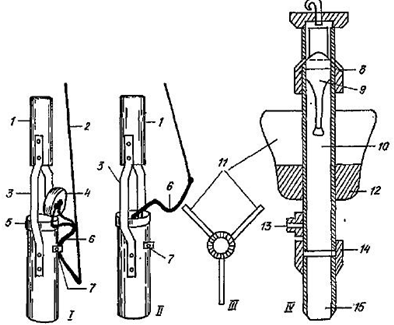
Для отбора количественных проб фитобентоса
используют микробентометр Владимировой (рисунок 12). Основная часть его -
латунная трубка длиной 25-30 см с внутренним диаметром 4-5 см, на основании
которого рассчитывают площадь внутреннего сечения трубки. На верхнем конце этой
трубки находится втулка с конусообразной воронкой, в которую на рычаге
герметически входит притертая крышка-клапан [11].
Рисунок 12 - Микробентометры Владимировой в
открытом (I) и закрытом (II)
виде. Микробентометры Травянко и Евдокимовой в поперечном (III)
и продольном (IV) сечении: 1
-железная трубка, соединяющая с разборной штангой; 2 - шнур; 3 - кронштейн; 4 -
крышка-клапан; 5 - втулка с конусом; 6 - рычаг; 7 - зажим-пружина; 8 -
клапанная пробка; 9 -клапан; 10 - основное тело микробентометра; 11 - лопасти
стабилизатора; 12 - свинцовый груз; 13 - штуцер для слива придонного слоя воды;
14 - переходная муфта; 15 - трубчатый нож [1]
Трубку с открытой крышкой на разборной
деревянной штанге опускают на дно и врезают заточенным нижним концом в толщу
донного грунта на несколько сантиметров. Потянув за веревку, закрепленную на
свободном конце рычага, закрывают верхнюю втулку трубки крышкой, после чего
прибор осторожно извлекают на поверхность. При выходе трубки из воды нижнее
отверстие трубки закрывают ладонью, чтобы не допустить выпадения грунта. Открыв
крышку, осторожно сливают верхние слои воды в стеклянную посуду до появления
мути. Эту первую порцию воды, содержащую планктонные организмы, выливают за
борт. Оставшиеся в трубке воду, ил и грунт легко встряхивают и переносят в
приготовленную для пробы посуду, предварительно замерив ее объем.
Микробентометр Владимировой удобен в работе на глубинах 2,0-2,5 м. Модели
микробентометра предложены также В. С. Травянко и Л. В. Евдокимовой (рисунок
13) [11].
Рисунок 13 - Микробентометр Травянко и
Евдокимовой [30]
Весь собранный материал делят на две части с
целью дальнейшего изучения водорослей в живом и фиксированном состоянии. Живой
материал помещают в стерильные стеклянные сосуды, пробирки, колбы, баночки,
закрытые ватными пробками, не заполняя их доверху, или в стерильные бумажные
пакеты [11].
Материал, подлежащий фиксации, помещают в чисто
вымытую и высушенную нестерильную стеклянную посуду (пробирки, бутылки,
баночки), плотно закрытую резиновыми или корковыми пробками. Водные пробы
фиксируют 40%-м формальдегидом, который добавляют к пробе в соотношении 1:10.
Водоросли, находящиеся на твердом субстрате (на бумажных фильтрах, гальке,
пустых раковинах моллюсков и т. п.), заливают 4%-м раствором формальдегида.
Хорошую сохранность водорослей и их окраски обеспечивает также раствор
формальдегида и хромовых квасцов (5 мл 4% -го формальдегида и 10 г К2SO4*Сr2(SO4)3*24H2O
в 500 мл воды) [11].
В полевых условиях можно также использовать
раствор йода с иодидом калия (10 г КJ растворяют в 100 мл воды, добавляют 3 г
кристаллического йода и еще 100 мл воды, встряхивают до полного растворения
кристаллов, хранят в темной склянке в течение нескольких месяцев), который
добавляют к пробе в соотношении 1:5. Герметически закупоренные фиксированные
пробы можно хранить в темном месте в течение длительного времени [11].
Все собранные пробы тщательно этикетируют. На
этикетках указывают номер пробы, время и место сбора и фамилию сборщика. Эти же
данные параллельно фиксируют в полевом дневнике, в который, кроме того, заносят
результаты измерений рН, температуры воды и воздуха и другие наблюдения.
Собранный материал предварительно просматривают
под микроскопом в живом состоянии в день сбора, чтобы отметить качественное
состояние водорослей до наступления изменений, вызванных хранением живого
материала или фиксацией проб (образование репродуктивных клеток, разрушение
клеток, колоний, потеря жгутиков и подвижности и т. д.). В дальнейшем собранный
материал продолжают изучать параллельно в живом и фиксированном состоянии [11].
Водоросли в живом состоянии в зависимости от их
размеров и других особенностей изучают с помощью бинокулярной стереоскопической
лупы (МБС-1) или чаще с помощью микроскопов.
Для микроскопического изучения водорослей
готовят препараты: на предметное стекло наносят каплю исследуемой жидкости и
накрывают ее покровным стеклом. При длительном изучении препарата жидкость под
покровным стеклом постепенно подсыхает, и ее следует добавлять. Для уменьшения
испарения по краям покровного стекла наносят тонкий слой парафина [11].
При необходимости длительных наблюдений над
одним и тем же объектом хороший результат дает метод висячей капли (рисунок
14). На чистое покровное стекло наносят маленькую каплю исследуемой жидкости, после
чего покровное стекло, края которого покрыты парафином, парафиновым маслом или
вазелином, накладывают каплей вниз на специальное предметное стекло с лункой
посередине так, чтобы капля не касалась дна лунки. Такой препарат можно изучать
в течение нескольких месяцев, сохраняя его в перерывах между работой во влажной
камере [11].
Рисунок 14 - Приготовление препарата методом
висячей капли: 1 - предметное стекло с лункой; 2 - покровное стекло с
нанесенной на него каплей исследуемой жидкости; 3 - покровное стекло с каплей,
накрытое предметным стеклом; 4 - готовый препарат [1]
Диатомовые, обладающие очень тонкими и нежными
панцирями, изучают на сухих препаратах с воздушной средой. Для их изготовления
суспензию с клетками диатомовых наносят на покровное стекло, высушивают, кладут
на предметное стекло и заклеивают по краям лаком [11].
2.4 Моллюски
Моллюски - широко распространенные
вторичнополостные, беспозвоночные животные. Тело их мягкое, нерасчлененное, у
большинства оно подразделяется на головку, туловище и ногу. Главными признаками
моллюсков является наличие у большинства видов известковой раковины и мантии -
кожной складки, прикрывающей внутренние органы. Полость рта моллюсков заполнена
паренхимой. Кровеносная система незамкнутая. Моллюски подразделяются на классы:
брюхоногие, двустворчатые, головоногие [24].
Сбор моллюсков производится теми же методами,
которые вообще применяют для сбора донной фауны водоемов. В болотах сбор
моллюсков производится скребком. При сборах для определения количества
моллюсков можно применять квадратные рамки площадью от 0.1 до 1.0 м2,
выбирая внутри них моллюсков скребком или руками. В лужах или на прибрежье
более крупных водоемов (прудов, озер) моллюсков собирают сачком треугольной или
круглой формы из конгресс-канвы или редкой мешочной ткани. Хороший результат
дает облов прибрежной полосы стоячих водоемов закидной треугольной драгой. В
прибрежье прудов, озер и рек богатые сборы приносит осмотр вынимаемых камней,
коряг и выдергиваемых с корнем растений [14].
Для количественного учета промысловых моллюсков
на глубине до 2 м можно применять метод площадок с уложенными на дно или
плавающими рамками (рисунок 15). В первом случае (когда рамка площадью в 1 м2
укладывается на дно) на ограниченном рамкой пространстве вручную
выбираются все моллюски. Во втором случае рамка (той же площади) укрепляется с
помощью 4 кольев, вбиваемых в дно. Облов площади между кольями ведется с
помощью сака с деревянным или металлическим зубчатым ободом (рисунок 16) [14].
Рисунок 15 - Площадка для количественного учета
моллюсков [15]
Рисунок 16 - Зубчатый сачок для ловли
двустворчатых моллюсков Размеры сачка: длина нижней полосы 26 см, диаметр сачка
17 см, длина зубьев 8-10 см, количество зубьев - 10 [30]
Сбор моллюсков в глубоких частях прудов, озер,
рек и водохранилищ требует применения драг (рисунок 17), тралов и дночерпателей
(рисунок 18). На мягком илистом грунте употребляют легкие драги треугольной,
овальной или четырехугольной формы, а также драги-сачки типа болгарской драги.
Для количественного учета моллюсков на мягком дне пользуются коробочным
пружинным дночерпателем с площадью захвата 1/40 м2 или маленькими
ковшевыми дночерпателями киевского образца с площадью захвата 0.01 м2.
После выемки грунта драгой, сачком или дночерпателем его вываливают в таз, а
затем промывают через металлическое сито с ячеями не свыше 1-2 мм. На песчаном
дне рек удобна драга с ножами четырехугольной или овальной формы, а для
количественных сборов ковшовый дночерпатель несколько большего размера (до 0.1
м2) или штанговый беспружинный дночерпатель [14].
Рисунок 17 - Зубчатая драга для сбора моллюсков
[17]
Рисунок 18 - Ковшовый дночерпатель Петерсена: I
- открытый; II - закрытый. 1 - ковши, 2 - ось, 3 - замыкающий тросик, 4 -
замыкающее приспособление, 5 - окна, 6 - чугунный груз, 7 - цепь, 8 - рабочий
трос [16]
Промывка и выборка моллюсков из грунта
производится или методом отмачивания с фильтрацией через металлическое сито,
или, в случае однородного мелкого песка, пропусканием всей пробы через
металлическое сито. На каменистых грунтах озер хорошие результаты дает выемка
камней щупами разных систем или, еще лучше, осмотр и сбор камней водолазами
[14].
Особого внимания требует сбор моллюсков в
пещерных и родниковых водоемах: грунт, который можно взять руками или скребком,
должен тщательно просматриваться под лупой, а моллюски размером 1-2 мм выбираться
из песка с помощью пипетки, кисточки или тонкого пинцета [14].
При всех сборах моллюсков необходимо тщательным
образом изучать условия обитания: особенности грунта, глубину нахождения,
температуру воды в тех биотопах, где собраны моллюски (у дна, среди
растительности), химические свойства воды (количество растворенного кислорода,
углекислоты, соленость, количество и состав взвешенных веществ, прозрачность
воды, скорость течения). Все эти данные под порядковым номером, а также число и
месяц сбора (желательно также и час наблюдения) заносятся в полевую книжку и
журнал. В пробу собранных моллюсков вкладывается этикетка, где повторяются
важнейшие данные журнальной записи. Хранение материала производится или в
спирту, или в сухом виде [14].
Сначала моллюски на глаз разделяются на классы.
Затем определение ведется по определительным таблицам, ход определения все
время проверяется по рисункам. Когда таблицы приводят к определению вида,
признаки моллюска тщательно сверяются с приведенным описанием: в случае
расхождения описания с оригиналом делаются соответствующие заметки в журнале.
Изучение зубов ведется под бинокуляром [14].
При изучении размерных характеристик моллюсков
раковина подвергается промерам и взвешиванию.
У брюхоногих моллюсков, таких как мурекс
(рисунок 19), вивипарус (рисунок 20), церитиум (рисунок 21), измеряются: 1)
высота раковины, 2) ширина раковины на последнем обороте, 3) высота устья, 4)
высота завитка; из этих данных вычисляются: индексы отношения высоты раковины к
ее ширине и высоты раковины к высоте устья (рисунок 22) [18].
Рисунок 19 - Брюхоногий моллюск мурекс [31]
Рисунок 20 - Брюхоногий моллюск вивипарус [32]
Рисунок 21 - Брюхоногий моллюск церитиум [33]
Рисунок 22 - Схема промеров раковины живородки:
АА - высота раковины; ББ - ширина раковины; ГА - высота завитка; ВГ - высота
устья;
ДД - ширина устья [18]
У двустворчатых моллюсков, например как пектен
(рисунок 23) и дрейссена (рисунок 24) измеряются: 1) длина раковины, 2) высота
раковины, 3) выпуклость (толщина) раковины и вычисляются индексы отношений
высоты раковины к ее длине и выпуклости раковины к ее длине.
Рисунок 23 - Двустворчатый моллюск пектен [34]
Рисунок 24 - Двустворчатый моллюск дрейссена
[35]
Рисунок 25 - Схема промеров раковины
двустворчатого моллюска [19]
Определение возраста и темпа роста моллюсков
производится по годовым кольцам прироста. Однако у разных моллюсков и у одного
и того же моллюска в разные годы годовые кольца выражены неодинаково хорошо.
Вследствие этого иногда пользуются не прямым определением возраста по числу
годовых колец, а построением на основе эмпирического материала вариационных
рядов для каждого возраста; у экземпляров с неясными линиями прироста возраст
определяют по размерам раковины [20].
2.5 Флора
Известно, что почти все разновидности
континентальных осадочных пород, от грубых песчаников до тонкозернистых
глинистых сланцев и известняков, содержат хорошо сохранившиеся растительные
остатки того или иного характера. Даже в морских отложениях могут быть
встречены немногочисленные остатки наземных растений [6].
Весьма велика вероятность встретить растительные
остатки в глинистых прослоях или песчаных линзах в континентальных конгломератах.
Тонкозернистые пирокластические породы, от туфовых песчаников до тонких
пепловых туфов - прекрасная среда для сохранения разнообразных растительных
остатков. В континентальных глинах растительные остатки также хорошо
сохраняются [6].
Работа по обнаружению зон, содержащих
растительные остатки, обычно начинается с тщательных поисков в осыпях обломков,
содержащих какие-либо остатки растений. Хорошо сохранившиеся остатки растений
обычно встречаются в карманах и линзах [6].
Большая часть макроскопических остатков наземных
растений, сохранившихся в породах кайнозойского возраста, представлена листьями
(рисунок 26). В верхнемеловых, третичных и четвертичных отложениях растительные
остатки представлены в основном листьями листопадных деревьев с плотной древесиной
(рисунок 27), иногда встречаются хвойные (рисунок 28) и папоротники (рисунок
29), реже находки листьев пальм (рисунок 30), различных шишек, плодов, семян
(рисунок 31) и пыльцы (рисунок 32) [6].
Рисунок 26 - Схематические рисунки
представителей папоротников (а-г), хвойных (д-ж) гинкговых (з, и) и цикадовых
(к, л) [6]
Рисунок 27 - Отпечаток платана [38]

Рисунок 29 - Отпечаток папоротника [38]
Рисунок 30 - Отпечаток пальмы [36]
Рисунок 31 - Отпечаток шишки в песчанике [37]
Рисунок 32 - Пыльца
Trilobosporites arharensis (х4500)
[40]
Растительные остатки, обнаруженные в оболочках
пород в осыпи, обычно не годятся для определения и корреляций. Подобные
остатки, как правило, сильно выветрелы и раздроблены [6].
После того как пласт, содержащий растительные
остатки, обнаружен в коренном залегании, необходимо извлечь крупные плиты
невыветрелой породы с растительными остатками. Перекрывающую породу лучше всего
осторожно удалить, чтобы обнажить возможно большую площадь нужного пласта. В
зависимости от прочности пород и условий их залегания эта работа может
оказаться очень трудоемкой. Для ее выполнения, кроме обычного геологического
молотка, желательно иметь лом, кирку, кувалду и совковую лопатку, а также
нескольких сильных помощников [26].
Когда расчистка закончена, от пласта отделяют
плиты площадью по 0,2м2, а если можно, и большие. Затем эти плиты
осторожно раскалывают по плоскостям напластования или листоватости,
параллельной напластованию. Обычно раскалывание облегчается естественным
кливажем, обусловленным наличием в породе растительных остатков. При этой
работе очень эффективны зубила различных размеров с широким лезвием. Если это
удается, лучше сначала раскалывать плиту на половинки равной мощности, затем
каждую из них еще пополам, и так до тех пор, пока дальнейшее раскалывание не
станет невозможным или пока не получен экземпляр удовлетворительной
сохранности. Во время работы рекомендуется надевать защитные очки [26].
В большинстве случаев растительные остатки
кайнозойского возраста представлены листьями. Возможны два случая: 1)
сохраняется часть обугленного вещества листа, имеющего коричневый, темно-серый
или даже черный цвет; 2) вещество листа полностью утрачено, сохраняется только
его отпечаток. Находки первого типа более ценны, так как в этом случае чаще
можно обнаружить детали структуры и установить характер эпидермиса. Нужно
помнить, что для целей определения находка одного целого листа, когда отчетливо
видны его форма, особенности краев, верхушки, основания и черешка, жилкования,
важнее, чем большое число фрагментов листьев того же вида [7].
На каждой вновь обнаженной поверхности пласта
нужно также тщательно искать остатки или отпечатки: Во-первых, шишек хвойных
или цикадовых, которые легко узнать по их сходству с современными шишками
сосни, ели и других деревьев. Во-вторых, семена и плоды различной формы и
величины; В-третьих, цветки и части цветков. В-четвертых, сережки, обычно узкие
и длинные, как у современных ольхи и березы. И в-пятых, листья папоротника, на
которых могут сохраниться мелкие округлые спорангии [7].
Если из-за неровного скола породы обнажилась
только часть листа или растения, то оставшуюся часть этого экземпляра можно
освободить, осторожно скалывая вмещающую породу небольшим зубилом. Случайно
разбитые экземпляру не надо выбрасывать. Если удалось собрать все обломки и они
не слишком мелкие, их вполне можно скрепить обычным клеем или любым подходящим
цементом [7].
Не следует выбрасывать часть породы, покрывающую
остаток растения или его отпечаток. На этих обратных отпечатках часто видны
детали, не сохранившиеся на основном образце. Отпечатки не надо покрывать
лаками или цементами, за исключением тех случаев, когда они настолько хрупки,
что их надо чем-нибудь скрепить [7].
Обкалывание образца до удобных для
транспортировки размеров надо производить обдуманно и осторожно. Например,
листоватые глинистые сланцы не нужно обкалывать в поле; при более крепкой
вмещающей породе это можно сделать обычным геологическим молотком. Образцы
очень мягких глинистых сланцев и глин легко уменьшить до нужного размера
большим ножом [28].
Как только с образцов сколота лишняя порода, они
должны быть аккуратно уложены в ряд на плоской поверхности приблизительно в
5-10 м от расчистки. Их никогда не надо класть один на другой, чтобы не
повредить и не поцарапать хрупкие и непрочные остатки растений. Если коллекцию
приходится оставить на ночь, ее надо покрыть брезентом и прижать его камнями
[28].
В поле каждый образец должен быть тщательно
завернут для транспортировки на базу или в лабораторию. Мелкие и хрупкие
экземпляры заворачивают сначала в мягкую папиросную бумагу, а затем уже в
газету. Для предотвращения порчи образцов от трения при транспортировке нужно
как можно плотнее упаковать их в мешки или баулы. Окончательная упаковка для
отправки в лабораторию должна быть очень тщательной. Образцы должны быть
аккуратно и как можно плотнее уложены в ящики последовательными слоями. Крышки
нужно надежно забить гвоздями, а кроме того, окантовать ящики проволокой, чтобы
они не разбились во время транспортировки. Коллекции обычно отправляют багажом
по железной дороге [6].
После распаковки коллекции в лаборатории образцы
нужно, прежде всего, рассортировать по флористическим зонам и местам находок, а
затем поместить в лотки. Подготовка материала для окончательного изучения и
определения может потребовать дополнительного скалывания лишней породы, чтобы
полностью обнажить растительные остатки. Этим лучше всего заниматься, положив
образец на мешочек с песком. Работу можно выполнять зубилами различной величины
и формы, а также виброинструментом [19].
В ряде случаев сохраняется первичный, обычно
обугленный материал листьев и других растительных остатков. Иногда количество
этого материала таково, что представляется целесообразным извлечь его для
дальнейшего изучения под микроскопом. С этой целью обычно применяются два метода
[19].
Первый метод называется мацерация. Когда
растительные остатки особенно обильны и хорошо сохранились, умещающая порода
удаляется вымачиванием в плавиковой кислоте, смеси Шульца или какой-либо другой
жидкости с высокой окислительной способностью. Нерастворимый остаток, который
может содержать обломки листьев, древесину, чешуйки шишек, семена и т. д.
очищают, сортируют и раскладывают на предметные стекла для окончательного
изучения [19].
Второй метод - пленочный. Если растительные
остатки представляют собой лишь тонкие углистые налеты или корочки на
плоскостях напластования, их обычно извлекают из вмещающей породы, перенося на
какую-либо пленку и удаляя затем породу механическим путем и с помощью кислот.
Различные варианты этого способа - методы Уолтона, Эшби и Эббота. Пленки
хранить удобнее, чем исходные образцы породы, и они обычно представляют большую
ценность как для макроскопического, так и для микроскопического изучения [19].
Заключение
В данной работе рассматривались различные
палеонтологические методики изучения континентальных и морских разрезов
Дальнего Востока. Наибольшее значение для стратиграфии имеет: руководящие
ископаемые организмы, статистические и эволюционные палеонтологические методы.
В морских разрезах встречаются радиолярии,
фораминиферы, диатомовые и моллюски. Флора чаще встречается в континентальных,
но бывает и в морских разрезах. Флора играет важную роль при определении
возраста горных парод, но большую ценность имеет пыльца. Ведь форма пыльцы не
меняется с течением времени в отличие от отпечатков листьев, которые могут
подвергаться метаморфизму. Отпечатки листьев, плодов и семян проявляются в
Цагаянской свите Приамурья. В разрезах Приморья встречаются фораминиферы и
радиолярии, ну и, конечно же, моллюски и диатомовые водоросли.
Единственными относительно точными указателями
глубин могут служить остатки донных водорослей. Поэтому им уделяется большее
внимание. Фораминиферы встречаются в самых разнообразных осадочных породах, и
их выделение требует искусства многих специалистов.
При определении остатков организмов особенно
большое значение имеют форма и микростроение обломков. Форма особенно важна при
определении водорослей, фораминифер, радиолярий. Поэтому литологу нужно
обладать хорошим пространственным представлением, чтобы восстанавливать по
сечению спираль, цилиндр, конус и т.п. Для определения формы обломка
существенную помощь оказывает более темный или, наоборот, более светлый
цементирующий материал, который подчеркивает границы обломка и внутренние
пустоты. Наконец, одним из важных признаков при определении обломков организмов
является микроструктура данного обломка.
Список литературы
1 Водоросли: справочник / С. П.
Вассер, Н. В.Кондратьева, Н. П. Масюк и др. - Киев: Наук, думка, 1989. - 608 с.
Данукалова, Г. А. Палеонтология в
таблицах: методическое руководство/ Г. А. Данукалова. - Тверь: ГЕРС, 2009. -
196 с.
Историческая геология: учебник для
студ. Учреждений высш. Проф. Образования/ Н.В. Короновский и др. - М.:
"Академия", 2011. - 464 с.
Методические указания по выполнению
лабораторных работ по дисциплине "основы палеонтологии, общая
стратиграфия": учебно-методическое пособие/ Т.В. Кезина и др. -
Благовещенск: Изд-во Амур.гос. ун-та, 2013. - 208с.
Кезина, Т.В. Палиностратиграфия
угленосных отложений позднего мела и кайнозоя верхнего Приамурья: учебник/
Т.В.Кезина. - Владивосток: Дальнаука, 2005. - 206 с.
Федорова, М. Методика
палеонтологических исследований: учебник/ М. Федорова. - М: МИР, 1973. - 392 с.
http://earthpapers.net/geologiya-i-usloviya-formirovaniya-kaynozoyskih-otlozheniy-kontinentalnogo-yuga-dalnego-vostoka#ixzz2jz5G3rw0
- 13.01.14
http://wiki.web.ru/wiki/Геохронологическая_шкала
- 03.03.14
http://ecodelo.org/2210-foraminifery-morskie_vostoka_rossii
- 13.03.14
http://algal.ru/Otdel_diatomovie_vodorosli__bacillariophyta.html
- 14.03.14
http://edu.greensail.ru/monitoring/methods/vodorosli.shtml
- 13.03.14
http://www.biotheory.ru/bios-702-1.html
- 15.03.14
http://dic.academic.ru/dic.nsf/eng_rus/163696/наилок
- 16.03.14
http://forum.zoomet.ru/viewtopic.php?id=124
- 16.03.14
http://www.ievbras.ru/ecostat/Kiril/Article/A10/Bak63.htm
- 16.03.14
http://rudocs.exdat.com/docs/index-290159.html
- 16.03.14
http://www.sciteclibrary.ru/rus/catalog/pages/5427.html
- 16.03.14
http://forum.zoomet.ru/uploads/0008/03/58/281-1-f.jpg
- 16.03.14
http://holocene.ru/work/methods/125/126/127
- 16.03.14
http://mel31.ru/geology-and-geodesy/fossil-animals/633-klass-dvustvorchatye-bivalvia-ili-pelecipody.html
- 16.03.14
http://dic.academic.ru/dic.nsf/bse/84365/Диатомовые
- 16.03.14
http://www.origins.org.ua/page.php?id_story=226
- 16.03.14
http://publ.lib.ru/ARCHIVES/P/PROSHKINA-LAVRENKO_Anastasiya_Ivanovna/_Proshkina-Lavrenko_A.I..html
- 16.03.14
http://shkolo.ru/tip-mollyuski/ -
16.03.14
http://зачётка.рф/book/6538/279030/ВВЕДЕНИЕ.html
- 16.03.14
http://lithology.ru/node/921 -
16.03.14
http://geology.brsu.by/page/osnovy-paleontologii
- 25.03.14
http://www.dissercat.com/content/geologicheskie-formatsii-i-srednepaleozoiskaya-evolyutsiya-yaponomorskoi-okrainy-azii
- 25.03.14
http://clubs.ya.ru/4611686018427398066/posts.xml?tb=21530
- 25.03.14
http://dinosauria.ru/publ/meshok_sachka/25-1-0-771
- 25.03.14
http://shells.ucoz.ru/index/muricidy_muricidae/0-12
- 25.03.14
http://vdec1.narod.ru/michucova/voda/mollusk.htm
-25.03.14
http://www.shellsfromsea.ru/page/ceritium-nodulozum-cerithium-nodulosum
- 25.03.14
http://www.a-jewels.com/simvol/pekten.html
- 25.03.14
http://ru.wikipedia.org/wiki/Речная_дрейссена
- 25.03.14
http://www.kamvod.ru/okam5.htm -
25.03.14
http://www.ammonit.ru/foto/27420.htm
- 25.03.14
http://ru.wikipedia.org/wiki/Радиолярии
- 30.03.14
http://www.labteh.com/productID20231/
- 30.03.14
http://kak.znate.ru/docs/index-51124.html?page=118
- 30.03.14