Тепловой баланс котла и расчет топлива
Содержание
Введение
. Характеристика топлива
. Объемы и энтальпии воздуха и продуктов сгорания,
сведенные в таблицы
. Тепловой баланс котла и расчет топлива
. Геометрические характеристики топлива
. Конструкция и принцип действия деаэратора
Используемая литература, источники
Введение
Краткое описание конструкции ТП-82.
Паровой котел типа Е420-140(ТП-82) Таганрогского
завода П-образной компоновки, с твердым шлакоудалением. Топочная камера
открытого типа с аэродинамическим выступом, выполненным гибом заднего экрана
верхней части топки. Котел работает с уравновешенной тягой. Топка ограниченна
гладкотрубными экранами: фронтовым, задним и двумя боковыми, а также
двухсветным экраном делятся на две полутопки. Частью фронтового экрана являются
пароперегревательные поверхности. Горелки котла прямоточные, пылеугольные ,
расположенные с фронта и сзади по углам двух полутопок в два яруса. Воздушные
каналы первичного и вторичного воздуха в горелках имеют поворотные сопла. Для
розжига котла , выше уровня рабочих горелок, располагаются шесть мазутных
горелок. На выходе из топки расположен пароперегреватель, состоящий из
шестнадцати каплеобразных ширмовых лент. В поворотном газоходе расположены два
пакета конвективных пароперегревателей. В начале конвективной шахты расположен
водяной экономайзер, состоящий из трех пакетов по высоте и двух по ширине .
Оставшуюся часть конвективной части занимает трубчатый воздухоподогреватель ,
который имеет четыре хода по воздуху, высоте шахты и шесть ходов по ширине.
Потолок шахты и поворотная камера выполнены из панелей радиационного
пароперегревателя.
Над топкой расположены: барабан котла,
сепарационные устройства, которые состоят из внутри барабанных циклонов,
расположенных в два ряда, и жалюзийного потока промывочного листа, на который
подается питательная вода.
Схема испарения трехступенчатого. соленые отсеки
выполнены из двух концов барабана. Они связаны с выносными циклонами по два на
каждый отсек- третья ступень испарения. Регулирование температуры перегретого
пара осуществляется двумя впрысками: первичный- перед ширмовым
пароперегревателем, вторичный - в рассечку между пакетом и конвективным
пароперегревателем. Тягодутьевая установка состоит из двух вентиляторов и двух
дымососов. Очистка конвективной шахты от отложений производится дробеочистительной
установкой.
Котлоагрегат не унифицирован по топливу,
предназначен для работы на твердом и жидком топливе. Экранные трубки смежных
скатов двух холодных воронок переходят с помощью развилок в двух цветном
экране.
Фронтовой и задний экраны состоят из шести
панелей каждый, боковые и двухсветные имеют три панели.
Экранные трубы связаны с опускными балками,
которые придают системе необходимую жёсткость. Вся экранная, система подвешена
вверху и при тепловом удлинении свободно опускаются вниз. Сборка экранов на
заводе предусмотрена в блоки максимальным весом 13,4 тонны в количестве 45
штук, так как длина большинства панелей достигает 30 метров, то панель делится
в средней части пополам, и трубы её свариваются при монтаже . Настенный
фронтальный радиационный перегреватель размещен между испарительными трубами,
идущими с шагом 226мм., и имеет независимое от последнего перемещение.
Прямоточные угловые пылеугольные горелки на3 т/ч пыли каждая в количестве 16
штук, расположены по 8 углам топок на задней и фронтовой стенах. Насадки сопел
первичного и вторичного воздуха выполнены поворотными на фронтовой стене выше
пылеугольных горелок расположен ряд мазутных фарсунок 6 штук. Каждая полутопка
имеет по 2 шлакоприемных бункера с водяными ваннами, шлакодробилками и
скреперными установками для механизированного шлакоудаления. обмуровка боковых
и задних стен топки наносится непосредственно на трубы. На фронтовой стене
обмуровка выполнена в виде панелей, присоединенных шпильками к испарительным
трубам. Обмуровка безобшивочная и выполнена в три слоя: огнеупорный бетон -
50мм., минеральная вата - 125мм. и газа непроницаемая эластичная штукатурка -
15мм. Крепление обмуровки производится экранам с помощью шпилек, приваренных к
трубам. Обмуровка потолка опирается на трубы перегревателя и собирается из
литых панелей. Панели состоят из огнеупорного и термоизоляционного бетона,
заливаемых в спиральный каркас, и матрацев из минеральной ваты. Аналогичную
обмуровку имеют стены пароперегревателя и экономайзера. Вся обмуровка изготовляется
на монтажной площадке.
Генератор работает по трехступенчатой схеме
испарения. Во вторую ступень (23% пара), расположенную по концам барабана,
подключены передние и средние панели боковых экранов; в третью ступень
(10%пара), расположенную на выносных циклонах, подключены задние панели боковых
экранов. Барабан сварной из стальных листов слаболегированной стали марки
16ГНМ. Питательная вода с недогревом 600 градусов в барабане делится на два
потока. Пароводяная смесь из всех экранов направляется во внутри барабанные
циклоны.(92шт.). через уравнительные отсеки в верхней части барабана
установлены пластинчатые сепараторы из волнистых листов и дырчатый лист. Пар
проходит следующий путь , из барабана поступает в настенный перегреватель и
делает в нем два хода - вниз и вверх с большой весовой скоростью (1200
кг/сек-м20, что должно обеспечить умеренные температуры стенок
пароперегревателя, затем пар поступает в первый вспрыскивающий пароохладитель,
из него в - ширмы, где делает один ход. После ширм пар проходит потолочный
пароперегреватель ,затем первый конвективный противоточный пакет, затем
проходит впрыскивающий пароохладитель и второй конвективный параллельный
топочный пакет. Перебросы пара производятся дважды при прохождении
пароохладителей вода для впрыска (105-120*С) подается особым насосом.
Тепловой расчет парового или водогрейного котла
может быть конструктивным или поверочным. Конструктивный расчет выполняется при
разработке (проектировании) новых паровых или водогрейных котлов
специализированными проектно-конструкторскими институтами или конструкторскими
бюро котлостроительных заводов. Поверочный расчет котельных агрегатов,
выпускаемых промышленностью, выполняется при проектировании источника
теплоснабжения, предназначенного для выработки пара или горячей воды.
Основной целью поверочного расчета является
определение основных показателей работы котлоагрегата, а также реконструктивных
мероприятий, обеспечивающих высокую надежность и экономичность его эксплуатации
при заданных условиях.
топливо паровой котел деаэратор
1. ХАРАКТЕРИСТИКИ ТОПЛИВА
Таблица 1. Элементарный состав топлива.
|
Наименование
|
Wp,%
|
Ap,%
|
Cp,%
|
Sp,%
|
Hp,%
|
Np,%
|
Op,%
|
QpH
|
|
Черемховский
Д
|
13,0
|
27,0
|
1,1
|
45,9
|
3,4
|
0,7
|
8,9
|
22567
|
p
+ Ap+Cp+Sp+Hp+Np+Op+QHp=100%
,0+27,0+1,1+45,9+3,4+0,7+8,9=100
Wp
-влажность
Ap-зольность
Cp-сера
Sp-углерод
Hp-водород
Np-азот
Op-кислород
QHp-теплота
Таблица 2. Определение объемов воздуха и
продуктов сгорания топлива при нормальных условиях.
|
VB
|
VRO2
|
VN2
|
VH2O
|
Vr
|
|
4,72
|
0,86
|
3,74
|
0,61
|
5,21
|
Определение объема продуктов сгорания и
продуктов сгорания топлива при нормальных условиях: (α=1,
t=0°C,
давление -760 мм.рт.ст.);
Определение избытка воздуха и присосов в
газоходах.
Таблица 3 Избыток воздуха и присосы по
газоходам.
|
№
|
Наименование
газоходов
|
Избыток
воздуха за газоходом
|
Присос
воздуха в газоходе
|
|
1
|
Топка
|
1,2
|
0,03
|
|
2
|
КПП
|
1,23
|
0,03
|
|
3
|
Экономайзер
|
1,26
|
0,02
|
|
4
|
ВЗП
|
1,28
|
0,03
|
|
5
|
Уходящие
газы
|
1,31
|
----
|
2. Объемы и энтальпии
воздуха и продуктов сгорания, сведенные в таблицы
Таблица 4. Расчет теплового баланса котла.
|
Наименование
величин. Формулы .
|
Размер-ность
|
VB=4,72 ; VRO2=0,86 ; VN2=3,74; VH2O=0,61;
Vr=5,21
|
|
|
Газоходы
|
|
|
Топка
|
КПП
|
ЭКО
|
ВЗП
|
Ух.г
|
|
Коэффициент
избытка воздуха за газоходом, λ
|
___
|
1,2
|
1,23
|
1,26
|
1,28
|
1,31
|
|
Коэффициент
избытка воздуха средний, λср
|
___
|
1,2
|
1,25
|
1,315
|
1,34
|
1,365
|
|
Объем
водяных паров VH2O=VH2O+0,0161 (λ-1)*
VB
|
М3/кг
М3/ М3
|
0,591
|
0,674
|
0,7683
|
0,827
|
0,916
|
|
Полный
объем дымовых газов Vr= VRO2+ VN2+ VH2O+( λ-1)* VB
|
М3/кг
М3/ М3
|
4,918
|
5,655
|
6,393
|
7,559
|
8,369
|
|
Парциальный
объем трехатомных газов ZH2O= VH2O/ Vr
|
___
|
0,120
|
0,119
|
0,120
|
0,109
|
0,109
|
|
Парциальный
объем водяных паров Z RO2= VRO2/ Vr
|
___
|
0,174
|
0,152
|
0,134
|
0,113
|
0,102
|
|
Zn= Z RO2+ ZH2O
|
___
|
0,294
|
0,271
|
0,254
|
0,222
|
0,211
|
|
Концентрация
золы в дымовых газах µзл=0,01*((Ар*λу)/ (Vг*Jo2))
|
___
|
0,0221
|
0,0216
|
0,0211
|
0,0204
|
0,0203
|
Расчеты: Топка.
VH2O
=0,61+0,0161(1,2-1)*5,72=0,591
Vr
=0,61+3,74+0,61+(1,2-1)*4,72=4,918
ZH2O=
0,591/4,918=0,120
Z
RO2=0,86/4,918=0,174
Zn
=0,174+0,120=0,294
КПП.
VH2O
=0,61+0,0161*(1,23-1)*5,72=0,674
Vr
=0,61+3,74+0,61+(1,23-1)*5,72=5,655
ZH2O=
0,674/5,655,=0,119
Z
RO2=0,86/5,655=0,152
Zn
=0,152+0,119=0271
ЭКО.
VH2O
=0,61+0,0161*(1,26-1)*5,72=0,768
Vr
=0,61+3,74+0,61+(1,26-1)*5,72=6,393
ZH2O=0,768/6,393=0,134
Z
RO2=5,72/6,393=0,019
Zn
=0,134+0,120=0,254
ВЗП.
VH2O
=0,61+0,0161*(1,28-1)*5,72=0,827
Vr
0,61+3,74+0,61+(1,28-1)*5,72=7,559
ZH2O=0,827/7,559=0,109
Z
RO2=5,72/7,559=0,113
Zn
=0,113+0,109=0,222
Уходящие газы.
VH2O
=0,61+0,0161(1,31-1)*5,72=0,916
Vr
=0,61+3,74+0,61+(1,31-1)*5,72=8,369
ZH2O=0,916/8,369=0,109
Z
RO2=5,72/8,369=0,102
Zn
=0,113+0,109=0,211
Определение энтальпии в продуктах сгорания.
Таблица 5.- энтальпия продуктов сгорания.
|
Jг кДж/ кг
|
Jг=
Jг°+(λ-1)*Jв°
|
|
|
ГАЗОХОДЫ
|
|
|
Jтопка
|
∆J
|
JКПП
|
∆J
|
JЭКО
|
∆J
|
JВЗП
|
∆J
|
Jух.г
|
∆J
|
|
100
|
875
|
|
|
|
|
|
|
|
|
1198,3
|
|
|
200
|
1775
|
|
|
|
|
|
|
2225,4
|
|
2273,6
|
1150
|
|
300
|
2700
|
|
|
|
|
|
|
3318,4
|
1155
|
|
|
|
400
|
3655
|
|
|
|
|
|
|
4571,8
|
1190
|
|
|
|
500
|
4639
|
|
|
|
|
5713,4
|
|
5796
|
1224
|
|
|
|
600
|
5335
|
|
|
6638,6
|
|
6939,5
|
1226
|
|
|
|
|
|
700
|
6661
|
|
|
8022,82
|
1384
|
8200
|
1260
|
|
|
|
|
|
800
|
7720
|
9085
|
|
9291,05
|
1268
|
|
|
|
|
|
|
|
900
|
8801
|
10348,9
|
1262,7
|
10581,2
|
1290
|
|
|
|
|
|
|
|
1000
|
9889
|
11624,2
|
1275,3
|
11884,5
|
1303
|
|
|
|
|
|
|
|
1100
|
10982
|
12909,9
|
1285,3
|
13198,7
|
1314
|
|
|
|
|
|
|
|
1200
|
12083
|
14203,3
|
1293,7
|
14521,3
|
1322
|
|
|
|
|
|
|
|
1300
|
13209
|
15521,3
|
1318
|
|
|
|
|
|
|
|
|
|
1400
|
14356
|
16688,1
|
1344,9
|
|
|
|
|
|
|
|
|
|
1500
|
15491
|
18198,3
|
1332,2
|
|
|
|
|
|
|
|
|
|
1600
|
16642
|
19546,5
|
1348,1
|
|
|
|
|
|
|
|
|
|
1700
|
17802
|
20903,8
|
1357,4
|
|
|
|
|
|
|
|
|
|
1800
|
18962
|
22261,2
|
1357,4
|
|
|
|
|
|
|
|
|
|
1900
|
20138
|
23639,5
|
1378,8
|
|
|
|
|
|
|
|
|
|
2000
|
21307
|
25010,3
|
1364,8
|
|
|
|
|
|
|
|
|
|
2100
|
22491
|
26230,3
|
1220
|
|
|
|
|
|
|
|
|
|
2200
|
23680
|
27788,6
|
1558,3
|
|
|
|
|
|
|
|
|
Примечание :
. а) Топка; 800/ 2200°С
б) КПП; 600 / 1200°С
в) ЭКО 500 / 700°С
г)ВЗП; 500 / 200°С
д)ух.газы 200 / 100°С
. Jг°,
Jв°
выбирают
в соответствии с заданным видом топлива , таблица 14-15 стр.180,192 [6]. 3. Энтальпия
золы определяется по формуле
Jзл
=0,01Ар*аун(с*υ)эл
кДж/кг,
где (с*υ)эл
-
энтальпия 1 кг золы /т.13,стр179[6]/ если приведенная величина уноса
100*
≤6,
то энтальпия в расчет не вводится.
Расчет :
Топка . ∆J
:7720 +(1,2-1)*6829=9085,2
10348,9-9085,2=1262,7
:8801+(1,2-1)*7741=10348,9
11624,2-10348,9=1275,3
: +(1,2-1)*8675=11624,2
12909,5-11624,2=1285,3
:10982 +(1,2-1)*9638=12909,5
14203,3-12909,5=1293,7
:12083 +(1,2-1)*10601=14203,3
15521,3-14203,3=1318
: 13209+(1,2-1)*11560=15521,3
16866,1-15521,3=1344,9
: 14356+(1,2-1)*12548=16866,1
18198,3-16866,1=1332,2
: 15491+(1,2-1)*13536=18198,3
19546,5-18198,3=1348,2
: 16642+(1,2-1)*14520=19546,5
20903,8-19546,5=1357,4
: 17802+(1,2-1)*15508=20903,8
22261,2-20903,8=1357,4
: 18962+(1,2-1)*16496=22261,2
23639-22261,2=1378,8
: 20138+(1,2-1)*17505=23639
25010,3-23639=1371,3
: 21307+(1,2-1)*18518=25010,3
26230,3-25010,3=1220
: 22491+(1,2-1)*18694=26230,3
27788,6-26230,3=1558,3
: 23680+(1,2-1)*20540=27788,6
КПП. ∆J
: 5635+(1,23-1)*5016=6638,6
8022,8-6638,6=1384,2
: 6661+(1,23-1)*5920=8022,8
9291-8022,8=1268,2
: 7720+(1,23-1)*6829=9291
10581,2-9291=1290,2
: 8801+(1,23-1)*7741=10581,2
11884,5-10581,2=1303,3
:9889+(1,23-1)*8675=11884,5
13198,7-11884,5=1314,2
: 10982+(1,23-1)*9638=13198,7
14521,3-13198,7=1322,6
: 12083+(1,23-1)*10601=14521,3
ЭКО. ∆J
:4639+(1,26-1)*4132=5713,4
6939,5-5713,4=1226,1
:5635+(1,26-1)*5016=6939,5
8200,4-6939,5=1260,9
:6661+(1,26-1)*5920=8200,4
ВЗП. ∆J
:1775+(1,28-1)*1608=2225,4
3318,4-2225,4=1155
:2700+(1,28-1)*2433=3318,4
4571,8-3318,4=1190,4
:3655+(1,28-1)*3274=4571,8
5796-4571,8=1224,2
:4639+(1,28-1)*4132=5796
Уходящие газы. ∆J
:875+(1,31-1)*780=1198,3
2273,6-1198,3=1150,3
:1775+(1,31-1)*780=2273,6
3. ТЕПЛОВОЙ БАЛАНС КОТЛА И РАСЧЕТ
ТОПЛИВА
|
Рассчитываемая
величина
|
формула
|
Расчет
|
|
Располагаемое
тело топливаQpH
кДж/кг
|
Заданно
|
22567
|
|
Температура
уходящих газов ух,С
|
Заданно
|
125
|
|
Энтальпия
уходящих газов Jх, кДж/кг
|
По
диаграмме J-Ө
|
1500
|
|
Энтальпия
уходящего воздуха Jхв
|
При
tхв=27۫С Jхв=9,5, Vв
|
57.38
|
|
Потери
тепла от химического недожога q3. %
|
Принимается
по таблице 17,стр.200[6]
|
0
|
|
Потери
от механического недожога q4,%
|
Принимается
по таблице 17,стр.200[6]
|
3
|
|
Потери
теплоты с уходящими газами q2.%
|
q2 =(Jух-аух*Jхв)*(100-q4)
|
0.668
|
|
Потери
теплоты в окружающую среду q5,%
|
Определяем
по таблице [6]стр.21 рис.5-1
|
0.5
|
|
Потери
теплоты q6,%
|
Определяем
по таблице [6]стр.21 рис.5-1
|
0
|
|
Сумма
потерь теплоты∑q,%
|
∑q=
q2+
q3
+
q4+
q5+q6
|
4.186
|
|
КПД
котла (Брутто) ηбр,%
|
ηбр=100-∑q
|
95.814
|
|
Энтальпия
перегретого пара за котлом, Jпп. кДж/кг
|
Определять
по таблице 25 стр. 219,[6] При tпп.=560С Pпп.=14МПа
|
3697.8
|
|
Энтальпия
питательной воды Jпв. кДж/кг
|
Определять
по таблице 24 стр.208,[6] При tпв.=230С Pпв=15МПа
|
993.1
|
|
Теплота
полезно используемая в котле Q1,кДж/кг
|
Q1=D*( Jпп.-
Jпв)
|
1135974
|
|
Полный
расход топлива, В
|
В=(Q*100)/(
QpH * ηбр)
|
53.09
|
Ðàñ÷åò òîïëèâà.
|
Ðàñ÷åòíûé
ðàñõîä òîïëèâà,Â
|
Âð=Â(1-
q4/100)
|
51,5
|
|
Êîýôôèöèåíò
ñîõðàíåíèÿ òåïëà,φ
|
φ
= 1- [q5/( ηáð+
q5)
|
0.99481
|
Ðàñ÷åò:
Jõâ
=9,5*6,04=57,38
q2=(230-1,3*57,38)*(100-3)/22568=0,668
∑q=0,668+0+3+0,5+0=4,186
ηáð=100-4,186=95,814
Q1=420*(3697.8-993.1)=1135974
Â=
=53.09
Âð=53,09*(1-3)/100=51,5
φ =1-[0.5/(95.8+0.5)]=0.99481
4. Ãåîìåòðè÷åñêèå
õàðàêòåðèñòèêè
ÒÎÏÊÈ
Òàáëèöà
7. Îïðåäåëåíèå ãåîìåòðè÷åñêèõ
õàðàêòåðèñòèê
òîïî÷íîé êàìåðû.
|
Íàèìåíîâàíèå
,îáîçíà÷åíèå,
åäèíèöû èçìåðåíèÿ.
|
Ðàçìåð
.
|
|
Ãëóáèíà
òîïî÷íîé êàìåðû
à, ì.
|
7,55
|
|
Øèðèíà
ôðîíòà â, ì.
|
14,24
|
|
Äëèíà
ïîòîëêà òîïî÷íîé
êàìåðû ln,ì.
|
4
|
|
Âûñîòà
òîïî÷íîé êàìåðû
lh, ì.
|
20,5
|
|
Äëèíà
ôðîíòà lô, ì
|
20,5
|
|
Äëèíà
çàäíåé ñòåíêè
òîïî÷íîé êàìåðû
lç, ì.
|
10,5
|
|
Äëèíà
øèðì lø, ì.
|
8
|
|
Ïëîùàäü
çàíÿòàÿ ýêðàííûìè
òðóáàìè Fòð, ì.
|
21,7
|
|
Âåðõíÿÿ
ïëîùàäü òîïî÷íîé
êàìåðû F1, ì.
|
25
|
|
Íèæíÿÿ
ïëîùàäü òîïî÷íîé
êàìåðû F2, ì.
|
79,3
|
Ðèñ 1. Ãåîìåòðèÿ
òîïî÷íîé êàìåðû.
Òàáëèöà
8. Îïðåäåëåíèå ãåîìåòðè÷åñêèõ
õàðàêòåðèñòèê
òîïî÷íîé êàìåðû
|
Ðàñ÷åòíàÿ
âåëè÷èíà
|
Ôîðìóëà
|
Îòâåò
|
|
1.Ïëîùàäü
áîêîâîé ñòåíû
Fá, ì2
|
Fá=Fòð+F1+F2
|
126
|
|
2.àêòèâíûé
îáúåì òîïêè Vò, ì2
|
Vò=
Fá*Â
|
1794,24
|
|
3.Ïëîùàäü
ôðîíòîâîé ñòåíêè
Fô,ì2
|
Fô=h*B
|
291,92
|
|
4.Ïëîùàäü
çàäíåé ñòåíû
Fç,ì2
|
Fç=L3*B
|
149,52
|
|
5.Ïëîùàäü
ïîòîëêà Fï,ì2
|
Fï=Lï*Â
|
56,96
|
|
6.Ïëîùàäü
âûõîäíîãî îêíà
Fø, ì2
|
Fø=Lø*Â
|
113,92
|
|
7.Ïëîùàäü,
çàíÿòàÿ ãîðåëêàìè
Fã,ì2
|
Çàäàíî
|
12
|
|
8.Ïëîùàäü
ñòåí, çàíÿòûõ
ýêðàíàìè Fñòý,ì2
|
Fñòý=Fô+Fç+4*Fá-Fã
|
933,44
|
|
9.Ëó÷åâîñïðèíèìàåìàÿ
ïîâåðõíîñòü
ýêðàíîâ Hëý,ì2
|
Hëý=
Fñòý*õ
|
933,44
|
|
10.Ëó÷åâîñïðèíèìàåìàÿ
ïîâåðõíîñòü
ïîòîëêà Hëï,ì2
|
Hëï=Fï*õ
|
56,96
|
|
11.Ëó÷åâîñïðèíèìàåìàÿ
ïîâåðõíîñòü
âûõîäíîãî îêíà
òîïêè Hëø, ì2
|
Hëø=Fø*õ
|
113,92
|
|
12.Ëó÷åâîñïðèíèìàåìàÿ
ïîâåðõíîñòü
òîïêè Hë,ì2
|
Hë=
Hëý+Hëï+Hëø
|
1104,32
|
|
13.Ïîëíàÿ
ïîâåðõíîñòü
ñòåí Fñò,ì2
|
Fñò=Fñòý+Fï+Fã+Fø
|
1116,32
|
|
14.Ñòåïåíü
ýêðàíèðîâàíèÿ
òîïêè õ
|
õ=Hë/Fñò
|
0,9892
|
|
15.Ýôôåêòèâíàÿ
òîëùèíà èçëó÷åííîãî
ñëîÿ S,ì
|
S=3,6*Vò/Fñò
|
5,76
|
Ðàñ÷åò:
Fá=21,7+25+79,3=126
Vò=
126*14,24=1794,24
Fô=20,5*14,24=291,92
Fç=10,5*14,24=149,52ï=4*14,24=56,96
Fø=8*14,24=113,92
Fñòý=291,92+149,52+4*126-12=933,44
Hëý=
933,44*1=933,44
Hëï=56,96*1=56,96
Hëø=113,92*1=113,92
Hë=
933,44+56,96+113,92=1104,32
Fñò=933,44+56,96+12+113,92=1116,32
õ=1104,32/1116,32=0,989
S=1794,24/1116,32=5,76
5. Êîíñòðóêöèÿ
è ïðèíöèï äåéñòâèÿ
äåàýðàòîðà
Äåàýðàòîð
- òåõíè÷åñêîå
óñòðîéñòâî, ðåàëèçóþùåå
ïðîöåññ äåàýðàöèè
<https://ru.wikipedia.org/wiki/%D0%94%D0%B5%D0%B0%D1%8D%D1%80%D0%B0%D1%86%D0%B8%D1%8F>
íåêîòîðîé æèäêîñòè
(îáû÷íî âîäû
<https://ru.wikipedia.org/wiki/%D0%92%D0%BE%D0%B4%D0%B0> èëè
æèäêîãî òîïëèâà
<https://ru.wikipedia.org/wiki/%D0%A2%D0%BE%D0%BF%D0%BB%D0%B8%D0%B2%D0%BE>),
òî åñòü å¸ î÷èñòêè
îò ïðèñóòñòâóþùèõ
â íåé íåæåëàòåëüíûõ
ãàçîâûõ
<https://ru.wikipedia.org/wiki/%D0%93%D0%B0%D0%B7> ïðèìåñåé.
Íà ìíîãèõ ýëåêòðè÷åñêèõ
ñòàíöèÿõ
<https://ru.wikipedia.org/wiki/%D0%AD%D0%BB%D0%B5%D0%BA%D1%82%D1%80%D0%BE%D1%81%D1%82%D0%B0%D0%BD%D1%86%D0%B8%D1%8F>
òàêæå èãðàåò
ðîëü ñòóïåíè ðåãåíåðàöèè
<https://ru.wikipedia.org/wiki/%D0%A0%D0%B5%D0%B3%D0%B5%D0%BD%D0%B5%D1%80%D0%B0%D1%82%D0%B8%D0%B2%D0%BD%D1%8B%D0%B9_%D1%86%D0%B8%D0%BA%D0%BB>
è áàêà
<https://ru.wikipedia.org/wiki/%D0%91%D0%B0%D0%BA_(%D1%80%D0%B5%D0%B7%D0%B5%D1%80%D0%B2%D1%83%D0%B0%D1%80)>
çàïàñà ïèòàòåëüíîé
âîäû
<https://ru.wikipedia.org/w/index.php?title=%D0%9F%D0%B8%D1%82%D0%B0%D1%82%D0%B5%D0%BB%D1%8C%D0%BD%D0%B0%D1%8F_%D0%B2%D0%BE%D0%B4%D0%B0&action=edit&redlink=1>.
Óñòðîéñòâî
äåàýðàòîð ïðåäíàçíà÷åíî:
• Äëÿ çàùèòû
íàñîñîâ îò êàâèòàöèè.
• Äëÿ çàùèòû
îáîðóäîâàíèÿ
è òðóáîïðîâîäîâ
îò êîððîçèè.
• Äëÿ çàùèòû
ñèñòåìû îò ïîïàäàíèÿ
â íåå âîçäóõà,
êîòîðûé íàðóøàåò
ãèäðàâëèêó è
íîðìàëüíóþ ðàáîòó
ôîðñóíîê.
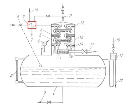
Ðèñ.2. Àòìîñôåðíûé
Äåàýðàòîð ñìåøèâàþùåãî
òèïà ñ Îõëàäèòåëåì
âûïàðà
1 - áàê (àêêóìóëÿòîð),
2 - âûïóñê ïèòàòåëüíîé
âîäû èç áàêà, 5
- âîäîóêàçàòåëüíîå
ñòåêëî, 4 - ìàíîìåòð,
5, 6 è 12 - òàðåëêè, 7 - ñïóñê
âîäû â äðåíàæ,
8 - àâòîìàòè÷åñêèé
ðåãóëÿòîð ïîäà÷è
õèìè÷åñêè î÷èùåííîé
âîäû, 9 - îõëàäèòåëü
ïàðà <#"794665.files/image005.gif">
Ðèñ.3. Äåàýðàöèîííàÿ
óñòàíîâêà
Äåàýðàöèîííàÿ
óñòàíîâêà ñîñòîèò
èç:
· Äåàýðàòîð
âàêóóìíûé;
· ÎÂÂ
<http://stigmash.ru/catalog/kotelnoe-oborudovanie/ohladiteli-vypara/ovv/>(îõëàäèòåëü
âûïàðà, êîæóõîòðóáíûé
òåïëîîáìåííèê,
ïðåäíàçíà÷åííûé
äëÿ êîíäåíñàöèè
ìàêñèìàëüíîãî
êîëè÷åñòâà ïàðà
è óòèëèçàöèè
åãî òåïëîâîé
ýíåðãèè);
· ÝÂ (ýæåêòîð
âîäîñòðóéíûé,
âîçäóõîîòñàñûâàþùåå
óñòðîéñòâî).
 Ä ïðèìåíÿåòñÿ
äâóõñòóïåí÷àòàÿ
ñèñòåìà äåãàçàöèè.
1-ÿ ñòóïåíü ñòðóéíàÿ,
2-ÿ - áàðáîòàæíàÿ,
íåïðîâàëüíàÿ
äûð÷àòàÿ òàðåëêà.
ÈÑÏÎËÜÇÓÅÌÀß
ËÈÒÅÐÀÒÓÐÀ, ÈÑÒÎ×ÍÈÊÈ
1. Ëèïîâ
Þ.Ì., Ðåçíèêîâ Ì.È.
«Ïàðîâûå êîòëû
òåïëîâûõ ýëåêòðîñòàíöèé»,
1981ã
. Áðþõàíîâ
Î.Í., Êóçíåöîâ Â.À.
Ãàçèôèöèðîâàííûå
êîòåëüíûå àãðåãàòû
Ì: Èíôðà-Ì,2005,392ñ.
. Ìåòîäè÷åñêèå
óêàçàíèÿ ê êóðñîâîìó
ïðîåêòèðîâàíèþ
ïî ïðåäìåòó «Êîòåëüíûå
óñòàíîâêè», 1999ã
. Ìåòîäè÷åñêèå
ïîñîáèÿ ïî îôîðìëåíèþ
ïîÿñíèòåëüíîé
çàïèñêè è ãðàôè÷åñêèõ
ðàáîò êóðñîâîãî
ïðîåêòèðîâàíèÿ
. Íîðìû
ðàñ÷åòà è ïðîåêòèðîâàíèÿ
ïûëåïðèãîòîâèòåëüíûõ
óñòàíîâîê
. Òåïëîâîé
ðàñ÷åò êîòåëüíûõ
àãðåãàòîâ (íîðìàòèâíûé
ìåòîä), 1973ã
Ðàçìåùåíî
íà Allbest.ru