Современные способы прокладывания утка на ткацких станках

  • Вид работы:
    Контрольная работа
  • Предмет:
    Другое
  • Язык:
    Русский
    ,
    Формат файла:
    MS Word
    159,28 Кб
  • Опубликовано:
    2014-07-04
Вы можете узнать стоимость помощи в написании студенческой работы.
Помощь в написании работы, которую точно примут!

Современные способы прокладывания утка на ткацких станках














Современные способы прокладывания утка на ткацких станках

1. Цель и сущность операции прокладывания уточной нити в зев. Классификация способов прокладывания

Сущность операции прокладывания утка в зев заключается в расположении уточной нити в зеве под определенным натяжением.

Цель операции - подготовка уточной нити для взаимного переплетения с нитями основы.

Прокладывание утка в зев может быть периодическими или непрерывным. При периодическом прокладывании на основную операцию (прокладывание уточной нити) приходится 1/3 времени работы обычного станка, остальное время затрачивается на подготовительные и вспомогательные операции.

В новых конструкциях ткацких станков с непрерывным способом прокладывания утка коренным образом изменяется сам принцип образования ткани и существенно изменяются конструкции рабочих механизмов станка. В ткацких машинах этого типа повышение производительности достигается благодаря использованию многосистемного принципа образования ткани, когда уток одновременно вносится в несколько последовательно образующихся зевов. Зевообразование может происходить волнообразно в поперечном по отношению к нитям основы или в продольном направлении. К ткацким машинам этого типа относятся круглые ткацкие машины, плоскосекционные многозевные машины, машины с волнообразным зевом вдоль основы.

Как периодическое, так и непрерывное прокладывание утка в зев можно осуществлять двумя способами - челночным или бесчелночным. По первому способу уточная нить прокладывается челноком, несущим паковку с уточной пряжей.

Одним из главных недостатков обычного челночного ткацкого станка является периодический характер действия его рабочих механизмов, что является основным препятствием к повышению его скоростного режима. Другим большим недостатком является значительная масса челнока (до 500 г.), в то время как масса пряжи составляет 30-40 г. и в связи с этим напряженный характер работы боевого механизма, что ограничивает скорость движения челнока, а следовательно, и скоростной режим ткацкого станка. Условия свободного и слабоконтролируемого полета челнока через зев в сочетании с быстрым износом деталей боевого механизма не обеспечивают надежности работы станка в целом. Кроме того, станок производит большой шум и не отвечает всем требования техники безопасности.

В конструкциях бесчелночных ткацких станков сохраняется общий принцип образования ткани обычного станка, а видоизменяется только способ введения уточной нити в зев. При этом увеличение скоростного режима достигается благодаря значительному повышению скорости прокладывания уточной нити через зев.

Бесчелночные способы прокладывания утка в зев могут осуществляться несколькими вариантами.

1.      Специальный прокладчик, не несущий уточной паковки, захватывает конец уточной нити с неподвижно помещенной на раме станка паковки и прокладывает нить в зев;

2.      Пневматический способ, когда уточная нить предварительно отмеренной длины с неподвижной паковки вдувается в зев струей сжатого воздуха;

.        Гидравлический способ, когда уточная нить предварительно отмеренной длины с неподвижной паковки вносится в зев струей воды, выходящей под давлением из форсунки;

.        Специальный захват перемещается в зеве с помощью жестких или гибких рапир и вводит уточную нить в зев с неподвижной паковки; уток может прокладываться с одной стороны или поочередно с обеих сторон;

.        Пневморапирный способ, когда уточная нить с неподвижной паковки, постоянно отмериваясь, подается в зев с помощью жестких полых рапир, перемещаясь с них сжатым воздухом (этот способ является комбинацией рапирного и пневматического способов).

В зависимости от способа прокладывания уточной нити в зев механизмы ввода утка можно подразделить на следующие две группы. Механизмы первой группы - боевые механизмы - применяются на челночных станках.

Механизмы второй группы - механизмы движения уточной нити - применяются на бесчелночных станках.

 


2. Прокладывание уточной нити на челночном ткацком станке

 

.1 Челнок и его устройство


Челнок обыкновенного ткацкого станка представляет собой обтекаемой формы тело с полостью для уточной паковки (рис. 1). Устройство челнока определяется видом паковки с уточной пряжей, способом смены паковки, характером перемещения челнока в зеве и видом перерабатываемой нити. Уточная паковка может быть в форме початка, намотанного на прядильной или на уточно-мотальной машине.

Челнок имеет продольный сквозной вырез для шпули, шпуледержатель 3, заводной аппарат 2, металлические конусы - мыски 1, которые жестко закреплены в теле челнока и воспринимают удар гонка боевого механизма. В передней стенке челнока сделана канавка для уточной нити, предохраняющая ее от повреждения, когда челнок движется в правой челночной коробке. Также в передней стенке челнока сделаны вырезы для прохода уточного щупа и нитеуловителя. Шпуля в челноке удерживается специальным стальным шпуледержателем 5. Для придания шпуле при смене надлежащего направления устанавливается специальная пластинка - шпулеспускатель 4. Заводной аппарат 2 служит для автоматической заводки в направляющие уточной нити с новой шпули. Для торможения нити с целью получения необходимого натяжения ее при сматывании со шпули к внутренней стенке челнока прикрепляют мех, щетину или плюш.

Челнок работает в сложных динамических условиях, поэтому корпус его изготавливают из хорошо выдержанного дерева твердых пород и с двух или трех сторон оклеивают фиброй.

 


2.2 Боевые механизмы


Боевые механизмы сообщают челноку необходимую скорость и направление движения через зев.

Боевые механизмы по способу передачи движения разделяются на кулачковые, кривошипные, пружинные и пневматические. Наиболее распространены кулачковые механизмы, в которых кулачок используется и как ведущий орган, и как ведомый.

По расположению деталей на станке боевые механизмы разделяются на три вида: нижнего, среднего и верхнего боя. Широко используются механизмы среднего боя.

Боевые механизмы устанавливаются с обеих сторон ткацкого станка, так как бой происходит попеременно (то с одной, то с другой стороны станка), поэтому боевые кулачки повернуты на среднем валу один относительно другого на 180 градусов. Средний вал вращается с частотой в 2 раза меньшей, чем главный вал, поэтому за каждый полуоборот среднего вала происходит один удар и прокладывается одна уточная нить

При выработке тканей на станках с многочелночными механизмами часто необходимо производить бой не поочередно с каждой стороны, а в более сложной последовательности. По очередности боя боевые механизмы разделяются на механизмы последовательного и произвольного боя.

При наладке боевого механизма необходимо правильно устанавливать силу боя. Силой боя называют путь, проходимый челноком в период разгона. На практике сила боя определяется также величиной размаха погонялки в период разгона челнока или расстоянием, на которое перемещается гонок в период разгона. Размах погонялки и величина перемещения гонка регулируются перестановкой стремени 5. При увеличении длины стремени размах погонялки увеличивается. Кроме этого, на размах погонялки влияют длина хомутика 21, изменяющая зазор между хомутиком и погонялкой и положение стрелки 10, изменяющей плечо L2.

3. Бесчелночные способы прокладывания

 

.1 Ткацкие станки с малогабаритными прокладчиками утка


В бесчелночных станках типа СТБ прокладывание утка через зев осуществляется малогабаритными прокладчиками.

Отечественное машиностроение выпускает станки СТБ с заправочной шириной 180, 220, 250 и 330 см. Станки оснащают двухцветными и четырехцветными приборами для выработки тканей с двумя или четырьмя утка-ми различного цвета или вида. Частота вращения главного вала станка от 170 до 260 мин -1.

На бесчелночных ткацких станках с малогабаритными прокладчиками общий принцип образования ткани остается таким же, как на челночных. Отличие заключается в способе прокладывания уточной нити. Уточная нить вводится в зев прокладчиком, имеющим зажим для удерживания конца уточной нити в период прокладывания. Уточная паковка неподвижно крепится на левой раме станка.

Прокладчики пробрасываются через зев поочередно только с одной стороны станка, из боевой коробки, расположенной на левой раме, в приемную коробку, расположенную на правой раме. В обратном направлении прокладчики перемещает транспортер, находящийся под основой. Скорость транспортера в несколько раз меньше скорости движения прокладчика через зев, поэтому в работе участвуют от 9 до 17 прокладчиков в зависимости от ширины станка.

После того как уточная нить проложена через зев, она разрезается у левой кромки на расстоянии 1,5 см от кромочных нитей основы. После прибоя уточной нити правый и левый концы ее закладываются в следующий зев механизмом кромокообразователя, а затем прибиваются к опушке ткани вместе с вновь проложенной уточной нитью.

Применение на станке СТБ иного по сравнению с челночным способа прокладывания утка привело к появлению на станке дополнительных механизмов, которые можно разделить на три группы: механизмы движения прокладчика, механизмы питания прокладчика утком, кромкообразователи.

За один цикл движения прокладчика выполняется десять операций, при которых рабочие органы механизмов воздействуют на прокладчик.

На рис. 3 показана схема прокладывания уточной нити через зев в различные фазы рабочего цикла.

Уточная нить с бобины 1 проходит через глазок 2 щитка, тормоз 3 уточной нити, направляющий глазок 4, глазок компенсатора 5, направляющий глазок 6 и удерживается зажимами возвратчика утка 7.

Положение I - прокладчик с раскрытыми зажимами направляется к возвратчику утку, который держит кончик нити. Тормоз зажимает нить, компенсатор находится в верхнем положении.

Положение II - прокладчик 8 поступает на линию полета и боя, его зажимы раскрыты и располагаются за зажимами возвратчика утка, который еще держит нить.

Положение III - зажимы возвратчика утка открываются, а зажимы прокладчика закрываются, нить передается прокладчику, который подготовлен к полету. Тормоз утка начинает открываться, а компенсатор опускаться.

Положение IV - происходит бой. Прокладчик с концом уточной нити, которая сматывается с бобины, пролетает через зев в приемную коробку. Тормоз утка полностью раскрыт, компенсатор опущен вниз.

Положение V - для уменьшения правого кончика уточной нити, выступающего за край ткани, прокладчик немного перемещается назад к правой кромке ткани. Компенсатор поднимается и удаляет избыточную длину нити из зева. Тормоз утка закрывается. Возвратчик утка подошел к левой кромке ткани, зажимы его начинают закрываться.

Положение VI - центрирующее устройство 9, находящееся около левой кромки, подходит к уточной нити и располагает ее по центру зажимов возвратчика утка, которые затем закрываются и захватывают нить, к кромкам каждого полотна подходят нитедержатели 10 и зажимают выступающие из кромок кончики утка.

Положение VII - раскрытые ножницы 11 подошли к уточной нити. Прокладчик, находящийся в приемной коробке, раскрывает зажимы и освобождает уточную нить.

Положение VIII - уточная нить разрезается ножницами около левой кромки. Подъемник поднимает с транспортера очередной прокладчик и перемещает его вверх к боевой коробке, прокладчик в приемной коробке начинает движение к транспортеру.

Положение IX - возвратчик утка перемещается влево, компенсатор поднимается и выбирает излишек нити. Бердо и нитедержатели перемещаются к опушке ткани, уточная нить прибивается к опушке ткани. Ножницы к этому времени отходят в исходное положение.

Положение X - возвратчик утка отходит в крайне левой положение, компенсатор заканчивает выбирать нить и приходит в крайне верхнее по ложение. Концы уточной нити от нитедержателей переходят к иглам кромкообразователей и закладываются в образованный зев.

Далее цикл прокладывания уточной нити повторяется

Скорость, необходимая для пролета прокладчика через зев, сообщается боевым механизмом, работа которого основана на использовании потенциальной энергии закрученного валика.

 

.2 Пневматические ткацкие станки


Прокладывание уточной нити на пневматических ткацких станках типа П осуществляется следующим образом. Уток сматывается с бобины 1 (рис. 4), проходит через нитенатяжитель 2. Отмеривающий барабанчик 4 с помощью прижимного ролика 3 отмеривает длину уточной нити, необходимую для одной прокидки. При образовании зева струя воздуха из форсунки 6 переносит уток отмеренной длины через канал конфузора 8 на другую сторону основы.

Конфузор состоит из отдельных пластин, которые закреплены на батане. Он предназначен для того, чтобы поднять уровень скорости воздушного потока по всей ширине ткацкого станка; концентрировать поток в области канала, обеспечивая тем самым больший контроль за прокладываемой уточной нитью; уменьшить воздействие воздушной струи на нити основы.

Для повышения эффективности конец утка отсасывается соплом 9. Максимальное давление. развиваемое при введении уточной нити в зев, составляет 392 кПа. После прокидки уточная нить отрезается ножницами 7 и ее конец фиксируется от обратного вытягивания из сопла и зажимается тормозком 5.

В момент прибоя батан отводит конфузор под опушку ткани, происходит смена зева, уточная нить выводится нитями основ через щель в пластинах и прибивается к опушке ткани. Кромочные нити основы закрепляются с помощью специального механизма перевивки.

Ткань, вырабатываемая на пневматическом ткацком станке, имеет с правой стороны неровную кромку из концов нитей утка. Эта бахрома мешает дальнейшей отделке ткани, поэтом ее отрезают, в результате чего образуются отходы.

Ткацкие станки, работающие по этому принципу, получили широкое распространение для изготовления хлопчатобумажных и шелковых тканей с шириной заправки по берду до 165 см.

 


3.3 Пневморапирные ткацкие станки


На рис. показана схема прокладывания уточной нити в зеве на пневморапирном ткацком станке типа АТПР. Механизм прокладывания утка состоит из двух полых рапир - правой 1 и левой 3, отмеривающего барабана 6. К барабану с помощью пружины прижат ролик 7, образующий с барабаном фрикционную пару, которая непрерывно смывает нить с неподвижной бобины 4. Между бобиной и зажимом фрикционной пары расположена система нитепроводников и нитенатяжителей 5. Рычаг компенсатора 9 вместе с неподвижными нитепроводниками 8 и 10 образуют зону накопления уточной нити, в данном случае - устройство для образования петли. Огибая пруток уточного контролера 11, нить заводится в правую рапиру 1 и удерживается там воздушным потоком.

В момент прокидки нити с двух сторон в открытый зев 2 (рис. 5) вводятся рапиры 1 и 3. В середине зева рапиры сходятся и образуют воздушный канал. Уточная нить из рапиры 1 под воздействием потока воздуха, нагнетаемого в правую рапиру и эжектируемого левой рапирой 3, переходит в нее. Затем рапиры выходят из зева, а свободный конец тягой воздуха удерживается в левой рапире. После выхода рапир из зева проложенная нить прибивается бердом к опушке ткани. Кромкообразующее устройство формирует закладные или брошюровочные кромки.

Пневморапирные ткацкие станки предназначены для выработки хлопчатобумажных и шелковых тканей из пряжи от 14,9 до 50 текс, а также льняных и джутовых тканей некоторых видов.

Схема прокладывания уточной нити на станке АТПР-120

 


4. Преимущества и недостатки различных способов введения уточной нити в зев

уточный нить челнок ткацкий

Введение уточной нити челноком

Челночный способ введения уточной нити в зев имеет ряд существенных недостатков, основные из которых следующие:

1.      Периодичность введения уточной нити в зев.

2.      Небольшая скорость прокладывания уточной нити в зев (12-16 м/с).

.        Незначительная длина нити на уточной паковке (500-3000 м). Поэтому необходима частая смена уточной паковки в челноке, что требует дополнительного штата вспомогательных рабочих (заряжальщиц) при обслуживании автоматических ткацких станков или вызывает большие простои механических станков.

.        Неустойчивость движения челнока при его свободном полете в зеве.

.        Значительный расход энергии на разгон челнока и необходимость гашения остаточной (также значительной) энергии челнока после его пролета через зев. Это вызывает напряженные условия работы боевого механизма, повышенную вибрацию станка и большой шум в ткацких цехах.

.        Большие размеры зева приводят к повышенной деформации нитей основы, что может вызывать их обрывность.

Таким образом, челночный способ введения уточной нити в зев является одной из главных причин низкой производительности ткацкого станка и высокой трудоемкости ткацкого производства.

Введение утка малогабаритным прокладчиком

Этот способ прокладывания имеет следующие преимущества:

2.      Устойчивость движения прокладчика на все пути его перемещения. Прокладчик движется в направляющей гребенке, исключающей его вылет из зева.

.        Снижены затраты энергии на прокидку прокладчика.

.        Практически неограниченный запас уточной пряжи на станке: применение двух или четырех уточных паковок - бобин создает запас утка до 8 кг. Использование больших паковок уточной пряжи и уменьшение ее обрывности обеспечивает сокращение затрат рабочего времени при обслужива-нии станков.

.        Скорость движения прокладчика составляет 23-25 м/с и не зависит от скорости движения батана, что позволяет создать ткацкие станки большой ширины (свыше 5 м) при высокой частоте вращения главного вала.

К недостаткам этого способа прокладывания утка можно отнести следующие:

1.      Прерывность введения уточной нити в зев.

2.      Сложность конструкции отдельных механизмов, что приводит к высокой стоимости станка.

.        Повышенный расход уточной пряжи за счет концов, заправляемых в кромку ткани.

Ткацкие станки с малогабаритным прокладчиком утка имеют наиболее высокую производительность (свыше 600 м утка в минуту) по сравнению с производительностью станков других конструкций.

Введение утка в зев с помощью жестких или гибких рапир

Ткацкие станки, работающие по этому принципу введения уточной нити в зев, получили широкое распространение, особенно при изготовлении шерстяных суконных тканей и тканей из фасонной пряжи высокой линейной плотности.

Преимущества этого способа прокладывания следующие:

1.      В большинстве случаев рапирные станки предназначены для выработки тканей многоцветных по утку (до восьми цветов). При этих условиях они имеют большое преимущество перед многочелночными станками, так как на последних приходится применять громоздкие челночные коробки и сложную систему перемещения челночных коробок, что приводит к снижению скорости станков на 20-30%. Рапирные станки при одинаковой заправочной ширине с челночными станками имеют более высокий скоростной режим.

2.      Упрощается конструкция некоторых механизмов станка, что позволяет применить более дешевые конструкционные материалы, в результате чего стоимость танка снижается.

.        Уменьшаются шум станка и его вибрация.

.        Практически неограниченный запас уточной пряжи на станке.

.        Небольшие размеры зева.

.        В рапирных станках уточная нить подается в зев рапирами с неподвижных бобин, что способствует значительному повышению производительности по сравнению с челночными станками. Производительность рапирных ткацких станков составляет свыше 400 м утка в минуту.

Одним из недостатков станков с жесткими рапирами является увеличение габаритных размеров станка по ширине. Другим недостатком является увеличение отходов по утку.

Введение уточной нити в зев пневматическим способом

Пневматический способ введения утка в зев имеет следующие преимущества:

1.      Исключение челнока, совершающего возвратно-поступательное движение, или какого-либо иного прокладчика утка.

2.      Практические неограниченный запас уточной пряжи на станке.

.        Небольшие размеры зева.

.        Снижение шума в ткацких цехах.

.        Скорость перемещения нити в зеве достигает 35 м/с, что обеспечивает высокую производительность станка, составляющую от 450 до 600 м утка в минуту в зависимости от ширины станка.

Однако пневматический способ имеет и существенные недостатки:

1.      Сохраняется периодичность введения утка в зев.

2.      Применение сжатого воздуха требует коммуникаций в ткацких цехах для подачи воздуха к станкам и установок для подготовки и очистки сжатого воздуха.

.        Неустойчивость движения уточной нити в конфузоре. Возможны недолеты нити до противоположного края, вследствие чего в ткани возникают пороки, снижающие ее сортность.

.        Повышенный расход уточной пряжи за счет концов утка, находящихся за пределами кромки ткани.

.        Наблюдается повышенная запыленность воздуха в ткацком цехе.

Введение уточной нити в зев гидравлическим способом

Ткацкие станки, работающие по этому принципу, имеют ширину по берду от 125 до 225 см.

Гидравлический способ имеет те же преимущества, что и пневматический, и обеспечивает большую надежность прокладывания уточной нити в зев. Недостатки этого способа те же, что и у пневматического способа. К дополнительным недостаткам этих станков можно отнести более ограниченную область их применения. Вследствие использования воды для движения утка ткань имеет высокую влажность, поэтому гидравлические станки применяют для изготовления тканей из синтетических нитей.

Пневморапирный способ

Пневморапирный способ имеет следующие преимущества:

1.      Большая устойчивость движения уточной нити в канале круглой рапиры по сравнению с пневматическим способом прокладывания утка, что обеспечивает получения ткани более высокого качества.

2.      Применение для перемещения уточной нити сжатого воздуха более низкого давления (до 39 кПа), подаваемого компрессором небольшой мощности, установленным на станке. Такое решение позволяет исключить устройство коммуникаций для подачи воздуха к станкам.

.        Практически неограниченный запас уточной нити на станке.

.        Небольшие размеры зева.

.        Скорость движения нити в зеве составляет 18-20 м/с, что позволяет повысить на 15% частоту вращения главного вала станка по сравнению с челночными станками.

К недостаткам этого способа прокладывания утка можно отнести следующие:

1.      Сохраняется прерывный способ введения утка.

2.      Прокладывание уточной нити осуществляется путем введения в зев двух трубчатых рапир за каждый оборот главного вала станка. Возвратно-поступательное движение рапир со значительной скоростью создает тяжелые динамические условия работы деталей механизма привода рапир.

.        Повышенный расход уточной пряжи за счет образования закладных или брошюровочных кромок ткани.

.        Увеличение габаритных размеров станка по ширине.

Сравнительная эффективность ткацких станков, работающих по различным принципам введения уточной нити в зев, приведена в табл. 1 на примере ткани миткаль арт. 15.

 


5. Станки с непрерывным и многозонным формированием ткани


Непрерывное прокладывание уточной нити применяется на круглых ткацких станках и на многозевных ткацких станках с волнообразным зевом.

Технологические операции на многозевных ткацких машинах совершаются непрерывно и последовательно в нескольких зонах по ширине заправки основы или вдоль основ. На таких машинах необходимо непрерывное введение нескольких уточных нитей в систему зевов и непрерывное прибивание их к опушке ткани.

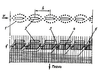
Принципиальная схема ткацкого станка с многоволновым зевом, бегущим вдоль опушки, представлена на рис. 6. Многоволновой зев применяется на так называемых круглых станках. В отличие от круглых станков, на которых ткань имеет опушку в виде полной или неполной окружности, на плоских многозевных машинах вырабатываемая ткань имеет прямолинейную опушку.

Принципиальная схема формирования ткани на многозевной машине

В зависимости от конструкции плоские машины делят на две группы: с зевами вдоль основы и с зевами поперек основы ткани.

Зев 1 (рис.), в форме волны, несущей в каждом гребне челнок 2 с утком 3, движется в одном направлении с постоянной скоростью, открываясь перед челноком и закрываясь непосредственно за ним. Бердо на многозевных машинах состоит из отдельных дисков 4 со сложным профилем и отличается от берд, применяемых на челночных и бесчелночных ткацких станках. Диски установлены на вращающемся валу 5. При непрерывном тканеобразовании скорость прокладывания уточной нити составляет 2-6 м/с. Производительность такой ткацкой машины зависит от числа зевов (8-32); заправочной ширины; числа прокладываний утка; обрывности нитей основы и утка; времени на выполнение операций при ликвидации остановов машины и других факторов. В табл. 1 приведены сравнительные данные ткацких станков при выработке ткани полотняного переплетения.

ткацких станков при выработке ткани полотняного переплетения. Непрерывный процесс формирования ткани на ткацких машинах имеет значительные технико-экономические преимущества по сравнению с формированием ткани на бесчелночных ткацких станках последних конструкций. Динамические нагрузки на уточную нить при меньшей скорости движения нити значительно снижаются, уменьшается обрывность нитей, улучшается качество ткани. На челночных и бесчелночных ткацких станках с увеличением ширины станка число прокидок утка в 1 мин уменьшается, на ткацких машинах при непрерывном тканеобразовании число прокладываний утка не зависит от ширины станка. Наиболее эффективно ткацкие машины могут применяться при большой заправочной ширине (3,3-3,6 м). Многозевные ткацкие машины работают в значительно более спокойном динамическом режиме, а следовательно, более надежно. Шум, возникающий при работе машины типа МТ, во много раз ниже шума, создаваемого челночным станком, и находится примерно на уровне шума, вызываемого работой круглой трикотажной машины.

Литература

 

1.   Севостьянов А.Г. Механическая технология текстильных материалов, - М.: Легпромбытиздат, 1989.

2.      Гордеев В.А., Волков П.В. Ткачество, - М.: Легкая и пищевая промышленность, 1984.

.        Севостьянов А.Г. Лабораторный практикум по механической технологии текстильных материалов, - М.: Легкая индустрия, 1976.

.        Алешин П.А., Полетаев В.М. Лабораторный практикум по ткачеству, - М., Легкая индустрия, 1979.

Похожие работы на - Современные способы прокладывания утка на ткацких станках

 

Не нашли материал для своей работы?
Поможем написать уникальную работу
Без плагиата!
Без нейросетей!