Современное производство прессованных изделий из алюминиевых сплавов

  • Вид работы:
    Курсовая работа (т)
  • Предмет:
    Другое
  • Язык:
    Русский
    ,
    Формат файла:
    MS Word
    233,52 Кб
  • Опубликовано:
    2015-03-17
Вы можете узнать стоимость помощи в написании студенческой работы.
Помощь в написании работы, которую точно примут!

Современное производство прессованных изделий из алюминиевых сплавов

Содержание

Введение

. Общая часть

.1 Производство базового цеха

.2 Продукция и производственная программа

. Технологическая часть

.1 Техническое обоснование применяемой технологии

.2 Технико - экономическое обоснование технологии и оборудования

.3 Металлофизическая характеристика и поведение обрабатываемых сплавов при пластической деформации

.4 Слитки и заготовки

.5 Технологический процесс и применяемое оборудование

.6 Расчет термомеханических и энергосиловых параметров горячей обработки усилия прессования

.6.1 Расчет размеров заготовки

.6.2 Расчет размеров форкамеры

.6.3 Расчет усилия прессования

Список использованной литературы

Введение

Одной из мировых тенденций в применении алюминия является использование его в современном строительстве. Алюминий относительно дёшев, при этом очень удобен, его многочисленные сплавы пластичны в процессе производства конструкций, и, вместе с тем, достаточно функциональны - не меняют свою форму под воздействием даже значительных нагрузок.

По объемам применения в строительстве основным алюминиевым полуфабрикатом являются прессованные профили. От 55 до 60% всего алюминия идет на эти цели, что составляет более половины всех прессованных изделий, потребляемых развитыми странами. В основе столь широкого использования профилей в строительстве лежит возможность получения в процессе производства максимально эффективных сечений, как с точки зрения несущей способности, так и с точки зрения монтажа конструкций. Прессование обеспечивает выполнение оптимальной формы профиля, требуемое соотношение размеров его элементов и высокую точность исполнения, что открывает возможность создания широкого ряда архитектурных систем.

В России сегодня соотношение применения полуфабрикатов в строительстве имеет следующий вид: 85% приходится на долю прессованных профилей, 15% - плоского проката. Отличие указанных цифр от среднестатистических можно объяснить тем, что более половины мирового применения листа приходится на облицовку общественных зданий, изготовление ливневых спусков и водосточных желобов из алюминия, которые в российской строительной практике пока не находят широкого применения.

1. Общая часть

.1 Производство базового цеха

В восточном регионе России одним из ведущих предприятий по изготовлению прессованной продукции, где решены указанные проблемы, является литейно-прессовый завод СЕГАЛ, который с первых дней своей организации выступает как производитель профильной продукции архитектурного назначения. В настоящее время на ЛПЗ «СЕГАЛ» прессуют следующие системы строительных конструкций:

система холодных профилей КП45- фасады жилых и общественных зданий, балконы, лоджии, внутренние перегородки, двери, витражи, тамбуры.

система КП45Е- торговое оборудование, стеллажи, офисное оборудование, телефонные и кассовые кабинки, выставочное оборудование.

система СЛАЙДИНГ-60- раздвижные ограждения, конструкции для раздвижных балконов, лоджии, внутренние перегородки

система СЛАЙДИНГ- 45 - ограждающие конструкции с раздвижными и распашными створками для остекления балконов, лоджий, внутренних перегородок.

системы КП40 - балконы, лоджии, внутренние перегородки.

системы фасадного остекления КП50 - «холодные и «теплые» вертикальные витражи, фальшвитражи, остекление фасадов зданий и перегородок и др.

система КП50К - изготовление вертикальных и наклонных витражей, одно- и двухскатных крыш.

система наклонных и светопрозрачных крыш и зенитных фонарей КП60. - система вентилируемых навесных фасадов «СИАЛ» - облицовка фасадов зданий, внутренняя отделка помещений различного назначения композитными панелями и керамогранитной плиткой.

система КПТ74 - изготовление «теплых» конструкций( фасады, витражи, двери, окна) - обеспечивает хорошую теплоизоляцию.

система КПТ86; КП68 - позволяют выполнить такие специфические архитектурные требования, как открывание створки наружу в непрерывном фасаде.

Около 70% всей прессованной алюминиевой продукции в мире выпускается из сплавов системы Al-Mg-Si. В России, в отличие от других стран, имеется только один промышленный сплав этой системы сплав АД31, остальные (АВ, АД33, АД35) содержат добавки меди, марганца, хрома и поэтому не рассматриваются.

Исходя из вышеизложенного, было принято решение в курсовом проекте рассмотреть и проанализировать технологию изготовления сплошных профилей строительного назначения из сплава АД31, реализованную на ООО «ЛПЗ СЕГАЛ», внести в нее соответствующие изменения.

В цехе - аналоге заложено поточное производство прессованных профилей из сплава АД31, используемых для строительных конструкций. Одно из основных условий создания поточного производства профилей - совмещение в едином технологическом цикле процессов прессования, закалки и адьюстажной обработки (правки, резки). Вторым условием является соблюдение определенных требований, предъявляемым к сплавам, применительно к предполагаемому использованию их для скоростного прессования:

) термическая обработка выбранного сплава должна быть по возможности простой и не требовать применения специализированного оборудования и отдельных технологических операций, время выполнения которых не перекрывается временем прессования;

) сплавы должны прессоваться с высокими скоростями без образования трещин и ухудшения качества поверхности профиля при температурах, достаточных для проведения термической обработки.

Профили изготавливают с техническими требованиями по ГОСТ 22233 - 01, ГОСТ 8617-81 с ужесточением некоторых параметров до уровня международных стандартов DIN 17615 .

Профили изготавливают стандартной длиной 6 м. По требованию заказчика длина может быть немерной, кратной мерной или более 6 м.

В качестве требований к качеству профилей можно выделить следующее: поверхность профилей не должна иметь трещин, расслоений, неметаллических включений, точечных налипов. На лицевой поверхности допускаются небольшие риски глубиной не более 0,02 мм. Допускаются единичные забоины, царапины глубиной не более 0,07 мм. На не лицевых поверхностях допускаются забоины, царапины, различного рода запрессовки, если глубина их залегания не выводит профиль за минусовые предельные отклонения по размерам; единичные риски и задиры глубиной не более 0,05 мм.

Макроструктура профилей не должна иметь трещин, рыхлот, расслоений.

Профили поставляются в закаленном и искусственно состаренном состоянии Т1 и с повышенным уровнем механических свойств. Механические свойства профилей из сплава АД31 представлены в таблице 1.1

Таблица 1.1- Механические свойства профилей

Сплав

Состояние поставки

Предел прочности, МПа, не менее

Предел текучести, МПа, не менее

Относительное удлинение, % не менее

АД 31

Т1 ( F 22)

215

160

12

АД 31

Т1

196

147

8


Т1 - закаленное и искусственно состаренное состояние поставки

F22 - до уровня Европейских стандартов

1.2 Продукция и производственная программа

Номенклатура пресс - изделий выпускаемых прессовыми цехами завода ООО «ЛПЗ СЕГАЛ» более 1000 пресс- изделий. В качестве готовой продукции, выпускаемой прессовым цехом, были выбраны профили КП45365, КП45322, КП45317-1, КП45331, (таблица 1.2), относящийся к профилям фасадной системы КП60. В таблице 1.3 указана годовая программа прессового цеха.

Таблица 1.2 - Номенклатура продукции проектируемого цеха.

Вид и размеры профиля

Показатели характеризующие профиль, и годовая программа выпуска продукции

   КП 45365

Площадь сечения 3,034 см2 Масса 1 м длины 0,822 кг Периметр внешний 310 мм Диаметр описанной окружности 110,1 мм

   КП 45317-1

Площадь сечения 26,554 см2 Масса 1 м длины 7,19 кг Периметр внешний 542,7 мм Диаметр описанной окружности 200,3 мм

       КП 45322

Площадь сечения 7,363 см2 Масса 1 м длины 1,988 кг Периметр внешний 423,6 мм Диаметр описанной окружности 92,4 мм

      КП 45331

Площадь сечения 2,186 см2 Масса 1 м длины 0,59 кг Периметр внешний 171,6 мм Диаметр описанной окружности 50,5мм


Таблица 1.3 - годовая программа прессовго цеха.

Наименование прессиемого профиля

Годовая программа

КП 45365

1400 т

КП 45317 - 1

1400 т

КП 45322

1400 т

КП 45331

1400 т


Система КП60 - изготовление фасадов зданий, зимних садов и наклонных светопрозрачных покрытий.

Основу системы КП60 составляют AL профили стоек и ручей с видимой стороной 60 мм. На базе данной системы возможно выполнение вертикальных фасадов как плоских, так и изогнутых под различными углами, наклонных одно и двухскатных крыш, куполов, бассейнов, оранжерей, многогранных пирамид арочных сводов. Под правильные пирамиды разработан специальный профиль. Конструктивной особенностью системы является двухуровневый отвод влаги: первый канал для удаления просочившейся влаги, второй - для отвода конденсата. Это позволяет изготавливать конструкции для помещений с повышенной влажностью.

Благодаря уплотнителям различной толщины и специальным адаптерам при остеклении возможна установка заполнения толщиной в 24, 32 мм. Специальные монтажные анкеры позволяют вести монтаж по металлическому или деревянному каркасу. При использовании цельных каркасных стоек несущий каркас не требуется. В витражи системы КП60 встраиваются КПТ74, КПТ60 и КП45 створки и двери с различными вариантами открывания. Для осуществления двухуровневого водостока ручьи фруструются двумя уступами и крепятся к стойке через закладную, а также непосредственно к стойке при помощи самонарушающих винтов.

Введение в конструкцию фасада температурных швов по высоте стоек позволяет реализовать поэлементную сборку фасада и компенсировать температурные расширения.

2. Технологическая часть

.1 Техническое обоснование применяемой технологии

В курсовой работе предлагается изменить систему подачи заготовок с традиционной на систему компактного пресса с фронтальной загрузкой заготовок на ось прессования.

Отличительной особенностью этих прессов является загрузка заготовки между контейнером и матричным блоком (рисунок 2.1), что позволяет сократить на 50 % ход главного цилиндра пресса и уменьшить длину колонн на 30 %. Загрузку заготовки с точным позиционированием на 0,1 мм по оси пресса проводит специальный робот и при распрессовке ее в контейнере имеет место симметричная осадка. Исключающая появление поперечных сил, отрицательно воздействующих на элементы прессам (рисунок 2.2) . В результате значительно повышается жесткость конструкции и увеличивается ресурс работы. Существенно облегчается центровка пресса, которую достаточно проводить один раз в 2 года и повышение точности прессованных профилей.

Важным элементом является уменьшение времени холостого цикла. При использовании аналогичных гидравлических систем и скоростей движения плунжера экономия времени для компактных прессов составляет не менее 4с, что позволяет обеспечить повышение их производительности по сравнению с традиционными прессами минимум на 4 %.

Рисунок 2.1 − Схема традиционного пресса (а) и компактного пресса с фронтальной загрузкой (б)

Рисунок 2.2 Схема распрессовки заготовки в компактном прессе с фронтальной загрузкой(а) и в традиционном прессе (б)

Разработанные мероприятия направлены на повышение производительности при прессовании (минимум на 4%), что увеличит годовую программу, а ,следовательно, прибыль, более подробно технико-экономические показатели изложены в экономической части.

.2 Экономическое обоснование проектируемой технологии и оборудования

Исходные данные для экономического обоснования представлены в таблице 2.1.

Таблица 2.1 - Исходные данные

Показатели

Варианты


До реконструкции

после реконструкции

1

2

3

Годовой объем производства продукции, т Норма времени на 1 т продукции, час (податчик слитков) Расход металла на 1 т продукции, т/т Количество возвратных отходов, т/т Мощность двигателя, кВт Стоимость податчика слитков, руб. Стоимость программного обеспечения Стоимость металла, руб./т Стоимость возвратных отходов, руб./т Стоимость электроэнергии, руб./кВтч Часовая тарифная ставка основного рабочего, руб./час Часовая тарифная ставка вспомогательного рабочего, руб./час Эффективный фонд времени работы одного рабочего, час Районный коэффициент, доли ед. Коэффициент премирования, доли ед. Коэффициент, учитывающий дополнительную заработную плату, доли ед. Коэффициент, учитывающий отчисления на социальное страхование, доли ед. Коэффициент списочного состава, доли ед. Коэффициент использования оборудования, доли ед.: - по времени - по мощности Норма амортизационных отчислений, % Норма отчислений на содержание и текущий ремонт оборудования, %

5400 0.4 1,138 0,138 5 - - 53 000 26200 1,1 45 30 1686 1,6 1,3 1,14  1,3 1,15   0,7 0,8  10 8

5600 0.3 1,128 0,128 6 5 000 000 500 000 53 000 26200 1,1 45 30 1686 1,6 1,3 1,14  1,3 1,15   0,7 0,8  10 8


Изменение капитальных вложений

Требуемое количество оборудования по каждому варианту находим по формуле

А=т·В/Тэф, (2.1)

где т - норма времени на 1 т, ч/т;

В - годовой объем производства продукции, т;

Тэф - эффективный годовой фонд времени работы оборудования, час.

Эффективный годовой фонд времени работы оборудования рассчитываем по формуле

, (2.2)

где Дг - число дней в году, дн.;

Дн - число дней в неделе;

Тн - число часов работы в неделю, час.(40, 80, 120 часов при работе, соответственно, в одну, две, три смены; при непрерывной работе 7 дней в неделю - 168 часов);

Кт - коэффициент использования оборудования по времени, доли единиц.

Тэф = 365 · 168/7 ·0,7=6132 ч

Рассчитываем количество оборудования по вариантам:

А1 = 0,4·5400/6132=0,35 ед.,

А2 = 0,3·5600/6132=0,27ед.,

Принимаем =1ед. и =1ед.

Стоимость оборудования рассчитываем по формуле

 ; (2.3)

где Ц - стоимость единицы оборудования, тыс.руб.

Стоимость податчика слитков.

К2 = 1 · 5 000 000 = 5 000 тыс. руб.

С учетом строительно-монтажных работ (10-15%) капитальные вложения составят

К2= 5 000 · 1,1 =5 500тыс. руб.

Дополнительные капиталовложения, с учетом стоимости программного обеспечения, составят.

ΔК = К2у= 5 500 + 500= 6 000 тыс, руб.

где Ку− стоимость прграмного обеспечения, тыс.руб

Изменение себестоимости продукции

. Изменение себестоимости продукции за счет изменения затрат на металл

Затраты на металл находим на тонну, так как после реконструкции увеличился выпуск готовых изделий по формуле.

В, (2.4)

где Зм - расход металла на 1т продукции, т/т;

 возвратные отходы на 1т металла, т/т;

- цена 1т металла,тыс. руб./т;

- цена 1 т возвратных отходов, руб./т.

См1 =(1,138 · 53 000 - 0,138 · 26 200) = 56518,4 руб,

См2 = (1,128 · 53 000 - 0,128 · 26 200) = 56 230,4 руб,

Изменение затрат на 1т металл составит

ΔСм = См2 - См1 = 56518,4 - 56230,4 = 288 руб./ тн.

. Изменение себестоимости продукции за счет изменения затрат на электроэнергию

Затраты на электроэнергию рассчитываем по формуле

; (2.6)

где М - суммарная установленная мощность двигателей оборудования кВт;

и  - коэффициенты использования оборудования по мощности и по времени, доли единиц;

- цена электроэнергии, руб./кВтч.

для линии закалки

СЭ1 = 5· 0,4 · 0,7 · 0,8 · 1,1 = 1,23руб.,

СЭ2 = 6 · 0,3 · 0,7 · 0,8· 1,1 = 1,11руб.,

изменение затрат на электроэнергию с учетом затрат электроэнергии на укладчик

ΔСЭ = (СЭ2 - СЭ1) = (1,11 - 1,23)= -0,12 pyб.

. Изменение себестоимости продукции за счет изменения затрат на амортизацию, содержание и ремонт оборудования

Затраты на амортизацию, содержание и ремонт оборудования находим по формуле

; (2.8)

где На - норма амортизационных отчислений, % (определяется исходя из срока полезного использования оборудования);

Ноб - отчисления на содержание и ремонт оборудования, %.

Соб 2 = (6 000 000 · (10 + 8)/100)/5600 = 192,86 руб./тн,

Результаты расчетов по изменению себестоимости продукции сводим в таблицу 2.2.

Таблица 2.2 - Изменение текущих затрат, руб.

Статьи затрат

Вариант

Отклонение (-экономия, + перерасход


до реконструкции

после реконструкции


1.Основные материалы - металл

56518,4

56230,4

-288

2.Электроэнергия

1,23

1,11

-0,12

3.Амортизация, содержание и ремонт оборудования

-

192,86

192,86

Итого

56519,63

56424,37

-95,26


Результаты расчётов подтверждают экономическую целесообразность замены оборудования. Снижение себестоимости продукции составит 95,26 руб./тн, что позволит получить дополнительную прибыль, а на годовой выпуск прибыль составит 533,456 тыс.руб. Дополнительные капитальные вложения при этом составят 6 000 тыс.руб.

.3 Металлофизическая характеристика и поведение обрабатываемых сплавов при пластической деформации

Сплав АД31 относится к системе Al-Mg-Si. По обилию марок сплавов этой системы, применяемых в настоящее время в различных странах (АД31 - в России; 6060, 6063 - Англия, Америка; Al-Mg-Si 0,5 западная Европа и т. д.) можно судить о широком распространении этих сплавов в промышленности. Сплав АД31 характеризуется высокими пластическими свойствами. Благодаря этому из него можно изготавливать прессованием очень сложные по конфигурации тонкостенные полые прессованные полуфабрикаты.

Рисунок 2.3 - Диаграмма состояния Al-Mg2Si

Высокую пластичность имеет этот сплав в отожженном, свеже закаленном и естественно состаренном состояниях, что позволяет подвергать вытяжке и другим операциям со значительными степенями деформации.

Прессованные изделия из сплава АД31 можно подвергать анодированию, эмалированию и эматалированию с окрашиванием в любой цвет, нанесению порошкового покрытия в электростатическом поле с последующей термообработкой в электрических печах.

Сплав имеет высокую ударную вязкость и не чувствителен к действию надреза и перекосу. Во избежание горячих трещин при литье и измельчения структуры литой заготовки в сплав вводят модифицирующую добавку титана в количестве 0,02-0,07%. Благодаря интенсивному измельчению зерна литого слитка, титан способствует повышению пластичности и прочности слитка и более равномерному распределению свойств по сечению. На прочностные свойства готовых изделий титан практически не оказывает влияния, но несколько повышает пластичность.

Сплав АД31 относится к термически упрочняемым сплавам, особенно при искусственном старении. Разница в эффектах старения достигает 30-50%. Процесс естественного старения идет инертно, вылеживание при комнатной температуре приводит к монотонному, непрерывному повышению прочности, которое практически заканчивается через 10-15 суток.

Для достижения максимальных значений механических свойств искусственное старение полуфабрикатов следует производить не позднее, чем через час после закалки по режиму: 160-170оС, время выдержки 10-12 часов. Перерыв более одного часа между закалкой и искусственным старением вызывает снижение пределов прочности и текучести на 30-50 МПа.

Закалку полуфабрикатов из сплава АД31 проводят на прессе с температурным прессованием на воздухе, с применением охлаждения воздухом, либо воздушно-водяной смесью. Закалка на прессе осуществляется благодаря применению высокотемпературной гомогенизации (560оС в течение 4-8 часов), высокой температуры прессования (480-520оС), высокой скорости истечения, а также широкому интервалу закалки и небольшой критической скорости закалки.

Упрочняющей фазой в сплаве АД31 является силицид магния Mg2Si. Упрочнение сплава при старении находится в прямой зависимости от количества Mg2Si, перешедшего в твердый раствор.

При постоянном содержании Mg в сплаве предел прочности искусственно и естественно состаренных сплавов растет с увеличением содержания Si. При постоянном содержании Si с увеличением концентрации в них Mg растет, но в меньшей степени, чем от повышения концентрации Si в сплавах с постоянным количеством Mg.

Кроме основных легирующих элементов сплав содержит в своем составе марганец, медь, титан, хром. Медь, марганец и хром - для повышения эффекта искусственного старения и сокращения периода старения, необходимого для достижения максимального упрочнения. Помимо улучшения механических свойств марганец и хром заметно повышают коррозионную стойкостью сплава, в то время как медь существенно снижает ее. Чем больше содержание меди, тем больше склонность сплава к межкристаллитной коррозии в искусственно состаренном состоянии. В естественно состаренном состоянии сплав отличается высокой коррозионной стойкостью независимо от количества меди.

Титан в сплаве АД31 служит модифицирующей добавкой, улучшающей технологичность сплава при литье.

Кроме легирующих элементов в сплаве присутствуют примеси: железо, цинк, медь, марганец.

Железо содержится в исходном алюминии, цинк, медь и марганец в отходах производства, добавляемых при приготовлении сплава. Небольшие добавки Fe до 0,3% практически не оказывают влияния на механические свойства сплава. При большом содержании Fe (0,5-0,7%) заметно уменьшается склонность сплава к горячим трещинам при литье, измельчается структура готовых полуфабрикатов, благодаря повышению температуры рекристаллизации алюминия. Прочность и пластичность сплава с увеличением содержания Fe несколько снижается вследствие образования нерастворимых интерметаллических фаз грубой формы (типа Al-Si-Fe, Al-Fe-Mn-Si, Al-Cr-Fe-Si, Al-Mn-Fe). Декоративные свойства сплава с ростом содержания Fe ухудшаются, поэтому, так как к этому сплаву предъявляются повышенные требования к декоративному виду, предельное содержание Fe не должно превышать 0,3%. При большом содержании Fe анодная пленка на изделиях получается мутной, непрозрачной и некрасивой на вид.

Цинк в допускаемых количествах (0,15%) не оказывает влияние на свойства сплава.

Медь в качестве примеси в сплаве не допускается более 0,1%, так как она повышает склонность сплава к межкристаллитной коррозии. Химический состав сплава АД31, применяемого для производства системных профилей с повышенными требованиями к уровню механических свойств и качеству поверхности приведен в таблице 2.3.

Таблица 2.3 - Химический состав сплава АД31, %

Стандарт

Al

Si

Mg

Fe

Cu

Mn

Cr

Ti

ГОСТ 4784

основа

0,3-0,7

0,4-0,9

0,35

0,1

0,1

-

0,15

EN

основа

0,2-0,6

0,45-0,9

0,35

0,10

0,10

0,10

0,10


Механические свойства прессованных полуфабрикатов из сплава АД31 практически не зависят от типа профиля, деформации и направления вырезки образца. Они практически одинаковы, как в продольном, так и поперечном направлениях, а также как со стороны пресс-утяжины, так и со стороны выходного конца. Сплавы системы Al-Mg-Si склонны к образованию кристаллизационных трещин при сварке, коэффициент трещинообразования достигает 50-60%, прочность в сварном соединении значительно снижается и составляет 50-70% от предела прочности основного материала. Последующая закалка и старение сварных соединений практически полностью (до 90-95%) восстанавливают их прочность.

Коррозионная стойкость сплава АД 31 высокая, он не склонен к коррозионному растрескиванию под напряжением, независимо от состояния материала. У искусственно состаренных полуфабрикатов общая коррозионная стойкость в сильной степени зависит от химического состава сплава. Она тем выше, чем больше концентрация марганца и хрома, чем меньше содержание железа и меди, и чем меньше фазы Mg2Si и избытка кремния по сравнению с количеством, необходимым для образования химического соединения Mg2Si. Для высокой коррозионной стойкости сплава необходимо, чтобы содержание в нем Fe не превышало 0,3%, меди - не более 0,1%. Физические свойства сплава приведены в таблице 2.4.

Таблица 2.4- Физические свойства сплава АД31

Свойства

АД31

Плотность, г/см3

2,71

Средний коэффициент линейного расширения α×108 в интервале температур -50 +20 20 -100 20 -200 20 -300 20 -400

 - - 24,3 - 26,7

Теплопроводимость, Вт/(м*К) при температуре 25 оС 400 оС

 0,45 0,45

Удельная теплоемкость, Дж/(кг*К) при температуре 100 оС 400 оС

0,22 0,26


Сплав АД31 интенсивно упрочняется при термической обработке. Основными упрочняемыми фазами в сплаве являются Mg2Si, Al3Fe. Если в отожженном состоянии прессованные профили из сплава АД-31 имеют предел прочности 100-120 МПа, то после закалки и естественного старения предел прочности повышается до 180-200 МПа. Относительное удлинение при этом снижается не очень сильно с 23-25% до 15-20%. Более значительное упрочнение сплава может быть получено искусственным старением при 160-170° С, при этом предел прочности повышается до 240-275 МПа. Однако при искусственном старении более интенсивно снижается пластичность характеристики б = 10-12%. Зависимость сопротивления деформации от температуры и длительности деформации приведена на рисунке 2.4. Здесь влияние длительности деформации тем больше, чем ниже температура. Кривые деформационного упрочнения алюминия АД31 изображены на рисунке 2.5.

Рисунок 2.4 - Зависимость сопротивления деформированию Sд (σs) сплава АД31 от температуры t и длительности деформации

Рисунок 2.5 - Кривые деформационного упрочнения сплава АД31.Скорость деформации, с-1: 1 - 0,01; 2 - 1; 3 - 10; 4 - 100; 5 - 200

2.4 Слитки и заготовки

Исходным материалом для производства алюминиевых профилей в данном проекте служат столбы с круглой формой поперечного сечения диаметром 215 мм.

Для получения столбов применяются специальные литейные машины полунепрерывного действия. Принцип работы таких установок основан на охлаждении расплавленного металла, проходящего через водоохлаждаемый кристаллизатор. В результате этого расплав затвердевает в виде слитка, длина которого ограничивается глубиной разливного колодца. После литья столбов имеет неоднородную литую структуру, которая может привести к образованию трещин при дальнейшей обработке давлением. Поэтому после разливки столбы подвергают отжигу в печи гомогенизации для повышения однородности структуры и, как следствие, повышения пластичности металла. Гомогенизация представляет собой процесс диффузии в твердом состоянии, который обеспечивает распределение дисперсных частиц и уменьшает остаточные напряжения. Гомогенизация столбов происходит в шахтной горизонтальной печи. Температура нагрева составляет 560 °С, время выдержки - 8 часов.

Транспортировка заготовок из литейного цеха в прессовый цех осуществляется автомобильным транспортом. С заготовками поступает документация, в которой указывается: марка сплава, номер плавки, номер партии, размер заготовки.

Производимые данным методом столбы должны удовлетворять требованиям стандарта ГОСТ 23855-79. В данном ГОСТ содержатся технические требования, правила приёмки, методы испытаний, а также правила маркировки, транспортирования и хранения полученных столбов.

2.5 Технологический процесс и применяемое оборудование

Технологическая схема изготовления профиля - полуфабриката из сплава Ад31 на прессе включает в себя следующие операции:

изготовление столбов;

подвоз столбов;

нагрев столбов;

рубка;

прессование;

закалка на столе пресса;

разбраковка;

правка;

резка, вырезка образцов;

зачистка заусенцев;

приёмка ОТК;

укладка в технологическую тару;

искусственное старение;

приемка ОТК;

сдача на склад.

Изготовление заготовок

Слитки отливают полунепрерывным методом в водоохлождаемый кристаллизатор в виде столбов длиной 6 метров. Такие слитки (столбы) имеют неровную поверхность с разными загрязнениями.

Полученные слитки должны отвечать требованиям ГОСТ 23855-79. Поверхность слитков после обточки должна быть чистой. На поверхности не допускаются раковины, трещины, надрывы, шлаковые и другие неметаллические включения. Шероховатость обработанной поверхности должна быть не менее 80 мкм.

Нагрев заготовок (столбов) производится в газовой печи.

Заготовка АД31 из стеллажа подается на загрузочный стол пресса. С загрузочного стола подается в печь, где производится нагрев заготовки. При этом температура нагрева первой заготовки находится в пределах 510-520 С, а последующих 440-460С.

Заготовки загруженные в печь, должны соответствовать требованиям внутризаводского стандарта, а их размеры соответствовать указанным размерам в маршрутно-технологических карте. На поверхности заготовки не должно быть заусенцев, острых выступов, стружки, следов масла и грязи. Заготовки с загрязненной поверхностью перед загрузкой в печь должен быть очищен. Заготовки, нагретые до температуры 440 - 460С, но не ниже предельно допустимой подают на прессование только после их охлаждения до заданной температуры. Заготовки, нагретые до температуры, выше предельно допустимой, считаются окончательным браком и подлежат переплаву.

В таблице 2.5 представлены технические характеристики газовой печи нагрева заготовок.

Таблица 2.5 - Технические характеристики газовой печи нагрева заготовок


Наименование параметра

Единица измерения

Величина

1

Тип печи

-

проходная с толкателем

2

Диаметр заготовки

мм

215

3

Максимальная длина заготовки

мм

6050

4

Количество секций

шт.

5

5

Габариты печи внешние/ внутренние

мм

Ш2000×В2780×Дл10200/ Ш350×1000

6

Производительность

т/ч

2,5

7

Максимально- допускаемая температура нагрева заготовки

0С

480


Подготовка инструмента к прессованию

Сборку инструмента перед прессованием производится в соответствии с чертежами инструментальных наладок на данный пресс.

Втулки контейнеров, пресс-штемпели и другой крупногабаритный инструмент должен быть снабжены паспортами. Диаметр пресс-шайбы должен быть на 0,1-0,2 мм меньше диаметра внутренней втулки контейнера.

Прессование

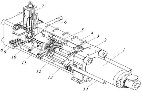
Прессование осуществляется прямым методом. Пресс-штемпель через пресс - шайбу передает давление на заготовку, помещенную в контейнер диаметром 225мм, при этом металл заготовки вытекает из канала матрицы находящейся в матрицедержателе и образует профиль. Схема пресса и основные узлы представлены на рисунке 3

Рисунок 2.6 - Схема горизонтального гидравлического пресса прямого действия для прессования профилей из алюминиевых сплавов:

- рабочий (основной) цилиндр; 2 - задняя поперечина; 3 - пресс-штемпель; 4 - колонны; 5 - контейнер; 6 - устройство перемещения матрицедержателя; 7 - устройство для отделения пресс-остатка; 8 - передняя поперечина; 9 - матрицедержатель (салазки); 10 - наклонные направляющие; 11 - контейнеродержатель;12 - цилиндры перемещения контейнера; 13 - подвижная поперечина; 14 - цилиндры двойного хода

Основные узлы пресса - станина, подвижная поперечина 13, рабочий цилиндр 1, контейнеродержатель 11 с контейнером 5, цилиндры перемещения контейнера 12, салазки 9 и устройство для отделения пресс-остатка 7. Станина состоит из неподвижных передней 8 и задней 2 поперечин, соединенных колоннами 4 в жесткую раму, образующую замкнутый силовой контур пресса. На задней поперечине смонтирован рабочий цилиндр 1 и цилиндры двойного хода 14, служащие для быстрого перемещения подвижной поперечины. На передней поперечине 8 со стороны контейнера расположен стол, по которому с помощью цилиндра 6 перемещается салазки 9, а также устройство для отделения пресс-остатка 7. Подвижная поперечина (прессующая траверса) 13 служит для передачи усилия от рабочего цилиндра к прессуемой заготовке через закрепленный на ней пресс-штемпель 3 и связана с плунжерами рабочего цилиндра 1, цилиндрами двойного хода 14 и цилиндрами перемещения контейнера 12. Подвижная поперечина перемещается по наклонным направляющим 10 колонн 4. Полное усилие прессования создается рабочим (главным) цилиндром 1 и двумя цилиндрами двойного хода 14. Основное назначение последних - обеспечивать ускоренный холостой ход вперед прессующей траверсы и отвод ее после прессования.

Матрицедержатель выполнен в виде салазок 9 с поперечным перемещением по направляющим стола, закрепленного на передней поперечине пресса 5. Он имеет две позиции для размещения матричного комплекта и передвигается для размещения последнего при помощи гидравлического цилиндра 6. Такая конструкция матрицедержателя позволяет производить смену матриц, очистку, смазку и контроль формы ее рабочего канала без остановки процесса прессования. Устройство для отделения пресс-остатка выполнено в виде ножа, который крепят с внутренней стороны передней поперечины пресса. Устройство производит рабочий ход после отвода контейнера от матрицы.

Технологические операции производятся в следующей последовательности. В исходном положении перед подачей нагретой заготовки прессующая траверса с пресс-штемпелем и котейнером находятся в крайнем заднем положении. Заготовку специальным механизмом подают на ось пресса в зазор между торцом контейнера и матрицей. Затем контейнер одевается на заготовку. При последующем движении пресс-штемпеля после прижатия контейнера к матрице происходит распрессовка (заготовка осаживается так, что ее диаметр становится равным внутреннему диаметру контейнера) и выпуск воздуха из зазора между заготовкой и контейнером. Затем производится собственно процесс прессования. Прессование идет до тех пор, пока длина пресс-остатка не достигает заданной величины, после чего подвижную поперечину останавливают. Для удаления пресс-остатка контейнер отводят от матрицы, тогда освобождается пространство для прохода ползуна ножа и отбойника пресс-остатка. Движением ножа пресс-остаток отделяют от изделия, после чего он скатывается по желобу в приемник, а ползун ножа возвращается в исходное положение. Одновременно с операциями отделения пресс-остатка от изделия происходит возвращение пресс-штемпеля и контейнера в крайнее заднее положение и загрузка следующей заготовки на ось прессования, т.е. начинается следующий цикл прессования. Хорошая свариваемость алюминиевых сплавов позволяет применять в данной технологической схеме способ прессования “заготовка за заготовкой”. При этом существенно повышается производительность процесса и выход годного.

В таблице 2.6 представлены технические характеристики гидравлического пресса усилием 25 МН.

Таблица 2.6 - Технические характеристики гидравлического пресса усилием 25 МН.


Прессующая группа

1

Номинальное усилие пресса

МН

25

2

Номинальное усилие форсирующих цилиндров

МН

3

3

Максимальный ход прессующей траверсы

мм

2460

4

Скорость прессования

мм/сек

20

5

Скорость холостого хода

мм/сек

6

Скорость обратного хода

мм/сек

0+350


Контейнер

1

Номинальное усилие 2х цилиндров контейнера подвод/отвод

МН

240/390

2

Максимальный ход контейнера

мм

550

3

Усилие прижима контейнера

т.с

240

4

Температура нагрева контейнера

0С

550

5

Максимальный вес контейнера

кг

6000

6

Длина контейнера

мм

1000

7

Длина слитка

мм

400-950

8

Максимальное удельное давление на прессшайбе

кгс/мм2

63

9

Максимальный диаметр описанной окружности изделия

мм

190


Закалка

Полученный при прессовании профиль перемещается по транспортёру выходной линии пресса. При достижении профилем определённой длины, происходит его отделение на пиле горячей резки, технические характеристики которой приведены в таблице 2.7.

Таблица 2.7 - Технические характеристики пилы горячей резки


Наименование параметра

Единица измерения

Величина

1

Диаметр диска

мм

305

2

Диаметр отверстия (шпинделя)

мм

25,4

3

Размеры (L × B × H)

мм

516 × 306 × 603

4

Масса

кг

19


Приёмный стол с пластинчатым транспортёром состоит из короткой неподвижной части, установленной непосредственно за передней поперечиной пресса, и собственно транспортёра, на котором размещается профиль наибольшей длины. Неподвижная часть стола представляет регулируемый по высоте лоток, облицованный жаростойким материалом. Пластинчатый транспортёр, привод которого осуществляется с помощью втулочно - роликовых цепей, также облицован графитом во избежание повреждения пресс - изделий.

Закалка - первый этап термического упрочнения алюминиевых сплавов, заключающийся в растворении упорядоченных фаз нагревом и фиксировании твердого раствора путем резкого охлаждения. Цель закалки - получение в сплаве предельно неравновесного фазового состояния (пересыщенный твердый раствор с максимальным содержанием легирующих элементов). Такое состояние приводит к непосредственному повышению (по сравнению с отожженным состоянием) твердости и прочности. Кроме того, имеется возможность для дальнейшего упрочнения при последующем старении. В данном случае закалка пресс-изделий на столе пресса обеспечивается работой ряда вентиляторов, расположенных ниже уровня выходного стола. После отделения от пресс-остатка и закалки профили с помощью съёмника поступают на поперечный шаговый транспортёр - холодильник, на котором они охлаждаются перед подачей в правильно - растяжную машину. На рисунке 2.7 представлен план расположения адъюстажного оборудования для прессования алюминиевых сплавов.

Рисунок 2.7 - План расположения адъюстажного оборудования за прессом для прессования алюминиевых сплавов

- пресс; 2 - неподвижный участок приёмного стола с закалочным устройством; 3 - пластинчатый транспортёр; 4 - съёмник пресс-изделий; 5 - поперечный транспортёр с шагающими балками; 6 - правильно-растяжная машина; 7 - транспортёр линии резки;

Разбраковка производится визуальным методом 100% от партии. Часть изделий отпрессованных с дефектами отделяются и не допускаются на следующие операции. Клеймение осуществляется с выходного конца, где указываются марка сплава, состояние поставки и номер партии.

Правка После охлаждения профили передаются на линию правильно-растяжной машины. Машина имеет стационарную часть, оборудованную гидроцилиндрами для зажима профиля и для осуществления рабочего хода при растяжении, а также подвижную часть (оборудованную только механизмом для зажима профиля), перемещающуюся вдоль холодильника при изменении длины профиля. Максимальное расстояние между подвижной и неподвижной головкой ПРМ составляет 52 м. Головки представляют собой станину с закреплёнными подвижными губками (нижними и верхними) с помощью которых осуществляется зажим профиля при работе пневмоцилиндров. Рабочая поверхность губок имеет насечку в форме треугольника. Шаг насечки выбирается в зависимости от материала и толщины элементов растягиваемого профиля. Губки растяжных машин работают в условиях высоких сжимающих напряжений вследствие значительных усилий клинового зажима и скалывающих напряжений на гребнях насечки и должны иметь достаточную износостойкость и сопротивление динамическим нагрузкам. Указанным требованиям отвечают стали марок 5ХНВ, 5ХНМ и др.

Степень деформации при правке растяжением составляет 1 - 3 %, так как этого удлинения достаточно для получения необходимой продольной геометрии пресс - изделий и снятия остаточных напряжений.

Технические характеристики применяемой ПРМ представлены в таблице 2.8.

Таблица 2.8 - Технические характеристики правильно - растяжной машины.


Правильно-растяжная машина

1

Рабочее давление в главном цилиндре

бар

160

2

Номинальное усилие главного цилиндра

МН

0.064

3

Скорость правки с нагрузкой

мм/сек

95

4

Максимальная длина выправляемого профиля

мм

52000

5

Минимальная длина выправляемого профиля

мм

6000

6

Полный ход передней головки

мм

2000

7

Полный ход задней головки

мм

44000

8

Скорость перемещения задней головки

мм/сек

265

9

Производительность насоса

л/мин

200

10

Емкость бака насосной установки

м3

1


Резка, вырезка образцов. С растяжной машины профиль передается на роликовый транспортёр линии резки для мерной резки изделий.

Резка профилей в меру, а также отрезка образцов для испытания механических свойств производится с помощью дисковой пилы ЦКБ-40. Данный способ резки обеспечивает минимальный отход металла, отсутствие искажения геометрической формы профилей, точность по длине и высокую производительность.

Образцы на механические испытания вырезаются с выходного конца, а на микроанализ - со стороны прессостатка, после обрезки прессутяжины.

При резке прессизделий для охлаждения и смазки режущего диска применяется индустриальное масло «Magnus L67». Запрещается работать на дисковой пиле без смазки режущего диска.

Зачистка заусенцев

Удаление поверхностных дефектов (пузырей, вмятин, забоин, царапин, надиров) производится шабером или шлифовальными шкурками на тканевой основе не крупнее №6 (ГОСТ 5009-82). Поперечная зачистка до гладкой поверхности производится наждачной бумагой №10 (ГОСТ 6456-82).

Приёмка ОТК

На окончательной приемке контролер производит проверку соответствия изделия требованиям технических условий поставки, нормалей и оформление документов. Измерение прутка производится микрометром по ГОСТ 6507-78, штангельциркулем по ГОСТ 166-80. Проверку длины проводят рулеткой по ГОСТ 7502-80. После того, как продукция принята контролером, ее взвешивают, контролер заносит вес партии в сопроводительный паспорт. В сопроводительном паспорте указываются: номер плавки; номер партии; масса партии; шифр изделия; марка сплава; состояние поставки; номер технических условий; количество отпрессованных заготовок; количество годных изделий; размеры поперечного сечения после прессования и правки; результаты контроля прессизделий в соответствие с требованиями технических условий.

На « ЛПЗ « Сегал» установлена мультисенсорная измерительная машина «Werth ScopeCheck 50 2D manual» с помощью которой в двухмерой системе координат измеряется геометрические размеры профиля. Максимаьная допустимая погрешность измерительного прибора 5 мкм.

Старение После укладки профилей в корзины и контроля ОТК, пресс-изделия подвергают искусственному старению, т.е второму этапу термической обработки. Технические характеристики печи старения представлены в таблице 2.9.

сплав деформация термомеханический прессование

Таблица 2.9 - Техническая характеристика печи старения

Наименование параметров

Величина

Тип печи

С принудительной циркуляцией воздуха и цепным перемещением корзин

Размеры камеры (ширина × высота × длина), мм

3800 × 2500 × 8000

Максимальная длина профилей, мм

7300

Максимальная масса металла, т

10

Масса одной корзины, т

0,2

Рабочая температура,ᵒС

185

Максимальная температура печи,С

280

Время набора температуры 185С,ч

2,5

Время выдержки в печи, ч

10

Равномерность температуры,С

± 5

Топливо

метан

Количество корзин в печи

9

Вентилятор циркуляции воздуха

1 с двигателем 45 кВт

Количество топлива на нагрев 1 т. заготовки, м3

36


Старение профилей из сплава АД31 осуществляется в печи ПСО при температуре 160 - 170 °С в течение 10 - 12 часов.

2.6 Расчет энергосиловых параметров

Учитывая, что существует несколько методик расчета усилия прессования, выбираем методику, применяемую на практике для прессования алюминиевых сплавов с применением форкамерного инструмента. Для всех типоразмеров профилей (таблица 1.2) расчет производится в последовательности, аналогично данной методике описанной ниже, так же этот расчет произведен в специальной части, а результаты промежуточных величин и усилия прессования представлены в таблицах 2.10, 2.11, 2.12.

.6.1 Расчет размеров заготовки

Коэффициент вытяжки при выдавливании металла из контейнера в форкамеру:


Определяем площадь поперечного сечения внутренней втулки контейнера:


Вычисляем расчетный диаметр втулки контейнера:


Выбираем ближайший стандартный диаметр внутренней втулки контейнера Dk=225 мм

Вычисляем площадь поперечного сечения выбранного контейнера:

Находим значение действительного коэффициента вытяжки при выдавливании из контейнера в форкамеру.


Расчитываем диаметр заготовки:


Берем диаметр заготовки равный 215

Суммарный коэффициент вытяжки составит


Рассчитаем площадь поперечного сечения заготовки.

Отношение длины заготовки к ее диаметру для профилей колеблется в пределах от 2 до 4. Отсюда имеем.


Размеры заготовки Dз=215 мм, Lз=860 мм.

Расчет размеров слитка для остальных типоразмеров сплошных профилей проводится аналогично описанному выше методу. Результаты расчетов сведены в таблицу 2.10.

Таблица 2.10 - Расчет размеров заготовок

Профиль

Диаметр контейнера, мм

Диаметр заготовки, мм

длина заготовки, мм

КП 45365

225

215

860

КП 45317-1

225

215

860

КП 45322

225

215

860

КП 45331

225

215

860


2.6.2 Расчет размеров форкамеры

Расчет усилия прямого многоканального полунепрерывного прессования с использованием форкамеры профиля из алюминиевого сплава АД31, площадь поперечного сечения профиля Fиз=303.4мм2, периметр пресс - изделия Пиз=310,мм. Расчет производим с учетом условий гарантированной стыковой сварки при коэффициенте вытяжки при прессовании из форкамеры в матрицу λ2 ≥ 3, относительное удлинение Принимаем λ2=3, длину калибрующего пояска матрицы lп=5мм. Рекомендуемый максимально допустимый коэффициент вытяжки λ=100, назначаем коэффицент вытяжки λ=60.


Где Nвып - число выпуклых вершин пресс-изделия,

Nвогн - число вогнутых вершин профиля,

∆В - величина эквидистанционного удаления.

Тогда периметр форкамеры будет равен:

высоту форкамеры считаем по формуле:


KН - коэффициент равный КН=0,53-1,05.

Определения площади поперечного сечения форкамеры:


Пфк=734,67 мм, Fфк=1820,4 мм2, Hфк=8,97 мм.

Расчет размеров форкамерного инструмента для остальных типоразмеров сплошных профилей проводится аналогично описанному выше методу. Результаты расчетов сведены в таблицу 2.11.

Таблица 2.11 - Расчет форкамерного инструмента

Профиль

Периметр профиля, мм

Площадь профиля, мм²

Эквидист-ное удаление от профиля, мм

Периметр форкамеры, мм

Высота форкамеры, мм

Площадь форкамеры, мм²

КП 45365

310

303,4

1,79

734,7

8,97

1820,4

КП 45317-1

542,7

2655,4

0,95

576,85

1,5

796,5

КП 45322

423,6

736,3

3,23

488,2

21,44

2208,9

КП 45331

171,6

218,6

2,3

625,3

13,3

1967,4


2.6.3 Расчет усилия прессования

Рассчитаем скорость деформации по формуле.


Где υпр - скорость прессования, мм/с; L - длина расспрессованного слитка, определяем по формуле.


Принимаем что υист = 70м/мин=1166,7 мм/с. Скорость прессования вычисляем по формуле.


Скорость деформации

При ξ=0,023 с-1, Inλ=65,5=4,18 и температуре деформации θ=480 С значение сопротивления деформации σs=20 МПа

Полное усилие прессования определяется по формуле


Где Tкр - усилие для преодоления трения на боковой поверхности контейнера;

α - расчетный угол наклона образующей канала матрицы к оси прессования, при плоской матрице α=60ᵒ;

fsm - коэффициент трения на границе обжимающей части пластической зоны с упругой зоной, принимаем fsm=0,75;

Тфк - усилие для преодоления трения на боковой поверхности форкамеры;

Тп - усилие для преодоления трения по поверхности калибрующего пояска матрицы;

Q - усилие натяжения профиля Q=20-150Н, принимаем Q=50Н;

Составляющую Ткр определяем по формуле:

,

Где fк - коэффициент трения металла о стенки контейнера, принимаем его равным 0,75

hузф - высота упругой зоны деформации при выдавливании металла из контейнера в форкамеру

Диаметр полости форкамеры


Подставляем значения в формулу

Составляющую Тфк определяем по формуле:


Где fфк - коэффициент трения металла о стенки форкамеры, принимаем равным 0,75

hузр - высота упругой зоны деформации при выдавливании из форкамеры в матрицу


Подставляем значение в формулу, и получаем

Составляющая Тп считается по формуле:


Где fп - коэффициент трения металла о калибрующий поясок, принимаем равным 0.75

Подставляя значения в формулу, получаем

Находим полное усилие прессования PƩ:

Расчет усилия прессования для остальных типоразмеров сплошных профилей проводится аналогично описанному выше методу. Результаты расчетов сведены в таблицу 2.12.

Таблица 2.12 - Расчет усилия прессования

Сплав

Профиль

Усилие прессования, МН

Вытяжка, λ1

Общая вытяжка, λ

1

АД 31

КП 45365

17,11

60

65,5

2

АД 31

КП 45317-1

17,38

14,7

74,8

3

АД 31

КП 45322

17,9

53,05

54

4

АД 31

КП 45331

17,55

59,53

60,6


Исходя из расчетов, с учетом запаса по усилию процесс полунепрерывного прессования профилей с форкамерой из алюминиевого сплава АД31 из слитка 215×860 возможен на горизонтальном гидравлическом прессе с номинальным усилием 25 МН

Список использованной литературы

1. Локшин М.З. Современное производство прессованных изделий из алюминиевых сплавов.− 2003№6−С. 79−80.

. Макаров А.М. Производство и потребление изделий из алюминиевых сплавов. −2006−№12−С.36-37

3. В.Н. Щерба, Л.Х. Райтбарг Технология прессования металлов. М., Металлургия, 1995.

. П.И. Полухин, Г.Я. Гун, А.М. Галкин Сопротивление пластической деформации металлов и сплавов - справочник. М., Металлургия 1976.

. Н.Н. Довженко, Н.А. Барков, С.В. Беляев, Н.Н. Загиров, М.А. Зимина Расчет технологических параметров процесса прессования: Метод. указания к практическим занятиям по курсу «Технология прессования» для студентов специальности «Обработка металлов давлением» ГУЦМиЗ. - Красноярск, 2004.

. Методические указания для пркатических занятий. Оборудование цехов ОМД. Сост: Н.А. Барков Красноярск, 2002.

Похожие работы на - Современное производство прессованных изделий из алюминиевых сплавов

 

Не нашли материал для своей работы?
Поможем написать уникальную работу
Без плагиата!
Без нейросетей!