Виды наблюдательных станций и методика наблюдений за осадками и наклонами земной поверхности зданий и сооружений

  • Вид работы:
    Контрольная работа
  • Предмет:
    Геология
  • Язык:
    Русский
    ,
    Формат файла:
    MS Word
    3,84 Мб
  • Опубликовано:
    2015-02-19
Вы можете узнать стоимость помощи в написании студенческой работы.
Помощь в написании работы, которую точно примут!

Виды наблюдательных станций и методика наблюдений за осадками и наклонами земной поверхности зданий и сооружений

Министерство образования и науки, молодежи и спорта Украины

Донбасский Государственный Технический Университет

Кафедра МГиГ








НИРС

Тема: «Виды наблюдательных станций и методика наблюдений за осадками и наклонами земной поверхности зданий и сооружений»


Выполнила: ст. гр. МД-10

Кочемазова А. В.

Проверила: Хоружая Н. В.






Алчевск 2012

Содержание

Введение

Наблюдательные станции на земной поверхности

Наблюдения за осадками сооружений

Наблюдения за кренами, трещинами и оползнями

Выводы

Список используемой литературы

наблюдательная станция нивелирование оползень

Введение

Процесс движения толщи горных пород и земной поверхности изучают в натуре путем инструментальных наблюдений, на моделях главным образом из эквивалентных материалов (лабораторный способ) и путем проведения теоретических исследований.

Маркшейдерские наблюдения за движением земной поверхности и за подрабатываемыми объектами проводятся с целью: определения и дальнейшего уточнения параметров процесса движения, фиксирования вида и величин деформаций, возникающих в подрабатываемых объектах, установления взаимосвязи между деформациями грунта (земной поверхности) и деформациями сооружений, определения степени фильтрации воды в горные выработки при подработке водоемов и др.

Результаты наблюдений используются: при установлении и выборе мер охраны зданий, сооружений и природных объектов от вредного влияния горных разработок, при построении предохранительных целиков под объекты, при установлении и выборе рациональных способов разработки залежей (пластов) под объектами, обеспечивающими минимальные потери полезного ископаемого, при разработке методов расчета прогнозируемых величин сдвижений и деформаций и др.

При изучении процесса движения горных пород непосредственно в натуре, т. е. в районе горных разработок, на исследуемом участке закладывают наблюдательную станцию с большим числом реперов. Чаще такую наблюдательную станцию закладывают на земной поверхности. Путем геометрических измерений, которые производят систематически, следят за положением реперов станции во времени и пространстве. Сопоставляя наблюденные смещения реперов с произведенными горными работами, устанавливают необходимые закономерности развития процесса движения. Результаты натурных наблюдений дают достоверный материал для понимания процесса движения горных пород, однако проведение таких наблюдений требует длительного времени. Кроме того, в натуре трудно найти условия для изучения отдельных сторон процесса, а результаты наблюдений не всегда пригодны для других горно-геологических условий.

Наблюдательные станции на земной поверхности

Маркшейдерские наблюдения за сдвижением земной поверхности и за подрабатываемыми объектами проводятся с целью: определения и дальнейшего уточнения параметров процесса сдвижения, фиксирования вида и размера деформаций, возникающих в подрабатываемых объектах, установления взаимосвязи между деформациями грунта (земной поверхности) и деформациями сооружений, определения степени фильтрации воды в горные выработки при подработке водоемов и др.

Под наблюдательной станцией понимают сеть реперов, заложенных на земной поверхности над проектируемыми горными работами, в фундаментах (цоколях) зданий или на объектах - трубопроводах, рельсах железных дорог, технологическом оборудовании. Наблюдательные станции закладывают также в горных выработках.

Реперы в грунте обычно располагают по профильным линиям главных сечений мульды сдвижения вкрест и по простиранию пласта. При проведении наблюдений на земной поверхности в зависимости от поставленных задач различают типовые и специальные станции.

Типовые наблюдательные станции предназначены для определения основных параметров процесса сдвижения при разработке отдельных пластов и свит пластов.

Специальные наблюдательные станции служат для изучения характера сдвижений и деформаций при подработке сместителей дизъюнктивных нарушений или осевых поверхностей складок, дляоценки влияния слабых контактов при образовании прямых и обратных уступов, для установления взаимосвязи деформаций грунта и основания сооружения, для определения фильтрационных свойств пород вследствие разработок, параметров процесса сдвижения при закладке выработанного пространства и др.

По срокам службы различают:

· долговременные наблюдательные станции, срок службы таких станций более 3 лет, их закладывают с целью получения параметров процесса сдвижения при выемке нескольких пластов и горизонтов;

· рядовые наблюдательные станции со сроком службы 1-3 года; назначение то же, что и долговременных, но их закладывают при выемке одного-двух пластов или одного горизонта;

· кратковременные станции со сроком службы от 1 до 5 ме­сяцев, их закладывают при глубине горных работ до 250 м с целью получения отдельных параметров процесса сдвижения (как правило, это профильная линия по простиранию, по которой получают угол d, y3, точки с максимальным оседанием, распределение оседаний, скоростей оседаний, деформаций).

Закладка наблюдательной станции и наблюдения за сдвижением горных пород и земной поверхности производятся по заранее составленному проекту, который включает графическую часть и пояснительную записку.

Графическая часть содержит:

) план наблюдательной станции с рельефом местности, положением пройденных и проектируемых горных выработок и намечаемых к подработке объектов, положением различных геологических нарушений;

) геологические разрезы по профильным линиям, которые должны содержать помимо геологических данных (геологические разрезы, геологические нарушения) положение ранее пройденных и намеченных к разработке выработок, вынимаемые мощности пластов;

) рекомендуемые конструкции рабочих, опорных и исходных реперов.

Пояснительная записка к проекту содержит:

) краткую горно-техническую и геологическую характеристику участка;

) обоснование конструкции реперов, расстояния между ними, длины профильных линий и их положения на местности;

) методику наблюдений, требуемую точность определения положения реперов в вертикальной и горизонтальной плоскостях, периодичность наблюдений.

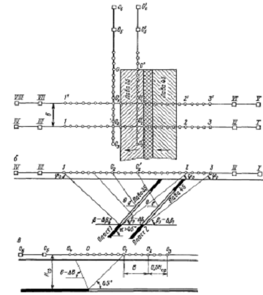
Конструкция типовой наблюдательной станции выбирается в зависимости от поставленных задач и горно-геологической обстановки. Обычно типовая наблюдательная станция состоит из одной-двух профильных линий реперов, располагаемых вкрест простирания, и одной профильной линии, располагаемой по простиранию пласта. Длины профильных линий рядовых и долговременных наблюдательных станций определяют следующим образом. При углах падения пластов до 25° от проектируемых границ выработок на разрезе вкрест простирания проводятся линии до контакта с наносами под углами β-∆β у нижней границы выработки, γ-∆γ у верхней границы выработки и далее от контакта коренных пород с наносами до земной поверхности под углом φ (рис.2.1). На разрезе по простиранию длина профильной линии определяется следующим образом.

От границы временной или постоянной остановки забоя (например у границы предохранительного целика, границы шахтного поля и т. п.) проводят линии под углом 45° в коренных породах над намеченным к разработке участком пласта и под углом δ- ∆δ над целиком до контакта с коренными породами, далее под углом φ в наносах до пересечения с земной поверхностью (точка ). Границу профильной линии над намеченным к разработке участком пласта находят на расстоянии b + 0,5  от полученной точки О, где b - расстояние между профильными линиями на разрезе вкрест простирания;  - средняя глубина горных разработок. При определении длин профильных линий используют углы сдвижения β, γ и δ у нижней и верхней границ выработок на разрезе вкрест простирания и по простиранию. Приведем значения величин ∆β = 20°-0,15 а, ∆δ = ∆γ = 20°, где α - угол падения пластов. Полученные точки на земной поверхности характеризуют границы рабочих частей профильных линий. На расстоянии 30-50 м от этих границ закладываются по одному-два опорных репера, расстояния между которыми принимают равными 30-50 м. Профильные линии вкрест простирания и по простиранию пластов располагают в главных сечениях мульды сдвижения. Для определения положения главных сечений мульды на разрезе вкрест простирания и по простиранию находят точки  и. Расстояние b принимают равным 30-50 м. Профильные линии вкрест простирания пластов должны проходить нa местности через найденные точки  и  . Положение профильной линии по простиранию определяется на разрезе вкрест простирании пласта. Эта линия должна проходить через точку максимального оседания земной поверхности или плоское дно мульды сдвижения. Опорные реперы профильной линии по простиранию закладываются над целиком вне зоны влияния горной выработки (точки , ).

Рис.2.1- Наблюдательная станция при угле падения пласта до 25°:

а - план; 6 - разрез вкрест простирания: в - разрез по простиранию.

Рис. 2.2- Наблюдательная станция при угле падения пластов в диапазоне от 25 до 45°:

а - план; б - разрез вкрест простирания; в - разрез по простиранию

При углах падения пластов от 25 до 45° длины профильных линий на разрезе вкрест простирания определяют с учетом зоны возможных подвижек пород по контактам напластований со стороны восстания.

Для определения границ рабочей части профильной линии на разрезе вкрест простирания от точки пересечения почвы пласта с контактом наносов проводят линию под углом φ. Точка пересечения этой линии с земной поверхностью определяет границу рабочей части профильной линии со стороны восстания пласта (рис.2.2). Границы рабочей части профильной линии по простиранию определяются аналогично, как и при углах падения α до 25°. Профильные линии по простиранию и вкрест простирания пластов располагаются в главных сечениях мульды сдвижения. Опорные реперы находятся вне зоны влияния горных выработок на расстоянии не менее 30-50 м от крайних рабочих реперов. Опорные реперы обозначены римскими цифрами.

Рис.2.3- Наблюдательная станция при угле падения пластов более 45°:

а - план; 6 - разрез вкрест простирания; в - разрез по простиранию; 1-2 - длина профильной линии вкрест простирания от выработки в одном пласте; 1-3 - то же в двух пластах

При углах падения пластов α >45° (рис.2.3) граница профильной линии со стороны восстания пласта располагается в породах лежачего бока. Для определения границы рабочей части профильной линии в породах лежачего бока от нижней границы выработки под углом -∆ к горизонту проводится линия до пересечения с контактом коренных пород и наносов и далее под углом φ до пересечения с земной поверхностью.

Профильные линии по простиранию пласта располагают в главных сечениях мульды сдвижения по простиранию, определяемых углами максимального оседания θ. При разработке нескольких пластов профильные линии по простиранию находятся на участке между точками, которые определяют положение главных сечений мульд сдвижения по простиранию от верхнего и нижнего пластов свиты.

У концов рабочих частей профильных линий закладывают по 2-4 опорных репера на расстояниях не меньше, чем 30- 50 м.Расстояния между рабочими реперами профильных линий выбирают в зависимости от поставленных задач и глубины горных разработок. Обычно эти расстояния составляют l=5 м при глубинах разработок до 100 м, l= 10 м при глубинах горных разработок H= 100 -300 м и l = 20 м при глубинах разработок H > 300 м. Для определения координат опорных и рабочих реперов наблюдательных станций используют исходные реперы, в качестве которых могут служить пункты государственной геодезической сети.

В качестве таких реперов обычно используют металлические стержни, отрезки рельс, верх которых затачивают в виде полусферы, в центре которой просверливают отверстие диаметром 1-2 мм и глубиной 5-10 мм. По принципу закладки и закрепления реперов выделяют два основных типа: бетонированный (рис.2.4, а) и забивной (рис.2.4б).

Бетонированные реперы устанавливаются в скважины диаметром 100-200 мм. Бетонируемая часть репера должна располагаться на 500-700 мм ниже глубины промерзания грунта. Глубина промерзания грунта  практически всегда известна для каждой климатической зоны.

Рис.2.4 - Конструкции грунтовых реперов:

- металлический стержень; 2 - засыпка; 3 - бетон

Забивные реперы закладываются через мягкую прокладку на глубину 1,5- 1,7 м. Бетонированные и забивные реперы могут быть двух типов: заглубленные и незаглубленные. Головка заглубленного репера располагается на глубине 300-400 мм от земной поверхности. Реперы такого типа лучше сохраняются в течение длительного времени.

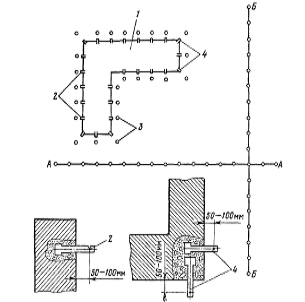
При особых горно-геологических условиях (например, присложном и нарушенном залегании пород), либо когда требуется получить данные наблюдений для решения каких-либо специальных задач, закладываются специальные наблюдательные станции. На такой станции (рис.2.5), наряду с обычными профильными Линиями, на участке выхода сместителя нарушений закладываются короткие профильные линии по направлению, совпадающему в плане с направлением падения сместителя нарушения. Длина этих профильных линий в висячем и лежачем «крыльях» сместителя нарушения составляет 80- 100 м. Расстояния между реперами на профильных линиях уменьшаются до 5- 10 м независимо от глубины разработки. Размеры рабочих частей профильных линий вкрест простирания и по простиранию пластов при необходимости увеличиваются таким образом, чтобы крайние рабочие реперы находились на расстоянии 80- 100 м от выхода сместителя нарушения.

Специальные наблюдательные станции состоят из системы стенных и грунтовых реперов. Стенные реперы закладываются по всему периметру здания через равные расстояния, соответствующие расстояниям между грунтовыми реперами. Обычно расстояния между стенными реперами принимают равными 6- 12 м. На каждой стороне бескаркасного здания должно быть не менее трех реперов, причем закладываются они в колонны. Если здание разделено деформационными швами на отдельные отсеки, то стенные реперы располагаются попарно по обе стороны от деформационного шва. Конструкция стенных реперов должна быть надежной и обеспечивать удобство наблюдений. Напротив каждого стенного репера на расстоянии 1,5-2,0 и закладываются грунтовые реперы. На участках здания, имеющих усиления конструкции (на участках ожидаемого деформирования, например, на выходах сместителей дизъюнктивных нарушений, слабых контактов и т. д.), расстояния между реперами могут быть уменьшены. Для измерения ширины трещин устанавливаются маяки из гипса. Кроме того, измерение может быть выполнено методами фотофиксации.

При подработке железнодорожных путей проводятся наблюдения за оседанием железнодорожного полотна; определяются горизонтальные деформации пути; контролируются величины стыковых зазоров

Рис.2.5 - Специальная наблюдательная станция при нарушенном залегании пород: АА и ВБ - зоны сгущения реперов на профильных линиях вкрест и по простиранию пластов; А'А' и Б'Б* - дополнительные профильные линии

Рис. 2.6 - Специальная наблюдательная станция по наблюдениям за деформированием здания:1 - здание; 2 стенные реперы; 3 - грунтовые реперы; 4 - угловые стенные реперы; АА, ББ - профильные линии грунтовых реперов

Высотную привязку исходных и опорных реперов производят с помощью нивелирования III-IV классов. Невязка в превышениях между прямым и обратным ходом не должна превышать Δh = ± 15 мм √L, где L - длина хода, км. При привязке специальных наблюдательных станций разница в превышениях между прямым и обратным ходом не должна быть больше Δh = ± 10 мм √L.

Полная серия наблюдений на наблюдательных станциях включает:

) определение высотных отметок реперов (нивелирование);

) определение расстояний между реперами;

) съемку трещин, воронок и провалов.

Рис.2.7 - Механический отвес ОЖ-3: I - основание отвеса; 2 - центрированный стержень; 3 - зажим; 4 - ножки штатива; 5 - крышка; 6 - сферический шарнир; 7 - круглый уровень

Нивелирование реперов типовых наблюдательных станций производится из середины между связующими реперами с расстояниями до 75 м. Неравенство расстояний от нивелира до каждой рейки не должно превышать 2 м. Наблюдения желательно выполнять в следующем порядке:

последовательно снимают отсчеты по черной (основной) шкале задней и передней реек;

далее берут отсчеты по дополнительной шкале передней и задней реек;

затем производят отсчеты по двум шкалам рейки, устанавливаемой последовательно на промежуточные реперы;

и в заключении- контрольный отсчет по черной (основной) шкале передней рейки.

Расхождения в превышениях между соседними реперами, полученные по основным и дополнительным шкалам, не должны превышать 3 мм, а общая невязка в превышениях должна удовлетворять условию Δh < ± 15 √L, L - длина хода в одном направлении.

При проведении наблюдений на специальных наблюдательных станциях с небольшими расстояниями между реперами необходимо существенно повысить точность определения превышений. Для этих целей операции выполняют в той же последовательности как и на типовых наблюдательных станциях, однако отсчеты по основной шкале реек берут по трем нитям, либо для повышения точности отсчитывания используют специальные нивелиры с плоскопараллельной пластинкой. Невязка в превышениях полигонов и ходов должна удовлетворять условию Δh < ± 10 мм√L. Обычно применяют нивелиры с увеличением трубы не менее 30х и ценой деления уровня не более 15" на 2 мм хода. Используются также нивелиры с самоустанавливающейся линией визирования и трехметровые двухсторонние рейки со сферическими уровнями с ценой деления 0,5-  на 2 мм хода.

Нивелирование наблюдательной станции должно выполняться в короткие сроки, особенно в период опасных деформаций земной поверхности. При расположении наблюдательной станции на склоне или пересеченной местности с углами наклона более 10° для определения высотных отметок реперов допускается применение тригонометрического нивелирования. При тригонометрическом нивелировании погрешность измерения вертикальных углов не должна превышать 5", а погрешность измерения расстояния должна быть не ниже 1:10 000. Расстояния между реперами при тригонометрическом нивелировании измеряют стальными компарированными рулетками, либо светодальномерами. При измерении расстояний между реперами на типовых и специальных наблюдательных станциях используют стальные компарированные рулетки длиной 30-50 м. Расстояния измеряют с постоянным натяжением 98 Н с помощью динамометра. Измерение температуры выполняют с точностью до 1°. Вынос центров реперов скрытого (заглубленного) типа осуществляют с помощью механических отвесов конструкции ВНИМИ, типа ОЖ-3.

При измерении расстояний стальными компарированными рулетками берут по три отсчета по концам рулетки, смещая ее каждый раз на 1-2 см и поворачивая одновременно стержни жестких отвесов на 180°. Разница в расстояниях, определенных при различных положениях полотна рулетки, не должна превышать 2-3 мм. Расстояния между реперами измеряются в прямом и обратном направлениях. Расхождение между ними из прямого и обратного хода (между опорными реперами, расположенными на противоположных концах профильной линии), не должно превышать 1: 10000 длины профильной линии.

Камеральная обработка результатов наблюдений состоит из следующих операций:

) проверка полевых журналов;

) обработка результатов наблюдений по привязке исходных

и опорных реперов (вычисление координат X, У, Z и их уравнивание); 3) вычисление и уравнивание высотных отметок рабочих реперов наблюдательной станции;

) обработка измеренных длин, приведение измеренных расстояний между рабочими реперами к горизонту и уравнивание горизонтальных расстояний.

Если на наблюдательной станции независимо и непосредственно измерить расстояния длиной 5, 10, 20 м и расстояние длиной 0,2 Нср, то можно произвести простейшее уравнивание;

) вычисление оседаний, горизонтальных сдвижений, горизонтальных деформаций, наклонов, кривизны, которые записываются в специальные ведомости. Если на специальных наблюдательных станциях определялись отметки реперов, отстоящих друг от друга на расстоянии 5, 10, 20 м, а также независимо измерялись расстояния между реперами, то наклоны, кривизну и горизонтальные деформации вычисляют отдельно для этих расстояний;

) построение графиков сдвижений и деформаций по каждой профильной линии, определение основных параметров процесса сдвижения, характера распределения сдвижений и деформаций в мульде, максимальных сдвижений и деформаций, общей продолжительности процесса сдвижения, периода опасных деформаций;

) составление отчета о проведенных наблюдениях.

Обработка результатов наблюдений может выполняться с помощью ЭВМ с использованием специальных программ автоматизации вычислений.

Рис.2.8 - Схема вычисления деформаций по профильной линии

При обработке материалов наблюдений величины сдвижений и деформаций целесообразно вычислять по формулам:

а) оседание

, (2.1)

где Но - высотная отметка репера из начальной серии наблюдений;  - высотная отметка репера в данной серии наблюдений;

б) наклоны

, (2.2)

где  - величина оседания n-го репера;  - величина оседания (n-1)-го репера; - горизонтальное расстояние между n-ым и (n-1)-ым реперами;в) кривизна

K=, (2.3)

где - наклон n-го интервала;  - наклон соседнего (n-1)-го интервала; - средняя длина интервалов n, n-1 . Радиус кривизны определяется из выражения R = и выражается в километрах;

г) горизонтальные сдвижения

ξ = ,       (2.4)

где D'n - расстояние от опорного репера до репера п в данной серии наблюдений; Dn° - расстояние от опорного репера до репера n в начальной серии наблюдений;

д) горизонтальные деформации

ɛ =, (2.5)

где  - горизонтальная проекция расстояния между реперами n и n-1 в данной серии наблюдений;  - то же в начальной серии наблюдений.

В тех случаях, когда на специальных наблюдательных станциях измеряются только расстояния между реперами, расположенными друг от друга на расстояниях l5 м или l10 м, пересчет к горизонтальным деформациям интервалов длиной 20 м выполняется по формуле:

, (2.6)

где  - сумма приведенных к горизонту интервалов длиной l 5м, составляющих рассматриваемый интервал длиной l20 м в данной серии наблюдений;  - то же в начальной серии наблюдений.

Наклоны интервалов вычисляются исходя из оседаний реперов, расположенных на расстояниях l20 м, т. е.

, (2.7)

где - оседание n-го репера; - оседание (n-1)-го репера, отстоящего на расстоянии l 20 м от репера n;  - горизонтальная проекция расстояния между реперами n и n-1.

Кривизна земной поверхности при расстоянии между пунктами наблюдений l20 м рассчитывается по следующей формуле

=, (2.8)

где  и  - наклоны интервалов  и ;  , - горизонтальная проекция расстояния между серединами указанных интервалов.

По результатам вычисления составляются ведомости сдвижений и деформаций и строятся их графики. В качестве примера приведем данные о расчетах оседаний ŋ, горизонтальных сдвижений ξ, наклонов i, кривизны К и горизонтальных деформаций ɛ.

Комплексная наблюдательная станция при подработке вертикальных стволов состоит из наблюдательной станции на земной поверхности (одной профильной линии вкрест простирания пластов и одной профильной линии по простиранию пластов, проходящей вблизи устья ствола). Длина профильных линий выбирается таким образом, чтобы их концы от устья ствола находились на расстояниях и соответственно по восстанию и падению от границ целика под ствол и на расстоянии от границ целика под ствол по простиранию; Нв, Нн и Нср - глубины расположения верхней и нижней границ целика под ствол и глубина залегания пласта в точке пересечения со стволом.

Наблюдательная станция в стволе состоит из четырех профильных линий, каждая из которых находится на одной вертикали.

Профильные линии в плане закладываются таким образом, чтобы пары реперов на концах одного диаметра ствола располагались соответственно по простиранию и вкрест простирания пластов, причем как в крепь ствола, так и во вмещающие породы. При закладке реперов во вмещающие породы необходимо выбуривание крепи. Одновременно с реперами в стволе производят закладку глубинных реперов в вертикальную скважину, расположенную вблизи ствола. Наблюдения в скважине нужны для оценки взаимосвязи деформации крепи и пород. По данным наблюдений в стволе вычисляются сжатия (растяжения) по вертикали и сближения (удаления) стенок ствола

Рис.2.9 - Схема комплексной наблюдательной станцнн в вертикальном стволе, скважине н на земной поверхности: 1 - шахтный ствол; 2 - скважина; 3 - реперы в стволе; 4 - глубинные реперы в скважине; 5 - реперы на земной поверхности; 6 - целнк; 7 и 8 - положения горных выработок; 9 - глубинный репер с проволочной связью; 10 - радиоактивный репер; 11 - приемник излучения; 12 - репер для герконового метода; 13 - соединительная муфта; 14 - магнитногерконовый датчик

Глубинные реперы в скважинах могут иметь различную конструкцию.

Различают следующие типы реперов:

) глубинные реперы с механическими связями;

) радиоактивные реперы;

) реперы магнитногерконового типа.

В качестве глубинных реперов с механическими связями используют деревянные или металлические конусы (цилиндры) со специальными расклинивающими устройствами, которые закладывают в необсаженные скважины. Наиболее распространенный глубинный репер - деревянный конус, в центре которого просверлено отверстие для проволок. Закрепление такого репера в скважине осуществляется с помощью гравия (щебня), который засыпается в скважину после установки репера на заданной глубине. Шебень, попадая между поверхностью репера и стенкой скважины, расклинивает его. В одну скважину можно последовательно заложить 10- 15 реперов. Проволоки или штанги от каждого репера монтируются у устья скважины и снабжаются специальными приспособлениями для проведения наблюдений. Методика наблюдений за сдвижением глубинных реперов заключается в периодическом определении расстояний от репера до фиксированной точки устья скважины. Ведут наблюдения за специальными метками на проволоках или штангах. При механических связях на проволоках измерение расстояний от устья скважины до репера осуществляется при двух уровнях натяжения проволоки (например при 98 Н и при 196 Н). Таким образом, контролируется постоянство удлинений проволоки в различных сериях при двух уровнях натяжения.

Оседания глубинных реперов определяют, исходя из разности их высотных отметок за различные периоды наблюдений.

Рис.2.10 - Глубинные реперы:

а - пробкового типа с проволочной связью; б - радиоактивные реперы (10); в - магнито-герковые(12); г - магнито-герконовый датчик(14)

Метод радиоактивных глубинных реперов применяют при слабых вмещающих породах, когда для предотвращения обрушения стенок скважины используют обсадные трубы. Глубинными реперами в данном случае служат точечные радиоактивные источники, например на основе изотопа кобальта. Реперы закладывают в скважины путем их застрелки в горную породу с помощью специальных перфораторов на глубину 50- 100 мм от стенки скважины. Специальными геофизическими приборами регистрируется излучение от радиоактивных реперов, проникающее через горную породу. Проекция репера на ось скважины определяется по максимуму интенсивности у-излучения. Расстояние от фиксированной точки у устья скважины до репера измеряется с помощью длиномера типа ДА-2, на проволоке которого крепится специальный приемник. В отдельных случаях интенсивность у излучения может фиксироваться на рентгеновской фотопленке, которая помещается в специальную гильзу и устанавливается в районе проекции радиоактивного репера.

Реперы на основе магнитногерконовых датчиков закладываются в скважины до их обсадки трубами. Это металлические цилиндры с распорными устройствами. Внутренний диаметр реперов на несколько миллиметров больше диаметра обсадных труб. В качестве обсадных труб применяются трубы из винипласта, полиэтилена и других немагнитных материалов.

Рис.2.11 - Реперы для манитно-геркового датчика

а - с пластинчатыми пружинами; б - с деревянной футеровкой

Наблюдения за осадками сооружений

Наблюдения за осадками сооружений выполняют способами геометрического и тригонометрического нивелирования, гидронивелирования, микронивелирования, а также фото- и стереофотограмметрическим способами.

Наиболее широко распространен способ геометрического нивелирования. Он обладает рядом достоинств, делающих его практически универсальным. Это высокая точность и быстрота измерений, простое и недорогое стандартное оборудование, возможность выполнять измерения в сложных и стесненных условиях.

Способом геометрического нивелирования можно определять разности высот точек, расположенных на расстоянии 5 - 10 м, с ошибкой 0,05 - 0,1 мм, а на несколько сотен метров - с ошибкой до 0,5 мм.

В зависимости от требуемой точности определения осадок применяются различные классы нивелирования. Так, например, при определении осадок бетонных плотин гидроузлов применяют I и II классы, которые характеризуются средней квадратической ошибкой измерения превышения на одной станции соответственно 0,3 и 0,4 мм. При определении осадок промышленных и гражданских зданий чаше всего применяют II и III классы, для которых средние квадратические ошибки измерения превышения на станции соответственно равны 0,4 и 0,9 мм.

Отметки деформационных точек и цикле измерений определяют относительно исходного опорного репера. Отметку исходного репера чаше всего принимают условно, например 100,000 м, но она постоянна на весь период наблюдений. Для передачи отметки от исходного на все деформационные реперы разрабатывают специальную схему (рис. 3).

Рис.3. Схема нивелирных ходов для наблюдений за осадками ТЭЦ

При выполнении измерений в зависимости от класса нивелирования применяют специальную методику и соответствующие приборы. Так, при измерениях высокой точности используют тщательно выверенные высокоточные нивелиры типа Н-05, штриховые инварные или специальные малогабаритные рейки. Нивелир устанавливают строго посередине между наблюдаемыми точками, отсчеты берут по основной и дополнительной шкалам реек.

Нивелирование выполняют при двух горизонтах прибора, в прямом и обратном направлениях. Длина визирного луча допускается до 25 м, его высота над поверхностью земли или пола - не менее 0,5 м. Нивелирование производится только при достаточно отчетливых, спокойных изображениях штрихов реек. Соблюдают и другие меры предосторожности, обеспечивающие высокую точность работ.

Полученные результаты тщательно обрабатывают: оценивают фактическую точность и сравнивают ее с заданной, уравнивают, вычисляют отметки, а по разности их в циклах - осадки, строят графики осадок и т.д.

Способ тригонометрического нивелирования позволяет определять осадки точек, расположенных на существенно разных высотах, в труднодоступных местах. Такие случаи возникают при наблюдениях за высокими зданиями, башнями, плотинами, при производстве измерений через препятствия.

Наиболее высокая точность порядка 0,1 мм обеспечивается при коротких (до 100 м) лучах визирования с применением высокоточных теодолитов типа 3Т2 и специальной методики измерений, позволяющей измерять зенитные расстояния с ошибкой порядка 5». Кроме того, методика предусматривает однообразную во всех циклах установку теодолита и его тщательное исследование, строгую вертикальность реек, выбор времени и условий наблюдений для уменьшения влияния вертикальной рефракции и ряд других мероприятий, направленных на ослабление действий различных источников ошибок. Расстояния до определяемых точек должны измеряться с ошибкой 3 - 5 мм.

Гидронивелирование обеспечивает такую же точность, как и геометрическое нивелирование, но применительно к наблюдениям за осадками позволяет создавать стационарные автоматизированные системы с дистанционным съемом информации.

При использовании гидростатического нивелирования применяют различные системы, конструкция которых зависит от условий проведения работ, требуемой точности и от способа измерения положения уровня жидкости относительно отсчетных индексов измерительных сосудов.

Простейшая система, используемая на гидротехнических сооружениях (рис. 4), состоит из отрезков металлических труб, уложенных на стержнях, заделываемых в стену. Отрезки труб соединяются между собой шлангами. Над трубой в точках, между которыми систематически определяются превышения, в стену закладываются марки с посадочными втулками для переносного измерителя. При измерениях измеритель вставляется во втулку марки. Вращением микрометренного винта измерителя добиваются контакта острия штока с жидкостью, о чем свидетельствует загорание сигнальной лампочки. В этот момент берется отсчет по барабану микрометра. При привязке гидростатической системы к опорной нивелирной сети на марку вместо измерителя устанавливается нивелирная рейка. Существуют автоматизированные системы гидростатического нивелирования, в которых измерение положения уровня жидкости в сосудах определяется автоматически с помощью электрических или оптико-электронных датчиков.

Рис.4. Стационарная гидростатическая система:

отрезок металлической трубы;

стержень; 3 - шланг; 4 - марка; 5 - измеритель

Применение гидродинамического нивелирования позволяет расширить диапазон измерений и значительно упростить процесс автоматизации наблюдений за осадками. Система гидродинамического нивелирования с поршневым устройством СГДН - ПУ (Армения), состоит из сообщающихся между собой рабочих сосудов с жидкостью, устанавливаемых в определенных точках. В каждом рабочем сосуде имеется игольчатый шток, связанный проводом с блоком управления и регистрации (БУР). Сосуды сообщаются также с поршневым устройством. При равномерном перемещении с помощью электродвигателя поршня вниз и поршневом устройстве жидкость в рабочих сосудах равномерно поднимается. При этом в БУРе специальный счетчик определяет перемещение поршня от начала его движения до момента контакта игольчатого штока с поверхностью поднимающейся жидкости в каждом рабочем сосуде. Поршень опускается до тех пор, пока со всех рабочих сосудов не поступил сигнал о контакте. Разность замеров между циклами измерений будет соответствовать осадке определяемых точек. Система позволяет выполнять измерения со средней квадратической ошибкой порядка 0,1 мм.

Способ микронивелирования применяют при наблюдениях за взаимным высотным положением близко расположенных на расстоянии 1 - 1,5 м точек. Такие задачи возникают при изучении осадок и наклонов отдельных конструкций: фундаментов, балок, ферм, технологического оборудования. Измерения выполняют с помощью микронивелира.

Фото - и стереофотограмметрический способы предусматривают применение фототеодолита для фотосъемки исследуемого объекта. Определение деформаций вообще и в частности осадок этими способами заключается в измерении разности координат точек сооружения, найденных по фотоснимкам начального (или предыдущего) цикла и фотоснимках деформационного (или последующего) цикла.

В зависимости от решаемой задачи, условий фотосъемки, вида сооружений и т.д. применяют следующие способы:

      фотограмметрический, деформации определяются в одной вертикальной плоскости XOZ, т.е. в плоскости, параллельной плоскости фотоснимка;

      стереофотограмметрический, деформации определяются по направлениям всех трех координат.

При фотограмметрическом способе фотографирование производят с одной точки при неизменном положении фотокамеры в циклах. При этом плоскость прикладной рамки, по возможности, устанавливают параллельно основной плоскости сооружения. Для вычисления деформаций, кроме измерения координат или параллаксов, на снимках необходимо знать отстояние фотокамеры от объекта и фокусное расстояние объектива фотокамеры.

При стереофотограмметрическом способе фотографирование объекта производят в циклах с двух точек базиса известной длины, в результате чего получают стереопару. Для вычисления деформаций измеряют по снимкам координаты точек базиса и горизонтальные параллаксы.

В обоих способах обработка снимков по координатам или смещениям производят в основном на стереокомпараторе.

Тщательно выполненные измерения и соответствующий учет элементов ориентирования позволяет определять деформации сооружений фотограмметрическими способами со средней квадратической ошибкой менее 1,0 мм.

При наблюдениях за осадками крупных инженерных сооружений, отличающихся повышенными требованиями к точности производства этих работ, разрабатывается, как правило, специальная методика геодезических измерений. Исходными данными для разработки методики измерений служат величины ошибок ms определения осадок наблюдаемых точек, измеренных относительно исходного репера, ошибок m∆S разности осадок двух точек, расположенных на определенном расстоянии друг от друга.

Связь между требуемой точностью наблюдений и ошибкой единицы веса μ, определяющей методику измерений, может быть представлена в виде


  (2)

где QH - обратный вес отметки наиболее слабо определяемой точки;∆H - обратный вес превышения между исследуемыми точками, к точности взаимного положения которых предъявляются повышенные требования.

Наблюдения за кренами, трещинами и оползнями

Крен - вид, деформации, свойственный сооружениям башенного типа. Появление крена может быть вызвано как неравномерностью осадки сооружения, так и изгибом и наклоном верхней его части из-за одностороннего температурного нагрева и ветрового давления. В связи с этим полную информацию о кренах и изгибах можно получить лишь по результатам совместных наблюдений за положением фундамента и корпуса башенного сооружения. В зависимости от вида и высоты сооружения, технических требований и условий наблюдений для определения крена применяют различные способы.

Наиболее просто крен определяется с помощью отвеса или прибора вертикального проектирования (оптического или лазерного). Этот способ применяется в основном при возведении башенных сооружений, когда можно встать над его центром.

В сложных условиях, особенно для сооружений большой высоты, для определения крена применяют способы вертикального проектирования, координат, углов и др.

Так, в способе вертикального проектирования с двух точек I и II (рис. 7), расположенных на взаимно перпендикулярных осях сооружения и на удалении от него в полторы-две высоты, с помощью теодолита проектируют определяемую верхнюю точку на некоторую плоскость в основании сооружения (цоколь, рейку, палетку и т.п.). Зная расстояние S от теодолита до сооружения и затем d до его центра О, из наблюдений в нескольких циклах, используя отсчеты b и b1, можно вычислить составляющие крена QX и QY по выбранным осям и полную величину крена Q.

Рис.7. Схема наблюдений за креном башенного сооружения способом вертикального проектирования

В способе координат вокруг сооружения на расстоянии, равном 1,5 - 2 его высотам, прокладывают замкнутый полигонометрический ход и вычисляют в условной системе координаты его пунктов. С этих пунктов через определенные промежутки времени прямой засечкой определяют координаты точек на сооружении. По разностям координат в двух циклах наблюдений находят составляющие крена по осям координат, полную величину крена и его направление.

Способ горизонтальных углов применяют, если основание сооружения закрыто для наблюдений. При этом способе с опорных пунктов, расположенных на взаимно перпендикулярных осях, периодически измеряют углы между направлением на определяемую верхнюю точку и опорным направлением. По величине измерения наблюдаемых углов и горизонтальному положению до наблюдаемой точки находят составляющие крена по осям и полную величину крена.

Для определения величины крена по результатам нивелирования осадочных марок должно быть не менее трех на фундаменте или цокольной части сооружения. С этой же целью применяют различного вида клинометры, представляющие собой накладные высокоточные уровни с ценой деления до 5».

Наблюдения за трещинами обычно проводят в плоскости конструкций, на которых они появляются.

Для выявления трещин применяют специальные маяки, которые представляют собой плитки из гипса, алебастра и т.п. Маяк крепится к конструкции поперек трещины в наиболее широком ее месте. Если через некоторое время трещина появляется на маяке, то это указывает на активное развитие деформации.

В простейшем случае ширину трещины измеряют линейкой. Применяют также специальные приборы: деформометры, щелемеры, измерительные скобы.

Наблюдения за оползнями выполняют различными геодезическими методами. В зависимости от вида и активности оползня, направления и скорости его перемещения эти методы подразделяют на четыре группы:

      осевые (одномерные), когда смещения фиксированных на

оползне точек определяют по отношению к заданной линии или оси;

      плановые (двумерные), когда смещения оползневых точек наблюдают по двум координатам в горизонтальной плоскости;

      высотные - для определения только вертикальных смещений;

      пространственные (трехмерные), когда находят полное смещение точек в пространстве по трем координатам.

Осевые методы применяют в тех случаях, когда направление движения оползня известно. К числу осевых относят:

метод расстояний (рис. 8, а), заключающийся в измерении расстояний по прямой линии между знаками, установленными вдоль движения оползня;

метод створов (рис. 8, б), оборудованных в направлении, перпендикулярном движению оползня;

лучевой метод (рис. 8, в), заключающийся в определении смещения оползневой точки по изменению направления визирного луча с исходного знака на оползневой.

Рис.8. Схемы наблюдений за оползнями

К плановым относятся методы прямых, обратных, линейных засечек, полигонометрии, комбинированный метод, сочетающий измерение направлений, углов, расстояний и отклонений от створов.

Высотные смещения оползневых точек находят в основном методами геометрического и тригонометрического нивелирования.

Для определения пространственного смещения оползневых точек применяют фототеодолитную съемку.

Смещения оползневых точек вычисляют по отношению к опорным знакам, располагаемым вне оползневого участка. Число знаков, в том числе и оползневых, определяется из соображений обеспечения качественной схемы измерений и выявления всех характеристик происходящего процесса.

Наблюдения за оползнями проводятся не реже одного раза в год. Периодичность корректируется в зависимости от колебания скорости движения оползня: она должна увеличиваться в периоды активизации и уменьшаться в период угасания.


Выводы

Деформации зданий и сооружений возникают под действием определенных природных факторов, геологических явлений, технологических факторов, поэтому любой строящийся объект испытывает эти воздействия и деформируется.

Проектирование и строительство должно осуществляться таким образом, чтобы свести эти деформации к величинам, не нарушающим эксплуатацию зданий и сооружений. Поскольку при проектировании строительства все факторы сложно учесть практически, то для проверки совершенствования и проверки ожидаемых деформаций, а так же при применении новых технологий при строительстве в сложных условиях (грунты, сейсмические районы, подземные сооружения: крепостные сооружения, метро), необходимо проводить геодезические натурные наблюдения за деформациями в процессе строительства и эксплуатации сооружения. Это позволяет по результатам наблюдений определить величины деформации, динамику их распределения в пространстве.

Маркшейдерские наблюдения за движением земной поверхности и за подрабатываемыми объектами производятся на так называемых наблюдательных станциях. Под наблюдательной станцией понимают сеть реперов, заложенных на земной поверхности над проектируемыми горными работами в почве (грунте), в фундаментах (цоколях) зданий или объектах-трубопроводах, рельсах железных дорог, технологическом оборудовании.

Список используемой литературы

Маркшейдерское дело. Часть II. /И. Н. Ушаков. - М.: Недра, 1989. - 276-301с.://www.geoteck.ru/publications/public3/F_6.htm//www.yondi.ru/inner_c_article_id_974.phtm

Похожие работы на - Виды наблюдательных станций и методика наблюдений за осадками и наклонами земной поверхности зданий и сооружений

 

Не нашли материал для своей работы?
Поможем написать уникальную работу
Без плагиата!
Без нейросетей!