Бурение скважин

  • Вид работы:
    Реферат
  • Предмет:
    Геология
  • Язык:
    Русский
    ,
    Формат файла:
    MS Word
    76,93 Кб
  • Опубликовано:
    2015-01-02
Вы можете узнать стоимость помощи в написании студенческой работы.
Помощь в написании работы, которую точно примут!

Бурение скважин

Введение

Жидкое и газообразное углеводородное сырье ежегодно извлекается из недр Земли через сотни тысяч добывающих скважин, которые, будучи закреплены стальными обсадными трубами большой конструкционной прочности, выполняют роль герметичных вертикальных или наклонных трубопроводов, соединяющих глубокозалегающие нефтяные пласты с размещенными на дневной поверхности системами сбора, подготовки и транспортировки добытой нефти и газа. В технологически обусловленном сочетании с геологическими, геофизическими, геохимическими и гидродинамическими исследованиями бурение скважин различного назначения ведется на всех этапах цикла разведки и разработки нефтяного (газового, газо-конденсатного и др.) месторождения. Условия размещения, бурения, закачивания и эксплуатации всех этих скважин следует учитывать при планировании, проектировании, финансировании и организации буровых работ.

На современном этапе развития различных направлений горного дела бурение скважины осуществляется как самостоятельный цикл строительства горно - технического сооружения, например, при разведке или эксплуатации жидких и газообразных полезных ископаемых, а также и как вспомогательная операция, выполняемая при других горных и строительных работах, например во время проходки шахт в сильно водоносных породах по известному способу предварительного замораживания или цементирования грунта, для исследования грунтов при возведении крупных объектов промышленного и гражданского строительства. К числу отраслей, производственная деятельность которых находится в прямой зависимости от физических объемов и качества буровых работ, относятся Миннефтепром, Мингазпром и Министерство геологии СССР. Все скважины, сооружаемые буровыми предприятиями этих отраслей с целью геологического исследования недр на территории страны и шельфовых акваториях, проведения нефтегазопоисковых работ, разведки и разработки нефтяных и газовых месторождений, подразделяются на опорные, параметрические, структурные, поисковые, разведочные, эксплуатационные, оценочные, нагнетательные, наблюдательные и др. Наряду с этим буровые скважины различного назначения в довольно большом количестве сооружаются и применяются в угольной, горнорудной, химической промышленности, в сфере медицинского обслуживания населения, а также в системе промышленного и гражданского строительства.

1. Краткая история развития бурения

На основании археологических находок и исследований установлено, что первобытный человек около 25 тыс. лет назад при изготовлении различных инструментов сверлил в них отверстия для прикрепления рукояток. Рабочим инструментом при этом служил кремневый бур.

В Древнем Египте вращательное бурение (сверление) применялось при строительстве пирамид около 6000 лет назад.

Первые сообщения о китайских скважинах для добычи воды и соляных рассолов содержатся в работах философа Конфуция, написанных около 600 г. до н.э. Скважины сооружались методом ударного бурения и достигали глубины 900 м. Это свидетельствует о том, что до этого техника бурения развивалась в течение, по крайней мере, еще нескольких сот лет. Иногда при бурении китайцы натыкались на нефть и газ. Так в 221-263 гг. н.э. в Сычуане из скважин глубиной около 240 м добывали газ, который использовался для выпаривания соли.

Документальных свидетельств о технике бурения в Китае мало. Однако, судя по древней китайской живописи, барельефам, гобеленам, панно и вышивкам на шелке, эта техника находилась на довольно высокой стадии развития.

Бурение первых скважин в России относится к IX веку и связано с добычей растворов поваренной соли в районе г. Старая Русса. Соляной промысел получил большое развитие в XV-XVII вв., о чем свидетельствуют обнаруженные следы буровых скважин в окрестностях г. Соликамска. Их глубина достигала 100 м при начальном диаметре скважин до 1 м.

Стенки скважин часто обваливались. Поэтому для их крепления использовались или полые стволы деревьев или трубы, сплетенные из ивовой коры. В конце XIX в. стенки скважин стали крепить железными трубами. Их гнули из листового железа и склепывали. При углублении скважины трубы продвигали вслед за буровым инструментом (долотом); для этого их делали меньшего диаметра, чем предшествующие. Позднее эти трубы стали называть обсадными. Конструкция их со временем была усовершенствована: вместо клепанных они стали цельнотянутыми с резьбой на концах.

Первая скважина в США была пробурена для добычи соляного раствора близ г. Чарлстона в Западной Вирджинии в 1806 г. Придальнейших поисках рассолов в 1826 г. близ г. Бернсвилла в шт. Кентукки случайно была найдена нефть.

Первые упоминания о применении бурения для поисков нефти относятся к 30-м годам XIX века. На Тамани, прежде чем рыть нефтяные колодцы, производили предварительную разведку буравом. Очевидец оставил следующее описание: «Когда предполагают выкопать в новом месте колодец, то сначала пробуют буравом землю, вдавливая оный и подливая немного воды, дабы он ходше входил и по вынятию оного, есть ли будет держаться нефть, то на сем месте начинают копать четырехугольную яму».

В декабре 1844 г. член Совета Главного Управления Закавказского края В.Н. Семенов направил своему руководству рапорт, где писал о необходимости ... углубления посредством бура некоторых колодцев ... и произведения вновь разведки на нефть также посредством бура между балаханскими, байбатскими и кабристанскими колодцами». Как признавал сам В.Н. Семенов, эту идею подсказал ему управляющий бакинских и ширванских нефтяных и соляных промыслов горный инженер Н.И. Воскобойников. В 1846 г. министерство финансов выделило необходимые средства и были начаты буровые работы. О результатах бурения говорится в докладной записке наместника Кавказа графа Воронцова от 14 июля 1848 г.: « ... на Биби-Эйбате пробурена скважина, в которой найдена нефть». Это была первая нефтяная скважина в мире!

Незадолго до этого в 1846 г. французский инженер Фовель предложил способ непрерывной очистки скважин - их промывку. Сущность метода заключалась в том, что с поверхности земли по полым трубам в скважину насосами закачивалась вода, выносящая кусочки породы наверх. Этот метод очень быстро получил признание, т.к. не требовал остановки бурения.

Первая нефтяная скважина в США была пробурена в 1859 г. Сделал это в районе г. Тайтесвилл, штат Пенсильвания Э. Дрейк, работавший по заданию фирмы «Сенека ойл компани». После двух месяцев непрерывного труда рабочим Э. Дрейка удалось пробурить скважину глубиной всего 22 м, и она дала все - таки нефть. Вплоть до недавнего времени эта скважина считалась первой в мире, но найденные документы о работах под руководством В.Н. Семенова восстановили историческую справедливость.

Многие страны связывают рождение своей нефтяной промышленности с бурением первой скважины, давшей промышленную нефть. Так, в Румынии отсчет ведется с 1857 г., в Канаде - с 1858 г., в Венесуэле - с 1863 г. В России долгое время считалось, что первая нефтяная скважина была пробурена в 1864 г. на Кубани на берегу р. Кудако под руководством полковника А.Н. Новосильцева. Поэтому в 1964 г. у нас в стране торжественно отметили 100-летие отечественной нефтяной промышленности и с тех пор каждый год отмечают «День работника нефтяной и газовой промышленности».

Число пробуренных скважин на нефтяных промыслах в конце XIX века стремительно росло. Так в Баку в 1873 г. их было 17, в 1885 г. - 165, в 1890 г. - 356, в 1895 г. - 604, то к 1901 г. - 1740. Одновременно значительно возросла глубина нефтяных скважин. Если в 1872 г. она составляла 55-65 м, то в 1883 г. - 105-125 м, а к концу XIX в. достигла 425-530 м.

В конце 80-х гг. прошлого века близ г. Новый Орлеан (шт. Луизиана, США) было применено вращательное бурение на нефть с промывкой скважин глинистым раствором. В России вращательное бурение с промывкой впервые применили близ г. Грозного в 1902 г. и нашли нефть на глубине 345 м.

Первоначально вращательное бурение осуществлялось вращением долота вместе со всей колонной бурильных труб непосредственно с поверхности. Однако при большой глубине скважин вес этой колонны весьма велик. Поэтому еще в XIX в. появились первые предложения по созданию забойных двигателей, т.е. двигателей, размещаемых в нижней части бурильных труб непосредственно над долотом. Большинство из них осталось нереализованными.

Впервые в мировой практике советским инженером (впоследствии членом-корреспондентом АН СССР) М.А. Капелюшниковым в 1922 г. был изобретен турбобур, представлявший собой одноступенчатую гидравлическую турбину с планетарным редуктором. Турбина приводилась во вращение промывочной жидкостью. В 1935 - 1939 гг. конструкция турбобура была усовершенствована группой ученых под руководством П.П. Шумилова. Турбобур, предложенный ими, представляет собой многоступенчатую турбину без редуктора.

В 1897 г. в Тихом океане в районе о. Сомерленд (шт. Калифорния, США) впервые было осуществлено бурение на море. В нашей стране первая морская скважина была пробурена в 1925 г. в бухте Ильича (близ г. Баку) на искусственно созданном островке. В 1934 г. Н.С. Тимофеевым на о. Артема в Каспийском море было осуществлено кустовое бурение, при котором несколько скважин (порой более 20) бурятся с общей площадки. Впоследствии этот метод стал широко применяться при бурении в условиях ограниченного пространства (среди болот, с морских буровых платформ и т.д.). С начала 60-х годов с целью изучения глубинного строения Земли в мире стали применять сверхглубокое бурение.

2. Бурение и область его применения

Бурение - процесс сооружения горной выработки цилиндрической формы - скважины <#"793994.files/image001.gif">

Рис. 1. Классификация способов бурения скважин на нефть и газ

Механические способы бурения подразделяются на ударное и вра-щательное.

·              вращательные (роторное, турбинное, реактивно-турбинное, с использованием электробура и винтовых забойных двигателей) - горная порода разрушается в результате вращения прижатого к забою породоразрушающего инструмента (бурового долота). Вращательный способ бурения характеризуется высокой производительностью, позволяет получать скважины в несколько километров. Этот способ подразделяется на шнековое, и роторное бурение. Шнековое бурение применяют для получения скважин диаметром до 125 мм и глубиной до 30 м в мягких и мерзлых грунтах при помощи штанг в виде труб с ребордами (винтовыми наваренными полосами). Роторное бурение используется для устройства скважин большого диаметра (300-400 мм) и глубиной до 1500 м. Роторная бурильная установка состоит из вращателя - ротора, сборной вышки и оборудования для промывки скважины. Нижний конец трубы имеет шарошечные или лопастные долота, которые разрабатывают грунт. В мягких и мерзлых грунтах используют часто электрические сверлильные машины.

·              ударные - ударное бурение используют при разведке рассыпных месторождений, бурении гидрогеологических и различного назначения технических скважин большого диаметра в породах любой твердости (в крепких породах оно мало производительно). Сущность этого способа заключается в том, что тяжелый ударный снаряд с долотом периодически сбрасывается на канате с небольшой высоты на забой, дробя и скалывая при этом породу. После каждого удара снаряд поворачивается на некоторый угол за счет раскручивания каната. Удаление разрушенной породы проводится желонками. Ударный способ, применяющийся при проходке нефтяных и газовых скважин в некоторых странах, включая США, уже давно не применяется на нефтяных промыслах России.

Ø   ударно-поворотное - удары по забою производятся периодичес-ки поворачивающимся буровым инструментом;

Ø   ударно-вращательное - по вращающемуся под постоянной осевой нагрузкой породоразрушающему инструменту любого типа наносятся частые удары. Крепкие породы при этом разрушаются более эффективно. Для бурения ударно - вращательным способом применяют специальные забойные механизмы: гидроударники, пневмоударники, магнитострикторы и забойные вибраторы.

Ø   вращательно-ударное - буровой инструмент находится под большой осевой нагрузкой в постоянном контакте с забоем скважины и разрушает горную породу в результате вращения и периодически наносимых по инструменту ударов.

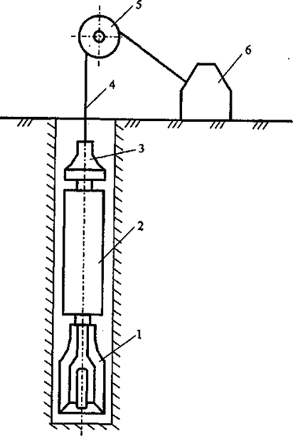
При ударном бурении разрушение горных пород производится долотом 1, подвешенным на канате (рис. 2). Буровой инструмент включает также ударную штангу 2 и канатный замок 3. Он подвешивается на канате 4, который перекинут через блок 5, установленный на какой-либо мачте (условно не показана). Возвратно-поступательное движение бурового инструмента обеспечивает буровой станок 6.

По мере углубления скважины канат удлиняют. Цилиндричность скважины обеспечивается поворотом долота во время работы.

Для очистки забоя от разрушенной породы буровой инструмент периодически извлекают из скважины, а в нее опускают желонку, похожую на длинное ведро с клапаном в дне. При погружении желонки в смесь из жидкости (пластовой или наливаемой сверху) и разбуренных частиц породы клапан открывается и желонка заполняется этой смесью. При подъеме желонки клапан закрывается и смесь извлекается наверх.

По завершении очистки забоя в скважину вновь опускается буровой инструмент и бурение продолжается. Во избежание обрушения стенок скважины в нее спускают обсадную трубу, длину которой наращивают по мере углубления забоя.

В настоящее время при бурении нефтяных и газовых скважин ударное бурение в нашей стране не применяют.

Нефтяные и газовые скважины сооружаются методом вращательного бурения. При данном способе породы дробятся не ударами, а разрушаются вращающимся долотом, на которое действует осевая нагрузка. Крутящий момент передается на долото или с поверхности от вращателя (ротора) через колонну бурильных труб (роторное бурение) или от забойного двигателя (турбобура, электробура, винтового двигателя), установленного непосредственно над долотом.

Рис. 2. Схема ударного бурения:1- долото; 2-ударная штанга; 3-канатный замок; 4-канат; 5-блок; 6-буровой станок.

Турбобур - забойный гидравлический двигатель для бурения </redir?dtype=encyc&url=www.rubricon.ru/qe.asp%3Fqtype%3D4%26rq%3D4%26id%3D1%26aid%3D%7bC6A87FDE-09FF-4B29-B73E-9F000FF057E9%7d> глубоких скважин преимущественно на нефть и газ. Много-ступенчатый турбобур - машина открытого типа, вал его враща-ется в радиальных и осевых резинометаллических подшипниках, смазкой и охлаждающей жидкостью для которых является цирку-лирующая промывочная жидкость - глинистый раствор. В разве-дочном бурении для отбора керна в полом валу трубобора раз-мещается съёмная грунтоноска. Для бурения в условиях борьбы с кривизной ствола скважины используют трубобор с вращающимся корпусом.

Электробур - забойная буровая машина с погружным электро-двигателем, предназначенная для бурения глубоких скважин, пре-имущественно на нефть и газ. Идея электробура для ударного бу-рения принадлежит русскому инженеру В.И. Дедову (1899). В 1938-40 в СССР А.П. Островским и Н.В. Александровым создан и применен первый в мире электробур для вращательного бурения, спускаемый в скважину на бурильных трубах.

Все буровые долота классифицируются на три типа:

1.      долота режуще-скалывающего действия, разрушающие породу лопастями (лопастные долота);

2.      долота дробяще-скалывающего действия, разрушающие породу зубьями, расположенными на шарошках (шарошечные долота);

3.      долота режуще-истирающего действия, разрушающие породу алмазными зернами или твердосплавными штырями, которые расположены в торцевой части долота (алмазные и твердосплавные долота).

Заключение

В настоящее время скважины бурят практически во всех средах для проведения научных исследований и обычных нефтегазо-разведочных работ; эксплуатации месторождений газообразных, жидких и твердых полезных ископаемых; сброса промышленных отходов и осуществления множества других технологических процессов.

Столь широкий диапазон применения буровых скважин в различных отраслях народного хозяйства определил многообразие условий размещения устьев, способов проходки и пространственного положения стволов этих выработок в пересекаемых ими горных массивах. В соответствии с классификацией фондов социалистического материального производства нефтяная и газовая скважины относятся к основным производственным фондам. В рамках более детализированной отраслевой классификации основных производственных фондов сооружаемые в нефтяной промышленности скважины относятся к группе «Сооружения и передаточные устройства».

Скважина как строительный объект, относящийся к основным производственным фондам, характеризуется показателями, подразделя-ющимися на две условные группы: группу не изменяющихся или редко изменяющихся «условно постоянных» данных, к которым, в частности, относятся так называемые «паспортные» данные скважины; группу часто изменяющихся «условно переменных» данных, к которой относятся так называемые эксплуатационные данные» скважины.

Эти паспортные и эксплуатационные данные достаточно полно характеризуют как саму скважину, так и ее оснащение.

бурение скважина порода

Список использованных источников

1. Басарыгин А.В., Булатов М.С., Бурение нефтяных и газовых скважин СПб.: Интеллект, 2002. 589 с

2.      Вадецкий Ю.В., Бурение нефтяных и газовых скважин, Москва: Недра, 2000, 424 с.

3. Мстиславская Л.П. Основы нефтегазового производства. Москва: Нефть и газ, 2008. 283с.

4.   Тетельмин В.В., Язев В.А. Нефтегазовое дело. Москва: Недра, 2009. 800 с.


Не нашли материал для своей работы?
Поможем написать уникальную работу
Без плагиата!
Без нейросетей!