Анализ деятельности линейной эксплуатационной службы Черкасского нефтепроводного управления

  • Вид работы:
    Отчет по практике
  • Предмет:
    Геология
  • Язык:
    Русский
    ,
    Формат файла:
    MS Word
    579,98 Кб
  • Опубликовано:
    2014-09-26
Вы можете узнать стоимость помощи в написании студенческой работы.
Помощь в написании работы, которую точно примут!

Анализ деятельности линейной эксплуатационной службы Черкасского нефтепроводного управления

СОДЕРЖАНИЕ

ВВЕДЕНИЕ

. ОАО «УРАЛСИБНЕФТЕПРОВОД»

. ЧЕРКАССКОЕ НУ

. ЛПДС «ЧЕРКАССЫ»

. ЛИНЕЙНАЯ ЭКСПЛУАТАЦИОННАЯ СЛУЖБА (ЛЭС)

. ОБОРУДОВАНИЕ ЛЭС « ЧЕРКАССЫ»

. РАСПРЕДЕЛИТЕЛЬ РАБОТ ЛПДС «ЧЕРКАССЫ»

ЗАКЛЮЧЕНИЕ

СПИСОК ИСПОЛЬЗОВАННЫХ ИСТОЧНИКОВ

ВВЕДЕНИЕ

С 11 июля по 29 июля 2011 года проходила производственная практика в линейной эксплуатационной службе ЛПДС «Черкассы» Черкасского нефтепроводного управления. За время прохождения практики основной целью являлось познакомиться со службой ЛЭС. Их основной задачей является выполнение необходимого комплекса профилактических мероприятий, обеспечивающих сохранность и работоспособность оборудования и сооружений линейной части МН и технологических нефтепроводов НПС.

1. ОАО «УРАЛСИБНЕФТЕПРОВОД»

Рисунок 1.1 - Схема магистральных нефтепроводов ОАО «Ураслибнефтепровод»

Открытое акционерное общество «Акционерная компания по транспорту нефти «Транснефть» образована в соответствии с Постановлением Правительства Российской Федерации от 14 августа 1993 года.

Сегодня «АК Транснефть» - это:

¾      свыше 70 тыс. км магистральных нефтепроводов и нефтепродуктов;

¾      26 дочерних обществ;

¾      филиал в Санкт-Петербурге, а также представительства в Республике Польша (пункт сдачи нефти (ПСН) «Адамова Застава»), в Венгерской Республике (ПСН «Фенешлитке»), в Словацкой Республике (ПСН «Будковце»), в Литовской Республике (ПСН «Мажейкяй»), в Республике Беларусь (ПСН «Полоцк»);

¾      около 84 тыс. сотрудников, включая 16 тыс. работников ОАО «АК Транснефтепродукт»

Открытое акционерное общество «Урало-Сибирские магистральные нефтепроводы имени Д.А.Черняева» (ОАО «Уралсибнефтепровод») является одним из дочерних предприятий акционерной компании по транспорту нефти «Транснефть».

ОАО «Уралсибнефтепровод» сегодня - это:

¾      23 магистральных нефтепровода (МН) общей протяженностью 5,8 тыс. км, в том числе такие межконтинентальные магистрали диаметром 1200 мм, как Усть-Балык - Курган - Уфа - Альметьевск» (УБКУА), «Нижневартовск - Курган - Куйбышев» (НКК), обеспечивающие транспортировку нефти по территории шести субъектов Российской Федерации - Республике Башкортостан (3,3 тыс. км МН), Челябинской, Курганской, Оренбургской, запада Омской и юга Пермской областей;

¾      24 нефтеперекачивающих и 56 магистральных насосных станций

¾      106 резервуаров общей вместимостью более 1 млн м3;

¾      Пять нефтепроводных управлений - Туймазинское, Челябинское, Арланское, Черкасское и Курганское, а также Специализированное управление по предупреждению и ликвидации аварий и Служба безопасности;

¾      Коллектив, насчитывающий порядка 5,5 тыс. человек.

Рисунок 1.2 - Организационная структура

ОАО «Урало-Сибирские магистральные нефтепроводы имени Д.А. Черняева» принимает нефть от ОАО «Сибнефтепровод», перекачивает смежным ее предприятиям - ОАО «Приволжские МН», ОАО «Северо-западные МН» и ОАО «Транссибнефть», осуществляет прием и транспортировку нефти от 14 производителей. Кроме того, поставляет нефть группе нефтеперекачивающих предприятий в Башкортостане и Оренбургской области. В 2007 году это старейшее дочернее общество «Транснефти» отметило свое 60-летие.

Грузооборот по транспортировке нефти по маршрутным поручениям за последние три года составил 355,3 млрд. т*км.

Начиная с 2006 года в направлении ОАО «Трансибнефть» стала возможна как прямая, так и обратная перекачка. В первом случае нефть поставляется от ОАО «Уралсибнефтепровод» на восток, во втором принимаемое от ОАО «Трансибнефть» «черное золото» транспортируется в западном направлении.

Одним из приоритетных для ОАО «Уралсибнефтепровод», как и для компании в целом, является вопрос соблюдения на объектах общества требований природоохранного законодательства. С 2003 года реализуется Экологическая политика ОАО «АК «Транснефть». На предприятии внедрена Система экологического менеджмента (СЭМ), сертифицированная на соответствие требованиям международного стандарта ISO 14000:2004. В ноябре 2007 года в ОАО «Уралсибнефтепровод» экспертами органа по сертификации DQS успешно проведен ресертификационный аудит СЭМ, который подтвердил соответствие системы экологического менеджмента предприятия требованиям международного стандарта ISO 14001:2004. По результатам аудита получен сертификат соответствия на новый срок.

Пункты ликвидации аварийных разливов нефти (ЛАРН), функционирующие в подразделении акционерного общества, оснащены современным природоохранным оборудованием для сбора и локализации аварийных разливов нефти. Систематически проводится обучение специалистов ЛЭС, ЦРС, инженеров по охране окружающей среды в НОУ «Центр ЛАРН».

Производственный эколого-аналитический контроль осуществляет четыре эколого-аналитические лаборатории, находящиеся в Черкасском, Челябинском, Туймазинском и Курганском НУ. Они ведут непрерывный контроль за состояние атмосферного воздуха, поверхностных водоемов, питьевых вод, за соблюдением нормативов качества промышленных выбросов, сточных и очищенных сточных вод. Комплексный экологический мониторинг, взаимодействие с природоохранными органами и МЧС позволяют успешно решать задачи соблюдения требований природоохранного законодательства и обеспечения экологической безопасности объектов.

Решение социальных вопросов в коллективе осуществляется в сотрудничестве с профсоюзной организацией ОАО «Уралсибнефтепровод» на основе ежегодного утверждаемого Коллективного договора. Данный документ, закрепляющий пакет социальных льгот и гарантий для сотрудников предприятия, является одним из лучших в регионах, где дислоцированы подразделения общества..

В 2006 году Коллективный договор предприятия стал победителем Всероссийского конкурса «За высокую социальную эффективность и развитие социального партнерства» в номинации «Материнство и детство». В 2007 году Республиканская организация Башкортостана Нефтегазстройпрофсоюза РФ присудил ему второе место в смотрах-конкурсах « За высокую социальную эффективность и развитие социального партнерства» и «Лучшее предприятие по охране труда».

ОАО «Уралсибнефтепровод» стремится к постоянному улучшению и совершенствованию деятельности в области охраны и условий труда. На предприятии действует Система организации работ по охране труда на нефтепроводном транспорте, введенная ОАО «АК «Транснефть» летом 2006г. В 2008 г. введена в действие Политика в области охраны труда ОАО «АК «Транснефть».

Серьезное внимание уделяется кадровой политике. Основной задачей является укомплектование подразделений общества работниками, имеющие соответствующее образование, профессиональные навыки, высокую работоспособность, ответственность, инициативность и пр. С этой целью организованы целенаправленное обучение, повышение квалификации и переподготовка руководителей, специалистов и рабочих на всем протяжении трудовой деятельности.

Подготовка рабочих кадров основных нефтепроводных профессий проводится в учебных центрах ОАО «АК «Транснефть». Подготовка специалистов осуществляется в Уфимском нефтяном техническом университете (УГНТУ) на основе Договора о сотрудничестве между ОАОЛ «АК «Транснефть» и УГНТУ и принятого в его рамках ежегодного Плана совместной деятельности между ОАО «Уралсибнефтепровод» и УГНТУ. Предприятие выделяет финансовую помощь на поддержание материально-технической базы университета, оснащение профильной кафедры необходимым оборудованием и литературой, привлекает научный потенциал университета к выполнению НИОКР.

Ежегодно студенты УГНТУ проходят все виды практики на объектах общества. В этот период они знакомятся со структурой ОАО и его филиалов, перспективными планами, социальной сферой, новыми нормативными документами, регламентами, разработанными ОАО «АК «Транснефть», новой техникой и технологией, изучают историю становления ОАО «Уралсибнефтепровод» и компании, закрепляют теоретические навыки, полученные в ВУЗе, накапливают необходимый опыт работы.

Стали традиционными выездные защиты дипломных проектов в студентов-выпускников УГНТУ в ОАО «Уралсибнефтепровод» с привлечением специалистов общества. Также специалисты предприятия принимают участие в работе Государственной аттестационной комиссии на различных кафедрах УГНТУ.

С 2001 года назначается именная стипендия ОАО «АК «Транснефть», которую получают студенты УГНТУ, имеющие лучшие показатели в учебе и научно-технической деятельности. Для развития творческой инициативы и повышения трудовой активности молодых специалистов на предприятии, как и в других дочерних обществах компании, ежегодно проводится научно-техническая конференция, в которой также принимают участие студенты УГНТУ. Победители конференции становятся участниками финального этапа научно-технической конференции молодежи в АК «Транснефть».

. ЧЕРКАССКОЕ НУ

магистральный нефтепровод транспортировка грузооборот

Для обеспечения эффективной работы системы магистральных нефтепроводов в ОАО «Урасибнефтепровод» функционирует восемь подразделений: пять нефтепроводных управлений - Туймазинское (1947г.), Челябинское (1956г.), Арланское (1964г.), Черкасское (1970г.), Курганское (1973г.), а также Специализированное управление по предупреждению и ликвидации аварий (СУПЛАВ) (1974г.), Служба безопасности (2002г.) и Северо-Казахстанское представительство (2003г.)

Черкасское нефтепроводное управление было образовано в июне 1970г. С августа 70-го Черкасское РНУ размещалось на площадке нефтеперекачивающей станции «Черкассы». В состав райуправления, кроме того, были включены НПС: «Аша», «Кропачево», «Бердяуш».

В начале 70-х на станциях Черкасского РНУ по проектам института «Гипронефтетранс» и производственно-технического отдела Урало-Сибирских МН началась переобвязка камер приема и пуска скребка для обеспечения реверсивной перекачки нефти на Запад по нефтепроводам «Туймазы - Омск - Новосибирск» (ТОН-1 и ТОН-2). Суммарный объем перекачки нефти по нефтепроводам ТОН-1 и ТОН-2 составил тогда 25 млн тонн в год.

Производительность нефтепроводов достигла проектной мощности. Дальнейшее наращивание объема перекачки было возможным только в случае запуска в эксплуатацию нефтепровода «Усть - Балык - Курган- Уфа - Альметьевск» диаметром 1200 мм. Для обслуживания УБКУА предусматривалось строительство новых нефтеперекачивающих станций. Так в Черкасском управлении одна за другой были построены станции: в июле 1972 года - НПС «Нурлино», в декабре 1974 года - НПС «Улу-Теляк». НПС «Бердяуш» вернули Челябинскому РНУ, а станция «Аша» была переведена к так называемым «светлым» или продуктопроводчикам.

И все же темпы ожидаемой добычи нефти сдерживались недостаточной мощностью магистральных нефтепроводов. Правительством страны было принято постановление о расширении нефтепровода УБКУА, согласно которому его пропускная способность доводилась до 90 млн тонн нефти в год. На карте Урало-Сибирских МН появились еще две станции «Черкассы-2» и «Кропачево». На сегодняшний день в состав Черкасского НУ входят линейные производственно-диспетчерские станции (ЛПДС) «Черкассы», «Нурлино», «Улу-Теляк», «Кропачево», нефтеперекачивающая станция (НПС) «Черкассы-2», приемо-сдаточный пункт «Уфа», ЦРС, БПО и ЦТТ и СТ. Управление осуществляет поставку нефти Альметьевскому РНУ ОАО «Северо-Западные МН» и Бугурусланскому РНУ ОАО «Приволжскнефтепровод», а также на Уфимскую группу нефтеперерабатывающих заводов.

Основной задачей Черкасского НУ является обеспечение приема, транспортировки и сдачи нефти с минимальными затратами, в соответствии с заданиями ОАО на основе графика транспортировки, маршрутных телефонограмм, согласно заключенных договоров с сохранением нефти, как по количеству, так и по качеству.

Магистрали Черкасского управления проходят по трем районам Башкортостана и Челябинской области. Управление объединяет четыре ЛПДС - «Черкассы», «Нурлино», «Улу-Теляк», «Кропачево», приемо-сдаточный пункт «Уфа», цех технологического транспорта и спецтехники и центральную ремонтную службу.

На долю Черкасского НУ приходится пятая часть всего перекачиваемого «Транснефтью» углеводородного сырья.

3. ЛПДС « Черкассы»

В конце сороковых годов прошлого столетия территория, прилегающая к поселку Черкассы Уфимского района, превратилась в строительную площадку: в 1948-м было принято решение о строительстве магистрального продуктопровода «Уфа - Омск» для снабжения нефтепродуктами восточных районов страны. После того как черкасские холмы прорезала первая лента трубопровода, уфимские нефтеперерабатывающие заводы смогли отправлять часть своей продукции на Урал по подземной магистрали. 7 ноября 1954 года была запущена в эксплуатацию первая очередь нефтепровода «Туймазы - Омск - Новосибирск». С этой праздничной даты начала свою работу и ЛПДС «Черкассы». Первым начальником, возглавившим коллектив станции, был С.Д. Широков. В 1957 году станция, оборудованная двумя насосами и резервуарным парком, заработала в полную силу.

Линейная производственно-диспетчерская станция «Черкассы» (ЛПДС) является структурным подразделением нефтепроводного управления. Сегодня в состав ЛПДС входят НПС «Черкассы-1», оснащенная шестью резервуарами и принимающая нефть по трубопроводам ТОН -1, ТОН -2 для перекачки углеводородного сырья на ОАО «Салаватнефтеоргсинтез» и НПС «Черкассы-2».

НПС Черкассы-1:

         руководство

         нефтенасосная;

         участок обслуживания механо - технологического оборудования,

         участок обслуживания энергетического оборудования,

         участок эксплуатации средств автоматики,

         хозяйственная группа;

         линейная эксплуатационная служба;

- ЖКХ.

НПС Черкассы-2:

         руководство;

         нефтенасосная;

         участок обслуживания механо - технологического оборудования:

         участок эксплуатации средств автоматики,

- хозяйственная группа.

Линейная часть ЛПДС «Черкассы» ограничена реками Белая и Уфа. Общая протяженность трубопроводов в однониточном исполнении составляет 140 км. Нефтяной поток устремляется по стальным артериям нефтепроводов «Усть - Балык - Курган - Уфа - Альметьевск», «Нижневартовск - Курган - Куйбышев», «Туймазы - Омск - Новосибирск» 1-й, 2-й и 3-й очереди, «Туймазы - Уфа» 1-й и 2-й очереди, «Калтасы - Уфа - 2». Сотни миллионов тонн черного золота в год.

Основными задачами ЛПДС являются выполнение технологических операций для обеспечения контроля и регулирования процесса транспортировки нефти на участках нефтепроводов в режимах, задаваемых план графиком работы МН и товарно-транспортным отделом нефтепроводного управления:

¾      пуск, остановка и вывод насосной станции (НС) на заданные режимы;

¾      регулирование и поддержание стабильного режима перекачки нефти;

¾      достоверный учет отпускаемой нефти на собственные нужды;

¾      технологические переключения на НС и линейной части участков нефтепроводов;

¾      соблюдение правил технической эксплуатации магистральных нефтепроводов, правил пожарной безопасности, электробезопасности, промсанитарии, других нормативных актов, регламентирующих технологический процесс приема, перекачки нефти и эксплуатации оборудования, а также сохранение качества и количества перекачиваемой нефти.

ЛПДС выполняет необходимый комплекс технического обслуживания (ТО), обеспечивающего работоспособность и сохранность оборудования и сооружений объектов ЛПДС, линейной части МН, технологических нефтепроводов и резервуарных парков на основе действующих регламентов и нормативных документов:

¾      учет объектов ТО;

¾      оценка технического состояния оборудования;

¾      подготовка и планирование работ;

¾      выполнение плановых работ по ТО механотехнологического оборудования (МТО);

¾      обеспечение качества выполняемых работ и проверок после ремонта;

¾      обучение и аттестация персонала подразделения;

¾      участие в ликвидации аварий.

. ЛИНЕЙНАЯ ЭКСПЛУАТАЦИОННАЯ СЛУЖБА (ЛЭС)

Производственная практика №2 проходила на ЛПДС « Черкассы» в линейной эксплуатационной службе (ЛЭС).

Линейная эксплуатационная служба ЛПДС «Черкассы» (далее ЛЭС) является структурным подразделением линейно-производственной диспетчерской станции «Черкассы». Начальником является Мугтабаров Радмил Фаритович. ЛЭС обеспечивает техническое обслуживание и эксплуатацию нефтепроводов НКК, УБКУА, ТОН-1, ТОН-2, ТОН-3, ТУ-3, КУ-2, ТУ-1 и технологические нефтепроводы, расположенные на территории НПС «Черкассы-1», НПС «Черкассы-2».

 Основной задачей ЛЭС является выполнение необходимого комплекса профилактических мероприятий, обеспечивающих сохранность и работоспособность оборудования и сооружений линейной части МН и технологических нефтепроводов НПС, в том числе:

- контроль технического состояния объектов линейной части МН и технологических нефтепроводов НПС, организация и проведение технического обслуживания и ремонта указанных объектов, своевременное формирование заявок на выполнение работ на линейной части МН и технологических нефтепроводах НПС силами подрядных организаций (ЦРС); - подготовка участков магистрального и технологического нефтепровода, оборудования и сооружений линейной части МН и НПС к проведению ремонтных работ, их приемка по окончанию выполнения. Так же обследование линейной части нефтепроводов при аварийных ситуациях, из-за снижения давления, вызванного не технологическими причинами, а также при сообщениях о разливе нефти. Функцией ЛЭС является выполнение технического обслуживания и текущего ремонта объектов линейной части МН и технологических нефтепроводов НПС, обеспечение очистки внутренней полости, проведение внутритрубной диагностики линейной части МН и диагностического обследования технологических нефтепроводов НПС, выполнение работ по подготовке участков нефтепроводов к проведению ремонтных работ:

определение оси прохождения нефтепровода;

определение глубины заложения нефтепровода;

определение места положения с составлением соответствующих документов пересечений нефтепровода и коммуникаций, проложенных в одном коридоре;

расстановка знаков безопасности;

определение мест переезда строительной техникой нефтепровода для устройства переездов;

проведение шурфовки и земляных работ по вскрытию участка нефтепровода;

проверка по месту полноты закрытия/открытия телемеханизированных задвижек, закрытие по месту задвижек, не имеющих режима телеуправления.

К тому же приемка выполненных работ по ремонту нефтепровода и рекультивации нарушенных земель, исполнительной документации на выполненные работы, участие в ликвидации аварий, инцидентов, отказов и несанкционированных врезок и их последствий. Содержание в нормативном состоянии аварийного запаса труб, запорной арматуры, фасонных изделий, ремонтных конструкций для линейной части МН и технологических нефтепроводов НПС, ЛПДС выполняет ЛЭС.

При возникновении аварийной ситуации на линейной части МН:

обеспечить сбор патрульной группы и провести обследование участка нефтепровода. При обследовании, осмотру подлежит непосредственно трасса нефтепровода, а в зимний период и прилегающая к ней территория на расстоянии не менее 50 м в обе стороны. При обследовании трассы должна быть обеспечена устойчивая двухсторонняя связь между оператором НПС «Черкассы-1,2» или диспетчером Черкасского НУ и руководителем патрульной группы ЛЭС, выполняющей обследование, который каждый час должен докладывать о протяженности обследованного участка;

после остановки нефтепровода по распоряжению диспетчера управляющего Черкасским НУ обеспечить закрытие по месту линейных задвижек, не имеющих режима телеуправления и проверить полноту закрытия задвижек, перекрытых в режиме телеуправления;

организовать локализацию разлившейся нефти путем создания обвалования и препятствий для её дальнейшего растекания;

организовать установку предупреждающих и запрещающих знаков, аншлагов;

приступить до прибытия ЦРС к вскрытию места повреждения для определения характера повреждения.

В ходе прохождения практики были изучены

.        Положение о линейной производственно-диспетчерской станции «Черкассы»

.        Положение о линейной эксплуатационной службе ЛПДС «Черкассы»

.        Должностная инструкция распределителя работ ЛПДС «Черкассы»

.        РД-13.100.00-КТН-225-06 Система организации работ по охране труда на нефтепроводном транспорте

.        Отраслевой регламент «Порядок организации и планирования работ по техническому обслуживанию, ремонту оборудования и сооружений линейной части магистральных нефтепроводов и технологических нефтепроводов нефтеперекачивающих станций. Рассмотрена схема размещения арматуры на линейной части магистрального нефтепровода, технологическая схема нефтеперекачивающей станции. Изучен порядок составления актов на списание ТМЦ (товарно-материальная ценность), наряд-допусков на проведение огневых, газоопасных и других работ повышенной опасности, заполнение паспортов запорной арматуры, заполнение журнала плана ППР на 2011 год.

5. ОБОРУДОВАНИЕ ЛЭС «ЧЕРКАССЫ»

Основной задачей ЛЭС является выполнение необходимого комплекса профилактических мероприятий, обеспечивающих сохранность и работоспособность оборудования и сооружений линейной части МН и технологических нефтепроводов НПС.

В ходе эксплуатации нефтепроводы загрязняются асфальто-смолистыми отложениями, различными механическими примесями. Для очистки внутренней полости трубопровода служит ряд приспособлений.

Основное устройство ПРВ (поршень-разделитель внутритрубный), СКР (скребок), СНШ (снаряд шаблон), СКК (скребки-калибры), УКО (устройство контроля очистки). Вспомогательное: ПДС (передатчик для скребков), НЧЛ (низкочастотный локатор), АКЛ (акустический локатор).

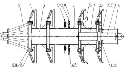
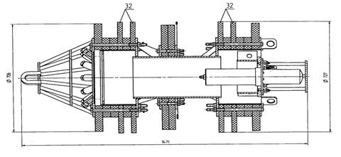
Рисунок - Поршень-разделитель внутритрубный

32 - диск чистящий

ПРВ (базового типа) служат для:

.        удаления воды из внутренней полости строящихся или реконструируемых трубопроводов после их гидравлических испытаний;

.        разделение разносортных нефтепродуктов в процессе эксплуатации трубопроводов;

.        освобождение нефтепроводов от нефти под давлением сжатого газа;

ПРВ (вариант исполнения с чистящими дисками):

.        предназначены для удаления отложений со стенок трубопровода и функционируют аналогично очистным скребкам.

Рисунок - Скребок

СКР необходимы для очистки внутренней поверхности трубопроводов от парафинсодержащих отложений, посторонних (в том числе металлических) предметов и продуктов коррозии. Скребок двигается вместе с потоком перекачиваемого продукта и производит очистку внутренней поверхности трубопровода.


Рисунок - Снаряд шаблон

СНШ служат для:

.        определения возможности пропуска по магистральным трубопроводам профилемеров или других внутритрубных инспекционных приборов по ранее не диагностированным участкам;

.        измерения одного самого минимального внутреннего сечения трубопровода на данном участке.

Рисунок - Скребок-калибр

СКК предназначены для оценки минимальной величины проходного сечения трубопроводов, определяемой в следующих случаях:

.        для нового трубопровода после завершения монтажных работ;

.        для трубопроводов, на которых производился ремонт;


Рисунок - Устройство контроля очистки

УКО определяет готовность участка трубопровода к пропуску внутритрубного ультразвукового дефектоскопа после проведения мероприятия по его очистке.

 

Рисунок- Передатчик для скребков

Рисунок- Передатчик для скребков

ПДС является генератором электромагнитных колебаний в диапазоне приема наземного локационного оборудования и предназначен для установки на скребках (очистных и скребках-калибрах) с целью определения их местоположения в подземных и наземных трубопроводах.

Рисунок - Низкочастотный локатор

НЧЛ используется для обнаружения и определения местоположения внутритрубных снарядов в подземных трубопроводах, оснащенных передающими устройствами.

АКЛ предназначен для обнаружения движущегося внутритрубного снаряда в подземном трубопроводе путем прослушивания на поверхности земли акустических колебания грунта, сопровождающих его движение.

. РАСПРЕДЕЛИТЕЛЬ РАБОТ 1 РАЗРЯДА ЛПДС « ЧЕРКАССЫ»

Распределитель работ 1 разряда линейной эксплуатационной службы линейно-производственной диспетчерской станции «Черкассы» относится к категории рабочих.

Распределитель работ в своей деятельности руководствуется:

действующим законодательством РФ;

постановлениями (распоряжениями) правительства РФ;

распорядительными и инструктивными документами органов государственного управления Российской Федерации, в том числе органов Ростехнадзора, Роспотребнадзора, Минприроды РФ, МЧС РФ и др.;

стандартами, нормами, правилами, инструкциями и другими общефедеральными нормативными документами;

РД-153-39.4-056-00 Правила технической эксплуатации магистральных нефтепроводов;

РД-13.100.00-КТН-225-06 Система организации работ по охране труда на нефтепроводном транспорте;

РД-13.100.00-КТН-306-09 «Система организации работ по промышленной безопасности на нефтепроводном транспорте»;

РД-13.220.00-КТН-575-06 Стандарт. Правила пожарной безопасности на объектах МП ОАО «АК «Транснефть» и дочерних акционерных обществ;

регламентами системы экологического менеджмента ОАО «Уралсибнефтепровод» и экологической политикой ОАО АК «Транснефть»;

отраслевыми регламентами, руководящими документами и прочими нормативными документами ОАО «АК «Транснефть», ОАО «Уралсибнефтепровод» по направлению деятельности участка обслуживания механо-технологического оборудования;

техническими требованиями к поставляемой продукции, выполняемым работам; - положением о ЛЭС, настоящей инструкцией;

приказами, планами, распоряжениями ОАО «АК «Транснефть», ОАО «Уралсибнефтепровод», Черкасского НУ;

политикой ОАО "АК "Транснефть" в области охраны труда и Регламентами СУ ОТ"

 Распределитель работ производит сбор, оформление документов

регистрация входящей и исходящей документации подразделения (отдела, службы, участка)

контроль за исполнением документов со сроком исполнения.

принимать и отправлять факсимильные документы, сканирование документов, ксерокопирование.

- ознакомление сотрудников участка и подразделния с входящей корреспонденцией.

Обязанности по охране труда:

- выполнять только порученную непосредственным руководителем работу, выдаваемую в устной или письменной форме;

- выполнять работу в положенной спецодежде, спецобуви и с использованием средств индивидуальной защиты;

- требовать в установленном порядке от руководителя работ обеспечения безопасных и здоровых условий труда в соответствии с действующими стандартами, правилами, нормами и инструкциями по охране труда.

Должен уметь:

правильно использовать индивидуальные и коллективные средства защиты от постоянно присутствующих на рабочих местах опасных и вредных производственных факторов, проявление которых возможно в процессе производства работ;

правильно использовать индивидуальные и коллективные средства защиты от потенциально опасных и вредных производственных факторов, кратковременное внезапное проявление которых возможно в процессе производства отдельных работ;

правильно пользоваться документами, инструкциями по эксплуатации и безопасному производству работ, технологическими, электрическими или другими схемами, чертежами, техническими описаниями и другой документацией, необходимой для производства работ;

правильно пользоваться материалами, инструментами и контрольно-измерительными приборами, средствами механизации и другими приспособлениями, применение которых связано с производством работ;

правильно применять безопасные приемы производства работ или ведения технологических процессов;

правильно действовать при возникновении чрезвычайных и нештатных ситуаций, опасных или несчастных случаев;

применять приемы оказания первой доврачебной медицинской помощи пострадавшим; правильно пользоваться первичными средствами пожаротушения.

ЗАКЛЮЧЕНИЕ

В ходе прохождения практики в Черкасском нефтепроводном управлении линейной производственно-диспетчерской станции «Черкассы» были получены практические и теоретические навыки. Изучены регламенты АК «Транснефть». Ознакомление с работой линейной эксплуатационной службы, основной задачей которой является выполнение необходимого комплекса профилактических мероприятий, обеспечивающих сохранность и работоспособность оборудования и сооружений линейной части МН и технологических нефтепроводов НПС.

СПИСОК ИСПОЛЬЗОВАННЫХ ИСТОЧНИКОВ

1       Практическая подготовка студентов: учеб.-метод. пособие по организации и произведению учебных, производственных и преддипломных практик для студентов специализаций 130501.1 «Проектирование и эксплуатация газонефтепроводов и газонефтехранилищ» и 130501.2 «Эксплуатация нефтеперекачивающтх агрегатов трубопроводов и хранилищ» / УГНТУ; каф. ТХНГ; сост. Г.Е.Коробков, А.А.Коршак, Р.А.Фазлетдинов, М.М.Фаттахов. - Уфа: Изд-во УГНТУ, 2007.- 45с.

         Производственная инструкция «Распределитель работ 1 разряда линейной эксплуатационной службы ЛПДС « Черкассы»»

         Положение о линейной производственно-диспетчерской станции «Черкассы» (ЛПДС «Черкассы»)

         Руководства по эксплуатации оборудования ЛЭС ЛПДС «Черкассы»

         Положение о линейной эксплуатационной службе ЛПДС «Черкассы»

Похожие работы на - Анализ деятельности линейной эксплуатационной службы Черкасского нефтепроводного управления

 

Не нашли материал для своей работы?
Поможем написать уникальную работу
Без плагиата!
Без нейросетей!