Автоматизированный ключ буровой
Федеральное государственное
автономное образовательное учреждение высшего профессионального образования
"Сибирский федеральный
университет"
Институт нефти и газа
Кафедра: Бурение нефтяных и газовых
скважин
КУРСОВОЙ ПРОЕКТ
Автоматизированный ключ буровой
Красноярск 2014
Содержание
Введение
. Общие сведения
.1 Классификация автоматизированных буровых ключей
.2 Анализ конструкций буровых автоматизированных ключей
.2.1 Анализ конструкции ключа АКБ-ЗМ 2
.2.2 Анализ конструкции ключа ПБК-3
.3 Техническая характеристика
. Расчет обсадных колонн
.1 Расчет эксплуатационной колонны
.2 Расчет первой промежуточной колонны
. Выбор бурового оборудования
. Патентно-информационный обзор
.1 Авторское свидетельство № 2268983
.2 Авторское свидетельство № 2164464
.3 Авторское свидетельство № 2328587
.4 Авторское свидетельство № 2224083
. Техническое решение
. Расчет оборудования
Заключение
Список использованных источников
Введение
Для любой страны роль внешней торговли трудно переоценить. По определению
Дж. Сакса, "экономический успех любой страны мира зиждется на внешней
торговле. Еще ни одной стране не удалось создать здоровую экономику,
изолировавшись от мировой экономической системы". Традиционной и наиболее
развитой формой международных экономических отношений является внешняя
торговля. На долю торговли приходится около 80 процентов всего объемам
международных экономических отношений. В условиях рыночных отношений центр
экономической деятельности перемещается к основному звену всей экономики - предприятию.
Именно на этом уровне создается нужная обществу продукция, оказываются
необходимые услуги. На предприятии сосредоточены наиболее квалифицированные
кадры. Здесь решаются вопросы экономного расходования ресурсов, применения
высокопроизводительной техники, технологии. Исходя из этого на сегодняшний день
самым востребованными товарами на мировом рынке являются энергетические
ресурсы. В особенности нефть, газ, уголь и уран.
В России, где основным источником формирования бюджета и поступления
валютных резервов является нефтегазовый комплекс, вопрос о поддержании объемов
производства и их росте наиболее актуален. Уменьшение объемов добычи связано с
истощением запасов месторождений, износом основных производственных фондов.
Решение данной проблемы возможно только путем введения в разработку новых
месторождений, а также путем разработки более глубоких горизонтов. Для этого
необходимо значительно увеличить объем буровых работ и работ по капитальному
ремонту скважин в основном путем повышения технико-экономических показателей
бурения за счет роста производительности труда и улучшения технологической
базы. Рост производительности труда зависит от технологии бурения (ремонта) и
квалификации работников, а улучшение технологической базы возможно путем
внедрения новых разработок и увеличения научно-исследовательской работы в
данной отрасли. Необходимость быстрейшего развития экономики нашей страны
ставит перед работниками нефтяной промышленности задачу - повысить
эффективность и улучшить качество бурения. Эта задача включает в себя как
количественный рост, так и качественный: совершенствование техники и технологии
бурения скважин, повышение производительности буровых работ и снижение их
себестоимости.
В настоящее время к строительству скважины предъявляются значительно более
жесткие экологические и экономические требования. Строительство скважины и ее
эксплуатация должны оказывать минимальное влияние на экосистему. Разработка
месторождения должна преследовать цель не максимально быструю его выработку, а
наибольшую его нефтегазоотдачу с причинением минимального ущерба окружающей
среде.
1. Общие сведения
.1 Классификация автоматизированных буровых ключей
Ключ буровой автоматический стационарный предназначен для механизации
процессов свинчивания и развинчивания бурильных и обсадных труб при
спуско-подъемных операциях. Применяется при бурении нефтяных и газовых скважин.
В настоящее время на буровых установках применяются ключи различных
типов, предназначенные для свинчивания бурильных и обсадных труб, при этом
операции по докреплению или раскреплению резьбовых соединений выполняются либо
вручную с использованием комплектов машинных ключей и пневмораскрепителей, либо
ключами, оснащенными многоступенчатыми приводами настройки скоростей вращения и
крутящих моментов.
Наиболее распространенными ключами для свинчивания или развинчивания
бурильных труб является автоматический буровой ключ типа АКБ с открытым зевом,
оснащенный пневматическими приводами вращения верхней трубы и стопорения нижней
трубы.
К недостаткам этих ключей следует отнести:
ограниченную возможность применения труб по диаметрам;
ограниченную возможность по величине передачи трубам крутящего момента
при свинчивании или развинчивании.
Известны ключи высокой степени механизации, имеющие встроенные захватные
органы, выполненные в виде двух соосно расположенных механизмов, установленных
на консольных опорных площадках и соединенных посредством направляющих
вертикального перемещения с поворотными относительно общих осей кронштейнами и
снабженных узлом позиционирования устройства. В этих ключах для стопорения
нижней трубы и вращения верхней трубы используются раздельные приводы,
выполненные в виде многоступенчатого редуктора с гидромотором для вращения
верхней трубы и в виде гидроцилиндров шарнирно соединенных с наружными и внутренними
корпусами для стопорения нижней трубы.
.2 Анализ конструкций буровых автоматизированных ключей
В настоящее время пневматическими буровыми ключами оснащают все
выпускаемые буровые установки. К таким ключам относятся стационарные ключи
АКБ-ЗМ 2 и подвесные ключи типа ПБК. Они предназначены для раскрепления,
развинчивания и свинчивания бурильных и обсадных труб диаметром 108-216 мм.
Приводятся ключи в действие воздухом под давлением 0,7- 1 МПа.
.2.1 Анализ конструкции ключа АКБ-ЗМ 2
Ключ АКБ-ЗМ 2 устанавливают в буровой между лебедкой и ротором со стороны
приводного вала на вышечно-лебедочном блоке, к которому он прикрепляется
болтами.
Он состоит из следующих основных частей: блока ключа, каретки с
пневматическими цилиндрами, стойки, пульта управления.
Блок ключа - основной механизм, непосредственно свинчивающий и
развинчивающий трубы. Он вместе с кареткой смонтирован на неподвижной стойке,
установленной у ротора, и представляет собой корпус, на котором установлены
трубозажимное устройство, понизительный редуктор и пневматический двигатель
с маховиком. Внизу блока имеются направляющие полозья, на которых он
перемещается при помощи двух пневматических цилиндров двойного действия:
надвигается на трубу, установленную в роторе, или отодвигается от
нее после ее развинчивания.
После установки поднятой колонны бурильных труб на клинья блок ключа с
помощью пневматических цилиндров перемещается в сторону оси скважины и заходит
на замковое соединение свинченных труб. Вырез в передней части трубозажимного
устройства и корпуса ключа облегчает заход блока ключа на замок. Верхнее и
нижнее приспособления трубозажимного устройства зажимают одновременно верхнюю и
нижнюю части замка. При этом верхнее приспособление, зажав ниппельную часть
замка, передает вращение труб от пневмодвигателя ключа, а нижнее, находящееся
на муфте, воспринимает реактивный момент и удерживает нижнюю трубу от поворота.
После того как блок ключа установлен над ротором, а челюсти зажимных
приспособлений зажаты на замке включают пневматический двигатель, который
соединяется с ведущим валом понизительного редуктора. Валы этого редуктора
расположены вертикально. На ведущем валу смонтирован маховик с муфтой
ограничения крутящего момента. Маховик способствует увеличению инерционного
крутящего момента, необходимого при раскреплении труб. Во избежание поломок
отдельных деталей ключа от возникающих больших крутящих моментов вследствие
остановки вращающихся масс маховик двигателя имеет предохранительную муфту.
Ключ перемещается с помощью пневматических устройств. Пневмодвигатель развивает
мощность 9,6 кВт при 600 об/мин и давлении сжатого воздуха на входе 0,5 МПа.
Удельный расход воздуха 1,1 м³/мин, масса двигателя 100 кг. При
эксплуатации пневмодвигателя за счет расширения сжатого воздуха температура его
понижается, поэтому в холодное время года перед пуском в работу двигатель
следует прогреть паром и периодически прогревать в процессе работы, используя
встроенную в него систему обогрева масляной ванны. Необходимо также следить за
уровнем масла в картере с помощью щупа. Рекомендуется менять масло в картере и
промывать последний один раз в месяц. При работе ключом необходимо соблюдать
правила техники безопасности, предписанные инструкцией, так как ключ -
травмоопасный механизм. Пульт управления состоит из корпуса, четырех кранов и
крана, соединяющегося с коллектором, трех рукояток
и шланга с накидными гайками или угольниками. Четыре крана объединяются попарно
с помощью скоб и рукояток. Эти краны могут включаться вместе или раздельно при
перемещении рукояток. С помощью одной из них можно управлять краном, связанным
с цилиндром подвода и отвода ключа или краном цилиндра зажима нижних челюстей.
Другой же рукояткой можно управлять краном пневмодвигателя ключа и краном,
связанным с устройством зажима верхней челюсти. При работе ключа сжатый воздух
от компрессорной установки через ресивер по металлическому
трубопроводу, резиновому рукаву и крану поступает в коллектор, от которого
отходят четыре резиновых рукава. По ним сжатый воздух поступает к четырем
кранам и далее к соответствующим цилиндрам телю. Один из кранов - резервный. По
окончании СПО его следует закрывать, при этом полость коллектора сообщается с
атмосферой. Это делается с той целью, чтобы избежать внезапного (помимо воли
бурильщика) включения в работу ключа.
.2.2 Анализ конструкции ключа ПБК-3
Ключ ПБК-3 состоит из сварного корпуса прямоугольной формы, затвора с
двумя гладкими ведущими роликами, установленными на концах рычагов. Привод
каждого из них осуществляется отдельным пневматическим двигателем, что значительно
упрощает конструкцию редуктора и делает работу ключа более надежной. В этом
ключе рычаги для захвата труб поворачиваются с помощью горизонтальных
цилиндров.
На противоположном конце корпуса установлен горизонтальный пневматический
цилиндр, шарнирно соединенный с редуктором и помещенный в корпус ключа. В
цилиндре расположены два поршня, передающие движение общему штоку. Под
действием сжатого воздуха шток сдвоенного цилиндра перемещает редуктор внутри
корпуса ключа и зажимает трубу, на которую предварительно был заведен ключ,
между гладкими и ведущими роликами, обеспечивая передачу крутящего момента от
пневматического двигателя.
Ключ в буровой подвешивается на канате. Высота подвески регулируется
пневматическим цилиндром с пульта управления,
установленного внутри буровой. По шлангам сжатый воздух поступает
из общего воздухосборника в пневматический двигатель и
пневматические цилиндры через краны, установленные на том же пульте.
.3 Техническая характеристика
Таблица 1.1 - Параметры буровых автоматизированных ключей
|
Тип ключа
|
АКБ-3М 2
|
ПБК-3
|
|
Крутящий момент, кН·м при
свинчивании при докреплении
|
1,2 50
|
1,68 60
|
|
Число ведущих роликов
|
-
|
2
|
|
Диаметр ведущих роликов, мм
|
-
|
200/230
|
|
Частота вращения
трубозажимного устройства, об/мин
|
80
|
66
|
|
Тип двигателя
|
П 2
|
БВУ-1
|
|
Мощность двигателя, кВт
|
9,6
|
3,5
|
|
Число двигателей
|
1
|
2
|
|
Расход воздуха на один цикл
работы, м³
|
1,2
|
1,1
|
|
Давление воздуха, МПа
|
0,7-1
|
0,7-1
|
|
Масса ключа, т
|
2,96
|
0,54
|
2. Расчет обсадных колонн
.1 Расчет эксплуатационной колонны
-
Диаметр эксплуатационной колонны 
-
Плотность цементного раствора 
Плотность
бурового раствора 
;
Интервал
с АВПД = 3850 - 4000 м;
Пластовое
давление в период ввода скважины в эксплуатацию

= 80
МПа;
Пластовое
давление при окончании эксплуатации 
= 5 МПа;
Колонна
должна быть зацементирована до устья.
Найдем
избыточные наружные давления на заключительной стадии эксплуатации скважины.
Поскольку
колонна зацементирована по всей длинне, избыточное наружное давление у устья 
.
На
глубине Zc = 4000 м:

(1)
где
h
- высота верхнего цементируемого участка в обсадной
колонне, м;

0,25
коэффициент нагрузки;

9,81
ускорение свободного падения, м²/с;



;

МПа.
На
глубине Z=3850 м:

(2)

=48,79
МПа.
Для
определения избыточных внутренних давлений в период проверки герметичности
колонны опрессовкой вычислим наибольшее давление у устья скважины в начальный
период эксплуатации.

, (3)
где

850
средняя плотность пластовой нефти, кг/м³;

давление,
МПа;

9,81
ускорение свободного падения, м²/с.

; 
МПа.
Давление
у устья при опрессовке колонны:

. (4)
Избыточное
внутренне давление на глубине Zc = 4000 м:

, (5)
где


9,81
ускорение свободного падения, м²/с;



4000*9,81*10
*0,75;

16,42
МПа;
Построим
эпюры избыточных внутренних и наружных давлений:
Рисунок
2.1 - Эпюры избыточных внутренних и наружных давлений
Вычислим
необходимую прочность труб на разрыв в устьевом сечении:

, (6)
где

,
коэффициент запаса прочности на разрыв для труб диаметром 114-219 мм. 
.
Вычислим
необходимую прочность труб на разрыв у башмака колонны:

, (7)
где


, коэффициент
запаса прочности на разрыв для труб диаметром 114-219 мм. 
;
Во
избежание смятия, нижнюю секцию необходимо составить из труб, критическое
давление которых:
Pкр ≥
, (8)
где

,
коэффициент запаса прочности на смятие для секций эксплуатационной колонны;
Pкр ≥50,7*1,3=65,91
МПа.
Эту
секцию можно составить из труб, критическое давление которых Pкр
=68,7 МПа, а внутренне давление, при котором напряжение в теле трубы достигает
предела текучести 
= 87,2
МПа. Это трубы группы прочности К с толщиной стенок 10.7 мм. Вес одного метра
труб q=30,7 кг.
Длина
нижней секции перекрывающий продуктивный пласт равно длине интервала с
АВПД=4000-3850=150 м.
Вес
нижней секции:

, (9)
где



9,81
ускорение свободного падения, м²/с;

.
Во
избежание смятия для второй снизу секции необходимы трубы для которых:
Pкр ≥
, (10)
где

,
коэффициент запаса прочности на смятие.
Pкр ≥
48,8*1=48,8 МПа.
Эта
секция составляется из групп прочности Д с толщиной стенок δ=10.7 мм, для которых Pкр =49 МПа и 
= 80
МПа.
Третью
секцию составим из труб группы прочности Д с толщиной стенок 10.7 мм для
которых Pкр =49 МПа и 
.
Допустимая
глубина спуска третьей секции:

2750 м.
(11)
Тогда
длина второй секции:

.
Вес
второй секции:

.
Четвертая
секция составляется из труб группы прочности Д с δ = 9,2 мм, для которых Pкр=40,4 МПа и 
.
Допустимая
глубина спуска этой секции:

2125 м.
(12)
Длина
третьей секции:

.
Вес
третьей секции:

.
В
нижнем сечении четвертой секции напряжение осевого растяжения:

(13)
где

;


.
Определим
фактический коэффициент запаса прочности на смятие:

(14)
где

- предел
текучести, МПа.
Так
как неравенство (14) выполняется, то коэффициент запаса прочности на смятие
достаточен.
Глубина
верхнего сечения четвертой секции:

; (15)

.
Вычислим
допустимую глубину четвертой секции:

, (16)
где

-
допустимая растягивающая нагрузка при которой напряжение в теле трубы достигает
предела текучести, кН;

; (17)

.
Округляем
до 
.
Вес
четвертой секции: 
.
Для
пятой секции выбираем трубы из стали группы прочности Д с толщиной стенки δ = 10,7 мм 
, тогда:

;
Округляем
до 
.
Вес
пятой секции: 
Для
шестой секции трубы из стали группы прочности М с толщиной стенки δ=10,7 мм, 
, тогда:

.
Достаточной
является длинна шестой секции 1045 м.
Вес
шестой секции: 
.
Таблица
2.1 - Конструкция эксплуатационной колонны
|
Номер секции
|
Интервал глубин, м
|
Длина секции, м
|
Группа прочности
|
Толщина стенки, мм
|
Вес, кН
|
|
1
|
4000-3850
|
150
|
К
|
10.7
|
45.18
|
|
2
|
3850-2750
|
1100
|
Д
|
10.7
|
331.28
|
|
3
|
2750-2125
|
625
|
Д
|
10.7
|
188.23
|
|
4
|
2125-1595
|
530
|
Д
|
9.2
|
138.82
|
|
5
|
1595-1045
|
550
|
Д
|
10.7
|
165,64
|
|
6
|
1045-0
|
1045
|
М
|
10.7
|
314.72
|
|
Итого
|
|
4000
|
|
|
1183.87
|
2.2 Расчет
первой промежуточной колонны
скважина бурение гидроцилиндр поршень
-
Глубина спуска 
2840 м;
Наружный
диаметр промежуточной колонны 
245 мм;
В
интервале 1800-1850 залегают породы склонные к вспучиванию;
Объемная
плотность толщи пород равна 2100 кг/м³;
Плотность
опресовочной жидкости 
;
Избыточные
наружные при открытом устье скважины

0, при 
.
На
глубине 2840 м:

где



9,81
ускорение свободного падения, м²/с;
h


;

На
глубине Z=1775 м, вблизи кровли породы, склонной к вспучиванию:

; (19)
На
глубине Z =1875 м, ниже подошвы той же породы:
Избыточные
внутренние давления в колонне в период опрессовки ее за один прием.
Наибольшее
давление на устье колонны в случае закрытия превентора после начала
газонефтеводопроявления:

; (20)

.
Давление
у устья при опрессовке колонны:

; (21)
Избыточное
давление у башмака колонны:

; (22)

МПа.
Строим
эпюры избыточных наружных и внутренних давлений:
Рисунок
2.2 - Эпюры избыточных внутренних и наружных давлений
Первую снизу секцию составим из труб группы прочности Л исполнения Б с
толщиной стенок δ=13,8 мм, для которых Pкр=36.2 МПа, Pp=6600 кН, Рб=74.5 МПа, q1=78.7 кг/м.

(23)
Вторую
секцию составим из труб группы прочности Е исполнения Б с толщиной стенок δ=13,8 мм, для которых 
, Pp=5550
кН, Рб=65 МПа,, q2= 78,7 кг/м.
Допустимая
глубина спуска второй секции:

(24)
Округлим
до 2550 м, тогда длина первой секции:

.
Вес
первой секции: 
.
Длина
второй секции: 
.
Вес
второй секции: 
.
Третья
секция перекрывает породы склонные к вспучиванию, ее составим из труб группы
прочности М с толщиной стенки δ=15,9 мм,
для которых 
, Pp=7400
кН, Рб=86 МПа,, q2= 89,5 кг/м.
Длина
третьей секции: 
Вес
третьей секции: 
.
Четвертая
секция состоит из труб группы прочности Д с толщиной стенки δ=13,8 мм, для которых 
, Pp=3850
кН, Рб=34 МПа, q5= 63,6 кг/м.
Допустимая
глубина спуска пятой секции:

(25)
Округляем
до 
м, тогда
длина четвертой секции:

.
Вес
четвертой секции: 
Шестая
секция состоит из труб группы прочности Д с толщиной стенки δ=10 мм, для которых 
, Pp=3800
кН, Рб=31 МПа, q6 = 58 кг/м.
Допустимая
глубина спуска шестой секции:

(26)
Округляем
до 
м, тогда
длина пятой секции:

.
Вес
пятой секции: 
.
Седьмая
секция состоит из труб группы прочности Д с толщиной стенки δ=8,9 мм, для которых 
, Pp=2550
кН, Рб=28 МПа, q7= 51,9 кг/м.
Допустимая
глубина спуска седьмой секции:

. (27)
Округляем
до 
м, тогда
длина шестой секции:

Вес
шестой секции: 
.
Длина
седьмой секции: 
.
Вес
седьмой секции: 
Определим
вес первой промежуточной колонны:

; (28)

.
Таблица
2.2 - Конструкция первой промежуточной колонны.
|
Номер секцииИнтервал
глубин, мДлина секции, мГруппа прочностиТолщина стенки, ммВес, кН
|
|
|
|
|
|
|
1
|
2840 - 2550
|
290
|
Л
|
13,8
|
223,89
|
|
2
|
2550-1875
|
675
|
Е
|
13,8
|
521,13
|
|
3
|
1875 -1775
|
100
|
М
|
15,9
|
87,79
|
|
4
|
1775 -1275
|
500
|
Д
|
13,8
|
386,02
|
|
5
|
1275 -1025
|
250
|
Д
|
11,1
|
155,98
|
|
6
|
1025 - 775
|
250
|
Д
|
10
|
142,24
|
|
7
|
775 - 0
|
Д
|
8,9
|
394,58
|
|
Итого
|
|
2840
|
|
|
1911,63
|
3. Выбор
бурового оборудования
Наибольшую
нагрузку БУ будет испытывать при спуске 245-мм промежуточной колонны.
Максимальная вертикальная нагрузка от веса второй промежуточной колонны: 
.
Для
бурения данной скважины наиболее рационально использовать установку БУ 3200/200
ЭУ [5].
Таблица
3.1 - Основные параметры буровой установки БУ 3200/200 ЭУ
|
Максимальная грузоподъемность,
кН
|
2000
|
|
Рекомендуемая глубина
бурения, м
|
3200
|
|
Скорость подъема крюка при
расхаживании колонны, м/с
|
0,2±0,05
|
|
Скорость подъема элеватора
(без нагрузки), м/с, не менее
|
1,5
|
|
Расчетная мощность на
входном валу подъемного агрегата, кВт
|
670
|
|
Диаметр отверстия в столе
ротора, мм
|
700
|
|
Расчетная мощность привода
ротора, кВт, не более
|
370
|
|
Мощность бурового насоса,
кВт
|
950
|
|
Вид привода
|
Э
|
|
Высота основания (отметка
пола буровой), м
|
6.0
|
|
Лебедка буровая
|
ЛБУ-670
|
|
Насос буровой
|
УНБТ-950А
|
|
Ротор
|
Р-700
|
|
Комплекс механизмов АСП
|
АСП-ЗМ 1
|
|
Кронблок
|
УКБА-6-250
|
|
Талевый блок
|
УТБА-5-200
|
|
Вертлюг
|
УВ-250МА
|
|
Вышка
|
ВМА-45-200-1
|
Таблица 3.2 - Основные характеристики кронблока УКБА-6-250
|
Максимальная нагрузка, кН
|
2500
|
|
Число канатных шкивов
|
6
|
|
Диаметр каната, мм
|
28
|
|
Наружный диаметр шкива, мм
|
1000
|
|
Диаметр шкива по дну
канавки, мм
|
900
|
|
Диаметр оси, мм
|
220
|
|
Подшипник шкива
|
97744ЛМ Конический
двухрядный 220х 340х 100
|
|
Габаритные размеры, мм:
длина ширина высота
|
3180 2606 1335
|
|
Масса, кг
|
3885
|
Таблица 3.3 - Основные характеристики талевого блока УТБА-5-200
|
Грузоподъемность, т
|
200
|
|
Количество шкивов, шт
|
5
|
|
Наружный диаметр шкива, мм
|
1000
|
|
Профиль желоба шкива, мм
|
28
|
|
Масса, кг
|
2470
|
4.
Патентно-информационный обзор
.1
Авторское свидетельство № 2268983
Изобретение относится к буровой технике и может быть использовано на
буровых установках для механизации спускоподъемных операций при сборке или
разборке бурильных и обсадных колонн.
Цель изобретения - увеличение функциональных возможностей работы ключа,
сокращение времени замены захватных элементов верхних и нижних рабочих органов
ключа и элементов тормозной системы с одновременным обеспечением надежности
узлов при увеличении нагрузок на замковые соединения труб.
Наиболее распространенными ключами для свинчивания или развинчивания
бурильных труб является автоматический буровой ключ типа АКБ с открытым зевом,
оснащенный пневматическими приводами вращения верхней трубы и стопорения нижней
трубы.
К недостаткам этих ключей следует отнести:
ограниченную возможность применения труб по диаметрам;
ограниченную возможность по величине передачи трубам крутящего момента
при свинчивании или развинчивании;
обязательное наличие жестких направляющих потребных для гашения
реактивных моментов при работе с раздельными приводами вращения и стопорения труб;
сложность конструкции, выраженная наличием приводов с многоступенчатой
системой механической настройки крутящих моментов и частот вращения;
повышенные контактные и изгибающие напряжения на зубчатые элементы при
передаче им высоких крутящих моментов, что приводит к увеличению габаритов,
массы и уменьшению надежности работы ключа;
повышенная трудоемкость по обслуживанию ключа при замене захватных
органов при переходе от одного диаметра труб на другой;
ограниченная возможность применения ключей на буровых установках,
оснащенных автоматической системой подачи труб (АСП);
ограниченная возможность использования ключей при сборке компоновок и
свечей.
Указанные проблемы стимулировали поиск новых технических решений.
Предложенное изобретение направлено: на исключение передачи реактивных
моментов на внешние конструкции буровой установки; на увеличение функциональных
возможностей работы ключа; на сокращение времени замены захватных элементов
верхних и нижних рабочих органов ключа и элементов тормозной системы с одновременным
обеспечением надежности узлов при увеличении нагрузок на замковые соединения
труб.
Эта задача решается путем разделения на отдельные самостоятельные
технологические узлы и включает:
верхний корпус со встроенным в нем устройством докрепления-раскрепления
резьб, трубозажимным устройством, тормозным устройством и комплектом
промежуточных зубчатых колес;
нижний корпус со встроенным в нем устройством докрепления-раскрепления
резьб, трубозажимным устройством и комплектом промежуточных зубчатых колес;
привод вращения труб выполнен в виде общего для вращения и стопорения
труб приводного блока, содержащего дифференциальный и быстроходный редукторы с
гидромоторами;
позиционер, который выполнен с механизмами горизонтального и
вертикального перемещения ключа;
механизм подачи смазки на резьбовую часть ниппеля навинчиваемой трубы.
При этом верхний корпус выполнен с возможностью его поворота относительно
оси трубозажимного устройства и его подъема или опускания относительно нижнего
корпуса, механизм вертикального перемещения позиционера ключа выполнен в виде
двух самостоятельных узлов, включающий стол и нижнее основание, связанное со
столом подвижной колонной со встроенным гидроцилиндром подъема стола, а нижний
корпус, в свою очередь, снабжен выдвижными упорами для фиксации верхнего
корпуса, двумя кронштейнами и четырьмя стяжками, скрепленными с двумя реечными
скалками механизма горизонтального перемещения ключа позиционера, которые
связаны через шестеренные блоки с гидроцилиндрами горизонтального перемещения,
встроенными в корпус стола.
В свою очередь, тормозное устройство верхнего корпуса содержит шкив,
четыре тормозные колодки и скобообразную обойму с размещенными в ней
гидроцилиндрами прижима колодок к шкиву; при этом обойма в центральной части
имеет зубчатый сектор, находящийся во взаимодействии через рейки и зубчатую
шестерню с гидроцилиндрами докрепления-раскрепления резьб, от взаимодействия
которых обратные реакции от привода вращения взаимно уничтожаются, а обойма, и
через нее тормозной шкив, и трубозажимное устройство получают дополнительный
крутящий момент, при этом ключ снабжен дополнительным механизмом
докрепления-раскрепления резьб в нижнем корпусе, состоящим из двух
гидроцилиндров, связанных штоками с роторным колесом, а корпусами через шарниры
с нижним корпусом ключа, а реактивные моменты от приводного блока и действия
гидроцилиндров направлены друг к другу с противоположными знаками.
Дополнительно на тормозное устройство верхнего корпуса установлен механизм
подачи технологической смазки на резьбовую часть ниппеля навинчиваемой трубы,
который содержит основание с радиально размещенными пазами, в которые встроены
корпуса блоков с форсунками, имеющие возможность радиального перемещения, при
этом каждый корпус выполнен с цилиндрической расточкой, в которую встроен
шприцевый механизм, состоящий из золотника с поршнем и пружины.
Технический результат при осуществлении изобретения выражается в
использовании в конструкции ключа блочной системы отдельных узлов, оснащенных
соответствующими механизмами, при взаимодействии которых выполняются операции:
по свинчиванию-развичиванию замковых соединенных труб с высокими
моментами кручения и стопорения труб с гашением реактивных моментов внутри
собственного корпуса ключа и существенного уменьшения нагрузок на зубчатые элементы
вращателя и стопорного ключа, обеспечивая надежность срабатывания замковых
элементов трубозажимных устройств;
быстрой замены трубозажимных устройств или их элементов при износе или
переходе на другой типоразмер по диаметру скваженных труб за счет использования
быстросъемного верхнего корпуса и блочных узлов трубозажимных элементов;
быстрой замены элементов тормоза при их износе за счет применения
сборочных узлов, не связанных с общей разборкой ключа.
Другими факторами, обеспечивающими технический результат, являются:
увеличение функциональных возможностей в части расширения диапазона
диаметров применяемых труб, повышения крутящих моментов, возможности
осуществления установки ключа в подвесном варианте, работы ключа как с ручной
расстановкой труб, так и с установкой оснащенной АСП;
применение отдельного механизма подачи смазки на резьбовую часть ниппеля
навинчиваемой трубы;
простота конструкции, ее обслуживание, сборка, наладка и разборка
отдельных узлов за счет использования блочных элементов;
высокая взаимозаменяемость рабочих органов верхнего и нижнего
трубозажимных устройств;
высокая технологичность и сравнительно низкая себестоимость изготовления.
Это позволяет сделать вывод о применении нетрадиционных решений при
разработке ключа, о его новизне, высоком уровне конструкции, а возможность
изготовления ключа в условиях машиностроительного предприятия не вызывает
сомнения.
Сведения, подтверждающие возможность осуществления изобретения,
поясняются чертежами, где:
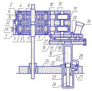
на Рис.4.1 - общий вид ключа в продольном разрезе;
на Рис.4.2 - вид нижнего корпуса по разрезу А-А;
на Рис.4.3 - вид верхнего корпуса по разрезу Б-Б;
Рисунок 4.1 - общий вид ключа в продольном разрезе: 7 - стакан; 10 -
нижний опорный лист; 11 - верхний опорный лист; 13 - опоры; 16 - трубозажимное
устройство; 21 - дюбель; 36 - опорные ролики; 37 - роторное колесо; 38 - шкив;
39 - тормозное устройство; 54 - зубчатая шестерня; 55 - цементирующий клапан;
56 - дифференциальный редуктор; 57 - быстроходный редуктор; 58 - гидромотор; 59
- корпус стола; 62 - гидроцилиндр; 65 - шестеренные блоки; 75 - муфта трубы; 76
- верхняя труба.
Рисунок 4.2 - вид нижнего корпуса по разрезу А-А: 9 - рама; 10 - нижний
опорный лист; 12 - боковой лист; 14 - роторное колесо; 15 - копирная
поверхность; 17 - обойма; 19 - роликовая опора; 20 - челюсть с плашкой; 21-
дюбель; 22 - промежуточный блок; 23 - приводная шестерня; 25 - гидроцилиндр; 26
- скоба; 27 - раскрепление резьбы; 28 - площадка; 31 - кронштейн.
Рисунок 4.3 - вид верхнего корпуса по разрезу Б-Б: 6 - боковая откидная
направляющая; 8 - выдвижной упор; 15 - копирная поверхность; 16 - трубозажимное
устройство; 20 - челюсть с плашкой; 21 - дюбель; 24 - стакан; 26 - скоба; 32 -
сварная рама; 33 - нижний опорный лист; 34 - верхний опорный лист; 35 - боковой
лист; 37 - роторное колесо; 40 - промежуточный блок; 41 - промежуточный блок;
42 - приводная шестерня; 43 - скобообразная обойма; 44 - гидроцилиндр; 45 - тормозная
колодка; 46,47 - выступы; 49 - механизм докрепления-раскрепления резьб; 50,51 -
гидроцилиндры; 52,53 - рейки.
4.2
Авторское свидетельство № 2164464
Гидроприводной подвесной трубный ключ относится к устройствам для
свинчивания и развинчивания обсадных труб нефтяного сортамента в процессе
спуско-подъемных операций при бурении нефтяных и газовых скважин. Ключ содержит
корпус с двумя откидывающимися створками. В корпусе расположено вращательное
зажимное устройство, состоящее из ротора, рабочей и ценрирующих челюстей. На
корпусе установлены гидрораспределитель, гидромотор. Тормозное устройство имеет
ролик из упругого материала, установленный в центральной части рабочей челюсти
и взаимодействующий с концевиками при смещении рукоятки гидрораспределителя. Концевики
имеют наклонные грани и закреплены на внутренней стенке корпуса по обе стороны
относительно ролика. Рабочая челюсть после накатывания ролика на грань
концевика притормаживается и начинает перемещаться к трубе. При развинчивании
труб ролик накатывается на грань другого концевика и рабочая челюсть
притормаживается относительно ротора, что позволяет отойти рабочей челюсти от
трубы. Использование изобретения позволит повысить производительность ключа и
улучшить условия его эксплуатации.
Поставленная задача решается тем, что гидроприводной подвесной трубный
ключ, содержащий корпус с двумя откидывающимися створками, вращательное
зажимное устройство, расположенное в корпусе, состоящее из ротора, рабочей и
центрирующих челюстей, тормозное устройство, гидромотор и гидрораспределитель,
при этом тормозное устройство представляет собой ролик из упругого материала,
который установлен в центральной части рабочей челюсти с возможностью
взаимодействия с концевиками при смещении рукоятки гидрораспределителя, при
этом концевики имеют наклонные грани и закреплены на внутренней стенке корпуса
по обе стороны относительно ролика из упругого материала.
Заявляемая конструкция поясняется чертежом (Рис.4.4).
Рисунок 4.4 - Общий вид ключа (вид сверху - с раскрытыми створками): 1 -
корпус; 2 - створки; 3 - замок; 4 - гидромотор; 5 - гидрораспределитель; 7 -
центрирующая челюсть; 8 - рабочая челюсть.
4.3
Авторское свидетельство № 2328587
Изобретение относится к устройствам для завинчивания или развинчивания
резьбовых соединений при бурении и ремонте скважин в нефтяной и газовой
промышленности.
Задачей изобретения является повышение надежности работы ключа трубного.
Поставленная задача достигается тем, что в трубном ключе содержится
корпус с размещенными в нем шестернями для передачи вращения к разрезной
шестерни от центральной шестерни, гидромотор, планетарный редуктор, узел
передачи вращения от гидромотора к планетарному редуктору, привод переключения
передач, включающий связанный с осью рычаг переключения передач,
гидрораспределитель с держателем, привод переключения гидрораспределителя с
переключающей тягой, узел передачи вращения от гидромотора к планетарному
редуктору включает переходной вал, отцентрированный подшипниками и распорными
втулками относительно присоединительных поверхностей корпуса узла к гидромотору
и планетарному редуктору, при этом переходный вал выполнен с рабочими
поверхностями для передачи вращения при зацеплении от вала гидромотора
сателлитам планетарного редуктора, а в корпусе ключа симметрично относительно
разреза разрезной шестерни размещены две дополнительные шестерни, установленные
с возможностью передачи постоянного вращения к разрезной шестерне от центральной
шестерни, а для исключения износа крайних зубьев, разрезная шестерня выполнена
со сменными зубчатыми элементами, при этом рычаг переключения передач связан с
осью посредством профильного соединения, а гидрораспределитель закреплен на
держателе с возможностью регулирования хода плунжера в одном направлении
движения с переключающей тягой, при этом хвостовик закреплен непосредственно на
корпусе ключа.
Предлагаемый ключ трубный иллюстрируется на Рис.4.5 - "Ключ
трубный", основной вид.
Рисунок 4.5 - "Ключ трубный", основной вид: 1 - узел передачи
вращения; 2 - гидромотор; 3 - планетарный редуктор; 13 - шестерня; 16 -
дополнительная шестерня; 21 - ось; 22 - рычаг переключения передач; 28 -
переключающая тяга; 29 - хвостовик.
4.4 Авторское свидетельство № 2224083
Использование: изобретение относится к области машиностроения, а именно к
буровым ключам и может быть использовано в буровой технике для соединения
бурильных и обсадных труб. Сущность изобретения: ключ содержит нижний корпус и
верхний корпус со встроенными в них трубозажимными устройствами, сочлененные
зацеплениями через шестерни общим валом с приводом. Нижний корпус и верхний
корпус скреплены между собой откидными болтами и, в свою очередь, установлены на
плите верхнего основания позиционера. Нижний корпус скреплен болтами с верхним
основанием и зафиксирован фиксатором. Верхнее основание в нижней части имеет
цилиндрический стакан, встроенный в стакан нижнего основания. Внутри
цилиндрического стакана установлен гидроцилиндр, шток которого упирается в дно
стакана нижнего основания. В стакан нижнего основания встроен фиксатор с
педалью. В нижний корпус встроен реечный механизм, содержащий рейку и стопор.
Использование изобретения позволяет упростить конструкцию, расширить
функциональные возможности, улучшить эксплуатационные качества, повысить
надежность и увеличить величины крутящего момента при свинчивании-развинчивании
замковых соединений.
Предложенное изобретение направлено на сокращение времени замены захватных
элементов верхнего и нижнего рабочих органов бурового ключа с одновременным
обеспечением надежности узла при увеличении нагрузки на замковые соединения
труб, а также на использование ключа для поворота всей буровой колонны при
аварийных ситуациях или вращения обсадной колонны при ее спуске. Это
достигается тем, что ключ для свинчивания и развинчивания резьбовых соединений
скважинных труб (в дальнейшем ключ) выполнен в виде, при котором в корпуса для
привода трубозажимных устройств установлены промежуточные шестерни, сочлененные
зацеплениями с приводными шестернями, имеющими общий технологический вал с
зубчатым колесом быстроходной ступени привода, при этом позиционер снабжен
механическим фиксатором от поворота и выполнен в виде нижнего основания с цилиндрической
расточкой, верхнего основания с плитой и с нижней частью в виде цилиндрического
стакана и гидроцилиндра, причем нижний корпус ключа установлен на плите
верхнего основания позиционера, гидроцилиндр размещен внутри цилиндрического
стакана, а последний встроен в цилиндрическую расточку нижнего основания
позиционера.
В свою очередь верхний и нижний корпуса ключа соединены между собой
откидными болтами, а нижний корпус скреплен болтовыми соединениями с верхним
основанием позиционера и зафиксирован от поворота механическим фиксатором.
Кроме того, привод вращения верхней трубы, удержания от поворота нижней
трубы, поворота верхнего корпуса относительно нижнего и поворота всего ключа
относительно технологической оси позиционера выполнен с дифференциальной передачей
и размещен на плите верхнего основания позиционера. Дополнительно в нижний
корпус ключа встроен реечный механизм с механическим фиксатором для обеспечения
вращения верхнего трубозажимного устройства и неподвижности нижнего
трубозажимного устройства при включенном приводе.
Предлагаемая конструкция ключа обеспечивает:
надежность срабатывания замковых элементов трубозажимных устройств при
свинчивании-развинчивании замковых соединений труб;
быструю замену трубозажимных устройств или их элементов при износе или
переходе на другой типоразмер по диаметру скважинных труб за счет использования
независимого поворота верхнего корпуса ключа относительно застопорного нижнего
корпуса;
сборку-разборку свечей в шурфах при использовании совместного поворота
верхнего и нижнего корпусов ключа относительно технологических осей;
простоту конструкции ключа, его обслуживания, сборку, наладку и разборку
отдельных узлов за счет использования блочных элементов;
высокую взаимозаменяемость рабочих органов верхнего и нижнего трубозажимных
устройств;
высокую технологичность и сравнительно низкую себестоимость изготовления;
отсутствие передачи высоких реактивных моментов механизмам
позиционирования ключа.
На Рис.4.6 представлен общий вид ключа в разрезе
Рисунок 4.6 - Общий вид ключа в разрезе: 1 - корпус стопорного ключа; 2 -
корпус вращателя; 3,4 - подшипниковые опоры; 5,6 - зубчатые колеса; 7,8 -
механизмы захвата труб; 9,10 - промежуточные шестерни; 11,12 - приводные
шестерни; 13 - вал; 14 - откидные болты; 15 - основание; 16 - позиционер; 17 -
быстроходный редуктор; 18 - ведомая шестерня; 19 - гидропривод; 20 - болты; 21
- фиксатор; 22 - цилиндрический стакан; 23 - дно стакана; 24 - нижнее
основание; 25 - гидроцилиндр; 26 - шток; 27 - механический фиксатор; 28 -
педаль; 29 - реечный механизм; 32 - стопор.
5.
Техническое решение
Изобретение относится к буровой технике и может быть использовано на
буровых установках для механизации спускоподъемных операций при сборке или
разборке бурильных и обсадных колонн.
Цель изобретения - увеличение функциональных возможностей работы ключа,
сокращение времени замены захватных элементов верхних и нижних рабочих органов
ключа и элементов тормозной системы с одновременным обеспечением надежности
узлов при увеличении нагрузок на замковые соединения труб.
Ключ разделен на отдельные самостоятельные технологические узлы, содержит
верхний и нижний корпуса, имеющие разъемы в передних частях и со встроенными в
них зубчатыми роторными колесами, в которых размещены трубозажимные устройства;
блоки зубчатых и промежуточных шестерен, общий привод для вращения и стопорения
труб, содержащий дифференциальный и быстроходный редукторы с гидромоторами.
Наиболее распространенными ключами для свинчивания или развинчивания
бурильных труб является автоматический буровой ключ типа АКБ с открытым зевом,
оснащенный пневматическими приводами вращения верхней трубы и стопорения нижней
трубы.
К недостаткам этих ключей следует отнести:
ограниченную возможность применения труб по диаметрам;
ограниченную возможность по величине передачи трубам крутящего момента
при свинчивании или развинчивании;
обязательное наличие жестких направляющих потребных для гашения
реактивных моментов при работе с раздельными приводами вращения и стопорения
труб;
сложность конструкции, выраженная наличием приводов с многоступенчатой
системой механической настройки крутящих моментов и частот вращения;
повышенные контактные и изгибающие напряжения на зубчатые элементы при
передаче им высоких крутящих моментов, что приводит к увеличению габаритов,
массы и уменьшению надежности работы ключа;
повышенная трудоемкость по обслуживанию ключа при замене захватных
органов при переходе от одного диаметра труб на другой;
ограниченная возможность применения ключей на буровых установках,
оснащенных автоматической системой подачи труб (АСП);
ограниченная возможность использования ключей при сборке компоновок и
свечей.
Указанные проблемы стимулировали поиск новых технических решений.
Предложенное изобретение направлено: на исключение передачи реактивных
моментов на внешние конструкции буровой установки; на увеличение функциональных
возможностей работы ключа; на сокращение времени замены захватных элементов
верхних и нижних рабочих органов ключа и элементов тормозной системы с одновременным
обеспечением надежности узлов при увеличении нагрузок на замковые соединения
труб.
Эта задача решается путем разделения на отдельные самостоятельные
технологические узлы и включает:
верхний корпус со встроенным в нем устройством докрепления-раскрепления
резьб, трубозажимным устройством, тормозным устройством и комплектом
промежуточных зубчатых колес;
нижний корпус со встроенным в нем устройством докрепления-раскрепления
резьб, трубозажимным устройством и комплектом промежуточных зубчатых колес;
привод вращения труб выполнен в виде общего для вращения и стопорения
труб приводного блока, содержащего дифференциальный и быстроходный редукторы с
гидромоторами;
позиционер, который выполнен с механизмами горизонтального и
вертикального перемещения ключа;
механизм подачи смазки на резьбовую часть ниппеля навинчиваемой трубы.
При этом верхний корпус выполнен с возможностью его поворота относительно
оси трубозажимного устройства и его подъема или опускания относительно нижнего
корпуса, механизм вертикального перемещения позиционера ключа выполнен в виде
двух самостоятельных узлов, включающий стол и нижнее основание, связанное со
столом подвижной колонной со встроенным гидроцилиндром подъема стола, а нижний
корпус, в свою очередь, снабжен выдвижными упорами для фиксации верхнего
корпуса, двумя кронштейнами и четырьмя стяжками, скрепленными с двумя реечными
скалками механизма горизонтального перемещения ключа позиционера, которые
связаны через шестеренные блоки с гидроцилиндрами горизонтального перемещения,
встроенными в корпус стола.
В свою очередь, тормозное устройство верхнего корпуса содержит шкив,
четыре тормозные колодки и скобообразную обойму с размещенными в ней
гидроцилиндрами прижима колодок к шкиву; при этом обойма в центральной части
имеет зубчатый сектор, находящийся во взаимодействии через рейки и зубчатую
шестерню с гидроцилиндрами докрепления-раскрепления резьб, от взаимодействия
которых обратные реакции от привода вращения взаимно уничтожаются, а обойма, и
через нее тормозной шкив, и трубозажимное устройство получают дополнительный
крутящий момент, при этом ключ снабжен дополнительным механизмом
докрепления-раскрепления резьб в нижнем корпусе, состоящим из двух
гидроцилиндров, связанных штоками с роторным колесом, а корпусами через шарниры
с нижним корпусом ключа, а реактивные моменты от приводного блока и действия
гидроцилиндров направлены друг к другу с противоположными знаками.
Дополнительно на тормозное устройство верхнего корпуса установлен механизм
подачи технологической смазки на резьбовую часть ниппеля навинчиваемой трубы,
который содержит основание с радиально размещенными пазами, в которые встроены
корпуса блоков с форсунками, имеющие возможность радиального перемещения, при
этом каждый корпус выполнен с цилиндрической расточкой, в которую встроен
шприцевый механизм, состоящий из золотника с поршнем и пружины.
Технический результат при осуществлении изобретения выражается в
использовании в конструкции ключа блочной системы отдельных узлов, оснащенных
соответствующими механизмами, при взаимодействии которых выполняются операции:
по свинчиванию-развичиванию замковых соединенных труб с высокими
моментами кручения и стопорения труб с гашением реактивных моментов внутри
собственного корпуса ключа и существенного уменьшения нагрузок на зубчатые
элементы вращателя и стопорного ключа, обеспечивая надежность срабатывания
замковых элементов трубозажимных устройств;
быстрой замены трубозажимных устройств или их элементов при износе или
переходе на другой типоразмер по диаметру скваженных труб за счет использования
быстросъемного верхнего корпуса и блочных узлов трубозажимных элементов;
быстрой замены элементов тормоза при их износе за счет применения
сборочных узлов, не связанных с общей разборкой ключа.
Другими факторами, обеспечивающими технический результат, являются:
увеличение функциональных возможностей в части расширения диапазона
диаметров применяемых труб, повышения крутящих моментов, возможности
осуществления установки ключа в подвесном варианте, работы ключа как с ручной
расстановкой труб, так и с установкой оснащенной АСП;
применение отдельного механизма подачи смазки на резьбовую часть ниппеля
навинчиваемой трубы;
простота конструкции, ее обслуживание, сборка, наладка и разборка
отдельных узлов за счет использования блочных элементов;
высокая взаимозаменяемость рабочих органов верхнего и нижнего
трубозажимных устройств;
высокая технологичность и сравнительно низкая себестоимость изготовления.
Это позволяет сделать вывод о применении нетрадиционных решений при
разработке ключа, о его новизне, высоком уровне конструкции, а возможность
изготовления ключа в условиях машиностроительного предприятия не вызывает
сомнения.
Сведения, подтверждающие возможность осуществления изобретения,
поясняются чертежами, где:
на Рис.5.1 - общий вид ключа в продольном разрезе;
на Рис.5.2 - вид нижнего корпуса по разрезу А-А;
на Рис.5.3 - вид верхнего корпуса по разрезу Б-Б
Рисунок 5.1 - общий вид ключа в продольном разрезе: 7 - стакан; 10 -
нижний опорный лист; 11 - верхний опорный лист; 13 - опоры; 16 - трубозажимное
устройство; 21 - дюбель; 36 - опорные ролики; 37 - роторное колесо; 38 - шкив;
39 - тормозное устройство; 54 - зубчатая шестерня; 55 - цементирующий клапан;
56 - дифференциальный редуктор; 57 - быстроходный редуктор; 58 - гидромотор; 59
- корпус стола; 62 - гидроцилиндр; 65 - шестеренные блоки; 75 - муфта трубы; 76
- верхняя труба.
Рисунок 5.2 - вид нижнего корпуса по разрезу А-А: 9 - рама; 10 - нижний
опорный лист; 12 - боковой лист; 14 - роторное колесо; 15 - копирная
поверхность; 17 - обойма; 19 - роликовая опора; 20 - челюсть с плашкой; 21-
дюбель; 22 - промежуточный блок; 23 - приводная шестерня; 25 - гидроцилиндр; 26
- скоба; 27 - раскрепление резьбы; 28 - площадка; 31 - кронштейн.
Рисунок 5.3 - вид верхнего корпуса по разрезу Б-Б: 6 - боковая откидная направляющая; 8
- выдвижной упор; 15 - копирная поверхность; 16 - трубозажимное устройство; 20
- челюсть с плашкой; 21 - дюбель; 24 - стакан; 26 - скоба; 32 - сварная рама;
33 - нижний опорный лист; 34 - верхний опорный лист; 35 - боковой лист; 37 -
роторное колесо; 40 - промежуточный блок; 41 - промежуточный блок; 42 -
приводная шестерня; 43 - скобообразная обойма; 44 - гидроцилиндр; 45 -
тормозная колодка; 46,47 - выступы; 49 - механизм докрепления-раскрепления
резьб; 50,51 - гидроцилиндры; 52,53 - рейки.
6. Расчет
оборудования
Расчет гидроцилиндров.
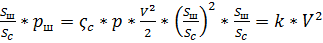
Усилие на штоке поршня цилиндра одностороннего
действия определяется по формуле:

, (29)
где
р - давление жидкости на поршень;
S - площадь
поршня;
ηмех - механический КПД силового цилиндра (ηмех ≈ 0,95).
Скорость
перемещения поршня:

, (30)
где
Q - подача насоса;
ηо - объемный КПД силового цилиндра (ηо ≈ 0,98).
Движущее
усилие в гидроцилиндре двухстороннего действия:

, (31)
где
D - диаметр поршня;
d - диаметр
штока.
Скорость
движения поршня в гидроцилиндре двухстороннего действия:

. (32)
При подаче жидкости в силовой гидроцилиндр скорость поршня,
соответствующая подаваемого расходу, устанавливается не мгновенно, а в течение
короткого, но конечного, промежутка времени из-за инерционности подвижных
частей. В этот промежуток времени скорость поршня зависит от времени, т.е.
процесс разгона является динамическим.
Пренебрегая, для простоты, силой трения, запишем дифференциальное
уравнение движения поршня:

, (33)
где
F - полезная нагрузка, приложенная к штоку поршня;
Sп - площадь
поршня;
Sш - площадь
поршня в штоковой полости;
рп и рш - давления в поршневой и штоковой
полостях соответственно;
V - скорость
поршня;
m - масса
подвижных частей.
Разделив
обе части уравнения на площадь поршня, получим:

. (34)
Давление
в штоковой полости определяется сопротивлением сливной магистрали:

, (35)
где
ςс -
суммарный коэффициент сопротивления сливной магистрали;
Vc - скорость жидкости в
сливной магистрали.
Используя
уравнение неразрывности

, (36)
преобразуем
последнее уравнение к виду:

. (37)
На
основании этого второе слагаемое в преобразованном уравнении движения можно
представить в следующей форме:

, (38)
где
k - величина, объединяющая все сомножители при V2.
Считая
усилие, приложенное к штоку F, и давление в поршневой полости pп постоянными, введем
следующее обозначение:

. (39)
Тогда
уравнение движения примет вид:

, (40)
или,
после деления обоих его частей на k и переобозначения
на а2, получим следующую его
формулу:

. (41)
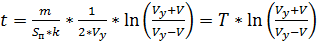
Решение
этого уравнения находят путем разделения переменных и интегрирования:

. (42)
Постоянную
интегрирования с находят из начальных условий: при t=0, V=0, следовательно, с=0.
При
установившемся движении поршня его скорость равна

,
а
ускорение отсутствует, т.е. 
.
Подставляя эти значения в дифференциальное уравнение движения, получим:

или 
(43)
С
учетом вышеизложенного, уравнение, связывающее скорость поршня и время его
разгона, приобретает следующий вид:

, (44)
где
T- постоянная времени.
Поворотными
гидродвигателями являются гидроцилиндры поворотного действия (квадранты). Он
имеет секторное пространство, разделенное подвижной лопастью на две полости.
При впуске жидкости, находящейся под давлением, в правую или левую полости
лопасть поворачивается. Угол поворота не превышает 120°.
Угловую
скорость лопасти определяют по формуле:

, (45)
где
Q - объемный расход жидкости;
l - плечо
приложения равнодействующей силы давления;
s - удельная
подача на 1 радиан угла поворота.
Крутящий
момент на валу рассчитывают по выражению:

, (46)
где
Δр - разность
давлений в полостях поворотного гидродвигателя.
В
квадрантах допускается давление до 10 МПа.
Заключение
Целью курсового проекта было закрепление теоретических знаний о буровом
оборудовании.
В данном проекте рассмотрены основные сведения об автоматизированных
буровых ключах. Даны классификация и описание технических характеристик данного
устройства.
Произведены расчеты обсадных колонн. Была выбрана соответствующая буровая
установка. Сделан патентно-информационный обзор. Предложено техническое решение
с расчетом оборудования.
Список использованных источников
. Аваков В.А. Расчёт бурового оборудования. - М. : Недра,
1973
. Баграмов Р.А. Буровые машины и комплексы. М. : Недра, 1988.
. Кирсанов А.Н., Зиненко В.П., Кардаш В.Г. Буровые машины и
механизмы. Учебное пособие для вузов. М. : Недра. 1981
.Буровые комплексы. Современные технологии и оборудование.
/под. ред. Гусмана А.М., Порожского К.П. Екатеринбург: УГГГА, 2002. 592 с.
.Ильский А.Л., Шмидт А.П. Буровые машины и механизмы. -М. :
Недра,1989.
. Абубакиров В.Ф., Буримов Ю.Г., Гноевых Л.Н., Межлумов А.О.,
Близнюков В.Ю. Буровое оборудование: справочник в 2-х т.
. Северинчик Н.А. Машины и оборудование для бурения скважин.
М.: Недра, 1986. - 368с.