Ручная дуговая сварка покрытыми электродами

  • Вид работы:
    Контрольная работа
  • Предмет:
    Другое
  • Язык:
    Русский
    ,
    Формат файла:
    MS Word
    436 Кб
  • Опубликовано:
    2015-05-22
Вы можете узнать стоимость помощи в написании студенческой работы.
Помощь в написании работы, которую точно примут!

Ручная дуговая сварка покрытыми электродами

МИНОБРНАУКИ РОССИИ

Федеральное государственное бюджетное образовательное учреждение высшего профессионального образования

«Казанский национальный исследовательский технологический университет»

Кафедра компрессорных машин и установок (КМУ)







Контрольная работа

по дисциплине: «Технологичность конструкции компрессорных машин»

тема: «Ручная дуговая сварка покрытыми электродами»









Казань 2015г.

1. Краткое содержание сварочных операций

1)      Уложить на стол лист№1 металла h=6мм (для изготовления детали №1и №2).

2)      Произвести разметку листа по 600х200 для двух деталей №1,

и 600х260 для детали №2.

3)      Резка размеченного листа (применяется газорезка с последующей обработкой кромок электроинструментом).

4)      Подготовить кромку одной из деталей №1 согласно виду Б разделки кромки на чертеже, с применением электроинструмента.

)        Уложить на стол лист№2 металла h=10мм (для изготовления детали №3).

)        Произвести разметку листа по 600х560.

)        Резка размеченного листа (применяется газорезка с последующей обработкой кромок электроинструментом).

)        Подготовить две кромки детали №2 согласно видам А и Б разделки кромки на чертеже, с применением электроинструмента.

)        Уложить на стол лист№3 металла h=5мм (для изготовления деталей №5 и №4).

)        Произвести разметку листа: деталь №5 равнобедренный прямоугольный треугольник с катетами 300мм в количестве двух штук, и деталь №4 в количестве двух штук согласно развертки показанной на чертеже.

)        Резка размеченного листа (применяется газорезка с последующей обработкой кромок электроинструментом).

)        Подготовить три кромки детали №4 согласно вида В разделки кромки на чертеже, с применением электроинструмента.

)        Прихватить листы №2, №5, №4 и №3 между собой как показано на эскизе по углам и краям не менее чем на 50 мм

)        Уложить на конструкцию сверху листы детали №1 и прихватить как показано на эскизе по краям не менее чем на 50 мм

)        Снять детали №1 и выполнить шов № 1(с последующей обработкой шва электроинструментом).

)        Прихватить детали №1 и №2 между собой как показано на эскизе по краям не менее чем на 50 мм

)        Выполнить швы № 2, №3, №4.

2. Основы нормирования затрат рабочего времени

Все затраты времени смены разделяются на нормируемые и ненормируемые.

Нормируемые затраты. К этим затратам рабочего времени относятся: основное, вспомогательное, подготовительно - заключительное, оперативное и дополнительное время.

Технически обоснованная норма времени может быть выражена формулой

 (1)

Где Тн - норма времени; То - основное время; Тв - вспомогательное время; Ттех - время технического обслуживания рабочего места; Торг, - время организационного обслуживания рабочего места; Тотд - время на отдых и личные надобности; Тпз - время на подготовительно-заключительные работы;nшт - количество одноименных деталей в партии.

Подготовительно-заключительное Тпз время предусматривает выполнение следующих мероприятий:

а) получение задания (наряда) и технической документации;

б) ознакомление с работой, чертежом и получение необходимого инструктажа;

в) получение необходимых инструментов и приспособлений;

г) подготовка рабочего места, наладка и переналадка оборудования;

д) сдача инструментов, технической документации и др.;

е) сдача работы (готовой продукции).

Основное время То - время, в течение которого происходит изменение формы, размеров, внешнего вида деталей в результате какого-либо вида обработки. При электросварке основным временем будет время плавления электрода, то есть время горения дуги.

Вспомогательное времяТв - время, затрачиваемое на вспомогательные действия, которые обеспечивают выполнение основной работы: время, затрачиваемое на установку, укрепление, снятие электродов, очистку деталей от шлака, обмеры материала и детали и т.п.

Оперативное время Топ - время, в течение которого рабочий выполняет непосредственно производственную работу. Оно слагается из основного и вспомогательного времени:

 (2)

Дополнительное время Тдоп - время технического и организационного обслуживания рабочего места и время на отдых и личные надобности исполнителей:

 (3)

Дополнительное время пропорционально оперативному и оно дается в процентном отношении к оперативному:

 (4)

При ручной электродуговой сварке значение К принимается по [1, табл. 6.1.]

Штучное время Тшт. Сумма оперативного и дополнительного времени составляет штучное время, то есть

 (5)

После преобразований технически обоснованную норму времени на одну деталь можно рассчитать по формуле

 (6)

Подготовительно-заключительное время Тпз затрачивается один раз на изготовление всей партии одинаковых деталей и не зависит от количества деталей в партии, при ручной дуговой сварке дано в [1, табл. 6.2].

Основное время То при электродуговой сварке затрачивается на образование сварного шва посредством расплавления основного и присадочного металлов. Основное время практически равно времени горения дуги.

Для определения основного времени в первую очередь нужно определить необходимое для получения сварного соединения количество наплавленного металла, которое зависит от длины шва и площади его поперечного сечения. Площадь сечения шва, в свою очередь, зависит от толщины свариваемого металла вида соединения и подготовки кромок.

Количество наплавленного металлаQнможет быть определено по формуле

 (7)

гдеF - площадь поперечного сечения наплавленного металла шва, см2;

l - длина шва, см; γ - плотность наплавленного металла, г/см3.

Для определения основного времени используется зависимость между количеством наплавленного металлаQн, величиной сварочного тока, коэффициентом наплавки и временем горения дуги:

 (8)

где ан - коэффициент наплавки ,г /(А-ч);J - сварочный ток, А; Т0 - время горения дуги (основное время), ч.

Тогда основное время определяется по формуле

 (9)

где Кпр - коэффициент к основному времени в зависимости от положения шва в пространстве (1,25 - 1,35).

3. Расчет площадей поперечного сечения и длины швов

Рассчитаем площади поперечного сечения Fи длиныl накладываемых швов по формулам в соответствии [1, 6.4.].

Шов №1 У6

F, мм2,


Рисунок 1 - Поперечное сечение шва №1

F6+14,897+11,25=32,15мм2.

Длина lшва из чертежа приведенного в приложении составляет l=600мм.

Шов №2 У4

F, мм2,

где s=5мм;b=2мм;е=12мм;q=15мм;m=1,25мм принимаются в соответствии с рисунком 2.

Рисунок 2 - Поперечное сечение шва №2

F.

Длина lшвов из чертежа приведенного в приложении составляет l=(300+300)·2=1200мм.

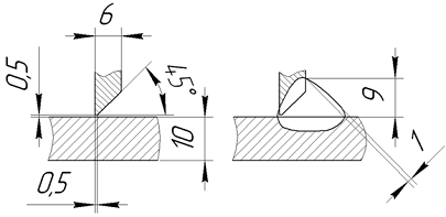
Шов №3 Т6

F, мм2,

где s=5мм; b=0,5мм; α=45⁰;е=9мм;q=1ммпринимаются в соответствии с рисунком 3.

Рисунок 3 - Поперечное сечение шва №3

F2,5+10,125+6,75=19,38мм2.

Длина lшва из чертежа приведенного в приложении составляет l=(277+260+200)·2=1474мм.

Шов №4 Т6

F, мм2,

где s=6мм; b=0,5мм; α=45⁰;е=9мм;q=1ммпринимаются в соответствии с рисунком 4.

Рисунок 4 - Поперечное сечение шва №4

F3+15,125+6,75=24,88мм2.

Длина lшва из чертежа приведенного в приложении составляет l=600+600=1200мм.

4. Определение режимов сварки

.1 Определение диаметров электродов

С точки зрения уменьшения остаточных деформаций сварка за один проход предпочтительнее, так как ширина швов не достигает 14мм [2, глава 5].

Для шва №1:s=6мм, е=10мм, поэтому диаметр электрода dэ должен быть равен[1, 6.4]dэ = 4мм.

Для шва №2: s=5мм, е=12мм, следовательноdэ = 4мм.

Для шва №3: s=5мм, е=9мм, dэ = 4мм.

Для шва №4: s=6мм, е=9мм, dэ = 4мм.

4.2 Обоснование выбора типа и марки электродов

Марка стали заготовок ВСт3сп. Сталь низкоуглеродистая обыкновенного качества. Временное сопротивление разрыву σв=38-49кгс/мм2

Данная конструкция не является динамически нагружаемой и претерпевает только статические и умеренные температурные нагрузки (не является ответственной), так же претерпевает воздействия окружающей среды. Выбор электродов следует вести таким образом, что бы получаемые механические свойства наложенных швов были на ниже механических свойств основного металла. Электроды марки МР3 предназначены для сварки низкоуглеродистых и низколегированных сталей. Данная сталь является низкоуглеродистой. Электроды типа Э46А гарантируют получение сварного шва с величиной временного сопротивления разрыву σв=46 кгс/мм2.

Выбирая марку электрода МР3 типа Э46А диаметром dэ = 4мм мы не нарушим механических свойств металла.

4.3 Определение расхода электродов

Общая масса электродов, использованных для сварной конструкции, находиться по формуле[1, 6.4]


где Gэл - масса израсходованных электродов; Qн - масса наплавленного металла, г, Qн=F·l·γ; Кn - обобщенный коэффициент потерь, (0,3 - 0,5).

Количество электродов Nшт определяется по формуле[1, 6.4]

шт,

где q - масса стержня электрода, г.

,г,

где dэ - диаметр электрода, см; lэ - длина электрода, см; γ - плотность металла электрода (γ=7,8 г/см3).

Массу стержня электрода определяем по [1, 6.4], что составляет при длине стержня 400мм, q = 39,4г.

Масса наплавленного металла, г:

 

Qн=F·l·γ·10-3

Таким образом, для шва №1:

Qн=32,15·600·7,8·10-3=150,46г.

Gэл=150,46·(1+0,4)=210,65г.

Nшт=210,65/39,4=5,35

Для шва №2:

Qн=26,63·1200·7,8·10-3=249,26г.

Gэл=249,26·(1+0,4)=348,96г.

Nшт=348,96/39,4=8,86

Для шва №3:

 

Qн=19,38·1474·7,8·10-3=222,82г.

Gэл=222,82·(1+0,4)=311,94г.

Nшт=311,94/39,4=7,92

Для шва №4:

Qн=24,88·1200·7,8·10-3=232,88г.

Gэл=232,88·(1+0,4)=326,03г.

Nшт=326,03/39,4=8,28

Общее количество электродов:

ΣNшт=5,35+8,86+7,92+8,28=30,41=31.

4.4 Определение силы сварочного тока, длины дуги, напряжения и мощности дуги в процессе сварки

Для подбора силы сварочного тока Jиспользуют зависимость [1, 6.4]:

J=(15+5·4)·4=140А.

Длина дуги Dд определяется в зависимости от диаметра электрода:

Dд=(dэ+2)/2, мм.

Dд=(4+2)/2=3 мм.

Напряжение дуги Uд определяется в зависимости от длины дуги по формуле:

Uд=12+3·Dд, В.

Uд=12+3·3=21 В.

Мощность дуги равна Pд=Uд·J/1000, кВт.

 

Pд=21·140/1000=2,94 кВт.

5. Выбор источника питания дуги

Напряжение холостого хода должно быть в 2-3 раза выше напряжения горения дуги. Величина короткого замыкания должна быть ограничена Jкз = (1,1 - 1,5)·J. Для каждого источника питания дуги устанавливается режим работы который характеризуется отношением длительности сварки к общему времени цикла, такой прерывистый режим работы источника питания определяется выражениями[1, 7.2]: продолжительность нагрузки - ПН%, или продолжительность включения - ПВ%:

 

ПН= (tсв/ (tсв+ tхк)) 100%;

ПВ= (tсв/ (tсв+ tп)) 100%;

где tсв - время сварки, tхк - время холостого хода, tп - время паузы.

ПН=ПВ, для их расчета берется время цикла сварки:

ц= tсв + tхк = tсв + tп = 5 мин.

За номинальный режим работы однопостовых сварочных агрегатов принят режим ПН=25%,35%,60%. ПН источников питания для ручной дуговой сварки обычно составляет 60%.

Согласно рекомендациям[2], для своего примера выбираем трансформатор серии ТДМ-317-1 с механическим регулированием, снабженным устройством снижения напряжения холостого хода, что обеспечивает электробезопасность при обрывах дуги. Трансформатор на ток 315А, регистрационный номер - 7, модификация - 1 (с ограничителем напряжения холостого хода), исполнение У, категория размещения - 2.

6. Расчет технически обоснованной нормы времени

6.1 Определение основного времени


где коэффициент наплавки для электрода Э46А марки МР-3 αн=8,5.

Шов №1 У6:


Шов №2 У4:


Шов №3 Т6:


Шов №4 Т6:

ΣТо=0,16+0,27+0,24+0,25=0,92ч≈1ч.

6.2 Определение вспомогательного времени

Для расчетов необходимо вычислить массу М деталей:

 

Мn=Fдет·s·γ·10-6,кг,

где Fдет- площадь детали, мм2.

 

М1=(200·600)·6·7,8·10-6=5,6кг.

М2=(260·600)·6·7,8·10-6=7,3кг.

М3=(560·600)·10·7,8·10-6=26,2кг.

М4=((277·300)-(40·(277-84)/2))·5·7,8·10-6=3,1кг.

М5=(300·300/2)·5·7,8·10-6=1,8кг.

Расчет времени в минутах:

–       Принести и уложить лист № 3 - 0,6.

–       Принести и уложить лист № 2 - 0,3.

–       Повернуть на 90о лист № 2 - 0,16.

–       Зачистка кромок листа №2 под сварку- 0,3.

–       Зачистка шва № 4 от шлака - 0,6+1,2 (1,2-1)=0,84.

–       Зачистка шва № 4 от брызг - 1,3.

–       Осмотр и промер шва № 4 - 0,3.

–       Принести и уложить листы № 5 - 0,3.

–       Повернуть на 90о листы № 5 - 0,16.

–       Принести и уложить листы № 4 - 0,3.

–       Повернуть на 90о листы № 4 - 0,16.

–       Зачистка кромок листов №4 под сварку- 0,45.

–       Зачистка швов № 2 от шлака - 0,6+1,2 (1,2-1)=0,84.

–       Зачистка швов № 2 от брызг - 1.

–       Зачистка швов № 3 от шлака - 0,6+1,2 (1,47-1)=1,16.

–       Зачистка швов № 3 от брызг - 1.

–       Осмотр и промер швов № 2 -0,3.

–       Принести и уложить листы № 1 - 0,3.

–       Снять и отнести листы №1 - 0,2.

–       Повернуть на 90о листы № 1 - 0,16.

–       Зачистка кромок листов №1 под сварку- 0,3.

–       Зачистка швов № 1 от шлака - 0,6+1,2 (0,6-1)=0,12.

–       Зачистка швов № 1 от брызг - 1,3.

–       Общее кол-во времени для замены электродов

Nобщ=31·0,11=3,41.


6.3 Определение оперативного времени

По формуле 2 определим Топ:

 

Топов=1+0,27=1,27ч.

опора сварочный изготовление сечение

6.4 Определение дополнительного времени

По формуле 4 дополнительное время равно:


где значениеК=10% принимается по [1, 6.2].

6.5 Определение подготовительно-заключительного и штучного времени

Подготовительно-заключительное времяТпз=9мин=0,15ч, есть подготовительно-заключительное время, которое затрачивается один раз на изготовление всей партии одинаковых деталей и не зависит от количества деталей в партии [1, 6.2].

Штучное время Тшт по формуле 5 равно:

 

Тштопдоп=1,27+0,13=1,4ч.

Технически обоснованная норма времени Тн по формуле 6 равна:

 

Тнштпз/nшт=1,4+0,15/1=1,55ч.

7. Определение расхода электроэнергии на изготовление опоры желоба

Расход электроэнергии Gэ определяется по формуле [1, 8]:


где η - коэффициент полезного действия источника питания (для сварочных трансформаторов 0,75-0,90); Nх-мощность холостого хода источника питания дуги (для трансформатора 0,3-0,4 кВт); Т=tсв+tп-полное время работы источника питания дуги, ч.


Список использованных источников

1. Ручная дуговая сварка покрытыми электродами: методические указания к заданиям для самостоятельной работы/ сост. Ф.Ф. Субханкулов, Г.А. Сидорин, М.А. Мизернюк; Федер. агентство по образованию, Казан. гос. технол. ун-т. - Казань: КГТУ, 2010. - 44с.

. Маслов В.И. Сварочные работы/ В.И. Маслов. - М.: Изд. центр «Академия», 2000.-240с.

. ГОСТ 5264-80. Швы сварных соединений. Ручная дуговая сварка.

Похожие работы на - Ручная дуговая сварка покрытыми электродами

 

Не нашли материал для своей работы?
Поможем написать уникальную работу
Без плагиата!
Без нейросетей!