Резьба и ее характеристики

  • Вид работы:
    Контрольная работа
  • Предмет:
    Другое
  • Язык:
    Русский
    ,
    Формат файла:
    MS Word
    139,27 Кб
  • Опубликовано:
    2014-08-16
Вы можете узнать стоимость помощи в написании студенческой работы.
Помощь в написании работы, которую точно примут!

Резьба и ее характеристики

Содержание

Введение

1.      Винтовые линии и поверхности

2.      Резьба и ее характеристики

.        Типы резьбы и их условное обозначение

.        Условности изображения и обозначения резьбы

Список литературы

Введение

Чертёж - графическое изображение материального, либо нематериального, виртуального, объекта, изготавливаемое с применением в процессе его изготовления различного вида машин, механизмов, и материалов, иногда имеющее при этом определенные, общепринятые, данные (размеры, масштаб, технические требования) необходимые в некоторых случаях для изготовления, и контролирования процесса изготовления, объекта изображенного на чертеже.

Чертёж - один из видов конструкторских документов. Правила графического отображения вырабатывались веками и установившаяся сейчас система практически едина для всех стран и в наибольшей степени соответствует особенностям человеческого мозга в восприятии объектов окружающего мира. Современным высокотехнологическим машинам для работы чертежи не нужны - они работают с математическими моделями объектов. Легко прослеживается связь - образец эталон - математическая модель - воспроизведение ее в металле. Где здесь человек? Он должен настроить машину и проконтролировать величину отклонений геометрии продукции от эталонной модели. В традиционном для 20-го века производственном процессе, при котором функции системы управления выполняет человек, для обеспечения удобства в восприятии им, изготавливаемого объекта, вместо математической модели используют графическую модель на бумажном носителе. Для сокращения объемов информации, модель разбивают на элементарные геометрические фигуры, фактически выполняя этим графическое кодирование - знак диаметра и две цифры несут информацию об объекте в математике известном как "геометрическое место точек равно удаленных...". Работать геометрическими формами сложно - если поверхность не сводится к элементарным геометрическим формам - ее выводят по точкам. А точечные поверхности воспроизводят путем интерполяции их различного рода устройствами имеющими программное управление (в том числе и механическими копирами). Здесь имеет место следующая связь - образец эталон - графическая модель - воспроизведение ее в металле. Удобства очевидны: графическая модель - чертеж, легко тиражируется, она дешева - можно напечатать большое количество экземпляров. Именно удобство в работе позволяет чертежам, как сейчас, так и в обозримом будущем, оставаться полноправными участниками производственного процесса: машины работают с 3D моделями, а человек с чертежами. Пока трудно представить, что у рабочего в тумбочке рядом с фрезами лежит планшет или ноутбук и вряд-ли такое произойдет в ближайшее время, т.к. размеры чертежа порой достигают нескольких метров и рассматривать такое чудо на экране 10" просто неудобно, а голографические чертежи которые могли бы и подойти для этих целей, пока еще не разработаны конструкторами, и на их разработку, и внедрение, нужно время, но даже и при их внедрении в производство, чертежи все равно остаются быть незаменимыми, так как они представляют собой копиию электронной закодированной информации, и при поломке электроники, и полной утрате электронных файлов с помещенной на них информацией, по чертежам можно гораздо быстрее, наглядным образом, ознакомиться с этой информацией вновь, а так же и предотвратить в определенных случаях возможность ее утраты. Таким образом чертежи выполненяются по правилам - представляющим собой, правила кодирования информации об объекте, с целью сокращения ее объема

В инженерной практике широко применяются резьбовые соединения. Это обусловлено простотой сборки и разборки при технических осмотрах, ремонте, возможностью быстрой замены изношенной или сломанной детали, удобством регулировки и т.д.

Различают непосредственно резьбовые соединения и крепежные резьбовые соединения. Резьбовые соединения получаются навинчиванием одной детали на другую. В этом случае на одной детали нарезается наружная, а в другой внутренняя резьба.

1. Винтовые линии и поверхности

В основе образования резьбовой поверхности лежит образование винтовой линии на поверхности прямого кругового цилиндра или конуса. Винтовая линия может быть получена равномерным движением точки вдоль прямой (образующей цилиндра), равномерно вращающейся (без скольжения) вокруг данной прямой, ей параллельной (оси цилиндра).

Участок винтовой линии, пройденный точкой за один оборот вокруг оси, называется витком, а расстояние между начальной и конечной точками витка - ходом винтовой линии. Аналогичным образом винтовая линия может быть получена и конической поверхности.

Если в место точки перемещать какую либо плоскую фигуру (треугольник, прямоугольник, трапецию и т.д.), так что ее плоскость проходила через ось цилиндра, то образуется винтовая поверхность. Фигура, образующая винтовой выступ, называется профилем резьбы.

Если образование винтовых поверхностей получается в результате одновременного винтового перемещения двух, трех или многих одинаковых профилей, равномерно расположенных по окружности цилиндра, то соответственно будут получены двух-, трех- и многозаходные винтовые поверхности.

Винтовая поверхность может быть образована как на поверхности (на стержне), так и внутри (в отверстии).

. Резьба и ее характеристики

Резьбой называется винтовой выступ различного профиля, образованный на поверхностях вращения.

Резьбы можно разделить на цилиндрические, выполняемые на цилиндрических поверхностях, и конические, выполняемые на конических поверхностях.

В зависимости от условий работы резьбового соединения, резьбы могут выполняться правыми и левыми, в зависимости от того как образуется винтовая поверхность - по часовой стрелки (правая) или против часовой стрелки (левая).

Различают резьбы однозаходные и многозаходные.

В технике широко применятся резьбы, стандартизованные Государственными стандартами. Стандартизованы все виды резьб, кроме прямоугольных.

Различают резьбы общего назначения и специальные, предназначенные для применения на изделиях определенных видов. Резьбы общего назначения подразделяют на крепежные и ходовые.

Особенно широко в технике распространены стандартные резьбы, параметры которых установлены соответствующими стандартами.

Основные параметры резьб:

номинальный диаметр резьбы d;

профиль;

шаг P;

ход резьбы Ph.

Номинальный диаметр резьбы - это диаметр воображаемого цилиндра, касательного к вершинам наружной или впадинам внутренней резьбы.

Шаг резьбы - это расстояние между соседними одноименными точками профиля резьбы, измеренное в направлении, параллельном ее оси.

Ход резьбы - расстояние между ближайшими одноименными точками боковой стороны профиля, принадлежащими одной и той же винтовой поверхности. В однозаходной резьбе ход равен шагу (Ph = P). В многозаходной резьбе ход равен произведению шага на число заходов z.( Ph = Pz).

У стандартных резьб параметры и размеры имеют определенные, взаимосвязанные величины, устанавливаемые соответствующими стандартами.

. Типы резьб и их условное обозначение

Для определения вида резьбы (метрическая, трапецеидальная, упорная) применяют условные обозначения, которые указывают для всех резьб, кроме конических и трубной цилиндрической, по наружному диаметру, как показано на рисунке 1.

Условные обозначения конической и трубной цилиндрической резьбы указывают линии - выноски G2 и К3/4 ".

Условное обозначение стандартной резьбы содержит:

Условное обозначение профиля резьбы (М - метрическая, Тг - трапецеидальная, S - упорная, G - трубная, Кр - круглая);

Номинальный размер наружного диаметра в мм или дюймах. В обозначении конической резьбы указывается наружный диаметр в дюймах со знаком «"», в сечении основной плоскости;

Рисунок 1

Шаг в мм (для мелкой метрической, трапецеидальной и упорной);

Поля для допуска резьбы;

Шероховатость поверхности витков;

Направление винта (только для левой, например M24x2LH).

Многозаходные резьбы обозначаются с указанием числа заходов и числовым значением шага, которое проставляется в скобках с буквой Р.

Например, трехзаходная метрическая резьба с шагом 1 мм и ходом 3 мм обозначается М24хЗ(Р1).

Если диаметр и шаг резьбы не соответствуют стандартным размерам, то такие резьбы называют специальными. Например, СПМ 20x3.

В обозначение резьбы вводятся ее основные параметры.

Рис. 2 Метрическая, трапецеидальная и упорная резьбы

В обозначении не указываются:

ход, равный шагу (однозаходная резьба);  - правое направление;  - крупный шаг метрической резьбы.

Рис. 3 Трубная цилиндрическая резьба

Рис. 4 Трубная коническая резьба

Рис. 5 Метрическая коническая резьба

Нанесение обозначения резьбы на чертеже

Обозначение всех резьб (кроме конических и трубной цилиндрической резьбы) относят к номинальному диаметру резьбы.

Рис. 6

Рис. 7 Обозначение трубной цилиндрической резьбы

Рис. 8 Обозначение конической резьбы

4. Условности изображения и обозначения резьбы

В отверстии резьба показывается сплошными основными линиями по внутреннему диаметру и сплошными тонкими - по наружному (рисунок 10).

Рисунок 9

На разрезах, параллельных оси отверстия, сплошную тонкую линию по наружному диаметру резьбы проводят на всю длину резьбы без сбега, а на изображениях, полученных проецированием на плоскость - перпендикулярную к оси отверстия, по наружному диаметру резьбы проводят тонкую дугу, приблизительно равную 3/4 окружности, разомкнутую в любом месте (Рис.11).

Сплошную тонкую линию при изображении резьбы наносят на расстоянии не менее 0,8 мм от основной линии и не более величины шага резьбы.

Рисунок 10

Линию, определяющую границу резьбы, на стержне и в отверстии наносят в конце полного профиля резьбы (до начала сбега) сплошной основной линией до линий наружного диаметра резьбы. Если резьба изображена как невидимая, то резьбу и её границу изображают штриховой линией одинаковой толщины.

Линии штриховки в разрезах и сечениях проводят до линии наружного диаметра резьбы на стержне и до внутреннего - в отверстии, т.е. до сплошной основной линии. На чертежах, по которым резьбу не выполняют, конец глухого резьбового отверстия можно вычерчивать, как показано на рисунке 4, даже при наличии разности между глубиной отверстия и длиной резьбы. В других случаях следует указать размеры глубины сверления и нарезания резьбы.

Рисунок 11

Резьбу с нестандартным профилем показывают в виде местного разреза на детали или в виде выносного элемента со всеми необходимыми размерами и предельными отклонениями, рисунке 5.

Рисунок 12

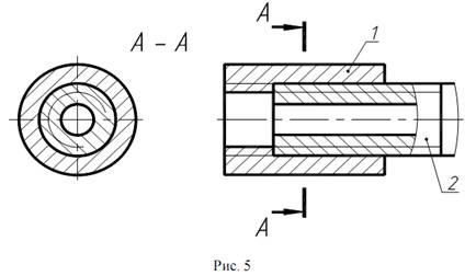
Резьбовые соединения изображаются в основном в разрезах и сечениях. При изображении принято выступы резьбы ввинчиваемой детали изображать сплошными основными линиями. На рисунке 6 ввинчиваемая деталь указана позицией 2, причем на этом рисунке показано резьбовое соединение трубы 2 и втулки 1, а на рисунке 13 показано резьбовое соединение сплошного стержня 2 и детали 1.

Рисунок 13

При изображении резьбового соединения резьба ввинчиваемой детали закрывает резьбу отверстия.

Рисунок 14

винтовой цилиндр резьба чертеж

Список литературы::

1 Боголюбов С.К, Воинов А.В. Черчение. М.: Высшая школа,1982.-303с.

2 Гордон В.О., Семенцов-Огиевский М.А. Курс начертательной геометрии. М.: Высшая школа, 1971.- 288с.

3 Брилинг Н.С., Евсеев Ю.П. Задания по черчению. М., Просвещение, 1984.-257 с.

4 Лагерь А.И. Инженерная графика. М.: Высшая школа, 2003.-365 с.

5 Крылов Н.Н., Ломбандиевский П.И., Мэн С.А. Начертательная геоетрия. М.: Высшая школа, 1986.-361 с.

6 Федоренко В.А., Шошин А.И. Справочник по машиностроительному черчению. Л., 1975.

7 Чекмарев А.А. Инженерная графика. М.: Высшая школа, 2003.- 270 с.

8 Государственные стандарты ЕСКД.

Похожие работы на - Резьба и ее характеристики

 

Не нашли материал для своей работы?
Поможем написать уникальную работу
Без плагиата!
Без нейросетей!