Расчет редуктора
Введение
Целью курсового проектирования является приобретение навыков
принятия самостоятельных конструктивных решений, усвоение последовательности
разработки механизмов общего назначения, закрепление учебного материала по
расчету типовых деталей машин.
Задачей проекта является разработка привода цепного
конвейера.
Привод состоит из электродвигателя, соединенного муфтой с
редуктором, открытой зубчатой передачи.
Электродвигатель выбирается по требуемой мощности и
ориентировочной частоте вращения. Зубчатые передачи проектируются по критерию
контактной прочности активной поверхности зубьев, проверяются по контактным,
изгибным напряжениям, а также при действии пиковых нагрузок. Ориентировочный
расчет валов проводится на чистое кручение по пониженным допускаемым напряжениям.
Подшипники выбираем по характеру нагрузки на валы и по диаметрам валов,
проверяем на долговечность по динамической грузоподъемности. Шпоночные
соединения проверяем на смятие. Валы проверяются на сопротивление усталости по
коэффициентам запаса прочности при совместном действии изгиба и кручения с
учетом масштабных факторов и концентраторов напряжений.
Способ смазки и уровень масла обусловлены компоновкой
механизма. Масло выбирается исходя из действующих контактных напряжений и
окружной скорости в зацеплениях.
В результате работы должна быть получена компактная и
эстетичная конструкция редуктора, отвечающая современным требованиям,
предъявляемым к механизмам данного назначения.
1. Выбор электродвигателя
.1 Кинематическая схема привода и индексация
кинематических звеньев
электродвигатель привод редуктор вал
1,3,5 - шестерня;
,4,6 - колесо.
Рисунок 1.1 - Кинематическая схема привода
Присваиваем индексы валам в соответствии с размещенными на
них звеньями передач:
- быстроходный (входной) вал редуктора;
-3 - промежуточный вал редуктора;
-5 - тихоходный (выходной) вал редуктора;
- вал тяговой звездочки.
В дальнейшем, параметры вращательного движения,
геометрические параметры передач и другие величины будем обозначать в
соответствии с индексами валов, к которым они относятся.
Определение требуемой мощности электродвигателя
В качестве приводного используется трехфазный асинхронный
электродвигатель переменного тока.
Потребная мощность электродвигателя вычисляется по формуле
(1.1)
Р’ЭД = Рро / hОБЩ, (1.1)
где Рро - мощность на тихоходном валу привода,
кВт;
hОБЩ = hМm×h12×h34×h56× hПn - общий КПД привода,
где h12, h34, h56, hМ; hП - КПД отдельных передач,
соединительной муфты и подшипников. КПД подшипников hП берется в степени n, равной числу пар
подшипников в приводе, n=4. КПД муфт hМ берется в степени m, равной числу муфт в
приводе, m=1.
Принимаем согласно /1/: hМ=0,98; hП=0,99; h12=0,97; h34=0,97; h56=0,94, тогда
hОБЩ = 0,98×0,97×0,97×0,94×0,994 = 0,833
Рро = Ft×V,
где Ft - тяговое усилие, кН;
V - значение окружной скорости, м/с;
Р’ЭД = 22000 ×0,5/ 0,833 = 13205 Вт.
1.2 Определение частоты вращения приводного вала
Частота вращения тихоходного вала привода может быть
определена следующим образом
nро = n6 = 60×1000×V / (z×t),
где t, z - шаг и число зубьев тяговой звездочки.
nро = 60×1000×0,5 / (7×160) = 26,78 об/мин
Определение ориентировочной частоты вращения вала
электродвигателя.
Требуемая частота вращения вала электродвигателя
ориентировочно равна
n’ЭД = nро×U’ОБЩ,
где nро - частота вращения тихоходного вала привода, мин-1;
U’ОБЩ = U’12×U’34 ×U’56 -
ориентировочное общее передаточное отношение;
U’12, U’34, U’56 -
ориентировочные передаточные числа передач привода;
Принимаем согласно [1] U’12 = 4, U’34=4, U’56=3,5, тогда
U’ОБЩ = 4×4×3,5 = 56, тогда
n’ЭД = 26,78×56= 1500 об/мин
По каталогу /1/ выбираем электродвигатель с ближайшим к n’ЭД и Р’ЭД
значениями. Таковым электродвигателем является 4А160S4 (рис. 1.2).
Его параметры: РЭД = 15 кВт, nЭД = 1430 об/мин.
Рис. 1.2 Эскиз электродвигателя
Таблица 1.1 Основные размеры электродвигателя, мм
|
Тип двигателя
|
Число полюсов
|
d1
|
d30
|
l1
|
l30
|
l10
|
l31
|
d10
|
b10
|
h31
|
|
4А160S4
|
4
|
48
|
334
|
110
|
630
|
178
|
108
|
15
|
254
|
385
|
2. Кинематический и силовой расчет
привода
.1 Определение расчетных передаточных чисел
Общее передаточное отношение привода
Uобщ = nЭД / nро,
Uобщ = 1430 / 26,78 = 53,4
Принимаем U56 = 2,85;
Выбираем передаточные числа ступеней так, чтобы каждое
последующее было меньше предыдущего на 30%.
Тогда Uобщ = U12· 0,7·U12·2,85,
,
U34= 0,7 ·U12=5,2 ·0,7=3,6.
Принимаем окончательно U12 = 5,2, U34 = 3,6, U56 = 2,85.
2.2 Определение частоты вращения валов
Быстроходный вал: n1 = nэд = 1430 об/мин;
Промежуточный вал: n23 = n1 / U12 = 1430/5,2=275 об/мин;
Тихоходный вал: n45 = n23 / U34 = 275/3,6 = 76,4 об/мин;
Вал тяговой звездочки: n6 = n45 / U56 = 76,4/2,85 = 26,8
об/мин;
Отклонение от заданного: 100 (26,78 - 26,8) / 26,78 = 0,09%,
что допустимо.
2.3 Угловые скорости валов
Угловые скорости определяем по формуле /1/
w = π×n / 30,
w1 = wэд = π ×nЭД / 30 = 3,142×1430/ 30 = 149,7 рад/c;
w23= π ×n23 / 30 = 3,142×275 / 30 = 28,8 рад/с;
w45= π ×n45 / 30 = 3,142×76,4 / 30 = 8 рад/с;
w6= π ×n6 / 30 = 3,142×26,8 / 30 = 2,81 рад/с;
2.4 Определение мощностей на валах
Мощность на входном валу редуктора
Р1 = Р’ЭД·hМ = 13205·0,98 = 12941 Вт;
Мощность на промежуточном валу редуктора
Р23= Р1·h12·hП = 12941·0,97·0,99 =
12427 Вт;
Мощность на выходном валу редуктора
Р45 = Р23·h34·hП = 12427·0,97·0,99 =
11934 Вт;
Мощность на валу тяговой звездочки
Р6 = Р45·h56·hП = 11934·0,94·0,99 =
11106 Вт.
2.5 Определение крутящих моментов на валах
Крутящий момент на входном валу редуктора
Т1= Р1/ w1 = 12941 / 149,7 = 86,4
Нм;
На промежуточном валу редуктора
Т23 = Т1·U12·h12·hП = 86,4·5,2·0,97·0,99 =
431,7 Нм;
На выходном валу редуктора
Т45 = Т23·U34·h34·hП = 431,7·3,6·0,97·0,99 =
1492,3 Нм;
На валу тяговой звездочки
Т6 = Т45·U56·h56·hП = 1492,3·2,85·0,94·0,99
= 3958 Нм.
Результаты расчета сводим в таблицу:
Таблица 2.1
|
Передача
|
Передаточное
отношение, U
|
Вал
|
Частота
вращения n, об/мин
|
Угловая
скорость w, рад/с
|
Мощность, Р, Вт
|
Момент Т, Нм
|
|
1-2
|
5,2
|
1
|
1430
|
149,7
|
12941
|
86,4
|
|
|
2-3
|
275
|
28,8
|
12427
|
431,7
|
|
|
|
|
|
|
|
|
3-4
|
3,6
|
|
|
|
|
|
|
|
|
|
|
|
|
|
|
4-5
|
76,4
|
8
|
11934
|
1492,3
|
|
5-6
|
2,85
|
|
|
|
|
|
|
|
6
|
26,8
|
2,81
|
11106
|
3958
|
3. Расчет передач привода
.1 Шевронные передачи 1-2 и 3-4
Шевронная передача рассчитывается как косозубая с большим
углом наклона зуба 25˚-35˚. А разнесенная
шевронная передача рассчитывается как косозубая с углом наклона зуба 8˚-17˚.
Передаваемый передачей момент делим на два. Таким образом, рассчитывается
половина (по ширине) передачи, а вторая половина делается такая же по размерам,
но с обратным направлением зубьев.
Т1=86,4/2=43,2Нм.
Т23=431,7/2=215,85Нм.
Т45=1492,3/2=746,15Нм.
Выбор материалов, термообработки и твёрдости
Для равномерного изнашивания зубьев и лучшей их
прирабатываемости твердость шестерни НВш назначается больше
твердости колеса НВк. Разность средних твердостей рабочих
поверхностей зубьев шестерни и колеса при твердости материала Н≤350НВ в
передачах с прямыми и непрямыми зубьями составляет НВш-НВк=20…50.
Таблица 3.1.
|
Звено
|
Марка материала
|
ТО
|
Твёрдость НВ
|
sв, Н/мм2
|
sт, Н/мм2
|
|
Шестерня
|
Сталь 40Х
|
Улучшение
|
260
|
790
|
640
|
|
Колесо
|
Сталь 40Х
|
Улучшение
|
240
|
790
|
640
|
Рис. 3.1
Определение допускаемых контактных напряжений
Допускаемые контактные напряжения в соответствии с ГОСТ 21354-75:
,
где
-коэффициент безопасности (однородная
структура),
, где
- предел контактной выносливости зубьев,
соответствующий эквивалентному числу циклов перемены напряжений, Н/мм2;
- предел контактной выносливости
поверхности зубьев, соответствующий базовому числу циклов перемены напряжений,
Н/мм2;
- коэффициент долговечности,
,
где
- базовое число циклов перемены
напряжений,
- эквивалентное число циклов перемены
напряжений, соответствующее делительному пределу выносливости.
Предел контактной выносливости поверхности зубьев, согласно
таблице 4.1 [1] (Н≤350НВ).
, где
- частота вращения рассчитываемого
колеса, об/мин;
- число вхождений в зацепление зуба
рассчитываемого колеса за один его оборот; с=1,
- максимальный из длительно действующих моментов;
- момент, действующий в i-ое время;
- время действия i-го момента; ti определяется в долях от суммарного времени
работы передачи согласно графику
нагрузки.
,
- срок службы передачи, годы;
- коэффициент использования передачи в течение года;
- коэффициент использования передачи в
течение суток.
часов.
,
,
,
.
;
;
.
При
для переменной нагрузки принимаем
=1,
=1,
=1,
=1.
, где
-коэффициент безопасности (однородная
структура),
МПа,
МПа,
МПа,
МПа.
Для косозубых передач в качестве расчетного принимается
Окончательно принимаем:
Н/мм2
Определение допускаемых значений напряжений при расчете
зубьев на усталостный изгиб.
,
где
- предел выносливости зубьев при изгибе,
соответствующий эквивалентному числу циклов перемены напряжений, Н/мм2;
SF - коэффициент
безопасности.
, где
- предел выносливости при изгибе,
соответствующий базовому числу циклов изменения напряжений, Н/мм2,
-коэффициент долговечности.
По табл. 4.2.2. [1] согласно выбранной стали - 40Х
(углеродистая и легированная) принимаем SF=1,75.
По Табл.4.2.2. [1] принимаем
,
Н/мм2;
Н/мм2;
Н/мм2;
Н/мм2.
Коэффициент долговечности:
.
Для зубчатых колёс с твёрдостью
и зубчатых колёс со шлифованной переходной поверхностью,
независимо от твёрдости mF=6.
При
принимается
.
- базовое число циклов перемены напряжений;
,
- эквивалентное число циклов перемены напряжений;
,
.
.
, принимаем
;
, принимаем
;
, принимаем
;
, принимаем
;
Н/мм2;
Н/мм2;
Н/мм2;
Н/мм2.
Н/мм2;
Н/мм2;
Н/мм2;
Н/мм2.
Определение допускаемых предельных напряжений при расчете на
контактную и изгибную прочность по максимальным нагрузкам.
Для зубьев зубчатых колес, подвергнутых нормализации, улучшению,
или объемной закалки с низким отпуском.
Допускаемое предельное напряжение при расчете на контактную
прочность:
,
где
- предел текучести материала при
растяжении, Н/мм2.
Н/мм2.
Допускаемое напряжение при расчете на изгибную прочность:
,
где
- предельное значение напряжения, не
вызывающее остаточных деформаций или хрупкого излома зуба, Н/мм2;
- коэффициент безопасности.
;
(стали легированные и углеродистые при
нормализации, улучшении)
Н/мм2;
Н/мм2.
Н/мм2;
Н/мм2.
Н/мм2;
Н/мм2;
Н/мм2;
Н/мм2.
Определение коэффициентов нагрузки
Коэффициенты нагрузки находятся по следующим зависимостям:
при расчете на контактную выносливость
;
при расчете на изгибную выносливость
,
где
,
- коэффициенты, учитывающие неравномерность распределения
нагрузки по длине зуба (ширине зубчатого венца) при расчете по контактным и
изгибным напряжениям соответственно;
,
- динамические коэффициенты (учитывают
внутреннюю динамику передачи) при расчете по контактным и изгибным напряжениям
соответственно;
,
- коэффициенты, учитывающие
неравномерность нагрузки между зубьями.
Коэффициент концентрации нагрузки
По ГОСТ 21354-75 установлено 7 основных схем расположения
элементов передач относительно опор. Принимаем
Для передачи 1-2 принимаем схему 3, для передачи 3-4 принимаем
схему 7. Для выбора коэффициентов рассчитываем параметр
.
,
.
Тогда из графиков, ориентируясь по рисунку 5.1. [1] и
,
определяем значения коэффициентов концентрации нагрузки.
Передача 1-2:
;
.
Передача 3-4:
;
.
Динамические коэффициенты.
Предварительное межосевое расстояние
,
где
- коэффициент, в зависимости от твердости
колеса, при
,
.
Передача 1-2:
мм.
Передача 3-4:
мм.
Значения коэффициентов
и
выбирают в зависимости от окружной
скорости в зацеплении, точности изготовления передачи и твердости.
Окружную скорость определяем по формуле 5.3 [1]:
,
где
- частота вращения шестерни рассчитываемой
пары колёс, об/мин;
- вспомогательный коэффициент;
- момент на колесе рассчитываемой пары,
Н·м.
По табл. 5.1. [1] принимаем
(У3+У4 косозубое).
м/с;
м/с.
Степень точности согласно табл. 5.2 [1] для цилиндрической
косозубой передачи - 8-ая.
Коэффициент
принимаем по табл. 5.3 [1], коэффициент
принимаем по табл. 5.4 [1],
Передача 1-2
,
,
Передача 3-4
,
,
Коэффициент распределения нагрузки между зубьями находиться по
формуле
,
где
- начальное значение коэффициента,
- коэффициент, учитывающий приработку
зубьев.
,
Где nст=8 - степень точности.
.
Передача 1-2
,
Передача 3-4
,
;
.
;
.
Геометрические параметры.
Расчёт межосевого расстояния.
Определяем предварительное значение межосевого расстояния по
формуле:
;
где
- крутящий момент на валу колеса, Н·мм,
- расчётное допускаемое напряжение, Н/мм2,
- коэффициент нагрузки,
- коэффициент ширины зубчатого колеса, по
табл. 6.3 [1]
мм, округляем
мм.
мм, округляем
мм.
Расчёт модуля зацепления.
Модуль зацепления определяется из эмпирического соотношения:
, при твердости поверхности зубьев Н≤НВ350
берется нижнее значение указанного интервала.
, принимаем
,
, принимаем
.
Определяем числа зубьев зубчатых колёс.
Суммарное число зубьев определяется из следующего соотношения:
,
где
- предварительное значение угла наклона
зубьев на делительном цилиндре для шевронных передач, для передачи 1-2
, для передачи 3-4
.
, принимаем
.
, принимаем
.
Уточняем значения
:
Передача 1-2
.
Передача 3-4
.
Число зубьев шестерни
;
;
Число зубьев колеса
,
.
Фактическое передаточное число:
,
Определение геометрических размеров зубчатых колёс.
Ширина зубчатого венца колеса определяется из следующей
зависимости:
мм, принимаем
мм,
мм, принимаем
мм.
Так как расчет ведем одной половинки, то ширина совмещенного
колеса 4 будет в двое больше.
мм
для снижения влияния погрешностей монтажа ширина шестерни
принимается больше ширины колеса на 5 мм.
мм.
мм.
Диаметры делительных окружностей:
мм;
мм;
мм;
мм;
мм,
мм.
Диаметры окружностей вершин:
мм;
мм;
мм;
мм;
Диаметры окружностей впадин:
мм;
мм.
мм;
мм.
Проверочные расчёты зацепления.
После определения размеров зацепления проводятся проверочные
расчёты по контактным напряжениям, напряжениям изгиба и кратковременным
перегрузкам.
Уточняем значение окружной скорости:
м/с.
м/с.
Полученное значение скорости находится в том же диапазоне при
выборе
что и в ориентировочно определенное в
пункте 3.2.5, следовательно
и
уточнять не следует.
Проверочный расчёт передачи по контактным напряжениям.
,

Н/мм2<419,7 Н/мм2
отклонение
, (недогруз передачи).

Н/мм2<419,7 Н/мм2
отклонение
, (недогруз передачи).
Проверочный расчёт по напряжениям изгиба.
Проверочный расчёт по напряжениям изгиба выполняется относительно
для зуба шестерни и колеса:
;
;
;
;
- коэффициенты прочности зуба шестерни и колеса, выбирается по
табл. 6.4 [1], с помощью интерполирования.
,
,
,
Н/мм2
Н/мм2
Н/мм2
Н/мм2
Н/мм2
Н/мм2
Н/мм2
Н/мм2
- условие выполняется.
Проверочный расчет по кратковременным перегрузкам.
,
Н/мм2
Н/мм2,
,
Н/мм2
Н/мм2.
,
Н/мм2
Н/мм2,
,
Н/мм2
Н/мм2.
,
Н/мм2
Н/мм2,
,
Н/мм2
Н/мм2,
Условие выполняется.
Силы, действующие в зацеплении.
Окружная сила в зацеплении:
,
H.
,
H.
Радиальная сила в зацеплении:
, где:
- угол зацепления,
H.
,
H.
Осевая сила в зацеплении:
H.
H.
Таблица 3.1.2 Результаты расчета передачи 1-2
|
Наименование
рассчитываемого параметра
|
Обозначение
|
Размерность
|
Численное
значение
|
|
1.
Межосевое расстояние
|
aW
|
мм
|
192
|
|
2. Модуль
передачи (норм.)
|
mn
|
мм
|
2
|
|
3. Диаметр
начальной окружности шестерни
|
d1
|
мм
|
62,27
|
|
4. Диаметр
начальной окружности колеса
|
d2
|
мм
|
321,73
|
|
5. Диаметр
окружности выступов шестерни
|
da1
|
мм
|
66,27
|
|
6. Диаметр
окружности выступов колеса
|
da2
|
мм
|
325,73
|
|
7. Диаметр
окружности впадин шестерни
|
df1
|
мм
|
57,27
|
|
8. Диаметр
окружности впадин колеса
|
df2
|
мм
|
316,73
|
|
9. Ширина
зубчатого венца шестерни
|
b1
|
мм
|
35
|
|
10. Ширина
зубчатого венца колеса
|
b2
|
мм
|
30
|
|
11. Степень
точности передачи
|
-
|
-
|
8
|
|
12. Угол
наклона зуба
|
β
|
град
|
15,528
|
|
13. Окружная
сила в зацеплении
|
Ft1, Ft2
|
Н
|
1387
|
|
14. Радиальная
сила в зацеплении
|
Fr1, Fr2
|
Н
|
524
|
|
15. Осевая сила
в зацеплении
|
Fа1, Fа2
|
Н
|
385,4
|
Таблица 3.1.3 Результаты расчета передачи 3-4
|
Наименование
рассчитываемого параметра
|
Обозначение
|
Размерность
|
Численное
значение
|
|
1.
Межосевое расстояние
|
aW
|
мм
|
260
|
|
2. Модуль
передачи (норм.)
|
mn
|
мм
|
3
|
|
3. Диаметр
начальной окружности шестерни
|
d3
|
мм
|
114,4
|
|
4. Диаметр
начальной окружности колеса
|
d4
|
мм
|
405,6
|
|
5. Диаметр
окружности выступов шестерни
|
da3
|
мм
|
120,4
|
|
6. Диаметр
окружности выступов колеса
|
da4
|
мм
|
411,6
|
|
7. Диаметр
окружности впадин шестерни
|
df3
|
мм
|
106,9
|
|
8. Диаметр
окружности впадин колеса
|
df4
|
мм
|
398,1
|
|
9. Ширина
зубчатого венца шестерни
|
b3
|
мм
|
85
|
|
10. Ширина зубчатого
венца колеса
|
b4
|
мм
|
80
|
|
11. Степень
точности передачи
|
-
|
-
|
8
|
|
12. Угол
наклона зуба
|
β
|
град
|
30,072
|
|
13. Окружная
сила в зацеплении
|
Ft3, Ft4
|
Н
|
7547
|
|
14. Радиальная
сила в зацеплении
|
Fr3, Fr4
|
Н
|
3174
|
|
15. Осевая сила
в зацеплении
|
Fа3, Fа4
|
Н
|
4369,9
|
3.2 Расчет передачи 5-6
Передача 5-6 является открытой, поэтому расчет ведется по
напряжениям изгиба.
Выбор материала зубчатых колёс.
Для равномерного изнашивания зубьев и лучшей их
прирабатываемости твердость шестерни НВш назначается больше
твердости колеса НВк. Разность средних твердостей рабочих
поверхностей зубьев шестерни и колеса при твердости материала Н≤350НВ в
передачах с прямыми и непрямыми зубьями составляет НВш-НВк=20…50.
Таблица 3.2.1.
|
Звено
|
Марка материала
|
ТО
|
Твёрдость НВ
|
sв, Н/мм2
|
sт, Н/мм2
|
|
Шестерня
|
Сталь 40Х
|
Улучшение
|
260
|
790
|
640
|
|
Колесо
|
Сталь 40Х
|
Улучшение
|
240
|
790
|
640
|
Рис. 3.2.
Определение допускаемых напряжений.
Определение допускаемых контактных напряжений.
В соответствии с ГОСТ 21354-75 допускаемые контактные напряжения
равны
,
где
- предел контактной выносливости зубьев,
соответствующий эквивалентному числу циклов перемены напряжений, Н/мм2;
Sн - коэффициент безопасности. Для зубчатых колёс с однородной
структурой (нормализация, закалка, улучшение, объёмная закалка) материала Sн=1,1.
,
где
- предел контактной выносливости
поверхности зубьев, соответствующий базовому числу циклов перемены напряжений,
Н/мм2;
- коэффициент долговечности.
Принимаем
по табл. 4.1 /1.стр. 14/.
Н/мм2;
Н/мм2.
- базовое число циклов перемены напряжений, соответствующее
длительному пределу выносливости.
;
;
- эквивалентное число циклов перемены напряжений. Для ступенчатой
нагрузки
,
n - частота вращения рассчитываемого колеса, 1/мин;
с - число вхождений в зацепление зуба рассчитываемого колеса за
один его оборот;
- максимальный из длительно действующих моментов;
Ti - момент действующий в i-ое
время;
ti - время действия i-го момента; ti определяется в долях от суммарного
времени
работы передачи согласно графику
нагрузки.
часов;
с=1;
;
;
,
,
Н/мм2;
Н/мм2;
Н/мм2;
Н/мм2.
Для прямозубых передач в качестве расчетного принимается

Н/мм2.
Определение допускаемых значений напряжений при расчете
зубьев на усталостный изгиб.
Н/мм2;
Н/мм2;
,
с=1;
;
;
. Принимаем
;
. Принимаем
;
Н/мм2;
Н/мм2.
Н/мм2;
Н/мм2.
Определение допускаемых предельных напряжений при расчете на
контактную и изгибную прочность по максимальным нагрузкам.
Н/мм2;
Н/мм2;
Н/мм2;
Н/мм2;
Н/мм2.
Определение коэффициентов нагрузки.
Коэффициент концентрации нагрузки.
По ГОСТ 21354-75 установлено 7 основных схем расположения
элементов передач относительно опор. Для передачи 5-6 принимаем схему 1. Для
выбора коэффициентов рассчитываем параметр
.
,
Тогда из графиков, ориентируясь по рисунку 5.1. /1.стр. 21/ при
и
, определяем значения коэффициентов концентрации нагрузки.
;
.
Динамические коэффициенты.
Предварительное межосевое расстояние
,
где
- коэффициент, в зависимости от твердости
колеса, при
,
.
Передача 1-2:
мм.
Значения коэффициентов
и
выбирают в зависимости от окружной
скорости в зацеплении, точности изготовления передачи и твердости.
Окружную скорость определяем по формуле 5.3 /1.стр. 22/:
, (3.32)
По табл. 5.1. /1.стр. 23/ принимаем
;
По табл. 6.4 /1.стр. 31/ принимаем
.
м/с2;
По табл. 5.2 /1.стр. 24/ принимаем для передачи 5-6 8-ю степень
точности.
Коэффициент
принимаем по табл. 5.3 /1.стр. 25/,
;
коэффициент
принимаем по табл. 5.4 /1.стр. 26/,
;
Коэффициент распределения нагрузки между зубьями находиться по
формуле
,
где
- начальное значение коэффициента,
- коэффициент, учитывающий приработку
зубьев.
,
Где nст=8 - степень точности.
.
,
;
.
Геометрические параметры.
Число зубьев шестерни.
Задаемся числом зубьев шестерни в интервале 17-30, принимаем 28.
Число зубьев колеса
.
Определим коэффициенты прочности зуба шестерни и колеса по табл.
6.5 /1.стр. 32/ в зависимости от числа зубьев колес.
Принимаем
,
.
При выбранном числе зубьев модуль зацепления определяется из
следующего соотношения:
,
где Km=14 - для прямозубых стальных колес; i - индекс зубчатого колеса, по которому ведется расчет.
Для колеса
, для шестерни
,
т.к. 
расчет ведем по шестерне.
мм,
Принимаем
мм.
Проверочный расчет по напряжениям изгиба выполняется отдельно для
зуба шестерни и колеса.
Н/мм2;
Принимаем
мм.
Н/мм2;
Н/мм2.
Проверочный расчет по кратковременным перегрузкам.
,
Н/мм2;
Н/мм2;
,
Н/мм2;
Геометрические размеры передачи.
Диаметры делительных окружностей:
мм;
мм.
Находим межосевое расстояние:
мм.
Диаметры окружностей вершин:
мм;
мм.
Диаметры окружностей впадин:
мм;
мм.
Ширина зубчатого венца колеса:
мм, принимаем
мм;
Ширина зубчатого венца шестерни:
мм.
Силы, действующие в зацеплении
- окружная сила, (3.41)
- радиальная сила, (3.42)
Н;
Н.
Результаты расчетов заносим в таблицу 3.4
Таблица 3.4 Основные
параметры передачи 5-6
|
Рассчитываемый
параметр
|
Обозначение
|
Численное
значение
|
|
1.
Межосевое расстояние
|
а56
|
мм
|
378
|
|
2. Число зубьев
шестерни
|
Z5
|
мм
|
28
|
|
3. Число зубьев
колеса
|
Z6
|
мм
|
80
|
|
4. Модуль
зацепления
|
m
|
мм
|
7
|
|
5. Диаметр
делительной окружности шестерни
|
d5
|
мм
|
196
|
|
6. Диаметр
делительной окружности колеса
|
d6
|
мм
|
560
|
|
7. Диаметр
окружности выступов шестерни
|
da5
|
мм
|
210
|
|
8. Диаметр
окружности выступов колеса
|
da6
|
мм
|
574
|
|
9. Диаметр
окружности впадин шестерни
|
df5
|
мм
|
178,5
|
|
10. Диаметр
окружности впадин колеса
|
df6
|
мм
|
542,5
|
|
11. Ширина
зубчатого венца шестерни
|
b5
|
мм
|
157
|
|
12. Ширина
зубчатого венца колеса
|
b6
|
мм
|
152
|
|
13. Степень
точности передачи
|
-
|
-
|
8-я
|
|
14. Окружная
сила в зацеплении
|
Ft
|
Н
|
15228
|
|
15. Радиальная
сила в зацеплении
|
Fr
|
Н
|
5542
|
4. Ориентировочный расчет валов
Диаметры различных участков вала.
Рис. 4.1. Быстроходный вал 1
Находим наименьший диаметр на данном валу - диаметр под ступицу
полумуфты:
, где
-момент на валу.
Принимаем значение диаметра вала равное стандартному диаметру вала
под ступицу полумуфты МУВП 710-48-1.45-11.2-У3 ГОСТ 21424-93:
мм.
Диаметр вала под подшипником:
,
где t - высота буртика, t = 4 мм,
мм,
принимаем
= 55 мм.
Диаметр буртика подшипника:
,
где r - радиус скругления галтели, r = 3 мм.
мм.
Рис. 4.2. Промежуточный вал 2-3
Диаметр вала под колесом:
,
где
- момент на валу.
мм,
принимаем
мм.
Диаметр буртика колеса:
,
где
- величина фаски ступицы,
мм, принимаем
мм.
Диаметр вала под подшипником:
,
r = 3 мм,
мм, принимаем
мм.
Рис. 4.3. Тихоходный вал 4 - 5
Диаметр вала под полумуфту:
,
- момент на валу,
мм, принимаем
мм.
Диаметр вала под подшипником (t = 5,1 мм):
мм,
принимаем
= 80 мм.
Диаметр буртика подшипника (r = 3,5 мм)
мм.
Принимаем
= 92 мм
Диаметр вала под колесом:
мм.
Диаметр буртика колеса (f = 3
мм):
мм,
принимаем
мм.
Рис. 4.4. Тихоходный вал 6-7
Диаметр вала под полумуфту:
,
- момент на валу,
мм, принимаем
мм.
Диаметр вала под подшипником (t = 5,6 мм):
мм,
принимаем
= 95 мм.
Диаметр буртика подшипника (r = 4 мм)
мм.
Принимаем
= 108 мм
Диаметр вала под колесом:
мм.
Диаметр буртика колеса (f = 3
мм):
мм,
принимаем
мм.
4.4 Предварительный выбор подшипников
Подшипник шариковый радиальный однорядный (из ГОСТ 8338-75), (рис.
4.1)
Рис. 4.5.
Таблица 4
|
Вал
|
1
|
2-3
|
4-5
|
6-7
|
|
Тип подшипника
|
Шариковые
радиальные №211
|
Шариковые
радиальные №209
|
Шариковые
радиальные №216
|
Шариковые
радиальные №219
|
|
Серия
|
Лёгкая
|
Лёгкая
|
Лёгкая
|
Лёгкая
|
|
Схема установки
|
Враспор
|
Враспор
|
Враспор
|
Враспор
|
|
Диаметр
внутреннего кольца, d (мм)
|
55
|
45
|
80
|
95
|
|
Диаметр
наружного кольца, D (мм)
|
100
|
85
|
140
|
170
|
|
Ширина, B (мм)
|
21
|
19
|
26
|
32
|
|
Грузоподъёмность,
Сr, (кН)
|
43,6
|
33,2
|
70,2
|
108
|
|
Грузоподъёмность,
С0r, (кН)
|
25
|
18,6
|
45
|
69,5
|
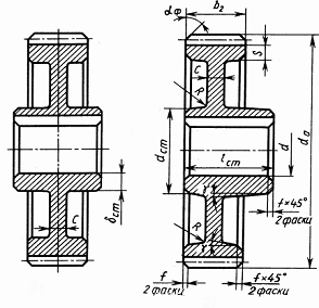
5. Конструктивные размеры зубчатых колес.
.1 Колесо 2
Рис. 5.1. Колесо 2
Обод:
Диаметр:
мм.
Толщина:
мм. Ширина:
мм.
Ступица:
Внутренний диаметр:
мм.
Наружный диаметр:
мм.,
принимаем
мм.
Толщина:
мм.
Длина: конструктивно принимаем
мм.
Диск:
Толщина:
,
мм
мм - условие выполняется, следовательно
принимаем
мм.
Радиусы закруглений:
.
5.2 Колесо 4
Обод:
Диаметр:
мм. Толщина:
мм. Ширина:
мм.
Ступица:
Внутренний диаметр:
мм.
Наружный диаметр:
мм.,
принимаем
мм.
Толщина:
мм. Длина:
мм.
Диск:
Толщина:
,
мм
мм - условие не выполняется, следовательно
принимаем
мм.
Радиусы закруглений:
.
5.3 Колесо 6
Обод:
Диаметр:
мм. Толщина:
мм. Ширина:
мм.
Ступица:
Внутренний диаметр:
мм.
Наружный диаметр:
мм.
Толщина:
мм. Длина:
мм.
Диск:
Толщина:
,
мм
мм - условие не выполняется, следовательно
принимаем
мм.
Радиусы закруглений:
.
6. Конструктивные размеры корпуса
Толщина стенок корпуса:
,
где
Нм - момент на тихоходном валу.
мм, принимаем
мм.
Наибольшее расстояние между внешними поверхностями деталей
передач:
мм - приблизительное ориентировочное
значение. 
мм,
Принимаем
мм - зазор между поверхностями вращающихся
колёс и корпусом.
Заключение
При работе над курсовым проектом были закреплены знания
методик
расчётов типовых деталей машин общего назначения, получены
навыки принятия решений при компоновке редуктора и конструировании его деталей.
Был выбран электродвигатель
При компоновке механизма и вычерчивании сборочного чертежа
определены способы фиксации зубчатых колёс и подшипников на валах.
Выбранные подшипники проверены на пригодность, исходя из их
долговечности при расчёте по динамической грузоподъёмности.
Шпоночные соединения проверены на прочность по напряжениям
смятия.
Определены опасные сечения валов по действующим нагрузкам и
наличию концентраторов напряжений.
Проведён расчёт на усталостную прочность (выносливость) для
наиболее опасного сечения вала.
Решены вопросы смазки передач редуктора и подшипников. Смазка
подшипников картерная (тем же маслом что и для передач).
Для соединения валов редуктора с электродвигателем выбрана
муфта с упругими элементами, компенсирующие погрешности монтажа агрегатов.
Полученная конструкция привода в полной мере отвечает
современным требованиям, предъявляемым к механизмам данного типа.
Список использованных источников
1.
Фейгин А.В. Расчет зубчатых передач: Методические указания по курсовому
проектированию для студентов специальностей 0611, 1012, 1104, 1201, 1202, 1502,
1704, 1709, 2401, 2405, 2601, 2602. - Хабаровск: Изд-во Хабар. гос. техн.
ун-та, 1997. - 39 с.
.
Дунаев П.Ф., Леликов О.П. Конструирование узлов и деталей машин. - М.: Высшая
школа, 2003 - 447 с., ил.
.
Курмаз Л.В., Скойбеда А.Т. Детали машин. Проектирование.: Учеб. пособие для
техн. спец. вузов. - М.:Высш.шк., 2002. - 286 с., ил