Рамный вулканизационный пресс с усовершенствованием конструкции главного силового гидроцилиндра

  • Вид работы:
    Курсовая работа (т)
  • Предмет:
    Другое
  • Язык:
    Русский
    ,
    Формат файла:
    MS Word
    3,21 Мб
  • Опубликовано:
    2015-03-03
Вы можете узнать стоимость помощи в написании студенческой работы.
Помощь в написании работы, которую точно примут!

Рамный вулканизационный пресс с усовершенствованием конструкции главного силового гидроцилиндра

Аннотация

 

В данном курсовом проекте разрабатывается рамный вулканизационный пресс с усовершенствованием конструкции главного силового гидроцилиндра.

В ходе выполнения проекта проведен патентные обзор, разработка предложений по модернизации и усовершенствованию.

Данная работа включает в себя технологический, а так же прочностной расчет основных элементов машины, ремонт и монтаж основного оборудования и технику безопасности при работе.


Введение


В резиновой промышленности значительное место занимает процесс производства формовых резиновых технических изделий (РТИ).

Резинотехнические изделия нашли свое применение во многих отраслях промышленности, таких как: машиностроение, горнодобывающая промышленность, железнодорожное дело и т.д. Ассортимент вырабатываемой резинотехническими предприятиями продукции масштабен и с каждым годом совершенствуется. Это всевозможные ремни, чехлы, втулки, уплотнители, прокладки и многое другое.

Оборудование и технологии, применяемые на большинстве росийских предприятий давно уже устарели.

Ввиду данной причины, производительность низкая, велика доля брака, осуществляются выбросы вредных веществ в атмосферу, себестоимость продукции высока и т.д.

Технологический процесс производства формовых РТИ включает ряд последовательных операций - изготовление заготовок из резиновых смесей, формование и вулканизацию изделий, отделочные операции по удалению облоя, испытание, контроль и упаковка изделий. Форма и размеры заготовок зависят от способа формования и вулканизации. Самыми распространенными являются компрессионный (или прессовый), литьевой и литьевое прессование.

Технико - экономический анализ применения различных способов и оборудования для производства формовых РТИ показал [2], что наибольший экономический эффект при переводе на литьевой способ получают при литье объемных изделий сложной конфигурации за счет сокращения времени вулканизации, снижения количества отходов и трудозатрат на изготовление заготовок. Однако, среди формовых РТИ значительное место в ассортименте и серийности занимают тонкостенные изделий простой конфигурации - уплотнители деталей и узлов машин. В эту группу входят: прокладки, кольца, армированные и неармированные манжеты, чехлы, уплотнения подвижных и неподвижных соединений.

По конфигурации изделия РТИ этой группы разнообразны и для их изготовления требуются простейшие двухплитные и многоплитные пресс-формы. Время вулканизации таких изделий при незначительной толщине 2-12 мм мало из-за быстрого прогрева заготовки в гнезде формы и составляет 4-16 минут. Производство резиновых технических изделий экономически целесообразно [2] осуществлять на многоэтажных вулканизационных гидравлических прессах колонной или рамной конструкции.

 

1. Обзор (анализ) конструкций (моделей), научно-технической литературы и патентов


Вулканизация является завершающим технологическим процессом в производстве резиновых изделий. В результате вулканизации происходит превращение каучука (или его смесей с другими компонентами) в резину- материал с ценными свойствами, не присущими другим материалам (способность к большому удлинению, стойкость к многократным деформациям, амортизационные свойства и др.).

Машины и аппараты, предназначенные для реализации процесса вулканизации, объединяются под общим названием - вулканизационное оборудование. В промышленности распространена так называемая горячая вулканизация (вулканизация каучука серой). Она достигается нагреванием вулканизуемого изделия или в металлической форме, или в котле в паровой, воздушной либо паровоздушной среде при температуре порядка 140-170 °С. Для нагревания изделий при вулканизации в большинстве случаев используется теплота конденсации насыщенного пара. Другие теплоносители, такие как перегретая вода, горячий воздух, паровоздушная смесь, электроэнергия, применяются реже, а если и применяются, то в основном там, где нагрев паром не дает полного комплекса свойств вулканизуемого изделия (внешний вид и другие качества). В процессе конденсации насыщенный пар отдает около трех четвертей своего теплосодержания, в то время как перегретая вода - примерно лишь одну пятнадцатую часть, а горячий воздух около одной десятой.

Для большинства изделий температура вулканизации составляет 140-170 °С (в отдельных случаях она доходит до 190-200 °С). При высокотемпературной вулканизации находит применение нагрев с помощью электрических нагревателей, с точки зрения температурных возможностей практически не имеющих предела. Нагрев до высоких температур с помощью пара требует специальных котельных установок или линий высокого давления от теплоэлектроцентралей, что не всегда возможно и рационально.

С целью получения качественных монолитных изделий и предотвращения их пористости большинство резиновых изделий вулканизируется под давлением. Образование пор в резине объясняется главным образом наличием влаги и легколетучих веществ в резиновой смеси. При нагревании резиновой смеси влага и летучие вещества создают микроочаги внутреннего давления по всей массе изделия, приводящие к образованию полостей - - пор. При вулканизации необходимо подвергнуть изделия внешнему давлению, превышающему возможную величину внутреннего давления. Величина внешнего давления зависит от конструкции изделия и выбирается опытным путем обычно в пределах от 0,5 до 5 МПа, а в некоторых случаях и более. Необходимость ведения процесса вулканизации резиновых изделий при значительной (опасной для человека) температуре и существенном давлении придает вулканизационному оборудованию целый ряд особенностей. Некоторые виды вулканизационного оборудования (котлы, автоклав-прессы) подведомственны Инспекции Госгортехнадзора и требуют особых условий эксплуатации.

Многие виды вулканизационного оборудования обладают мощным приводом в 1; 3; 10 кН (прессы, автоклавы) и поэтому являются тяжелыми по конструкции. Необходимость в подводе теплоносителей (вода, пар, конденсат) и других энергетических сред (сжатый воздух, вода под давлением 2-2,5 МПа и более) требует обилия трубопроводов, запорной арматуры, контрольно-измерительных и регулирующих приборов на каждой единице вулканизационного оборудования. Цехи вулканизации отличаются высокоразвитой системой всевозможных трубопроводов. Теплоизоляции трубопроводов и нагретых частей вулканизационных машин и аппаратов уделяется особое внимание, так как это ведет к снижению тепловых потерь и обеспечивает нормальные условия для работающих в цехе вулканизации.

Все вулканизационное оборудование укрупнено можно разделить на две группы: оборудование общего назначения и специальное оборудование. По принципу действия оно подразделяется также на вулканизационное оборудование периодического действия и вулканизационное оборудование непрерывного действия.

Основными видами вулканизационного оборудования общего назначения являются вулканизационные котлы, вулканизационные прессы, автоклав- прессы. Практически любое резиновое изделие можно подвергнуть вулканизации в этом оборудовании. Необходимость повышения производительности оборудования, механизации и автоматизации труда привела к созданию специального вулканизационного оборудования, предназначенного для вулканизации определенных изделий. К специальным видам вулканизационного оборудования относятся:    индивидуальные вулканизаторы для покрышек и камер; форматоры-вулканизаторы покрышек; автоклав-прессы для вулканизации покрышек; вулканизационные прессы для транспортерных лент и плоских приводных ремней; вулканизационные прессы для клиновых ремней; камерные вулканизаторы для прорезиненных тканей; барабанные вулканизаторы для плоских приводных ремней, транспортерных лент и резиновых листов; камерные вулканизационные агрегаты для производства полых изделий (мячи, игрушки и другие изделия); карусельные прессы-автоматы для производства вполне определенных видов резиновых формовых изделий; аппараты для вулканизации РТИ в расплаве солей; аппараты для вулканизации РТИ в псевдоожиженном слое; аппараты для вулканизации РТИ в поле токов сверхвысокой частоты и некоторое другое оборудование.

Гидравлические вулканизационные прессы.

По конструкции различают гидравлические прессы колонные и рамные. Рамные прессы менее трудоемкие в изготовлении, легче комплектуются вспомогательными устройствами и получили большое распространение в резиновой промышленности, чем колонные .

Пресс-формы для формования и вулканизации изделий помещают между нагревательными плитами пресса. Верхняя нагревательная плита крепится к верхней траверсе пресса, а нижняя- к столу , соединенному с плунжером гидравлического цилиндра. Между нижними и верхними плитами могут располагаться одна или несколько промежуточных подвижных плит. В зависимости от числа просветов между плитами прессы разделяют на одно- ,двух-, трех-, и четырехэтажные.

Плиты прессов нагревают паром, перегретой водой, маслом, высококипящими органическими теплоносителями и электрическим током. Для вулканизации многих формовых изделий требуется высокая температура, достигающая 200 С. Чтобы нагреть плиты пресса до такой температуры, требуется пар давлением более 2 МПА.

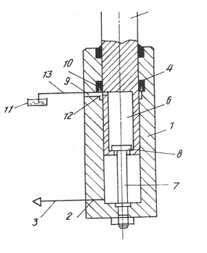
Устройство обычного рамного четырехэтажного вулканизационного пресса с паровым обогревом плит показано на рис.1 а. Этот пресс широко применяется в резиновой промышленности. Станина 6 пресса состоит из двух рам, выполненных из листовой стали, которые соединены между собой стяжными болтами 13 с распорками из трубы. К станине на болтах крепится траверса 5, а к ней верхняя неподвижная нагревательная плита 7. В нижней части станины закреплен рабочий гидравлический цилиндр 1, с плунжером 2 к которому болтами 10 крепится стол 9. На последним смонтирована неподвижная нагревательная плита 8. Пресс оборудован тремя промежуточно нагревательными плитами 4, которые могут перемещаться в вертикальном направлении в станине пресса.

Пар подводится к прессу через коллектор и телескопические трубки 14. Обработанный пар и конденсат отводится через коллектор 3. Для фиксации между просвета между плитами служат упоры, ограничивающие перемещение промежуточных плит вниз.

Пресс-формы устанавливаются на нагревательные плиты пресса, и гидравлический цилиндр 1 через фланец 12 подается гидравлическая жидкость низкого давления 2-5 МПА для подъема стола и нагревательных плит с формами до соприкосновения их верхней и нижней плоскостей. После этого отключается низкое давление в гидросистеме и подается гидравлическая жидкость высокого давления 12-20 МПА для создания прессующего усилия и зажима форм во время вулканизации. По окончании вулканизации давление в гидросистеме отключается, и стол, а также промежуточные плиты с формами под действием собственной силы тяжести опускаются в нижнее положение . После этого формы снимаются для выемки изделия и перезаряжаются.

Рис. 1. Вулканизационные четырех этажные гидравлические прессы: а) рамный пресс; б) колонный пресс; 1- гидравлический цилиндр; 2- плунжер; 3- коллектор для отвода конденсата; 4- промежуточные нагревательные плиты; 5- верхняя траверса; 6- станина; 7- верхняя нагревательная плита;8- нижняя нагревательная плита; 9-стол; 10-болты; 11- паровой коллектор; 12- фланец для подвода жидкости; 13- стяжные болты;14- телескопические трубки; 15- нижнее основание ; 16 - колонны

Колонные вулканизационные прессы. Прессы этого типа имеют максимальное прессовое усилие 100 те и плиты размером 600 X 600мм и толщиною 36 мм на рис 1(6) . Рабочий цилиндр пресса 1 отлит из стали как единое целое со станиной 3. На четырех колоннах пресса 5 смонтирована верхняя поперечина 7. Внутри цилиндра помещен плунжер 2, на котором смонтирован подвижный стол 4 с находящейся на нем паровой плитой 6. Такие же плиты 6 размещены между колоннами, столом и верхней поперечиной. Положение плит по высоте определяется положением специальных упоров. Каждая плита может перемещаться вверх. Обогрев плит производится паром, подаваемым с помощью телескопических труб из коллектора 9. Пресс-формы с резиновыми заготовками размещаются между плитами, в гидравлический цилиндр подается рабочая жидкость, плунжер со столом начинает двигаться вверх. При этом происходит формование изделий и плотное замыкание форм между плитами. Тепло от обогреваемых плит поступает к пресс-формам и изделиям за счет теплопроводности. Холостой ход вперед до начала прессования производится при помощи воды давлением до 25 кгс/см2, а усилие прессования при помощи воды давлением до 125 кгс1см2. Привод прессов старых конструкций осуществляется, как правило, от насосно-аккумуляторных станций. В качестве рабочей жидкости большей частью применяется вода. Управление работой гидропривода пресса производится с помощью специальных распределительных устройств различной конструкции, так называемых дистрибуторов.

Рис. 2. Гидравлический вулканизационный пресс 250-600 Э2: 1 - главный гидроцилиндр; 2 - плунжер; 3 - вспомогательный гидроцилиндр; 4 - рама; 5 - стол; 6 - теплоизоляционная плита; 7,8 - нагревательные плиты; 9 - злектрошкаф; 10 - приборный шкаф; 11 - бак; 12 - кожух; 13 упор; 14 - насосный агрегат; 15 - блок клапанов

Описанный выше вулканизационный пресс имеет простую конструкцию; по своим техническим данным и особенно по управлению режимом работы, он относится к морально устаревшим. Более современные прессы как правило, автономны и по приводу и по управлению. Они оснащаются индивидуальным гидроприводом и индивидуальными средствами управления как работой пресса, так и регулирующими тепловой режим приборами.

Для формования и вулканизации большого ассортимента резинотехнических изделий чаще всего используют вулканизационные прессы с размером нагревательных плит 600X600 мм. На рис. 2. показана конструкция современного вулканизационного пресса номинальной мощностью 2,5 МН, с электрическим обогревом плит размером 600 X 600 мм. Основанием (станиной) пресса является рама 4 сварной конструкции. В нижней части рамы установлен корпус гидроцилиндра 1 с плунжером 2 и встроенным в него вспомогательным цилиндром 3, предназначенным для ускорения смыкания плит. На плунжере 2 установлен подвижный стол пресса 5, на котором помещена нижняя нагревательная плита 7. Между столом 5 и нагревательной плитой 7 установлена теплоизоляционная плита 6. В верхней части рамы установлена верхняя траверса, на которой таким же образом закреплена верхняя нагревательная плита. Средняя нагревательная плита 8 расположена в направляющих рамы пресса, в которых она может свободно перемещаться в вертикальном направлении. В нижнем положении эта плита удерживается с помощью упоров 13. Привод пресса осуществляется от насосной установки 14, с помощью системы клапанов 15. Масляный бак привода 11 смонтирован в станине. На боковых сторонах рамы смонтированы шкаф 9 с электрической аппаратурой регулирования режима работы и управления прессом и шкаф 10 с электрическими приборами контроля, регулирования и поддержания заданной температуры нагревательных плит. Система автоматики обеспечивает поддержание температуры плит с точностью +1%. Максимальная температура плит 250 °С. Для уменьшения тепловыделения в окружающую среду и удаления газов, образующихся при вулканизации, пресс имеет кожух 12, который подсоединяется к вытяжной системе вентиляции.

Все операции цикла при работе на прессе, за исключением перезарядки пресс-форм, выполняются автоматически. Длительность вулканизации устанавливается с помощью реле времени в пределах от 1 до 30 мин. Системой автоматики пресса предусмотрено выполнение одной или двух подпрессовок, число которых устанавливается также с помощью реле времени.

Формование и вулканизация резиновых изделий на прессах вышеописанных конструкций производится главным образом в пресс-формах открытого типа, съемных с ручной перезарядкой.

Кроме съемных пресс-форм, особенно для массовых изделий, применяют стационарные пресс-формы, которые устанавливаются в рабочем пространстве пресса и там же перезаряжаются.

Выше указывалось, что перезарядка вулканизационных прессов производится, как правило, вручную и является тяжелой операцией. Необходимо каждый раз выдвинуть пресс-формы с плит, открыть их, извлечь изделия, положить резиновые заготовки, закрыть формы и задвинуть их на плиты. И все это вблизи и при непосредственном контакте с нагретыми металлическими деталями пресса и форм. Для облегчения труда прессы с усилием свыше 1 МЫ снабжаются подъемными столиками или специальными перезарядчиками.

Рис. 3. Схема автоматического управления вулканизационного пресса с двусторонним обслуживанием: 1 - пресс; 2 -манометрический термометр; 3 - запорные вентели; 4 - командный прибор ;5, 6 -сигнальные лампы; 7 - пусковые кнопки;8, 12 - манометр; 9-обратный клапан; 10 и 11 - мембранные клапаны

Управлением циклом вулканизации производится командным прибором 4 по заданной программе. Давление в гидросистеме контролируется манометром 12. Температура теплоносителя контролируется и регулируется манометрическим термометром 2. Процессы загрузки и выгрузки изделий осуществляются в ручную.

1.1 Анализ конструкции машины


Базовым узлом рамного гидравлического вулканизационного пресса 250- 600 4Э является рама, на которой закреплены остальные сборочные единицы пресса. Рама представляет собой сварную конструкцию из толстолистовой стали.

В нижней части рамы установлен гидроцилиндр, служащий для смыкания нагревательных плит пресса и создающий необходимое усилие во время формования и вулканизации резиновой смеси в пресс-формах. Гидроцилиндр плунжерного типа, дифференциальный.

Для сокращения времени смыкания плит плунжер ускоренно перемещается встроенным малым гидроцилиндром плунжерного типа. Корпус гидроцилиндра сварной.

Уплотнение гидроцилиндров осуществляется манжетами по ГОСТ 14896-84.

В качестве грязесъёмника используется манжета, установленная в прижимном фланце. Полость силового цилиндра заглушена крышкой с тороидальным резиновым кольцом.

На плунжере силового гидроцилиндра закреплен двумя полукольцами и винтами стол, служащий для передачи усилия от гидроцилиндра нагревательным плитам во время формования и вулканизации, на столе установлена нижняя нагревательная плита пресса, под которой находится теплоизоляционная плита.

Пресс имеет пять нагревательных плит. Нижняя закреплена к столу пресса, верхняя - к верхней части рамы, а три средние опираются упорами на головки регулировочных винтов, ввернутых в бобышки стоек рамы.

Нагревательная плита пресса состоит из соединенных между собой крышки и корпуса, в пазах которого в специальной теплопроводной и электроизоляционной массе уложены спиральные нагревательные элементы, концы которых выведены на клеммник.

Напряжение, подводимое к плитам - 220 В. Переменный шаг спиралей обеспечивает температурный перепад в рабочей зоне (560 х 560 .мм) поверхности нагревательной плиты не более +_5 °С. Долговечность спиралей обеспечивается изоляцией ее от воздуха теплопроводной массой.

На верхней части рамы пресса установлен вентиляционный кожух, предназначенный для отвода вредных газов и паров, выделяющихся в процессе вулканизации изделий и выемки их из пресс-форм. Конструктивно кожух представляет собой короб с двумя козырьками, в верхней части которого расположен патрубок с поворачивающейся заслонкой, соединяемый с вытяжной системой вентиляцией цеха. Сообщение с цеховой системой вентиляции перекрывается заслонкой, которая под действием пружины находится в закрытом положении. Заслонка открывается тросиком, соединенным с подвижной нагревательной плитой во время раскрытия пресса.

Сбоку рамы на двух петлях закреплен шкаф автоматики, содержащий электроаппаратуру и приборы управления электро- и теплоавтоматики. Шкаф автоматики проводами в металлоруковах соединен с нагревательными плитами, электродвигателем насоса и электромагнитом распределителя. В шкаф также вводятся провода термопар, установленных на нагревательных плитах. Подвод электроэнергии к прессу производится сверху к клеммной коробке, расположенной между щеками рамы.

Под шкафом автоматики расположен гидробак, представляющий собой сварную емкость со съёмной крышкой. Внутри корпуса гидробака помещается змеевиковый холодильник. На стенке корпуса расположен указатель уровня масла, указывающий номинальный и минимально допустимый уровень масла, обеспечивающий нормальную работу пресса. В крышке гидробака расположена горловина с сеткой для заливки масла. Заливка масла в гидробак осуществляется при повернутом шкафе автоматики.

Спереди гидробака установлены манометры высокого (электроконтактный ЭКМ) и низкого давления. Электроконтактным манометрам задаются величины давления подпрессовок и давление при вулканизации. По второму манометру настраивается низкое давление в гидросистеме.

Под гидробаком на раме установлена насосная станция, состоящая из насоса и электродвигателя. Здесь же располагаются предохранительный клапан системы высокого давления и напорный золотник системы низкого давления, а также магнитосетчатый фильтр.

В левой части пресса расположен блок клапанов, предназначенный для управления работой гидроцилиндра пресса. Блок клапанов состоит из клапана наполнения - слива, клапана обратного управляемого и клапана давления и электроуправляемого гидрораспределителя. Клапан наполнения- слива, клапан обратный управляемый и клапан давления расположены в одном корпусе. С гидроцилиндром блок клапанов соединен переходной муфтой и трубопроводом.

Гидробак, насосная станция, клапан предохранительный и напорный золотник, фильтры, блок клацанов и манометры связаны между собой трубопроводами и образуют единую систему гидропривода пресса.

На передней и задней стойках рамы от системы гидропривода пресса выведены по три штуцера, один из которых - верхний соединен с гидравликой низкого давления, а два нижних - с системой слива масла в бак.

Штуцера служат для подсоединения к ним трубопроводов подъемных столов или перезарядчиков в целях привода их от гидросистемы пресса.

Рамные прессы менее трудоемки в изготовлении, но для механической обработки самого громоздкого узла - рамы, завод-изготовитель должен располагать крупными металлорежущими станками, а для нормализации рам сварной конструкции - большими печами для отжига. Рамные прессы удобны в эксплуатации, однако у них затруднен доступ к манжете главного цилиндра и отдельным гидравлическим приборам. В рамных прессах с гидроцилиндром плунжерного типа при прессовании заготовок плунжер может смещаться в одну сторону и при эксцентричности нагрузки возникает перекос плунжера в корпусе гидроцилиндра. Это приводит к интенсивному износу манжеты, направляющих втулок и рабочей поверхности плунжера.

Рамные прессы менее точны в поддержании параллельности нагревательных плит.

Несмотря на отмеченные недостатки, высокая производительность за счет наличия четырех этажей, универсальность, компактность и простота в обслуживании делает рамные гидравлические прессы незаменимым вулканизационным оборудованием для тонкостенных изделий типа манжет, колец круглого сечения, прокладок и других резиновых деталей массового ассортимента.

 

.2 Описание моделей, технологии, средств контроля и автоматического управления


Изготовление детали производится из резиновой смеси № 7-57-2012-4 по ТУ 38.1051768-87. На стадии изготовления заготовок резиновой смеси, им задается форма, приближающаяся к форме готового изделия. Эта стадия обычно включает две операции: обработку резиновой смеси давлением и последующую ее резку.

Формование является одной из основных стадий технологического процесса изготовления резиновых изделий и заключается в доведении обрабатываемой смеси до вязкотекучего состояния (разогрев) и придание ей необходимой формы.


Хранение резиновой смеси:

Резиновая смесь в виде листов с нанесенной маркировкой поступают в цех. Каждая закладка резиновой смеси должна сопровождаться документом о качестве смеси, в котором указывается шифр резиновой смеси, номер закладки, дата изготовления, показатели ускоренного контроля в соответствии с требованиями рецептурной карты или технического регламента на производство резиновой смеси, а также штампа ОТК о годности смеси. Резиновые смеси должны хранится на стеллажах при температуре от 0 до 25 °С, также необходимо защищать от воздействия солнечных лучей, попадания масла, бензина, керосина, щелочей, кислот и других разрушающих резину веществ.

Для предотвращения слипания листов их пересыпают тальком или перестилают полиэтиленовой пленкой.

Изготовление заготовок:

Изготовление заготовок производится на предформователе фирмы «Барвелл». Процесс протекает при температуре 100 °С, с частой вращения отрезного ножа 30 мин _1 , масса заготовки 1800 ± 60 г.

Резиновая смесь поступает в загрузочную воронку где она захватывается червяком. В процессе проталкивания червяком резиновой смеси, происходит разогрев и дополнительное смешение смеси. Далее через специальную профилирующую головку резина выдавливается и отрезается специальным ножом. Из предформователя заготовки попадают в ванну с эмульсией.

После, заготовки взвешивают, снабжают документом о качестве с указанием марки резиновой смеси, даты изготовления, номера закладки и отправляют на столы для вылежки, время вылежки 8 часов.

Хранение заготовок:

Заготовки хранятся на стеллажах. С участка хранения заготовки попадают на участок вулканизации.

Каждая партия заготовок сопровождается паспортом, в котором указывается наименование изделия, для которого предназначена заготовка, марка смеси, номер закладки, масса заготовки, дата и смена изготовителя, фамилия заготовщика.

Формование и вулканизация:

Формование манжет происходит на гидравлическом прессе 250 600 4Э. Процесс вулканизации проходит, в соответствии с технологической картой на данное изделие, с соблюдением техники безопасности при работе на прессе, под давлением до 2,5 МН при температуре 170 °С и общей продолжительностью 7 мин.

После процесса вулканизации с готовых изделий необходимо удалить облой (выпрессовки), образовавшиеся в процессе вулканизации. Эту операцию можно произвести, либо в ручную, либо механическим путем, в зависимости от качества вулканизованного изделия с соблюдением всех норм и правил при обработки готовых деталей.

Контроль качества, маркировка, упаковка:

Детали проходят контроль и испытание в соответствии с требованиями технический условий, чертежей, контрольных образцов, внешнего вида.

Маркировку деталей производят в соответствии с требованиями технических условий и чертежей.

Приемка деталей ОТК производится партиями. Упаковку готовой продукции производят в соответствии с требованиями технических условий или в другую тару, согласованную с заводом - потребителем.

Хранение готовой продукции:

На складе готовой продукции детали хранят в соответствии с техническими условиями на данное изделие.

Таблица 1.1 Краткая характеристика основного оборудования

Перечень основных операций

Наименование оборудования

Краткая характеристика оборудования

1

2

3

Изготовление заготовок

Предформователь «Барвелл»

Частота вращения ножа - 30 мин "!; Максимальная масса заготовки - 2700 г; Минимальная масса заготовки - 0,25 г; Мощность электродвигателя - 25 кВт.

Вулканизация

Пресс вулканизационный 250 600 4Э

Максимальный зазор между плитами - 185 мм; Полезный ход - 125 мм; Максимальное рабочее давление - 2,5 МН; Диаметр плунжера - 320 мм; Размер плит обогрева - 600*600 мм; Максимальное удельное давление на плиты обогрева - 7 МПа; Диаметр штоков цилиндра пресса - 63 мм; Максимальная температура нагрева - 200 °С; Мощность электронагревателей плит - 20 кВт;

Сущность процесса вулканизации и работа оборудования:

В ходе процесса вулканизации, под действием высокой температуры резиновая смесь переходит из вязко - текущей в твердую, эластичную (готовый продукт). [4]

В начале каждого цикла оператор вручную заполняет пресс-форму резиновой смесью, при этом используется только одна заготовка, масса которой несколько превышает массу готового изделия. Пресс закрывается, и плунжер, двигаясь вверх, создает давление (до 32 МПа), необходимое для продавливания смеси в форму. Форма состоит из одной или нескольких полостей, системы каналов и центральной камеры. С момента создания рабочего давления включается реле времени; для удаления остатков воздуха производится подпрессовка; в конце процесса вулканизации пресс автоматически открывается, изделия частично выталкиваются из формы ( это обеспечивает сохранность гнезд пресс - формы и изделия) и после короткой вылежки отправляются на дальнейшие процессы обработки. Закладывают следующую заготовку, и цикл повторяется. [3]

1.3 Патентный обзор


Пресс с нижним приводом.

Изобретение относится к обработке давлением, в частности к оборудованию для пластического формообразования материалов [41].

Цель изобретения заключается в разработке пресса простого действия с нижним приводом, способного обеспечить экономию энергии, экономию пространства и реализацию формообразующих характеристик с высокой точностью сбалансированным образом, а так же в разработке пресса простого действия с нижним приводом, способного обеспечить высокую производительность (малую продолжительность цикла, большой такт выпуска).

Настоящее изобретение относится к прессу, используемому для пластического формообразования      металлического материала или неметаллического материала, и, в частности, к высокоточному штамповочному прессу с нижним приводом.

Пресс содержит препятствующий образованию складок кольцевой держатель, формообразующий узел с нижним штампом, узел пресса для зажима штампа, включающий верхний штамп, и устройство приложения прижимающей силы к верхнему штампу с его задней стороны. Нижний штамп опирается на ползун, который оснащен приводным механизмом для его подъема или опускания. Верхний штамп имеет зажимную часть, которая взаимодействует с кольцевым держателем. Приложение прижимающей силы к верхнему штампу с его задней стороны обеспечивается после последней стадии опускания узла пресса для зажима штампа и верхнего штампа.

Данный пресс имеет преимущества, заключающиеся в том, что могут быть обеспечены высокая скорость обработки и большое число ходов, а также скорость обработки, ход и производительность могут быть заданы произвольным образом.

В результате обеспечивается повышение точности штамповки и производительности.

Способ извлечения сформованного изделия из пресс-формы, устройство для его осуществления и сформованное изделие.

Изобретение относится к способу литьевого формования заготовок и устройству для его осуществления [42].

Задачей настоящего изобретения является создание способа эффективного охлаждения сформованных пластмассовых заготовок и устройства для его осуществления.

Техническим результатом заявленного изобретения является обеспечение более раннего выталкивания или извлечения заготовки из пресс- формы для литьевого формования и уменьшение, таким образом, времени, необходимого для изготовления заготовки. Технический результат достигается в устройстве для выталкивания сформованного пластмассового изделия со средства формования. При этом устройство включает в себя горловое кольцевое поднимающее средство. Поднимающее средство содержит первый участок, выполненный с возможностью контакта боковым участком сформованного пластмассового изделия, и второй участок, выполненный с возможностью контакта с концом сформованного пластмассового изделия вдоль линии, по существу перпендикулярной направлению подъема. Причем второй участок выполнен без возможности контакта с внутренним окружным участком конца сформованного пластмассового изделия и образует газоотводящий канал между вторым участком и средством формования в сомкнутом положении пресс-формы.

Способ управления процессом вулканизации.

Способ управления относится к производству резинотехнических изделий, аименно к способам управления процессом вулканизации [43].

Задача изобретения - повышение стабильности характеристик выпускаемых изделий.

Данная цель достигается тем, что время вулканизации резинотехнических изделий на технологической линии корректируют в зависимости от времени получения максимального модуля сдвига резиновой смеси при вулканизации образцов перерабатываемой резиновой смеси в лабораторных условиях на реометре и отклонения модуля растяжения резины в производимых изделиях от заданного значения.

Способ осуществляют путем корректировки времени вулканизации в зависимости от времени получения максимального модуля сдвига резиновой смеси при вулканизации образцов на реометре и отклонения модуля растяжения резины в готовых изделиях от заданного значения. Это позволяет отработать возмущающие воздействия на процесс вулканизации по характеристикам исходных компонентов и режимным параметрам процессов получения резиновой смеси и вулканизации. Технический результат состоит в повышении стабильности механических характеристик резинотехнических изделий.

Пресс-форма малоотходная и способ получения деталей с ее помощью.

Изобретение относится к области конструирования пресс-форм для изготовления резинотехнических изделий по малоотходной технологии методом литья-шгамповки, а также к способу изготовления деталей на данной пресс-форме [44].

К существенным недостаткам данной конструкции следует отнести большую трудоемкость сбора и извлечения облоя резины для повторного его использования, возможность попадания подвулканизованного облоя в заготовку из сырой резины, а также ограниченную возможность по варьированию режимов вулканизации деталей.

Целью предлагаемого изобретения является не только получение детали с минимальными отходами и трудозатратами, но и оптимизация режимов ее изготовления.

Техническим результатом заявленного изобретения является получение детали с минимальными отходами и трудозатратами и оптимизация режимов ее изготовления. Технический результат достигается в пресс-форме, состоящей из 4 или более плит, из которых одна плита с литниками является камерой для загрузки резиновой смеси, другая - плитой-плунжером, а в остальных плитах располагаются части гнезд, оформляющие изделия, и при необходимости плита для съема изделий сознаков. При этом плиту с загрузочной камерой и плиту-плунжер изготавливают с возможностью их одновременного отсоединения от остальных плит пресс-формы. На нижней части плиты с загрузочной камерой выполняют части гнезд с большим объемом, чем части гнезд в верхней плите пресс-формы.

Гидравлический пресс

Изобретение относится к области машиностроения, а более конкретно к системам синхронизации подвижных поперечин гидравлических прессов. [46] Гидравлический пресс состоит из станины, в которой смонтированы подвижная поперечина, рабочий гидроцилиндр, подъемные гидроцилиндры. По обе стороны оси пресса на станине смонтированы подпорные цилиндры и блоки синхронизирующих цилиндров, каждый из которых состоит из верхнего и нижнего синхронизирующих плунжерных цилиндров. Корпус верхнего синхронизирующего цилиндра жестко связан с штоком нижнего синхронизирующего цилиндра, корпус подпорного цилиндра установлен на станине неподвижно, а его шток жестко связан с корпусом нижнего синхронизирующего цилиндра. Корпус подпорного цилиндра жестко связан с корпусом верхнего синхронизирующего цилиндра посредством неподвижной рамы, а корпус нижнего синхронизирующего цилиндра жестко связан с штоком верхнего синхронизирующего цилиндра посредством подвижной рамы. На штоках с возможностью взаимодействия с подвижной поперечиной размещены упоры. Все подпорные цилиндры объединены трубопроводом в одну группу и соединены через обратный клапан с напорной магистралью, а через управляемый клапан со сливным трубопроводом цилиндров обратного хода. Рабочие полости верхних синхронизирующих цилиндров трубопроводами соединены с рабочими полостями диаметрально расположенных нижних синхронизирующих цилиндров. Техническим результатом изобретения является повышение надежности устройства.

Гидравлический этажный пресс.

Гидравлический этажный пресс имеет верхнюю и нижнюю неподвижные поперечины, стянутые колоннами, проходящими через разрезные обоймы, нижние поперечины соединены попарно дополнительными поперечинами, в расточках которых установлены подъемные цилиндры. [47] В нижних поперечинах выполнены центральные сквозные ступенчатые отверстия, образующие рабочие цилиндры, в которых расположены ступенчатые плунжеры, имеющие сквозные центральные отверстия для проставок. На верхних поверхностях плунжеров размещены корпусы, приводы и затворы с отверстиями для проставок. Проставки прикреплены снизу к подвижной поперечине и поднимаются подъемными цилиндрами при холостом ходе пресса над затворами. Изобретение позволяет снизить металлоемкость пресса, улучшить условия его эксплуатации и снизить трудозатраты на ремонтные работы.

Гидравлический этажный пресс, содержащий стянутые колоннами верхнюю и нижнюю неподвижные поперечины, размещенную между ними подвижную поперечину, установленные между верхней и подвижной поперечинами смыкаемые нагревательные плиты, связанные с подвижной поперечиной плунжерами подъемные цилиндры, рабочие цилиндры, плунжеры которых имеют отверстия и смонтированы с возможностью перемещения на величину не более величины рабочего хода - Нр.х., корпусы с пазами, закрепленные на торце плунжеров рабочих цилиндров, затворы с отверстием, смонтированные с возможностью перемещения посредством приводов в пазах корпусов, проставки, закрепленные на подвижной поперечине и размещенные в отверстиях плунжеров рабочих цилиндров с возможностью подъема своего нижнего торца над верхней поверхностью затвора на расстоянии не менее величины зазора, необходимого для свободного перемещения затвора под проставкой, нижняя неподвижная поперечина выполнена в виде нескольких отдельных секций с центральными ступенчатыми отверстиями, число секций соответствует количеству рабочих цилиндров, отличающийся тем, что плунжеры рабочих цилиндров выполнены ступенчатыми, смонтированы в центральных ступенчатых отверстиях по поперечным осям колонн и сопряжены с нижней неподвижной поперечиной посредством верхнего и нижнего сальниковых уплотнений, образуя рабочие цилиндры, отверстия в плунжерах рабочих цилиндров выполнены сквозными, а проставки входят в сквозные отверстия.

К недостаткам этой конструкции относятся следующие:

.        Повышенная металлоемкость дополнительных узлов и колонн пресса, а также увеличенный габаритный размер заглубления за счет установки промежуточной поперечины, обоймы и вертикального цилиндрического толкателя, что, соответственно, приводит к увеличению стоимости пресса.

.        Затруднительные условия эксплуатации, т.к. сальниковые уплотнения рабочих цилиндров труднодоступны для обслуживания (расположены в зазорах между промежуточными и нижними неподвижными поперечинами), а колонны соединяются с неподвижными поперечинами посредством термозатяжки верхних и нижних концевых гаек, последние из которых расположены в труднодоступном месте под прессом.

.        Низкая стойкость колонн пресса, т.к. они имеют концентраторы напряжений в зоне перехода опорных буртов к предварительно напряженным от термозатяжки верхним и нижним концам колонн.

.        Увеличенный габаритный размер пресса по ширине, поскольку подъемные цилиндры установлены в расточки промежуточной поперечины по осям колонны с наружной их стороны.

Задачами предполагаемого изобретения является следующие:

.        Уменьшение стоимости пресса за счет снижения металлоемкости и габаритных размеров заглубления и ширины пресса.

.        Улучшение условий эксплуатации путем обеспечения хорошего доступа к сальниковым уплотнениям рабочих цилиндров и затяжки колонн посредством только верхних концевых гаек с использованием гидро домкратов.

.        Повышение эксплуатационной стойкости колонн за счет исключения опорных буртов и введения наружных обойм.

Сущность предложенного изобретения изложена в отличительной части проекта формулы изобретения и заключается, главным образом, в объединении каждой промежуточной и нижней неподвижной поперечины в одну поперечину, являющуюся корпусом короткоходового рабочего цилиндра, плунжер которого выполнен ступенчатым, дифференциального типа, с центральным сквозным отверстием, в которое вмонтирована проставка, к верхнему торцу плунжера прикреплен затвор, а на колоннах бурты замены наружными обоймами.

Гидравлический пресс

Пресс предназначен для обработки давлением различных материалов.

Гидравлический пресс содержит стол, рабочий и нагрузочный гидроцилиндры с сообщающимися между собой полостями, источник питания, соединенный с надпоршневой полостью нагрузочного гидроцилиндра, в котором шток и поршень нагрузочного гидроцилиндра выполнены за одно целое со столом пресса, а цилиндры нагрузочного и рабочего гидроцилиндров жестко связаны между собой. Технический результат - увеличение степени преобразования приложенного усилия.

Изобретение относится к механизмам, преобразующим силы и перемещения и может использоваться в качестве гидравлического пресса. Недостатком такого пресса является отсутствие в нем систем гидроусиления, это препятствует достижению больших рабочих усилий. Сущность изобретения заключается в увеличении степени преобразования усилия. Это достигается тем, что в гидравлическом прессе, содержащим стол, рабочий и нагрузочный гидроцилиндры с сообщающимися между собой полостями, заполненными рабочей жидкостью, шток и поршень, нагрузочного гидроцилиндра, выполнены за одно целое со столом пресса, цилиндры нагрузочного и рабочего гидроцилиндров жестко связаны между собой, а площадь сечения поршня нагрузочного гидроцилиндра принимается большей, чем площадь сечения поршня рабочего гидроцилиндра.

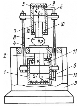
На рис. 1 приведен предлагаемый пресс: Предлагаемый пресс состоит из нагрузочного цилиндра 1, неподвижного штока 2 с поршнем нагрузочного гидроцилиндра, выполненных за одно целое со столом 3 пресса, подвижных тяг 4, жестко соединяющих нагрузочный 1 и рабочий 5 цилиндры, одна из тяг при этом одновременно выполняет роль трубопровода 6, поршня 7 рабочего гидроцилиндра со штоком, выполняющим функцию прессующего элемента, взаимодействующего с объектом прессования 8. На фиг.1 показаны также рабочая полость 9 рабочего гидроцилиндра, штоковая полость 10 рабочего гидроцилиндра, штоковая полость 11 нагрузочного гидроцилиндра, рабочая полость 12 нагрузочного гидроцилиндра, площади нагрузочного Si и рабочего S2 поршней гидроцилиндров при условии, что Si > S2, давление q в сообщающейся гидросистеме нагрузочного и рабочего гидроцилиндров, отверстие 13 для подачи рабочей жидкости в полость 11 нагрузочного гидроцилиндра, отверстие 14 для подачи рабочей жидкости в полость 10 рабочего гидроцилиндра. Работает пресс следующим образом. При подаче рабочей жидкости через отверстие 13 в полость 11 нагрузочного гидроцилиндра из-за того, что шток и поршень этого гидроцилиндра жестко связаны со столом и станиной 3 пресса, под действием возникшей там силы Pi получит движение к столу вверх нагрузочный цилиндр 1 и увлечет за собой тягами 4 рабочий цилиндр 5. При этом в полости 12 нагрузочного гидроцилиндра возникнет давление q, а так как рабочие полости обоих гидроцилиндров сообщены между собой трубопроводом 6, такое же давление q возникнет и в рабочей полости 9 рабочего гидроцилиндра. Так как площадь сечения поршня нагрузочного гидроцилиндра S] принята большей, чем площадь сечения поршня рабочего гидроцилиндра S2, вертикальное смещение штока 7 вниз окажется большим, чем смещение нагрузочного цилиндра 1 вверх, что приведет к воздействию штока 7 на объект прессования 8, то есть к выполнению прессования.

Способ формования прессованием и устройство для его осуществления.

В способе формования прессованием по изобретению используется пресс-форма. [49] Способ формования прессованием, который обеспечивает увеличение выпуска продукции за счет предотвращения подмешивания пыли, возникающей при истирании.

В данном способе неподвижную пресс-форму (2) и подвижную пресс- форму (3) располагают напротив друг друга, а скользящая плита (3d), соединенная с подвижной плитой на подвижной пресс-форме пружиной (Зс), контактирует с плоскостью смыкания неподвижной пресс-формы (2) под действием пружины. Подвижную пресс-форму (3) подают далее после введения полимера в полость (4) пресс-формы и осуществляют формование, прессуя полимер R, заполняющий полость 4, стержнем (3g), установленным в подвижной пресс-форме (3) и проходящим сквозь скользящую плиту (3d). При этом между неподвижной пресс-формой (2) и скользящей плитой (3d) располагают полимерную пленку F, и одну сторону полимера R в полости (4) прессуют стержнем (3g) через полимерную пленку F. Устройство для формования прессованием содержит неподвижную пресс-форму (2) и подвижную пресс-форму (3), расположенные напротив друг друга, скользящую плиту (3d), соединенную через пружину с подвижной плитой на подвижной пресс-форме и контактирующую плоскостью смыкания неподвижной пресс-формы под действием силы пружины.


Стержень, установленный в подвижной плите, проходит сквозь скользящую плиту и способен скользить относительно скользящей плиты и прессовать одну поверхность полимера, введенного в полость неподвижной пресс-формы. Термопластичная полимерная пленка F расположена между неподвижной пресс-формой и подвижной пресс-формой таким образом, что при формовании прессованием одна поверхность полимера в полости и стержень разделяются. Подвижная пресс-форма и скользящая плита находятся в разъединенном состоянии, уплотненные уплотняющим элементом. Технический результат, достигаемый при использовании способа и устройства по изобретению, заключается в предотвращении загрязнения изделий пылью, образующейся в результате истирания, и повышения за этот счет эффективности производства и увеличения срока службы пресс-формы.

Пресс-форма.

Изобретение относится к области изготовления резинотехнических изделий прессованием. Пресс-форма содержит нижнюю и верхнюю формы и пересекающий нижнюю форму стержень [45]. Пресс-форма снабжена нагревательным устройством с автоматической настройкой температуры в зоне контактирования поверхности пресс-формы с заготовкой резиновой смеси. Нижняя плита снабжена отверстиями с возможностью установки в одном из них цилиндрического стержня, снабженного по торцу сфероидальным участком, вызывающим плавное изменение сечения среза облоя первичного и вторичного строения, где трехгранное кольцевое сечение относится к первичному слою резиновой смеси, образующейся в процессе высокого давления на заготовку резиновой смеси. Сложно комбинированный профиль кольцевого сечения восполняет размеры заготовки цилиндрического кольца, устанавливаемого в процессе прессования между нижней плитой с частью формы изделия, ограниченных плоскостью разъема, взаимодействующим с плоскостью разъема вкладыша. Последние образуют между собой две оппозитно расположенные конические поверхности с линией сопряжения между их усеченными торцами. Для ориентации теплового баланса разогретой массы заготовки резиновой смеси вертикально оппозитно расположенный профиль части формы заготовки, ограниченный торцом вкладыша, снабженного канавкой с трехгранным сечением конической поверхностью отверстия, ограниченного с противоположной стороны торцом и взаимодействующей с торцом дополнительного вкладыша, образует 15-20% объема облоя с поверхностями трехгранного сечения, переходящих в участок сложно комбинированного профиля с поверхностями, способствующего получению геометрической формы изделия и отделению от основной массы заготовки, слоя. Пресс- форма позволяет получать заготовки с высоким качеством однородной плотности по всему сечению заготовки, позволяет эффективно собирать облой.

 

.4 Разработка предложений по модернизации и усовершенствованию


Недостаток известного плунжерного гидроцилиндра заключается в том, что при работе машин и механизмов, куда входит данный плунжерный гидроцилиндр, вместе с рабочей жидкостью в полость цилиндра возможно попадание воздуха, который, не имея выхода, скапливается вверху полости плунжера гидроцилиндра, образуя воздушную подушку, которая уменьшает величину хода.

Известен плунжерный цилиндр, в котором в конце хода осуществляется сообщение рабочей полости со сливом [2] Однако в известном устройстве возможен слив и рабочей жидкости, и не только воздуха.

Техническим результатом изобретения является осуществление автоматического удаления воздуха из полости гидроцилиндра, т.е. автоматическая прокачка.

На чертеже показана общая конструктивная схема заявляемого плунжерного гидроцилиндра вертикального исполнения.

Гидроцилиндр содержит корпус 1 с отверстием 2 для подвода рабочей жидкости из магистрали 3 гидросистемы, уплотнения 4, плунжер 5 с полостью 6 и ограничитель хода плунжера, например, в виде размещенного в полости 6 плунжера направляющего стержня 7 с головкой 8, закрепленного в дне корпуса 1 с возможностью взаимодействия головки стержня с нижним торцом полости 6 плунжера 5. Корпус выполнен с каналом 9, плунжер 5 с дроссельным отверстием 10, имеющим возможность соединения верхней части полости 6 плунжера с каналом 9 корпуса. Канал 9 соединен с гидросистемой через разделитель сред, например, в виде сливного бака 11.

Работа плунжерного гидроцилиндра осуществляется следующим образом.

При подаче рабочей жидкости через отверстие 2 плунжер 5 совершает рабочий ход до упора плечиков головки 8 стержня 7 в торцовую стенку полости 6 плунжера 5. При этом при заполнении полости гидроцилиндра рабочей жидкостью находящиеся в ней пузырьки воздуха, устремляясь вверх, как наиболее легкие, собираются в верхней части полости 6. В конце хода плунжера 5 при соединении конца дроссельного отверстия 10 с проточкой 12 канала 9 воздух возможно вместе с небольшим количеством рабочей жидкости поступает через дроссельное отверстие 10, проточку 12 в канал 9, а оттуда по трубопроводу 13 в разделитель сред (сливной бак) 11, где воздух и рабочая жидкость, отделяясь друг от друга, поступают первый в атмосферу, а вторая в замкнутую гидросистему, в которую входит гидростанция и блок управления (последние не показаны).

При обратном ходе плунжера 5 вниз дроссельное отверстие 10 и канал 9 разъединены. Таким образом, за каждый ход плунжера 5 осуществляется автоматическая прокачка гидроцилиндра.

Формула изобретения

Плунжерный гидроцилиндр, содержащий корпус с каналом для подвода рабочей жидкости из магистрали, соединенной с гидросистемой через разделитель сред типа сливного бака, полый плунжер, выполненный с каналом в верхней части его полости и размещенный в корпусе с возможностью периодического сообщения канала плунжера с каналом корпуса, уплотнительные элементы, отличающийся тем, что цилиндр снабжен ограничителем хода, а канал плунжера выполнен дроссельным.

деталь вулканизация пресс форма

 

2. Конструирование машины


2.1 Технологические расчеты

 

.1.1 Исходные данные для расчетов

Исходными данными для расчета является техническая документация на рамный вулканизационный пресс типа 250-600 4Э с параметрами:

1.     Размеры нагревательных плит, мм - 600 х 600;

2.      Номинальное усилие, кН - 2500;

.        Количество этажей, шт. - 4;

.        Расстояние между плитами, .мм - 160;

.        Обогрев плит - электрический;

.        Диапазон регулирования температуры,0 С - 20 до 250;

.        Точность поддержания температуры плиты,0 С - + 5,0;

.        Длительность вулканизации, мин - 1      30;

.        Давление в гидросистеме, МПа

a)     низкое - 5;

b)      высокое - 32;

10.   Мощность электродвигателя гидроустановки, кВт - 5,5;

11.    Мощность электронагревательных плит, кВт - 4;

.        Продолжительность смыкания плит, с - 12;

.        Продолжительность размыкания плит, с - 8;

.        Число подпрессовок - 2;

.        Формуемое изделие резиновая манжета из резиновой смеси 7-51 - 3060(B)-1 (МУП "ВНТК") с размерами [9], мм:

a)     высота-45;

b)      внутренний диаметр - 209;)  наружный диаметр - 240;

16.   Размеры заготовки полоса прямоугольного сечения, мм - 16x46x740

2.1.2 Расчет времени вулканизации

Исходные данные: для изготовления V - образной манжеты 45x240x209 мм используется резиновая смесь 7-51-3060(Б)-1. для формования манжеты изготавливают заготовки шприцеванием в виде полосы с сечением 16x46, которую режут на мерные длины 740 мм. Толщина заготовки составляет О = 2h = 16 мм. По данным МУП "ВНТК" измерение кинетики вулканизации на вулкаметре Можанто и определение оптимума вулканизации на стандартных пластинах о = 2 мм при 143 ос составило t = 7 мин. [9].

Согласно [11] время прогрева пластины из резиновой смеси толщиной 2 мм составляет 10 с. При толщине детали более 2 мм, необходимо учитывать время, необходимое на прогрев заготовки с точностью ее выравнивания в середине ±2 °С.

Температура заготовки до укладки в пресс-форму t = 25 °С;

Температура нагрева заготовки t = 143 °С;

Коэффициент теплопроводности резиновой смеси [12] λ= 0,1 Вт/м °С.

Коэффициент температуропроводности [12]

Коэффициент теплоотдачи резиновой смеси [12] α =23 Вт/°С.

Полное время вулканизации манжеты равно сумме времени прогрева и времени вулканизации стандартной пластины

 

Время прогрева заготовки толщиной 2h = 16 мм определяем для нестационарного режима прогрева длинномерной заготовки сечением 16 х 46 мм, согласно [14] с помощью графиков, позволяющих рассчитать температуру во времени на поверхности и в середине ( и других точках) сечения заготовки:

;

В выражениях

 

где  - это критерий Био - безразмерный комплекс, характеризующий соотношение термических сопротивлений теплоотдачи резиновой смеси на поверхности к теплопроводности ее внутри заготовки при прогреве.

Bi = 23*0,008/0,1 = 1,84

F0 - критерий Фурье - безразмерный комплекс, характеризующий изменение температурного поля в заготовке при прогреве во времени.

=d*Tn/h2   

Откуда

τn=F0*δ2/a

относительная температура заготовки находится по формуле

 

Где 0х=(tx=o - относительная и абсолютная температура в центре заготовки.

= (145-143)/(145-25) = 0.017

По графику [14] по рассчитанным значениям  и Θ находим значение критерия F0=3,7.

Зная значение критерия Фурье , рассчитаем время, необходимое для прогрева середины заготовки с точностью выравнивания температуры ± 2 °С

τ3= 0,0082*3,7/2.1*10"7 = 1128 = 18,8 мин

безразмерную (относительную) температуру на поверхности заготовки определяем по графику [14] при F0 = 1,84 и Bi =3,7

 

Температура поверхности будет равна

 

роцесс прогрева является нестационарным процессом, так как температурное поле изменяется во времени. Дальше после выравнивания температуры до ±2 °С по толщине заготовки процесс приближается к стационарному.

Общее время вулканизации будет равно:

τ3=7+ 18,8 = 25,8 мин

 

.1.3 Расчет производительности пресса

Производительность пресса определяется по формуле :

=m*n*i/τц  

Где m - число этажей пресса, шт; п - число пресс-Форм на этаже, шт; i - число гнезд в пресс-форме,; тц- продолжительность работы пресса, мин.

Продолжительность цикла работы пресса

 

где  время загрузки заготовки, сборки пресс-форм и установки их на плиты пресса, мин;

τ2 - время смыкания плит пресса, мин;

τ 3 - время вулканизации, мин;

τ 4 - время размыкания плит пресса, мин;

τ 5 - время съема пресс-форм, их разборки и извлечение изделий, мин.

Время загрузки τ 1=1,2 мин и время разгрузки пресса т5 =1,85 мин, принимаем по фактическим производственным данным на формовом участке МУП «ВНТК».

Время смыкания плит пресса (расчетное):

τ2p=h*60/V                                                                                                      

где h - ход плунжера пресса,см;- скорость смыкания плит пресса, см/мин.

Скорость смыкания плит пресса с индивидуальным приводом определячется по формуле [1];

= 1000 *q*4/π*DIII2

где q- производительность насоса гидропривода q= 17,06 л/мин;

Dш- диаметр штока, см Dш= 6,3 см.

У= 1000* 17,06*4/3.14*6,32= 547 см/мин

Расчетное время смыкания плит пресса τ2р=50*60/547=5,5 с после смыкания плит пресса давление в гидросистеме должно подняться до 32 МПа и плунжер головного цилиндра должен осуществить две подпрессовки для удаления из оформляющей полости остатков воздуха и других летучих газов.

Поэтому τ2=2* τ 2р=2*5,5=1 1с окончательно принимаем т2=11 с.

Время раскрытия принимаем согласно [15] τ 4= 0,85* т2=0,85*0,18=0,153 мин время цикла изготовления манжеты на прессе составит: τ ц=1,2+0,183+25,8+0,153+1,85=29,19мин=0,49 ч производительность пресса составит:

G=4* 1*1/0,49=8,16 пгг/ч

Годовая производительность пресса при коэффициенте использования машинного времени Км=0,8 и двухсменной работе:

=G*K*4000=8,16*0,8*4000=26,112 тыс шт/год

 

.1.4 Расчет усилия прессования

Номинальное усилие, развиваемое прессом

 = Pr∙π∙ 2/4

где Рг - максимаьлное давление в гидросистеме при прессовании, МПа,

Рг=32 МПа

Dn - диаметр плунжера главного силового цилиндра, мм, Вп=320 мм.

 = 2,57 МН

Эффективное усилие плунжера меньше номинального за счет веса самого плунжера и подвижных плит с полуформой, потерь на трение при движении плунжера и щтока в уплотнениях.

Рэ = Рн-Gп-Тп-Тш

где Рэ- эффективное усилие пресса, МН;

Gn - вес плунжера, подвижных плит и пресс-форм, МН, Gn = 0,0015 МН - по данным прототипа;

Тп ,ТШ - силы трения при сопротивлении движению плунжера и штока в уплотнениях, МН.

Величины сил трения рассчитывают по формулам:

= π *Dn*hn*f*n*Pn

Тш = π *Dш*hш*f*n*Pш

Где Dn и Dm - диаметры плунжера и штока, мм;

hn и hm - высоты манжет уплотнений плунжера и штока, мм;

f- коэффициент трения манжеты о плунжер, (f = 0,1 - 0,35);

Рп и Рш - давления формования и перемещения, МПа (32 МПа и 5 МПа соотвественно);

n - число манжет в пакете, шт(п=2).

ТП = 0,116МН,

Тш= 0,0036 МН

Тогда эффективное усилие прессования составит:

Рэ = 2,57-0,0015-0,116-0,0036 = 2,45 МН

Эффективное усилие пресса должно обеспечить установленное технологическим регламентом требуемое удельное давление прессования или давление резиновой смеси в форме при опрессовке с целью качественного заполнения, отсутствия дефектов (брака)и физико - механических показателей.

Согласно [16] для получения качественных формовых резиновых изделий удельное давление формования для различных резиновых смесей и деталей должно составлять Ру= 1,0 -4,0 МПа.

Для рамного вулканизационного гидравлического пресса эти показатели составят

= Рг / Sn2= 2,5 / 0,62 = 0,7 МПа

Эффективное среднее давление на плиту Рэ = Рэ / Sn2= 2,45/0,62 = 6,8 МПа

Эффективное максимальное удельное давление формования для выработанного изделий

Ри = Рэ / Sn= 44 МПа

Ри » Ру, Рэ > Ру , что говорит о том, что эффективное усилие обеспечит качественное прессование изделий пир давлениях в гидросистеме (0,5-0,6).

 

.1.5 Расчет мощности привода насоса

Мощность привода насоса рассчитываем по формуле [ 17]

=Pr*Q/612*η

где Рг- давление рабочей жидкости, кг/см ;

Q- расход рабочей жидкости, л/мин;

η - коэффициент, учитывающий потери давления в гидросистеме, η=0,78 [20].

N= 320*17,06/612*0,78=10,44 кВт

Выбирается гидроагрегат для пресса с параметрами [20]: Рг= 32 МПа,

Q= 17,06 л/мин и мощность привода N=10.5 кВт.

2.1.6 Тепловой расчет вулканизационного пресса

Целью расчета является определение мощности нагревателей. Мощность электронагревателей находим из уравнения теплового баланса и теплопередачи [12]. Подведенная электрическая энергия в виде тепла расходуется на нагрев плит, пресс-формы, изделий и потери теплоты в окружающую среду.

Уравнение теплового баланса имеет вид:

= Q1+Q2+Q3+Q4

где Q1,Q2, Q3 кол-во теплоты, необходимое для нагрева пресс-форм, плит и изделий, кДж;

Q4 - потери в окружающую среду,кДж.

Учитываем в величине Q4 потери тепла во время перезарядки пресса в связи с тем, что температура плит и пресс-форм в этот период времени снижается.

Определим слагаемые в уравнении теплового баланса.

Количество тепла (энергии), подводимое к элементам нагревательных плит за время рабочего цикла:

= W* τц

Где W - мощность электронагревателя, Вт; τц - время цикла, ч.

Количество расходуемого тепла

Q1= GФ* СФ* ΔТФ

Q2= Gn* Сn* ΔТn

Q3= Gи* Си* ΔТи

Q4=( Qл +Qк)/ τ3

где GФ, Gn, GH - массы пресс-форм, плит и изделий, кг;

СФ, Сп, Си - удельные теплоемкости материалов пресс-форм, плит и изделий, кДж/ кг*град;

ΔТф, ΔТn , АТИ - изменения температур пресс-формы, плит и изделий за время цикла, °С;

Qл ,QK - потери тепла(энергии) в окружающую среду лучеиспусканием и конвекцией, кДж.

Величина потерь тепла определяется:

=a*F*ΔTk

Qfl=k*F*[(Tn/100)4-(T0/100)4]

где α- коэффициент теплоотдачи воздуха;

F - поверхность теплоотдающих частей плит и пресс-форм, м2. Коэффициент теплоотдачи рассчитывается

α= 9,3 + 0,058*(ТП-273) Вт/м2 * °С, (2.3.25)

где ΔТк - разница между температурой поверхности отдающей тепло и окружающей среды, °С; Tn, T0 - температура поверхности и окружающей среды, °С; k- коэффициент излучения.

Подставляя соответствующие значения в уравнение теплового баланса, найдем необходимую мощность элементов:

 = (GФ* СФ* ΔТФ + Gn* Сn* ΔТn + Gи* Си* ΔТи + a*F*ΔTk +k*F*[(Tn/100)2-(T0/100)2] / τц)/ τц

Исходные данные для расчета:

Gф =52,4 кг        Сф=0,46 кДж/кг*град

Gn=142 кг           Сп=0,44 кДж/кг*град

GH= 1,27 кг        Си= 1,38 кДж/кг*град

W = 707 Вт

Суммарная мощность электронагревателей плит пресса для изготовления резиновой манжеты 45x240x209 должна быть не менее 707 Вт. Установленная суммарная мощность электронагревателей плит пресса составляет 4 кВт, что принято для времени выхода пресса на режим при разогреве, а также для изделий позволяющих более полно загрузить плиты пресса.

Коэффициент загрузки плиты пресса для манжеты 45x240x209 составляет:

К3= Sф /Sп = π* Dф 2/4*60*60 = 3.14*322/4 * 3600 = 22,3 %, что является низким показателем

2.1.7 Расчет толщины теплоизолирующих плит [12]

С целью предотвращения нагрева основных узлов и деталей при работе пресса(стола, головного гидроцилиндра, рамы) от теплового потока электронагревательных плит нижнюю и верхнюю изолируем асботекстолитовыми пастами.

Асботекстолит обладает высокими прочностными свойствами при деформации на сжатие и изгиб и малым коэффициентом теплопроводности = 0,1 Вт/м2*К[11].

Толщину изоляции определяю из условия обеспечения температуры узлов пресса не более tk=40°C при температуре нагревательной плиты tH=200°C при максимальной тепловой нагрузке. Тепловой поток от электронагревательных плит полностью проходит через изоляцию, что повышает её запас по термическому сопротивлению.

Тепловая нагрузка на теплоизоляционную плиту за время цикла составит:

 = W* τц = 707*0,49 =346,43 Вт*ч

Толщина теплоизоляционной плиты равна:

= *(tH-tK)*F/Q

δИЗ= 0,011 м

на оснований расчета в качестве теплоизоляции нагревательных плит конструктивно выбираю лист асботекстолитовый АСТ-А-40 ГOСТ 16360-70.

2.2 Обоснование выбора конструкционных материалов


Гидравлический вулканизационный рамный пресс с нижним расположением гидравлического цилиндра состоит из следующих основных узлов и деталей: две вертикальные рамы, верхняя неподвижная поперечина, подвижная поперечина (стол), рабочий цилиндр, плунжер, шток, электрические подвижные и неподвижные плиты.

 

.2.1 Рама пресса

Рама - силовой элемент пресса - имеет цельносварную конструкцию. Ее элементы воспринимают максимальные усилия прессования, как и траверсы с колоннами в колонных прессах, и рассчитываются на максимальное усилие.

Рамная конструкция легче колонной, а также дешевле. Ее сборку осуществляют на заводе -изготовителе. Сварную раму пресса для удобства расчета можно разделить на следующие элементы: верхний и нижний ригели, левая и правая стойка, нижняя и верхняя поперечины. Правая и левая стойки рамы воспринимают усилие смятия, на поперечины действуют изгибающие моменты. Рама служит для монтажа и фиксации в заданных положениях всех механизмов пресса и является замыкающим звеном, воспринимающим номинальное усилие, возникающее при его цикличной работе.

Рама отливается целиком или сваривается из листов, вырезанных в виде рамы. На стойках рамы помещаются регулируемые направляющие ползуна. Плоскость направляющих строго перпендикулярна плоскости стола пресса. Технологически рамы выполняются литыми чугунными или стальными сварными. Применяемые материалы: чугунное литье СЧ 25 ГOСТ 1412 - 85, стальное литье сталь 35 JI ГOСТ 1050 - 88, сталь 45 JI ГOСТ 1050 - 88, листовой прокат применяют для сварных конструкций из стали Ст 3 ГOСТ 380 - 88. Рама проектируемого пресса изготовлена из листовой стали Ст 3 сварной конструкции. После сварки рамы ее отжигают с целью снятия остаточных напряжений, и затем осуществляют механическую обработку поверхностей, сопрягаемых с другими деталями пресса.

2.2.2 Силовой гидроцилиндр

Силовой гидроцилиндр - ответственная деталь пресса. Конструкция гидроцилиндра выбирается с учетом конструктивной схемы пресса, рабочего давления жидкости, усилия прессования, условий работы. Гидроцилиндр работает под внутренним давлением 32 МПа и является наиболее нагруженной деталью пресса, определяющим его эксплуатационные качества. Его изготавливают литьем чугуна с σт >400 МПа. Цилиндр имеет клапан (фланец) для крепления в траверсе, отверстия для подвода и слива рабочей жидкости, проточку для установки уплотнения.     Корпус цилиндра обычно выполняют из стали 35 ГОСТ 1050 - 88. Для рабочих давлений до 20 МПа используют литые цилиндра. Широко применяют цилиндра, полученные механической обработкой из поковок. Трудоемкость изготовления цилиндра снижается при использовании цилиндров с приваренным дном. В цилиндре находится плунжер и шток, которые воспринимают давлением рабочей жидкости и при выдвижении передают давление на плиты пресса. [1]

2.2.3 Плунжер силового гидроцилиндра

Плунжер представляет собой толстостенный цилиндр, закрытый с одной стороны. Наружная поверхность плунжера обрабатывается до высокого класса чистоты, для сокращения утечек жидкости под давлением и снижения трения при скольжении. В нижних частях цилиндра и плунжера имеются площадки, ограничивающие его движение в нижнем положении. Плунжер обеспечивает рабочий ход только в одном положении - вверх. В обратном направлении движение происходит за счет веса плит и плунжера после сообщения рабочей полости цилиндра с атмосферой. Конструкция с самопроизвольным раскрытием пресса возможна только при нижнем расположении силового цилиндра при малых усилиях раскрытия пресса.

Основное назначение плунжера - передача усилия прессования на подвижную поперечину. Конструкция крепления плунжера к поперечине зависит от способа и места приложения нагрузки.

Жесткое крепление допускается при строго центральном направлении действия усилия прессования.

При внецентральном нагружении жесткое крепление плунжера к плите недопустимо, так как при этом плунжер не только работает на сжатие, но и дополнительно нагружается изгибающимся моментом от сил трения подвижной поперечины о направляющие.

В этом случае используются конструкции подвижных опор с шаровыми шарнирами.

Плунжеры малого диаметра (до 200-250 мм) выполняются из качественной углеродистой или легированной хромисто-молибденовой стали. Плунжеры большого диаметра изготавливают пустотелыми с полостью, обращенной в сторону цилиндра без заглушки.

В результате включения, попадающие в гидроцилиндр с рабочей жидкостью, оседают на дно полости, не попадают на его рабочую поверхность и не вызывают абразивный износ. Плунжеры обычно изготавливают из поковки или литыми с последующей обработкой рабочей поверхности до шероховатости не менее девятого класса с последующим хромированием.

Твердость поверхности должна достигать HRC 40-44.

2.2.4 Выбор материалов

Основные марки чугуна, углеродистой стали обыкновенного качества, углеродистой качественной конструкционной стали и легированной конструкционной стали, применяемых для изготовления деталей рамных прессов и пресс-форм и их механические свойства приведены в таблицах 2.2.4.1, 2.2.4.2.

Таблица 2.2.4.1 Механические свойства углеродистой стали обыкновенного качества по ГОСТу 380-94

Марка стали

Предел прочности σв

Предел текучести σт

Удлинение σ % лист ГОСТ

Применение металла


МПа

Кгс/мм

МПа

Кгс/мм




Не менее

Не более


СтЗ

363-490

37-52

216-226

22-23

24-23

Ст 4

409-539

41-55

235-265

25-28

22-21

Свариваемые конструкции, детали с высокой твердостью без термообработки


Таблица 2.2.4.2 Механические свойства углеродистой качественной конструкционной стали по ГоСТу 1050-88

Марка стали

Предел прочности σв

Предел текучести σт

Твердость без термообраб отки НВ

Применение металла


МПа

Кгс/мм

МПа

Кгс/мм




Не менее

Не более


20

412

42

245

25

163

Трубки, втулки, оси, диски, серьги, плиты, цилиндры, обечайки цементируемые

30

490

50

294

30

179


35

530

54

315

32

207


40

569

58

334

34

217

Валы, оси, плиты, пресс-формы, матрицы, колонки

45

588

61

353

36

229


65

696

71

412

42

255

Упорные кольца, пружины, эксцентрики, направляющие, пружинные шайбы

60Г

696

71

412

42

269


65Г

736

75

431

44

285


 

.3 Прочностные расчеты


2.3.1 Прочностные расчеты силового гидроцилиндра

Гидроцилиндр работает в тяжелых условиях нагружения: постоянно пульсирующая нагрузка, возможность гидравлических ударов пир быстром перекрытии клапанов и при использовании грузового аккумулятора. Конструкцию цилиндра выбирают в зависимости от усилия, гидравлического давления, свойств применяемого материала.

Гидроцилиндр служит для смыкания нагревательных плит пресса и создает необходимое усилие во время формования и вулканизации резиновой смеси в пресс-формах. Гидроцилиндр плунжерного типа, дифференциальный.

Для сокращения времени смыкания плит плунжер ускоренно перемещается встроенным малым гидроцилиндром плунжерного типа. Корпус гидроцилиндра сварной.

Уплотнение гидроцилиндров осуществляется манжетами по ГоСТу 14896-84.

В качестве грязесъемника используется манжета, установленная в прижимном фланце. Полость силового цилиндра заглушена крышкой с тороидальным резиновым кольцом.

На плунжере силового гидроцилиндра закреплен двумя полукольцами и винтами стол, служащий для передачи усилия от гидроцилиндра нагревательным плитам во время формования и вулканизации [3].

Цилиндры гидравлических прессов рассчитывают как толстостенные сосуды.

В стенках цилиндра, находящегося под действием внутреннего давления, возникает сложное напряженное состояние. Величину напряжений в радиальном, тангенсальном и осевом направлениях определяют по формулам[22]. Суммируя найденные напряжения для цилиндров изготовленных из стали, обладающей достаточной пластичностью, расчет производят по энергетической теории прочности [20,21].

Исходные данные:

Максимальное давление в гидроцилиндре Р= 32 МПа, внутренний диаметр Dц= 320 мм ГОСТ 6540-68, с учетом направляющей втулки DB= 340 мм,

Гидроцилиндр выполнен из стали 35, =589 МПа, σт= 441 МПа.

Нормативное допускаемое напряжение

 

где n(B), n(T) - коэффициенты запаса прочности по пределу прочности и текучести соответственно, п(В) =2,6; п(Т)=1,5/

σ*= {2261294}=226 МПа

Допускаемое напряжение определяется по формуле

[σ] =

Где  - поправочный коэффициент, учитывающий условия эксплуатации машины,

[σ] = 226 МПа

 

.3.2 Расчет толщины стенки гидроцилиндра

Толщина стенки гидроцилиндра рассчитывается по формуле:

≥0,5 Db(Pp-1)+c

где с- прибавка к расчетной толщине на компенсацию коррозии, мм (с=0, т.к. рабочая среда масло менее подвергает материал коррозии);

(- расчетный коэффициент толстостенности.

Расчетный коэффициент толстостенности определяется по формуле:

 

где φ - коэффициент прочности сварных швов, φ = 1.

= 0,142

=1,15

Таким образом, толщина стенки гидроцилиндра будет равна:

≥ 0,50,34 (1,15-1)+0=25,5 мм

С учетом запаса прочности конструктивно принимаю толщину стенки § = 50 мм.

Наружный диаметр гидроцилиндра с учетом ослаблений за счет проточки и отверстий составит:

=DB+2-5

DH= 440 мм.

Толщина днища гидроцилиндра выбираю из соотношения [19]:

δД= 1,8- 5

δД= 90 мм.

 

.3.3 Проверочный расчет толстостенной цилиндрической обечайки

Допускаемое напряжение в гидроцилиндре [σ]= 226 МПа; Рабочее давление в гидроцилиндре Р = 32МПа;

Расчетный коэффициент толстостенности βР = 1,15. Внутренний диаметр гидроцилиндра находим по формуле

 

 = 0,66 м По ГОСТу 11879-66 принимаю DB = 0,34 м.

Исполнительный коэффициент толстостенности равен

 

β = 1,29

Допускаемое рабочее давление:

[р] = [σ]∙φ∙lnβ

[р] = 57,5 МПа

Таким образом, р с [р] , т.е. 32 МПа < 57,5 МПа, следовательно условие прочности выполняется.

Проверочный расчет плоского днища гидроцилиндра [22]

Минимальная толщина днища находится по формуле:

 

где  - коэффициент ослабления днища отверстиями. Для одиночного центрального отверстия диаметром  :

 

Таким образом, коэффициент ослабления днища будет равен:

Тогда расчетная величина допускаемого напряжения будет равна

 

[σ]р= 98 МПа

Таким образом, [σ]р< [σ], т.е. 98 МПа < 226 МПа, следовательно, условие прочности выполняется.

Допускаемое рабочее давление определяю по формуле:

[р]= 5⋅(- с)2 -[σ]⋅ DB2

[р] = 74,4 МПа

Таким образом, р < [р] , т.е. 32 МПа < 74,4 МПа, следовательно, условие прочности выполняется.

2.3.4 Расчет плунжера на прочность [19]

Плунжер гидравлического пресса воспринимает усилие, создаваемое рабочей жидкостью и передает его на плиту и пресс-форму. Материал плунжера работает на сжатие. При несимметричном нагружении пресса возникает изгибающий момент.

Проверочный расчет плунжера на сжатие:

Наружный диаметр плунжера = 0,32 м;

Внутренний диаметр плунжера  = 0,12 м;

Материал: Сталь 45Х, [σв]= 1030 МПа;

Допустимое напряжение сжатия материала [σсж ] = 0,6⋅[σв]= 618 МПа.

 

где Рн - номинальное усилие прессования, МН, Рн = 2,57 МН;

 - площадь сечения плунжера, м2.

 

Таким образом,  < [], т.е. 370 МПа < 618 МПа, следовательно, условие прочности выполняется.

 

.3.5 Расчет на отрыв крышки от плунжера

Находим отрывающую силу по формуле

 

где DBH - наружный диаметр втулки, см; DBH = 7,8 см;

DmT - диаметр штока, см; DmT = 6,3 см.

Q = 5313 кгс

Усилие, действующее на шпильки с учетом затяжки гайками определяется по формуле:

=Q⋅(1+β)

Р = 9298 кгс

Усилие, растягивающее каждую шпильку, находим пб формуле

=P/n

где n - количество шпилек, шт; n = 8 шт.

 = 1162 кгс

Площадь сечения шпильки находим по формуле:

=π⋅d12/4

Где d1 - минимальное сечение болта, мм (для шпильки диаметром 16 мм d1 = 13,5 мм).

F= 1,43 см2

Напряжение в поперечном сечении шпильки находим по формуле

σp=P,/F, (2.3.5.5)

σР= 81,3 МПа

Допускаемое напряжение для стали Ст 20: [σр] = 124 МПа таким образом, σр < [σр], т.е. 81,3 МПа < 124 МПа, следовательно, условие прочности выполняется.

2.3.6 Расчет рамы вулканизационного пресса на прочность

Рама пресса воспринимает усилие, развиваемое прессом. На фундамент передается сила тяжести пресса, вибрация и динамические нагрузки из-за цикличности его работы.

Рама представляет собой замкнутую, статически неопределимую пространственную конструкцию.

В расчете приняты следующие допущения:

пространственная рама заменена плоской и является жесткой системой;

усилие от цилиндра с опорным фланцем передается на поперечину в виде двух сил, приложенных в центра тяжести опорных полуфланцев;

расстояние «b» между центрами тяжести полуфланцев рассчитывается

 

где R-пл.н, R-пл.в - наружный и внутренний радиусы плунжера, м.

b = 0,075 м усилие на нижнюю поперечину передается в виде равномерно распределенной нагрузки по длине, равной 2/3 расстояния между центрами колонн верхняя и нижняя поперечины заменяются брусьями с постоянным моментом инерции по их длине жесткостью плит, монтируемых на столе пресса пренебрегают;

температурными напряжениями от контакта с нагревательными плитами пренебрегают.

Расчетные схемы и эпюры изгибающих моментов представлены на рис 2.3.6а, 2.3.66, 2.3.6в, 2.3.6г

Рис. 2.3.6.а Расчетная схема нагружения рамы пресса

где Р - усилие, развиваемое прессом;

  - жесткости верхней и нижней поперечины;

Е , J - жесткость стоек;

а, b - размеры до центров сечения поперечин и стоек.

Для раскрытия статической неопределимости рамы условно врезают три шарнира в точках 1, 2, 3, заменяя их моментами М1 и М2.

Расчетная схема приобретает вид, представленный на рис. 2.3.6б.

Рис. 2.3.6б - Расчетная схема пресса после замены шарниров моментами MI и M2

2.3.6.в - Эпюры изгибающих моментов от действия момента М1(внутренних сил).

Рис. 2.3.6.г - Эпюры изгибающих моментов от действия момента М2(внутренних сил)


Для определения моментов  и , возникающих в шарнирах, используют метод канонических уравнений. Коэффициент канонических уравнений определяют по правилу Верещагина

 (2.3.6.2)

 

 

 

Система канонических уравнений

    (2.3.6.6)

Моменты будут равны

 

 

Подставляя коэффициенты в формулы для  и , получим расчетные формулы для определения моментов  и .

 

 

Учитывая, что жесткость поперечин велика, ее можно принять за бесконечно большую величину, определяем  и  при

 

 

тогда окончательно расчетные формулы для моментов  и

 = -Р⋅а/4 = 2,5-0,66 / 4 = 0,41Н⋅м

 = 0.

Максимальные напряжения, возникающие в поперечинах под действием наибольшего суммарного изгибающего момента:

σи= Мmах-Сц / Jx

где Мmах - максимальная величина изгибающего момента, определяемая по суммарной эпюре моментов, действующих на раму, Н⋅м;

Сц - координата центра тяжести сечения рамы, Сц = 7,1;

Jx - момент инерции сечения рамы относительно оси, проходящей через центр тяжести поперечины, Jx = a⋅b /12= 0,51м . σи= 2,5⋅7,1 /0,51 =34,8 МПа для стали СтЗ ГОСТ 380-94 [σи] = 40 МПа.

Таким образом, σи < [σи], т.е. 34,8 МПа < 40 МПа, следовательно, условие прочности выполняется.

 

.3.7 Расчет пресс-формы на прочность [22]

Для предотвращения разрыва и деформации матрицы от давления резиновой смеси при формовании под действием усилия пресса, толщина стенки и выбранный материал должен обеспечить прочность. Стенку матрицы пресс-формы проверяют на действие растягивающих и изгибающих напряжений, возникающих в стенке матрицы. Стенка матрицы в опасном сечении проверяется на допустимое напряжение по формуле:

Р2 / 2⋅F + М / W < [σ]

где Р2 - растягивающее усилие, Н;

F - площадь поперечного сечения матрицы, м2;

М - изгибающий момент, Н-м;

W - момент сопротивления сечения стенки, м ;

Растягивающее усилие определяется по формуле:

Р2 = p0-h⋅L2

где p0 - удельное давление формования, МПа, р0 = 0,6 МПа; h - высота оформляющей полости, м; L2 -ширина оформляющей полости гнезда пресс-формы, м. Р2 = 6⋅105⋅0,084⋅0,065 = 3276 Н

Площадь сечения:

 = h⋅δ

где h, δ - высота и толщина наружной матрицы (обоймы), м.

F = 0,008⋅0,02 = 0,0016 м2

Изгибающий момент определяем по формуле:

М = F1 ⋅ L1/121=p0 ⋅h⋅ L1

1= 6⋅105⋅0,084⋅0,12 = 6048 Н,

М = 6048-0,12 / 12 =60,48 Н⋅м

Момент сопротивления сечения:

 = h⋅δ2 /6

 = 0.084⋅0.022 / 6 = 5.6⋅10-6 м3

Подставив значения в формулу (2.3.7.1), получим: σ = 3276/2⋅0,0016 + 60,48/5,6⋅10-6 = 10,9⋅106 Н/м2 = 10,9 МПа для стали Ст 45 [а] = 354 МПа. Таким образом, σ< [σ] , т.е. 10,9 МПа < 354 МПа, следовательно, условие прочности выполняется.

 

3. Ремонт и монтаж оборудования


Прессы классифицируют по следующим основным признакам:

.        по направлению прилагаемого усилия (вертикальные, горизонтальные и угловые); вертикальные прессы применяют с верхним давлением, с нижним давлением и с цилиндрами обратного действия (ретурными цилиндрами);

.        по числу рабочих цилиндров (с одним, двумя и более);

.        по типу привода (с индивидуальным или групповым);

.        по способу управления (с ручным, полуавтоматическим и автоматическим);

Наиболее широко в переработке резины применяют прессы с полуавтоматическим управлением, которые в свою очередь классифицируются:

.        по форме станины (колонные, рамные и т.д.);

.        по способу обогрева пресс-форм ( с электрическим, паровым индукционным обогревом)

.        по мощности рабочего усилия различают прессы на 25 кН (2,5 тс), 400 (40), 630 (63), 1000 (100), 1600 (160), 2500 (250), 4000 (400), 6300 (630), 10000 (1000) и 20000 (2000);

.        по специфике конструкции - этажные, карусельные.

3.1 Подготовка фундамента [21]


Фундамент под пресс служит для распределения сосредоточенной силы от веса пресса в соответствии с несущей способностью грунта; стабильного положения пресса при любых грунтовых условиях; повышения устойчивости пресса за счет понижения центра тяжести; гашения вибраций и ударных воздействий.

Фундаменты гидравлических прессов для неметаллических материалов рассчитывают в основном на вес машин, поскольку они тихоходны.

В зависимости от веса машины, количества и сложности агрегатов, входящих в нее, фундаменты могут быть простой и сложной конфигурации. Наиболее простым является монолитный бетонный фундамент под пресс, устанавливаемый непосредственно на уровне пола.

В комплекте технической документации, поставляемой с прессом, имеется строительное задание на фундамент и перекрытия, в котором дается планировка фундамента, размеры приямков и элементов перекрытия, установочные размеры и нагрузочные характеристики.

Рабочие чертежи фундамента должны быть разработаны специализированной строительной организацией.

При проектировании фундамента глубину заложения его и материал выбирают исходя из характеристики грунта. В качестве материала для фундаментов под прессы используют бетон марки 150 - 200. Опоры под тяжелые прессы выполняют железобетонными. По периметру фундамент окантовывают уголками. Чрезвычайно важным является выбор способа соединения машины с фундаментом.

Станины прессов крепят с помощью заливных фундаментных или анкерных болтов. Заливной болт представляет собой обычный болт, но с загнутыми или раздвоенным концом, который препятствует выдергиванию болта из бетона при затягивании гайки. Установка заливных болтов затрудняет монтаж машины в тех случаях, когда болты устанавливают в фундамент при изготовлении и при затвердевании бетона, ибо расстояние между болтами должно строго соответствовать расположению отверстий в станине пресса. Для упрощения монтажа фундамент сооружают без болтов, но в нужных местах оставляют специальные колодцы для их установки. Размер колодцев в плане примерно 250x250 мм. Колодцы делают со скосом, обеспечивающим заливку цементного раствора и ввод вибратора.

При установке станины болты вставляют в отверстия, располагают их в определенном положении в колодцах, после чего заливают цементным раствором.

Анкерные болты, состоящие из болта с головкой и анкерной плиты, заливаемой в фундамент при его изготовлении, устанавливают в том случае, когда на фундамент воздействуют динамические нагрузки.

Следует отметить, что за счет большей свободной длины анкерные болты позволяют более надежно закрепить машину.

При изготовлении фундамента чрезвычайно важно отметить оси и дать высотные отметки.

Нанесение осей при строительстве фундамента особенно важно для прессов с системой механизации. Знаки, определяющие положение осей на фундаменте, называют плашками. Плашки устанавливают в двух удаленных друг от друга точках фундамента. На плашках, представляющих собой кусок стальной балки или швеллера, наносят кернами точки, определяющие осевую линию. Знаки высотных отметок называют реперами. Репером обычно служит стальной стержень с полукруглой головкой типа заклепки. Репер должен быть приварен к арматуре.

Устанавливать машину на фундамент можно только после его выдержки, которую необходимо строго соблюдать; период выдержки определяется продолжительностью осадки фундамента. Тяжелые фундаменты оседают в течение 8, а иногда 10-15 дней. Поэтому сразу после затвердевания фундамента определяют высотные отметки реперов и за их изменением наблюдают до прекращения осадки. Последнее положение реперов записывают перед монтажом пресса.

Пресс можно устанавливать непосредственно на поверхность фундамента, на металлические подкладки, на металлическую поверхность фундаментной рамы или каркаса.

Использование подкладок позволяет регулировать положение машины с большой точностью. Подкладки устанавливают пакетами по периметру основания машины. В пакете должн быть не более пяти подкладко, так как большое количество подкладок создает большой суммарный зазор. Подкладки применяют двух типов: толстые - установочные и тонкие -регулировочные. Установочные подкладки изготавливают толщиной 5-100 мм, а регулировочные - до 5 мм.

Количество пакетов подкладок рассчитывают из условий допускаемого сопротивления бетона на сжатие. Выверка оборудования на фундаменте производится клиньями, которые забивают между временными подкладками и подошвой оборудования. В отдельных случаях, когда по условиям выверки это необходимо, применяют реечные или клиновые домкраты. В дальнейшем подкладки и клиновые домкраты заливаются подливкой.

Участки фундамента, на которые устанавливают машины, должны быть очищены и выровнены.

При установке в фундамент опорных металлических рам необходима выверка их по уровню.

3.2 Монтаж пресса [21]


Монтаж прессовой установки, как правило, начинают со сборки станины пресса. Порядок монтажа станины устанавливают в зависимости от ее конструктивного исполнения.

Сборку станины рамного типа следует производить в горизонтальном положении, рядом с фундаментом. Если собирается односекционная станина, состоящая аз двух рам, соединенных в нижней части одним или несколькими цилиндрами, то выполнять следует сборку совместном с цилиндрами.

Для сборки станины должна быть подготовлена ровная площадка, на которую устанавливают опоры для ригелей рамы. Опоры должны быть таких размеров, чтобы был обеспечен хороший доступ к гайкам стяжных шпилек и головкам стяжных болтов. Раму укладывают на опоры, на нее устанавливают цилиндры и распорки. После чего накрывают второй рамой и крепят стяжными болтами и шпильками.

Подъем рамной станины в вертикальное положение и установку на фундамент следует производить краном или с помощью мачт. После установки станины на фундамент выполняют монтаж поперечин и плит. Ввиду того, что доступ к внутренним точкам станин рамного типа ограничен, для установки всех перечисленных элементов требуются специальные приспособления Наиболее целесообразно смонтировать проходящие через раму балки, используемые в качестве салазок. Подлежащие монтажу внутри рамы детали можно втягивать по салазкам с помощью лебедок.

Когда высота помещения ограничена и нет возможности производить зачалку деталей через проемы в верхней части станины, поднимать детали можно ходом стола после подключения гидравлики. После подъема поперечины и пакета плит в верхнее положение крепят верхнюю поперечину а монтируют опорные лестницы плит При монтаже пресса необходимо проверить нормы точности в соответствии с требованиями технических условий.

3.3 Организации ремонтных работ


Безотказная длительная работа оборудования может быть достигнута при четкой организации планово-предупредительных ремонтов. Под планово- предупредительным ремонтом понимают восстановление работоспособности машин путем рационального технического ухода, замены и ремонта изношенных деталей и узлов по заранее составленному плану.

Система ПНР предусматривает проведение профилактических осмотров и плановых ремонтов после отработки каждым агрегатом заданного количества часов ПНР заключается в выполнении работ по техническому уходу и оборудованием и проведении плановых ремонтов.

Технический уход за оборудованием предусматривает выполнение правил эксплуатации, а также своевременное устранение мелких неисправностей, течей в системе гидропривода и в трубопроводах системы нагрева и охлаждения и регулирование механизмов. Технический уход должен выполняться во время перерывов в работе машин, не нарушая процесса производства.

Ежемесячно должна производиться очистка греющих плит по рабочим плоскостям

Ремонтные работы можно разделить на следующие основные виды: текущий и капитальный ремонт

При текущем ремонте путем замены или восстановления изношенных деталей и регулировки механизмов обеспечивается нормальная эксплуатация пресса до очередного планового ремонта.

При капитальном ремонте производится полная разборка пресса, замена изношенных деталей и узлов, ремонт базовых деталей и узлов, сборка, регулировка, испытание пресса под нагрузкой.

Межремонтный цикл состоит из планового выполнения ремонтных работ я работ по техническому обслуживанию в период между капитальными ремонтами или между вводом в эксплуатацию и первым капитальным ремонтом

Чередование ремонтных работ в межремонтный цикл для прессов может быть представлено следующим образом

К-О-О-О-Т-О-О-О-Т-О-О-О-Т-О-О-О-Т-О-О-О-Т-О-О-О-Т-О-О-О-Т-О-О-О-Т-О-О-О-К

где К капитальный ремонт, О - осмотр, Т- текущий ремонт.

Для гидравлических прессов межремонтный цикл в часах составляет

 

где =1.5 - для единичного и мелкосерийного производства;  = 1,3 - для серийного производства; =1,0 - для массового и крупносерийного производства; к = 18600 - при «возрасте» прессов до 20 лет; к = 16900 - если более 20 лет

Межремонтный период

 

Межосмотровый период:

 

3.4 Содержание типовых работ по ремонту механической части


Техническое обслуживание:

Ежедневный надзор и уход за прессом при его пуске, работе и остановках производится оператором-прессовщиком, обслуживающим пресс, и дежурными слесарями и электриками.

При осмотре производятся следующие основные работы:

Очистка и обтирка частей пресса от пыли, грязи, масла, вы прессовок (облоя) и др.

Наблюдение та работой контрольно-измерительных приборов

Наблюдение та состоянием болтовых и трубопроводных соединений

Чистка магнитосетчатого фильтра.

Проверка уровня и температуры масла в гидробаке и периодическая смена его с промывкой гидробака.

Контроль температуры нагревательных плит.

Проверка состояния мягких уплотнений плунжеров.

Проверка состояния поверхности направляющих, плунжеров и штоков, зачистка тали ров. забоин, царапин.

Периодическая проверка времени цикла автоматической работы пресса.

Проверка работы предохранитеьлных устройств.

Узлы пресса не требуют специальной смазки.

Смену манжет проводить в следующем порядке.

1.     Сомкнуть нагревательные плиты до исчезновения зазора между ними и сразу выключить насос нажатием кнопки «Стоп».

2.      Соединить стол пресса с верхней траверсой 4-мя стяжками и болтами Ml6, использую 4 отверстия Ml6 с каждой стороны пресса: два в столе и два в верхней траверсе.

.        Вывернуть винты из полуколец, соединяющих плунжер гидроцилиндра со столом, включить насос и опустить плунжер.

.        Снять полукольца с плунжера, вывернуть винты, крепящие фланец гидроцилиндра к корпусу, и снять фланец.

.        Крючком вынуть поврежденную манжету и установить новую.

.        Отвернуть гайки шпилек крышки плунжера и снять крышку, вывернуть из корпуса вспомогательного гидроцилиндра втулку и заменить дефектную манжету качественной.

.        Последующие действия вести в обратной последовательности.

Текущий ремонт:

.       Разборка клапанных распределителей, замена изношенных уплотнений, притирка клапанов к седлам.

2.      Протирка пресса, продувка сжатым воздухом, очистка поверхностей греющих плит.

.        Составление ведомости дефектов и выявление деталей, подлежащих замене при ближайшем плановом ремонте.

.        Ремонт или замена изношенных деталей, которые не могут проработать до следующего планового ремонта.

.        Проверка подшипников качения в механизмах загрузки и выгрузки.

.        Проверка работы и регулирование гидравлической аппаратуры и предохранительных устройств.

.        Слив масла из гидросистемы, промывка гидросистемы, заливка свежего масла.

.        Зачистка обнаруженных задиров, царапин, забоин и заусенцев на направляющих, плунжерах и штоках.

.        Проверка производительности насосных установок.

.        Проверка герметичности гидросистемы после ремонта гидроаппаратуры.

.        Проверка отсутствия утечек через золотниковую аппаратуру.

.        Разборка всех уплотнительных узлов плунжеров и штоков, проверка состояния уплотнений и смена изношенных колец.

Капитальный ремонт:

.       Полная разборка прессовой установки и всех ее узлов.

2.      Промывка и протирка всех деталей и осмотр.

.        Замена изношенных деталей или их восстановление.

.        Наплавка стальных плунжеров твердым сплавом и шлифование доя паспортного размера.

.        Перешлифовка чугунных плунжеров после обмера и определения степени износа.

.        Изготовление нового комплекта нажимных и опорных втулок.

.        Проверка состояния греющих плит, ремонт или замена изношенных.

.        Замена изношенных узлов гидропривода.

.        Замена насосов гидросистемы.

.        Проверка трубопроводов и смена участков трубопровода с толщиной стенки, не соответствующей паспортным данным.

.        Смена всех крепежных деталей.

.        Сборка узлов и проверка норм точности и паспортных данных.

.        Шпатлевка и окраска в соответствии с техническими требованиями на отделку.

.        Наладка и испытания на холостом ходу и под нагрузкой.

При капитальном ремонте необходимо проверить состояние фундамента, исправить разрушенные участки, проверить установку машины и произвести подливку цементным раствором.

Строгое соблюдение системы планово-предупредительных ремонтов позволяет обеспечить надежную длительную работу оборудования.

4. Техника безопасности при работе


Техника безопасности включает в себя организационные и технические мероприятия по предупреждению аварийных ситуаций и несчастных случаев.

Организационные: инструктаж и обучение рабочих и ИТР безопасным методам и приемам работы; разработка и соблюдение санитарных норм, планов контроля и аттестация рабочих мест; расследование и учет несчастных случаев на производстве; проведение учений и тренировок по ГТЛАС (плану ликвидации аварийных ситуаций).

Технические: обеспечение работающих индивидуальными средствами защиты (ИСЗ); нанесение окраски, маркировки, надписей на оборудовании; соблюдение требований к приборам безопасности, установка их; замеры воздушной среды, стоков и метеорологических характеристик; снабжение средствами пожаротушения.

Каждый работающий проходит первичный инструктаж при поступлении на завод, в чехе проходит обучение на допуск к самостоятельной работе, и инструктаж по цеховым и должностным инструкциям. В должностной инструкции на данное рабочее место оговорены все требования, права и обязанности работающего. Кроме того, рассмотрен порядок действий при возникновении аварийной ситуации, вызов служб газоспасания, лаборатории, пожарных.

4.1 Требования техники безопасности при монтаже и ремонте оборудования


Монтаж оборудования должен производится в строгом соответствии с проектом и планом производства работ, в которых указаны: порядок разгрузки оборудования, способы строповки, грузоподъемные средства и приспособления, способы подготовки фундамента и т.д.

Монтаж оборудования может осуществляться как на новое место, в строящемся корпусе, так и взамен демонтированного, в действующем цеху. В первом случае не требуется дополнительных мер по подготовке, требуется лишь поставить ограждения вокруг места работы, обеспечить освещение, убрать сгораемые материалы, положить настилы на открытые проемы, во втором же случае требуется полная подготовка: проверка монтажных проемов и проходов под размеры монтируемого оборудования, энергоносителей, расположенных вблизи места монтажа, отключение линий электропитания, и даже демонтаж их.

Сдача оборудования в текущий и капитальный ремонт осуществляется по акту с росписями сторон = технологов и ремонтников. В случае ремонта оборудования из-под хим-продукта, а также огневых и газоопасных работах наряд-допуск выдается на основании анализов воздушной среды на взрывную концентрацию, а для газоопасных - еще и и анализ на содержание кислорода и на ПДК углеводородов. Выведенное в ремонт оборудование должно быть отключено от электропитания, энергоносителей, выставлено ограждение, вывешены предупредительные плакаты. При проведении сварочных работ - убрать сгораемые материалы в радиусе 5 м, выставить огнетушитель, кошму, ведро с водой. Работать кабелями прямого и оборотного тока, с соединениями с клеммами, проверенным трансформатором.

Слесарный инструмент должен быть исправным, заводского изготовления, запрещается стачивать губки гаечных ключей, удлинять их для приложения больших усилий; бойки зубил, молотков должны быть без наклепа, заусенцев, сколов; рукоятки молотков - без трещин.

 

.2 Защита от статического электричества и поражения электрическим током


Производство манжет расположено в сухом надземном помещении, по опасности поражения эл. Током относится к третьей категории - помещений без повышенной опасности, используются напряжения 220 и 380 В для стационарного и персонального освещения соответственно; 380 В - для остального промышленного оборудования - вальцов, прессов, червячных машин и т.д.

У каждой единицы электрооборудования и машин имеется стационарное заземление, выведенное на общий заземлительный контур, сопротивление которого проверяется каждый год.

Технологический и ремонтный персонал ограничен в праве эксплуатировать электроустановки до 380 В, для предотвращения травм.

Источники статического электричества: трубопроводы воды, пара и пр. , насосы.

Для предотвращения несанкционированного или несознательного соприкосновения к токоведущим частям применяются: ограждения их со специальным ключом, блокировка от прикосновения, пониженные напряжения цепей управления. Используются плакаты и знаки безопасности предупреждающие и запрещающие.

Защита от накопления и опасных проявлений статического электричества основана на следующих принципах:

уменьшение процесса генерации электростатических зарядов (ограничение скорости переработки и транспортировки материалов и др.);

.        исключение опасных разрядов статического электричества (заземление проводящих объектов, изменение распределительной емкости наэлектризованных диэлектриков и др.);

.        рассеяние возникающих электростатических зарядов (увеличение проводимости самих материалов и окружающей среды).

Для отвода в землю зарядов статического электричества с человека применяется антиэлектростатическая обувь с электропроводящей подошвой, электростатическая спецодежда и предусматривается устройство электропроводящих полов.

Электрическое сопротивление между токопроводящими элементами антиэлектростатической спецодежды должно быть от 106 до 108 Ом.

 

Заключение


В процессе изготовления резинотехнических изделий из - за изнашивания оборудования снижается герметичность гидравлического цилиндра, что приводит к снижению максимального усилия, который он может развить Предложенное мной нововведение - усовершенствование гидропривода гидравлического вулканизационного рамного пресса типа 250 600 4Э путем установки насоса Н 401 У, что позволит увеличить давление в гидроцилиндре, что в свою очередь позволит снизить себестоимость производства манжет и увеличит производительность, тем самым повысит конкурентоспособность данного вида изделия на рынке - это гарантированно приведет к увеличению прибыли предприятия.

Но так или иначе большинство предприятий данной отрасли производства демонстрируют достаточно низкие темпы роста объемов производства. Причина - устаревшие технологии и оборудование.

Так и рассматриваемый гидравлический вулканизационный рамный пресс, произведенный Тамбовским заводом полимерного машиностроения является давно устаревшим. Требуется его дальнейшая модернизация или замена на производстве, т.к. покупка нового оборудования требует больших материальных затрат, предлагаю дальнейшую модернизацию рассматриваемого оборудования.

В процессе работы гидравлического вулканизационного рамного пресса происходит нагрев гидроцилиндра за счет теплопередачи от нагревательных плит и разогрева самой рабочей жидкости в процессе производства. Характеристики используемого в качестве рабочей жидкости масла ГОСТ 20799-78 не допускают увеличения температуры выше 55 °С, после чего масло может потерять свои смазывающие свойства. Предлагается установить холодильник на гидроцилиндр, что позволит избежать лишних затрат, связанных с частой заменой масла из-за несоблюдения температурного режима работы гидросистемы. Существенным для повышения производительности труда на заводах РТИ является сокращение времени на выполнение основных и вспомогательных операций при вулканизации изделий. Кроме того, доказана не только возможность, но и целесообразность применения сокращенных режимов вулканизации при повышенных температурах.

Также считаю, что внедрение перезарядчиков на данный вулканизационный пресс будет технически более выгодно - позволит работать на пресс-формах, по размерам равных нагревательным плитам (в данный момент пресс-форма занимает только 87 % площади нагревательной плиты), также данный вид механизации позволит увеличить скорость смыкания и разъема плит пресса в среднем в 3 раза.

Применение вулканизационных прессов с перезарядчиками позволяет в 2 раза увеличить производительность данного оборудования и производительность труда, улучшить условия и культуру труда, в 2-3 раза увеличить долговечность пресс-форм и на 15 -20% снизить расход электроэнергии.

Список использованных источников


1.     Муратов Э.О., Межуев В.В. и др. Оборудование для производства формовых резиновых изделий. М. : Машиностроение, 1978, 232с.

2.      Кал ер И.М. Разработка конструкций и метода расчета .пресс-форм с отжимными кромками для изготовления безоблойных резинотехнических изделий методом компрессионного формования. Автореферат диссертации; М., 1994, 16 с.

.        Калер И.М., Водяков В.Н., Меркулов И.И., Казанков Ю.В. Исследование напряженно-деформированного состояния безоблойных пресс- форм. М., 1991.

.        Ахрамеев А.Ф., Крылов Н.Г., Конгаров Ю.С. Техникоэкономические основы перевода формовых РТИ на литьевой способ производства. М.: ЦНИИТЭ нефтехим., 1982, 51с.

.        Бекин Н.Г., Шанин Н.П, Оборудование заводов резиновой промышленности. JL: Химия, 1978, 397с.

.        Белозеров Н.В. Технология резин. М., 1964, 660 с.

.        Шейн B.C., Шутилин Ю.Ф., Гриб А.П. Основные процессы резинового производства. Д.: Химия, 1988, 159 с.

.        Барсков Д.М. Машины и аппараты резинового производства. М.: Химия, 1975, 600 с.

.        Михеев М. А., Михеева И.М. Основы теплопередачи. М.: Энергия, 1977, 342с.

.        Анурьев В.И. Справочник конструктора-машиностроителя: в 3- хт. - 9-е изд. М.: Машиностроение, 2006, 928с.

.        Кошелев Ф.Ф., Корнев А.Е., Буканов А.М. Общая технология резины. - изд. 4-е. М.: Химия, 1978.- 528 с.

.        Шутилин Ю.Ф. Справочное пособие по свойствам и применению эластомеров: Монография. Воронеж. Гос. Технол. Акад. 2003.- 871 с.

.        Скачков А.С„ Левин С.Ю. Оборудование предприятий резиновой промышленности. М., «Высшая школа», 1968, 347 с.

.        Иванов M.H. Детали машин. М.: Высшая школа, 200, - 383 с.

.        Завгородний В.К. Оборудование для переработки пластмасс: Справочное пособие по расчету и конструированию. М.: Машиностроение, 1976, - 407 с.

.        Добринский Н.С. Гидравлический привод прессов. М.: Машиностроение, 1975,- 222 с.

.        Михалев М.Ф. Расчет и конструирование машин и аппаратов химических производств: Примеры и задачи. Л.: Машиностроение, 1984, - 301 с.

.        ГОСТ 12.0002. 74. Опасные и вредные производственные факторы, Классификация.

.        Цыганок И.П. Вулканизационное оборудование шинных заводов. М.: Машиностроение, 1967, - 327 с.

.        Методические указания по выполнению экономической части дипломных проектов / сост. В.В. Бакаев; ВолгГТУ. - Волгоград, 2001, - 19 с.

.        Достижения науки и техники в области резины. Сборник статей НИИРПА. Под ред. Ю.С. Зуева. М.: Химия, 1969, - 342 с.

.        Завгородний В.К. Механизация и автоматизация пререработки пластических масс. М.: Машиностроение, 1970, - 596 с.

.        Макаренко В.Г. Схемы автоматизации: Учеб.-метод, пособие к курсовому и дипломному проектированию/Юж.-Рос.гос.техн.ун-т. Новочеркасск: ЮРГТУ, 1999.- 47с.

.        Кирюшин О.В. Управление техническими системами: курс лекций. - Уфа: Изд-во УГНТУ, 2003. - 80 с.

.        Загорейко Б.А. и др. Вулканизационные электроплиты равномерного поля. Труды ВНИИРТмаша, вып. 3, Тамбов, 1969, - с191-210.

.        Мюллер Э. Гидравлические прессы и их привод. Перевод с нем. М.: Машгиз, 1960, - 248 с.

.        Лукомская А.И., Баденков П.Ф., Кеперша Л.М. Тепловые основы вулканизации резиновых технических изделий. М.: Химия, 1972, - 359 с.

.        Спорягин Э.А., Красовский В.Н. оборудование заводов резиновой промышленности. Минск: Высшая школа, 1971, 295 с.

.        Чекмарев А.А., Осипов В.К. Справочник по машиностроительному черчению. М.: Высшая школа., 1994,- 671 с.

.        Проектирвоание машиностроительных заводов и цехов: в 6-ти т. / под ред. Е.С. Ямпольского. Т.6. Проектирование общезаводских служб и генерального плана. Машиностроение, 1976, - 414 с.

.        Лащинский А.А., Толчинский А.Р. Основы конструирования и расчета химической аппаратуры: справочник,3-е издание, стереотипное, - М.: ООО ИД «Альянс», 2008, - 752 с.

.        Бекин Н.Г., Шанин Н.П. Оборудование заводов резиновой промышленности .Л.: Химия, 1978, - 397 с.

.        Патент       RU №2401714 В 21 D 22/22 В 21 D 24/02 В 30       В 15/02,

.        Пресс с нижним приводом. Авторы: Амино Хироюки (JP). Опубликовано: 10.20.2010

.        Патент       RU №2388600 В 29 С 45/40, Способ извлечения

.        сформованного изделия из пресс-формы, устройство для его осуществления и сформованное изделие. Авторы: МИЛЛЕР Уильям Э. (US) Опубликовано: 10.05.2010

.        Патент RU №>2368903 G 01 N 33/44 С 08 I 3/24, Способ управления процессом вулканизации. Авторы: Бирюков Владимир Петрович (RU), Сочнев Александр Николаевич (RU). Опубликовано: 27.05.2008

.        Патент RU №2163196 В 30 В 15/24, Гидравлический пресс Авторы: Сошников B.C.; Баранов И.В.; Пылайкин П.А.; Койрес В.И.; Кологойда А.Н.; Кабдин B.C. Опубликовано: 20.02.2001

.        Патент RU №2136499 В 30 В 7/02, Гидравлический этажный пресс Авторы: Блик Ф.С.; Баранов И.В.; Щипанов С.К.; Шпыгарь С.А.

Опубликовано: 10.09.1999

.       Патент RU № 2162032 В 30 В 15/16 , Гидравлический пресс. Авторы: Дворников J1.T.; Зимарин П.А. Опубликовано: 20.01.2001

41.    Патент RU №89022 U1 МПК В30В15/04, Способ формования прессованием и устройство для его осуществления Авторы: Такеути Синия (JP), ФудзимураТосицугу (JP) Опубликовано: 20.10.2010

.        Паспорт 432.381 ПС на пресс 250-600-4Э ГОСТ 11997-75. Министерство хим. И нефт. Машиностроения. - 1979 г.- 59 с.

.        Поникаров И. П., Поникаров С. П., Рачковский С. В. Расчеты машин и аппаратов химических производств и нефтегазопереработки (примеры и задачи). Учебное пособие. М.: Альфа-М, 2008 г., 717 с.

Тимонин А. С. Машины и аппараты химических производств. М.: Химическое машиностроение, 2008 г., 872 с.

Похожие работы на - Рамный вулканизационный пресс с усовершенствованием конструкции главного силового гидроцилиндра

 

Не нашли материал для своей работы?
Поможем написать уникальную работу
Без плагиата!
Без нейросетей!