Автоматизация установки комплексной подготовки газа заполярного газонефтеконденсатного месторождения
Федеральное
государственное бюджетное образовательное учреждение
высшего
профессионального образования
«Уфимский
государственный нефтяной технический университет»
Кафедра
автоматизации технологических процессов и производств
Дипломный
проект
АВТОМАТИЗАЦИЯ
УСТАНОВКИ КОМПЛЕКСНОЙ ПОДГОТОВКИ ГАЗА ЗАПОЛЯРНОГО ГАЗОНЕФТЕКОНДЕНСАТНОГО
МЕСТОРОЖДЕНИЯ
Студент
Ляпустин Е.С.
Уфа
Содержание
Введение
1. Цех осушки газа УКПГ-1С
.1 Назначение цеха осушки газа
.2 Характеристика производства
.3 Характеристики исходных, товарных
и вспомогательных продуктов
1.4 Характеристика процесса осушки
газа
.5 Описание технологического
процесса цеха осушки газа
2. Патентная проработка
.1 Направление поиска
.2 Регламент патентного поиска
.3 Результаты поиска
2.4 Анализ
результатов поиска
3. Автоматизация цеха осушки газа
УКПГ-1С
3.1 Структура АСУ ТП ЦОГ
3.2 Описание функциональной схемы
автоматизации
.3 Описание технических средств
автоматизации ЦОГ
3.4 Уровень автоматического
управления (САУ)
3.5 Уровень оперативно-производственной
службы промысла
4. Модернизация системы
автоматизации цеха осушки газа УКПГ-1С путем подбора анализатора температуры
точки росы
.1 Формулировка задачи и анализ
проблемы
.2 Обоснование выбора анализатора
4.3 Разработка алгоритма автоматического
регулирования подачи ДЭГ в абсорберы ЦОГ
5. Охрана труда и техника
безопасности
5.1 Анализ производственных
опасностей и вредностей
.2 Мероприятия по обеспечению
безопасных и безвредных условий труда
.3 Расчет параметров установки
пожаротушения. Общая характеристика принятой установки пенного тушения.
6. Оценка экономической
эффективности от замены анализатора температуры точки росы в ЦОГ
.1 Характеристика ООО «Газпром
добыча Ямбург»
6.2 Основные источники экономической
эффективности проекта
6.3 Методика расчета экономической
эффективности проекта
.4 Расчет экономической
эффективности проекта
Заключение
Список использованных источников
Приложение А. Перечень
демонстрационных листов
Введение
Внедрение автоматизации становится неотъемлемой
частью любых технологических процессов, которые в свою очередь становятся все
более опасными и непредсказуемыми. Для исключения этих факторов и внедряются
системы автоматизации, позволяющие управлять процессами на расстоянии и влиять
на технологический процесс управляющими воздействиями с наибольшей точностью и
меньшими технико-экономическими затратами.
В данном дипломном проекте рассмотрен цех осушки
газа УКПГ-1С Заполярного газоконденсатного месторождения ООО «Газпром добыча
Ямбург», обеспечивающий подготовку товарного газа с определенными показателями
качества для дальнейшего его транспорта потребителю.
Целью дипломного проекта является автоматизация
цеха осушки газа.
Задачами дипломного проекта являются:
изучение технологии осушки и очистки природного
газа;
модернизация существующей системы автоматизации
цеха осушки газа;
разработка алгоритма автоматического
регулирования подачи ДЭГ в абсорберы ЦОГ.
Актуальность автоматизации цеха осушки газа
обусловлена необходимостью контроля за качеством осушенного газа, в том числе
поддержанию необходимой температуры точки росы, во избежание последующего
гидратообразования.
Таким образом, автоматизированная система
управления технологическими процессами (АСУТП) определяет согласованную работу
оборудования в жестких условиях непрерывного производства, гарантирует полную
информативность обслуживающего персонала и диспетчерских пунктов, отличается
высокой оперативностью, что говорит о
повышении уровня безопасности эксплуатации и возрастании надежности
технологического оборудования.
При работе был использован технологический
регламент эксплуатации установки комплексной подготовки газа УКПГ-1С
Заполярного газонефтеконденсатного месторождения.
1. Цех осушки газа УКПГ-1С
.1 Назначение цеха осушки газа
Установка предназначена для подготовки газа
сеноманской залежи к дальнему трубопроводному транспорту. Генеральный
проектировщик УКПГ-1С - ОАО «ВНИПИгаздобыча». Эксплуатацию УКПГ-1С осуществляет
Заполярное НГДУ ООО «Ямбурггаздобыча».
Природный газ находится в условиях полного
насыщения влагой (относительная влажность - 100%), и при снижении температуры
возможно гидратообразование, и как следствие закупорка трубопровода. Образование гидратных пробок в трубопроводах
газоконденсатных месторождений Крайнего Севера считается весьма серьезной аварией,
ликвидация которой является чрезвычайно дорогим мероприятием. Стоимость
ликвидации только одной крупной гидратной пробки даже в месте, доступном для
передвижения транспортных средств, может составить несколько десятков тысяч
долларов [1]. Цех осушки газа предназначен для очистки и осушки газа,
что позволяет исключить гидратообразование и нарушение режима работы
магистрального трубопровода. Качественным показателем товарного продукта -
осушенного газа является его влагосодержание, которое измеряется по точке росы
в градусах Цельсия. Этот показатель влияет на процесс перекачки газа и доставку
его конечному потребителю, особенно это актуально в холодное время года, в
связи с довольно низкими температурами окружающей среды.
Таким образом, при понижении влагосодержания
газа уменьшаются затраты на его перекачку и транспортировку по магистральному
трубопроводу, а так же увеличивается его качественные показатели как товарного
продукта, что повышает экономическую эффективность работы установки комплексной
подготовки газа.
1.2 Характеристика производства
УКПГ имеет в своем составе два параллельных
технологических модуля, в которых производится подготовка природного газа к
транспорту. В каждый технологический модуль входят:
- здание переключающей арматуры (ЗПА);
- цех осушки газа (ЦОГ);
- цех регенерации диэтиленгликоля (ДЭГ);
- здание огневых регенераторов ДЭГ.
Общими для всей УКПГ являются:
служебно-эксплуатационный блок с операторной и узлом связи, цех регенерации
метанола, здание огневых регенераторов метанола, технологическая насосная,
площадка аппаратов воздушного охлаждения (АВО) газа, установка сбросов на
свечу, свеча, газосборная сеть, узел подключения к магистральному газопроводу,
и технологические объекты вспомогательного назначения.
Сырой газ по шлейфам с давлением от 9,74 до 7,8
МПа и температурой от 9,1 до 8,7 °С поступает во входные нитки ЗПА. Входные
нитки ЗПА обеспечивают подачу газа из шлейфов на переработку или прекращение
этой подачи, продувку и сброс газа из шлейфов на свечу, контроль и редуцирование
давления газа. Сырой газ из входных ниток поступает в выходной коллектор,
расположенный за пределами ЗПА. Из каждого выходного коллектора газ
распределяется в 6 газопроводов и поступает к 6 однотипным технологическим
линиям ЦОГ с фактической производительностью 11,0-11,5 млн. м3/сут.
каждая. Из ЦОГ газ отводится на площадку охлаждения газа и поступает в
магистральный трубопровод.
В результате осушки газа точка росы паров воды
должна быть снижена до уровня ниже минимальной температуры при транспортировании
газа. Жидкие сорбенты, применяемые для осушки природных и нефтяных газов,
должны иметь высокую растворимость в воде, низкую стоимость, хорошую
антикоррозионность, стабильность по отношению к газовым компонентам при
регенерации, простоту регенерации, малую вязкость и т.д. Большинству этих
требований наилучшим образом отвечают ДЭГ и триэтиленгликоль (ТЭГ).
Этиленгликоль - простейший двухатомный спирт, используется в основном как
ингибитор, не применяется для осушки. Как показали эксперименты в лабораторных
и промышленных условиях, максимальное понижение точки росы газа при осушке ДЭГ
обычно не превышает 30-35 °С, что довольно часто оказывается недостаточным. В
связи с разработкой более глубоких газовых месторождений, температура газа
которых значительная и в летнее время почти не понижается в коммуникациях до
газоосушительных установок, потребовался более сильный влагопоглотитель. ТЭГ
получают соединением трех молекул гликоля с образованием воды. Гликоли хорошо
отбирают влагу из газов в большом интервале температур. При сравнении ДЭГ и ТЭГ
необходимо иметь в виду, что ДЭГ более дешевый. Однако при использовании ТЭГ
можно получить большее снижение точки росы газа (на 45-50 °С). Потери ТЭГ при
регенерации значительно меньше, чем потери ДЭГ вследствие более низкой
упругости паров. На ЦОГ в качестве сорбента используется водный раствор ДЭГ
высокой концентрации.
при
транспортировке газа по шлейфам - коллекторам (от кустов до УКПГ) происходит
его охлаждение за счет теплообмена с окружающей средой, а также за счет
незначительного дpосселиpования, связанного с потерями давления на трение.
Природный газ находится в условиях полного насыщения влагой, поэтому при
снижении температуры возможно гидратообразование. Для предотвращения
гидратообразования и ликвидации образовавшихся кристаллогидратов предусмотрена
централизованная подача в шлейфы - коллекторы ингибитора гидратообразования -
метанола. Отработанный раствор метанола поступает на установку регенерации
метанола.
1.3 Характеристики исходных, товарных и вспомогательных
продуктов
Исходным сырьем является газ сеноманской
газоносной толщи. Характеристика сырого газа, поступающего на установку осушки
газа, приведена далее: CH4
- 98.43% об., C2H6
- 0.11% об., C3H8
- 0.02% об., N2
- 1.1% об., CO2
- 0.35% об.
Получаемая на промысле товарная продукция -
очищенный от механических примесей и капельной жидкости природный газ, имеющий
следующие основные физико-химические и технические свойства:
газ без цвета, запаха и вкуса;
температура кипения -161,6 °С;
величина предельно-допустимой концентрации (ПДК)
в производственном помещении 300 мг/м3;
пределы взрываемости в смеси с воздухом: нижний
- 4.5% об., верхний - 15% об.
Товарный газ должен соответствовать требованиям
ОСТ 51.40-93 «Газы горючие природные, подаваемые в магистральные газопроводы.
Технические условия», изложенным в таблице 1.1.
Таблица 1.1 -
Требования к осушенному газу
|
Показатель
|
Значение
показателей
|
|
с
01.V по 30.IX
|
c 01.X
по 30.IV
|
|
Точка
росы газа по влаге, °С, не выше
|
-10
|
-20
|
|
Точка росы газа по углеводородам, °С,
не выше
|
-5
|
-10
|
|
Масса сероводорода, кг/м3, не более
|
7
|
|
Масса меркаптановой серы, кг/м3, не более
|
16
|
|
Объемная доля кислорода, %, не более
|
1,0
|
|
Теплота сгорания низшая, при 20 °С и 101,325 кПа, МДж/м3,
не менее
|
32,5
|
|
Пределы взрываемости в смеси с воздухом: низший, % высший, %
|
4,9 16,0
|
В цехе осушки газа в абсорерах в качестве
абсорбента применен раствор ДЭГ высокой концентрации. Характеристика ДЭГ
приведена в таблице 1.2.
Таблица 1.2 - Характеристика ДЭГ
|
Параметр
|
Величина
|
|
Плотность
при 20 °С, кг/м3
|
1118
|
|
Температура
кипения при 760 мм рт. ст., °С
|
245
|
|
Температура
плавления, °С
|
-
8
|
|
Температура
вспышки в закрытом тигле, °С
|
124
|
|
Температура
воспламенения на воздухе, °С
|
350,5
|
|
Температура
начала разложения, °С
|
164,5
|
|
Содержание:
основного вещества, % масс., не менее влаги, % масс., не более этиленгликоля,
% масс., не более
|
96,5
- 98,7 0,1 - 0,4 0,2 - 0,8
|
|
Число
омыления на КОН, не более
|
0,1
- 0,4
|
|
Цветность
по платинокобальтовой шкале, не более
|
15
|
|
Вязкость
при 20°С, Па·с
|
0,145
|
|
Гарантийный
срок хранения, мес.
|
6
|
Для борьбы с гидратами в качестве ингибитора
гидратообразования применяется метанол. Характеристика 100%-го метанола
приведена в таблице 1.3.
Таблица 1.3 - Характеристика метанола
|
Параметр
|
Величина
|
|
Плотность
при 20°С,
г/см3
|
0,792
|
|
Температура
кипения, °С
|
64,509
|
|
Температура
плавления, °С
|
-
97,88
|
|
Температура
вспышки, °С
|
8
|
|
Температура
самовоспламенения, °С
|
464
|
|
Вязкость
при 20°С,
Па·с
|
0,817
|
1.4 Характеристика процесса осушки газа
Основными
аппаратами абсорбционного процесса осушки газа являются абсорберы, в которых
газ контактирует с абсорбентом, причем этот процесс осуществляется в
ступенчатых (тарельчатых) колоннах. Механизм работы колонны с тарелками
заключается в том, что каждая тарелка действует как самостоятельная ступень контакта
для встречающихся и перемешивающихся паровых и жидких потоков, причем
контактирующие фазы стремятся к равновесию. Основные недостатки таких
абсорберов - сложность конструкции и высокое гидравлическое сопротивление.
Применение насадок
в абсорберах решает эти проблемы. Основными конструктивными характеристиками
насадки являются ее удельная поверхность и свободный объем. Конструкции
насадок, применяемых в промышленных аппаратах нефтегазопереработки и нефтехимии
можно разделить на две группы: нерегулярные (насыпные) и регулярные насадки
[1]. Основной
недостаток нерегулярных (насыпных) насадок, ограничивающий их применение в
крупнотоннажных производствах, - неравномерность распределения контактирующих
потоков по сечению аппарата. Регулярные насадки, изготавливаемые из сетки,
перфорированного металлического листа, многослойных сеток и т.д., обеспечивают
более однородное, по сравнению с традиционными насадками из колец и седел,
распределение жидкости и пара (газа) в колоннах. Кроме того, они обладают
исключительно важным достоинством, таким как низкое гидравлическое
сопротивление - в пределе до 130 Па на 1 теоретическую тарелку. По этому
показателю они значительно превосходят любой из известных типов тарельчатых
контактных устройств.
В нашем случае в качестве насадки
в абсорбере применяется регулярная насадка фирмы Sulzer
Chemtech модели Mellapak
250Y, представляющая
собой пакет гофрированных листов выполненных под фиксированной к вертикальной
оси углом в 300.
Применение регулярных насадок
позволило обеспечить равномерное распределение потоков газа и абсорбента по
поперечному сечению аппарата, непрерывное обновление контакта фаз, исключение
прохождения газа без его контакта с поглотителем. Благодаря высокой
массообменной эффективности и высокой производительности значительно снизились
потери дорогостоящего абсорбента и расходы на осушку газа.
Основные факторы, влияющие на
процесс осушки:
- температура
процесса осушки. Увеличение температуры процесса способствует, при прочих
равных условиях, повышению точки росы осушенного газа. Осушка газа гликолями
проводится обычно при температуре 25-40 °С;
давление процесса
осушки. Чем выше давление газа, подвергающегося осушке, тем меньше он содержит
водяных паров, и, следовательно, тем меньше потребуется циркулирующего раствора
для его осушки до заданной точки росы;
число тарелок в
абсорбере. Эффективность осушки газа повышается с увеличением числа тарелок в
абсорбере. Необходимый для осушки газа контакт между раствором жидкого
поглотителя и осушаемым газом достигается при 10-16 тарелках в абсорбере, КПД
тарелок обычно составляет 0,5-0,8;
количество
циркулирующего раствора гликолей. Чем большее количество циркулирующего
раствора тем меньше требуется тарелок для снижения точки росы до заданного
значения. При одном и том же числе тарелок с увеличением количество абсорбента
достигается более высокая степень осушки [2].
1.5 Описание технологического процесса цеха
осушки газа
В цехах осушки установлено по 6 идентичных
технологических линий производительностью 10 млн. м3/сут. каждая.
Каждая линия содержит в своем составе:
- блок газосепаратора с промывочной секцией;
- блок абсорбера;
- арматурный блок абсорбера.
На линии входа газа в блок газосепаратора
установлен кран проходной пневмоприводной Крп1 с байпасной линией, имеющей
ручную задвижку, предназначенную для плавного набора давления в аппарате во
время пуска установки.
Блок сепаратора представляет собой вертикальный
аппарат диаметром 1800 мм и высотой 9980 мм. Нижняя, кубовая часть аппарата
используется как ёмкость для сбора отсепарированной жидкости.
В средней и верхней частях аппарата размещены 4
тарелки. Первая над кубовой частью - сепарационная, предназначена для отделения
от газа жидкой фазы. На ней установлено 112 центробежных сепарирующих
элементов.
В середине аппарата две массообменные тарелки,
содержащие по 190 массообменных элементов. На этих тарелках осуществляется
отмывка газа рефлюксной водой от солей и механических примесей. Рефлюксная вода
подается на верхнюю массообменную тарелку из емкости в здании установки регенерации
ДЭГ насосами.
Верхняя тарелка предназначена для улавливания из
потока газа капельной жидкости, она также оснащена 112 сепарирующими
элементами.
Блок сепаратора кроме трубопроводов подвода и
отвода газа обвязан следующими коммуникационными линиями:
линия подвода рефлюкса на верхнюю массообменную
тарелку;
линии отвода из кубовой части промывочной и
отсепарированной жидкости;
дренажные линии, имеющие по одной задвижке.
На линии подвода рефлюкса установлены:
клапан пневмоприводной, регулирующий Клр1, осуществляющий
поддержание заданного количества подаваемой жидкости;
вентили с ручным приводом на входе - выходе
регулирующего клапана;
байпасная линия с вентилями запорным и
регулирующим;
клапан обратный подъемный и последняя задвижка с
ручным приводом.
На линии отвода промывочной и отсепарированной
жидкости установлены:
задвижки с ручным приводом;
фильтр с дренажной задвижкой;
клапан запорный Клз1, осуществляющий блокировку
отвода жидкости из отсека накопления по нижнему предельному уровню;
клапан регулирующий Клр2, осуществляющий
поддержание заданного уровня в отсеке накопления отсепарированной жидкости;
байпасная линия с задвижкой;
два вентиля угловых, запорно-регулирующих на
выходе линии. Вентилями устанавливается допустимый перепад давления на
регулирующем клапане.
Газ, очищенный от пластовой воды, мехпримесей и
солей, отводится с верха блока газосепаратора по трубопроводу и подается в блок
абсорбера. Блок абсорбера представляет собой вертикальный цилиндрический
аппарат диаметром 1800 мм и высотой 12200 мм. Аппарат состоит из трех
функциональных секций:
нижняя, кубовая - используется как емкость для
сбора жидкости;
средняя - массообменная;
верхняя - каплеотбойная.
Газ поступает в нижнюю часть блока абсорбера,
поднимается в среднюю его часть, где на массообменных насадках «SULZER»
происходит осушка газа за счет контакта с высококонцентрированным
(регенерированным) РДЭГ. РДЭГ подаётся в абсорбер насосами блока установки
регенерации на верхнюю и на среднюю часть насадочной массообменной секции.
Удельная подача гликоля составляет приблизительно 2,0-2,5 кг/1000 м3
на каждую технологическую нитку.
После этого газ поступает в верхнюю -
каплеотбойную секцию, предназначенную для предотвращения уноса ДЭГ с газом.
Секция оборудована сепарационными ступенями с насадками «SULZER»
и фильтр - коагулирующими насадками.
Осушенный газ отводится с верха абсорбера по
трубопроводу и далее через клапан регулирующий Клр3 и кран пневмоприводной Крп2
подается в коллектор диаметром 1000 мм осушенного газа. Пневмоприводной кран
Крп2 оснащен байпасной линией с задвижкой. Из коллектора газ поступает в пункт
хозрасчетного замера.
Регулирование подачи и отвода абсорбента, а
также отвод отделенной в абсорбере жидкости должно осуществляется с помощью
коммуникационных технологических линий блока арматурного абсорбера.
Блок содержит следующие технологические линии:
линию подвода РДЭГ в абсорбер;
линию отвода НДЭГ из абсорбера.
На линии подвода РДЭГ установлены:
клапан регулирующий Клр4, поддерживающий
заданное количество подаваемого РДЭГ;
задвижки с ручным приводом на входе и выходе
линии;
байпасная линия с задвижкой.
Между задвижками арматурного блока и абсорбером
на линиях ввода РДЭГ установлены клапаны обратные;
На линии отвода НДЭГ установлены:
задвижки с ручным приводом на входе и выходе
линии;
клапан запорный Клз2, осуществляющий блокировку
отвода НДЭГ по нижнему предельному уровню в кубовой части абсорбера;
клапан регулирующий Клр5, поддерживающий
заданный уровень НДЭГ в кубовой части абсорбера;
байпасная линия с задвижкой;
сужающее устройство (диафрагма) и вентиль
запорно-регулирующий угловой на выходе линии, обеспечивающие перепад давления
на регулирующем клапане, не превышающий допустимый (2,5 МПа).
На линии отвода НДЭГ, на выходе из блока
арматурного предусмотрена отключающая задвижка с ручным приводом.
Осушенный газ из ЦОГ сначала поступает на замер
по коллектору в пункт хозрасчетного замера, содержащего три замерные нитки.
После замера газ из ниток собирается в коллектор и поступает от пункта на
площадку аппаратов воздушного охлаждения и далее, через охранный кран в
магистральный газопровод.
Как мы видим, технологией предусмотрены
регулирующие и запорные клапаны, проходные краны и факельные задвижки. Наша
задача - с помощью средств автоматизации и контрольно-измерительных приборов
обеспечить функции измерения, регулирования, аварийной сигнализации,
дистанционного управления, сигнализации состояния и противоаварийной защиты
оборудования цеха.
Рассмотрим нормы рабочих параметров (таблица
1.4) технологических процессов, соответствующие рабочим характеристикам
участвующего в процессах оборудования, установленным техническими паспортами,
инструкциями по эксплуатации или техническими условиями поставщиков этого
оборудования.
Таблица 1.4 - Режимные параметры аппаратов
осушки газа
|
Наименование
аппарата, операции
|
Величина
|
Температура,°С
|
Давление,
МПа
|
|
Блок
сепаратора
|
|
Расход
газа, тыс. ст. м3/ч
|
420
|
2.5
|
8
|
|
Ввод
жидкости промывочной, кг/ч
|
257
|
40
|
8.1
|
|
Вывод
жидкости, кг/ч, не более
|
511
|
-
|
0.6
|
|
Уровень
воды в
аппарате,
%
|
55
|
-
|
-
|
|
Блок
абсорбера
|
|
Расход
осушенного газа, тыс. ст. м3/ч
|
420
|
2.5
|
7.9
|
|
Ввод
РДЭГ, кг/ч
|
1650
|
30
|
8.1
|
|
Вывод
НДЭГ, кг/ч
|
1750
|
10
|
0.6
|
В целях обеспечения соответствующей кондиции
товарного газа необходимо вести контроль основных показателей технологического
процесса обработки газа. В таблице 1.5 представлены основные показатели
технологического процесса и методы их контроля.
Таблица 1.5 - Параметры автоматического контроля
технологического процесса
|
Показатель
|
Величина
|
Метод
контроля
|
|
Аппарат
блока сепаратора
|
|
Давление,
МПа
|
8
|
Манометрический
|
|
Температура,°С
|
-2…2,5
|
Контактный
|
|
DР
на аппарате, МПа, не менее
|
0,02
|
Манометрический
|
|
Уровень
в кубе, %
|
55
|
По
шкале прибора
|
|
Входа
промывочной жидкости
|
|
Расход,
кг/ч
|
243…314
|
По
шкале прибора
|
|
Выход
жидкости
|
|
Давление,
МПа, не менее
|
2,5
|
Манометрический
|
|
Блока
абсорбера
|
|
Давление,
МПа
|
8
|
Манометрический
|
|
Температура,°С
|
-2…2,5
|
Контактный
|
|
DР
на аппарате, МПа, не более
|
0,06
|
Манометрический
|
|
Уровень
в кубе, %
|
55
|
По
шкале прибора
|
|
Выхода
сухого газа из абсорбера
|
|
Расход,
тыс. ст. м3/ч
|
420…446
|
По
шкале прибора
|
|
Давление,
МПа
|
7,9
|
Манометрический
|
|
Температура,°С
|
-2…2,5
|
Контактный
|
|
ТТР
в зимний период, °С
|
-20
|
По
шкале прибора
|
|
ТТР
в летний период, °С
|
-10
|
По
шкале прибора
|
|
Блок
арматурный абсорбера (линия входа РДЭГ)
|
|
Расход,
кг/ч
|
1430…1650
|
По
шкале прибора
|
|
Температура,°С
|
30
|
Контактный
|
|
Блок
арматурный абсорбера (линия выхода НДЭГ)
|
|
Давление,
МПа
|
0,6
|
Манометрический
|
|
Температура,°С
|
10
|
Контактный
|
2. Патентная проработка
.1 Направление поиска
В дипломном проекте рассматриваются вопросы
автоматизации цеха осушки газа УКПГ-1С. Одна из основных задач при
автоматизации - контроль содержания водяных паров в газе. На данный момент в
ЦОГ установлены преобразователи точки росы «КОНГ-Прима-2», поэтому при
проведении патентного поиска особое внимание было уделено способам определения
влажности газа и устройствам для их осуществления.
.2 Регламент патентного поиска
Патентный поиск проводился с использованием
фондов УГНТУ по источникам патентной документации Российской Федерации. По
зарубежным фондам поиск не проводился по причине их отсутствия.
Глубина поиска пять лет (2007 -2011 гг.). Поиск
проводился по индексам международной патентной классификации (МПК) G01N25/66: «Исследование или анализ материалов с помощью
тепловых средств путем определения влагосодержания путем определения точки
росы», G01N27/12: «Исследование или анализ материалов измерением активного
сопротивления твердого тела в зависимости от абсорбции текучей среды, твердого
тела». При этом использовались следующие источники патентной информации:
полные описания к патентам Российской Федерации;
документы справочно-поискового аппарата;
официальный бюллетень Российского агентства по
патентам и товарным знакам «Изобретения. Полезные модели».
2.3 Результаты поиска
Результаты поиска приведены в таблице 2.1
Таблица 2.1 - Результаты патентного поиска
|
Страна
|
Индекс
МПК
|
Номера
просмотренных патентов
|
Выявленные
аналоги
|
|
Россия
|
G01N25/66 G01N27/12
|
№
2361196- 2408874
№ 2442148
|
№
2361196 Способ определения влажности природного
газа после гликолевой осушки № 2408874 Низкотемпературный гигрометр №
2442148 Способ преобразования влажности газов в электрическое напряжение
(ток) и устройство для его осуществления
|
2.4 Анализ результатов поиска
Рассмотрим более подробно аналоги, перечисленные
в таблице 2.1.
Сущность способа (патент №
2361196) заключается в том, что газ пропускают над
охлаждаемой поверхностью металлического зеркала и определяют значение
температуры точки росы (ТТР). Газ при рабочем давлении подают в замкнутый
объем, с помощью зеркала охлаждают весь газ до температуры, заведомо ниже ТТР.
Устанавливают термогигрометрическое равновесие между выпавшим конденсатом и
окружающим газом и измеряют массу выпавшей на зеркало воды. Находят абсолютное,
приведенное к нормальным условиям влагосодержание, соответствующее насыщенному
газу при температуре зеркала, по известным таблицам или графикам, связывающим
влагосодержание газа с температурой точки росы при рабочем давлении.
Рассчитывают полное приведенное влагосодержание исходного природного газа по
установленномуматематическому соотношению, затем по тем же таблицам или
графикам находят ТТР.
Низкотемпературный гигрометр (патент
№ 2408874), содержит генератор света для формирования светового
потока и два зеркала. Причем одно зеркало оборудовано системой охлаждения с
термометром для охлаждения его поверхности в процессе определения значения
точки росы. Температура другого зеркала поддерживается стабильной и равной
температуре слоев, окружающих его, атмосферы. В качестве генератора света
применяют полупроводниковый лазер или лазерный диод, или светодиод, или
люминесцентный диод, формирующий световой поток. На пути генератора света
расположена плосковыпуклая линза. Световой поток после линзы взаимодействует с
делителем с возможностью расщепления на два луча равной интенсивности. Лучи
направляют через плосковыпуклые и стержневые линзы на соответствующие зеркала.
На пути отраженных от поверхности зеркал световых потоков установлены
последовательно плосковыпуклые линзы и фотодетекторы. Фотодетекторы
вырабатывают сигналы, пропорциональные интенсивности световых потоков.
Указанные фотодетекторы своими выходами связаны с соответствующими двумя
входами блока обработки информации. Третий вход блока обработки информации
подсоединен к выходу полупроводникового термометра. Выходы упомянутого блока
подключены к информационному табло и к системе охлаждения. При этом световой
поток на своем пути от генератора света до фотодетекторов заключен в световоды.
Суть принципа действия прибора заключается в следующем. В исходный момент времени
температуры зеркал и слоев атмосферы, окружающих прибор, равны между собой.
Когда же прибор начнет работать, благодаря действию элемента Пельтье,
температура первого зеркала начнет плавно понижаться и достигнет значения ТР,
на его поверхности появляются капли росы, которые частично поглощают, а
частично рассеивают энергию светового потока, падающего на поверхность этого
зеркала. В результате чего интенсивность света, попадающего на вход одного
фотодетектора, оказывается меньше, чем интенсивность света, попадающего на вход
другого фотодетектора. Вследствие этого на дисплее блока возникает яркостная
метка, выделяющая значение температуры, высвечиваемое на дисплее в тот же
момент времени. Метка указывает на то, что температура первого зеркала, в
данный момент времени, равна значению ТР окружающей прибор атмосферы.
Устройство для преобразования
влажности газа (патент № 2442148) согласно
изобретению содержит электродную пару из двух электродов, внутренний зазор
между которыми заполнен непористым диэлектриком, а вся внешняя поверхность
структуры покрыта влагочувствительным слоем, при этом электроды изготовлены из
металлов с различными собственными потенциалами.
Технический результат, получаемый
при реализации предложенного изобретения, состоит в том, что процесс
электролитической диссоциации между электродами формируют путем выбора
характеристик электродов с различными собственными потенциалами и, при
подключении нагрузки, преобразуют э.д.с. в другую электрическую величину
(напряжение/ток), в результате чего изменение влажности окружающей среды
преобразуется непосредственно в напряжение (ток) без дополнительных
преобразующих устройств.
Таким образом, проведенный патентный поиск
подтвердил целесообразность применения анализаторов температуры точки росы
основанных на конденсационном и диэлькометрическом способах измерения.
3. Автоматизация цеха осушки газа УКПГ-1С
.1 Структура АСУ ТП ЦОГ
АСУ ТП УКПГ-1С предназначена для управления в
реальном масштабе времени технологическим процессом комплексной подготовки
газа, для обеспечения бесперебойной подачи запланированных объемов товарного
газа требуемого качества с наименьшими эксплуатационными затратами.
Система обеспечивает:
централизованный контроль состояния объектов;
оперативное планирование работы УКПГ;
ведение технологической базы данных;
защита информации от несанкционированного
доступа;
сигнализацию отклонения технологических
параметров от регламентных норм;
дистанционное управление работой объектов
автоматизации;
регулирование параметров процесса по стандартным
законам.
САУ технологическими процессами осушки газа
строится на базе программно-технических средств системы I/A
Series фирмы Foxboro.
Данная архитектура I/A
Series от Foxboro
основана на концепции узла (Node),
который являлся базовым элементом построения систем управления технологическими
процессами. Узел представляет собой промышленный шкаф с набором модулей,
объединенных между собой посредством шины Nodebus,
и соединенных с рабочими станциями (операторскими и инженерными) и полевыми
устройствами. В соответствии с этой архитектурой каждый узел системы работает
независимо и выполняет все функции, связанные с автоматизацией процесса. Он
может быть связан с другими узлами Foxboro
или устройствами других фирм через совместимые сети.
3.2 Описание функциональной схемы автоматизации
Автоматика, средства контроля и управления по
цеху осушки газа выполняют следующие функции (рисунок 3.2):
дистанционное управление пневмоприводным краном
Крп1 в обвязке технологических линий;
измерение и аварийная сигнализация давления газа
на входе в сепараторы датчиком перепада давления, поз. 1;
местное измерение давления и температуры в
сепараторах и абсорберах;
автоматическое регулирование количества
подаваемой промывочной жидкости на верхнюю массобменную тарелку сепаратора
пневмоприводным регулирующим клапаном Клр1 по сигналу расходомера, поз. 12-1;
измерение и регистрация количества подаваемой
промывочной жидкости расходомером, поз. 12-1;
автоматическое регулирование уровня жидкости в
кубовой части сепаратора пневмоприводным регулирующим клапаном Клр2 по датчику
уровня, поз. 3-1;
аварийная сигнализация и автоматическая
блокировка отвода жидкости из кубовой части сепаратора запорным клапаном Клз1
при минимальном уровне по сигналу датчика уровня, поз. 4-1;
измерение и регистрация уровня жидкости в
кубовой части сепаратора по датчику уровня, поз. 3-1;
автоматическое регулирование количества
подаваемого в абсорбер абсорбента регулирующим клапаном Клр 4 по сигналу
расходомера, поз. 19-1 с коррекцией по команде влагомера, поз. 26-1;
автоматическое регулирование уровня НДЭГа в
кубовой части абсорбера регулирующим клапаном Клр5 по датчику уровня, поз.
15-1;
аварийная сигнализация и автоматическая
блокировка отвода НДЭГа из кубовой части абсорбера запорным клапаном Клз2 при
минимальном уровне по сигналу датчика, поз. 16-1;
измерение и регистрация уровня НДЭГа в кубовой
части сепаратора по датчику уровня, поз. 3-1;
автоматическое регулирование поддержание
заданного расхода осушенного газа на выходе из абсорбера запорным клапаном Клр3
по сигналу расходомера, поз. 20-1 с коррекцией по давлению от датчика, поз. 21;
измерение и регистрация расхода осушенного газа
на выходе из абсорбера расходомером, поз. 20-1;
измерение и регистрация влажности осушенного
газа после абсорбера влагомером, поз. 26-1;
измерение и регистрация давления осушенного газа
в коллекторе и автоматическое закрытие крана Крп1 в обвязке технологической
линии при аварийном падении давления газа в коллекторе от датчиков давления,
поз. 23 и 24 и электроконтактного манометра, поз. 25.
В таблице 3.1 приведен перечень КИП и
технических средств автоматизации (ТСА).
Таблица 3.1 - Перечень КИП и ТСА
|
Позиция
|
Наименование
|
Количество
|
Примечание
|
|
1,
21, 23, 24
|
Преобразователь избыточного давления Метран 43-ДИ-Ех
|
4
|
1ExibIIAT6X
|
|
2, 17
|
Преобразователь перепада давления Метран 43-ДД-Ех
|
2
|
1ExbIICT5X
|
|
3-1, 4-1, 15-1, 16-1
|
Уровнемер Сапфир 22 ДУ-Ех
|
4
|
0ExiaIICT6X
|
|
3-2, 4-2, 15-2, 16-2
|
Индикатор МИДА-ИЦ-201-Ех
|
4
|
1ExiaIICT5X
|
|
3-3, 12-2, 15-3, 19-3, 20-3
|
Преобразователь электрического сигнала в пневматический
ЭП-3324-ЩМ8
|
5
|
0ExiaIICT6
|
|
3-4, 12-3, 15-4, 19-4, 20-4
|
Пневмопривод ПОУ-8
|
5
|
1ExdIICT5
|
|
4-3, 16-3
|
Переключатель сигнальный клапана КСП-8
|
2
|
1ExdIIBT4X
|
|
5, 6, 7, 8, 14, 18
|
Манометр показывающий МП4-УУ
|
6
|
1ExdIIBT5X
|
|
9, 10, 11
|
Термометр конденсационный показывающий ТКП-100М1
|
3
|
ExiaIICT6X
|
|
12-1
|
Счетчик ультразвуковой «Взлет РС»
|
1
|
0ExiaIIBT6X
|
|
13
|
Термопреобразователь сопротивления ТСМУ-205-Ех
|
1
|
1ExiaIICT6X
|
|
19-1
|
Измеритель расхода ЗАО «Фоксборо Технолоджис» первичный CFS10
|
1
|
1ExiaIICT5X
|
|
19-2
|
Измеритель расхода ЗАО «Фоксборо Технолоджис» вторичный CFT15
|
1
|
1ExiaIICT5X
|
|
20-1
|
Расходомер ультразвуковой «Гиперфлоу-УС»
|
1
|
1ExibIIAT6X
|
|
20-6
|
Термопреобразователь сопротивления ТСМУ 2005 CrI Eх
|
1
|
Невзрывоза-щищен
|
|
22, 25
|
Манометр электроконтактный ДМ2005 CrI Eх
|
2
|
1ExdIIBT4
|
|
26
|
Преобразователь точки росы типа КОНГ-ПРИМА-2
|
1
|
1ExsdIIAT3
|
|
27
|
Комплекс контроля загазованности Det-tronics
|
1
|
1ExsdIIAT3
|
|
28
|
Пускатель электромагнитный
|
2
|
0ExiaIICT6
|
Условия срабатывания системы ПАЗ и ее действия
представлены в таблице 3.2.
Таблица 3.2 Действие системы ПАЗ
|
№
позиции защиты
|
Условие
срабатывания
|
Действие
защиты
|
|
1
|
Загазованность
цеха осушки газа 10-20% НКПРП
|
1)
Закрытие входного крана Крп1 2) Включение аварийной вентиляции
|
|
2
|
Превышение
аварийной уставки уровня жидкости в сепараторе
|
Автоматическая
отсечка запорного клапана Клз1
|
|
3
|
Достижение
минимального уровня в абсорбере Lmin = 150 мм
|
Автоматическая
отсечка запорного клапана Клз2
|
|
4
|
Превышение
аварийной уставки давления на линии выхода газа из абсорбера Pmax
= 8,8 МПа, Pmin = 7,0 МПа
|
1)
Закрытие входного крана Крп1 2) Открытие задвижки 3ф1 на аварийной нитке
|
3.3 Описание технических средств
автоматизации ЦОГ
Датчики давления Метран-43
предназначены для работы в системах автоматического контроля, регулирования и
управления технологическими процессами и обеспечивают непрерывное
преобразование значения измеряемого параметра - давления избыточного,
разрежения, давления-разрежения, разности давлений, гидростатического (уровня)
в стандартный токовый выходной сигнал дистанционной передачи. Взрывозащищенные
датчики Метран-43-Ех имеют маркировку по взрывозащите 1ExiallCT5X или 1ExibllCT5X в зависимости от комплектности,
соответствуют требованиям ГОСТ 22782.0, ГОСТ 22782.5 и предназначены для
установки во взрывоопасных зонах помещений и наружных установок согласно главе
7.3. ПУЭ и другим нормативным документам, регламентирующим применение
электрооборудования во взрывоопасных условиях [3].
Устройство и работа датчика
Метран-43-Ех-ДИ. Датчик (рисунок 3.1) состоит из преобразователя давления
(измерительный блок) и электронного преобразователя. Различные модели имеют
унифицированный электронный преобразователь и отличаются лишь конструкцией
измерительного блока. В качестве чувствительного элемента в датчиках
используются тензопреобразователи.
Измеряемый параметр воздействует на
мембрану измерительного блока и линейно преобразуется в деформацию
чувствительного элемента, вызывая при этом изменение электрического
сопротивления тензорезисторов тензопреобразователя, размещенного в
измерительном блоке. Электронный преобразователь датчика преобразует это
изменение сопротивления в токовый выходной сигнал. Чувствительным элементом
тензопреобразователя является пластина монокристаллического сапфира с
кремниевыми пленочными тензорезисторами, прочно соединенная с металлической
мембраной тензопреобразователя.
Рисунок 3.1 - Схема датчика
Метран-43-Ех-ДИ: 1 - корпус; 2 - тензопреобразователь; 3 - разделительная
мембрана, 4 - электронный преобразователь; Р - измеряемое давление
Устройство и работа датчика
Метран-43-Ех-ДД. Измерительный блок преобразователя состоит из корпуса, в
верхней части которого закреплен тензопреобразователь. К нижней части корпуса
приварена разделительная мембрана. Внутренняя часть корпуса между мембраной и
тензопреобразователем заполнена жидкостью. К верхней части корпуса крепится
электронный преобразователь. Измеряемое давление воздействует на разделительную
мембрану и вызывает ее прогиб. Давление через жидкость передается на
измерительную мембрану тензопреобразователя и вызывает ее деформацию.
Электрический сигнал, возникающий от деформации измерительной мембраны,
передается на электронный преобразователь 4 и преобразуется в стандартный
токовый выходной сигнал.
Рисунок 3.2 - Схема измерительного
блока датчика Метран -43-Ex-ДД: 1 - фланец; 2 - корпус; 3 - мембрана, 4 - центр, 5 -
электронный преобразователь; 6, 7 - камера; 8 - тензопреобразователь, 0 - тяга
Между фланцем и корпусом крепится
мембрана, к которой приваривается жесткий центр. Жесткий центр с помощью тяги
соединен с рычагом тензопреобразователя.
При измерении разности давлений
положительное давление подается в камеру 6, а отрицательное в камеру 7. Разница
давлений, подаваемых в камеры 6 и 7, воздействует на мембрану и перемещает ее.
Перемещение мембраны через жесткий центр и тягу передается на рычаг
тензопреобразователя. Перемещение рычага вызывает деформацию мембраны
тензопреобразователя, на которой расположены тензорезисторы. Деформация
мембраны тензопреобразователя вызывает изменение сопротивление тензорезисторов,
что приводит к возникновению электрического сигнала. Электрический сигнал
измерительного блока поступает для обработки в электронный преобразователь.
Преобразователь измерительный уровня
буйковый САПФИР-22ДУ-Ex.
Преобразователи (рисунок 3.3)
предназначены для работы в системах автоматического контроля, регулирования и
управления технологическими процессами, в том числе, со взрывоопасными
условиями производства и обеспечивают непрерывное преобразование значения
измеряемого параметра - уровня жидкости или уровня границы раздела жидких фаз
как нейтральных, так и агрессивных сред - в стандартный токовый выходной сигнал
дистанционной передачи [4].
Преобразователь состоит из
измерительного блока (рисунок 3.5) и электронного преобразователя.
Рисунок 3.3 - Измерительный блок
преобразователя измерительного уровня буйковый САПФИР-22ДУ-Ex: 1 - буек; 2 - рычаг; 3
- втулка; 4 - мембрана; 5 - гидравлический демпфер; 6 - лента; 7 -
тензопреобразователь; 8 - клеммный зажим; 9 - дроссель; 10 - крышка; 11 -
основание; 12 - трубчатый корпус; 13 - ограничитель; 14 - колпачок
Рисунок 3.4 - Электронный
преобразователь измерительного уровня САПФИР-22ДУ-Ex: 1 - клеммная колодка;
2 - винт; 3 - крышка; 4 - плата; 5 - корпус; 6 - дополнительная крышка; 7 -
плата; 8 - винт; 10 - канал, 11 - кабельный вывод; 12 - болт для заземления
При изменении измеряемого уровня
происходит изменение гидростатической выталкивающей силы, воздействующей на
чувствительный элемент - буек. Это изменение через рычаг передается на
тензопреобразователь, размещенный в измерительном блоке, где линейно
преобразуется в изменение электрического сопротивления тензорезисторов.
Электронный преобразователь преобразует это изменение сопротивления в токовый
выходной сигнал. Гидравлический демпфер, внутренняя полость которого заполнена
вязкой жидкостью, сглаживает колебания.
Основные технические характеристики
преобразователя представлены в таблице 3.3.
Таблица 3.3 - Технические характеристики преобразователя измерительного уровня буйкового
САПФИР-22ДУ-Ex
|
Параметр
|
Значение
|
|
Погрешность измерений, %
|
± 0,5; ± 1,0
|
|
Выходной сигнал, мА
|
4-20
|
|
Климатическое исполнение, °С
|
от -20 до +80
|
|
Взрывозащита
|
искробезопасная цепь, маркировка «0ExiaIICT6X»
|
|
Температура контролируемой жидкости, °С
|
-50…+120
|
|
Напряжение питания
|
24 В (питание должно осуществляться от искробезопасных выходов
блоков БПС-24, или БПС-90, или ПТС-4, или других аналогичных блоков)
|
|
Потребляемая мощность, ВА, не более
|
1,2
|
Расходомеры ультразвуковые
«ГиперФлоу-УС» (рисунок 3.5) предназначены для измерений расхода и объема
природного газа и других газовых сред с приведением к стандартным условиям [5].
Рисунок 3.5 - Расходомер
ультразвуковой «ГиперФлоу-УС»: 1 - термопреобразователь сопротивления; 2- блок
электронный; 3- датчики пьезоэлектрические; 4 - датчик избыточного давления; 5
- коробка распределительная 6 - сетевой источник питания; 7 - барьер
искрозащитный
По принципу действия расходомер
относится к время-импульсным ультразвуковым расходомерам, работа которых
основана на измерении разности времен прохождения зондирующих импульсов
ультразвуковых колебаний по направлению скорости потока рабочей среды в
первичном преобразователе, и против него. Возбуждение и прием зондирующих
импульсов производится датчиками пьезоэлектрическими, устанавливаемыми на первичном
преобразователе расхода. Попеременная коммутация режимов «прием-передача» пар
датчиков обеспечивается блоком электронным.
При движении газа происходит снос
ультразвуковой волны, который приводит к изменению времени распространения
ультразвукового сигнала между датчиками. Время распространения сигнала по
потоку уменьшается, а против него - возрастает.
Измеряемая прибором скорость
является средней скоростью потока газа вдоль пути акустического сигнала. Для
вычисления значения средней скорости потока через поперечное сечение
измерительного участка необходимо знать значение поправочного коэффициента на
распределение скоростей.
При этом средняя
скорость потока газа через поперечное сечение измерительного участка (
) может быть вычислена
по формуле:

. (3.1)
Значение Кг является
функцией числа Рейнольдса (Re), шероховатости стенок трубопровода, расположения акустического
луча и его вида.
Реальное значение Кг
определяется при поверке и вводится в прибор в виде табличных данных
размерностью 1х20.
Стандартными условиями, к которым
приводится измеренный при рабочих условиях объём газа, являются:
·
температура 20 оС (293,15 К);
·
давление 760 мм. рт. ст. (0,101325 МПа).
Манометр показывающий МП4-УУ.
Данные манометры (рисунок 3.6) предназначены для
измерения избыточного и вакуумметрического давления жидких и газообразных сред.
Принцип действия манометра основан на уравновешивании
измеряемого давления силой упругой деформации трубчатой пружины или более
чувствительной двухпластинчатой мембраны, один конец которой запаян в
держатель, а другой через тягу связан с трубко-секторным механизмом,
преобразующим линейное перемещение упругого чувствительного элемента в круговое
движение показывающей стрелки.
Рисунок 3.6 - Манометр с трубчатой пружиной
МП4-УУ2: 1 - трубчатая пружина; 2 - держатель; 3 - тяга; 4- зубчатый сектор; 5
- шестерня; 6 - стрелка; 7 - шкала; 8 - штуцер; P
-измеряемое давление
Технические характеристики манометров МП4-УУ2
приведены в таблице 3.4
Таблица 3.4 - Основные характеристики манометров
технических МП4-УУ2
|
Параметр
|
Значение
|
|
Диаметр,
мм
|
160
|
|
Масса,
кг, не более
|
1,2
|
|
Средний
срок службы
|
10
лет
|
|
Предел
измерений, кгс/см2
|
0…0,6;
1; 1,6; 2,5; 4; 6; 10; 16; 25; 40; 60; 100; 160; 250; 400
|
|
Приборы
выдерживают воздействие вибрации:
|
в
диапазоне частот от 5 до 25 Гц с амплитудой до 0,1 мм
|
|
Класс
точности:
|
1;
1,5
|
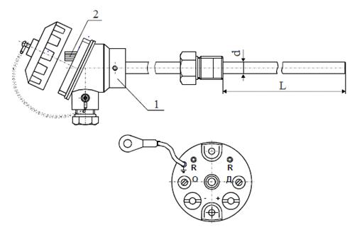
Термопреобразователь сопротивления
ТСМУ-205-Ех.
Термопреобразователи предназначены
для измерения температуры твердых, жидких, газообразных и сыпучих веществ.
Обеспечивают непрерывное преобразование температуры в унифицированный сигнал
постоянного тока 4...20 мА. Предназначены для работы в системах автоматического
контроля, регулирования и управления технологическими процессами.
Термопреобразователи ТСМУ-205-Ех
выполнены во взрывозащищенном исполнении и имеют маркировку взрывозащиты ExiaIICT6X. Взрывозащищенные
термопреобразователи предназначены для применения во взрывоопасных зонах
помещений в соответствии с установленной маркировкой взрывозащиты, требованиями
гл. 7.3 ПУЭ, гл. 3.4 ПТЭЭП и других нормативных документов, регламентирующих
применение оборудования во взрывоопасных зонах, где возможно образование
взрывоопасных смесей категории IIC и групп взрывоопасности Т1 - Т6. Термопреобразователи состоят из
первичного преобразователя (ПП) температуры и измерительного преобразователя
(ИП) (рисунок 3.9). В качестве первичных преобразователей температуры
используются термопреобразователи сопротивления 100П, Pt100, 100М и
преобразователи термоэлектрические ХА (К).
Рисунок 3.7 - Термопреобразователь
сопротивления ТСМУ-205-Ех: 1 - первичный преобразователь (ПП); 2- измерительный
преобразователь (ИП); L - длина монтажной части ПП; d - диаметр монтажной части ПП
ИП предназначен для преобразования
сигнала от первичного преобразователя в токовый выходной сигнал. ИП содержит
компенсатор нелинейности входного сигнала и компенсатор температуры «холодного»
спая для ТХАУ.
Под крышкой головки корпуса термопреобразователя
на передней панели ИП расположены:
потенциометр «0» подстройки нуля;
- потенциометр «Д» подстройки
диапазона;
клеммные соединители «+» и «-» для
подключения питания 24 В (36 В) и нагрузки и два контактных штыря «R» для подключения первичного
преобразователя;
контактный штырь «земля» для
подключения ИП к корпусу металлической головки АГ-10 посредством провода с
наконечником.
Технические характеристики термопреобразователей ТСМУ-205Ех приведены в таблице
3.5.
Таблица 3.5 - Основные характеристики термопреобразователей ТСМУ-205Ех
|
Параметр
|
Значение
|
|
Диапазон
выходного сигнала, мА
|
4…20
|
|
Диапазон
преобразования температуры, °С
|
-50…50,
-50…100, -50…150, -50…180, 0…50, 0…100, 0…150, 0…180, 0…200
|
|
Класс
точности
|
0,5
|
|
|
1,428
|
.4 Уровень автоматического управления (САУ)
В системе имеется два типа процессорных модулей:
·
процессоры
рабочих станций (WP,
AW) - компьютеры, к
которым подключаются видеомониторы, клавиатура и другие устройства рабочих
станций;
·
управляющие
процессоры (CP60), к
которым подключаются модули ввода/вывода полевой шины.
В качестве модулей ввода/вывода используются
модули FBM (рисунок
3.10), монтируемые в каркасы и шкафы. К ним подсоединяются датчики
технологических параметров и исполнительные устройства. Обмен данными с главной
управляющей станцией выполняется по дополнительно резервируемой полевой шине на
магистрали Ethernet
10 Мбит/с. Модули связи полевой шины (FCM)
выполняют функции интерфейса между шиной 2 Мбит/с, используемой FBM,
и полевой шиной Ethernet
10 Мбит/с. FBM могут
использовать оба канала резервированной шины Ethernet,
поэтому если один из них выйдет из строя или будет переключен на системном
уровне, то модуль будет поддерживать связь по второму каналу.
Рисунок 3.8 - внешний вид FBM
модуля
В данной схеме АСУ ТП ЦОГ используются следующие
типы модулей ввода/вывода:
интерфейсный модуль дифференциального входа 0-20
мА FBM211;
интерфейсный модуль изолированных группой
дискретных вводов FBM217;
интерфейсный модуль вывода с изолированными
каналами 0-20 мА и возможность резервирования FBM237;
интерфейсный модуль с изолированными дискретными
каналами вывода, записываемый от внешнего источника FBM242.
Интерфейсный модуль дифференциального входа FBM
211 содержит шестнадцать аналоговых каналов ввода 20 мА, каждый из которых
принимает по двухжильному проводу сигналы от таких аналоговых датчиков, как
преобразователи 4-20 мА или датчик 20 мА с автономным питанием. Каждый канал имеет
дифференциальный вход, благодаря чему разница напряжений между каналами не
приводит к ошибкам [6].
Модуль выполняет преобразование сигналов,
необходимое для передачи входных электрических сигналов от полевых датчиков к
дополнительно резервируемой полевой шине. Для обеспечения высокой точности в
модуле установлен мультиплексируемый преобразователь сигма-дельта, совместно
используемый всеми каналами, обеспечивающий считывание аналогового входа каждые
100 мс и конфигурируемый фильтр по среднему значению для устранения помех,
создаваемых технологическим процессом, сглаживания колебаний частоты
электропитания.
Интерфейсный модуль изолированных группой
дискретных вводов FBM217
имеет 32 канала ввода, к каждому из которых может подключаться двухпроводный
вход от источника напряжения постоянного тока. Клеммники модуля обеспечивают
подключение дискретных вводов 60 В переменного тока, 120 В переменного/ 125 В
постоянного тока или 240 В переменного тока. Каналы модуля изолированы группой,
но каналы одного модуля между собой не изолированы. Модуль выполняет прикладную
программу дискретного ввода или релейной логики, конфигурируемой опцией которых
является время фильтрации входа [6].
Интерфейсный модуль вывода с изолированными
каналами 0-20 мА и возможность резервирования FBM237
имеет восемь выходных аналоговых каналов 0-20 мА постоянного тока. Модули можно
использовать по одному или в резервированных парах. При использовании в
резервированной паре обеспечивается резервирование на уровне модулей полевой
шины, а выходные сигналы от полевых устройств идут на общий клеммник. Каждый
модуль из пары независимо пытается удержать выход (или выходы) на установленном
значении выходного параметра.
Интерфейсный модуль с изолированными дискретными
каналами вывода, записываемый от внешнего источника FBM242
имеет шестнадцать выходных дискретных канала. Подключаемые к нему клеммники
поддерживают дискретный ввод для нагрузки 2 А при 60 В постоянного тока,
релейные выходы (120 В переменного/ 125 В постоянного тока или 240 В
переменного тока) или релейные выходы с распределением питания и
предохранителями. Каждый вывод изолирован от других каналов и земли. Модуль
выполняет прикладную, конфигурируемой программу опцией которой является
конфигурация безопасного отключения [6].
Модули FBM
имеют компактный дизайн с усиленной алюминием конструкцией корпуса для защиты
микросхем. Шкафы, специально разработанные для установки модулей FBM,
обеспечивают различные уровни защиты от воздействия окружающей среды, включая
защиту при работе в опасных условиях. Модули можно снимать и заменять без
отключения проводов от полевых устройств, силовых или сигнальных кабелей.
Далее сигнал от FBM
модуль идет через FCM10E
по оптоволоконному кабелю сигнал в операторную, и далее через оптоволоконный
преобразователь к CP60.
Управляющий процессор CP60
представляет собой микропроцессорное устройство, состоящее из двух параллельно
работающих модулей, каждый из которых независимо подсоединен к шинам Nodebus
и Fieldbus. Каждый модуль
управляющего процессора включает в себя:
процессор AMD
DX5 с тактовой
частотой 133 МГц, который выполняет всю обработку данных;
сопроцессор LAN
82596CA,
управляющий передачей данных по сети Nodebus;
процессор AMD
386, управляющий передачей данных по сети Fieldbus.
Два модуля управляющего процессора, составляют
резервированную пару и рассчитаны на обеспечение продолжительности работы
управляющего процессора при практически любом аппаратном сбое одного из модулей
пары. Оба модуля одновременно получают и обрабатывают информацию. При этом
если, информация на входах двух модулей различается, то на каждом модуле
запускается самодиагностика, по результатам которой определяется неисправный
модуль. После этого управление на себя берет исправный модуль, при этом не
нарушается нормальная работа системы.
Управляющие процессоры устанавливаются в каркасы
для установки системных модулей (рисунок 3.9). Каждый каркас содержит 4
резервируемых источника питания 30В и поддерживает установку до 8 управляющих
процессоров. В системе используется 4 каркаса, которые монтируются в
промышленном шкафу, устанавливаемом в операторной.
Рисунок 3.9 - Каркас для установки системных
модулей
Интеграция систем автоматизированною управления,
не являющихся предметом рассмотрения данного проекта осуществляется с помощью
устройств - интеграторов с сетью Nodebus - DI30.
Интегратор DI30
обеспечивает подключение устройств, работающих по определенному протоколу. Тип
протокола определяется видом драйвера загруженного и интегратор. Например,
может использоваться драйвер Modbus.
Функции РСУ на уровне САУ:
сбор и контроль технологической информации с
основных и вспомогательных технологических объектов УКПГ;
- формирование и ведение базы данных значений
параметров;
реализация законов автоматического регулирования
(ПИД);
выполнение алгоритмов автоматического
управления, технологических блокировок;
отработку команд дистанционного управления
(выдачу управляющих воздействий на исполнительные механизмы);
связь с операторной (передача технологической
информации, прием команд).
непрерывный контроль работоспособности
технических средств и определение отказавших единиц оборудования и
автоматическое распознавание модуля после замены;
Система противоаварийной защиты предназначена
для аварийной защиты технологического оборудования.
В случае возникновения аварийной ситуации в
одном из цехов осушки срабатывает система ПАЗ и отключает его закрытием входных
и выходных кранов на линиях осушки. Вследствии этого давление газа в ЗПА начнет
расти, а в выходном коллекторе снижается за аварийные пределы. Срабатывает
система ПАЗ и отключает ЗПА кранами на входе и на межцеховых коллекторах от ЗПА
к цеху осушки газа. Закрываются охранный кран на выходе коллектора и краны на
перемычках между коллекторами. И в этом случае один из модулей УКПГ оказывается
отключенным.
Функции, выполняемые системой ПАЗ:
сбор и обработка сигналов датчиков, определяющих
аварийное состояние технологических объектов УКПГ;
отработка, в случае необходимости, алгоритмов
аварийного останова технологических объектов УКПГ;
выдачу информации о срабатывании системы ПАЗ на
уровень ОПС;
регистрация первопричин возникновения аварийной
ситуации.
Система пожарной автоматики на уровне САУ
выполняет следующие функции:
активацию систем оповещения о пожаре и
пожаротушения при срабатывании не менее двух независимых датчиков,
контролирующих «одну точку», с подачей тушащего раствора по зонам, в которых
возник пожар;
открытие клапанов дымоудаления и отключение
вентиляции при пожаре, за исключением систем приточной вентиляции, обеспечивающих
воздушный подпор в тамбур-шлюзах;
выдачу в систему ПАЗ сигналов о возникновении
пожара в помещениях;
контроль состояния шлейфов пожарной сигнализации
на обрыв и короткое замыкание.
Система контроля загазованности на уровне САУ
выполняет следующие функции:
контроль состояния воздушной среды основных и
вспомогательных технологических объектов;
выдача в РСУ команды на пуск аварийно-вытяжной
вентиляции, прерывистой световой сигнализации по месту и на пульте оператора в
зонах, где загазованность (концентрация метана) достигла 10% НКПР;
выдача в систему ПАЗ сигнализации по зонам
загазованности 20% НКПР;
местное и дистанционное управление
аварийно-вытяжными вентиляторами, сигнализацию их состояния на пульт оператора,
контроль наличия напряжения в цепях управления.
Данные о применяемых средствах противоаварийной
защиты: блокировках, средствах регулирования, сигнализации, устройствах для
экстренной остановки оборудования, предохранительных, сбросных, отсекающих
клапанах приведены в таблице 3.6.
Таблица 3.6 - Меры, применяемые средствами
противоаварийной защиты
|
Наименование
оборудования, стадий технологического процесса
|
Контролируемый
параметр или защищаемый участок оборудования.
|
Предельное
значение параметра или проявление опасности участка оборудования
|
Предусмотренная
защита оборудования, стадии технологического процесса
|
|
Коллектор
ввода промывочной воды в цех осушки
|
Температура,
°С
|
Tmin
= 30
|
Аварийная
сигнализация
|
|
Линия
входа промывочной воды в сепараторе
|
Расход,
м3/ч
|
Qmin
= 0,2
|
Аварийная
сигнализация
|
|
Блок
сепаратора с промывочной секцией сепаратора
|
Давление
в аппарате, МПа
|
Pmax
= 8,8 Pmin = 7,0
|
Аварийная
сигнализация
|
|
Перепад
давления на тарелках, МПа
|
Pmax
>
0.02
|
Аварийная
сигнализация
|
|
Уровень
жидкости в аппарате, мм
|
Lmax
= 800 Lmin = 200
|
1
Аварийная сигнализация 2 Автоматическая отсечка запорного клапана Клз1
|
|
Уровень
жидкости в аппарате, мм
|
Lmax
= 700 Lmin = 300
|
Аварийная
сигнализация
|
|
Коллектор
ввода РДЭГа в абсорбере
|
Температура,
°С
|
Tmin
= 24
|
Аварийная
сигнализация
|
|
Блок
абсорбера
|
D
Р на тарелках, МПа
|
Pmax
>
0,06
|
Аварийная
сигнализация
|
|
Температура
в абсорбере, °C
|
Тmax
= 21 Тmin = -3
|
Аварийная
сигнализация
|
|
Уровень
в аппарате, мм
|
Lmax
= 750 Lmin = 150
|
1
Аварийная Сигнализация 2 Отсечка при Lmin запорным клапаном Клз2
|
|
Линия
выхода осушенного газа из абсорбера
|
Давление
газа, МПа
|
Pmax
= 8,8 Pmin = 7,0
|
1
Аварийная сигнализация 2 Закрытие входных и выходных кранов на аварийной
нитке 3 Открытие задвижки 3ф1 на аварийной нитке
|
|
Влагосодержание
газа, °С
|
лето:
- 8 зима: - 16
|
Аварийная
сигнализация
|
|
Сборный
коллектор осушенного газа на выходе из ЦОГ
|
Давление
в коллекторе, МПа
|
Pmin
= 6,5
|
1
Звуковая и световая сигнализация 2 Аварийная сигнализация 3 Закрытие входных
и выходных кранов на линиях ЦОГ 4 Включение СПАЗ при Рmin
|
|
Ёмкость
дренажная для ДЭГа и насыщенного метанола
|
Уровень
в аппарате, мм
|
Lmax
= 1400
|
Аварийная
сигнализации при Lmax Остановка насоса при Lmin
|
|
Уровень
в аппарате, мм
|
Lmax
= 1400
|
Включение
по месту световой сигнализации
|
|
Температура
в аппарате,°C
|
Tmax
= 80
|
1
Аварийная сигнализации 2 Останов погружного насоса
|
|
Загазованность
площадки
|
10
- 20% НКПРП
|
Аварийная
сигнализация Остановка насоса
|
|
Загазованность
цеха осушки газа
|
10
- 20% НКПРП
|
1
Звуковая и световая сигнализации 2 Включение аварийной вентиляции 3 Включение
СПАЗ
|
|
Технологическая
линия в узле редуцирования газа
|
Давление
газа после первой ступени редуцирования, МПа
|
Pmax
= 2,8 Pmin = 1,9
|
1
Аварийная сигнализация 2 Закрытие клапанов 3 Отсечка подачи газа на
запальник и горелку
|
|
После
второй ступени редуцирования, МПа
|
Pmax
= 0,5 Pmin = 0,2
|
|
Система противоаварийной защиты строится на базе
программно-технического комплекса TRICON фирмы «Тriсоnех»
и интегрирована в систему I/A Series. Интеграция системы противоаварийной
зашиты осуществляется на основе станции FoxGuard Manager, который представляет
собой коммуникационный модуль АСМ4609, установленный в основное шасси.
Подключение к сети Nodebus производится через интерфейс с резервированной сетью
Nodebus - DNBI.
В системе TRICON
АСУ ТП ЦОГ используются следующие модули:
3008 - главный процессор, 16 Мбайт DRAM;
ACM4609 -
усовершенствованный коммуникационный модуль, интерфейс Foxboro
I/A
series NodeBus;
3504Е - 64-точечный цифровой входной модуль, 24/
48 В постоянного тока;
3704E
- 64-точечный аналоговый выходной модуль, 0-5/ 0-10 В постоянного тока;
3664 - сдвоенные последовательные выходные
модули, 32 точки, 24 В постоянного тока;
8312 - модуль питания 175 Вт, 230 В переменного
тока.
.5 Уровень оперативно-производственной службы
промысла
Уровень ОПС состоит из:
автоматизированных рабочих мест операторов УКПГ:
станции инжиниринга;
автоматизированных рабочих мест главных
специалистов промысла.
Для организации рабочих мест операторов
использована промышленная консоль типа Command Center (рисунок 3.10).
Промышленная операторская рабочая станция AW7001-
основной сервер системы, станция оператора АСУТП, AW7002
- резервный сервер системы, станция инженера АСУ ТП, WP7001 - клиент, станция
оператора АСУТП, WP7002 - клиент, станция оператора АСУТП включают (каждая):
Рисунок 3.10 - центр управления
- процессор E2-3200
2.4 ГГц;
- оперативная память 4 Гбайт;
- системный жесткий диск 750 Гбайт;
алфавитно-цифровая клавиатура типа
QWERTY;
операторская клавиатура аварийной
сигнализации;
контроллер GCIO для подключения
операторской клавиатуры;
модуль RCNA для подключения к шине
Nodebus;
- дисковод DVD+-RW/DL;
- видео карта Radeon HD 6370D 512 Мбайт;
2 платы выхода на сеть Ethernet
(TCP/lP) NIC и PCI;
активные колонки;
необходимые кабели;
операционная система Windows
7 HB 64 bit;
- лицензия на программное обеспечение станции AW70B
(Nodebus).
Все рабочие станции объединены в локальную
вычислительную (технологическую) сеть, построенную по стандарту Ethernet
10/100BaseT(X).
Функции РСУ на уровне ОПС:
) функции контроля и управления:
сбор и контроль технологической информации от
технических средств САУ;
сбор и контроль технологической информации от
систем телемеханики, ПАЗ, пожарной автоматики;
сигнализацию об отклонениях технологических
параметров от регламентных норм;
ведение базы данных реального времени;
формирование и отображение видеокадров
(мнемосхем, графики);
формирование и отображение сводок и режимных
листов;
формирование и отображение протокола событий;
формирование и выдачу выходных документов и
протоколов событий, в том числе протоколирование действий оперативного
персонала;
вычисление суммарных и средних (1/2 часа)
расходов газа;
контроль и учет качественных показателей товарного
газа;
учет расхода газа по технологическим линиям;
учет расхода химреагентов;
формирование и выдачу команд дистанционного
управления;
контроль выполнения команд управления;
выдачу уставок регуляторам;
) функции связи:
организации интерфейса «человек-машина»;
связь с нижним уровнем системы (прием
технологической информации с нижнего уровня, передача команд управления на
нижний уровень);
обмен информацией с уровнем диспетчерского
управления;
) функции защиты информации:
возможность назначения (разграничения) прав для
различных групп пользователей на доступ к информации и к функциям управления;
регистрацию пользователей в системе по
индивидуальному идентификатору пользователя с введением пароля;
ведение протокола регистрации пользователей и их
наиболее ответственных действий с указанием астрономического времени и
информации;
4) функции диагностики:
ведение и вывод по запросу протоколов событий,
происходящих в системе (действия по управлению, изменение конфигурации,
системные события);
непрерывный контроль работоспособности
технических средств и обеспечение обнаружение отказа и причины отказа, с
выдачей звуковой и визуальной сигнализации оператору ОПС, с занесением
информации об отказе в протокол событий.
Результаты автоматизации цеха осушки газа.
Таким образом, в результате создания АСУ ТП
достигается:
устойчивая работа систем управления
технологическим оборудованием;
увеличение точности измерений технологических
параметров;
повышение уровня эксплуатации за счёт унификации
технических и программных средств;
повышение надёжности систем управления за счёт
структурного резервирования и непрерывной диагностики программных и технических
средств.
Система автоматизации технологических процессов
УКПГ выполнена в соответствии с нормами и правилами, действующими в газовой
промышленности.
Контроль и автоматизация процессов обеспечивают
охрану труда, безопасную эксплуатацию ЦОГ в соответствии с действующими нормами
и правилами по охране труда, техники безопасности и промсанитарии.
Объём контроля и автоматизации, предусмотренный
проектом, обеспечивает надежную работу технологического оборудования,
автоматическую защиту его при возникновении аварийных режимов и ситуаций,
дистанционное управление блоками и запорной арматурой, аварийную и
технологическую сигнализацию.
Качественные характеристики АСУТП осушки газа
характеризуются следующими показателями:
) быстродействие реализации функций:
цикл опроса аналоговых и дискретных параметров с
технологических объектов управления - не более 1 с;
решение вычислительных задач контроля текущих
режимов работы ЦОГ - не более 5 с;
выявление нарушений режимов - не более 0,25 с;
реализация отдельного запроса информации из САУ
технологических объектов - не более 0,5 с;
доставка команд управления на исполнительные
механизмы - не более 0,25 с;
) количественные показатели надёжности АСУ ТП
составляют:
средняя наработка на отказ каждого канала для
функций системы:
а) по информационным функциям, не менее - 40000
часов;
б) по управляющим функциям, не менее - 50000
часов;
в) по функциям защиты, не менее - 120000 часов;
среднее время восстановления работоспособности
системы по любой из выполняемых функций, не более - 0,5 часа;
коэффициент готовности системы по
приёму-передаче аналоговых и дискретных сигналов, не менее - 0,99;
функциональный срок службы системы, не менее -
10 лет.
4. Модернизация системы автоматизации цеха
осушки газа УКПГ-1С путем подбора преобразователя температуры росы
.1 Формулировка задачи и анализ проблемы
Природный газ, добываемый из подземных
источников, насыщен жидкой водой и тяжёлыми углеводородами. Для того, чтобы
удовлетворить требованиям, предъявляемым к чистому, сухому и абсолютно
газообразному топливу, пригодному для передачи по трубопроводам и поставке
конечным пользователям для сжигания, газ должен пройти несколько стадий
переработки, включая удаление жидкостей, захваченных газом, с последующим
высушиванием для снижения содержания водяных паров. Осушка природного газа
имеет наиважнейшее значение для успешной работы всей системы подготовки газа и
его транспорта к конечному потребителю. Срок службы трубопровода определяется
скоростью коррозии, которая напрямую связана с присутствием влаги в газе,
поскольку она способствует окислению. Кроме того, образование гидратов может
снизить пропускную способность трубопровода, что способно привести к закупорке
и повреждению фильтров, кранов и компрессоров. Гидраты являются соединением
избыточной воды с парами жидких углеводородов, которые могут конденсироваться
из газа при транспортировке, образуя эмульсии, которые при рабочем давлении
представляют собой твёрдые массы. Осушка природного газа до точки росы ниже
рабочей температуры вымораживающей установки, несомненно, представляет большую
важность для предотвращения проблем с закупориванием в результате замерзания,
что отрицательно сказывается на эффективности.
Обычной практикой на предприятиях является
измерение содержания влагосодержания в критических точках на постоянной основе
с тем, чтобы обеспечить эффективную переработку и надёжную работу всех
установок. Правильная конструкция, установка и эксплуатация промышленных
гигрометров для таких областей применения требует пристального внимания к
конкретным измеряемым свойствам газа и его составу, а также к используемым
технологиям переработки [7].
Правильное определение температуры точки росы
(ТТР) природного газа обеспечивает надёжность контроля качества газа.
Само понятие «температура точки росы» было
введено в перечень свойств транспортируемого природного газа как показатель,
характеризующий температуру начала выделения жидких или твердых фаз.
В силу особенностей промысловой подготовки газа
могут фиксироваться несколько ТТР по различным (по составу и агрегатному
состоянию) конденсированным фазам:
- по жидкой воде;
по льду - температуре выделения из газовой фазы
кристаллика льда;
по газовым гидратам;
по водометанольному раствору;
по углеводородам.
Для газовой отрасли, наибольший интерес
представляет не «ТТР по воде», характеризующая метастабильное состояние
переохлажденной воды, а та «точка росы», которая характеризует потенциальные
явления, затрудняющие транспорт газа, и в первую очередь - образование твердых
фаз (лед, гидраты). Только эта «точка росы» будет характеризовать качество газа
с точки зрения его безопасного транспорта.
Потенциально, все конденсированные фазы,
содержащие воду, в результате могут образовывать твердые вещества. Причем,
твердая фаза «лед» кроме воды может содержать также и растворенные в ней
гликоли и/или метанол.
Учитывая, что при измерении «точки росы»
определяется температура начала выделения жидких или твердых фаз, предпочтение
следует отдать приборам конденсационного типа. Безусловно, такой прибор должен
быть автоматическим и иметь определенные характеристики, которые учитывали бы
специфику процесса конденсации [8].
Принимая во внимание ГОСТ Р 53763-2009 «Газы горючие
природные. Определение температуры точки росы по воде» в Российской Федерации
на предприятиях нефтяной и газовой промышленности требуется использование
гигрометров следующих типов:
визуальный конденсационный гигрометр:
конденсационный гигрометр, при выполнении измерений которым наличие или
отсутствие росы на конденсационной поверхности фиксирует лицо, выполняющее
измерение;
автоматический конденсационный гигрометр:
конденсационный гигрометр, при выполнении измерений которым наличие или
отсутствие росы на конденсационной поверхности фиксирует оптическая система;
сорбционный гигрометр: гигрометр, в котором
реализован один из сорбционных методов измерений (диэлькометрический,
кулонометрический, пьезоэлектрический, интерфереционный и другие методы,
включающие обязательную стадию сорбции паров воды из исследуемого газа).
На данный момент в установке используется
конденсационный преобразователь точки росы КОНГ-Прима-2, который устарел, не
отвечает современным требованиям, и нуждается в замене.
Далее в качестве примеров рассмотрены несколько
вариантов газоанализаторов, а также обоснован выбор одного из них.
Преобразователь точки росы «КОНГ-Прима-2».
Преобразователь точки росы «КОНГ-Прима-2»
(рисунок 4.1) предназначен для измерения точки росы в природном газе или других
газах при рабочем давлении [9].
Рисунок 4.1 - Общий вид, габаритные и
присоединительные размеры преобразователя точки росы «КОНГ-Прима-2»: 1 -
датчик; 2 - корпус; 3 - крышка; 4 - крышка; 5 - пробоотборное устройство; 6 -
контрящая гайка; 7 - трубка; 8 - кабельный ввод; 9 - штуцер; 10 - крепежный
болт; 11 - продувочный болт; 12 - кабель питания
Функционально прибор состоит из трех законченных
узлов:
датчика первичной информации (ДПИ);
блока обработки (БО);
блока питания (БП).
ДПИ предназначен для реализации режимов
охлаждения, стабилизации и нагрева по командам с БО, а также выдачи в БО
электрических сигналов, соответствующих температуре и уровню фотосигнала.
Чертеж ДПИ изображен на рисунке 4.2.
Рисунок 4.2 - датчик первичной информации
преобразователя точки росы «КОНГ-Прима-2»: 1- корпус;
2- измеритель; 3 - термодатчик; 4 - термодатчик; 5 - термоэлектронная батарея
(элемент Пельтье); 6 - световод (оптическое волокно); 7 - канал прохождения
охлаждающего газа; 8 - светодиод; 9 - фотодиод
При охлаждении световода и
омывающего его газа до температуры насыщения при рабочем давлении трехкаскадной
термоэлектронной батареей, на поверхность изогнутой части световода выпадает
конденсат. Фотодиод регистрирует уменьшение интенсивности излучения, введенного
в световод от светодиода, что является командой для включения нагрева и
регистрации температуры конденсации терморезистором 3, сопряженным с изогнутой
частью световода.
При нагреве световода и омывающего
его газа выше температуры насыщения, с поверхности изогнутой части световода
испаряется конденсат и фотодиод регистрирует увеличение интенсивности
излучения, что является командой для включения охлаждения и регистрации
температуры испарения.
После вышеописанного процесса
включается непрерывный нагрев световода в течение четырех минут, а в блоке БО
вычисляется точка росы, как среднее значение температур конденсации и
испарения.
Технические характеристики
преобразователя приведены в таблице 4.1
Таблица 4.1 - Технические
характеристики преобразователя «КОНГ-Прима-2»
|
Параметр
|
Значение
|
|
Диапазон
измерения точки росы, °C
|
-35…+30
|
|
Пределы
абсолютной погрешности при измерении точки росы, °C
|
±1
|
|
Характеристики
пробы газа
|
|
Давление,
МПа, не более
|
10
МПа
|
|
Температура,
°C
|
-20…+50
|
|
Условия
эксплуатации анализатора
|
|
Рабочая
температура окружающей среды, °C
|
-40…
+40
|
|
Относительная
влажность воздуха, %
|
до
98 при температуре +35°C и более низких без прямого попадания атмосферных
осадков
|
Цена преобразователя точки росы «КОНГ-Прима-2» -
856680 руб.
Анализатор точки росы по влаге и углеводородам
«КОНГ-Прима-4»
Анализатор точки росы по влаге и углеводородам
«КОНГ-Прима-4» (рисунок 4.3) применяется для измерения температуры точки росы
по влаге и углеводородам в природном газе, воздухе и в других газах.
Предназначен для контроля точек росы влаги и
углеводородов на газоизмерительных станциях, на станциях подземного хранения и
осушки природного газа, на автомобильных газонаполнительных компрессорных
станциях и т.д. Также используется для поверки гигрометров и генераторов
влажного газа [10].
Общий вид, габаритные и присоединительные
размеры преобразователя точки росы аналогичны ПТР «КОНГ-Прима-2» (рисунок 4.1)
В зависимости от допускаемых
пределов абсолютной погрешности при измерении точки росы, анализатор
используется в качестве рабочего средства измерений ТТР влаги и ТТР
углеводородов в природном газе, либо эталонного средства измерений,
используемого для градуировки и поверки рабочих средств измерений ТТР влаги и
генераторов влажности, имеющих абсолютную погрешность измерения точки росы
±0,5°С и выше.
В состав анализатора входят:
преобразователь точки росы (ПТР);
центральный управляющий блок (ЦУБ).
В анализаторе точек росы «КОНГ-Прима-4»
реализован конденсационный принцип измерения с регистрацией процессов
конденсации оптическими методами. Сущность метода заключается в измерении
температуры, до которой необходимо охладить прилегающий к охлаждаемой
поверхности слой влажного газа, для того, чтобы довести его до состояния
насыщения при рабочем давлении.
Датчик первичной информации (рисунок
4.4) является оптоволоконным преобразователем и обеспечивает измерение значений
выходного сигнала при появлении или исчезновении влаги на его чувствительном
элементе.
При охлаждении световода и
омывающего его газа до температуры насыщения при рабочем давлении трехкаскадной
термоэлектронной батареей, на поверхность изогнутой части световода выпадает
конденсат. Фотодиод регистрирует уменьшение интенсивности излучения, введенного
в световод от светодиода. По терморезистору 3, сопряженному с изогнутой частью
световода, регистрируется температура конденсации. При нагреве световода и
омывающего его газа выше температуры насыщения, с поверхности изогнутой части
световода испаряется конденсат и фотодиод регистрирует увеличение интенсивности
излучения, по терморезистору 3 регистрируется температура испарения.
Рисунок 4.3 - Датчик первичной информации
анализатора точки росы по влаге и углеводородам «КОНГ-Прима-4»: 1- корпус; 2- измеритель; 3 - термодатчик; 4 - термодатчик;
5 - термоэлектронная батарея (элемент Пельтье); 6 - световод (оптическое
волокно); 7 - канал прохождения охлаждающего газа; 8 - светодиод; 9 - фотодиод
В преобразователь
точки росы встроен нагревательный элемент, который
обеспечивает стабилизацию температуры корпуса ПТР на заданном значении в
диапазоне от плюс 10 до плюс 30 °С.
Управление нагревателем
осуществляется электронным блоком ПТР.
В зависимости от типа газоподвода и
ДПИ ПТР имеет ряд конструктивных исполнений:
ПТР с погружным газоподводом,
предназначен для монтажа непосредственно на трубопроводе;
ПТР с проточным газоподводом,
предназначен для подключения к трубопроводу по проточной схеме.
Технические характеристики
анализатора приведены в таблице 4.2.
Таблица 4.2 - Технические
характеристики анализатора «КОНГ-Прима-4»
|
Параметр
|
Значение
|
|
Диапазон
измерения точки росы, °C
|
по
влаге
|
-30…
+30
|
|
по
углеводородам
|
-30…
+30
|
|
Пределы
абсолютной погрешности при измерении точки росы, °C
|
по
влаге
|
±1
|
|
по
углеводородам
|
±1
|
|
Характеристики
пробы газа
|
|
Давление,
МПа, не более
|
10
МПа
|
|
Температура,
°C
|
-20…+50
|
|
Условия
эксплуатации анализатора
|
|
Рабочая
температура окружающей среды, °C
|
ПТР
|
-40…+40
|
|
ЦУБ
|
+1…
+35
|
|
Относительная
влажность воздуха, %
|
ПТР
|
до
98 при температуре +35°C и более низких без прямого попадания атмосферных
осадков
|
|
ЦУБ
|
до
98 при температуре +35°C
|
|
Атмосферное
давление, мм рт. ст.
|
630...
800
|
|
Расстояние
от ПТР до ЦУБ, м, не более
|
1000
|
|
|
|
|
Цена анализатора КОНГ-Прима-4 - 977040 руб.
Анализатор точки росы по влаге и углеводородам
«КОНГ-Прима-10».
Анализатор точки росы по влаге и углеводородам
«КОНГ-Прима-10» является потоковым гигрометром, т.е.
стационарно располагается в непосредственной близости от точки отбора пробы и
осуществляет измерения в автоматическом непрерывном режиме. Анализатор
предназначен для использования в качестве рабочего средства измерения ТТР воды
и ТТР углеводородов в природном газе или других газах при рабочем давлении, а
также может применяться в качестве эталонного средства измерения при проведении
поверочных работ [11].
Общий вид, габаритные и присоединительные
размеры преобразователя точки росы аналогичны ПТР «КОНГ-Прима-2» (рисунок 4.1)
Работает по принципу «охлаждаемого
зеркала». Особенность способа регистрации фотосигнала, примененного в
анализаторе, состоит в использовании явления поляризации света при его
отражении и преломлении от поверхности диэлектрика. Для этого охлаждаемое
зеркало анализатора выполнено из диэлектрического материала. Световая волна,
падая на границу раздела «газ - диэлектрическое зеркало» частично поляризуется
(рисунок 4.4).
Рисунок 4.4 - Рассеяние света при отсутствии
конденсации паров воды на охлаждаемую поверхность зеркала: α - угол Брюстера; 1 - диэлектрическое охлаждаемое зеркало; 2 -
исследуемая среда (газ); S - лазерный диод; F1, F2 - фотоприемники системы регистрации; U0 - нулевой сигнал фотоприемника
Согласно законам физической оптики
при некотором угле падения α, происходит полная поляризация отраженной волны. Величина угла α определяется законом Брюстера:

, (4.1)
где n1 - показатель преломления газовой среды;
n3
- показатель преломления материала зеркала;
α - угол Брюстера.
Таким образом, при
освещении диэлектрического зеркала поляризованным в плоскости падения светом и
выполнении условия Брюстера, отраженная волна отсутствует. При этом система
регистрации фиксирует нулевой уровень фотосигнала с фотоприемников. При охлаждении
зеркала и появлении на поверхности капель конденсирующихся паров воды
происходит интенсивное рассеяние света. Система регистрации реагирует на
процесс конденсации паров воды возрастанием уровня фотосигнала, поступающего с
фотоприемника F1 (рисунок 4.5). Уровень фотосигнала зависит от количества воды,
сконденсировавшейся на поверхности охлаждаемого зеркала.
При образовании на зеркале тонкой
пленки углеводородов 2, имеющей показатель преломления n2 отличный
от n3, закон
Брюстера нарушается и появляется волна, отраженная от границы раздела сред «газ
- пленка». Кроме того, ввиду оптической прозрачности сконденсированной пленки
появляется вторая отраженная волна от границы раздела «пленка - зеркало». В
результате фотоприемник F2 фиксирует два отраженных луча, которые образуют
интерференционную картину (рисунок 4.6).
Рисунок 4.5 - Рассеяние света при
конденсации паров воды на охлаждаемую поверхность зеркала
Рисунок 4.6 - Схема распространения
света при наличии на зеркале пленки конденсата 2 с показателем преломления n2: 1 - диэлектрическое охлаждаемое зеркало; 2 - пленка
сконденсированного углеводорода; 3 - исследуемая среда (газ)
Наличие в анализаторе двух
информационных каналов даёт возможность однозначно и с высокой степенью
точности идентифицировать конденсацию на зеркале анализатора углеводородов и
воды.
Конструкция чувствительного элемента приведена
на рисунке 4.7.
Источником излучения является лазерный светодиод
10, поляризованный свет от которого через систему оптических линз 4, 11 под
определенным, специально заданным углом попадает на кремниевую пластину 9
(зеркало или ЧЭ). Зеркало 9 охлаждается трехкаскадной термоэлектронной батареей
8. Отраженный от зеркала свет регистрируется по трем каналам: основному 6,
работающему по отражению света и двум дополнительным 5 и 7, работающим по
рассеянию света.
Рисунок 4.7 - Датчик
первичной информации анализатора точки росы по влаге и углеводородам
«КОНГ-Прима-10»: 1 - корпус; 2 - термодатчик
температуры корпуса; 3 - термодатчик; 4 - направляющая призма; 5 - фотодиод; 6
- передний фотодиод; 7 - задний фотодиод; 8 - элемент Пельтье; 9 - чувствительный
элемент; 10 - лазер; 11 - оптический тракт
По различной реакции каждого информационного
канала на образование на зеркале при его охлаждении конденсата, происходит
дифференцирование компонентного состава конденсата (вода, лед, гидраты,
углеводороды и др.)
Для фиксации образования неоднородностей
распределения водного конденсата или кристаллов льда и гидратов на ЧЭ
предназначены фотоприемники6 и 7. Они фиксируют изменение рассеянного света и
потому расположены сбоку от направляющей призмы и от фотоприемника фиксирующего
прямой отраженный сигнал. Фотоприемник6 фиксирует изменение интенсивности
рассеиваемого света по ходу светового потока лазера (прямое рассеивание), а
фотоприемник7- в противоположном направлении (обратное рассеивание).
Таким образом, входной оптический
сигнал и значение температуры ЧЭ преобразуются в выходные электрические сигналы
фотоприемников и термодатчика соответственно.
Технические характеристики
анализатора приведены в таблице 4.3.
Таблица 4.3 - Технические
характеристики анализатора «КОНГ-Прима-10»
|
Параметр
|
Значение
|
|
Диапазон
измерения точки росы, °C
|
по
влаге
|
-30…
+30
|
|
по
углеводородам
|
-30…
+30
|
|
Пределы
абсолютной погрешности при измерении точки росы, °C
|
по
влаге
|
±0.5
|
|
по
углеводородам
|
±1
|
|
Характеристики
пробы газа
|
|
Давление,
МПа, не более
|
25
МПа
|
|
Температура,
°C
|
-20…+50
|
|
Условия
эксплуатации анализатора
|
|
Рабочая
температура окружающей среды, °C
|
ПТР
|
-10…+40
|
|
ИБ
|
+1…
+35
|
|
Относительная
влажность воздуха, %
|
ПТР
|
до
98 при температуре +35°C и более низких без прямого попадания атмосферных
осадков
|
|
ИБ
|
до
98 при температуре +35°C
|
|
Атмосферное
давление, мм рт. ст.
|
630...
800
|
|
Расстояние
от ПТР до ЦУБ, м, не более
|
1000
|
|
|
|
|
Цена анализатора КОНГ-Прима-10 - 1101500 руб.
Анализатор температуры точки росы по влаге и
углеводородам «Condumax
WHC».
Анализатор «Condumax
WHC» (рисунок 4.8)
предназначен дляодновременного измерения температуры точки росы углеводородов
иводы. Вприборе используются технология темного пятна для определения
температуры точки росы углеводородов и диэлькометрический метод для определения
температуры точки росы воды [12].
Рисунок 4.8 - Внешний вид анализатора
температуры точки росы по влаге и углеводородам «Condumax
WHC»
Диэлькометрический метод (рисунок 4.9). Датчик
состоит из трех слоев, размещенных накерамической подложке: пористого
проводящего, активного адсорбирующего иеще одного проводящего. Слои очень
тонкие, порядка 1 мкм. Система представляет собой крошечный конденсатор.
Газ, содержащий молекулы воды, свободно проникает
сквозь проводящий слой вадсорбирующий. Молекулы воды обладают высоким дипольным
моментом, поэтому их присутствие вадсорбирующем слое изменяет диэлектрическую
проницаемость среды между обкладками конденсатора, чтовсвою очередь определяет
емкость конденсатора. Датчик калибруют, занося впамять прибора кривую
зависимости емкости конденсатора отвлажности газа. Приизмерениях электроника
преобразует значение емкости конденсатора ввыходной сигнал илинеаризует его.
Рисунок 4.9 - Диэлькометрический метод
определения точки росы.
Технология темного пятна (рисунок 4.10).
Известно, что углеводородный конденсат выпадает в виде ровного слоя. Поэтому
традиционный метод определения температуры конденсации углеводородов - при
помощи охлаждения зеркала и наблюдения за его поверхностью - может давать
большую погрешность. Это связано с тем, что начало конденсации происходит
незаметно и фиксация этого момента требует исключительно высокой квалификации
оператора.
Рисунок 4.10 - Технология «темного пятна»
В анализаторе температуры точки росы по влаге и
углеводородам «Condumax»
используется технология темного пятна, разработанная компаниями Shell
и Michell Instruments,
суть которой состоит в том, что используется не полированное плоское зеркало, а
матовая поверхность с коническим углублением.
При освещении этой поверхности параллельным
пучком большая часть света отражается кольцом, показанным на рисунке 4.10.
Однако, за счет искусственных неровностей (которые обусловлены матированием)
часть света попадает внутрь кольца. Описанная выше ситуация соблюдается до тех
пор, пока не произошло выпадение конденсата.
При выпадении конденсата неровности смачиваются
и стенки конического углубления становятся «зеркальными». Свет перестает
отражаться внутрь кольца и там наблюдается темное пятно.
Температура, при которой образовалось темное
пятно - то есть, произошло выпадение конденсата - по определению является
температурой точки росы углеводородов.
Технические характеристики
анализатора приведены в таблице 4.4.
Таблица 4.4 - Технические
характеристики анализатора «Condumax»
|
Параметр
|
Значение
|
|
Диапазон
измерения точки росы, °C
|
по
влаге
|
-100…
+20
|
|
по
углеводородам
|
до
-34
|
|
Пределы
абсолютной погрешности при измерении точки росы, °C
|
по
влаге
|
±1
в диапазоне -60…+20°C ±2 в диапазоне -100…-60°C
|
|
по
углеводородам
|
±0,5
|
|
Характеристики
пробы газа
|
|
Давление,
МПа, не более
|
10
МПа
|
|
Температура,
°C
|
-20…+60
|
|
Условия
эксплуатации анализатора
|
|
Рабочая
температура окружающей среды, °C
|
0…+40
|
Цена анализатора Condumax
- 2510902 руб.
.2 Обоснование выбора анализатора
Рассмотрим недостатки в измерении температуры
точки росы по воде конденсационным и сорбционным методами.
Анализаторы конденсационного типа могут давать
неверные показания из-за ряда следующих затруднений:
) при охлаждении поверхности автоматических
анализаторов часто оказывается, что при отрицательных температурах
конденсационная поверхность уже занята тяжелыми углеводородами и конденсация
влаги, таким образом, происходит при более низких температурах;
) влияние фазового состояния конденсата воды. На
чувствительном элементе прибора при температуре до -40 оС может
образоваться как и вода, так и частично вода, а частично лед.
Недостаток анализатора КОНГ-прима-4 заключается
в том, что он не может однозначно и с высокой степенью точности
идентифицировать конденсацию на зеркале
углеводородов или воды из-за регистрации интенсивности излучения только одним
фотодиодом.
Этого недостатка лишен анализатор
КОНГ-прима-10. Отраженный от зеркала свет
регистрируется по трем каналам: основному, работающему по отражению света и
двум дополнительным, работающим по рассеянию света. По различной реакции
каждого информационного канала на образование на зеркале при его охлаждении
конденсата, происходит дифференцирование компонентного состава конденсата
(вода, лед, гидраты, углеводороды и др.)
Использование анализатора «Condumax»,
основанного на сорбционном принципе, позволяет избежать этого затруднения,
поскольку в нём не используется конденсация, а значит, он не будет страдать от
эффекта перекрывающихся измерений. Однако стоит учитывать другой недостаток.
Молекула гликоля в чём-то похожа на молекулу воды - в частности, она тоже
содержит полярные ковалентные связи между атомами кислорода и водорода, то есть
эти атомы приобретают, соответственно, отрицательный и положительный заряд.
Таким образом, молекулы как воды, так и гликоля могут вызывать отклик сенсора,
если они адсорбируются на гигроскопичном слое, поскольку атомы кислорода
притягиваются к положительно заряженным областям гигроскопичного слоя.
Именно этот недостаток делает непригодным
применение анализатора «Condumax»
в цехе осушки газа.
Обобщая вышесказанное, разумно предположить, что
в качестве преобразователя точки росы может быть использован анализатор точки
росы по воде и углеводородам «КОНГ-Прима-10»
При выборе места установки
преобразователя температуры росы необходимо учитывать следующее:
место установки ПТР должно
обеспечивать удобные условия для обслуживания и демонтажа;
место установки ПТР (место отбора
пробы) должно располагаться на прямолинейном участке трубопровода;
прямолинейный участок трубопровода
должен быть без сужений и препятствий на длине 5-ти диаметров до и 3-х
диаметров трубопровода после места установки ПТР;
отбор пробы газа для ПТР необходимо
производить из глубины потока.
Для обеспечения постоянного расхода
газа через измерительную камеру анализатора (1-2 норм. л/мин) и газа,
используемого для охлаждения анализатора (максимальный расход 30 норм.л/мин),
необходимо предусмотреть линию отвода газа в атмосферу.
При выборе места установки
интерфейсного блока необходимо учитывать следующее:
ИБ должен устанавливаться в
помещении вне взрывоопасных зон;
место установки должно быть удобным
для обслуживания ИБ;
условия эксплуатации должны
соответствовать требованиям таблицы 4.3.
Коммуникационные возможности
анализатора:
Для подключения к
измерительно-информационным системам в анализаторе предусмотрены:
последовательный интерфейс RS232;
последовательный интерфейс RS485;
аналоговые выходы 4-20 мА;
дискретные выходы.
Последовательный интерфейс RS232 используется для
подключения терминального компьютера, с помощью которого осуществляется:
считывание архивов данных из
встроенной памяти анализатор;
визуализация процессов
конденсации-испарения при измерении точки росы.
Разъем для подключения компьютера
расположен на передней панели ИБ. Компьютер подключается к ИБ при помощи
кабеля, входящего в комплект ИБ. Этот порт может быть использован для передачи
измерительной информации на внешний компьютер по протоколу ModВus/RTU.
Интерфейс гальванически изолирован, напряжение изоляции - 500 В постоянного
тока.
Последовательный интерфейс RS485 (№1) используется
для передачи измерительной информации на внешний компьютер по протоколу
ModВus/RTU. Гальваническая изоляция - 500 В постоянного тока.
Последовательный интерфейс RS485 (№2) используется
для обмена информацией между ИБ и ПТР. Интерфейс не имеет гальванической
изоляции.
Аналоговые выходы 4-20 мА.
Количество выходов - два. На эти выходы выдаются измеренные значения точки росы
по влаге и углеводородам. Максимальное сопротивление нагрузки на каждом выходе
не должно превышать 400 Ом. Выход - активный, т.е. питание его осуществляется
от встроенного в ИБ источника питания. Гальваническая изоляция - 500 В постоянного
тока, между собой выходы не изолированы.
Соотношение между значениями точки
росы (ТТР), отображаемыми на индикаторе ИБ (ПТР) в цифровом виде и значеними
величины тока (I) на аналоговых выходах:
по влаге и углеводородам для
диапазона - 30…+ 30 °С:

,

;(4.2)
по влаге для диапазона -
50… + 10 °С:

,

;(4.3)
- по углеводородам для
диапазона - 30… + 10 °С:

,

.(4.4)
Дискретные выходы.
Количество выходов - два. Выходы используются для формирования сигналов
«Внимание» («Внимание 1» - точка росы по влаге за пределами диапазона измерения
и «Внимание 2» - точка росы по углеводородам за пределами диапазона измерения).
В качестве коммутирующих элементов используются электронные ключи с нагрузочной
способностью 30 В, 2 А. Гальваническая изоляция - 500 В постоянного тока.
Выводы:
- в ходе рассмотрения предложенных
вариантов анализаторов на замену преобразователя точки росы «КОНГ-Прима-2» был
выбран анализатор точки росы по воде и углеводородам «КОНГ-Прима-10»,
обладающий следующими преимуществами:
во-первых, он может однозначно и с
высокой степенью точности идентифицировать конденсацию
на зеркале углеводородов или воды;
во-вторых, молекулы
гликоля в осушенном газе не будут существенно влиять на показания анализатора;
в-третьих, стоимость
анализатора приемлемая, соответствующая понятию «цена-качество».
4.3 Разработка алгоритма
автоматического регулирования подачи ДЭГ в абсорберы ЦОГ
Исходные данные для работы
алгоритма.
Fгаз -
мгновенный расход газа через абсорбер, тыс. м³/с;-
влажность газа, температура точки росы, оС;
Msp - уставка
влажности газа, оС;
dM - зона
нечувствительности для влажности газа;
С - концентрация регенерированного
ДЭГ, %;
qn - норма
удельного расхода ДЭГ в абсорбер, г/1000 м3;
qmax - верхний
предел удельного расхода ДЭГ в абсорбер, г/1000 м3;
dq - шаг
изменения удельного расхода ДЭГ в абсорбер;
Ммин - максимально
достоверное показание влагомера;
Ммах - минимально
достоверное показание влагомера;
Fmin - расход
гликоля в абсорбер технологической нитки, находящейся в горячем резерве.
Описание алгоритма.
Расчет расхода РДЭГ в абсорбер производится
отдельно для каждого абсорбера и зависит от мгновенного расхода газа по данной
линии, определяемого по расходомеру «Гиперфлоу-УС», и влажности газа,
определяемого по анализатору точки росы «Конг-Прима-2».
Далее предусматривается два режима работы
алгоритма. Первый режим (режим № 1) - подача ДЭГ по нормативу. Второй режим -
подача с корректировкой по влажности газа. Далее идет описание второго режима.
Для измерения влажности используем влагомер
«Конг-Прима-2». Возможно структурное резервирование, при котором измеряется
среднее значение температуры точки росы. При выходе из строя одного из
влагомеров среднее значение температуры точки росы будет равно показанию
оставшегося работающего влагомера.
Выход из строя влагомера определяется по условию
Ммin<М<Ммах.
При неисправности влагомера автоматически
происходит переключение на режим №1.
Через определенное время (величина временной
задержки определяется экспериментально) измеряется влажность газа. Если
измеренная точка росы ниже уставки на установленную величину dM,
удельный расход ДЭГ снижается: q
= qn - dq,
в противном случае - увеличивается. Если удельный расход ДЭГ превысит величину qmax,
дальнейшее увеличение прекращается и оператору выдается сообщение о
необходимости принятия мер по предотвращению ухудшения качества газа. Среди
возможных причин превышения норматива подачи ДЭГ - снижение концентрации РДЭГ и
выход из строя влагомера.
По рассчитанным таким образом для каждого
абсорбера уставкам производится регулирование расхода РДЭГ клапаном-регулятором
по пропорционально-интегральному закону.
В случае нахождения технологической нитки в
горячем резерве обеспечивается минимальная подача ДЭГ в абсорбер. После запуска
алгоритма вывода нитки в горячий резерв, расход гликоля определяется по
приведенной ниже схеме, пока не достигнет Fmin,
после чего снижение расхода гликоля прекращается и поддерживается на заданном
уровне, пока нитка находится в резерве. При выводе нитки из горячего резерва
расход гликоля определяется таким же образом.
Данный алгоритм позволяет подавать более точное
количество ДЭГа в абсорбер для осушки газа, что существенно снижает расходы.
Разработка блок-схемы алгоритма расчета
количества.
Алгоритм расчета автоматической подачи ДЭГа в
абсорбер представлен на рисунке 4.11.
Листинг программы расчета количества ДЭГ на
языке ST.
CASE STEP OF
:qn:=4200.0;:=(100.0/C)*qn*Fgas;:=
1;
: T1:=t#0s;(T1);T1>t#3600s THEN
:= 3;_IF;
:Msp:= -20.0; dM:=1.0;
T1:=t#0s;abs(M-Msp)>dM THEN STEP:= 4; ELSE STEP:= 1;_IF;
: IF (M-Msp)>dM THEN STEP:= 5;
ELSE STEP:= 7;_IF;
: IF
qn>qmax
THEN
Maxras:='Превышение максимального уровня расходя ДЭГ';
STEP:= 1; ELSE STEP:= 6; _IF;
: dq:= 100.0; qn:= qn+dq;:= 8;
: dq:= 100.0;:= qn-dq; STEP:= 8;
: Frdeg:=(100.0/C)*qn*Fgas;:= 1;
END_CASE;
Рисунок 4.11 - Блок-схема алгоритма расчета
количества ДЭГ
5. Охрана труда и техника безопасности
Данный дипломный проект, как уже было отмечено
ранее, посвящен автоматизации цеха осушки газа УКПГ-1С Заполярного
газоконденсатного месторождения ООО «Газпром добыча Ямбург».
С целью обеспечения
безопасности производства при монтаже и эксплуатации средств автоматизации в
цехе осушки газа в данном разделе необходимо дать характеристику
производственной среды, в которой производится автоматизация. Необходимо
проанализировать потенциальные опасности, которые могут возникнуть в
рассматриваемых производственных условиях, привести основные мероприятия по
обеспечению безопасности при всех видах работ, связанных с монтажом,
обслуживанием и наладкой средств автоматизации, мероприятия по промышленной
санитарии, обеспечению пожарной безопасности, а также произвести расчет
параметров принятой установки пожаротушения.
5.1 Анализ производственных опасностей и
вредностей
При монтаже, наладке, эксплуатации и ремонте
средств автоматизации в цехе осушки газа производственные опасности и вредности
могут быть обусловлены следующими факторами:
наличием вредных для организма веществ, таких
как:
а) природный газ, действующий удушающе при
незначительном содержании в воздухе. При легких отравлениях в начале
наблюдается период возбуждения, характеризующийся сонливостью, беспричинной
веселостью, затем появляется головная боль, головокружение, усиленное
сердцебиение, тошнота. При тяжелых отравлениях парами углеводородов наступает
потеря сознания, судороги, ослабление дыхания;
б) конденсат газа, являющийся ядом при приеме
внутрь, а при вдыхании паров вызывающий отравления Симптомы отравления:
головная боль, головокружение, психическое возбуждение, веселость, сухость во
рту, тошнота и рвота. При сильных отравлениях газом человек не реагирует на
свет. Признаки хронического отравления - мышечная слабость, вялость,
утомляемость, потеря в весе, бессонница, раздражительность. При длительном
соприкосновении с кожей вызывает кожные заболевания;
в) метанол, используемый для предотвращения
гидратообразования, - сильный яд, действующий на нервную и сосудистую системы,
слизистую оболочку дыхательных путей. При приеме внутрь и при вдыхании паров
(до 10-15г) приводит к тяжелому отравлению организма, ведущему к слепоте и даже
смерти. Отравление происходит не только при попадании жидкости внутрь, но и при
вдыхании паров и проникновении их через кожу тела. Метанол медленно
накапливается в организме и еще медленнее выводится. Хроническое отравление
наступает медленно при вдыхании паров и сопровождается раздражением слизистых
оболочек, головными болями, шумом в ушах, общим стрессом, расстройством зрения,
вплоть до слепоты;
г) ДЭГ, используемый в качестве абсорбента,
действует на центральную нервную систему. При длительном вдыхании паров в
концентрациях значительно превышающих ПДК, появляется головокружение, тошнота,
головная боль и слабость, а при значительных концентрациях может наступить
отравление. При воздействии на кожу обезжиривает ткани.
наличием в производственной среде
взрывопожароопасных газов, паров, жидкостей и веществ (таблица 5.1) в местах
установки приборов;
возможностью возникновениея пожара и взрыва при
разгерметизации оборудования и трубопроводов или при нарушении режима работы
оборудования.
- воздействием электрического
тока из-за случайного прикосновения к токоведущим частям стоек системы контроля
и управления, а также в случае нарушения изоляции кабелей, проводов без снятия
напряжения, неприменения средств защиты (электробезопасность. Общие требования
и номенклатура видов защиты. ГОСТ 12.1.019-79 ССБТ);
пожарной опасностью
электроустановок средств автоматизации;
накоплением статического электричества
при истечении жидкости, струй сжатых и сжиженных газов по трубопроводам, что
опасно появлением искры во взрывоопасных помещениях;
- опасность прямых ударов молнии при отсутствии
молниезащиты, что может привести к пожару и поражению обслуживающего персонала;
наличием высокого давления (около 8 МПа) в
трубопроводах и аппаратах, на которых устанавливаются и эксплуатируются приборы
и средства автоматизации;
- воздействием шума и вибрации
от движущихся с большой скоростью реагентов по трубопроводам на приборы и на
обслуживающий персонал;
- санитарно-гигиеническими и
метеорологическими условиями производственной среды (резкая смена температур, в
зимнее время персонал подвержен низким температурам до минус 55 °С, в летнее
время в помещениях температура достигает повышенных значений; недостаточное
естественное освещение в полярные ночи; отрицательно влияет на организм
человека и низкое содержание кислорода в атмосфере регионов Крайнего Севера).
Характеристика вредных веществ
приведена в таблице 5.1.
Таблица 5.1- Характеристика вредных
веществ в рабочей зоне
|
Наименование
вещества
|
Предельная
допустимая концентрация, мг/м³
|
Класс
опасностей
|
Температура,
˚С
|
Объемная
доля предела взрываемости, %
|
|
в
рабочей зоне
|
в
населенном пункте
|
|
вспышки
|
самовоспламенения
|
НПВ
|
ВПВ
|
|
Природный газ
|
100
|
-
|
4
|
-
|
537
|
4.5
|
15
|
|
Конденсат газа
|
100
|
-
|
4
|
30
|
287
|
1.4
|
7.5
|
|
Метанол
|
5.0
|
-
|
3
|
6
|
464
|
5.5
|
36.5
|
|
ДЭГ
|
10
|
|
3
|
-
|
350
|
0.2
|
68
|
Характеристика помещения по
пожароопасности и взрывоопасности приведена в таблице 5.2.
Таблица 5.2 -
Классификация цеха по пожароопасности и взрывоопасности
|
Наименование
помещений и сооружений
|
Наименование
продуктов
|
Категория
пожароопаности (НПБ 105-03)
|
Класс
зон взрывоопасности и пожароопасности (по ПУЭ)
|
Категория
и группы взрывоопасных сред (ГОСТ 12.1.011-78)
|
|
Цех осушки газа
|
Газ,
конденсат газа, метанол, ДЭГ
|
А
|
В-1а
|
IIА-Т3
|
|
Емкость
дренажная ДЭГ
|
ДЭГ
|
Ан
|
В-1г
|
IIAT3
|
|
Щитовая
ЦОГ
|
-
|
Д
|
-
|
-
|
|
Операторная
|
-
|
Д
|
-
|
-
|
В соответствии с общими принципами обеспечения
безопасности производства необходимо разработать мероприятия, направленные на
обеспечение безопасности персонала при его работе в рассматриваемых
производственных условиях.
.2 Мероприятия по обеспечению безопасных и
безвредных условий труда
Во избежание несчастных случаев при установке и
обслуживании средств автоматизации направляемый на работу персонал проходит
соответствующую подготовку, производственный инструктаж, знакомиться с общими
правилами техники безопасности и с безопасными методами работы, а также с
методами оказания первой помощи. По окончании инструктажа направляемые на
работу сдают экзамен по технике безопасности в соответствии с ПБ 08-624-03,
ПБ-12-245-98, ПУЭ, ПТЭ и в соответствии с ГОСТ 12.0.004-99 ССБТ «Организация
обучения безопасности труда. Общие положения» и получают удостоверение с
присвоенной квалификационной группы, дающее им право работать по обслуживанию
действующих электроустановок.
Основными мероприятиями по обеспечению
безопасных и безвредных условий труда являются:
мероприятия по технике безопасности;
мероприятия по промышленной санитарии;
мероприятия по пожарной безопасности.
Мероприятия по технике
безопасности.
Мероприятия по
электробезопасности включают следующее:
- при эксплуатации средств
автоматизации необходимо соблюдать "Правила устройства
электроустановок" (ПУЭ), "Правила эксплуатации электроустановок
потребителей" и "Правила техники безопасности при эксплуатации
электроустановок";
- все токоведущие части
электрических устройств изолированы (Rиз
≥ 0.5 МОм);
· по
способу защиты человека от поражения электрическим током изделия средств
автоматического управления соответствуют классам 1 и 2 (для изделий,
предназначенных для соединения с источником напряжения 220 В) и классу 3 (для
изделий, предназначенных для соединения с источником напряжения 24 В) по ГОСТ
12.2.007-03;
- все потребители
электроэнергии имеют заземление или зануление (R3 ≤ 4 Ом)
согласно ГОСТ 12.1.030-96 ССБТ «Электробезопасность. Защитное заземление.
Зануление»;
- все части устройств, находящиеся под
напряжением размещены в корпусах, обеспечивающих защиту обслуживающего
персонала от соприкосновения с деталями, находящимися под напряжением;
- основное электрооборудование
располагается отдельно от цеха - в щитовой ЦОГ, и находится в специальных
промышленных шкафах;
- устройства снабжены световыми
индикаторами включения питающей сети;
- при работе на электроустановках и с
электрооборудованием широко применяются средства индивидуальной защиты -
резиновые диэлектрические перчатки, галоши, боты, коврики, деревянные подставки
на изоляторах, специальный монтирующий инструмент и изолирующими рукоятками,
приспособления для обнаружения и замера его величины;
- подключение разъемов, замена плавких
предохранителей производится только при отключенных напряжениях питания
устройств. Подключение напряжения питания к контроллерам осуществляется через
блоки питания;
- устройства, подключаемые к
питающей сети или источникам питания с напряжением более 25В переменного тока
(действующее значение) или выше
Мероприятия по
взрывобезопасности:
-
электрооборудование, приборы, датчики, преобразователи систем КИП и А выполнены
во взрывозащищенном исполнении, в соответствии с ГОСТ 12.2.020-96 ССБТ;
- установлены
сигнализаторы довзрывных концентраций в соответствии с требованиями ГОСТ Р
51330.9-99. При достижении 10% нижнего концентрационного предела
распространения пламени (НКПР) предусмотрено включение аварийной вентиляции и
срабатывание звуковой и световой сигнализации. При достижении 20% НКПР
предусмотрен аварийный останов ЦОГ;
- все ремонтные работы в цехе производятся инструментом,
изготовленным из металла, не дающего при ударе искр;
- предотвращение накопления зарядов на
оборудовании достигается заземлением всех металлических частей, на которых
могут появиться заряды;
- предотвращение накопления зарядов на человеке
достигается устройством электропроводящих полов или заземленных зон, помостов и
рабочих площадок, обеспечением работающих токопроводящей обувью и спецодеждой;
- молниезащита выполнена согласно
«Инструкции по устройству молниезащиты зданий, сооружений и промышленных
коммуникаций» (СО 153-34.21.122-2003).
Для свободного и
безопасного доступа обслуживающего персонала к аппаратам и местам расположения
КИП и А смонтированы площадки и лестницы.
Мероприятия по безопасности при
работе с сосудами и трубопроводами под давлением:
- технологические аппараты и отдельные узлы
установки, работающие под избыточным давлением выше 0.07 МПа, а также материалы
для их изготовления соответствуют требованиям «Правил устройства и безопасной
эксплуатации сосудов, работающих под давлением». М.,1996 (ПБ 10-115-96);
- все аппараты и
трубопроводы, где может возникнуть давление, превышающее расчетное, оснащены
блоками предохранительных клапанов с переключающими устройствами;
- технологическое
оборудование, фланцевые соединения, клапанные сборки выполнены герметично;
- задвижки и вентили на аппаратах и
трубопроводах систематически прокручиваются и смазываются;
- производится регулярная поверка и обслуживание
манометров согласно требованиям инструкций и правил комитета Стандартов.
Мероприятия по промышленной санитарии.
При выполнении работ по монтажу и ремонту
средств автоматизации в ЦОГ следует применять соответствующие защитные
средства.
В соответствии с требованиями безопасности на
газовом промысле должно предусматриваться обеспечение работающего персонала
средствами индивидуальной защиты и предохранительными приспособлениями.
Согласно ГОСТ 12.4.011-89 ССБТ «Средства защиты работающих» всем рабочим и
служащим бесплатно выдаются спецодежда, спецобувь и другие средства
индивидуальной защиты. Они служат для предохранения от загрязнения, от действия
едких веществ, от ожогов, от сырости и воды, от низких и высоких температур, от
поражения электрическим током и ряда других вредных или опасных
производственных факторов.
Для ограничения воздействия
шума и вибрации на персонал при
монтаже, эксплуатации, ремонте контрольно-измерительных приборов
применяются дополнительные средства по звукоизоляции аппаратов и
оборудования цеха, а также наушники.
Производственному освещению уделяется особое
внимание, и к нему предъявляется особо высокие требования, так как оно
оказывает положительное психологическое воздействие и способствует повышению
производительности труда. Освещение помещений соответствует СНиП-23-05-95:
а) в производственных помещениях - 50 люкс;
б) в операторной - 200 люкс;
В дневное суток время используется естественное
освещение, а в темное время - искусственное.
Поддержание температуры, необходимой для
эксплуатации оборудования и средств автоматизации в соответствии с техническими
условиями, осуществляется автоматически или местно, электрическим отоплением.
При температуре окружающего воздуха ниже допустимой в операторной, где
установлены вторичные приборы, отопление включается автоматически.
По ГОСТ 12.4.021-75 «ССБТ. Системы
вентиляционные. Общие требования» в помещении ЦОГ для безопасной работы и
создания нормальных метеорологических условий, предусмотрена механическая,
естественная и комбинированная вентиляция. Загрязненный воздух, перед выбросом,
очищается.
Для организации доврачебной помощи имеется
необходимый набор медикаментов и медицинских средств в аптечках.
Мероприятия по пожаробезопасности.
Обеспечение пожарной безопасности в ЦОГ
осуществляется в соответствии со следующими документами: «Правила пожарной
безопасности для предприятий и организаций в газовой промышленности»
ВППБ-01-04-98, ГОСТ 12.1.004-99 «Пожарная безопасность», «Правилами пожарной
безопасности в Российской Федерации» ППБ-01-03.
Основные мероприятия по пожарной безопасности:
- для тушения возгораний по ГОСТ 12.4.009-96
«ССБТ. Пожарная техника для защиты объектов. Основные виды.