Автоматизация блока МЭА секции 100 комбинированной установки КТ 1/1 'ОАО Сибнефть-ОНПЗ'

  • Вид работы:
    Дипломная (ВКР)
  • Предмет:
    Другое
  • Язык:
    Русский
    ,
    Формат файла:
    MS Word
    216,11 Кб
  • Опубликовано:
    2015-05-22
Вы можете узнать стоимость помощи в написании студенческой работы.
Помощь в написании работы, которую точно примут!

Автоматизация блока МЭА секции 100 комбинированной установки КТ 1/1 'ОАО Сибнефть-ОНПЗ'

Введение

В начале 50-х годов на северо-западной окраине Омска развернулось грандиозное строительство. 5 сентября 1955 года запылала форсунка в печи первой атмосферно-вакуумной установки Омского НПЗ. С этой даты началась история предприятия.

Сначала Омский НПЗ перерабатывал 3 млн. тонн нефти в год с месторождений в Башкирии, но с 1964 года в Омск стала поступать сибирская нефть. Открытие тюменских месторождений, дало новый импульс к дальнейшему развитию предприятия и вывело его на лидирующие позиции.

К середине 70-х годов мощность завода достигла 24 млн. тонн нефти в год.

В 1995 году Омский НПЗ вошел в состав Сибирской нефтяной компании. Сейчас среди российских нефтезаводов ОАО «Сибнефть - ОНПЗ» является одним из лидеров по глубине переработки нефти и выходу светлых нефтепродуктов, по набору технологических процессов, выпуску бензинов и дизельных топлив. Номенклатура производимой продукции за годы существования предприятия увеличилась с 10 до 120 наименований. С 2000 года ОАО «Сибнефть - ОНПЗ» полностью перешел на выпуск бензина высокого качества - нэтилированного. Кроме бензинов, среди основных видов продукции ОНПЗ - топливо для дизельных и реактивных двигателей, бытовой газ, топочный мазут, бензол, толуол, автомобильные масла, битум, кокс, орто- и параксилол, техническая сера и другие.

В перечень основных технологических процессов ОАО «Сибнефть - ОНПЗ» входят: обессоливание и обезвоживание нефти, первичная переработка нефти, каталитический крекинг, сернокислотное алкилирование, каталитическое риформирование, гидроочистка дизельного топлива, производство ароматических углеводородов и другие.

На предприятии активно ведется реконструкция и строительство новых установок завода осуществляются при участии иностранных партнеров из Италии, Франции, Швейцарии, Германии и других стран.

На предприятии уделяется большое внимание комплексной автоматизации. ОНПЗ использует и внедряет новейшие автоматические системы управления и оборудование, что позволяет увеличить эффективность производства, улучшить качество выпускаемой продукции, снизить её себестоимость, повысить производительность.

1. Пояснительная часть

.1 Обоснование темы дипломного проекта

Задачи управления технологическим процессом на установке КТ 1/1 предложено решить с применением системы ADVANT. Система ADVANT представляет собой модульное устройство управления, являющееся базой для создания систем автоматизации процессов с высокой степенью интеграции. Система ADVANT построена на основе новейших достижений микропроцессорной технологии.

Система ADVANT может иметь уникальную комбинацию из самого разнообразного выбора типов ввода-вывода модулей связи и управляющих модулей, что может быть использовано при решении большого разнообразия задач в системе управления. Модульная структура обеспечивает возможность конфигурирования системы в соответствии с функциональными требованиями, а также исключительную гибкость для расширения ее функциональных возможностей в случае необходимости изменения или расширения самого процессора.

Для контроля и регулирования используются приборы новой модификации серии Метран 100.

Датчики давления Метран-100 предназначены для работы в системах автоматического контроля, регулирования и управления технологическими процессами и обеспечивают непрерывное преобразование измеряемых величин - давления избыточного, абсолютного, разрежения, давления разрежения, разности давлений, гидростатического давления нейтральных и агрессивных сред в унифицированный токовый выходной сигнал дистанционной передачи, цифровой сигнал на базе HART-протокола и цифровой сигнал на базе интерфейса RS-485.

Серия интеллектуальных датчиков давления Метран-100 полностью заменяет множество исполнений датчиков Метран-22,-43,-44,-45, Сапфир-22 М.

Применение микропроцессорной электроники в конструкции электронных преобразователей датчиков Метран-100 позволит:

реализовать широкий набор функций настройки и калибровки датчиков;

повысить точность настройки и снизить суммарную погрешность измерений при работе датчика в реальных условиях эксплуатации;

расширить диапазон возможных перенастроек (25:1,16:1,10:1);

обеспечить непрерывную самодиагностику.

Коммуникационный протокол HART обеспечивает:

возможность применения датчиков Метран-100 как в аналоговых, так и цифровых системах, поддерживающих HART-протокол (по одной паре проводов одновременно передается аналоговый сигнал 4-20 мА и цифровой сигнал на базе протокола HART);

двухсторонний обмен информацией между датчиком и управляющим HART-устройством: ручным портативным HART-коммуникатором Метран-650 или другим HART-мастером, а также компьютером, оснащенным HART-модемом и специальной программой, разработанной ПГ «Метран»;

тестирование и управление параметрами датчика на расстоянии.

Также в данном дипломном проекте также предлагается вместо двух одноконтурных схем регулирования расходов заменить на каскадную схему регулирования с коррекцией. Это изменение позволит более эффективно вести технологический процесс, повысит точность регулирования.

.2 Описание объекта автоматизации

Комбинированная установка глубокой переработки мазута КТ-1/1 объединяет в единый технологический процесс вакуумную перегонку мазута, висбрекинг гудрона, гидроочистку сырья каталитического крекинга, каталитический крекинг, абсорбцию, стабилизацию и фракционирование продуктов крекинга, демеркаптанизацию бутан-бутиленовой фракции, производство метилтретичнобутилового эфира (МТБЭ), моноэтаноламиновую очистку углеводородных газов.

Кроме технологических процессов на установке предусмотрена утилизация тепла дымовых газов от трубчатых печей и дымовых газов регенерации катализатора каталитического крекинга, утилизация тепла технологических потоков.

Комбинированная установка предназначена для глубокой переработки мазута по топливному варианту с целью получения ценных для народного хозяйства нефтепродуктов:

высооктанового компонента автобензина;

пропан-пропиленовой и бутан-бутиленовой фракций - сырья для процессов алкилирования и нефтехимии;

метилтретичнобутилового эфира (МТБЭ) - высокооктановой добавки к бензинам;

компонентов дизельного топлива:

фракции 160-350 °С гидроочистки;

фракции 195-310 °С каталитического крекинга;

фракции 160-350 °С висбрекинга;

фракции до 350 °С вакуумной перегонки;

фракции 310-420 °С и более 420 °С - сырья для установки коксования, производства технического углерода и в качестве компонента котельного топлива;

углеводородного газа, используемого в качестве топлива для технологических печей установки и завода;

сероводорода в растворе моноэтаноламина;

компонента котельного топлива - фракции выше 350 °С висбрекинга;

гудрона, используемого в качестве сырья установок деасфальтизации, битумной, коксования.

Комбинированная установка глубокой переработки мазута состоит из следующих секций:

секция C-001. Вакуумная перегонка мазута и висбрекинг гудрона;

секция C-100. Гидроочистка сырья каталитического крекинга;

секция C-200. Каталитический крекинг и ректификация;

секция C-300. Абсорбция и газофракционирование;

секция C-400. Утилизация тепла и теплоснабжение;

секция (блок) МТБЭ. Производство МТБЭ.

Вакуумная перегонка предусматривает переработку мазута с получением вакуумного дистиллята и гудрона.

Висбрекинг гудрона позволяет рационально перерабатывать гудрон с целью получения компонента котельного топлива.

Гидроочистка предназначена для гидрогенизационного облагораживания сырья каталитического крекинга с целью снижения содержания сернистых, азотистых, кислородсодержащих, металлорганических соединений и полициклической ароматики с одновременным снижением его коксуемости с целью улучшения структуры выходов и повышения качества продуктов крекинга, снижения отравления катализатора крекинга и сохранения уровня его равновесной активности, а также уменьшения выбросов сернистых соединений в атмосферу.

Наличие в составе комбинированной установки абсорбции, стабилизации, газоразделения и производства МТБЭ позволяет получать: пропан-пропиленовую и бутан-бутиленовую фракцию высокого качества, компонент бензина и высокооктановую добавку к моторным топливам - метилтретичнобутиловый эфир (МТБЭ).

Утилизация тепла дымовых газов регенератора каталитического крекинга и печей установки позволяет значительно увеличить топливно-энергетический КПД комплекса.

Очистка дымовых газов от катализаторной пыли, технологического конденсата от вредных веществ до требований санитарных норм обеспечивает защиту окружающей среды.

Проектная производительность установки 4 000 тыс.т/г по мазуту смеси западно-сибирских нефтей.

Производительность секций установки распределяется следующим образом:

Секция 001. Блок вакуумной перегонки мазута - 4 000 тыс.т/г.

Секция 001. Блок висбрекинга гудрона - 1 500 тыс.т/г.

Секция 100. Гидроочистка сырья каталитического

крекинга - 2 200 тыс.т/г.

Секция 200. Каталитический крекинг и

ректификация - 1 924 тыс.т/г.

Секция 300. Абсорбция и газофракционирование (по жирному газу и нестабильному

бензину) - 1 360.4 тыс.т/г.

Блок МТБЭ - Производство МТБЭ - 40 тыс.т/г.

.2.1 Описание технологического процесса

Блок моноэтанольной очистки сухого газа, пропан-пропиленовой фракции (ППФ), бензина и циркулирующего водородсодержащего газа (ВСГ).

Процесс гидроочистки основывается на реакции гидрогенизации сернистых соединений в виде меркаптанов, сульфидов, тиофенов с разрывом связи углерод-сера и насыщением водородом свободных валентных и олефиновых связей. Наряду с сернистыми соединениями при гидроочистке гидрируется значительное количество олефиновых углеводородов, смол, азотистых и кислородсодержащих соединений и разрушаются металлоорганические соединения, содержащиеся в высококипящих нефтяных фракциях, например, в вакуумных дистиллятах, используемых в качестве сырья каталитического крекинга.

В зависимости от строения, сернистые соединения при каталитическом гидрировании под давлением водорода превращаются в углеводороды: парафиновые, нафтеновые и ароматические с выделением сероводорода.

Устойчивость сернистых соединений увеличивается в следующем порядке:

меркаптаны < дисульфиды < сульфиды < тиофены.

С увеличением молекулярного веса сернистых соединений скорость гидрогенизационного обессеривания уменьшается.

Гидрогенизация азотистых соединений сопровождается выделением свободного аммиака. Разрушаются они труднее, чем серо- и кислородсодержащие соединения. Кислородные соединения легко вступают в реакцию гидрирования с образованием соответствующих углеводородов и воды.

Одновременно с гидрированием сернистых соединений в условиях гидрогенизационного обессеривания протекают многочисленные реакции углеводородов, которые в основном сводятся к расщеплению их и перераспределению водорода.

К таким реакциям относится изомеризация парафиновых и нафтеновых углеводородов, гидрирование углеводородов и их гидрогенизация.

Наиболее стойкими в процессах гидрирования являются ароматические углеводороды, которые при гидроочистке не затрагиваются или насыщаются в небольшой степени.

Условия проведения процесса гидроочистки зависят от фракционного и химического состава сырья, от требуемой степени обессеривания, применяемого катализатора и его состояния.

Основными параметрами, характеризующими гидроочистку, являются температура, давление, объемная скорость подачи сырья и кратность циркуляции водородсодержащего газа по отношению к сырью.

В первом приближении скорость гидроочистки возрастает с повышением температуры, но избирательность процесса снижается, увеличивается образование легких продуктов и отложение кокса на катализаторе.

Тяжелое, термически стойкое сырье очищают при более низкой температуре, чем легкое сырье. Наиболее целесообразно вести процесс при максимальной температуре, не вызывающей образование кокса, предел которой в зависимости от условий и характера сырья составляет 350-4200С. Во избежание коксоотложений на катализаторе не рекомендуется для данного процесса повышение температуры выше 420 0С.

Повышение давления увеличивает скорость гидрообессеривания и уменьшает коксообразование. Рабочее давление в зависимости от характера сырья и цели процесса (гидроочистка или гидрокрекинг) лежит в пределах 30-150 атм. Для данного процесса оптимальным считается давление в пределах 45-55 атм.

Объемная скорость влияет на степень и избирательность обессеривания, а также на соотношение интенсивности реакций гидроочистки и гидрокрекинга. С учетом принятой в проекте глубины обессеривания оптимальной считается объемная скорость в пределах 0,8-1,2 час-1.

Выбором наиболее рационального соотношения перечисленных параметров достигают максимальной эффективности и экономичности процесса.

Активность катализатора - величина относительная, показывающая насколько обессеривающая способность данного катализатора отличается от обессеривающей способности эталонного катализатора для одного и того же нефтепродукта. Чем выше активность катализатора, тем с более высокой объемной скоростью можно проводить процесс, обеспечивая заданную глубину обессеривания.

В качестве катализаторов для гидрогенизационных процессов переработки сернистых нефтепродуктов наибольшее распространение получил алюмокобальтмолибденовый и алюмоникельмолибденовый катализаторы, так как они обладают высокой активностью в разрыве связей С-S, малой активностью в нежелательных реакциях разрыва связей С-С и низкой активностью в реакциях полимеризации и конденсации, высокой термической стойкостью и практически полной нечувствительностью к каталитическим ядам.

В процессе проведения реакции гидроочистки сырья происходит закоксовывание катализатора и снижение его активности.

При частичной потере активности катализатора восстановление его активных центров осуществляется за счет частичного гидрирования и десорбции с поверхности катализатора продуктов уплотнения, насыщения его поверхности водородом путем выдержки катализатора в токе водородсодержащего газа при температуре реакции.

По мере накопления на катализаторе углеродистых отложений, активность катализатора уменьшается, Увеличивается сопротивление слоя катализатора, возрастает перепад давления в реакторах между входом и выходом. При значительном падении активности, которая не может быть повышена изменением параметров процесса в допустимых пределах, реакторный блок переводится на цикл регенерации катализатора.

Регенерация катализатора проводится при значительном падении активности катализатора и сводится к окислительному выжигу кокса, серы и тяжелых углеводородов, отложившихся на катализаторе в процессе реакции, непосредственно в реакторах.

Выжиг производится кислородом воздуха, подаваемого в потоке инертного газа, с поглощением окислов серы из газов регенерации 5-10% раствором соды (карбонат натрия - Na2CO3).

С целью снижения на поверхности катализатора высокомолекулярных полимерных соединений перед регенерацией катализатор промывается растворителем (бензином или дизельным топливом), что обеспечивает плавный подъем температуры в начальный период окислительного выжига кокса и сокращает общее время регенерации на 30% за счет резкого сокращения операции выжига кокса.

Газообразные продукты реакции удаляются из гидрогенизата путем отпарки их в стабилизационной колонне, при этом отгоняются бензиновые и дизельные фракции.

Удаление сероводорода из циркуляционного ВСГ проводится в абсорбере Н2S 15% раствором моноэтаноламина.

Удаление сульфидов аммония и воды производится из холодного сепаратора по разделу фаз в виде технологического конденсата

Технологическая схема блока предусматривает очистку сухого газа и пропан-пропиленовой фракции (ППФ) секции С-300, бензина и ВСГ секции С-100 от сероводорода 10-15 %-ным водным раствором моноэтаноламина (МЭА).

На сероочистку поступают:

циркулирующий водородсодержащий газ (ВСГ) секции гидроочистки (С-100) в абсорбер К-1;

бензин гидроочистки в К-4 по;

сухой газ каталитического крекинга из секции абсорбции и газофракционирования (С-300) в абсорберы К-3 и К-2;

пропан-пропиленовая фракция (ППФ) из секции абсорбции и газофракционирования (С-300) в экстрактор К-5.

Основные рабочие параметры абсорбера К-1:

температура до 45 0С,

давление 38-44 кгс/см2,

расход 10-15 %раствора МЭА 50-90 м3

Очищенный водородсодержащий газ из абсорбера К-1 через сепаратор и фильтр, где от него отделяются увлеченные частицы моноэтаноламина и влага, поступает на прием циркуляционных компрессоров.

Для поддержания стабильной концентрации водорода в циркуляционном газе (не менее 75 %об.), в сепаратор или на вход воздушного холодильника постоянно подается свежий водородсодержащий газ. С целью удаления из ВСГ хлорорганических и сернистых соединений, смесь циркуляционного и свежего ВСГ подвергается промывке водой в смесителях.

Из сепаратора водородсодержащий газ поступает в коалесцирующий фильтр для удаления аэрозолей жидкости (углеводороды и водные растворы аминов) и мехпримесей.

После фильтра водородсодержащий газ поступает на прием компрессоров.

Часть очищенного водородсодержащего газа ("отдув") после абсорбера К-1 сбрасывается с установки.

Очистка сухого газа секции С-300, осуществляется в абсорберах К-3, К-2 работающих последовательно.

Основные рабочие параметры абсорберов К-2,К-3:

температура до 45 0С,

давление до 13 кгс/см2,

расход 10- 15 %раствора МЭА в К-103 5-9 м3/ч, в К-104 до 24 м3

Очищенный углеводородный газ из абсорбера К-3 направляется на доочистку в К-2 и по сбрасывается в топливный коллектор высокого давления.

В экстракторе К-4 происходит очистка бензина раствором МЭА от соединений серы, подаваемого из рефлюксной емкости. Смешение бензина и раствора МЭА, подаваемого насосами Н-2,3р, происходит в смесителе перед подачей в К-4.

Основные рабочие параметры абсорбера К-4:

температура до 45 0С,

давление до 8 кгс/см2,

расход 10-15 %раствора МЭА до 8 м3/ч.

Пропан-пропиленовая фракция (ППФ) из С-300 поступает в экстрактор К-5 на моноэтанольную очистку.

Основные рабочие параметры абсорбера К-5:

температура до 45 0С,

давление до 23 кгс/см2,

расход 10-15 %раствора МЭА до 18 м3/ч.

Очищенная ППФ с верха К-5 через фильтр выводится с установки.

Регенерированный 10-15 % водный раствор моноэтаноламина с установки производства серы (УПС) подается на установку в емкость Е-1.

Из Е-1регенерированный раствор МЭА по л.112/9 поступает на прием насосов Н-1, 1р, Н-2 (Н-2р), Н-5 (Н-5р).

В абсорбер К-1 10-15 % раствор моноэтаноламина подается насосом Н-1 (Н-1р), в абсорбер К-2 и в экстрактор К-5 и насосом Н-5 (Н-5р), в абсорбер К-3 и экстрактор К-4 по насосом Н-2 (Н-3р).

Насыщенный сероводородом, углеводородными газами и бензином раствор моноэтаноламина из абсорберов К-1, К-2, К-3 и экстракторов К-5, К-4 поступает в емкость насыщенного раствора моноэтаноламина Е-2.

В емкости Е-2 происходит выделение растворенных углеводородных газов из насыщенного раствора МЭА, которые по линии жирного газа секции 001 направляются на секцию С-300, на газофракционирование. При заполнении системы 15% раствором моноэтаноламина уровень в емкости насыщенного раствора моноэтаноламина поддерживается подкачкой раствора из централизованного блока регенерации установки производства серы.

Потребности установки в газообразном топливе удовлетворяются за счет использования сухого газа каталитического крекинга ППФ и ВСГ.

Насыщенный сероводородом раствор моноэтаноламина из емкости Е-2 выводится с установки на установку производства серы.

Освобождение аппаратов от раствора моноэтаноламина при остановке на ремонт осуществляется вытеснением избыточным давлением газов (азотом) в Е-2 и по линии насыщенного раствора МЭА на установку производства серы.

При остановке установки или ремонте оборудования дренирование нефтепродукта из аппаратов и оборудования блоков стабилизации и РБ производится в дренажную емкость Е-3, из емкости Е-3 погружным насосом откачивается на секцию С-001.

Основными параметрами, характеризующими процесс гидроочистки является: температура, давление, объемная скорость подачи сырья, кратность циркуляции водородсодержащего газа. Нарушение норм технологических параметров может вызвать появление некачественной продукции.

При повышении температуры в реакторе увеличивается глубина гидрирования сернистых и непредельных соединений. Однако, при температуре выше 420 0С интенсивность реакции гидрообессеривания, и особенно гидрирования непредельных углеводородов, существенно не увеличивается. Это связано с возрастанием интенсивности реакции деструктивной гидрогенизации - гидрокрекинга и увеличением отложений кокса на катализаторе. Также увеличивается реакция дегидрирования бициклических нафтенов и расход водорода на гидроочистку снижается.

Повышение общего давления способствует увеличению глубины обессеривания, увеличению межрегенерационного цикла катализатора. При возрастании общего давления в системе растет парциальное давление водорода, способствующее увеличению глубины гидроочистки. Парциальное давление водорода также зависит от общего давления водородсодержащего газа на входе в реактор, от концентрации водорода в водородсодержащем газе.

С увеличением объемной скорости уменьшается время пребывания сырья в реакторе, т.е. время контакта с катализатором, при этом уменьшается глубина гидрообессеривания сырья. При уменьшении объемной скорости увеличивается глубина обессеривания, т.к. увеличивается время контакта сырья с катализатором. При выборе объемной скорости учитывают температуру, давление, состав сырья, состояние катализатора.

Процесс гидрообессеривания проводится в условии высокого парциального давления водорода. В качестве источника водорода используется водородсодержащий газ (ВСГ) с установок каталитического риформинга.

Парциальное давление водорода в системе реакторного блока зависит от общего давления и концентрации водорода в циркулирующем ВСГ. Соотношение водород - сырье зависит от количества ВСГ, подаваемого на смешение с сырьем, концентрации водорода в циркулирующем ВСГ и количестве загружаемого сырья.

Количество циркулирующего ВСГ зависит от давления на приеме циркуляционных компрессоров.

Повышение давления в системе реакторного блока, увеличение концентрации водорода в циркулирующем ВСГ, увеличение подачи циркулирующего ВСГ на смешение с сырьем способствуют протеканию реакции гидрообессеривания, увеличивают глубину очистки сырья от серосодержащих соединений, т.к. повышение вышеперечисленных параметров ведет к увеличению соотношения водород - сырье.

Проведение процесса гидроочистки при высоком соотношении водорода к сырью снижает отложение кокса на катализаторе, тем самым увеличивает межрегенерационный пробег установки.

Кратность циркуляции водородсодержащего газа выражается отношением объема газа в нм3, приходящимся на 1 м3 сырья.

Глубина гидрогенизации уменьшается с увеличением молекулярного веса сырья. Это объясняется увеличением вязкости фракции и увеличением содержания тиофеновой серы, трудно удаляемой в процессе гидроочистки. Изменение содержания серы и непредельных углеводородных соединений влияет на расход водорода и выделение тепла.

Содержание в сырье механических примесей приводит к понижению активности катализатора, создает дополнительное гидравлическое сопротивление в системе реакторного блока за счет загрязнения теплообменников и слоя катализатора.

При увеличении давления в стабилизационной колонне уменьшается степень выделения углеводородных газов из гидрогенизата, это связано с повышением растворимости газов в жидком нефтепродукте.

При понижении температуры низа колонны уменьшается степень отпарки фракций дизельного топлива и бензина. Понижается температура вспышки дизельного топлива.

С увеличением температуры раствора МЭА и газов, подаваемых в абсорбер, уменьшается степень абсорбции сероводорода из газов, соответственно ухудшается очистка газов от сероводорода.

При увеличении кратности циркуляции раствора МЭА увеличивается степень очистки газов от сероводорода.

При понижении концентрации МЭА в водном растворе, уменьшается степень абсорбции (поглощения) сероводорода и углекислого газа из циркуляционного ВСГ.

.2.2 Краткая характеристика сырья и получаемых продуктов

Таблица 1. - Краткая характеристика сырья и получаемых продуктов

Наименование сырья, реагентов, материалов, катализаторов, полуфабрикатов, изготовляемой продукции

Обозначение Государственного или отраслевого стандарта, технических условий, стандарта предприятия

Показатели качества, обязательные для проверки

Норма по ГОСТ, ОСТ, ТУ, СТП

Область применения изготовляемой продукции

Газ водородсодержащий.

По проекту

1. Содержание водорода, % объемных не менее:

85

Используется для очистки вакуумного дистиллята на С-100

Наименование сырья, реагентов, материалов, катализаторов, полуфабрикатов, изготовляемой продукции

Обозначение Государственного или отраслевого стандарта, технических условий, стандарта предприятия

Показатели качества, обязательные для проверки

Норма по ГОСТ, ОСТ, ТУ, СТП

Область применения изготовляемой продукции

ВСГ циркуляционный

По проекту

1. Содержание водорода, % объемных не менее: 2. Содержание сероводорода, % масс, не более:

75  0,01

Используется для очистки вакуумного дистиллята на С-100

Отдувочный ВСГ

По проекту

1. Содержание водорода, % объемных не менее: 2. Содержание сероводорода, % масс, не более:

 75 0,01

Сбрасывается в топливную сеть завода.

Фракции бензиновые - компоненты автомобильных бензинов. (стабильный бензин фр.С5 - 205 0С каталитического крекинга)

СТП 401402-2001 с изм.1, 2, 3

1. Внешний вид - бесцветная прозрачная жидкость, не содержащая воды и мехпримесей 2. Фракционный состав: - температура начала перегонки, 0С, не ниже: с 1 октября по 1 апреля - 90 % перегоняется при температуре, 0С, не выше: - температура конца кипения, 0С, не выше: 3. Детонационная стойкость:

35,0     Не нормируется  190,0  215,0

Высокооктановый компонент для автомобильных бензинов.

Наименование сырья, реагентов, материалов, катализаторов, полуфабрикатов, изготовляемой продукции

Обозначение Государственного или отраслевого стандарта, технических условий, стандарта предприятия

Показатели качества, обязательные для проверки

Норма по ГОСТ, ОСТ, ТУ, СТП

Область применения изготовляемой продукции



- октановое число, определяемое по моторному методу, не менее: 4. Давление насыщенных паров,  КПа, не более: -с 01.10 до 01.04, не более: 5. Испытание на медной пластине: 6. Массовая доля серы, %, не более

 80,0  79,9  93,3 Выдерживает 0,05


Фракция пропан- пропиленовая

ТУ 0272-024-00151638-99

1. Массовая доля компонентов, %, - сумма углеводородов С2, не более - пропан - пропилен, не менее - сумма углеводородов С4, не более - сумма углеводородов С5 и выше, не более 2. Массовая доля сероводорода, %, не более, 3. Содержание

 2,0 Не нормируется  65,0 5,0 отс.  0,0002

Является сырьем для производствa пропилена или используется в качестве топлива для коммунально-бытового потребления

Наименование сырья, реагентов, материалов, катализаторов, полуфабрикатов, изготовляемой продукции

Обозначение Государственного или отраслевого стандарта, технических условий, стандарта предприятия

Показатели качества, обязательные для проверки

Норма по ГОСТ, ОСТ, ТУ, СТП

Область применения изготовляемой продукции



свободной воды и щелочи

отс.

используется в качестве топлива для коммунально-бытового потребления

Раствор МЭА регенерированный (поступает с установки производства серы)

По проекту

1. Концентрация МЭА, %, масс: 2. Содержание сероводорода, г/л, не более

10-15 1,5

Применяется для очистки газов от сероводорода.

Насыщенный раствор моноэтанол-амина.

По проекту

Содержание сероводорода, г/л не более

  32,13

Выводится на установку производства серы (УПС) для регенерации

Газ инертный.

СТП 401205-95 с изм. 1

1. Содержание кислорода, %, не более: 2. Содержание СО, %, не более: 3. Содержание СО2, %, не более: 4. Содержание горючих, %, не более: 5. Точка росы, 0С, не

0,5 0,1 1,2 0,5

Используется для продувки систем.

Наименование сырья, реагентов, материалов, катализаторов, полуфабрикатов, изготовляемой продукции

Обозначение Государственного или отраслевого стандарта, технических условий, стандарта предприятия

Показатели качества, обязательные для проверки

Норма по ГОСТ, ОСТ, ТУ, СТП

Область применения изготовляемой продукции



выше:

-40


Диметил-дисульфид

Данные, предоста-ленные фирмой поставщиком «ATOFINA» (Франция)

1. Молекулярная масса 2. Температура кипения, ºС 3. Содержание серы, % масс 4. Плотность, г/см3 5. Количество серы, г/л 6. Вязкость динамическая при 20 ºС, спуаз (Н·с/м2)

94,2 109,6 68 1,063 720 0,62 (0,0062)

Сульфидирующий агент для осернения катализаторов гидроочистки

Катализатор гидроочистки марка KF-542-5R


Химический состав: Физические свойства: Номинальный диаметр, мм внутренний - наружный 1. Номинальная длина, мм Тип экструдата 4. Насыпная плотность, кг/м5. Сопротивление

MoO3 / NiO / CoO  На активной окиси алюминия 6,0 3,0  6,0 Кольцо 670


Наименование сырья, реагентов, материалов, катализаторов, полуфабрикатов, изготовляемой продукции

Обозначение Государственного или отраслевого стандарта, технических условий, стандарта предприятия

Показатели качества, обязательные для проверки

Норма по ГОСТ, ОСТ, ТУ, СТП

Область применения изготовляемой продукции

Катализатор гидроочистки маркаKF-542-5R


раздавливанию, кг/част (фунт/част) 6. Требуемая сера, % масс 7. Абразивный износ, % масс

2,5 (6) 5 3,0


Катализатор гидроочистки марка KF-647-3Q


Химический состав: Физические свойства: 1. Номинальный размер, мм 2. Номинальная длина, мм 3. Тип экструдата 4. Насыпная плотность, кг/м3  5. Сопротивление раздавливанию, кг/мм (фунт/мм) 6. Требуемая сера, % масс 7. Абразивный износ, % масс 8. Содержание мелочи, % масс

Ni / Мo На активной окиси алюминия 2,4 х 2,8 5,0 Квадролоб 80 2,0 (5,0) 7 1,5 1,0


Катализатор гидроочистки


Химический состав:

Ni / Мo  На

Катализатор гидро-

Наименование сырья, реагентов, материалов, катализаторов, полуфабрикатов, изготовляемой продукции

Обозначение Государственного или отраслевого стандарта, технических условий, стандарта предприятия

Показатели качества, обязательные для проверки

Норма по ГОСТ, ОСТ, ТУ, СТП

Область применения изготовляемой продукции

Марка KF-841-2E


Физические свойства: 1. Номинальный размер, мм 2. Номинальная длина, мм 3. Тип экструдата 4. Насыпная плотность, кг/м3  5. Сопротивление раздавливанию, кг/мм (фунт/мм) 6. Требуемая сера, % масс 7. Абразивный износ, % масс 8. Содержание мелочи, % масс

активной окиси алюминия 2,1 4,5 цилиндр 780 1,6 (4,0) 10 0,6 0,5

 

Катализатор гидроочистки марка KF-756-1.3Q


Химический состав: Физические свойства: 1. Номинальный размер, мм

СоО / МоО3 на активной окиси алюминия 1,1 х 1,3

 

Наименование сырья, реагентов, материалов, катализаторов, полуфабрикатов, изготовляемой продукции

Обозначение Государственного или отраслевого стандарта, технических условий, стандарта предприятия

Показатели качества, обязательные для проверки

Норма по ГОСТ, ОСТ, ТУ, СТП

Область применения изготовляемой продукции

Катализатор гидроочистки марка KF-756-1.3Q


2. Номинальная длина, мм 3. Тип экструдата 4. Насыпная плотность, кг/м3  5. Сопротивление раздавливанию, кг/мм (фунт/мм) 6. Требуемая сера, % масс 7. Абразивный износ, % масс 8. Содержание мелочи, % масс

3,0 Квадролоб 740  2,9(7) 11 0,5 0,5

 

Катализатор гидроочистки марка KF-752-3Q


Химический состав: Физические свойства: Номинальный размер, мм Номинальная длина, мм Тип экструдата Требуемая сера, % масс Насыпная плотность, кг/м3  Сопротивление раздавливанию,

СоО / МоО3 на активной окиси алюминия 2,5 х 2,9 5,0 Квадролоб 11 730


Наименование сырья, реагентов, материалов, катализаторов, полуфабрикатов, изготовляемой продукции

Обозначение Государственного или отраслевого стандарта, технических условий, стандарта предприятия

Показатели качества, обязательные для проверки

Норма по ГОСТ, ОСТ, ТУ, СТП

Область применения изготовляемой продукции

 


кг/мм (фунт/мм)  1. Абразивный износ, % масс

3,4(8,4) 0,9


Шары фарфоровые (инертная насадка для катализатора)


Диаметр: 2. верхнего слоя, мм 3. среднего слоя, мм 4. нижнего слоя, мм

 6 12 24

Служат опорой для катализатора. Предотвращают вынос катализатора из системы

Воздух технический.

По проекту

1. Точка росы, 0С, не выше:

-40

Используется для технических нужд


.2.3 Краткая характеристика технологического оборудования

Таблица 2. Краткая характеристика технологического оборудования

Наименование оборудования (тип), наименование аппарата, назначение и т.д.

Номер позиции по схеме

Кол-во.

Материал

Техническая характеристика





Расчетная температура 0С

расчетное давление кг/см2

Диаметр мм

Длина высота мм

Объем м3

Кол-во тарелок шт.

Тип тарелок

Экстрактор для

К-106

1

R44-4в (20К)

100

35

1000

Н= 17030

11,4

25

Решетчатые Распредели

очистки ППФ от Н2S










тельная

Абсорбер Н2S для очистки циркуляционного ВСГ

К-102

1

09Г2С

100

54

1800

Н= 19238

51

11

Клапанные Балластные Двухпоточные. Насадка "ВНИИНЕФТЕМАШ"

Абсорбер Н2S для очистки сухого углеводородного газа

К-103

1

R44-6в (16ГС)

100

17

1200

Н= 18972

19,7

21

Клапанные однопоточ-ные

Экстрактор для очистки бензина от Н2S

К-105

1

R44-4в (20К)

100

11

1200

Н= 18770

19,7

Клапанные Балластные Однопоточные

Абсорбер для очистки сухого углеводородного газа от Н2S

К-104

1

R37-4а (Вст3сп)

100

16

1600

Н= 19123

38

21

Клапанные Балластные Двухпоточные

Емкость раствора

Е-109

1

R44-6в (16ГС)

200

7.2

2400

L= 5845

25



моно-этанол-амина











Емкость насышенного раствора МЭА

Е-110

1

R44-6в (16ГС)

100

11

3000

H= 15406

100



Дренажная емкость МЭА

Е-113

1

R44-6в (16ГС)

80

0,7

2400

L= 4842

20





.3 Автоматизация технологического процесса

.3.1 Обоснование выбора регулируемых параметров и каналов внесения регулирующих воздействий

Регулирующие параметры выбираются для правильного и качественного протекания технологического процесса. Отклонения какого-либо параметра (температуры, давления, уровня, расхода и т.д.) может привести к сбою в работе установки. Поэтому для четкой и слаженной работы вносятся некоторые регулирующие воздействия.

Основными параметрами, характеризующими гидроочистку, являются температура, давление, объемная скорость подачи сырья и кратность циркуляции водородсодержащего газа по отношению к сырью.

Расход раствора МЭА от Н-1, 1р стабилизируется регулятором расхода 29-1, клапан установлен на поз. 29-4.

Уровень МЭА в К-1 поддерживается регулятором поз. 38-1, регулирующий клапан расположен на трубопроводе вывода раствора МЭА из К-1.

«Отдув» циркуляционного ВСГ из К-1 регулируется прибором поз. 20-1 с клапаном 20-3, расход отдуваемого газа измеряется расходомером поз. 29-2.

Расход раствора МЭА от насоса Н-5р в К-2 стабилизируется регулятором расхода 31-2, регулирующий клапан 31-4 установлен на линии подачи МЭА. Давление в К-2, К-3 поддерживается регулятором давления, клапан расположен на линии выхода углеводородного газа в топливный коллектор. Уровень раствора МЭА в К-2 поддерживается регулятором уровня поз. 39-1, с клапаном поз. 39-3. Температура в низу К-2 измеряется термопарой 2-1.

В абсорбере К-3 регулируются и контролируются:

расход раствора МЭА от насоса Н-2, Н-3р в абсорбер (регулятор поз. 32-2 с клапаном 32-4);

уровень раствора МЭА (регулятор поз. 40-1 с клапаном 40-3);

температура раствора МЭА внизу абсорбера (термопара 3-1);

Давление в экстракторе К-4 поддерживается регулятором давления 22-1. Расход раствора МЭА в К-4 от насоса Н-2, Н-3р стабилизируется регулятором 33-2, клапан 33-4 установлен на линии подачи МЭА.

Уровень жидкости в экстракторе К-4 поддерживается регулятором уровня раздела фаз 41-1, клапан 41-3, температура раствора МЭА внизу К-4 измеряется термопарой 4-1.

Давление в К-5 стабилизируется регулятором давления 23-1 с регулирующим клапаном 23-3.

Расход пропан-пропиленовой фракции, выводимой в парк с установки, измеряется расходомером поз. 35-2, температура - термопарой 9-1. Расход раствора МЭА в К-5 контролируется расходомером 34-2 с клапаном 34-4.

Температура внизу К-5 измеряется термопарой 5-1.

Расход регенерированного раствора МЭА на установку измеряется расходомером 37-2. Температура - термопарой 10-1. В емкости Е-1 поддерживается постоянный уровень раствора МЭА регулятором 43-1 и регулируется клапаном 43-3.

Расход бензина из емкости Е-2 регулируется прибором уровня 34-1, регулирующий клапан 34-3 расположен на линии подачи бензина на секцию 300 или в Е-3, с последующей откачкой на секцию 001.

Расход насыщенного раствора МЭА из Е-2 регулируется регулятором уровня сред 45-1 с помощью регулирующего клапана 45-3. Температура насыщенного МЭА измеряется термопарой 7-1.

1.3.2 Обоснование выбора контролируемых и сигнализируемых параметров

При выборе контролируемых величин необходимо руководствоваться тем, чтобы при минимальном их числе обеспечивалось наиболее полное представление о процессе. Контролю подлежат, прежде всего, те параметры, значение которых облегчает ведение технологического процесса. К таким параметрам относятся все регулируемые величины, нерегулируемые внутренние параметры, входные и выходные параметры, при изменении которых в объект могут поступать возмущающие воздействия.

К выбору параметров сигнализации приступают после анализа с учётом его взрыво- и пожароопасности, а также токсичности и агрессивности перерабатываемых веществ.

Сигнализации подлежат все параметры, изменения которых могут привести к аварии, несчастным случаям или к серьезному нарушению технологического режима. К ним относятся концентрация взрывоопасного вещества в воздухе производственного помещения, уровень жидкости, давление, расход и температура. Сигнализации подлежат главные параметры регулирования, предельные значения которых контролируются с целью проведения оперативного управления.

Одной из важных задач сигнализации является оповещение персонала о нарушениях технологического процесса, которые могут привести к неэффективной работе установки. В связи с этим следует сигнализировать об отклонениях наиболее ответственных внутренних параметров и показателей эффективности, а также о прекращении подачи реагентов необходимых для нормальной работы оборудования.

При повышении температуры в реакторе увеличивается глубина гидрирования сернистых и непредельных соединений. Однако, при температуре выше 4200 С интенсивность реакции гидрообессеривания, и особенно гидрирования непредельных углеводородов, существенно не увеличивается. Это связано с возрастанием интенсивности реакции деструктивной гидрогенизации - гидрокрекинга и увеличением отложений кокса на катализаторе. Также увеличивается реакция дегидрирования бициклических нафтенов и расход водорода на гидроочистку снижается.

Повышение общего давления способствует увеличению глубины обессеривания, увеличению межрегенерационного цикла катализатора. При возрастании общего давления в системе растет парциальное давление водорода, способствующее увеличению глубины гидроочистки. Парциальное давление водорода также зависит от общего давления водородсодержащего газа на входе в реактор, от концентрации водорода в водородсодержащем газе.

С увеличением объемной скорости уменьшается время пребывания сырья в реакторе, т.е. время контакта с катализатором, при этом уменьшается глубина гидрообессеривания сырья. При уменьшении объемной скорости увеличивается глубина обессеривания, т.к. увеличивается время контакта сырья с катализатором. При выборе объемной скорости учитывают температуру, давление, состав сырья, состояние катализатора.

Влияние основных параметров:

При увеличении давления в стабилизационной колонне уменьшается степень выделения углеводородных газов из гидрогенизата, это связано с повышением растворимости газов в жидком нефтепродукте.

При понижении температуры низа колонны уменьшается степень отпарки фракций дизельного топлива и бензина. Понижается температура вспышки дизельного топлива.

С увеличением температуры раствора МЭА и газов, подаваемых в абсорбер, уменьшается степень абсорбции сероводорода из газов, соответственно ухудшается очистка газов от сероводорода.

При увеличении кратности циркуляции раствора МЭА увеличивается степень очистки газов от сероводорода.

При понижении концентрации МЭА в водном растворе, уменьшается степень абсорбции (поглощения) сероводорода и углекислого газа из циркуляционного ВСГ.

.3.3 Обоснование выбора мероприятий по защите и блокировке

Расход раствора МЭА от Н-1,1р стабилизируется регулятором расхода поз.29-2, клапан 29-4 установлен на трубопроводе подачи МЭА, на котором по ходу потока за клапаном 29-4 установлена электроприводная задвижка 50-3, включенная в схему автоматической блокировки. Назначение блокировки - не допускать попадания ВСГ обратным ходом в систему МЭА низкого давления в емкость Е-1, при резком падении подачи раствора МЭА в К-1. В результате срабатывания блокировки закрывается задвижка 50-3 и останавливаются насосы Н-1,1р. Уровень МЭА в К-1 поддерживается регулятором 38-1, регулирующий клапан 38-3 расположен на трубопроводе вывода раствора МЭА из К-1. Параллельно уровнемеру 38-1 на К-1 предусматривается дублирующий уровнемер 48-1, который включен в систему блокировки, перекрывающей трубопровод посредством отсечного клапана 48-3 при снижении уровня жидкости в К-1 ниже минимально допустимого предела и, тем самым, препятствует прорыву ВСГ в систему низкого давления в емкость Е-2.

В сепараторе циркулирующего ВСГ поддерживается определенный уровень жидкости с постоянным сбросом ее в емкость Е-2. При превышении уровня жидкости в Е-1 выше допустимого предела, срабатывает автоматическая блокировка на остановку компрессоров, предотвращающая попадание жидкости на всасывание последних.

Для предотвращения аварийных ситуаций предусмотрено отключение колонны по входу и выходу газа электрозадижками 51-2 и 50-2, управляемыми дистанционно.

Параллельно уровнемеру 26-1 внизу К-5 установлен дублирующий уровнемер 49-1, входящий в состав системы блокировки, срабатывающей при снижении границы раздела сред ниже минимального уровня. В результате срабатывания указанной блокировки закрывается отсечной клапан 49-3 на линии выхода насыщенного раствора МЭА из К-5, что препятствует попаданию ППФ высокого давления в емкость Е-2. Защита системы регенерированного МЭА от попадания "обратным ходом" в емкость Е-1 пропан-пропиленовой фракции из экстрактора К-5 при прекращении подачи раствора МЭА в последний осуществляется системой блокировки поз. 51-1, в результате срабатывания которой при снижении расхода раствора МЭА в К-5 закрывается электроприводная задвижка 51-3 на линии подачи МЭА. Для предотвращения аварийных ситуаций предусмотрено отключение колонны по выходу ППФ электроприводной задвижкой 53-2, управляемой дистанционно. Отключение колонны по входу ППФ производится на секции 300.

При снижении уровня в Е-1 ниже заданного предела срабатывает автоматическая блокировка 44-1, в результате чего блок очистки газа МЭА переводится на циркуляцию раствора МЭА, т.е. прекращается выход насыщенного раствора МЭА с установки (закрывается электроприводная задвижка 44-4). Насыщенный раствор МЭА возвращается в емкость Е-1 (открывается электроприводная задвижка 44-3).

Насыщенный сероводородом раствор моноэтаноламина из емкости Е-2 выводится с установки на установку производства серы. Расход насыщенного раствора МЭА с установки контролируется расходомером поз.40-1.

Предусмотрено автоматическое регулирование уровня емкости Е-3 прибором поз.45-1, при достижении уровня выше заданного, включается насос Н-3.

.3.4 Обоснование выбора системы управления

На ОНПЗ в качестве системы управления на установке глубокой переработки нефти КТ 1/1 успешно применяется Advant, а именно система ввода-вывода (в/в) сигналов S800.

Эта система ввода-вывода сигналов располагает большим набором модулей В/В, поддерживающих унифицированные сигналы различного типа, выпускаются модули в искробезопасном исполнении, имеется поддержка HART-протокола.

Механические компоненты S800 характеризуются следующими особенностями:

Модульная конструкция с четырьмя основными частями: модули полевого коммуникационного интерфейса (МПКИ), модем оптической модульной шины, модули ввода-вывода сигналов (до12 штук) и термальные (клеммные) модули (ТМ), которые действуют как установочные элементы модулей ввода-вывода сигналов. МПКИ, модем оптической модульной шины и термальные модули устанавливаются на стандартных рейках DIN.

Все модули имеют специальный пластмассовый корпус, который обеспечивает степень защиты IP20 согласно IEK 529.

Модули ввода-вывода защищены от повреждений специальным кодом-ключем, на случай если будет предпринята попытка вставить модуль в термальный блок с другим кодом.

Электрический идентификатор проверяется при пуске, если он не соответствует сконфигурированному типу, модуль ввода-вывода не войдет в работу.

Горячая замена модулей ввода-вывода позволяет проводить замену неисправных модулей без отключения полевого или системного питания станции ввода-вывода.

Модули ввода-вывода могут эксплуатироваться при окружающей температуре 55˚ (при использовании компактных ТМ - температура окружающего воздуха 40˚С).

Станция ввода-вывода сигналов S800 состоит из МПКИ и до 12 модулей ввода-вывода сигналов. Станцию ввода-вывода можно установить горизонтально, вертикально или в сочетании. Ряд модулей ввода-вывода предусматривается для аналоговых и дискретных сигналов различных типов, а также интерфейсы для различных типов RTD и ТС. Модули ввода-вывода сигналов имеют от 12 до 16 каналов в зависимости от типа и параметров отдельного модуля. Все модули ввода-вывода контролируются при пуске системы, а также во время нормальной работы. Состояние модулей отображается при помощи светодиодов, установленных на передней панели.

Дискретные модули.

Все модули ввода-вывода дискретных сигналов имеют гальваническую изоляцию, светодиоды для показания состояния каналов(включено-выключено)и стандартный комплект индикаторов состояния модулей. Модули на 24В имеют две изолированные группы по 8 каналов каждая. Каждая группа снабжена входом, контролирующим состояние полевого питания. Потеря полевого питания показывает светодиодом Warning, и статус канала устанавливается на ошибочное состояние. Модули на 120/250В имеют отдельно изолированные каналы.

Аналоговые модули.

Все модули ввода-вывода аналоговых сигналов имеют гальваническую изоляцию группами по 4 или 8 каналов. Модули имеют стандартный комплекс индикаторов состояния модулей. Функция обнаружения разомкнутой цепи предусматривается для входов и выходов, сконфигурированных на 4… 20 мА и для выходов RTD и ТС.

Терминальные модули.

Предназначены для подсоединения полевых кабелей к модулям ввода-вывода сигналов, содержат шину связи модулей ModuleBus.Термальные (клеммные), модули предусматриваются как компактные, так и расширенные. Компактные терминальные модули предусматриваются как компактные, так и расширенные. Компактные терминальные модули обеспечивают подключение одного провода на канал для 16-ти канального модуля. При наличии компактных терминальных модулей распределение питания полевых цепей необходимо осуществлять при помощи внешних клеммных блоков и барьеров, если требуются. Расширенные терминальные модули с изолированными интерфейсами по всей группе обеспечивают подсоединение двух или трех проводов полевых цепей, индивидуальную или групповую защиту плавкими предохранителями на 6.3 А питания полевых объектов. При использовании расширенных терминальных модулей, обеспечивающих подключение двух или трех проводов, необходимость установки внешних кроссовых шкафов, следовательно, резко снижается, или вообще не требуется. Компактные терминальные модули имеют ширину 58 мм. А расширение - 120 мм. В пределах одной станции В/В можно использовать оба типа терминальных модулей.

Система ввода-вывода S800 обладает следующими отличительными особенностями:

Модульный монтаж на рельс DIN

Это означает, что блоки ввода/вывода могут устанавливаться локально или удаленно, при этом обмен данными с контроллером осуществляется по полевым шинам.

Гибкая конструкция терминальных (клеммных) модулей для подключения полевых кабелей:

компактная, требующая минимум места;

расширенная, с широкими возможностями подключений;

Автоматическая адресация

Это означает, что новые модули ввода/вывода распознаются контроллером в момент их монтажа. Необходимость в установке адресных переключателей отсутствует.

Отказоустойчивость

Каждый можно отдельно настроить так, чтобы в случае неисправности он устанавливался на некоторое предустановленное значение (состояние) или фиксировал текущее значение. Очевидно, что данная установка определяется характером управляемого процесса и назначением каждого устройства.

Возможности горячей замены

Модули ввода/вывода с соответствующими блоками питания могут заменяться без отключения электропитания.

1.3.5 Обоснование выбора средств автоматизации

Средства автоматизации, которые будут осуществлять ведение процесса, должны быть выбраны технически грамотно и экономически обосновано.

Конкретные типы автоматических устройств выбираются с учетом особенностей объекта управления и принятой системы управления. В первую очередь принимается во внимание такие факторы, как пожаро- и взрывоопасность, агрессивность и токсичность сред, число параметров, участвующих в управлении, и их физико-химические свойства, а также требования к качеству контроля и регулирования.

Выбор конкретных типов автоматических устройств проводится из следующих соображений:

для контроля и регулирования одинаковых параметров применяются одинаковые автоматические устройства, тем самым облегчается их приобретение, настройка, ремонт и эксплуатация;

отдается предпочтение автоматическим устройствам серийного производства;

при большом числе одинаковых параметров контроля применяются многоточечные приборы и приборы централизованного контроля;

при автоматизации сложных технологических процессов используются вычислительные и управляющие приборы;

класс точности приборов соответствует технологическим требованиям;

для местного контроля применяются простые и надежные приборы, так как они используются в неблагоприятных условиях;

для автоматизации технологических аппаратов с агрессивными средами устанавливаются специальные приборы.

Для измерения большей части технологических параметров в условиях внедрения АСУТП применяют комплекс приборов. Комплекс включает в себя приборы измерения температуры, уровня, расхода, давления и др. для внесения регулирующего воздействия в объект управления используются регулирующие и отсечные клапаны.

Преобразователи термоэлектрические.

ТП с металлическими электродами предназначен для измерения температуры в комплекте с милливольтметрами, автоматическими потенциометрами, измерительными преобразователями и устройствами связи с объектом УВМ.

Номинальные статические характеристики термоэлектрического преобразователя, представляют зависимость термо-ЭДС (мВ) различных термопар от температуры рабочего спая.

Чувствительный элемент представляет собой 2 термоэлектрода, сваренных между собой на рабочем конце в термопару (рабочий спай) и изолирована по всей длине при помощи керамической трубки. Изолированный чувствительный элемент помещается в защитную арматуру, в комплект которых входит водозащитная головка с колодкой зажимов. Двойные ТП имеют 2 электрически изолированных чувствительных элемента. Рабочий спай может быть изолирован или соединен с защитной арматурой.

Для непрерывного регулирования жидких и газообразных сред в целях изменения регулируемого параметра широко используют клапаны с пневматическим мембранным исполнительным механизмом. Клапаны могут быть типа НО (нормально открытые) и НЗ (нормально закрытые)

В клапанах типа НО при прекращении подачи управляющего воздуха проходное сечение полностью открывается, в клапанах типа НЗ закрывается. Регулирующая арматура не должна использоваться как запорная.

Выбор регулирующих клапанов производится с учетом технологических параметров среды и сводится к расчету условной пропускной способности, условного прохода и пропускной характеристики.

Зависимость пропускной способности от хода плунжера при постоянном перепаде давлений на клапане определяет пропускную характеристику регулирующего клапана, которая является его внутренней характеристикой. Она зависит только от гидравлических свойств, определяемых формой внутренней поверхности корпуса и проходного сечения между плунжером и седлом, и не зависит от свойств регулируемой среды, и условий её протекания.

Средства измерения и преобразования

Для контроля и регулирования используются приборы новой модификации серии Метран 100.

Датчики давления Метран-100 предназначены для работы в системах автоматического контроля, регулирования и управления технологическими процессами и обеспечивают непрерывное преобразование измеряемых величин - давления избыточного, абсолютного, разрежения, давления разрежения, разности давлений, гидростатического давления нейтральных и агрессивных сред в унифицированный токовый выходной сигнал дистанционной передачи, цифровой сигнал на базе HART-протокола и цифровой сигнал на базе интерфейса RS-485.

Датчики Метран-100 предназначены для преобразования давления рабочих сред: жидкостей, пара, газа (в т.ч. газообразного кислорода и кислородсодержащих газовых смесей) в унифицированный токовый сигнал, цифровой сигнал на базе HART-протокола и цифровой сигнал на базе интерфейса RS-485.

Датчики разности давлений могут использоваться в устройствах, предназначенных для преобразования значения уровня жидкости, расхода жидкости, пара или газа в унифицированный токовый выходной сигнал, цифровой сигнал на базе HART-протокола и цифровой сигнал на базе интерфейса RS-485.

.3.6 Работа выбранной системы автоматического управления

Контроллер AC 460 обладает компактной структурой, благодаря которой он является универсальным электронным компонентом для монтажа в щитовых Преимущество контроллера AC 460 состоит в возможности использования полевых шин того типа, который лучше всего соответствует потребностям заказчика.

Контроллер AC 460 обеспечивает значительное расширение возможностей автоматизации, отвечая всем современными идеям: удаленные модули ввода-вывода с интеллектуальными устройствами на полевых шинах и традиционная обработка с чрезвычайно эффективным управлением полевой шиной. Общая схема взаимодействия полевого оборудования, системы ввода/вывода и контроллера приведена на рисунке 1.

Рис. 1 - Общая схема взаимодействия

Исполнение резервирования.

ЦПУ: резервный ЦПУ функционирует параллельно основному ЦПУ, отображая и обновляя базу данных, по крайней мере, каждые пять миллисекунд по специальной быстродействующей линии связи. В случае если первичный ЦПУ поврежден, резервный ЦПУ обнаруживает неисправность и функции управления передаются ему. Поврежденный ЦПУ может быть заменен, в то время как система продолжает функционировать. Подобный переход на резервный ЦПУ также может быть осуществлен по желанию.

Монтажные платы: монтажные платы (содержащие персональные модули) резервируются подобно ЦПУ. Пара резервированных монтажных плат монтируется друг с другом. В случае повреждения платы, функции передаются резервной.

Блоки питания: в случае полной загрузки Advant Controller 460 использует четыре блока питания. Первая пара снабжает электропитанием нечетные платы; вторая пара - четные. Если один из блоков выходит из строя, другой регулятор принимает добавочную нагрузку на себя.

Технические характеристики:

ЦПУ: Motorola 68040/25 MHz

ОЗУ: 8 Мб(около 4 Мб для приложений), 16 Мб (около 11 Мб для приложений)

Внешнее питание: 117 В, 47-63 Гц 220В, 47-63 Гц

Таблица 3. Соединения

контроллер не резервированный

до 3-х контроллеров на корзину

1 ЦПУ (689040) - PM510

1 или 2 монтажных модуля - CI510

2 отдельных подмодуля на 1 монтажный

контроллер резервированный

до 3-х контроллеров на корзину

2 ЦПУ (68040) - PM510

1 или 2 монтажных модуля - CI510

2 отдельных подмодуля на 1 монтажный

DCN интерфейс

до 2 на корзину, 2 включены в основной блок


Размеры корзины: (Ш х Г х В) 482 мм х 255 мм х 177 мм

Стандарты: IP21, IP41, IP 54, Nema 1, Nema 2, Nema 4

Окружающая среда:

Температура окружающей среды при эксплуатации от 0 0С до 40 0С

Температура хранения от -40 0С до 70 0С

Влажность от 5 до 95 %

Применение системы ввода/вывода сигналов.

Станция ввода/вывода сигналов S800 состоит из МПКИ и до 12 модулей ввода/вывода сигналов. Станцию ввода/вывода можно устанавливать горизонтально, вертикально или в сочетании. Ряд модулей ввода/вывода предусматривается для аналоговых и дискретных сигналов различных типов, а также интерфейсы для различных типов RTD и TС. Модули ввода/вывода сигналов имеют от 2 до 16 каналов в зависимости от типа и параметров отдельного модуля. Все модули ввода/вывода контролируются при пуске системы, а также во время нормальной работы. Состояние модулей отображается при помощи светодиодов, установленных на передней панели.

Таблица 4. Модули ввода/вывода дискретных сигналов

Наименование

Описание

DI810

Дискретный вход, 24 V D.C., 16 каналов (две изолированные группы по 8 каналов)

DI811

Дискретный вход, 48 V D.C., 16 каналов (две изолированные группы по 8 каналов)

DI814

Дискретный вход, 24 V D.C., 16 каналов (две изолированные группы по 8 каналов)

DI820

Дискретный вход, 120 V A.C., 110 V D.C. 8 каналов с отдельной изоляцией

DI821

Дискретный вход, 230 V A.C., 220 V D.C. 8 каналов с отдельной изоляцией

DI830

Дискретный вход, 24 V D.C. 16 каналов (две изолированные группы по 8 каналов). Использование SOE.

DI831

Дискретный вход, 48 V D.C. 16 каналов (две изолированные группы по 8 каналов). Использование SOE.

DI885

Дискретный вход, 24 / 48 V D.C. 8 каналов, мониторинг разрыва цепи. Использование SOE.

DI890

Дискретный вход, IS интерфейс, 8 каналов

DO810

Дискретный выход, 24 V D.C., 0.5 А, 16 каналов (две изолированные группы по 8 каналов), защита от короткого замыкания.

DO814

Дискретный выход, 24 V D.C., 0.5 А, 16 каналов (две изолированные группы по 8 каналов), защита от короткого замыкания.

DO815

Дискретный выход, 24 V D.C., 2 А, 8 каналов (две изолированные группы по 4 канала), защита от короткого замыкания.

DO820

Дискретный выход, реле, 24 -230 V A.C., 8 каналов,.


варисторная защита.

DO821

Дискретный выход, реле, 24 -230 V A.C./D.C., 8 нормально закрытых каналов, варисторная защита.

DO890

Дискретный выход 12 V 40 mA, IS интерфейс, 4 канала.


Дискретные модули.

Все модули ввода/вывода дискретных сигналов имеют гальваническую изоляцию, светодиоды для показания состояния каналов (включено/выключено) и стандартный комплект индикаторов состояния модулей. Модули на 24В имеют две изолированные группы по 8 каналов каждая. Каждая группа снабжена входом, контролирующим состояние полевого питания. Потеря полевого питания показывается светодиодом Warning, и статус канала устанавливается на ошибочное состояние. Модули на 120/250В имеют отдельно изолированные каналы.

Таблица 5. Модули ввода/вывода аналоговых сигналов

Наименование

Описание

AI810

Аналоговый вход, 8 каналов. 0…20 mA, 4…20 mA, 0…10 V, 2…10 V, 12 bit., 0.1%

AI820

Аналоговый вход, 4 канала. -20…20 mA, 0…20 mA, 4…20 mA, -5…5 V, 0…5 V, 1…5 V, -10…10 V, 0…10 V, 2…10 V, 14 bit + sign, 0.1%

AI830

Аналоговый вход (термосопротивления), 8 каналов: Pt100 (-80…80°C,-200…250°C, -200…850°C), Ni100 (-60…100°C), Cu10 (-100…260°C) Сопротивление (0…400 Ω), 14 bit.

AI835

Аналоговый вход (термопары), 8 каналов: тип B (0…1820°C), тип C (0…2300°C), тип E (-270…1000°C), тип J (-210…1200°C), тип K (-270…1372°C), тип N (-270… 1300°C), тип R (-50…1768° C), тип S (-50… 1768°C), тип T (-270…400°C), линейный -30…75 mV, 14 bit.

AI890

Аналоговый вход, 8 каналов. 0…20 mA, 4…20 mA, 12 bit I.S. применение.

AI895

Аналоговый вход, 8 каналов. 4…20 mA, 12 bit I.S. и HART интерфейс.

AO810

Аналоговый выход, 8 каналов. 0…20 mA, 4…20 mA, 14 bit.

AO820

Аналоговый выход, 4 канала. -20…20 mA, 0…20 mA, 4…20 mA,  -10…10 V, 0…10 V, 2…10 V, 12 bit + sign, 0.2 %

AO890

Аналоговый выход, 8 каналов. 0…20 mA, 4…20 mA, 12 bit, I.S. применение.


Все модули ввода/вывода аналоговых сигналов имеют гальваническую изоляцию группами по 4 или 8 каналов. Модули имеют стандартный комплект индикаторов состояния модулей. Функция обнаружения разомкнутой цепи предусматривается для входов и выходов, сконфигурированных на 4… 20 мА и для входов RTD и ТС.

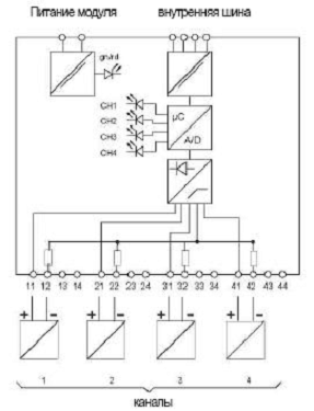
Функциональная схема каждого блока устроена аналогично приведенной на рисунке 2, на котором показана схема блока AI820. На основе этой схемы была сделана монтажно-коммутационная схема

Рис. 2 - Функциональная схема блока AI820

.4 Описание схем

.4.1 Описание схемы комбинированной внешних соединений

Схема внешних проводок выполняется в соответствии со схемой автоматизации. Она показывает соединения элементов автоматизации, расположенных в близи технологического оборудования с операторной. В верхней части схемы условно изображены отборные устройства, датчики, преобразователи и аппаратура управления. В средней части схемы показаны коробки протяжные (ПК), которые служат для соединения или разводи соединительных проводов, клемные коробки (КК), клемные шкафы (КШ) - для соединения проводов в кабель. Для питания преобразователей используются блоки питания (БП). Они расположены в правой части схемы. В нижней части схемы изображены блоки и модули выбранной системы управления в данном случае системы Advant-OCS.

Для электрических проводок используются провода и кабеля с резиновой или поливинилхлоридной изоляцией: ПГВ-500-1,5 - провод медный гибкий с виниловой изоляцией, сечением провода 1,5 мм2; КВВГ-4х1,0 - кабель контрольный изоляция поливинилхлоридной без брони с сечением провод 1,0 мм2.

Для подключения термоэлетрических термометров к измерительным приборам применяётся термоэлектродные провода с двумя жилами из специально подобранных металлов и сплавов, которые развивают такуюже термо ЭДС как и соответствующий схеме термоэлетрический термометр. Для этоко используется провод КПО-2х1,5 - компенсационный провод в оплётке с сечением 1,5 мм2.

Для трубных проводок используется трубы в соответствии с проектом, наибольше распространённые стальные трубы газоводопроводные обыкновенные и лёггие.

Для подведения приборам воздуха питания используется труба стальная мари 20 диаметром 14 с толщенной стенки 1,5 мм, а для подведения воздуха от прибора исполнительному механизму красномедную трубку диаметром 8 мм.

Работа комплекта контроля и регулирования измерения расхода. От сужающего устройства диафрагмы камерной ДКС60-80 позиция 29-1, установленной в линии подачи гидрогенезата на установку, отбирается перепад давлений по двум импульсным трубкам Ст 1Х18Н10Т, этот перепад поступает на вход преобразователя Метран-100-Ех-ДД-1430. Перепад давлений преобразуется в унифицированный сигнал 4-20 мА, затем с выхода преобразователя с помощью кабеля КВВГ-4х1,0 поступает через КК на систему управления. Для формирования выходного управляющего сигнала используется контроллер АС460, откуда выходной управляющий сигнал поступает на преобразователь FISHER 646. После чего в виде сжатого воздуха подаётся на регулирующие устройство. В случае контроля, а также и регулирования с контроллера идёт сигнал на ЭВМ, для наглядного наблюдения за процессом.

Для контроля и регулирования уровня используется буйковый уровнемер, поэтому выталкивающая сила действующая на буёк преобразовывается прибором Сапфир-22ДУ-2620 в стандартный токовый сигнал 4-20 мА, и дальше повторяется путь прохождения этого сигнала как у измерения расхода.

При измерении давления после места отбора, через систему вентелей сигнал в виде давления контролируемого вещества по импульсным трубкам попадает на преобразователь, где преобразовывается в стандартный токовый сигнал и дальше следует таким же путём как при расходе.

При контроле качества и погасания пламени от соответствующего датчика по проводам ПГВ-500-1,5 сигнал попадает на преобразователь от куда прохождение подобно прохождению сигнала на расходе.

При контроле температуры от ТТ, по компенсационным проводам КПО-2х1,5, которые собираются на протяжной коробке и следуют в операторную одним кабелем, где снова разделяются, сигнал через барьерную панель попадает на контроллер. В случае регулирования управляющий сигнал проходит такой же путь как при расходе.

.4.2 Описание схемы комбинированной подключений

На монтажно-коммутационной схеме показано взаимодействие системы ввода-вывода S800 и контроллера АС460.

Все сигналы после прохождения барьерной панели попадают на соответствующий блок системы ввода-вывода. На данной схеме ДП 2101.411.17 С5 показаны: блок AI-810 - на который заходят все аналоговые сигналы, кроме термопар; для сигналов от термопар используется модуль AI-835; для завода дискретных сигналов используется модуль DI-810; для вывода управляющих сигналов используются модули аналогового и дискретного выхода соответственно AO-810 и DO-810. Также на схеме показаны модуль интерфейсных выходов, условно показан сам модуль S800 и контроллер АС460.

Взаимодействие модулей системы ввода-вывода S800 используется собственная общая шина данных, для подведения питания 24В к модулям используется общая шина питания, которая распространяется от блока питания входящего в состав системы, который запитывается от общей сети питания.

Для взаимодействия системы ввода-вывода S800 и контроллера АС460 используется интерфейс Fieldbus 100. Питание контроллер получает от общей сети питания в 220В.

.5 Обеспечение безопасности жизнедеятельности и экологической безопасности

Технологические процессы комплекса КТ-1/1 относятся к пожаро-взрывоопасному производству вследствие ведения процессов при высоких давлениях и температурах, наличия горючих взрывоопасных продуктов.

Кроме того, опасность производства возрастает в связи с:

использованием в качестве реагентов токсичных веществ (моноэтаноламин, метанол, щелочь и т. д.);

образованием в процессе переработки мазута легковоспламеняющихся газов и жидкостей, сероводорода;

применением открытого огня (печи);

использованием для привода насосно-компрессорного оборудования электроэнергии высокого напряжения;

возможностью нарушения герметичности аппаратов и трубопроводов из-за коррозии;

способностью нефтепродуктов накапливать заряды статического электричества.

Конструктивное оформление технологического процесса, его оснащение системами контроля и управления, наличие необходимых блокировок и сигнализации, обеспечение необходимой герметизации оборудования, исключение непосредственного контакта персонала с исходными материалами в процессе работы, глубокое знание и строгое соблюдение обслуживающим персоналом правил промышленной безопасности, охраны труда, пожарной безопасности и промсанитарии, гарантирует безопасность работающих и безаварийное ведение технологического процесса.

Основные опасности производства.

Технологические процессы на установке характеризуются:

- наличием высоких температур - до 700 °С, избыточного давления - до 57 кгс/см2, а также открытого огня в технологических печах;

возникновением статического электричества;

возможностью возникновения пожара и взрыва при выходе углеводородов и сероводорода в случае разгерметизации трубопроводов и аппаратов;

наличием оборудования, работающего под напряжением от 220 В до 6000 В;

наличием и применением пара с давлением до 19 кгс/см2 и температурой до 450 °С;

наличием горючих, токсичных паров и газов углеводородов, сероводорода, способных образовывать в смеси с воздухом взрывоопасные концентрации в широких пределах;

наличием колодцев, приямков, опорных обечаек колонн, емкостей с возможностью образования в них высокой степени загазованности;

возможностью образования пирофорных соединений;

наличием процесса коррозии и эрозии в аппаратах и трубопроводах;

наличием динамического оборудования, имеющего двигающиеся, вращающиеся и вибрирующие части;

возможностью получаемых продуктов воспламеняться как от источника огня, так и самовоспламеняться.

Особенностью установки с точки зрения газовой опасности является комбинирование нескольких отдельных технологических процессов.

Основными газоопасными местами на установке являются:

- реакторный блок гидроочистки;

реакторный блок каталитического крекинга;

водородная компрессорная:

газовая компрессорная;

блок висбрекинга гудрона;

насосная постаментов № 1, 2, 3, 4, 5, 6, 7;

насосная МЭА;

колодцы, приямки.

В аварийных ситуациях, в результате которых возможно возгорание, образование взрывоопасных смесей в помещениях и загазованность аппаратного двора, технологический персонал установки должен руководствоваться «Планом локализации и ликвидации аварийных ситуаций» (ПЛАС). ПЛАСы разработаны для каждой секции установки.

Обеспечение безопасного электроснабжения.

Установка КТ-1/1 снабжается электроэнергией по I категории надежности и имеет 3 независимых источника питания:

- от ГПП-220 кВ;

- от ЗРУ № 2 ТЭЦ-4;

- от ГПП-220 кВ.

При отключении одного из источников электропитания автоматически включается резервное электропитание от одного из двух исправных независимых источников.

Для электроснабжения операторной предусмотрено специальное распределительное устройство, его питание осуществляется по двум независимым вводам.

Электропитание на систему управления “ADVANT” подается через специальное устройство бесперебойного питания UPS от щита «ЩОГ» (щит питания потребителей особой группы I-й категории). Питание щита «ЩОГ» осуществляется по двум основным и двум резервным вводам. Между всеми вводами предусмотрена система «АВР», позволяющая автоматически переключаться на резервные вводы в случае исчезновения напряжения на основных вводах.

В ситуации полного отключения электроснабжения от всех 3-х независимых источников предусмотрено питание системы управления “ADVANT” от аккумуляторных батарей устройства бесперебойного питания UPS в течение 30 минут для безаварийной остановки установки КТ-1/1.

Требования к безопасной эксплуатации средств автоматизации.

Основной задачей является квалифицированное эксплуатационное и текущее ремонтное обслуживание контрольно-измерительных приборов, датчиков информации АСУП, АСУТП на обслуживаемом объекте.

В работе нужно руководствоваться:

техническими условиями, нормами, правилами и инструкциями по эксплуатации и ремонту приборов, контроля и средств автоматизации;.

правилами, нормами и инструкциями по охране труда, техники безопасности, электробезопасности.

Выполнение профилактического ремонта КИП, датчиков информации, средств автоматизации и противопожарной защиты оборудования в соответствии с графиком ППР.

Регулировка и настройка на процессе всех средств КИПиА, имеющихся на объекте. Корректировка при необходимости показаний приборов в рабочих условиях.

Проверка контрольными приборами показаний приборов для измерения расхода, давления, температуры, уровня.

Обеспечение сохранности средств КИПиА при проведении ремонтных работ. Выполнение предписаний Госконтрольной лаборатории, Госгортехнадзора, ведомственного надзора по вопросам эксплуатационного и ремонтного обслуживания КИПиА.

Техника безопасности при ремонте прибора давления.

При снятии прибора для проверки и ремонта, необходимо перекрыть запорные вентиля и убедиться, что они не пропускают, сбросить давление и плавно открутить соединительную гайку, при этом придерживая штуцер у прибора другим ключом. Если запорные вентиля не держат, то необходимо закрыть дренажный вентиль. Схему восстановить в исходное положение и доложить об этом мастеру. При устранении неисправности в импульсной линии, необходимо перекрыть запорный вентиль, сбросить давление в линии и устранить неисправности в линии. Устранить неисправность в импульсной линии на действующем технологическом оборудовании можно только после закрытия отборного вентиля и условии, если он не пропускает. При возможном случае забивания грязью, продуктом или окалиной дренажного вентиля у прибора, для его замены необходимо соблюдать следующий порядок:

закрыть отборный вентиль

постепенно ослабить соединительную гайку на импульсной линии у прибора, при этом поддерживая штуцер другим ключом, плавно сбросить давление в импульсной линии, наблюдая за снижением давления по прибору. При снижении давления до нуля и по прекращению выхода измеряемой среды, заменить дренажный вентиль.

Техника безопасности при ремонте прибора расхода.

При снятии дифманометра на ремонт, необходимо закрыть рабочие вентиля на приборе, открыть уравнительный вентиль, сбросить давление с прибора и убедиться в том, что рабочие вентиля не пропускают и затем плавно открутить ключом рабочий вентиль. Демонтаж и ремонт импульсных линий на действующем технологическом оборудовании можно произвести только при отключенных импульсных линиях со стороны диафрагмы. Ремонт линии производить при отсутствии давления в них.

Техника безопасности при работе на персональных электронно-вычислительных машинах и множительной технике.

Для обеспечения безопасности пользователей ПЭВМ, дисплеев, копировальных машин, необходимо:

применять экраны, сетчатые фильтры. При работе с документацией и периодическим наблюдением за экраном - ПЮПИТР для документации располагать посредине стола клавиатуру напротив правого плеча пользователя, а дисплей - справа. Если пользователь работает с информацией на экране, периодически обращаясь к документу, дисплей располагать в центре стола, а документ - слева в стороне. В обоих случаях расстояние от пользователя до документа должно составлять не менее 30 см.

для защиты от статического электричества в помещениях необходимо использовать нейтрализаторы и усилители, а полы должны иметь антистатическое покрытие;

в светильниках общего освещения использовать обычные лампы накаливания, мерцание, которых по сравнению с люминесцентными, незначительно. Столы располагать подальше от окон, таким образом, чтобы окна были сбоку и свет от них падал слева или справа в зависимости от ориентации столов.

уровень шума не должен превышать 50 дБ. Принять меры к понижению шума от дисплейной техники;

обеспечить эффективной вентиляцией;

обеспечить каждое рабочее место производственной площадью не менее 6 м2, температура в помещении должна быть не менее 19 оС;

электробезопасность ПЭВМ должна обеспечиваться защитным заземлением корпусов оборудования;

для защиты от короткого замыкания применять устройство защитного отключения. Устанавливают защитную вентиляцию.

Требования безопасности перед работой:

Убедиться в исправности электропроводки, заземления, в отсутствии искрения, постороннего шума, защитного светофильтра на дисплее.

Запрещается включать ПЭВМ при попадании на них воды, растворов.

Запрещается устанавливать вблизи нагревательных приборов и отопительной системы.

Способы обезвреживания и нейтрализации продуктов производства при разливах и авариях.

В случае разлива застывающих нефтепродуктов (вакуумного дистиллята, дизельного или котельного топлива) место разлива посыпается песком. Загрязненный песок вывозится в безопасное место.

При разливе бензина или прорыве газа через неплотности фланцевых соединений создается сильная загазованность и возникает опасность взрыва. С целью предотвращения отравления людей на других участках при распространении волны газа необходимо оповестить соседние секции о происшедшей аварии.

Обслуживающий персонал, ликвидирующий разлив, должен иметь с собой личный противогаз.

Бензин с территории смывается обильным количеством воды через ливнеприемники в промливневую канализацию до исчезновения блесков пленки бензина на поверхности стоков.

В случае разлива щелочного раствора место разлива смывается обильным количеством воды или засыпается песком с последующим его удалением с территории установки.

В случае разлива или пропуска на трубопроводе или аппарате раствора моноэтаноламина необходимо:

сбросить давление с соответствующего трубопровода или аппарата (путем отключения его от схемы) и принять меры к устранению причин разлива или пропуска;

приступить к обезвреживанию и нейтрализации разлива методом предотвращения растекания и последующим смывом продукта обильным количеством воды.

В случае пропуска и распространения газа принять срочные меры по ликвидации источника пропуска, вплоть до остановки соответствующего блока.

При пропуске водородсодержащего газа во фланцевые соединения аппаратов, трубопроводов и его возгорания немедленно принять меры к аварийной остановке секции гидроочистки и локализации участка горения средствами пожаротушения.

Во всех аварийных случаях следует действовать согласно «Плана локализации и ликвидации аварийных ситуаций», который разработан для каждой секции установки.

Рассыпанный по территории при загрузке или ремонте оборудования катализатор собирается и вывозится с установки.

Предусмотрена возможность переработки продуктов блока МТБЭ из дренажных емкостей непосредственно на блоке.

Методы и средства контроля за содержанием взрывоопасных и токсичных веществ в воздухе рабочей зоны.

На комплексе глубокой переработки мазута предусмотрен контроль воздушной среды производственных помещений следующими службами:

. Газоспасательная служба по утвержденному графику проводит анализ на содержание углеводородов, делает текущие замеры 1 раз в сутки, организует проведение контроля в случае аварийной ситуации;

. Санитарно-гигиеническая лаборатория по утвержденному графику проводит анализ на содержание следующих взрывоопасных и токсичных веществ:

на секции 001 - углеводороды;

на секции 100 - углеводороды, сероводород, МЭА, катализаторная пыль (при погрузке, выгрузке);

на секции 200 - углеводороды, катализаторная пыль (при погрузке, выгрузке);

на секции 300 - углеводороды;

на секции 400 - углеводороды;

на блоке МТБЭ - углеводороды, метанол, катализаторная пыль (при погрузке, выгрузке);

газовая компрессорная - углеводороды, сероводород;

воздушная компрессорная - углеводороды;

водородная компрессорная - углеводороды, метан.

На комплексе КТ-1/1 предусмотрены также стационарные газоанализаторы, срабатывающие при достижении 10 % от нижнего концентрационного предела взрываемости (НКПВ) продукта, имеющего самый низкий предел взрываемости. Места установки газоанализаторов указаны в разделах 5.3 и 7.3 книг 1, 2, 3, 4, 5, 6, 7 настоящего регламента.

В случае разлива застывающих нефтепродуктов (вакуумного дистиллята, дизельного или котельного топлива) место разлива посыпается песком. Загрязненный песок вывозится в безопасное место.

При разливе бензина или прорыве газа через неплотности фланцевых соединений создается сильная загазованность и возникает опасность взрыва.

Обслуживающий персонал, ликвидирующий разлив, должен иметь с собой личный противогаз.

Бензин с территории смывается обильным количеством воды через ливнеприемники в промливневую канализацию до исчезновения блесков пленки бензина на поверхности стоков.

В случае разлива щелочного раствора место разлива смывается обильным количеством воды или засыпается песком с последующим его удалением с территории установки.

В случае разлива или пропуска на трубопроводе или аппарате раствора моноэтаноламина необходимо:

сбросить давление с соответствующего трубопровода или аппарата (путем отключения его от схемы) и принять меры к устранению причин разлива или пропуска;

приступить к обезвреживанию и нейтрализации разлива методом предотвращения растекания и последующим смывом продукта обильным количеством воды.

В случае пропуска и распространения газа принять срочные меры по ликвидации источника пропуска, вплоть до остановки соответствующего блока.

При пропуске водородсодержащего газа во фланцевые соединения аппаратов, трубопроводов и его возгорания немедленно принять меры к аварийной остановке секции гидроочистки и локализации участка горения средствами пожаротушения.

Во всех аварийных случаях следует действовать согласно «Плана локализации и ликвидации аварийных ситуаций», который разработан для каждой секции установки.

Рассыпанный по территории при загрузке или ремонте оборудования катализатор собирается и вывозится с установки.

Предусмотрена возможность переработки продуктов блока МТБЭ из дренажных емкостей непосредственно на блоке.

2. Расчетная часть

.1 Расчёт сужающего устройства

Расчёт выполнен на сужающее устройство имеющее позиционное обозначение 31-1.

Расчёт выполнен, на программном комплексе «Расходомер-СТ», в соответствии с ГОСТ 8.563.1-97, ГОСТ 8.563.2-97. Настоящий стандарт распространяется на измерение расхода и количества жидкостей и газов методом переменного перепада давления с использованием стандартных сужающих устройств в качестве первичных измерительных преобразователей. Стандарт устанавливает требования к геометрическим размерам и условиям применения СУ, установленных в трубопроводах круглого сечения, полностью заполненных средой. Стандарт распространяется на измерение расхода и количества текучих сред: стационарных или медленно изменяющихся во времени; скорость которых в отверстии СУ меньше скорости распространения звука в них; находящихся в одной фазе; турбулентных потоков при числах Рейнольдса от 3,2×103 до 108.

Характеристика измеряемой среды

Измеряемая среда - 15% водный раствор МЭА

Относительная влажность - 0 %

Барометрическое давление - 755 мм рт.ст

Избыточное давление - 30 кгс/см2

Абсолютное давление - 31,026 кгс/см2

Температура - 30 град. С

Плотность в рабочих условиях - 990 кг/мЗ

Погрешность определения плотности (сист) 2.5 (случ) - 0 %

Коэффициент влияния температуры - 0,2

Коэффициент влияния давления - 0

Динамическая вязкость - 0,0008021 Па*с

Характеристика сужающего устройства

Сужающее устройство:

Таблица 6 - Расчёт погрешностей измерения расхода при заданных отклонениях температуры и давления среды и заданных значениях перепада давления.

Температура, гр.С

30

30

30

30

Давление кгс/см2

31,0266

31,0266

31,0266

31,0266

Перепад давления, кгс/см2 (%)

Погрешность, %

0,250001 (100)

2,22

2,22

2,22

2,22

0,1225 (49)

2,28

2,28

2,28

2,28

0,0625002 (25)

2,48

2,48

2,48

2,48

0,0400001 (16)

2,79

2,79

2,79

2,79

0,0225001 (9)

3,67

3,67

3,67

3,67

0,01 (4)

3,79

3,79

3,79

3,79


Таблица 7 - Расчёт погрешностей измерения количества при заданных отклонениях температуры и давления среды и заданных значениях перепада давления.

Температура, гр.С

30

30

30

30

Давление кгс/см2,

31,0266

31,0266

31,0266

31,0266

Перепад давления, кгс/см2 (%)

Погрешность, %

0,250001 (100) 0,1225 (49) 0,0625002 (25) 0,0400001 (16) 0,0225001 (9) 0,01 (4)

2,22 2,28 2,48 2,79 3,67 6,79

2,22 2,28 2,48 2,79 3,67 6,79

2,22 2,28 2,48 2,79 3,67 6,79

2,22 2,28 2,48 2,79 3,67 6,79


.2 Расчёт исполнительного устройства

Расчёт выполнен на исполнительное устройство имеющее позиционное обозначение 31-4.

. Измеряемая среда 15% водный раствор МЭА

. Максимальный массовый расход 16 кг/с

. Перепад давления при максимальном расходе 0,20 МПа

. Абсолютное давление 31,10 кгс/см2

. Температура до ИУ 35 град. С

. Плотность в рабочих условиях 990 кг/м3

. Динамическая вязкость 45*10-6 Па*с

. Диаметр трубопровода 150 мм

. Материал трубопровода - Сталь 20

Максимальная расчётная пропускная способность исполнительного устройства


гдеQmax - максимальный расход среды переносится из исходных данных, кг/с

К - коэффициент запаса, принимается равным 1,2

ΔPmun - потери давления в исполнительном устройстве при максимально открытом клапане, переносится из исходных данных

ρ - плотность среды, из исходных данных

Выбирается исполнительное устройство с ближайшим значением КVу.

Выбирается двухседельное исполнительное устройство: Dy = 32 мм = 0,032 м

КVу = 12 м3

Проверка исполнительного устройства на влияние вязкости.

Число Рейнольдса потока


где Dy - диаметр условного прохода

Qmax - максимальный расход среды переносится из исходных данных, кг/с

Re = 3,54*106, так как Re > 2000, то коэффициент вязкости не учитывается и принимается равным единице.

Проверка ИУ навозможность кавитации

Площадь сечения входного патрубка регулирующего органа

 

Коэффициент сопротивления 


Выбирается коэффициент кавитации согласно выбранному ИУ КС = 0,38

Абсолютное давление насыщенного пара выбирается согласно температуре при tо = 35о С. Рп = 0,057

Перепад давлений, при котором возникает кавитация

Ркав=К(Р1 - Рп)

Так как Рmin> Ркав,то определяется перепад давления Ркав max, при котором прекращается прирост расхода в условиях кавитации или испарения при дросселировании, по формуле:


где r - поправочный коэффициент, учитывающий свойства среды. При отсутствии экспериментальных данных принимается равным 1;

КС max - коэффициент кавитации, соответствующий предельному расходу.

КС max = 0,85

Так как Рmin< Ркав max,то

Выбираем двухседельное ИУ с параметрами: Dy = 32мм=0,032м,КVу = 12 м3/ч [7]

3. Экономическая часть

Для автоматизации блока МЭА секции 100 потребуются следующие виды приборов и материалов:

Таблица 3.1 - Расчет стоимости приборов для монтажа

Наименование приборов

Тип прибора

Кол-во

Стоимость, руб.




Ед. прибора

Всех приборов

Преобразователь разности давлений

Метран 100-Ех- ДД-1430-02-МПЗ-t10-015-25кПа-10-42-СК-ТМ20-С

10

20350

203500

Преобразователь давления

Метран 100-Ех- ДИ-1151-02-МПЗ-t10-015-1МПа-25-42-СК-ТМ20-С

17

12850

218450

ИТОГО:




421950


. Перечень и количество приборов взято на основании проектируемой схемы автоматизации.

. Стоимость всех приборов Спр

Стоимость всех приборов рассчитывается по формуле:

Спр = Ц × К,

где Ц - цена единицы прибора, руб.

К - количество приборов.

Спр = 10 × 20350=203500,

Для монтажа приборов на секции 100 комбинированной установки КТ 1/1 нужно рассчитать стоимость приборов и комплектующих материалов.

Таблица 3.2 - Расчет стоимости материалов для монтажа приборов

Наименование материала

Ед. изм.

Цена руб.

Кол-во

Сумма руб.

Болт М 10

кг

150

7

1050

Вентиль ВИ-160

шт

400

24

9600

Гайка М 10

кг

150

2,5

375

Карбид

кг

7

1,5

10,5

Кислород

бал

32,8

2,5

82

Электроды

кг

53

2

106

Соединитель ИСВ-14×8,5

шт

30

27

810

ИТОГО:




12033,5


Стоимость затраченного материала, См

 

См = Цм × Км,

 

где Цм - стоимость единицы материала, руб;

Км - количество приборов, шт.

См = 150 × 7 = 1050

Расчет фонда заработной платы

Для расчета автоматизации необходим расчет фонда заработной платы рабочих при монтаже и демонтаже оборудования.

Для выполнения работы по автоматизации блока МЭА секции 100 потребовалось:

Таблица 3.3 - Состав рабочего персонала и время работ

Профессия

Разряд

Кол-во рабочих

Часовая тарифная ставка

Кол-во часов





На демонтаж

На монтаж

Слесарь КИП и А

6

1

56

-

24

Слесарь КИП и А

5

4

40

-

16

Слесарь КИП и А

4

3

32

16

20


Расчет фонда заработной платы при демонтаже

Для установки нового оборудования в начале необходимо выполнить работы по демонтажу заменяемого оборудования.

Для проведения этих работ потребовались три слесаря КИП и А по 4 разряду трудовые затраты составили 14 часов.

Заработная плата по тарифу:

Зпл = tчас × Т × Ч,

где tчас - часовая тарифная ставка, руб.;

Т эф - трудовые затраты в часах

Ч - численность рабочих

Зпл = 32 × 16 × 3 = 1536 руб.

Премия (60% от фонда заработной платы по тарифу)

Премия = Зпл × 0,6

Премия = 1536 × 0,6 = 921,6 руб.

Общий фонд заработной платы с учетом районного коэффициента (15%),

Зобщ = (Зпл + Премия) × 1,15,

Зобщ = (1536 + 921,6) × 1,15 = 2826,24 руб.

Отчисление в фонд социального страхования (35% от общего фонда заработной платы).

Отчисление = Зобщ × 0,35

Отчисление = 2,826,24 × 0,35 = 989,18 руб.

Расчет фонда заработной платы при монтаже оборудования.

Для установки нового оборудования потребуется:

Слесарь КИП и А - 6 разряда 1 человека

Слесарь КИП и А - 5 разряда 4 человек

Слесарь КИП и А - 4 разряда 3 человек

трудовые затраты составили 60 часов

24 + 16 + 20 = 60 часов

Для того чтобы рассчитать заработную плату по тарифу, нужно рассчитать среднечасовую тарифную ставку:


Где: 6 tст - часовая тарифная ставка шестого разряда

tст - часовая тарифная ставка пятого разряда

tст - часовая тарифная ставка четвертого разряда

Ч - численность рабочих

Заработная плата по тарифу:

Зпл = Тср. час. ставка × Тэф × Ч,

где Т эф - трудовые затраты в гасах

Ч - численность рабочих

Зпл = 39 × 60 × 8 = 18720 руб.

Премия (60% от фонда заработной платы по тарифу)

Премия = 18720 × 0,6 = 11232 руб.

Общий фонд заработной платы с учетом районного коэффициента,

Зобщ = (Зпл + Премия) × 1,15,

Зобщ = (18720 + 11232) × 1,15 = 34444,8 руб.

Отчисления в фонд социального страхования (35% от общего фонда заработной платы)

Отчисление = Зобщ × 0,35,

Отчисление = 34444,8 × 0,35 = 12055,68 руб.

Расчет полной стоимости автоматизации блока МЭА секции 100

Таблица 3.4 - Смета затрат на процесс автоматизации блока МЭА

Наименование затрат

Стоимость руб.

Стоимость всех приборов

421950

Стоимость материалов для монтажа приборов

12033,5

Стоимость вспомогательных материалов (4%)

17359,34

Стоимость не учетного оборудования (5%)

21699,18

Транспортные расходы (5%)

21699,18

Заработная плата за демонтаж приборов

2826,24

Заработная плата за монтаж приборов

34444,8

Отчисления в фонд соц. страхования

13044,86

Итого:

545057,09


Стоимость вспомогательных материалов берется 4% от стоимости приборов и материалов.

Стоим. вспом. материалов = (421950+12033,5)×0,04=17359,34 руб.

Стоим. неуч. оборуд. = (421950+12033,5)×0,05=21699,18 руб.

Транспортные расходы 5% тоже от суммы (421950+12033,5)

Отчислено в фонд соц. страхования = 989,18+12055,68 = 13044,86 руб.

Вывод

В данном проекте была рассмотрена автоматизация блока МЭА секции 100 комбинированной установки КТ 1/1 «ОАО Сибнефть-ОНПЗ». Предложены изменения, которые повысят качество регулирования процесса.

Таким образом, внедрение новых изменений позволит уменьшить время нахождения рабочих на вредных установках, уменьшить сроки межремонтного пробега приборов и оборудования, средств автоматизации.

Конечной целью завода и данного цеха является создание полностью автоматизированного производства, в котором роль человека в осуществлении контроля за процессом сводится до минимума, такого как, составление режимов и программ для технологических процессов, контроля за работой приборов, для новейших ЭВМ и их комплексному обслуживанию и наладке.

автоматизированный управление устройство

Приложение А

Спецификация средств автоматизации

Позиция

Наименование и краткая техническая характеристика оборудования

Тип оборудования

Кол.

1-1…6-1 7-1, 10-1    9-1  8-1

Температура Преобразователь термоэлектрический одинарный градуировка XК(L), длина монтажной части 400 мм, материал защитной арматуры 08Х13 Преобразователь термоэлектрический одинарный градуировка XК(L), длина монтажной части 160 мм, материал защитной арматуры 08Х13 Преобразователь термоэлектрический одинарный градуировка XК(L), длина монтажной части 120 мм, материал защитной арматуры 08Х13 Преобразователь термоэлектрический одинарный градуировка XК(L), длина монтажной части 3150 мм, материал защитной арматуры 08Х13

ТХК-0179-01 5ц2.821.889-51   ТХК-0179 889-11-01 ТХК-0189 5ц2.821 119-01 ТХК-0279 894-39

6    2 1  1

11-1…18-1, 27-1 19-1 20-1, 23-1, 25-1

Давление Измерительный преобразователь давления. Верхний предел измерения 0…60 кгс/см2. Выходной сигнал 4…20мА Измерительный преобразователь давления.

Метран-100-Ех-ДИ-1151-02-МПЗ-t10-015-1МПа-25-42-СК-ТМ20-С Метран-100-Ех-ДИ-1161-02-МПЗ-t10-015-10МПа-25-42-СК-ТМ20-С

9    1

21-1, 24-1 22-1

Диапазон измерений 1030…4200 кПа. Выходной сигнал 4…20 мА Пределы измерений 0…16 кгс/см2  Измерительный преобразователь давления. Диапазон измерений 3500…14000 кПа. Выходной сигнал 4…20 мА Пределы измерений 0…60 кгс/см2

Метран-100-Ех-ДИ-1161-02-МПЗ-t10-015-10МПа-25-42-СК-ТМ20-С Метран-100-Ех-ДИ-1151-02-МПЗ-t10-015-1МПа-25-42-СК-ТМ20-С

3    2

28-1, 29-1

Измерительный преобразователь давления. Диапазон измерений 1030…4200 кПа. Выходной сигнал 4…20 мА Пределы измерений 0…25 кгс/см2 Измерительный преобразователь давления. Диапазон измерений 70…275 кПа. Выходной сигнал 4…20мА Пределы измерений 0…25 кгс/см2 Измерительный преобразователь давления. Диапазон измерений 3500…14000 кПа.

Метран-100-Ех-ДИ-1151-02-МПЗ-t10-015-1МПа-25-42-СК-ТМ20-С Метран-100-Ех-ДИ-1151-02-МПЗ-t10-015-1МПа-25-42-СК-ТМ20-С

  1  2


Похожие работы на - Автоматизация блока МЭА секции 100 комбинированной установки КТ 1/1 'ОАО Сибнефть-ОНПЗ'

 

Не нашли материал для своей работы?
Поможем написать уникальную работу
Без плагиата!
Без нейросетей!