Применение интерактивной доски на уроке технологии (технологического труда) в 5 классе в процессе обучения школьников теме 'Устройство сверлильного станка. Приемы работы на сверлильном станке'

  • Вид работы:
    Курсовая работа (т)
  • Предмет:
    Педагогика
  • Язык:
    Русский
    ,
    Формат файла:
    MS Word
    168,49 Кб
  • Опубликовано:
    2014-08-14
Вы можете узнать стоимость помощи в написании студенческой работы.
Помощь в написании работы, которую точно примут!

Применение интерактивной доски на уроке технологии (технологического труда) в 5 классе в процессе обучения школьников теме 'Устройство сверлильного станка. Приемы работы на сверлильном станке'













Курсовая работа

На тему: Применение интерактивной доски на уроке технологии (технологического труда) в 5 классе в процессе обучения школьников теме "Устройство сверлильного станка. Приемы работы на сверлильном станке"

Содержание

Введение

1. Понятийный аппарат в курсовой работе

2. Методическая основа обучения школьников

. Учебно-воспитательные цели и задачи учителя и учеников на уроках технологии в процессе изучения темы "Устройство сверлильного станка. Приемы работы на сверлильном станке"

. Учебно-материальная база для обучения

5. Планирование учебной деятельности школьников и подготовка учителя к уроку технологии с использованием интерактивной доски

. Проверка и оценка сформированных знаний на уроке

Заключение

Список литературы

Приложение

Введение

Проблемой преподавания технологии в школе в настоящее время является мотивация обучения и практическая направленность полученных знаний. При этом задача учителя сформировать у ученика информационную компетентность и креативность мышления. Ведь ребёнок, умеющий творить, познает многогранность и полноту жизни, ему обеспечена удачная профессиональная карьера. В последнее время всё больше и больше педагогов понимают, что использование информационных технологий в учебном процессе значительно повышает эффективность усвоения материала учащимися. Больших результатов можно достичь, применяя данные технологии в преподавании технологии в средней школе.

Мы уже успешно используем готовые диски с уроками, научились создавать собственные презентации, сделав уроки яркими и иллюстративными. Теперь в школу пришли новые технические средства, такие как интерактивная доска, планшет и другие. Наша задача найти им место в системе уроков. С помощью интерактивной доски можно демонстрировать презентации, создавать модели, активно вовлекать учащихся в процесс освоения материала, улучшать темп и течение занятия.

На ней можно передвигать объекты и надписи, добавлять комментарии к текстам, рисункам и диаграммам, выделять ключевые области и добавлять цвета. Тексты, рисунки или графики можно скрыть, а затем показать в ключевые моменты лекции. Преподаватели и учащиеся делают все это у доски перед всем классом, что привлекает всеобщее внимание. Работа с интерактивной доской позволяет учителю проверить знания учащихся, вовлечь их в дискуссию, организовать работу в группах. Интерактивная доска - средство мультимедиа нового поколения.

Следовательно, тема исследования является актуальной.

Цель исследования: разработать методику обучения школьников 5 класса технологии с использованием интерактивной доски по теме "Устройство сверлильного станка. Приемы работы на сверлильном станке".

Объект исследования: учебная деятельность школьников на уроке технологии. Предмет исследования: организация обучения учащихся 5 класса теме "Устройство сверлильного станка. Приемы работы на сверлильном станке" на уроке технологии с применением интерактивной доски.

Гипотеза исследования: использование ИКТ в учебном процессе на уроках технологии позволит рационально использовать учебное время на сформирование знаний. Задачи:

.        изучить психолого-педагогические условия эффективности использования интерактивной доски;

.        проанализировать тему "Устройство сверлильного станка. Приемы работы на сверлильном станке" в 5 классе;

.        выбрать целесообразные методы, принципы и формы обучения;

.        определить учебно-воспитательные цели и задачи учителя и учебно-познавательные задачи школьников;

.        разработать учебно-материальную базу;

.        спланировать учебную деятельность школьников и подготовку учителя к уроку;

.        разработать критерии оценивания сформировавшихся знаний школьников.

Методы исследования:

·        теоретический анализ психолого-педагогической и методической литературы и учебных пособий по технологии;

·        изучение опыта работы учителей технологии;

·        педагогические наблюдения;

·        беседы с учителями, школьниками, учеными-методистами.

.       
Понятийный аппарат в курсовой работе

В процессе исследования темы были использованы сложные термины. Поэтому для обеспечения более эффективного исследования был составлен терминологический словарь.

ИКТ - это совокупность технологий, обеспечивающих фиксацию информации, ее обработку и информационные обмены (передачу, распространение, раскрытие).

Урок - это форма организации обучения с группой учащихся одного возраста, постоянного состава, занятие по твердому расписанию и с единой для всех программой обучения. В этой форме представлены все компоненты учебно-воспитательного процесса: цель, содержание, средства, методы, деятельность по организации и управлению и все его дидактические элементы.

Стилус - это аксессуар в виде пера, которое используется для работы с сенсорными экранами такими как интерактивная доска.

Проектор - оптический прибор, предназначенный для создания действительного изображения плоского предмета небольшого размера на большом экране.

Структура урока - это совокупность различных вариантов взаимодействий между элементами урока, возникающая в процессе обучения и обеспечивающая его целенаправленную действенность.

Что же такое интерактивная доска?

Интерактивная доска представляет собой большой сенсорный экран, работающий как часть системы, в которую также входят компьютер и проектор. С помощью проектора изображение рабочего стола компьютера проецируется на поверхность интерактивной доски. В этом случае доска выступает как экран. С проецируемым на доску изображением можно работать, вносить изменения и пометки. Все изменения записываются в соответствующие файлы на компьютере, могут быть сохранены и в дальнейшем отредактированы или переписаны на съемные носители. В этом случае, электронная доска работает в качестве устройства ввода информации.

Доской можно управлять как с помощью специального стилуса, так и с помощью прикосновений пальцем. Это зависит от того, какие технологии были использованы при изготовлении доски.

Связь доски и компьютера двусторонняя, а палец или перо (стилус, ручка) интерактивной доски работает как мышь [3].

Вывод: данный словарь упростит восприятие информации о которой будет вестись речь в курсовой работе.

2.      Методическая основа обучения школьников

В этом разделе будут рассмотрены применяемые дидактические методы, определены тип и структура урока. Также будет уделено внимание дидактическим принципам при планировании урока, рассмотрены возможные формы обучения.

Методы обучения

Любой метод обучения представляет собой взаимосвязанную деятельность учителя и ученика, в результате которой достигаются определенные учебные и воспитательные цели.

Е.А. Василенко было предложено выделять восемь методов обучения:

·        рассказ;

·        объяснение;

·        беседа;

·        лекция;

·        наблюдение;

·        моделирование и конструирование;

·        выполнение графических работ;

·        работа с учебником и справочным материалом.

При изучении темы "Устройство сверлильного станка. Приемы работы на сверлильном станке" на уроке технологии у мальчиков в 5 классе мной был выбран метод рассказа.

Рассказ - это повествовательная форма изложения учебного материала учителем. Используется он главным образом при изложении нового материала и сопровождается демонстрацией различных наглядных пособий. В нашем случае все иллюстративные материалы будут изображены при помощи интерактивной доски.

Весь учебный материал планируется изложить за первую часть урока. По этому считаю, что данный метод выбран верно, так как благодаря ему можно получить наибольшую информационную отдачу, интерактивная доска так же поможет нам сэкономить время за счет ускоренной подготовки и объяснения иллюстративного материала.

Типы уроков

Существуют различные классификации типов уроков.

Василенко Е.А. предлагает такую классификацию:

·        изучение нового материала;

·        повторение и закрепление знаний, умений и навыков учащихся;

·        контрольный;

·        урок общего или смешанного типа.

Муравьёв Е.М. предлагает такую классификацию:

·        теоретический урок;

·        практический урок;

·        урок по решению технических задач;

·        комбинированный урок;

·        контрольно-проверочный урок.

При изучении темы "Устройство сверлильного станка. Приемы работы на сверлильном станке" мной был выбран метод рассказа" был выбран урок изучения нового материала. Структурой такого урока является следущее:

.        Организационная часть;

.        Сообщение темы, цели и задачи урока, мотивация учебной деятельности школьников;

.        Объяснение нового материала;

.        Обобщение и закрепление знаний;

.        Задание на дом;

.        Подведение итогов урока.

Формы обучения

В настоящее время на уроках технологии установились три основные формы организации работы учащихся:

фронтальная;

бригадно-звеньевая;

индивидуальная.

Фронтальная форма организации обучения выражается в том, что все учащиеся выполняют одинаковые задания. При такой форме учителю технологии значительно легче работать: содержание вводного инструктажа, объяснение особенностей, предупреждение о типичных ошибках и коллективное обсуждение причин, их вызывающих, - все это благоприятно сказывается на восприятии дидактических целей. Когда работа одинакова, легче контролировать ее этапы, удобнее сравнивать степень продвинутости у разных учеников, проще проводить групповой инструктаж, так как всегда есть возможность сравнения.

Если материальная база позволяет организацию фронтального обучения (достаточно инструментов, приспособлений, оборудования), то коллективная работа способствует восприятию одними школьниками удачных приемов у других, поиску выхода из затруднений за счет обмена опытом.

Для изучения рассматриваемой темы фронтальная форма выглядит наиболее подходящей.

Групповая (звеньевая) форма организации работы школьников предполагает разделение при выполнении работ на группы из нескольких человек. Группа может работать над сложными объектами труда, а это повышает интерес учащихся к работе. При разработке конспекта урока для изучения данной темы индивидуальная форма организации обучения не применялась.

Индивидуальная форма организации работы - выполнение каждым учащимся различного задания - применяется сравнительно редко. Несомненным преимуществом этой формы обучения является возможность полностью индивидуализировать содержание и темп учебы, дать возможность отстающим по каким - либо причинам пройти учебную программу без психологического травмирования. При разработке конспекта урока для изучения данной темы индивидуальная форма организации обучения не применялась.

Принципы обучения

Выбор методов, содержания, организационных форм учебного процесса был сделан на основе следующих основных дидактических принципов:

принцип сознательности и активности (учащиеся ясно понимают цели и задачи предстоящей работы);

принцип прочности (состоит в приобретении прочных знаний учениками за счет показа иллюстративного материала);

принцип направленности обучения (состоит в строгой нацеленности урока на изучение сверлильного станка);

принцип наглядности (выполняется на уроке через просмотр учащимися мультимедийных материалов по теме, а также других видов наглядности);

принцип научности и связи теории с практикой (воплощается в отборе изучаемого материала, а также в том, что школьников обучают элементам научного поиска);

принцип систематичности и последовательности (осуществляется через структурирование материала урока, который изучается в строгом соответствии с учебным планом и с учётом программ по геометрии, физики);

принцип доступности.

Стоит отметить, что методическая система должна учитывать интересы общества, требования государственных стандартов и реальные возможности школы.

3.      Учебно-воспитательные цели и задачи учителя и учеников на уроках технологии в процессе изучения темы "Устройство сверлильного станка. Приемы работы на сверлильном станке"

Цели урока

а) Образовательная:

Изучение устройства сверлильного станка.

Приобретение начальных знаний по эксплуатации устройства.

б) Воспитательная:

Воспитание внимательности и аккуратности при изучение темы "Устройство сверлильного станка. Приемы работы на сверлильном станке".

в) Развивающая:

Развитие пространственного мышления учащихся.

Задачи обучения

Цели обучения конкретизируются в основных задачах:

сформировать знания об устройстве сверлильного станка;

обучить их основным приемам работы на сверлильном станке;

развивать статические и динамические пространственные представления, - научить самостоятельно пользоваться учебными материалами;

формировать умение применять полученные знания на практике.

В результате изучения рассматриваемой темы учащиеся должны иметь представление:

о устройстве сверлильного станка;

о технике безопасности при работе на сверлильном станке;

о приемах эксплуатации;

Учащиеся должны знать:

правила поведения в учебных мастерских;

Учащиеся должны уметь:

правильно пользоваться чертежными инструментами;

правильно подготавливать заготовку для работы на сверлильном станке;

правильно выполнять геометрические построения;

правильно устанавливать заготовку в тесках.

Все цели и задачи, изложенные в этом разделе, направлены на развитие способностей к учебно-познавательной деятельности школьников на уроках технологии и приобретению ими знаний эксплуатации сверлильного станка.

.        Учебно-материальная база для обучения

Основные требования к учебным мастерским в кабинете технологии у мальчиков.

Учебные мастерские оснащаются станочным и другим оборудованием, инструментами, приспособлениями, учебно-наглядными пособиями, техническими средствами обучения в соответствии с действующими типовыми перечнями учебно-наглядных пособий и учебного оборудования, а также дидактическими материалами, технической и технологической документацией.

Оборудование, не предусмотренное типовыми перечнями, в том числе самодельное, устанавливается в мастерских с разрешения технической инспекции труда и оформляется соответствующими актами.

В учебных мастерских оборудуются рабочие места учащихся индивидуального и коллективного пользования и рабочее место учителя. Конструкция и организация рабочих мест должны обеспечивать возможность выполнения работ в полном соответствии с учебными программами, а также учитывать различия физиологических данных учащихся, требования научной организации труда и технической эстетики. Планировка мастерских и размещение в них рабочих мест, оборудования и мебели должны обеспечивать возможность контроля за действиями каждого учащегося.

Рабочее место учащегося для индивидуального пользования - верстак или специальный стол. Количество рабочих мест в мастерских определяется наполняемостью классов. Рабочее место учащегося должно быть организовано так, чтобы предупредить всякую возможность несчастного случая.

Рабочее место учителя в мастерской должно располагаться на возвышении-подиуме. Оно должно быть оборудовано устройством для аварийного обесточивания рабочих мест учащихся. Дополнительно оснащается верстаком для демонстрации приемов выполнения работ.

Каждая учебная мастерская должна оснащаться умывальниками с щетками и мылом в количестве 20% от числа учащихся, а также электросушилками для рук либо полотенцами (допускается размещение умывальников в прилегающей к мастерской рекреации).

В специально отведенных местах размещаются емкости для отходов, стружки, мусора, обтирочных материалов. В комплект оборудования мастерских входят носилки и универсальная аптечка первой помощи, а также противопожарные средства.

Помещение мастерских оформляется стендами, таблицами и плакатами постоянного пользования, в том числе по безопасности и охране труда, материаловедению, профессиональной ориентации и др. В мастерских организуются постоянно действующие выставки изделий, изготовленных учащимися, с указанием кто и когда изготовил экспонат.  Требования безопасности к оборудованию:

·              надежность закрепления;

·              ограждение ременных, цепных, фрикционных, зубчатых и других передач;

·              ограждение вращающихся и движущихся деталей оборудования и изделий;

·              окраска мест ограждения сигнальными цветами;

·              наличие аспирационных отсосов для оборудования, во время работы которого выделяется пыль и вредные газы.

Требования по установке ИКТ в кабинете технологии у мальчиков

Нормативно - методическая литература в настоящий момент определяет два подхода к организации класса на уроке с использованием средств ИКТ.

.        Школьный кабинет, оснащенный 1 компьютером с CD-Rom устройством, аудиосистемой (колонки) и дополнительно - медиапроектором с настенным экраном или телевизором с большим экраном (или интерактивной доской), подключенным к компьютеру. Дополнительно данный компьютер может быть подключен в локальную сеть школы и иметь выход в Интернет. Обучение в этом случае проводится учителем без деления класса на подгруппы. При этом один компьютер в кабинете может быть использован как "электронная" доска (интерактивная доска), то есть использоваться в режиме "вызова" к нему учащихся для выполнения команд, предусмотренных учебной компьютерной программой. Учитель должен владеть элементарными навыками работы с компьютером: уметь воспользоваться компакт-диском с компьютерными программами учебного назначения, иметь представление о работе на компьютере с текстом, графикой, желательно знание работы с Интернетом и электронной почтой.

При таком компьютерном сопровождении уроков требуется учитывать, что общее время работы ученика с компьютером не должно превышать 15 минут, то есть менее половины урока. Возможно использовать компьютер фрагментами по 2 - 3 минуты, распределяя время взаимодействия детей с компьютерными программами в режиме фронтальной деятельности на протяжении всего урока.

.        Для групповой формы обучения возможно организовать компьютерную поддержку в рамках одного урока в информационном центре школы (вариант - мультимедийный зал). Информационный центр школы представляет собой кабинет, снабженный 3 - 7 компьютерами, подключенными в локальную сеть, возможно с выходом в Интернет. Такой кабинет является современным аналогом читального зала компьютеризированной библиотеки и может быть оборудован именно в читальном зале школы. В информационном центре необходимо предусмотреть и традиционные рабочие места учащихся - столы, стеллажи для раздаточных настольных пособий. В информационном центре школы можно организовать обучение с помощью метода проектов. Для этого класс делится на бригады по 3 - 4 человека, для которых предусматривается рабочая зона: 2 парты, 1 компьютер, настольные пособия и раздаточные материалы (конструкторы, в том числе ЛЕГО, цветная бумага, альбомы, развивающие игры, раздаточные материалы, атласы, каталог мультимедийных пособий и пр.) Работа за компьютером в бригаде регулируется учителем: один учащийся выполняет свою работу на компьютере в течение 5 - 7 минут, другие учащиеся бригады в это время работают над настольной частью проекта. Таким образом, бригада осуществляет компьютерную деятельность в течение всего урока в рамках 20 - 30 минут в зависимости от проектного задания. Интерактивная доска в этом случае может быть использована как для постановки проектных задач перед классом, так и для презентации результатов проекта отдельными группами, причем возможность переносить изображение с доски на локальные компьютеры и обратно увеличивают эффективность работы.

Временные ограничения, приведенные выше, касаются учащихся начальной школы. В целом, временные ограничения по работе с экраном интерактивной доски следующие:

классы

Длительность просмотра (мин.)

диафильмов, диапозитивов

презентаций кинофильмов телепередач

1-2

7-15

15-20

15

3-4

15-20

15-20

20

5-7

20-25

20-25

20-25

8-11

25-30

25-30

25-30


Примечание. В течение недели количество уроков с применением ТСО не должно превышать для обучающихся I ступени 3-4, обучающихся II и III ступени - 4-6.

Диагональ активной поверхности интерактивной доски должна иметь не менее 1900 мм, размер активной поверхности не менее 1600 х 1100 мм, максимально возможное разрешение не ниже 1000 точек на кв.см активной поверхности, подключение к компьютеру посредством интерфейса USB или RS232, работа с операционными системами Windows, Macintosh, возможность полнофункциональной работы без дополнительных устройств. Возможность автоматической инсталляции программного обеспечения при подключении доски к компьютеру; возможность автоматической калибровки при проецировании изображений от проектора. Наличие комплекта монтажного оборудования для крепления интерактивной доски, комплекта соединительных кабелей - вот примерный перечень вопросов, которые стоит задать фирме - производителю или посреднику до покупки оборудования.

Вся проводка должна быть убрана в специальный кабель-канал.

Наилучшим вариантом размещения интерактивной доски является установка её на стене при том, что проектор будет подвешен на специальную стойку к потолку.


Таким образом будет достигнута наименьшая травмоопасность в кабинете за счет того, что техника не будет установлена на напольных стойках и столах.

Вся проводка должна быть убрана в специальный кабель-канал.

обучение школьник знание урок

5.      Планирование учебной деятельности школьников и подготовка учителя к уроку технологии с использованием интерактивной доски


Для того чтобы провести успешный урок, независимо от технологий и оборудования, используемого на уроке, нужно иметь четкий план и структуру урока. Это поможет достигнуть определенных целей и задач, а учащимся усвоить материал. Интерактивная доска - это лишь средство, которое может стать хорошим помощником. Эффективность работы с доской во многом зависит от самого учителя, от того, как он применяет те или иные ее возможности. Используя интерактивную доску, мы можем организовать постоянную работу учащегося в электронном виде. Это значительно экономит время, стимулирует развитие мыслительной и творческой активности, включает в работу всех учащихся, находящихся в классе.

Все это помогает учащимся лучше усвоить материал и соотнести его с тем, что они уже знают.

Среди основных этапов, по которым развивается обычное занятие, можно выделить следующие:

·        подготовка к началу занятия;

·        объяснение целей занятия;

·        введение в новую тему или задание;

·        развитие темы при участии учащихся;

·        обсуждение в конце занятия того, что было пройдено, а также самого процесса обучения.

Необходимо учесть и важный психологический момент: современные школьники, у которых дома обычно есть компьютеры с многочисленными играми и телевизоры с агрессивным видеорядом, привыкают подобным образом воспринимать окружающую действительность. Возможности интерактивной доски позволяют переключить школьников на понимание того, что видео и игровые программы успешно используются для обучения, способствуя развитию творческой активности, увлечению предметом, созданию наилучших условий для овладения общеучебными навыками, что обеспечивает в конечном счете эффективность усвоения материала на уроках математики.

Использование интерактивной доски не вносит в педагогическую стратегию ничего принципиально нового. Выбор ее определяется индивидуальными особенностями, предпочтениями, квалификацией учителя. Он работает так же, как и раньше, хотя возможности его значительно расширяются. Любой урок имеет двух субъектов - учителя и учеников. Доска третьим субъектом стать все же не может. Но её возможности позволяют увеличить время работы на уроке, интенсифицировать ее даже при очень разном уровне готовности учащихся. Каждый может видеть, слышать, анализировать. То есть индивидуализация обучения значительно возрастает. Но для этого урок должен быть действительно интерактивным. И на это должен работать, прежде всего, подбор материала, методическая и техническая его обработка. Важным является желание педагога расширить свои кругозор и фантазию. Нужно бороться со стереотипизацией, никогда не позволяя себе привыкнуть к чему-либо. В конечном счете, лучший способ обучения, будь то технология, черчение, математика или география, - это сделать так, чтобы учащиеся почувствовали красоту предмета.

План-конспект урока технологии 5 класса с применением интерактивной доски

План урока №29

Класс: 5 кл.

Дата:

Продолжительность: 45мин.

Раздел: Технология обработки металлов. Элементы машиноведения.

Тема урока: Устройство сверлильного станка. Приемы работы на сверлильном станке.

Цели урока: Познакомить учащихся со сверлильным станком и методами работы с ним.

Оснащение: Интерактивная доска, компьютер(ноутбук), проектор, стилус, flash-анимация "сверлильный станок", слайды.

I. Организационная часть - 5 мин.

·        Приветствие;

·        Контроль посещаемости;

·        Настройка на работу;

II. Сообщение темы, цели и задач урока. - 3мин

Сообщается тема урока: "Устройство сверлильного станка. Приемы работы на сверлильном станке ".

Сообщаются цели урока для учащихся. На данном уроке мы познакомимся со сверлильным станком и основными приемами и правилами работы.

Мотивируя учебную деятельность школьников, необходимо сказать, что эта тема пригодиться им как на дальнейших уроках технологии, так и в практической деятельности при изготовление изделий.

III. Объяснение нового материала - 15 мин.

В учебных мастерских <#"789871.files/image002.gif">

Рис.1: Сверлильный станок


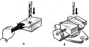
Рис.3: Крепление заготовки в сверлильном станке.

а - ручной; б - зажимные тески.

Похожие работы на - Применение интерактивной доски на уроке технологии (технологического труда) в 5 классе в процессе обучения школьников теме 'Устройство сверлильного станка. Приемы работы на сверлильном станке'

 

Не нашли материал для своей работы?
Поможем написать уникальную работу
Без плагиата!
Без нейросетей!