Гідрофобна обробка текстильних матеріалів
Зміст
Вступ
Розділ 1. Методи гідрофобної обробки текстильних
матеріалів
.1 Вимоги до сучасного текстилю
.2 Способи підвищення зносостійкості водо- і
пожежостійкості текстильних матеріалів. Надання водовідштовхуючих властивостей
.3 Характеристика матеріалів, що використовуються для
покривного оздоблення текстильних матеріалів
Розділ 2. Об’єкт і предмет дослідження
.1 Текстильні матеріали на основі поліакрилатів
.2 Хімічний склад апретури для покривного оздоблення
.3 Експлуатаційні характеристики матеріалів
.4 Методи статистичної обробки даних експериментів
Розділ 3. Дослідно-експериментальна частина
.1 Варіанти обробки текстильного матеріалу покривною
композицією
.2 Визначення впливу покривної обробки поверхні на
гідрофобний ефект текстильного матеріалу
.3 Визначення фізико-механічний показників текстилю
після гідрофобізації
Висновки
Список використаної літератури
Додатки
Вступ
Проблема забезпечення якості текстильних матеріалів є однією
з найважливіших у підвищенні рівня життя, соціальної та екологічної безпеки
населення. Щороку зростають вимоги до якості текстильних матеріалів, усе більше
уваги приділяється не фізико-механічним властивостям, а комплексу споживних
властивостей, які й визначають їх якість [1].
Проте питання якості й сьогодні залишається досить
актуальним, що зумовлено постійним зростанням вимог покупців до споживних
властивостей текстильних матеріалів.
Сукупні властивості одягу для масового споживача повинні
забезпечувати максимальне задоволення його потреб у відповідності з
призначенням при мінімальних витратах по догляду за ним.
На сьогодні технічні умови та інша нормативно - технічна
документація на одяг побутового призначення не повністю враховують досягнення
науково - технічного прогресу. Все це призводить до дилеми, що виріб, який
відповідає стандарту, не задовольняє основних потреб споживача відповідно до
його призначення.
При випуску деяких виробів не повністю враховуються
властивості волокон, інколи волокна використовуються не за своїм призначенням.
Дуже часто одяг, який відповідає художньо - естетичним вимогам і моді, не
створює і не підтримує навколо тіла мікроклімату, не забезпечує комфортних умов
для життєдіяльності його організму, не сприяє збереженню здоров'я і
працездатності людини, тобто не відповідає вимогам, які найбільш повно
характеризують рівень якості виробу щодо потреб споживача. Одяг для
повсякденного ношення повинен максимально задовольняти конкретні потреби
споживача, надійно з максимальною ефективністю виконувати задані функції у
визначених умовах його експлуатації [6].
Таким чином, актуальність обраної теми, її наукова та
практична значимість обумовили вибір теми дипломної роботи " Гідрофобна
обробка текстильних матеріалів".
Мета роботи полягає в дослідженні впливу технологічних
параметрів процесу покриття текстильних матеріалів поліакрилатами на
гідрофобний ефект. Для досягнення поставленої мети, визначено основні завдання
роботи:
· дослідити вплив покривної обробки
тканини з штучного волокна нейтрон дисперсіями акрилових полімерів на
гідрофобний ефект та її фізико-механічні показники;
· встановити оптимальні параметри
процесу покривної обробки тканини;
· встановити оптимальний склад
гідрофобізуючої композиції.
Об'єктом дослідження було обрано тканину
саржевого плетіння ПАН нейтрон.
Предмет дослідження - встановити технологічні параметри
процесу обробки текстилю поліакрилатними дисперсіями, визначити оптимальний
склад дисперсії, що забезпечить високий гідрофобний ефект, задовільні
фізико-механічні показники тканини.
Новизна дослідження полягає у розробці нової
композиції,для обробки текстильного матеріалу, що забезпечує йому водо- та
брудовідштовхувальні властивості.
Дослідно-експериментальна робота проводилась з використанням
сучасних методів досліджень та статистичного апарату для обробки результатів
експерименту.
Розділ 1. Методи гідрофобної обробки текстильних матеріалів
1.1 Вимоги до сучасного текстилю
Розвиток вітчизняної текстильної промисловості у сучасних
мовах не можливий без виробництва високоякісної конкурентоспроможної продукції.
Застосування нових технологій та якісних препаратів дає можливість створити для
текстильних матеріалів комплекс високих споживних властивостей і підвищити їх
рівень відповідності екологічним вимогам, що й забезпечить належну якість
тканин.
Якість тканин, як відомо, оцінюється сукупністю тих чи інших
споживчих властивостей, які залежать від умов експлуатації, волокнистого складу
і будови. Так, наприклад, гігроскопічність є важливою для білизняних тканин,
стійкість забарвлення до дії світла - для одягу літнього асортименту [6].
Текстильні матеріали передусім повинні забезпечувати
нормальне функціонування організму людини - безперешкодно поглинати рідку і
пароподібну вологу з поверхні тіла і повільно відводити її у середовище. До
того ж вони повинні мати не тільки високу гігроскопічність і водопоглинання,
капілярність і вологовіддачу, але й бути стійкими до забруднень і добре
піддаватися дії прання [8]. Крім високої гігієнічності, текстильні матеріали
повинні бути стійкими до багаторазового прання, тертя і багаторазових
деформацій розтягування і згинання, мати високу формостійкість, яка б
гарантувала стабільність форми і розмірів виготовлених з них виробів.
Вимоги споживачів до текстильних матеріалів регламентуються
нормативною документацією і є обов’язковими під час проектування, виготовлення
виробів, впровадження нового асортименту товарів на ринок [6].
Найбільш вагомими серед чинників, які визначають рівень
основних споживних властивостей, технологічність та економічність текстильних
матеріалів, є:
· волокнистий склад,
· особливості будови,
· вид обробки,
· різноманітність і рівень якості
барвників, апретів та інших хімічних реагентів, що застосовуються для основної
та остаточної обробки текстильних матеріалів [4].
Досить суттєво впливають на формування механічних,
фізико-гігієнічних, естетичних властивостей і рівень якості текстильних
матеріалів особливості їх будови - ступінь заповнення, щільність, вид
переплетення, характер поверхні тощо. Варіюючи зазначеними показниками будови,
можливо проектувати матеріали із заданим комплексом споживних властивостей для
конкретного призначення. Споживач у процесі експлуатації виробу найбільшу увагу
приділяє стійкості забарвлення до дії фізико-хімічних (світла, підвищеної
температури) та механічних факторів (сухе та мокре тертя, розривні характеристики,
багаторазове прання). Під дією цих факторів відбуваються фізико-хімічні зміни у
структурі барвника і порушення міцності їх зв’язків з волокнами, що призводить
до незворотних змін кольору матеріалів. Тому передбачається застосування
перспективної технології обробки матеріалів, яка б дозволяла не тільки надавати
їм комплексу необхідних споживних властивостей, а й зводити до мінімуму
притаманні їм недоліки, а також продовжувати терміни експлуатації виробів з цих
матеріалів [8].
Для споживача важливим є задоволення його вимог до виробів у
часі, тобто їх надійність, оскільки процес зношування, що включає зміну
розмірів, форми, стану поверхні матеріалу, може завершитися загальним
руйнуванням з частковою або повною втратою цілісності. Причиною зношування є комплексна
дія різних факторів, зокрема механічних (багаторазове прання, тертя,
багаторазове розтягнення, згинання тощо), фізико-хімічних (дія світла,
температури, мийних засобів тощо), біологічних (руйнування мікроорганізмами,
комахами) [23].
Проблема зносостійкості текстильних матеріалів є досить
актуальною. При цьому головний акцент ставиться на дослідженні механічних
властивостей, які визначають стійкість до тертя цих матеріалів, їх розривні
характеристики, здатність до усадки.
Вирішальною характеристикою довговічності білизняних тканин є
стійкість матеріалів до тертя і багаторазового прання. Тертя текстильних
матеріалів супроводжується зменшенням маси виробу і охоплює процес зачеплення
нерівностей, їх зрізання, розхитування структури і як наслідок - повне
руйнування матеріалу. Гладкі, м’які і пружно-еластичні текстильні матеріали є
більш стійкими до тертя, ніж жорсткі, тверді і нерівні [21]. Значний вплив на
зносостійкість текстильних матеріалів поряд з іншими здійснюють обробні
операції. Плівки, що утворюються на поверхні волокон під час обробки, склеюють
окремі волокна в пряжі і запобігають їх випаданню, підвищуючи зносостійкість
тканин.
Матеріали, які піддаються частому пранню зношуються не
стільки в процесі експлуатації, як руйнуються самим пранням, під комплексною
дією фізико-хімічних і механічних факторів. Деякі автори вважають, що під час
прання 4/5 зношування припадає на механічні пошкодження матеріалів і лише 1/5 -
на хімічні. За відомостями авторів [26] зношування тканин з целюлозних волокон внаслідок хімічних пошкоджень
під час першого прання є незначним і становить не більше 2%, а після 50-го
прання - до 25 %.
При створенні одягу майбутнього велика увага повинна
приділятися створенню текстильних матеріалів, які б забезпечували мінімальний
догляд за ними у процесі ношення.
У цілому одяг для повсякденного ношення повинен мати низьку
забруднюваність і легку брудовидалюваність. Всім відомо, що легка
забруднювальність і низька брудовидалюваність одягу різко погіршують його
споживчі властивості, зменшують надійність, доброякість і довговічність. На
жаль, ще сьогодні для випуску ряду текстильних матеріалів використовують
волокна і обробні препарати, які сприяють забрудненню і особливо ускладнюють
видалення бруду з них [26].
Покращення протизабруднювальних властивостей текстильних
матеріалів - важлива проблема використання волокон у легкій промисловості, один
із основних резервів покращення якості виробів і збільшення строку їх ношення.
У наш час, однак, ця проблема вивчена недостатньо. Це пояснюється тим, що
забруднювання й брудовидалення є дуже складними процесами, які включають
взаємодію бруду з текстильними матеріалами (у цілому), волокном, замаслювачем,
апретом, водою і миючими засобами, впливом поверхневих сил контактуючих тіл і
різних зовнішніх сил. При забруднюванні текстильних матеріалів мають місце
процеси механічного, фізичного й фізико-хімічного характеру.
З упровадженням хімічних волокон у текстильну промисловість і
широким застосуванням високоякісних завершальних оброблень типу
"пери-носи", "форниз" та ін., зниження забруднювання
текстильних матеріалів стає найбільш актуальною проблемою покращення споживчих
властивостей виробів. Це пов'язано з тим, що більшість хімічних волокон
забруднюються швидше, ніж гідрофільні натуральні волокна. Гідрофобні синтетичні
волокна, особливо поліефірні, які найбільш широко застосовуються в текстильній
промисловості, завдяки накопиченню електростатичних зарядів, схильні до
притягування сухих пігментних забруднень, а олеофільний їхній характер сприяє
легко забруднюванню масло - і жировмісними забрудненнями й погіршує видалення з
них цих забруднень, свою чергу, нанесення на волокно багатьох обробних
препаратів також збільшує схильність тканин до забруднення або погіршує їх
відпирання [27].
Текстильні вироби в процесі експлуатації піддаються
різноманітним забруднюванням, причому вид забруднювання (осідання або
притягання частинок, контактування з брудовмісною речовиною і т.д.) залежить
від умов експлуатації виробів.
Різноманітність джерел і видів забруднень, специфічна схильність
до різних видів забруднень натуральних і хімічних волокон і різні умови
експлуатації ускладнюють вирішення проблеми протизабруднювального оброблення
текстильних матеріалів. Вирішення її ускладнюється ще й тим, і багато які
препарати, що застосовуються для завершального оброблення текстильних
матеріалів, сприяють їхньому забруднюванню. Так, наприклад, кремнійорганічна
рідина ГКЖ-94, яка широко застосовується у легкій промисловості, сприяє
забруднюванню виробів сухими і масловмісними забрудненнями і ускладнює їх
видалення.
З іншого боку, багато препаратів, які застосовуються для
протизабруднювального оброблення текстильних матеріалів, відзначаються
специфічною дією тільки у відношенні до одного виду забруднень, одночасно є
індиферентними до інших забруднень або навіть сприяють закріпленню бруду на
волокні.
Різноманітність волокон, які застосовуються в текстильній
промисловості, і джерел забруднень не дозволяють створити хімічний препарат,
який надавав би тканинам із різних волокон універсальні протизабруднювальні
властивості. Всі препарати, які застосовуються в наш час для
протизабруднювального оброблення, тільки зменшують забруднювальність або
полегшують відпирання виробів, але не забезпечують ідеального оброблення [27].
Немає сумніву, що в недалекому майбутньому (5 - 10 років) всі
текстильні матеріали різного призначення будуть випускатись з
брудовідштовхувальними і, головне брудовидаляльними властивостями, завдяки чому
значно покращуються їх споживчі властивості.
При створенні текстильних матеріалів майбутнього велика увага
також буде приділятись наданню їм вогнезахисних, антимікробних і антистатичних
властивостей [26].
1.2 Способи підвищення зносостійкості водо- і пожежостійкості
текстильних матеріалів. Надання водовідштовхуючих властивостей
Як новий будинок без внутрішнього оздоблення та інженерних
комунікацій не придатний для житла, так і суворий текстильний матеріал тільки
після обробки на хімічній стадії технології та її останньої стадії -
апретування стає готовим текстильним матеріалом з комплексом споживчих
властивостей.
Під дією комплексу факторів зношування в мікро- і
макроструктурі матеріалу поступово виникають зміни, які призводять до
погіршення його зовнішнього вигляду та властивостей і надалі до руйнування,
тобто проходить процес поступового зношування виробу [5].
Фактори зношування поділяють на групи: механічні,
фізико-хімічні, біологічні та комплексні.
До механічних факторів зношування належать
багатократні деформації розтягу, згину, стискання, зсуву і багатократне тертя
(витирання). Найбільша частка механічного зношування припадає на стирання. В
якості критеріїв зношування від багатократних деформацій використовують
витривалість, довговічність, зміну розривного навантаження і залишкову циклічну
деформацію після заданого числа циклів деформування [21].
Однією з основних причин зношування є витирання внаслідок
зовнішнього тертя матеріалу з іншими поверхнями, яке супроводжується зменшенням
його маси. Критерієм зносостійкості текстильних матеріалів при стиранні,
прийнятим в якості стандартного, є витривалість - число циклів стирання до
появи отвору (дірки). На початковій стадії стирання текстильних матеріалів,
коли ще не спостерігається втрата великої кількості волокон, виникає пілінг. На
пілінгування тканин великий вплив мають параметри їхньої структури: щільність і
вид переплетення. Пілінгування оцінюють числом пілей на одиницю площі проби
після її стирання заданим числом циклів.
Тривала дія фізико-хімічних факторів зношування призводить
до помітного погіршення фізико-механічних властивостей матеріалів, яке
називають старінням, що пов'язане з хімічними перетвореннями молекулярних
ланцюгів, і перш за все з деструкцією і змиванням макромолекул.
Деструкція полімерів волокон представляє собою руйнування
макромолекул і міжмолекулярних зв'язків під дією різних зовнішніх факторів.
Процес старіння під впливом фізико-хімічних факторів
проходить переважно на поверхні волокон. В результаті деструкції зменшується
орієнтація молекул, на поверхні волокон утворюються розриви, тріщини, які
полегшують доступ вологи і кисню в глибину волокон, в проміжки між фібрилами.
Зміна молекулярної структури волокон призводить до зменшення їхньої міцності і
збільшення жорсткості при згині [1, 32].
Біологічний фактор зношування матеріалу в одязі
проходить в результаті руйнування матеріалу різними мікроорганізмами (грибками,
бактеріями, актиноміцетами, мікрофлорою самого матеріалу і повітря) або
псування комахами, для яких речовини, що складають волокна (целюлоза, кератин
та інші), є середовищем живлення.
Для продовження терміну служби виробів, які особливо
піддаються тривалому впливу тепла і вологи, їх обробляють антисептиками
(протигнильна обробка). Найбільш поширений спосіб
протигнильного просочення полягає в закріпленні на тканинах дубильних
екстрактів солями міді та хрому. Існують й інші методи захисту волокон від дії
мікроорганізмів, зокрема вельми ефективними протигнильними препаратами є
саліциланілід (шерлан), диоксидихлордифенілметан (превентоль) і ін. [5].
Для захисту, вовняних тканин від молі їх обробляють розчинами
фтористих солей, а також різними органічними препаратами, що містять одночасно
атоми хлору, гідроксильні та сульфогрупи (Ейла), а також сульфамідні групи і
атоми хлору.
При комплексному зношуванні в значній мірі
спостерігається вплив не тільки окремих факторів, а й ефект їхньої взаємодії.
Руйнування матеріалів від погоди є результатом прояву перш за
все трьох взаємозв'язаних реакцій: фотолізу, фотоокислення і фотогідролізу.
Підвищення температури прискорює процес фотодеструкції текстильних волокон.
Суттєвий вплив, у даному випадку, мають оздоблювальні операції, частина яких
підвищує зносостійкість, інша, навпаки, знижує.
В результаті прання зношування матеріалів проходить під дією
комплексу фізико-механічних і механічних факторів: дія миючого засобу, температури
і вологи, мокре стирання матеріалу, багатократні деформації розтягу, згину,
стискання і кручення. Критерії оцінки стійкості матеріалів до дії світлопогоди:
зміна розривного навантаження, стійкість до стирання, в'язкість розчину
полімеру волокон, жорсткості при згині та інше.
Більшості текстильних матеріалів, використовуваних в побуті і
особливо в техніці, надається зносостійкість до певних видів руйнуючої дії.
При пожежах люди гинуть як від дії на тіло тепла і полум'я,
так і від отруйних газів (чадний газ, галогеноводень, ціаністий водень,
вуглекислий газ та ін.), які виділяються при термічному розпаді різних волокон
[5]. А тому у розвинутих країнах велика увага приділяється наданню волокнам і
текстильним матеріалам із них вогнезахисних властивостей.
Такі матеріали не повинні горіти в полум'ї, повинні виявляти
схильність до самозатухання після вилучення джерела займання і при деструкції
виділяти мінімальну кількість горючих і отруйних речовин.
Вогнезахисні властивості повинні мати декоративно-оздоблювальні
текстильні матеріали, які використовуються для інтер'єрів внутрішніх приміщень
побутового, колективного і культурного призначення (театри, кінотеатри,
поліклініки, магазини, вокзали, лікарні, клуби), а також матеріали для
оздоблення автобусів, автомобілів, залізничних вагонів, літаків, кораблів і
космічних апаратів. Особлива увага приділяється наданню вогнезахисних
властивостей меблево-декоративним текстильним матеріалам, килимам, тканинам,
ковдрам та ін. [33].
Рис.1.1. Схема взаємозв’язку факторів зношування, показників
та критеріїв оцінки зносостійкості текстильних матеріалів.
Для додання тканинам негорючості їх піддають вогнезахисними
просоченнями. Раніше тканину обробляли розчинами фосфорних солей, сумішшю бури
та борної кислоти та ін. Однак після промивки вогнестійкість повністю
втрачається. Більш ефективне нанесення на тканину солей сурми, титану, олова з
подальшим переведенням їх у нерозчинні сполуки, а також хлорованих вуглеводнів,
наприклад хлорнафталіну. Одним з нових ефективних способів вогнезахисної
обробки тканини є утворення ефірів целюлози при впливі на неї фосфорної кислоти
в присутності диціандиаміду, а також препаратом ТНРС.
Для надання вогнезахисних властивостей горючим натуральним
(бавовна, льон) і хімічним волокнам (віскозне, поліакрилонітририльне та ін.) їх
обробляють різними хімічними препаратами (антипіренами). Це в основному солі і
оксиди ряду металів, галогено- і фосфоровмісні органічні сполуки.
Перспективним є напрямок одержання вогнестійких хімічних
волокон в процесі їх виробництва:
• введення антипіренів у розплав волокноутворюючих полімерів
перед формуванням волокон;
• синтез волокон із спеціальних термостійких полімерів.
До робочого, спортивного та технічного текстилю в даний час
ставляться високі вимоги, одним з яких є їх гідрофобність, водонепроникність та
низька забруднюваність. Серед засобів захисту тканин найбільш ефективною є їх
обробка розчинами, дисперсіями та емульсіями ВМС. Такий спосіб обробки надійно
захищає від намокання тканини з волокон як природних так і синтетичних,
зберігаючи їх паро - та повітропроникність. Ефект гідрофобності на волокнистому
матеріалі досягається за рахунок зниження поверхневого натягу не межі розподілу
фаз волокно-вода. Зовнішній вигляд тканин поліпшується, вони набувають
м'якості, приємності на дотик та менше забруднюються [27].
Серед засобів захисту тканин від промокання найбільш
ефективною є обробка високомолекулярними кремнійорганічними сполуками
(полісилозанами та полісилоксанами). Однак останнім часом набуває поширення
гідрофобна обробка тканин дисперсіями та емульсіями поліакрилатів та
поліакрилонітрилів. Така обробка найбільш придатна для обробки тканин з штучних
волокон. Пояснюється це тим, що внаслідок обробки дисперсіями чи емульсіями
поліакрилатів на поверхні текстилю утворюється тонка плівка. Така плівка матиме
найбільшу адгезію до штучних волокон - поліакрилонітрилу та поліакрилату,
віскози - внаслідок утворення зв'язків плівка-основа різної природи. При
покритті тканин природного походження (зокрема, бавовни) високої адгезії
можливо досягти лише за умови попередньої обробки тканини - лужна відварка,
відбілювання.
Важливим завданням при виробленні деяких тканин, наприклад
плащових, є додання їм водовідштовхувальних властивостей. Для цього поверхню
тканини піддають гідрофобізації. Спочатку вона здійснювалася за допомогою
парафіново-стеаринових емульсій із закріпленням їх на тканині оцтовокислим
алюмінієм. Однак гідрофобні властивості тканин при носінні поступово
втрачаються. Більш досконалі способи, засновані на застосуванні нових
синтетичних матеріалів: хромолану, вела, препарату 246, силіконів і ін. Багато
які з цих препаратів міцно хімічно зв'язуються з волокном, завдяки чому ефект
водовідштовхування стає стійким до різних факторів впливу в процесі
експлуатації виробів [8].
.3 Характеристика матеріалів, що використовуються для
покривного оздоблення текстильних матеріалів
текстильний тканина поліакрилат гідрофобний
Крім загальної вимоги до текстильних матеріалів -
зносостійкості, до них пред'являються додатково спеціальні вимоги, що
враховують конкретне призначення матеріалу: для одягу - формостійкість; для
постільної білизни - гідрофільність; для плащових матеріалів -
водовідштовхування; для спецодягу - масловідштовхування, знижена горючість; для
наметових тканин - гідро- і біостійкість. Всі ці та інші властивості
текстильних матеріалів додаються за допомогою спеціальних препаратів - апретів.
Присутність апретуючого препарату на текстильному матеріалі в кількості від 1
до 5% від маси матеріалу надає йому цілком специфічні властивості: гідрофільні
препарати забезпечують гідрофільність, гідрофобні та олеофобні препарати -
гідрофобність та олеофобність, біоцидні препарати - біологічну стійкість і
біоактивність (аж до лікувальних властивостей), антипірени - вогнезахисної і
т.д. Іншими словами, апрет, що знаходиться на текстильному матеріалі у відносно
невеликій кількості, переносить свої властивості на всю масу, на весь обсяг, на
всю поверхню матеріалу [8].
Обов'язковими операціями технологічного процесу апретування є
просочування тканини відповідним складом і наступна її сушка. Для деяких
видів оздоблень необхідна додаткова термічна обробка. Вид обробки і її
якість залежать від призначення тканини, ступеня закріплення апрету на волокні,
стійкості до прання, хімічного чищення та інших впливів.
Для апретування бавовняних і лляних тканин найбільш широко
використовуються крохмальні апрети. Це підвищує зносостійкість, покращує
зовнішній вигляд тканини, її наповненість, полегшує розкрій при пошитті
виробів. До складу крохмальних апретів, окрім крохмалю і продукту його
гідролізу (декстрину), входять пом'якшувальні речовини (жири, масла, мила),
гігроскопічні речовини (гліцерин, кухонна сіль), речовини, що надають тканинам
блиск (віск, парафін і т.д.), антисептики (формалін, саліцилова кислота, солі
міді) та ін. Однак крохмаль і інші склеювальні речовини змиваються при першому
ж пранні, одночасно з цим зникає і доданий ефект - наповненість, жорсткість,
гладкість.
У зв'язку з цим, більш ефективними є малозмиваємі апрети,
які, виконуючи функції крохмалю, досить міцно утримуються на волокні при
пранні. Вони також поліпшують зовнішній вигляд тканин, надають їм необхідну
пружність, шовковистість, значно підвищують стійкість матеріалу до стирання,
створюють умови для зручності розкрою полотна і пошиття виробу. Як апрети, що
мало змиваються використовують:
· Термопластичні полімери (обробка МАПС -
малозмиваємий апрет із застосуванням пластичних смол);
· Термореактивні полімери (обробка МАРС
- малозмиваємий апрет із реактивними смолами);
· Акриламід (CH2=CH-CO-NH2),
який, володіючи ненасиченим подвійним зв'язком, здатний легко полімеризуватися
і реагувати з рухливими атомами водню гідроксильних груп целюлози.
Для додання бавовняним, лляним і віскозно-штапельним тканинам
незминання використовують продукти початкової конденсації ряду синтетичних
смол. Користуючись синтетичними смолами, можна отримати на тканинах ефекти
тиснення, які роблять їх схожими на тканині жакардового переплетення, а також
лощіння, муаровий ефект і ін. [32].
Розділ 2. Об’єкт і предмет дослідження
.1 Текстильні матеріали на основі поліакрилатів
Об’єктом дослідження обрано
текстильний матеріал на основі поліакрилонітрильного волокна.
Поліакрилонітрильні волокна отримують з полімеру - нітрилу
акрилової кислоти званого також вінілціанідом, і з його сополімерів.
Промислове волокно з чистого
поліакрилонітрилу майже не виробляється зважаючи на його низьку еластичність,
погану забарвлюваність і недостатню стійкість до прання.[32]
При синтезі волокноутворюючого
полімеру або сополімеру акрилонітрилу поки використовується тільки метод
радикальної ланцюгової полімеризації. Найбільше застосування при отриманні
волокноутворюючого полімеру поліакрилонітрилу знайшли наступні розчинники:
диметилформамід, диметилсульфоксид і етиленкарбонат, а також концентровані
водні розчини деяких неорганічних солей, наприклад, роданіду натрію і хлориду
цинку.
Залежно від складу сополімери
акрилонітрилу можуть бути умовно розділені на дві групи: з низьким і високим
вмістом другого мономера. Кількість другого мономера, що входить до складу
сополімерів першої групи, складає 5-15%, а другої групи - до 40-60%. Мономери,
використовувані як невеликі добавки при синтезі волокноутворюючих сополімерів
акрилонітрилу, сприяють підвищенню реакційної здатності волокна. Введення груп
основного характеру (2-метил-5-вінілпирідин, акриламід) дозволяє забарвлювати
полімер у відповідних умовах кислотними фарбниками. Мономери з функціональними
групами кислотного характеру (акрилова і метакрилова кислоти, ітаконова
кислота) додають волокну здатність забарвлюватися катіонними фарбниками.
До першої групи волокон відносяться:
орлон-42 (США), дралон (ФРН), куртель (Англія) і ін. До другої групи
відносяться волокна типу креслан (США), леакрил (Італія) і др.
У нашій країні волокно з сополімерів
акрилонітрилу під назвою "нейтрон" випускається з 1963 р. Це волокно
має наступний склад: 92,5% акрилонітрилу, 6% метилакрилату і 1,5% ітаконової
кислоти. Будова його макромолекули може бути представлене наступною схемою:
Наявність в макромолекулі сополімера
ланок акрилонітрилу, метилакрилату і ітаконової кислоти, тобто трьох типів
функціональних груп (- CN; -СООСН3; - СООН), визначає хімічну активність полімеру [37].
Відомо, що надмолекулярна структура полімера зумовлює поведінку отриманого волокна в процесі підготовки, фарбування і завершальної обробки волокна і виробів з нього. Молекулярна маса вітчизняного волокна
нейтрон складає 40000 - 45000, а ступінь полімеризації коливається в межах 800
- 1250.
Поліакрилонітрил, як і більшість
інших карболанцюгових полімерів, не плавлячись розкладається при 350°. Тому
формувати нитки можна тільки з його розчину. У 1942 р. Рейн (Німеччина) і Хоутц
(США) встановили, що поліакрилонітрил добре розчиняється в органічному розчині
диметилформаміду, що легко змішується з водою. Згодом були знайдені і інші
розчинники, але перше промислове отримання поліакрилонітрильних волокон
грунтувалося на диметилформаміді. Волокна з поліакрилонітрилу - нейтрон -
отримують мокрим методом, використовуючи розчини полімеру в роданіді і
диметилформаміді. Волокна виготовляються з полімеру, а також з сополімерів
акрилонітрилу з іншими вініловими мономерами - метилметакрилатом, метакрилатом,
вінілацетатом і ін. Введення сомономерів знижує жорсткість макромолекул,
полегшує їх орієнтацію, що помітно впливає на властивості волокон: вони краще
забарвлюються, набувають так зване зсідання; останнє грає важливу роль при
отриманні з нітрону штучного хутра. Кількість сомономерів, що додаються,
зазвичай невелика, від 1-2 до 5-15%.
При виробленні нітронового штапеля -
штучної шерсті - прядильні розчини поліакрилонітрилу в диметилформаміді
(концентрація полімеру 15-20%) фільтрують, видаляють бульбашки повітря і
зубчатими дозуючими насосами подають на фільєри, що мають багато отворів малого
діаметру (70-80 μ). Розчин видавлюється в зсідальну
ванну-40-70%-ий водний розчин диметилформаміду при 10-15° С. Волокно, що
утворюється у ванні, - крихкі прозорі нитки - збирають разом з декількох фільєр
і зміцнюють двоступінчатою витяжкою на 400-1000% у воді при 90-95°С. Зміцнене
волокно промивають в теплій воді від залишків розчинника, обробляють у ванні
розчином замаслювача (що знімає з волокна заряди статичної електрики), гофрують
для додання звитості і ріжуть на штапельки, відповідні по довжині волокнам
натуральної шерсті [33].
З поліакрилонітрилу виготовляється
також філаментарний шовк, головним чином для технічних цілей. В цьому випадку
волокно після прядіння витягають на нагрітій (до 150-160°С) металевій поверхні,
приймають на бобіни і промивають. Потім волокно піддають суканню і тепловій
обробці (щоб зняти внутрішню напругу і зменшити усадку), перемотують на
пакування і у такому вигляді відправляють споживачеві.
Волокно нейтрон відрізняється
багатьма цінними якостями: максимальною (серед решти волокон) світлостійкістю,
стійкістю до дії тепла, атмосферних умов, хімічних реагентів, мікроорганізмів.
Питома вага волокна відносно мала-1,17 г/см³. Його міцність на розрив
може бути доведена до 70 кг/мм², причому вона практично
однакова в сухому і мокрому стані; це пояснюється малою гігроскопічністю
нітрону: при відносній вологості 65% - всього 0,8%. Останнє є недоліком волокна
при його використанні для тканин побутового призначення, так само як і
жорсткість; міцність з вузлом складає для нітрону 35-80%. Третій недолік -
погана забарвлюваність полімеру, з'ясована його хімічною інертністю. Проте всі
ці недоліки значною мірою усуваються шляхом сополімеризації акрилонітрилу з
іншими мономерами.
З нейтрону роблять фільтраційні
тканини, спецодяг, вітрила, вірьовки, ватин, штори, білизну, м'які пухнасті
ковдри, килими, хутра, теплоізоляційні матеріали (по теплопровідності нітрон
близький до шерсті). Одяг з нейтрону має кращий вигляд, чим з шерсті, причому
володіє однією чудовою властивістю: будь-яка пляма зникає при пранні нейтрону в
теплій воді з милом, оскільки він абсолютно інертний до всіх побутових
забруднювачів; гладити нейтрон після прання не потрібно. Крім того, він
набагато дешевше за шерсть: витрати на 1 т шерсті в 5 разів більше, ніж на 1 т
нейтрону. Це пояснюється доступністю і дешевизною початкової сировини для
нейтрону і нескладністю технологічного процесу його отримання. [33]
Випробування волокна нейтрон в
атмосферних умовах показали, що воно зберігає 77% своєї початковій міцності
протягом півтора року. За цей час волокна будь-якого іншого вигляду практично
повністю втрачають міцність. При випробуваннях на стійкість до комбінованої дії
сонячного світла, диму, кіптяви, пари води, кислот і тому подібне показано, що
в цих умовах міцність нейтрону падає всього на 15 %, а гідратцелюлозного
волокна-на 100%.
Сучасна промисловість виробляє цілий ряд модифікованих
волокон, наприклад з прищеплених сополімерів акрилонітрилу на ацетилцелюлозі,
бавовні, віскозі і ін. Це дозволяє сумістити в одному волокні цінні властивості
окремих полімерних компонентів; гігроскопічність віскози і світлостійкість
нітрону і ін.[28].
.2 Хімічний склад апретури для покривного оздоблення
Для покривного оздоблення тканини було використано
гідрофобізуючу композицію, яка складається з суміші дисперсії МХ-30 та лакрилу.
Дисперсія МХ-30 - продукт емульсійної сополімеризації 70%
хлоропрену і 30% метилметакрилату, що характеризується високою просочуючою і
плівкоутворюючою здатністю. Покриття на основі МХ-30 мають достатню
морозостійкість, однак схильні до пожовтіння [39]. Основні показники дисперсії МХ-30 подані в таблиці 2.1
Таблиця 2.1 Основні показники дисперсії МХ-30
|
Зміст сухого
залишку,%, не менше
|
40
|
|
РН
|
8
|
|
Поверхневий натяг,
мН / м, не більше
|
38
|
|
Набухання у воді,
%, протягом 1 год 24 год
|
4,85 6,63
|
|
Модуль еластичності
при 100%- ному подовженні. МПа, при температурі, ° С +20 -20
|
- -
|
|
Межа міцності при
розтягуванні, МПа, при температурі, ° С +20 -20
|
4 12,5
|
|
Подовження при
розриві,% при температурі, ° С +20 -20
|
1600 790
|
Лакрил - 1001 - прозора безкольорова або злегка жовтувата
в'язка рідина. Являє собою 50%-ний розчин сополімеру етилакрилату,
метилметакрилату, стиролу і метакрилової кислоти в суміші розчинників толуолу і
етилацетату (1:1). Отримують лакрил методом розчинної полімеризації при
температурі 85 ± 2 ° С. [40]
Основні
показники лакрилу - 1001 ндані в таблиці 2.2.
Таблиця 2.2 Основні показники лакрилу - 1001
|
Вміст сухого
залишку,%, не менше
|
48
|
|
Кислотне число
|
14-16
|
|
В'язкість, сП
|
650-1000
|
|
Розчинність в
суміші толуолу та етанолу (1:1) в бутилацетаті
|
Повна Повна
|
|
Межа міцності
плівки при розтягненні, МПа, не більше
|
8
|
|
Подовження плівки
при розриві,%
|
200
|
|
Межа міцності при
розтягуванні в суміші з лаком НЦ-573 (1: 1), МПа
|
8,5
|
|
Подовження при
розриві тієї ж суміші,%
|
60
|
2.3
Експлуатаційні характеристики матеріалів
Для
визначення експлуатаційних характеристик текстильних матеріалів,
експериментально визначали наступні показники, за методиками опис яких подано
нижче:
)
капілярність;
)
водотривкі характеристики
)
фізико-механічні показники;
)
повітропроникність;
)
показники подальшої експлуатації: ступінь усадки; зминання.
Капіля́рність - явище зміни висоти рівня рідини в
капілярах, що пов'язане із змочуванням поверхні мікропор і капілярів рідиною [25].
Метод відбору елементарних проб. З кожної точкової проби вирізають
три елементарні проби довжиною 300 мм і шириною 50 мм.
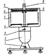
Проведення випробування. Планку з голками закріплюють
лапками між штативами (рис.2.1.). По краях і посередині планки на голки
підвішують лінійки. Елементарну пробу наколюють одним вузьким кінцем на голки
планки, а нижній кінець елементарної проби заправляють між скляними паличками,
краї яких закріплюють гумовими кільцями. Кристалізаційну чашку або іншу ємність
встановлюють під елементарну пробу, наливають в неї розчин дихромату калію або
еозину, або розчину барвника жиророзчинного яскраво-синього антрахінонового в
гасі в такій кількості, щоб він покрив скляні палички або до позначки, а нульове
ділення лінійки збіглося з рівнем розчину, після чого включають секундомір.
Рис.2.1. Прилад для визначення капілярності
Капілярність визначають через 60 хв відзначають по лінійці з
похибкою не більше 1 мм висоту підйому розчину. Якщо межа підйому рідини
розмита, за результат одиничного визначення приймають середнє арифметичне висот
верхнього і нижнього краю підйому рідини. За кінцевий результат випробування
приймають середнє арифметичне результатів трьох вимірювань, обчислене з
похибкою не більше 1мм
[2].
Водопоглинання - це здатність матеріалу вбирати
і утримувати в своїх порах вологу [25].
Метод відбору проб. Від кожної точкової проби вирізають елементарну пробу
по всій ширині тканини довжиною 60 мм. Із елементарної проби вирізають три
елементарні проби розміром 50 х 50 мм або 30 х 70 мм (для другого способу).
Проведення випробування. Елементарну пробу зважують у
стаканчиках для зважування, наколюють на гачок з вантажем і занурюють у
посудину з дистильованою водою. Час занурення - (60± 1) хв.
Елементарну пробу виймають з посудини, поміщають на фільтрувальний
папір, складений в три шари, покривають зверху також трьома шарами
фільтрувального паперу і віджимають один раз валиком. Після цього елементарну
пробу одразу ж зважують в стаканчиках для зважування.
Волопоглинання (Вп) у відсотках обчислюють за формулою:
Вп=
;
(2.1.)
де mп- маса вологої елементарної проби, г;

-
початкова маса елементарної проби, г.
За остаточний результат випробування приймають середнє арифметичне
результатів трьох вимірювань, обчислене з похибкою не більше 0,1% і округлене
до 1% [31].
Водовідштовхування - перешкоджання змочуванню водою, намоканню; надання
текстильному полотну водовідштовхувальних властивостей просочуванням його
гідрофобними препаратами. Водовідштовхування є показник зворотній
водопоглинанню [25]..
Підготовка до випробування. Тканини перед випробуванням
витримують в розгорнутому вигляді не менше 24 год в кліматичних умовах [11]. В цих же умовах проводять
випробування.
Проведення випробування. Пробу тканини розміром 22 x 22 см
щільно затискають між двома кільцями і розміщають лицьовою стороною вгору на
підпірці приладу. Кут нахилу поверхні проби до напрямку бризок води - 45 °.
Відстань від розпилювача до центру проби - (18±1) см. Пробу піддають дії бризок
води протягом 25 - 30 с. За цей час з воронки розбризкувача повинно
розбризкатись 250 куб. см води. Потім пробу знімають з підпірки приладу і
струшують лицьовою стороною вниз, б'ючи об тверде тіло для видалення з поверхні
прилиплих крапель води.
Оцінка результатів випробування. Ступінь водовідштовхування оцінюють в
умовних одиницях залежно від стану намоклої поверхні відповідно до табл. 2.3.[30]
Таблиця 2.3
|
Стан проби
|
Оцінка, м. од.
|
|
На поверхні проби
не залишаються краплі воли
|
100
|
|
До поверхні проби
прилипли окремі маленькі краплі
|
90
|
|
Проба змочується
легко, але змочена поверхня менше, ніж 1/3 частина всієї проби
|
80
|
|
Намокання проби
перевищує 1/3 частина поверхні, але не поширюється на всю поверхню
|
70
|
|
Намокає вся лицева
сторона проби, але на виворітній стороні відсутні плями намокання
|
60
|
|
Намокає вся лицева
сторона проби, і на виворітній стороні з’являються лише невеликі плями
намокання
|
50
|
|
Намокають обидві
сторони проби
|
0
|
Водотривкість - показник, що
його визначає гідростатичний тиск, під
дією якого на зовнішній поверхні елементарної проби матеріалу
або виробу з'являється задана кількість крапель води, або час до появи заданої
кількості крапель води на зовнішній поверхні елементарної проби матеріалу або
виробу під дією певного гідростатичного тиску у разі заданих параметрів
випробування визначення водотривкості на пенетрометрі [25]..
Відбір проб. З точкової проби вирізають не менше п’яти проб круглої форми
діаметром 160 мм або квадратної форми розміром 160х 160 мм таким чином, щоб
вони не містили однакових груп ниток основи і піткання, а також місцевих
дефектів. Не допускається складання проби. Місця зім’яті і зі складками
дослідженню не підлягають.
Проведення дослідження. Досліджувану пробу поміщають на
досліджувальну головку таким чином, щоб лицева сторона стикалася з поверхнею
води і щоб між ними не залишалось повітря. В такому положенні досліджувану
пробу з допомогою затискного пристрою притискають по периметру посудини. Після
затиску досліджуваної проби тиск водяного стовпа рівномірно збільшують зі
швидкістю (1,00±0,05) кПа/хв або (6,0±0,3) кПа/хв до тих пір, поки через
досліджувану пробу не просочиться вода в трьох місцях.
Водотривкість визначають знімаючи зі шкали манометра
показники тиску, при якому з’явилась третя крапля води, і округлюють його до
трьох цифр. За кінцевий результат дослідження приймають середнє арифметичне
результатів досліджень всіх проб, обчислене в кілопаскалях [31].
Розривне навантаження - це максимальна сила, виміряна при
дослідженні елементарної проби на розтягнення до розриву [25].
Відбір та підготовка елементарних проб. З кожної проби вирізають
елементарні проби у вигляді стрічок: не менше п’яти в поздовжньому і п’яти в
поперечному напрямку. Елементарні проби розміщують так, щоб одна елементарна
проба не являлась продовженням іншої. Поздовжні нитки елементарної проби
повинні бути паралельними ниткам основи або піткання точкової проби.
Першу елементарну пробу в напрямку основи розмішують на відстані
не менше 50 мм від кромки точкової проби. Елементарні проби в напрямку ниток
піткання розмішують на відстані не менше 50 мм від краю точкової проби,
розміщуючи їх послідовно по довжині. Елементарні проби тканин, в яких малюнок
переплетення має вплив на міцність, повинні мати рівномірно розміщені частини з
візерунком.
Розміри елементарних проб і робочі розміри елементарних проб
повинні відповідати наведеним в табл.2.4.
Таблиця 2.4 Розміри
елементарних проб для визначення фізико-механічних показників
|
Розміри
елементарної проби
|
Робочі розміри
елементарної проби
|
|
Ширина
|
Довжина
|
Ширина
|
Затискна довжина
|
|
- 30 60 60
|
200 - 250 350
|
- 25 50 50
|
50 - 100 200
|
- Робочі розміри елементарних проб повинні бути вибрані з
врахування вимог до конкретного асортименту тканин, штучних виробів та їх
волокнистому складу.
- Для отримання робочої ширини елементарної проби
нитки поздовжніх напрямків видаляють до тих пір, поки ширина, що несе
навантаження, не стане рівною 25 або 50 мм.
При підготовці елементарних проб з тканин чи штучних
виробів з нитками, що осипаються користуються одним з наступних методів:
А) елементарні проби з крайніми нитками, що легко осипаються
вирізають шириною 50 або 80 мм. На елементарній пробі м’яким олівцем відмічають
робочу ширину елементарної проби і заправляють її в затискачі розривної машини.
В середині кожної проби роблять надрізи перпендикулярно напрямку розтягнення до
позначених ліній. Обрізані з обох сторін нитки відводять, крім 2-4 ниток, що
межують з позначеними лініями.
Б) елементарні проби з краями, що мало осипаються вирізають
шириною вказаною в табл. Видаляють нитки з обох сторін по довжині елементарної
проби, залишивши по 2-4 нитки з обох сторін. В тій частині елементарної проби,
яка буде заправлена в верхній затискач, ці нитки відводять і відрізають на
відстані, приблизно рівній довжині затискача і додатково 25-30 мм. Підготовлену
пробу заправляють в верхній затискач так, щоб відрізані нитки не були
затиснуті. В нижній затискач заправляють інший кінець проби з залишеними
нитками.
Прилади і матеріали Для проведення випробування
використовують розривні машини, що забезпечують постійну швидкість опускання
нижнього затискача
(маятникоподібного типу), або постійну швидкість деформації,
або постійну швидкість зростання навантаження. Відносна похибка вимірювань
розривного навантаження не більше ±1% від вимірюваної величини;
Проведення дослідження:
1. На розривній машині встановлюють відстань між
затискачами відповідно до табл. 2.4.
2. Шкала навантажень розривної машини повинна
підбиратись так, щоб середнє розривне навантаження досліджуваної точкової проби
знаходились в межах від 20 до 80 % максимального значення шкали.
. При заправці елементарної проби в затискачі
розривної машини один з її кінців пропускають в верхній затискач так, щоб її
краї торкалися однозначних деталей і затискають. Після цього інший кінець проби
заправляють в нижній затискач і дають попереднє навантаження. Ослабляють
верхній затискач і під дією вантажу або механізму попереднього навантаження
дають елементарній пробі трохи опуститись і затискають спочатку верхній, а
потім нижній затискачі. Після цього приводять в рух нижній затискач.
. Показники розривного навантаження знімають з
відповідних шкал розривної машини після розриву елементарної проби.
Розривне навантаження обраховується в ньютонах. За розривне
навантаження точкової проби приймають середнє арифметичне значення результатів
вимірювань по нитках основи і піткання. Обчислення проводять з похибкою до
0,0001 Н (0,01 кгс) і округлюють до 0,001 Н (0,1 кгс).
Середнє розривне навантаження F, H, розраховують за формулою:

=
(2.2)
Де 
-
сума значень розривного навантаження, Н;- число випробувань [16]..
Стійкість до стирання - одне з найважливіших властивостей
тканин. У процесі експлуатації властивості виробів, що зшиті із тканин і
нетканих матеріалів, поступово погіршуються, і зрештою вироби зношуються [25].
Стирання тканини починається з руйнування виступаючих на її
поверхні вигинів ниток основи або піткання. Стійкість тканин до стирання
залежить від вихідної сировини, структури пряжі, характеру переплетення й
обробки, наявності на поверхні ворсу або застила, умов експлуатації і т.д.
Стирання відбувається поступово, тканина у визначених місцях, що найбільш
піддаються тертю, стає тонше, а потім руйнується. Тканини, утворені саржевими й
атласним переплетенням, що мають гладку поверхню, більш стійкі до стирання,
тому їх використовують на підкладку, що увесь час стикається з поверхнею інших
виробів з тканини. З підвищенням відносної вологості повітря стирання тканин
підсилюється. Апрети, що наносяться на тканину в процесі обробки, підвищують
їхню стійкість до стирання. Ступінь стирання визначається в лабораторії
спеціальними приладами або шляхом дослідної носки виробу.
Відбір проб:
1. З кожної одиниці продукції відбирають точкові проби у
вигляді відрізка по всій ширині тканини, цілого штучного виробу або його
частини. Довжина точкової проби визначається в залежності від ширини тканини і
видів лабораторних досліджень.
2. Точкові проби тканин відбирають з будь-якого місця
рулону, але не з його кінця. Якщо тканина складається з кількох відрізків,
отриманих в результаті розрізання тканини, точкову пробу слід брати біля місця
розрізу.
. Точкові проби вирізають гострими ножицями в напрямку
довжини і ширини тканини без розривів та роздирання. Точкові проби не повинні
мати дефектів.
. Точкові проби об’єднують разом і отримують об’єднану
пробу для проведення всіх досліджень.
. Від кожної точкової проби відбирають елементарні
проби (стрічка, кружок та ін.) для проведення конкретних досліджень. Розмір і
форма елементарних проб визначаються в стандартах на методи досліджень.
. Точкова проба повинна мати ярлик на якому вказують:
- Найменування продукції;
- Номер партії;
- Номер одиниці продукції.
7. Об’єднана проба повинна мати наступні дані:
- Число точкових проб;
- Дату відбору проб;
- Зазначення стандарту, згідно
з яким були відібрані проби;
- Підпис особи, яка відбирала
проби.
Відбір проб та підготовка їх до випробування
1. Готують точкові проби
2. Для проведення дослідження з різних місць кожної
відібраної точкової проби вирізають по шаблону 10 кіл тканини (елементарних
проб) діаметром 82 мм.
. Матеріал для стирання тканини - водостійка шкурка
Р.СС 820х 30 Е 4,5.Б [13], яку необхідно змінювати після 1500 циклів стираючої
дії або з кожною новою заправкою.
Апаратура. Випробування на стійкість до стирання проводять на приладах з
планетарним рухом абразивів: одноголовковому ІТ - 3М або двоголовковому ДІТ -
М.
Прилад ІТ - 3М складається з наступних вузлів: стираючої
головки - 2, п’ялець - 1, вантажної системи - 5, натяжного пристрою - 8,
лічильника числа обертів абразиву - 4 і металічної основи -6, на якій
монтується привід і електрична частина.(рис.2.2)
Рис.2.2. Схема приладу ІТ-3М
П’яльця (рис 2.2.) слугують для закріплення тканини. Вони
складаються з остову - 3 та обойми - 1 з металічним кільцем - 2, з допомогою
яких закріплюється тканина, еластичної основи, що складається із трьох шарів:
гумового кільця - 4, сірошинельного сукна - 5 і тонко провідної гуми - 6,
поверх якої помішають досліджувану елементарну пробу. Опорою для п’ялець
служить конус - 9 з кулькою - 10 і гумове кільце - 8 з прикріпленою обоймою
-7.Стираюча головка складається з двох бігунків -1, в яких закріплюється з
допомогою обойми - 2 абразив, 3 - кола водостійкої шкурки і двох щупів - 4.
Щупи складаються з набору зубчатих коліщат - 5, які вільно повертаються по осі
і можуть переміщатись по вертикалі. Щупи служать для автоматичної зупинки
приладу при утворенні під час стирання діри на тканині.
Проведення дослідження. Дослідження проводять при
навантаженні по вантажній шкалі 10 Н. На стержні натягу тканини встановлюють
вантаж 4 Н.
Елементарну пробу поміщають на еластичну основу п’ялець так,
щоб стиранню піддавалась лицева сторона тканини, після чого закріплюють її на
п’яльцях з допомогою обойми.
Установку п’ялець на приладі проводять при опущеному конусі.
Конус переводять в верхнє або нижнє положення з допомогою кнопки, розміщеної на
задній стінці приладу і фіксують це положення. Показник лічильника встановлюють
на нульове положення. П’яльця з заправленою елементарною пробою обережно
піднімають до контакту з абразивними і вмикають прилад.
Абразиви обертаються відносно своєї осі і навколо центральної
осі стираючої головки, здійснюючи планетарний рух.
Дослід проводять до автоматичного вимкнення приладу при
стиранні тканини до утворення діри, після чого знімають покази лічильника.
Результатом стійкості тканини до стирання вважають середнє арифметичне число
циклів всіх випробувань. Середнє арифметичне підраховують з похибкою не більше
0,1 і округлюють до 1,0
[29].
Механі́чна жо́рсткість - здатність матеріалів
чинити опір деформуванню (змінюванню форми і/або розмірів) від прикладеного
зусилля уздовж вибраного напрямку у заданій системі координат [25].
Методи визначення жорсткості:
- Визначення жорсткості при
згині під дією власної сили тяжіння без примусової деформації проби (консольний
метод і метод перемінної довжини)
- Визначення жорсткості під
дією зосередженого навантаження з примусовою деформацією проби (метод кільця)
Відбір проб:
1. Готують точкові проби
2. Елементарні проби вирізають з точкових проб, уникаючи
місць згину. Відстань від кромки повинна бути не менше 5 см. Проби не повинні
мати перекосів і зім’ятих місць.
. Для дослідження консольним безконтактним методом і
методом перемінної довжини вирізають по 5 елементарних проб в поздовжньому і
поперечному напрямках розміром:
160х 30 мм - для консольного безконтактного методу;
х 30 мм - для методу перемінної довжини.
. Для дослідження методом кільця вирізають по 5
елементарних проб в кожному напрямку розміром:
х 25 мм - для прикладних і прокладкових текстильних полотен;
х 20 мм - для матеріалів, дубльованих штучним хутром;
Довжиною 125 мм по всій ширині і розміром 125х 25 мм - для
текстильно-галантерейних виробів;
х 20 мм - для решти текстильних матеріалів.
Апаратура. Для проведення дослідження по консольному безконтактному
методу і методу перемінної довжини використовують прилад типу ПТ - 2 або ПТ - 1
(рис 2.3.)
Рис.2.3. Схема приладу ПТ-2
Прилад складається з наступних основних частин:
горизонтальної опорної пластини - 6, яка складається з нерухомої середньої
частини і рухомих бокових сторін; механізму - 2, який забезпечує плавне і
рівномірне опускання і підняття обох сторін горизонтальної пластини; показники
прогину - 4, які переміщуються гвинтом - 3; шкали абсолютного прогину - 5;
вантажу - 8, який необхідний для створення контакту досліджуваної проби з
поверхнею горизонтальної пластини. Симетричність встановлення проби 7
провіряють по шкалі 9, відградуйованій в міліметрах. Тумблер 1 приводить в дію
механізм 2.
Проведення дослідження.
Визначення жорсткості по консольному методу.
1. Елементарні проби по кожному напрямку (по 5 проб)
зважують на вагах з похибкою не більше 0,01 г і визначають загальну масу (m, г)
проб поздовжнього і поперечного напрямку окремо.
2. Елементарну пробу розміщують на горизонтальній
пластині лицевою стороною доверху симетрично середній лінії, суміщають
зовнішній край проби і пластини. На середину проби встановлюють вантаж (8)
шириною 20 мм, масою (500±5) г і з допомогою тумблера (1) вмикають механізм
опускання бокових сторін опорної пластини. Через 1 хв. з моменту відділення
елементарної проби від поверхні пластини (6) вимірюють прогини кінців (f) проби
з допомогою показників прогину (4).
. За кінцевий прогин приймають середнє арифметичне
значення результатів вимірювання кожного напрямку з похибкою не більше 1 мм.
Значення відносного прогину (f0) обчислюють за формулою:
f0=
,
(2.3)
де 
довжина
частини проби, що звисає, рівна 
см;

значення
середнього арифметичного прогину проб, визначене по шкалі приладу, см;
Жорсткість (Е), мкН·см 2 обраховують окремо в поздовжньому і
поперечному напрямках за формулою:
Е= 42046 
,
(2.4)
де 
загальна
маса п’яти елементарних проб, г;
А - функція відносного прогину, визначена по таблиці. Додаток
Визначення жорсткості методом перемінної довжини
1. Визначають масу елементарних проб.
2. Елементарну пробу довжиною Lпоч. розміщають на
опорній пластині лицевою стороною догори симетрично середній лінії, при цьому
суміщають зовнішній край проби і пластини. Після цього на досліджувану смужку
тканини встановлюють вантаж шириною (20±1) мм, масою (500±5) г і з допомогою
тумблера вмикають механізм опускання бокових сторін опорної пластинки. Через 1
хв. З моменту відділення проби від пластинки вимірюють прогини проби з
допомогою показників прогину.
. Елементарну пробу вкорочують на 20 мм, відрізаючи з
обох її кінців по 10 мм, після чого повторяють дослід. Вкорочення проби
проводять до досягнення довжини Lкін. Проби, що рівна 60 мм.
Значення відносного прогину (f0) обчислюють за формулою 2.3.Будують
графік (f0;
l) зміни значення відносного прогину f0 в залежності
від значення довжини звисаючої частини проби l,
см. По графіку знаходять довжину
l0,5 проби, що має
значення відносного прогину f0= 0,5.
Середню масу 1 см довжини прогину проби (
m1, мг/см) обчислюють окремо для поздовжнього і
поперечного напрямків за формулою:


1=
, (2.5)
де
m - загальна
маса п’яти проб початкової довжини, г.
Жорсткість (Еl0,5),
мкН·см 2, для поздовжнього і поперечного напрямків при фіксованому значенні
відносного прогину f0= 0,5 обчислюють за формулою:
Е
0,5=
1,92·
1·
30,5,
(2.6)
де
m1 -
середня маса 1см довжини проби, мг/см;
l0,5 - довжина проби
при значенні відносного прогину = 0,5 см.
Повітропроникність - здатність тканин
пропускати повітря. Вона характеризується кількістю повітря в міліметрах, що
проходить через 1см 3 тканини в одну секунду. Повітропроникність залежить від
будови і пористості тканини [25].
Відбір проб. Відбирають точкові проби. Вони не повинні бути зім’ятими.
Прасування їх не допустиме.
Апаратура. Для визначення повітропроникності текстильних матеріалів
застосовують прилади марки ВПТМ.2 (рис 2.4).
Рис.2.4. Схема приладу ВПТМ-2: 1 - індикатор розрідження; 2 -
диференціальний манометр; 3 - притискне кільце; 4 - камера розрідження; 5 -
змінний столик; 6 - досліджуваний зразок; 7 - перемикач трубок; 8,9 -
витратоміри повітря (трубки Вентурі); 10 - дросель; 11 - електродвигун з
вентилятором.
Прилад забезпечує: визначення повітропроникності в діапазоні
від 2,5 до 10750 дм 3/м 2с; Розрідження під точковою пробою 49Па (5мм вод.
ст.); Силу тиску на точкову пробу 147 Н (15 кгс).
Проведення випробувань. Повітропроникність визначають на
точкових пробах, відібраних в десяти різних місцях, розташованих по діагоналі.
Для тканин, контрольованих по кожному шматку, випробування проводять на кожній
відібраної точкової пробі в п'яти місцях у шаховому порядку (рис. 2.5.)
Рис. 2.5.Схема продувки зразка тканини.
Визначення повітропроникності на приладі марки BПТМ.2.
Точкову пробу випробуваного матеріалу укладають на столик лицьовою
стороною вгору і притискують до столика кільцем 3 до загоряння червоної
сигнальної лампочки. Електродвигун з вентилятором 11 включається автоматично
при подачі навантаження на випробувану точкову пробу. Відкриттям дроселя 10
встановлюють розрідження під точковою пробою, що дорівнює 49Па (5мм вод. ст.).
яке визначають за шкалою індикатора розрідження. За шкалою диференціального
манометра 2 відраховують результат вимірювання з точністю до одної поділки
шкали.
Повітропроникність (Q) в дм 3/ м 2с кожної точкової проби, шматка або вироби
вираховую за формулою
Q=
, (2.7)
де, Vср.- середня витрата повітря по одній точковій
пробі, шматку або виробі, дм 3/ м 2с;

-
випробувана площа, см 2.
При підрахунку мінімального і максимального значень повітропроникності
(Qmax і Qmіn) В формулу замість 
підставляють
значення 
або

де,

і

-
максимальний і мінімальний показники об'єму повітря з усіх проведених
випробувань точкової проби, шматка або виробу. За результати випробування
приймають мінімальне і максимальне значення повітропроникності або
середньоарифметичне. Середня витрата повітря 
по
точковій пробі, шматку або виробу знаходять шляхом певоду по тарувальній
таблиці, що додається до приладу, середньоарифметичного значення із усіх
вимірів по диференціальному манометрі (мм. сп. ст.) в дм 3/с. Результат
підраховують з похибкою до 0,1 дм 3/ м 2с і округлюють до 1,0 дм 3/ м 2с [13].
Ступінь
усадки.
Усадка - зменшення площі тканин й одночасне їх ущільнення. Зміна розмірів
тканин (усадка), особливо довжини, можливо при тривалому збереженні в процесі
лежання, під дією світлопогоди і прання. Найбільшу усадку дають тканини з
віскозного волокна й інші тканини крепової скрутки. У зв'язку з тим, що в результаті
більшої усадки тканини одяг може стати непридатним для експлуатації,
установлені межі усадки: по основі - 1,5-5%, по утоку - 1,5 -2%. При
виготовлені одягу необхідно це враховувати і відповідно підбирати тканини для
верху і підкладки.
Проведення випробування.
Готують
елементарні проби, проводять кип’ятіння. Після цього проби розміщають в
розправленому вигляді на плоскій поверхні, відмічають краї проби і витримують
протягом 600 хв.
Обробка
результатів випробування.
Вимірюють
відстані між мітками з похибкою 1 мм. Вимірювання проводять в напрямку ниток
основи і піткання. Обраховують середньоарифметичне значення відстані між
мітками до мокрої обробки (L0) та після неї (L1), окремо в напрямку ниток основи і піткання. Зміну розмірів λ після мокрої обробки в напрямку
основи λо і піткання λп,%, обчислюють за формулою:
λ=(L1 - L0/L0)·100, (2.8)
де L1 - відстань між мітками після
обробки, мм;
L0 - відстань між мітками до обробки, мм [20].
Коефіцієнт
незминання. Незминання
- здатність тканин пручатися утворенню зморшок і складок або відновлювати
первісну форму після перегину і стискання - є характеристикою, зворотною
зминанню. Вироби з тканин, що не мнуться тривалий час зберігають красу і
елегантність. Для зниження зминання тканин застосовують різноманітні суміші
волокон і спеціальні обробки.
Відбір проб. З полотна тканини вирізають квадрат розміром 150х 150 мм. З
кожного квадрата вирізають 5 елементарних проб Т-подібної форми в поздовжньому
і поперечному напрямку так, щоб кожна наступна елементарна проба не була продовженням
першої. Посередині кожної елементарної проби вказують поздовжнє направлення
полотна. Розміри елементарної проби повинні відповідати розмірам, вказаним на
рис.2.6.
Рис.2.6. Розміри елементарної проби
Апаратура. Для проведення дослідження використовують прилад СМТ (рис
2.7). Прилад призначений для визначення незминання текстильних полотен товщиною
до 2 мм.
Рис.2.7. Схема приладу СМТ: 1 - корпус; 2 - кнопки для
підйому ланок попереднього навантаження; 3 - опори; 4- гвинт для переміщення
вимірювального пристрою; 5- вимірювальний пристрій; 6- направляючі типу
"Хвіст ластівки"; 7- важелі; 8- поворотна лапка попереднього
навантаження; 9 - контур Т-подібний; 10 - пластини для притискання; 11-
поворотний барабан; 12- ручка з фіксатором; 13- рукоятка навантаження; 14-
вилка.
Проведення досліду. Перед початком випробування рукоятка
навантаження повинна знаходитись в положенні розвантаження, а лапки
попереднього навантаження підняті вверх, для чого поворотний барабан переводять
ручкою з фіксатором в положення І (положення заправки елементарних проб).
Підготовлені до випробування елементарні проби розташовують на барабані лицевою
стороною вниз під прижимні пластини, які піднімають з допомогою важелів.
Елементарні проби закріплюють так, щоб їх краї співпадали з Т-подібним контуром
на пластині поворотного барабану.
З допомогою вилки перегинають робочі частини елементарних
проб і опускають лапки попереднього навантаження. Лапки здійснюють попереднє
навантаження і утримують елементарні проби в складеному стані. При цьому кут
згину елементарної проби становить 1800, а площа петлі елементарної проби, що
знаходиться під лапкою, буде рівна 1,5 см².
Після того як всі десять проб будуть заправлені, барабан
переводять в положення ІІ (положення навантаження), для цього ручку з
фіксатором повертають на 900 проти часової стрілки. Після цього плавним
поворотом рукоятку навантаження переводять в положення
"навантаження". До елементарних проб, складених в петлю, підводять
основне навантаження протягом 15 хв. при цьому тиск на 1 см² елементарної проби повинен
становити 98,1 кПа.
Через 15 хв. після дії навантаження рукоятку переводять в
положення "розвантаження" і з допомогою ручки повертають барабан на 1800
за часовою стрілкою в положення ІІІ (положення заміру кута відновлення).
Почергово натискаючи на кнопки, піднімають лапки попереднього
навантаження вверх, внаслідок чого елементарні проби звільняють від
попереднього навантаження. Одночасно вмикають секундомір. Через 5 хв. після
зняття навантаження проводять замір кута відновлення, для чого поворотом гвинта
вимірювальний пристрій підводять до ребра згину так, щоб перехрестя на диску
співпало зі згином елементарної проби. Поворотом гвинта суміщають стрілку
показника з ребром згину елементарної проби.
Проводять замір плоского кута, на який відійде вільний кінець
елементарної проби. Цей кут і називається кутом відновлення і вимірюється в
градусах. Якщо кут, утворений вільним кінцем елементарної проби, буде мати два
значення (верхній край елементарної проби відійде на більший чи менший кут в
порівнянні з нижнім), то за результат вимірювання приймають середнє арифметичне
вимірювань цих кутів.
Незминання кожної проби текстильного полотна в поздовжньому і
поперечному напрямках (Х) у відсотках обраховують за формулою:
Х = аср/γ×100, (2.9)
де аср - середнє арифметичне результатів вимірювання кутів
відновлення для кожного напрямку полотна, градус, рівне Σ
а 1/n,
а 1 - окремий результат вимірювання кута відновлення,
градус;- число дослідів;
γ - кут повного згину
елементарної проби, рівний 1800.
Розрахунки проводять з точністю до десятих і округлюють до
цілих чисел. За кінцевий результат вимірювання приймають незминання
текстильного полотна чи штучного виробу по одному з напрямків, який має
найменше абсолютне значення показника незминання, у відсотках [19].
.4
Методи статистичної обробки даних експериментів
Експериментальні значення в подальшому обробляли методами
математичної статистики, зокрема, визначали квадратичні відхилення,
встановлювали залежність між вихідними факторами та одержаними показниками
якості, розраховували коефіцієнт кореляції.
Величина відхилень в ту чи іншу сторону кожного
індивідуального значення y від середньої характеризує варіацію, чи розбіжність, показника. Для її
розрахунку в статистиці прийняті середньо-квадратичне відхилення d, для обчислення якого усі
відхилення (уі - у), чи зводять у квадрат (для нівелювання знака) і з
отриманих квадратів знаходять середню величину, яка називається середнім
квадратом відхилення, чи дисперсією. Потім з дисперсії визначають квадратний
корінь і отримують середньоквадратичне відхилення:
(2.10)
Абсолютне значення середньоквадратичного відхилення ще не дає уявлення
про ступінь варіації (мінливості) показника. Для характеристики ступеня
варіації користуються коефіцієнтом варіації e, що
являє собою відношення середньоквадратичного відхилення до середньої
арифметичної, виражене у відсотках:
(2.11)
Коефіцієнт варіації характеризує
ступінь розбіжності показників, тобто як сильно конкретні показники
відхиляються від своєї середньої величини. Чим менше коефіцієнт варіації, тим
рівномірніші показники текстилю.
Залежно від однорідності сировини, стандартності
використовуваних матеріалів, ретельності виконання і контролю технологічних
процесів коефіцієнт варіації того чи іншого показника для текстилю може мати
різні значення: e < 5 означає дуже високу рівномірність і однорідність напівфабрикату чи
готової продукції за досліджуваним показником; e = 5...10 означає
рівномірність; e = 10... 15 - нерівномірність; e >15 - сильну розбіжність.
Якщо які-небудь два показники х і у зв'язані
між собою функціональною залежністю, то кожному значенню x буде відповідати
строго визначене значення у, наприклад кожному діаметру
відповідає визначена довжина окружності. У техніці й технології найчастіше
зустрічається не функціональна, а кореляційна залежність, тобто кожному
середньому значенню х відповідає якесь середнє значення у. Наприклад,
є кореляційна залежність між масою і площею тканини.
Якщо між показниками х і у існує
визначений взаємозв'язок, то зі зміною (збільшенням чи зменшенням) одного з них
другий має тенденцію змінюватися в ту ж сторону і добуток їх відхилень txty буде величиною позитивною. Для
оцінки ступеня залежності одного показника від іншого користуються коефіцієнтом
кореляції, який виражають рівнянням
(2.12)
де txty - відхилення окремих показників
відповідно ряду х і ряду у від їх середньої величини.
Коефіцієнт кореляції може змінюватися
від 0 до 1. Якщо r = 0, то між показниками х і у, що
зіставляються, ніякої залежності немає; при r < 0,3 залежність дуже слабка; при
r = 0,3...0,5 залежність помірна; при =
0,5...0,7 - помітна; при r = 0,7.. .0,9 - висока і при r >0,9 - дуже тісна.
(2.13)
де r - коефіцієнт кореляції;
п - число визначень (чи дослідів), на основі яких він обчислений.
Розділ
3. Дослідно-експериментальна частина
.1 Варіанти обробки текстильного матеріалу покривною
композицією
Експериментально визначали, співвідношення покривної
композиції, її витрати та температуру обробки на гідрофобний ефект.
План-матрицю експерименту представлено в таблиці 3.1.
Таблиця 3.1 Матриця планування інтервалів та рівні змінювання
факторів
|
№ п/п
|
Співвідношення
дисперсія-лакрил,%
|
Витрати дисперсії,
%
|
Температура
обробки, °С
|
|
1
|
1:1
|
15
|
40 75 100
|
|
2
|
1:1
|
20
|
40 75 100
|
|
3
|
1:1
|
25
|
40 75 100
|
|
4
|
1:1,5
|
15
|
40 75 100
|
|
5
|
1:1,5
|
20
|
40 75 100
|
|
6
|
1:1,5
|
25
|
40 75 100
|
|
7
|
1:2
|
15
|
40 75 100
|
|
8
|
1:2
|
20
|
40 75 100
|
|
9
|
1:2
|
25
|
40 75 100
|
|
10
|
1:2,5
|
15
|
40 75 100
|
|
11
|
1:2.5
|
20
|
40 75 100
|
|
12
|
1:2,5
|
25
|
40 75 100
|
Попередні дослідження показали, що плівки одержані з
композиції рівної кількості дисперсії та лакрилу не забезпечують рівномірність
покриття.
Використання температури ванни 100°С та вище призводить до
випаровування окремих складових плівки, що в подальшому негативно відобразиться
на якості покриття. Витрати композиції 25% та вище призводить до значного
утяжиління тканини, також надалі слід очікувати погіршення гігієнічних
властивостей покриття, зокрема, паропроникності та повітропроникності. Таким
чином, були обрані наступні технологічні параметри:
Співвідношення акрилової дисперсії: лакрилу: 1:1,5; 1:2;
1:2,5
Витрати препарату:15-20% від маси тканини;
Температура ванни: 40-75°С.
Для подальших досліджень було обрано наступні варіанти
обробки (таблиця 3.2.)
Таблиці
3.2 Варіанти обробки
|
№ п/п
|
Співвідношення
дисперсія-лакрил,%
|
Витрати композиції,
%
|
Температура
обробки, °С
|
|
1
|
1:1,5
|
15
|
40-75
|
|
2
|
1:1,5
|
20
|
40-75
|
|
3
|
1:2
|
15
|
40-75
|
|
4
|
1:2
|
20
|
40-75
|
|
5
|
1:2,5
|
15
|
40-75
|
|
6
|
1:2.5
|
20
|
40-75
|
Для визначення оптимальної температури процесу досліджували
сорбцію препарату за різних температур. Результати досліджень представлені на
рисунку 3.1.
Рис.3.1.Кінетика сорбції акрилової композиції за різних температур: -
40°С; 50°С; 60°С
Як свідчать результати, за температури 400С сорбція композиції з ванни
найнижча; у випадку температури 600С максимальне значення сорбції досягається
занадто швидко - за 1 годину, що може призвести до нерівномірності розподілу
акрилату, і як свідчать результати після висушення матуріалу, низької адгезії
плівки до основи. Отже, оптимальною температурою процесу визначено 45-550С.
.2 Визначення впливу покривної обробки поверхні на
гідрофобний ефект текстильного матеріалу
Якість обраних зразків оцінювалась за показниками:
водопоглинання, водотривкості та водовідштовхування. Одержані результати
представлені у таблиці 3.2.
Зіставлення кількості нанесеного препарату з ефектом
гідрофобності дозволяє зробити висновок, що збільшення кількості фіксованого
поліакрилату сприяє підвищенню гідрофобного ефекту. Із підвищенням температури,
поверхня та пори волокнистого матеріалу звільняються від домішок, знижується
внутрішнє напруження, що викликає нерівномірність властивостей, забезпечує
краще проникнення реагентів всередину волокон, підвищує адгезію.
Таблиця 3.2 Результати обробки тканини
|
Показники
|
Варіант обробки
|
|
1
|
2
|
3
|
4
|
5
|
6
|
|
Капілярність через
30 і 60 хв.
|
140/170
|
180/210
|
140/160
|
100/130
|
40/80
|
60/100
|
|
Водопоглинання, %
|
42
|
45
|
46
|
53
|
50
|
52
|
|
Водовідштовхування,
у.о.
|
75
|
75
|
70
|
70
|
55
|
60
|
|
Водотривкість,
мм.вод.ст.
|
280
|
280
|
280
|
260
|
180
|
250
|
Використання різноманітних методів оцінки гідрофобності
тканини (водопоглинання, водовідштовхування, водотривкість) не дозволяють
однозначно відповісти на запитання, який же ступінь підготовки повинен бути при
наданні тканині високих гідрофобних властивостей. Одержані нами результати
показують, що для досягнення гостованого ефекту, оцінюваного показником
водовідштовхування необхідно зупиниться на варіантах обробки 1 і 2. Однак,
згідно технічних умов на тканину нейтрон[ ], гідрофобний ефект оцінюється
показником водотривкості, який найкращий для варіантів 1,2,3.
Для одержання інформації про об'єкт дослідження проводили
повний факторний експеримент типу 2,3 з восьми дослідів. Матриця планування,
інтервали та рівні змінюваних факторів, а також результати експерименту
наведені у таблиці 3.3.
Обробка результатів експерименту здійснили за допомогою
програмного забезпечення надбудови "Excel", що дозволило розрахувати
коефіцієнти рівняння регресії - залежність водотривкості тканини від
концентрації дисперсії, ступеня насичення тканини гідрофобізатором та
температури обробки.
Таблиця 3.3 Вихідні значення для статистичної обробки
|
N. п/п
|
Матриця планування
|
Робоча матриця
|
Результати
експерименту, водотривкість, мм.вод.ст.
|
|
Х0
|
Х1
|
Х2
|
Х3
|
С дисперсії
розчину, г/л
|
Сорбція препарату
на тканині, % до м.тк.
|
Т, °С
|
|
|
1
|
+
|
+
|
-
|
-
|
40
|
6,66
|
45
|
290
|
|
2
|
+
|
-
|
-
|
-
|
40
|
6,25
|
45
|
280
|
|
3
|
+
|
+
|
+
|
-
|
36
|
5.12
|
45
|
280
|
|
4
|
+
|
-
|
+
|
-
|
36
|
5,7
|
45
|
268
|
|
5
|
+
|
+
|
-
|
+
|
28
|
4,65
|
50
|
260
|
|
6
|
+
|
-
|
-
|
+
|
28
|
4,15
|
50
|
260
|
|
7
|
+
|
+
|
+
|
+
|
23
|
4,12
|
50
|
200
|
|
8
|
+
|
-
|
+
|
+
|
23
|
4,67
|
50
|
250
|
Після виключення незначущих коефіцієнтів рівняння регресії
має вигляд:
Y=341,25+41,9x1+3,75x2-5x1x3 (3.1)
Для аналізу рівняння регресії перевірялась адекватність
результатів дослідження та значимість коефіцієнтів регресії за критерієм Фішера
та коефіцієнта детермінації. Одержанні результати (додаток 1) вказують про те,
що рівняння адекватне даним експерименту та враховує більшу частину вихідних
параметрів.
Аналіз рівняння 3.1 дозволяє зробити висновок, що підвищенню
водотривкості сприяє збільшення концентрації гідрофобізатора та підвищення
сорбції препарату, однак ступінь їх впливу різний. Так, підвищення концентрації
гідрофобізатора (х 1) набагато ефективніше, ніж сорбція препарату(х 2).
Температура(х 3) має значний вплив лише на межі та поза межею визначеного
інтервалу змінювання факторів.
.3 Визначення фізико-механічний показників текстилю після
гідрофобізації
Важливо, щоб гідрофобна обробка не сприяла зниженню інших
фізичних та гігієнічних властивостей текстильного матеріалу, не погіршувала
його експлуатаційних характеристик. В роботі досліджували зниження міцності
нейтрону, визначали такі фізичні показники як повітропроникність, жорсткість, а
також характеризували зминання тканини.
Аналіз даних, що характеризують зміну розривного навантаження
тканини після різних стадій підготовки свідчать про те, що зниження розривного
навантаження не спостерігалось, навпаки. У тканинах з водовідштовхувальною
обробкою міцність збільшується.
Таблиця
3.4 Зміна розривного навантаження
|
N,п/п
|
Розривне
навантаження, Н
|
|
Основа
|
Уток
|
|
Контрольний зразок,
без обробки
|
453
|
508
|
|
1
|
465
|
680
|
|
2
|
480
|
686
|
|
3
|
475
|
654
|
|
4
|
481
|
679
|
|
5
|
464
|
649
|
|
6
|
479
|
658
|
Результати таблиці 3.5 свідчать, що гігієнічні властивості -
паропроникність та жорсткість, після обробки тканин не погіршуються. Це можна
пояснити тим, що полімери пронизані системами субмікроскопічних пор і
капілярів, також мають пустоти і тріщини, які не лише визначають сорбційну та
адгезивну здатність, а й підвищують проникність до основи.
Таблиця
3.5 Фізичні та
гігієнічні характеристики текстильних матеріалів.
|
N,п/п
|
Жорсткість, сН
|
Повітряпроникність,
см³/см²
|
Ступінь усадки,%
|
Стирання, 103
вигинів
|
|
Контрольний зразок,
без обробки
|
25
|
1130
|
4
|
70
|
|
1
|
30
|
1016
|
3
|
75
|
|
2
|
32
|
1010
|
2,8
|
79
|
|
3
|
28
|
1150
|
3
|
84
|
|
4
|
28
|
1140
|
2,5
|
79
|
|
5
|
27
|
1120
|
2,8
|
85
|
|
6
|
26
|
1130
|
3,2
|
80
|
Одночасно в незначній мірі підвищується міцність тканини:
підвищується стійкість до багатократного вигину, знижується усадка при
кип’ятінні тканини.
Рис.3.2. Залежність коефіцієнту незминання тканини від
кількості прання: ---- зразок оброблений гідрофобізатором №2; -- контрольний
зразок без обробки
В процесі експлуатації виробів їх перуть. Одержані данні
характеризують вплив прання на ефект зминання тканини. Результати вказують, що
обробка тканин мало впливає на зміну показника зминання. Порівняння проводили
для контрольного зразка без обробки та для зразка №2 з найбільшою витратою
композиції.
Висновки
1. В результаті проведеної роботи досліджено вплив
покривної обробки тканини з штучного волокна нейтрон дисперсіями акрилових
полімерів на гідрофобний ефект та її фізико-механічні показники. Встановлено,
що для досягнення високого водовідштовхувального ефекту необхідно проведення
замочування в полімерній композиції впродовж 2 годин при температурі 45-55°С з
подальшим висушуванням матеріалу протягом 2-3 годин.
. Одержані результати показують, що для досягнення
гостованого ефекту, оцінюваного показниками водовідштовхування і водотривкості,
витрати лакрилу мають становити 15-20%.
. Тканини після водовідштовхувальної обробки мають вищі
фізико - механічні показники. При відсутності зниження розривного навантаження,
підвищується міцність тканини: збільшується стійкість до багатократного вигину,
знижується усадка при кип’ятінні. Гігієнічні властивості - паропроникність та
жорсткість, після обробки тканин не погіршуються.
4. Результати вказують, що гідрофобна обробка сприяє
зниженню зминання, хоча і в незначній мірі (1-2%) при визначенні коефіцієнта
незминання після нормованого третього прання.
Список використаної літератури
1. Азгальдов Г.Г. Теория и практика оценки
качества товаров / Азгальдов Г.Г. - М.: Экономика, 1982. - 256 с.
2. Браславский В.А. Капиллярные процессы в текстильных
материалах. - М.: Легпромбытиздат, 1987. - 112 с.
3. Бузов Б.А. Материаловедение швейного
производства: учеб. [для высш. учеб. заведений легкой промсти] /Бузов Б.А.,
Модестова Т.А., Алыменкова Н.Д. - М.: Легкая индустрия, 1978. - 480 с.
4. Бузов Б.А., Модестова Т.А., Алыменкова Н.Д.
Материаловедение швейного производства: 4-е изд.,перераб. и доп. - М.:
Легпромиздат, 1986, - 424 с.
5. Галик І. С. Екологічна безпека та біостійкість
текстильних матеріалів: монографія / Галик І. С., Концевич О.Б.,Семак Б.Д. -
Львів: вид-во Львів. комерц. акад., 2006. - 232 с.
6. Галык И.С. Оптимизация ассортимента и качество
текстильных материалов / [Галык, Д.И. Козьмич,Б.Д. Семак и др.] - К.: Тэхника,
1991. - 174 с.
. Глубіш П.А. Перспектива розвитку
сировинно-енергетичної бази для виробництва текстильних матеріалів / П.А.
Глубіш // Вісник КНУТД. - 2005. - № 1. - С. 72-76.
. Глубіш П.А. Хімічна технологія текстильних
матеріалів. (Завершальне оброблення) :[навчальний посібник] / П. Глубіш - К. :
Арістей, 2006. - 304с.
9. Диффузия и сорбция в процессах крашения и печатания
/Кричевский Г.Е. - М.: Легкая индустрия. 1981, 207 с.
10. Износостойкость и формоустойчивость одежных тканей с
малосминаемой и малоусадочной отделкой /Семак Б.Д. - М.: Легкая индустрия,
1979. - 152 с.
11. Кирюхин С.М. Качество тканей / C.М. Кирюхин,
Ю.В. Додонкин. - М.: Легпромбытиздат, 1986. - 160 с.
12. Козьмич Д. І. Товарознавство текстильних,
швейних і трикотажних товарів / [Д. І. Козьмич, Л.В. Поліщук,Л, М.М. Діанич та
ін.]. - К.: Вища шк., 1992. - 408 с.
13. Материалы текстильные и изделия из них. Метод
определения воздухопроницаемости: ГОСТ 12088-77. - М.: ИПК Издательство
стандартов, 2003. - 11с.
14. Материалы текстильные. Климатические условия
для кондиционирования и испытания проб и методы их определения: ГОСТ 10681-75.
- М.: ИПК Издательство стандартов, 1997. - 30с.
. Материалы текстильные. Полотна. Методы
определения жесткости при изгибе: ГОСТ 10550-93. - Минск: Издательство
стандартов, 1995. - 9с.
. Материалы текстильные. Ткани и штучные изделия.
Методы определения разрывных характеристик при растяжении: ГОСТ 3813-72 . - М.: ИПК
Издательство стандартов, 1992. - 20с.
17. Несминаемая и малоусадочная отделка тканей /Эфрос Р.Л.,
Куликова Г.И. Текстильная промышленность, 1976. №1, с. 68-70
18. Новая технология малосминаемой отделки текстильных
материалов /Шубина Е.В., Никифоров А.Л., Мельников Б.Н. Известия вузов.
Технология текстильной промышленности, 2003. №1, с. 72-76.
19. Полотна текстильные. Метод определения
несминаемости: ГОСТ 19204-73. - М.: Издательство стандартов,
1985. - 9с.
20. Полотна текстильные. Методы определения
изменения размеров после мокрых обработок или химической чистки. Общие
положення ГОСТ 30157.0-95:
Минск:
Издательство стандартов, 2002.
- 8с.
21. Придание свойств несминаемости хлопчатобумажным тканям
в сухом и мокром состоянии /Широкова М.К., Виноградова Г.М, Зверевская К.И.
Известия вузов. Технология текстильной промышленности, 1976. №4, с. 77-81.
22. Пугачевський Г.Ф. Товарознавство непродовольчих
товарів. Ч. І. Текстильне товарознавство: підруч.[для студ. товарозн.
спеціальн. вищ. закл. освіти] / Г.Ф. Пугачевський, Б.Д. Семак. - К:. НМЦ
"Укоопосвіта", 1999. - 596 с.
23. Склянников В.П. Потребительские свойства
текстильных товаров / Склянников В.П. - М.: Экономика,1982. - 160 с.
. Склянников В.П. Строение и качество тканей /
Склянников В.П. - М.: Легкая и пищевая пром-сть, 1984.- 176 с.
25. Советский энциклопедический словарь /Прохоров А.М. и
др. - М.: Советская энциклопедия, 1984. - 1600 с.
26. Соловьев А.Н. Оценка и прогнозирование
показателей качества тканей / А.Н. Соловьев, C.М. Кирюхин.-М.: Легкая и пищевая
пром-сть, 1984. - 215 с.
27. Теория и практика подготовки текстильных материалов
/Кричевский Г.Е., Никитков В.А. - М.: Легпромбытиздат, 1989. - 208 с.
28. Ткани и штучные изделия текстильные. Правила
приемки и метод отбора проб: ГОСТ
20566-75: М.: Издательство стандартов, 2002. - 8с
29. Ткани льняные и полульняные для спецодежды.
Метод определения стойкости к истиранию по плоскости: ГОСТ 15967-70: М.: Издательство стандартов, 1989. - 8с.
30. Ткани плащевые и курточные из синтетических
нитей. Общие технические условия: ГОСТ 28486-90:
М.: Издательство
стандартов, 1998. - 8с.
. Ткани текстильные. Методы определения
гигроскопических и водоотталкивающих свойств. ГОСТ 3816-81: М.: Издательство стандартов, 1997. - 14с.
32. Физико-химические основы отделочного производства
текстильной промышленности /Беленький Л.И.- М.: Легпромбытиздат, 1979. -312 с.
33. Химическая технология текстильных материалов
/Кричевский Г.Е., Корчагин М.В., Сепахов А.В. - М.: Легпромбытиздат, 1985. -
640 с.
. Химическая технология текстильных материалов /Феликс
В. - М.: Легкая индустрия, 1965. - 487 с.
35. Чайковская А.Е. Комплексная оценка качества
текстильных материалов / [Чайковская, Л.В. Полищук,И.С. Галык и др.] - К.:
Тэхника, 1989. - 254 с.
36. Шкурка шлифовальная тканевая водостойкая.
Технические условия ГОСТ 13344-79
37. Энциклопедия полимеров. Т 2, Т 3 /Кабанов В.А. и др. -
М.: Советская энциклопедия, 1974.
38. Якість продукції. Оцінювання якості. Терміни та
визначення: ДСТУ 2925-94.- К.: Держстандарт України, 1995.
39. http://www.perchatkі.com.ua
. http://www.xіmіcat.com
. http://www.vsegost.com
Додаток А. Значення функції А від відносного прогину f0
|
f0
|
А
|
А
|
f0
|
А
|
f0
|
А
|
|
0,01 0,02 0,03 0,04
0,05 0,06 0,07 0,08 0,09 0,10 0,11 0,12 0,13 0,14 0,15 0,16 0,17 0,18 0,19
0,20 0,21 0,22 0,23 0,24 0,25
|
0,08 0,16 0,24 0,32
0,40 0,48 0,56 0,64 0,72 0,80 0,88 0,96 1,04 1,12 1,21 1,29 1,38 1,47 1,56
1,66 1,75 1,84 1,94 2,03 2,13
|
0,26 0,27 0,28 0,29
0,30 0,31 0,32 0,33 0,34 0,35 0,36 0,37 0,38 0,39 0,40 0,41 0,42 0,43 0,44
0,45 0,46 0,47 0,48 0,49 0,50
|
2,22 2,32 2,41 2,51
2,60 2,70 2,80 2,90 3,00 3,10 3,21 3,31 3,48 3,54 3,66 3,79 3,92 4,06 4,19
4,34 4,49 4,64 4,79 4,95 5,11
|
0,51 0,52 0,53 0,54
0,55 0,56 0,57 0,58 0,59 0,60 0,61 0,62 0,63 0,64 0,65 0,66 0,67 0,68 0,69
0,70 0,71 0,72 0,73 0,74 0,75
|
5,28 5,44 5,52 5,79
5,97 6,15 6,34 6,54 6,74 6,96 7,18 7,42 7,66 7,95 8,24 8,56 8,90 9,27 9,66
10,08 10,54 11,08 11,55 12,10 12,70
|
0,76 0,77 0,78 0,79
0,80 0,81 0,82 0,83 0,84 0,85 0,86 0,87 0,88 0,89 0,90 0,91 0,92 0,93 0,94
0,95 0,96 0,97 0,98 0,99
|
13,34 14,04 14,79
15,63 16,57 17,85 18.92 20,43 22,26 24,53 27,33 30,92 35,43 41,17 48,46 57,70
69,40 84,14 102,16 125,81 154,60 190,24 234,14 288,00
|
Додаток Б. Розрахунок коефіцієнтів рівняння регресії
|
ВЫВОД ИТОГОВ
|
|
|
|
|
|
Регрессионная
статистика
|
|
Y1=A+BX1+CX2+DX1X2
|
|
|
Множественный R
|
0,960210286
|
|
|
|
|
|
R-квадрат
|
0,922003794
|
|
|
|
|
|
Нормированный
R-квадрат
|
0,87520607
|
|
|
|
|
|
Стандартная ошибка
|
0,673295202
|
|
|
|
|
|
Наблюдения
|
9
|
|
|
|
|
|
Дисперсионный
анализ
|
|
|
|
|
|
|
df
|
SS
|
MS
|
F
|
Значимость F
|
|
Регрессия
|
3
|
26,79416786
|
8,931389286
|
19,70189409
|
0,003363175
|
|
Остаток
|
5
|
2,266632143
|
0,453326429
|
|
|
|
Итого
|
8
|
29,0608
|
|
|
|
|
Регрессионная
статистика
|
|
Y2=A+BX1+CX2+DX1X2
|
|
|
Множественный R
|
0,919051918
|
|
|
|
|
|
R-квадрат
|
0,844656428
|
|
|
|
|
|
Нормированный
R-квадрат
|
0,751450284
|
|
|
|
|
|
Стандартная ошибка
|
0,90632693
|
|
|
|
|
|
Наблюдения
|
9
|
|
|
|
|
|
Дисперсионный
анализ
|
|
|
|
|
|
|
df
|
SS
|
MS
|
F
|
Значимость F
|
|
Регрессия
|
3
|
22,33194637
|
7,443982124
|
9,062239858
|
0,018266267
|
|
Остаток
|
5
|
4,107142517
|
0,821428503
|
|
|
|
Итого
|
8
|
26,43908889
|
|
|
|